Road construction and maintenance equipment. Powder binder spreaders. Terminology and commercial specifications

МЕЖГОСУДАРСТВЕННЫЙ СОВЕТ ПО СТАНДАРТИЗАЦИИ, МЕТРОЛОГИИ И СЕРТИФИКАЦИИ
(МГС)

INTERSTATE COUNCIL FOR STANDARDIZATION, METROLOGY AND CERTIFICATION
(ISC)

МЕЖГОСУДАРСТВЕННЫЙ
СТАНДАРТ

ГОСТ
ISO 15689-
2017

Оборудование для сооружения
и содержания дорог

РАЗБРАСЫВАТЕЛИ
ДЛЯ ПОРОШКООБРАЗНЫХ СВЯЗУЮЩИХ

Терминология и коммерческие
технические условия

(ISO 15689:2003, IDT)

Москва

Стандартинформ

2017

Предисловие

Цели, основные принципы и основной порядок проведения работ по межгосударственной стандартизации установлены в ГОСТ 1.0-2015 «Межгосударственная система стандартизации. Основные положения» и ГОСТ 1.2-2015 «Межгосударственная система стандартизации. Стандарты межгосударственные, правила и рекомендации по межгосударственной стандартизации. Правила разработки, принятия, обновления и отмены»

Сведения о стандарте

1 ПОДГОТОВЛЕН Обществом с ограниченной ответственностью «ИЦ «ЦНИП СДМ» (ООО «ИЦ «ЦНИП СДМ») на основе собственного перевода на русский язык международного стандарта, указанного в пункте 5

2 ВНЕСЕН Межгосударственным техническим комитетом по стандартизации МТК 267 «Строительно-дорожные машины и оборудование»

3 ПРИНЯТ Межгосударственным советом по стандартизации, метрологии и сертификации (протокол от 28 февраля 2017 г. № 96-П)

За принятие проголосовали:

Краткое наименование страны
по МК (ИСО 3166) 004-97

Код страны по
МК (ИСО 3166) 004-97

Сокращенное наименование национального
органа по стандартизации

Армения

AM

Минэкономики Республики Армения

Беларусь

BY

Госстандарт Республики Беларусь

Казахстан

KZ

Госстандарт Республики Казахстан

Киргизия

KG

Кыргызстандарт

Россия

RU

Росстандарт

4 Приказом Федерального агентства по техническому регулированию и метрологии от 26 апреля 2017 г. № 323-ст межгосударственный стандарт ГОСТ ISO 15689-2017 введен в действие в качестве национального стандарта Российской Федерации с 1 июля 2018 г.

5 Настоящий стандарт идентичен международному стандарту ISO 15689:2003 «Оборудование для сооружения и содержания дорог. Разбрасыватели для порошкообразных связующих. Терминология и коммерческие технические условия» («Road construction and maintenance equipment - Powder binder spreaders - Terminology and commercial specifications», IDT).

При применении настоящего стандарта рекомендуется использовать вместо ссылочных международных стандартов соответствующие им межгосударственные стандарты, сведения о которых приведены в дополнительном приложении ДА

6 Настоящий стандарт может быть использован при ежегодной актуализации перечня стандартов, содержащих правила и методы исследований (испытаний), а также стандартов, в результате применения которых на добровольной основе обеспечивается соблюдение требований технического регламента Таможенного союза ТР ТС 010/2011 «О безопасности машин и оборудования».

7 ВВЕДЕН ВПЕРВЫЕ

8 ПЕРЕИЗДАНИЕ. Август 2018 г.

Информация об изменениях к настоящему стандарту публикуется в ежегодном информационном указателе «Национальные стандарты» (по состоянию на 1 января текущего года), а текст изменений и поправок - в ежемесячном информационном указателе «Национальные стандарты». В случае пересмотра (замены) или отмены настоящего стандарта соответствующее уведомление будет опубликовано в ежемесячном информационном указателе «Национальные стандарты». Соответствующая информация, уведомление и тексты размещаются также в информационной системе общего пользования - на официальном сайте Федерального агентства по техническому регулированию и метрологии в сети Интернет (www.gost.ru).

Содержание

1 Область применения. 3

2 Нормативные ссылки. 3

3 Термины и определения. 3

3.1 разбрасыватели для порошкообразных связующих. 3

3.2 разбрасыватель с дозированием материала по объему. 4

3.3 разбрасыватель с дозированием материала по массе. 4

4 Классификация разбрасывателей для порошкообразных связующих. 4

4.1 Основные типы разбрасывателей. 4

4.2 По способу транспортирования при работе. 4

4.3 По способу доставки материала из расходного бункера через рабочий орган на рабочую поверхность. 4

4.4 По типу дозатора. 4

5 Спецификация. 5

5.1 Основные сборочные единицы разбрасывателей для порошкообразных связующих. 5

5.2 Основное измерительное оборудование и органы управления. 5

5.3 Дополнительное оборудование разбрасывателей для порошкообразных связующих. 5

5.4 Основные технические характеристики разбрасывателей для порошкообразных связующих. 6

5.4.1 Геометрические характеристики. 6

5.4.2 Массовые характеристики. 6

5.4.3 Нагрузки. 6

5.4.4 Давление на грунт (для разбрасывателей на гусеничном ходу) 7

5.4.5 Характеристики двигателя. 7

5.4.6 Характеристики трансмиссии. 7

5.4.7 Характеристики рулевого управления. 7

5.4.8 Характеристики шин и гусеничных траков. 7

5.4.9 Технические характеристики оборудования для разбрасывания порошкообразных связующих. 7

Приложение А (информативное) Примеры конструкций и геометрические характеристики разбрасывателей для порошкообразных связующих. 8

Приложение ДА (справочное) Сведения о соответствии ссылочных международных стандартов межгосударственным стандартам.. 12

ГОСТ ISO 15689-2017

МЕЖГОСУДАРСТВЕННЫЙ СТАНДАРТ

Оборудование для сооружения и содержания дорог

РАЗБРАСЫВАТЕЛИ ДЛЯ ПОРОШКООБРАЗНЫХ СВЯЗУЮЩИХ

Терминология и коммерческие технические условия

Road construction and maintenance equipment. Powder binder spreaders.
Terminology and commercial specifications

Дата введения - 2018-07-01

1 Область применения

Настоящий стандарт устанавливает основные термины и определения, а также технические условия для разбрасывателей порошкообразных связующих, используемых при строительстве и обслуживании дорог.

2 Нормативные ссылки

В настоящем стандарте использована нормативная ссылка на следующий международный стандарт:

ISO 3911:1998 Wheels and rims for pneumatic tyres. Vocabulary, designation and marking (Колеса и ободья для пневматических шин. Словарь, обозначения и маркировка).

3 Термины и определения

В настоящем стандарте применены следующие термины и определения:

3.1 разбрасыватели для порошкообразных связующих (powder binder spreader): Передвижное оборудование, предназначенное для стабилизации, обеспечения фиксации или предотвращения деформации материалов дорожного покрытия, а также грунта перед укладкой дорожного покрытия или основания под него.

Примечание - Конструкция разбрасывателя должна обеспечивать заданный расход материала, контролируемый скоростью передвижения и дозирующими устройствами.

3.2 разбрасыватель с дозированием материала по объему (spreader with proportioning by volume): Разбрасыватель, оснащенный питателем для разбрасываемого материала, основанном на принципе объемного дозирования, например вращающийся лопастной разбрасыватель или конвейер.

Примечание 1 - Разбрасыватель может быть оснащен аппаратурой, регистрирующей расход материала, время работы и площадь покрытия.

Примечание 2 - См. рисунки А.3 и А.4.

3.3 разбрасыватель с дозированием материала по массе (spreader with proportioning by mass): Разбрасыватель, оснащенный системой дозирования, контролирующей расход разбрасываемого материала по массе.

4 Классификация разбрасывателей для порошкообразных связующих

4.1 Основные типы разбрасывателей

Разбрасыватели для порошкообразных связующих классифицируются по следующим критериям:

- способ транспортирования при работе;

- способ доставки материала из расходного бункера через рабочий орган на рабочую поверхность;

- способ дозирования.

4.2 По способу транспортирования при работе

По способу транспортирования при работе разбрасыватели классифицируются следующим образом:

a) установленный на транспортном средстве: транспортный разбрасыватель (рисунки А.1 и А.2);

b) движущийся самостоятельно: самоходный разбрасыватель (рисунки А.5, А.6 и А.7);

c) буксируемый трактором: прицепной разбрасыватель (рисунок А.3).

4.3 По способу доставки материала из расходного бункера через рабочий орган на рабочую поверхность

По способу доставки материала на рабочую поверхность разбрасыватели подразделяются следующим образом:

a) по гравитационному принципу;

- с аэрацией разбрасываемого материала (рисунки А.1 и А.5);

- без аэрации разбрасываемого материала.

b) по принципу механической подачи материала:

- с помощью конвейера с металлической или резиновой лентой (рисунок А.3);

- с помощью шнекового питателя (рисунок А.2) или разбрасывающего устройства (рисунок А.7).

c) с помощью пневмотранспорта;

d) комбинированными способами:

- с разделением или без разделения потока материала перед подачей в дозатор;

- с аэрацией или без аэрации материала в бункере перед подачей в дозатор.

4.4 По типу дозатора

Для разбрасывателей порошкообразных связующих используются следующие типы дозаторов:

a) вращающийся лопастной разбрасыватель (рисунки А.1 и А.4);

b) конвейер (рисунок А.3);

c) дозатор по массе, с распределением или без распределения потока материала после дозирования;

d) другие типы дозаторов.

5 Спецификация

5.1 Основные сборочные единицы разбрасывателей для порошкообразных связующих

(См. рисунки А.1, А.2, А.3, А.4, А.6 и А.7)

Установка разбрасывателя для порошкообразных связующих состоит из следующих сборочных единиц:

- двигатель и трансмиссия;

- шасси;

- неприводная ось;

- приводная ось;

- расходный бункер для материала;

- приемный бункер с аэрацией;

- раздаточный конвейер;

- регулирующая заслонка;

- шнековый питатель;

- разбрасывающее устройство;

- компрессор и транспортирующие трубопроводы;

- вращающийся лопастной разбрасыватель;

- защитная юбка;

- пульт управления.

5.2 Основное измерительное оборудование и органы управления

В состав основного оборудования входят:

- пульт управления расходом материала, расположенный в кабине оператора;

- индикатор «бункер заполнен»;

- индикатор «бункер пуст»;

- индикатор уровня материала в бункере;

- расходомер разбрасываемого материала:

- по массе;

- по объему;

- измеритель поверхности, покрываемой разбрасывателем;

- устройство, рассчитывающее средний расход материала (с учетом данных расходомера разбрасываемого материала и измерителя поверхности, покрываемой разбрасывателем);

- автоматическое устройство дозирования подачи материала (с учетом данных устройства, рассчитывающего средний расход материала);

- система регистрации параметров работы разбрасывателя;

- система индикации параметров работы разбрасывателя с возможностью вывода на печать итоговых данных или без таковой;

- аварийная сигнализация.

5.3 Дополнительное оборудование разбрасывателей для порошкообразных связующих

Разбрасыватели также могут комплектоваться:

- пылезащитным устройством для пневматической загрузки:

- для предотвращения пылевыделения при загрузке;

- для предотвращения пылевыделения при аэрации материала в расходном бункере;

- системой орошения водой для пылеподавления (с емкостью для воды);

- устройством для разбрасывания материала по специфической ширине;

- сигнальными маячками.

5.4 Основные технические характеристики разбрасывателей для порошкообразных связующих

5.4.1 Геометрические характеристики

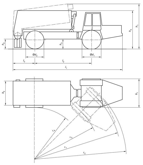
В спецификации должны быть указаны следующие характеристики (см. рисунок А.5):

- Габаритные размеры в рабочем положении:

- длина, , мм;

- ширина, , мм;

- высота, , мм;

- колесная база, , мм;

- задний свес, , мм;

- ширина разбрасывателя, , мм;

- расстояние от уровня грунта до питателя, , мм;

- дорожный просвет, , мм;

- габаритная высота в транспортном положении, , м;

- диаметр передних колес, , мм;

- диаметр задних колес, , мм;

- внешний радиус поворота по колее, , мм;

- внешний радиус поворота по габариту, , мм;

- внутренний радиус поворота по колее, , мм;

- внутренний радиус поворота по габариту, , мм.

- Размеры в транспортном положении:

- длина, мм;

- ширина, мм;

- высота, мм.

5.4.2 Массовые характеристики

Указываются следующие характеристики:

- масса в снаряженном состоянии.

Включает в себя:

- массу основной машины со стандартным инструментом и навесным оборудованием, кг;

- вес водителя 75 кг;

- массу топливного бака, заполненного на 50 %;

- массу разбрызгивающего или распыляющего оборудования, заполненного на 50 %;

- массу бака для гидравлической жидкости, заполненного полностью;

- масса в транспортном положении:

- масса загруженной машины в рабочем состоянии, кг.

5.4.3 Нагрузки

Указываются следующие характеристики:

- Нагрузка на переднюю ось:

- в незагруженном состоянии, Н;

- в загруженном состоянии, Н.

- Нагрузка на заднюю ось (оси):

- в незагруженном состоянии, Н;

- в загруженном состоянии, Н.

- Нагрузка на сцепное устройство:

- в незагруженном состоянии, Н;

- в загруженном состоянии, Н.

5.4.4 Давление на грунт (для разбрасывателей на гусеничном ходу)

Указываются следующие характеристики:

- Давление на грунт:

- в незагруженном состоянии, кПа;

- в загруженном состоянии, кПа.

5.4.5 Характеристики двигателя

Указываются следующие характеристики:

- производитель и модель;

- мощность (в соответствии со стандартом), кВт;

- тип системы охлаждения;

- рекомендованная мощность для прицепного разбрасывателя, кВт.

5.4.6 Характеристики трансмиссии

Указываются следующие характеристики:

- количество осей;

- количество приводных осей.

- Тип трансмиссии:

- гидростатическая;

- механическая;

- другой тип трансмиссии.

- Диапазон рабочих скоростей, км/ч.

- Максимальная транспортная скорость, км/ч.

5.4.7 Характеристики рулевого управления

Указываются следующие характеристики:

- Тип рулевого управления:

- управляемая ось;

- шарнирно-сочлененная рама;

- стопорение гусеницы;

- независимые гусеницы.

5.4.8 Характеристики шин и гусеничных траков

Указываются следующие характеристики:

- Шины передней оси (маркировка, давление по ИСО 3911), МПа.

- Шины задней оси (маркировка, давление по ИСО 3911), МПа.

- Шаг траков гусеницы, мм.

5.4.9 Технические характеристики оборудования для разбрасывания порошкообразных связующих

Указываются следующие характеристики:

- Объем бункера для разбрасываемого материала, м3.

- Ширина разбрасывания  (рисунок А.5), мм.

- Выход материала:

- максимальный, дм32 или кг/м2;

- минимальный, дм32 или кг/м2;

- для разбрасывателей с дозированием по объему, дм32;

- для разбрасывателей с дозированием по массе, кг/м2;

- расход материала по объему за один оборот вращающегося лопастного разбрасывателя, дм3;

- количество секций вращающегося лопастного разбрасывателя;

- высота падения разбрасываемого материала на рабочую поверхность,  (рисунок А.5), мм.

- Максимальный продольный уклон, преодолеваемый без потери устойчивости и точности дозирования разбрасываемого материала:

- при движении вверх, %;

- при движении вниз, %.

- Максимальный поперечный уклон, преодолеваемый без потери устойчивости и точности дозирования материала по всей ширине разбрасывания, %.

- Высота центра масс загруженной машины в процессе разбрасывания/движения, мм.

Приложение А
(информативное)
Примеры конструкций и геометрические характеристики разбрасывателей
для порошкообразных связующих

1 - двигатель и трансмиссия; 2 - шасси; 3 - неприводная ось (также может быть приводной); 4 - приводная ось;
5 - бункер для разбрасываемого материала; 6 - подготовительный бункер; 7 - лопастной роторный питатель;
8 - защитная юбка; 9 - компрессор и система пневмотранспорта

Рисунок А.1 - Транспортный разбрасыватель для порошкообразных связующих
с пневмотранспортировкой материала и вращающимся лопастным разбрасывателем

1 - двигатель и трансмиссия; 2 - приводные оси; 3 - бункер для разбрасываемого материала; 4 - шнековый питатель;
5 - разбрасывающее устройство; 6 - защитная юбка

Рисунок А.2 - Транспортный разбрасыватель для порошкообразных связующих
со шнековым питателем и вращающимся лопастным разбрасывателем

1 - шасси; 2 - бункер для разбрасываемого материала; 3 - конвейер подачи материала; 4 - ограничительная заслонка;
5 - защитная юбка

Рисунок А.3 - Прицепной разбрасыватель для порошкообразных связующих
с подачей материала ленточным питателем и контролем расхода материала
с помощью передвижения ограничительной заслонки или регулировки скорости движения конвейера

1 - емкость для разбрасываемого материала (может быть установлен подготовительный бункер);
2 - вращающийся лопастной разбрасыватель; 3 - направляющая часть разбрасывателя (статор); 4 - ротор

Рисунок А.4 - Схема вращающегося лопастного разбрасывателя

Габаритные размеры в рабочем состоянии:

 - длина

 - ширина

 - высота

 - колесная база

 - задний свес

 - ширина разбрасывания

 - расстояние от рабочей поверхности
до механизма разбрасывателя (питателя)

 - дорожный просвет

 - высота в транспортном положении

 - диаметр переднего колеса

 - диаметр задних колес

 - внешний радиус поворота по колее

 - внешний радиус поворота по габариту

 - внутренний радиус поворота по колее

 - внутренний радиус поворота по габариту

Рисунок А.5 - Самоходный разбрасыватель для порошкообразных связующих с подачей материала
по гравитационному принципу с аэрацией материала и вращающимся лопастным разбрасывателем

1 - двигатель и трансмиссия; 2 - шасси; 3 - приводная ось; 4 - бункер для распыляемого материала;
5 - конвейер подачи материала; 6 - защитная юбка

Рисунок А.6 - Самоходный разбрасыватель для порошкообразных связующих на гусеничном ходу

1 - двигатель и трансмиссия; 2 - приводная ось; 3 - бункер для разбрасываемого материала;
4 - разбрасывающее устройство; 5 - кабина оператора

Рисунок А.7 - Самоходный разбрасыватель для порошкообразных связующих
с подачей материала по гравитационному принципу

Приложение ДА
(справочное)
Сведения о соответствии ссылочных международных стандартов
межгосударственным стандартам

Таблица ДА.1

Обозначение ссылочного международного стандарта

Степень соответствия

Обозначение и наименование соответствующего межгосударственного стандарта

ISO 3911:1998

-

*

* Соответствующий межгосударственный стандарт отсутствует.

 

Ключевые слова: оборудование для строительства и содержания дорог, разбрасыватели для порошкообразных связующих, терминология, технические условия