НАУЧНО-ПРОИЗВОДСТВЕННАЯ И ПРОЕКТНАЯ ФИРМА
«ЭКОСИСТЕМА»

УТВЕРЖДАЮ

Директор ________ А.Н. Лавриненко

МЕТОДИКА
выполнения измерений массовой концентрации
аммиака в промышленных выбросах в атмосферу
фотометрическим методом
М-11

ФР.1.31.2011.11264

Исполнитель - главный специалист

ООО НППФ «Экосистема»

Н.А. Анисёнкова

Санкт-Петербург,
1999 г.

1. НАЗНАЧЕНИЕ И ОБЛАСТЬ ПРИМЕНЕНИЯ МЕТОДИКИ

Методика предназначена для измерения массовой концентрации аммиака в промышленных выбросах в атмосферу фотоколориметрическим методом в диапазоне от 0,2 до 200 мг/м3 на предприятиях, имеющих гальваническое производство, производство и переработку пластмасс, нефтехимическое производство, производство удобрений, очистные сооружения и др.

Определению мешают альдегиды, амины, сероводород (свыше 0,4 мг/м3), аэрозоли солей аммония.

2. ХАРАКТЕРИСТИКА ПОГРЕШНОСТИ ИЗМЕРЕНИЯ

Расширенная неопределенность измерений (при коэффициенте охвата 2): 0,25С, где С - результат измерений массовой концентрации аммиака, мг/м3.

Примечание: указанная неопределенность измерений соответствует границам относительной погрешности измерений ±25 % (при доверительной вероятности 0,95).

3. СРЕДСТВА ИЗМЕРЕНИЯ, РЕАКТИВЫ, МАТЕРИАЛЫ

3.1. Средства измерения:

Фотоэлектроколориметр

по ГОСТ 12083-78

Секундомер, класс 3, цена деления 0,2 с

по ГОСТ 5072-79 Е

Весы аналитические ВЛА-200

по ГОСТ 24104-80 Е

Меры массы

по ГОСТ 7328-82 Е

Барометр - анероид М-67

по ГОСТ 23696-79 Е

Термометр лабораторный, шкальный ТЛ-2, цена деления 1 °С предел 0 - 100 °С

по ГОСТ 215-73 Е

Электроаспиратор (типа ПУ-4Э)

по ТУ 4215-000-11696625

Колбы мерные (2-50-2; 2-100-2)

по ГОСТ 1770-74 Е

Пипетки (1,0; 2,0; 5,0; 10,0 см3)

по ГОСТ 1770-74

3.2. Вспомогательные устройства:

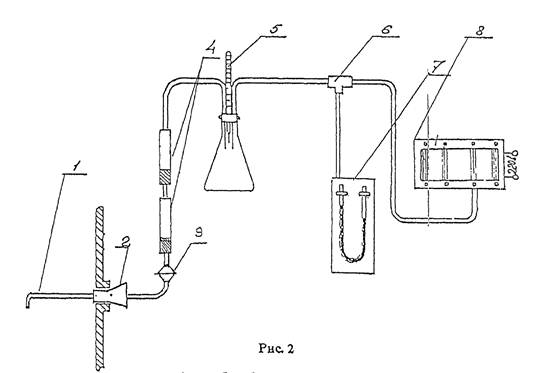
Трубка пробоотборная (рис. 1)

 

Сорбционные трубки 112 или 212

по ТУ-25-1110-039-82

Поглотительные приборы с пористой пластинкой типа ПП

по ТУ-25-11-1136-75

Силиконовые шланги

 

3.3. Реактивы;

Соляная кислота, хч.

ГОСТ 3118-77

Аммоний - ион

ГСО № 7015-93

Аммоний хлористый, чда

ГОСТ 3773-72

Реактив Несслера

ТУ 6.09-2089-77

Вода дистиллированная

ГОСТ 6709-72

Примечание: допускается применение других средств измерения и вспомогательного оборудования с техническими и метрологическими характеристиками не ниже указанного.

4. МЕТОД ИЗМЕРЕНИЯ

Метод основан на:

а) поглощении аммиака поглотительным раствором, нанесенным на пленочный сорбент или в поглотительный прибор;

б) вымывании из сорбционных трубок раствора аммиака поглотительным раствором;

в) добавлении реактива Несслера (щелочной раствор тетраиодомеркуриата калия). В результате образуется окрашенное в жёлтый цвет соединение.

г) колориметрировании окрашенного продукта.

5. УСЛОВИЯ БЕЗОПАСНОГО ПРОВЕДЕНИЯ РАБОТ

5.1. При выполнении анализов необходимо соблюдать требования техники безопасности при работе с химическими реактивами по ГОСТ 12.4.021.

5.2. Электробезопасность при работе с электроустановками по ГОСТ 2.1.019.

5.3. Организация обучения работающих безопасности труда по ГОСТ 12.0.004.

5.4. Помещение лаборатории должно соответствовать требованиям пожарной безопасности по ГОСТ 12.1.004 и иметь средства пожаротушения по ГОСТ 12.4.009.

5.5. Содержание вредных веществ в воздухе не должно превышать установленных предельно допустимых концентраций в соответствии с ГОСТ 12.1.005-88.

5.6. Работы при анализе проб газа должны выполняться с соблюдением требований техники безопасности, регламентируемых «Основными правилами безопасной работы в химической лаборатории».

5.7. Работы, связанные с отбором проб на высоте, допускается проводить только при наличии прочных и устойчивых площадок, огражденных перилами. Обязательным является ознакомление со следующими инструкциями:

▪ «Общие правила по технике безопасности при работе в химической лаборатории»;

▪ «Правила пожарной безопасности на предприятиях газовой или химической промышленности»;

▪ «Правила пользования спецодеждой и предохранительными приспособлениями»;

▪ «Оказание помощи при несчастных случаях».

6. ТРЕБОВАНИЯ К КВАЛИФИКАЦИИ ОПЕРАТОРА

К работе допускаются лица, не моложе 18 лет, прошедшие инструктаж по технике безопасности, имеющие квалификацию инженера-химика или техника-химика, имеющие опыт работы и владеющие техникой анализа, прошедшие инструктаж по правилам работы с токсичными газами.

7. УСЛОВИЯ ИЗМЕРЕНИЯ АНАЛИЗИРУЕМЫХ ГАЗОВЫХ ВЫБРОСОВ

7.1. При отборе проб

ПНД Ф 12.1.1-96

 

у ротаметра

в газоходе

Температура

от 2 °С до 35 °С

от 2 °С до 50 °С

Давление

от 82,5 кПа до 106,7 кПа

от 82,5 кПа до 106,7 кПа

Влажность относительная

от 30 - 100 %

от 30 - 100 %

7.2. При выполнении измерений в лаборатории должны быть соблюдены следующие условия (по СанПиН 2.2.4.548-96):

Температура

20 °С ± 5 °С

 

Давление

101,3 кПа ± 3 кПа

 

Влажность относительная

до 75 %

 

8. ПОДГОТОВКА И ПРОВЕДЕНИЕ ИЗМЕРЕНИЙ

8.1. Приготовление растворов

8.1.1. Приготовление градуировочного раствора аммиака.

Исходный градуировочный раствор можно приготовить из Государственного стандартного образца (ГСО), а также из соли. Раствор из соли с концентрацией 1 мг/м3 готовят растворением 0,314 г. хлорида аммония в колбе объемом 100 см3 дистиллированной водой.

Рабочий раствор аммиака с концентрацией 10 мкг/см3 готовят разбавлением исходного раствора раствором соляной кислоты С(НСl) = 0,01 моль/дм3. Раствор готовят перед анализом.

8.1.2. Раствор соляной кислоты С(НСl) = 0,01 моль/дм3 (абсорбирующий раствор) готовится из стандарт - титра.

8.2. Построение градуировочной характеристики (ТХ)

8.2.1 Градуировочная характеристика выражает зависимость оптической плотности от массы аммиака в 5,0 см3 раствора. Для построения ГХ используют 5 градуировочных растворов (согласно таб. 1). Каждый градуировочный раствор приготавливают в 5-ти параллелях. Для построения градуировочной характеристики используется рабочий градуировочный раствор. В каждую пробирку из 5-ти измерений приливают 0,2; 0,5; 1,0; 2,0; 3,0 см3 рабочего градуировочного раствора и так 5 серий, что соответствует 2,0; 5,0; 10,0; 20,0; 30,0 мкг аммиака. Затем во все пробирки доливают 0,01 н НСl до общего объема 5 см3 и по 0,5 см3 реактива Несслера.

Таблица 1

№ раствора

1

2

3

4

5

Объем рабочего градуировочного раствора, см3

0,2

0,5

1,0

2,0

3,0

Объем 0,01 н раствора НСl, см3

4,8

4,5

4,0

3,0

2,0

Масса аммиака в 5 см3 градуировочного раствора, мкг

2,0

5,0

10,0

20,0

30,0

Через 5 минут колориметрируют при длине волны 440 нм и кювете с толщиной поглощающего слоя 10 мм. Одновременно таким же образом готовят нулевые пробы (не менее 2-х). Замер оптической плотности проводят относительно нулевой пробы.

8.2.2 Результаты измерений оптической плотности каждого из градуировочных растворов признают приемлемыми при выполнении условия:

(Di max - Di min)/Di ср∙100 ≤ Краз,

(1)

где

Di max, Di min, Di ср - максимальное, минимальное и среднее значения оптической плотности i-гo градуировочного раствора; единица оптической плотности (далее - е.о.п.);

Краз - норматив (допускаемый размах результатов, отнесённый к среднему арифметическому), соответствующий вероятности 0,95, %

Краз = 20 %

8.2.3 Градуировочную характеристику выражают линейным уравнением вида:

D = а + bm,

(2)

где

D - оптическая плотность раствора, е.о.п.;

m - масса аммиака в 5 см3 i-гo градуировочного раствора, мкг;

а и b - коэффициенты градуировочной характеристики.

8.2.4 Коэффициенты градуировочной характеристики «а» и «b» находят по методу наименьших квадратов по формулам:

(3)

 

(4)

где

Di ср - среднее значение оптических плотностей i-гo градуировочного раствора (среднее арифметическое 5-ти определений) относительно нулевой пробы, единица оптической плотности;

n - количество градуировочных растворов;

mi - масса аммиака в 5 см3 i-гo градуировочного раствора, мкг.

8.2.5 Градуировочную характеристику признают приемлемой при выполнении условия:

|Di ср - Dрас|/Dрас∙100 ≤ Кгр,

(5)

где

Dрас - оптическая плотность i-гo градуировочного раствора (е.о.п.), вычисленная по формуле (2) для соответствующего значения mi.

Кгр - норматив (допускаемое расхождение результатов измерений) соответствующий вероятности 0,95

Кгр = 8 %.

8.3. Отбор проб, их консервирование и хранение

* Подготовка сорбционных трубок:

Новые трубки помещают в высокий термостойкий стеклянный стакан, заливают дистиллированной водой и кипятят 20 минут, меняя воду 2 - 3 раза. Затем сушат при температуре 100 - 120 °С в сушильном шкафу. При проверке сорбционных трубок контролируется качество промывки и сушки слоя стеклянной крошки. Стеклянная крошка должна быть просушена до сыпучего состояния. Для проверки качества мытья сорбционных трубок определяют PH оставшейся воды (PH должен находится в интервале 6 - 7).

Чистые трубки, предназначенные для отбора проб воздуха, обрабатывают абсорбирующим раствором: в пробирку приливают 2 - 3 см3 0,01 н НСl и опускают туда сорбционную трубку сорбирующим слоем вниз. При помощи резиновой груши несколько раз прокачивают раствор, чтобы смочить гранулы. Затем трубку вынимают и излишки раствора выдувают на фильтровальную бумагу. Тщательно вытирают трубку снаружи, закрывают с двух сторон заглушками и укладывают в полиэтиленовый мешок.

* Отбор проб:

Исследуемую газовоздушную пробу отбирают с помощью стеклянной пробооторной трубки (рис. 1). Трубку устанавливают в отверстие на газоходе. К концу пробоотборной трубки при помощи шланга присоединены 2 сорбционные трубки последовательно (или 2 поглотительных прибора), другой конец которой (ого) подсоединен к аспиратору.

Сорбционную трубку при отборе держат вертикально, сорбентом вниз, чтобы ток газовоздушной смеси проходил через стеклянные гранулы снизу вверх. Аспирируют газовоздушную смесь со скоростью 0,5 - 1,0 дм3/мин в течение 20 минут. После отбора трубки закрывают заглушками и помещают в полиэтиленовый мешок. Срок хранения проб - 7 дней.

8.4. Выполнение измерений

В аналитической лаборатории сорбционные трубки опускают в пробирки и заливают 5,0 см3 0,01 н раствора соляной кислоты. (Из поглотительных приборов выливают поглотительный раствор.) Прокачав несколько раз раствор резиновой грушей, вынимают трубку из пробирки и выдувают грушей остатки раствора в пробирку.

В зависимости от предполагаемого содержания аммиака берут аликвоту от 1 до 5 см3 и доводят 0,01 н НСl до общего объема 5 см3. При большом содержании аммиака аликвоту от 1 до 5 см3 помещают в мерную колбу объемом 50; 100 см3 и доводят до метки 0,01 н раствором НСl и оттуда уже берут аликвоту 5 см3. Затем добавляют 0,5 см3 реактива Несслера и через 5 минут замеряют оптическую плотность относительно нулевой пробы, которую готовят одновременно с определяемыми пробами. (Содержимое каждого поглотительного сосуда и каждой сорбционной трубки анализируют отдельно, а результаты m1 и m2 (мкг) складывают).

9. ОБРАБОТКА РЕЗУЛЬТАТОВ ИЗМЕРЕНИЯ

9.1. Вычисление массы аммиака (m, мкг) в пробе

m1,2 = (D - а)∙K/b,

(6)

где

D - оптическая плотность раствора относительно нулевой пробы, е.о.п.;

«а» и «b» - коэффициенты, найденные по формулам (3, 4) при построении градуировочной характеристики;

K - коэффициент, учитывающий разбавление пробы,

K = Up/Ua,

(7)

где

Up - объём раствора после разбавления, см3;

Ua - объём аликвоты раствора, взятый для разбавления, см3.

9.2. Вычисление V - объёма отобранной газовоздушной смеси (дм3) и приведение к нормальным условиям (0 °С, 101,3 кПа),

V = ТW

(8)

 

V0 = V∙273∙Р/101,3∙(273 + tp)

(9)

где

Т - время пропускания газа через ротаметр, мин.;

W - расход газа, дм3/мин.;

Р - атмосферное давление при отборе проб, кПа;

tp - температура газовоздушной смеси перед ротаметром, °С;

V0 - объём отобранной газовоздушной смеси, приведённый к нормальным условиям, дм3.

9.3. Вычисление массовой концентрации аммиака в газовоздушной пробе (С, мг/м3).

C = m/V0

(10)

9.4. За результат массовой концентрации аммиака в газовоздушной пробе принимается среднее арифметическое 2-х определений

С = (С1 + С2)/2

(11)

где

С1 и С2 - результаты определения массовой концентрации аммиака в параллельных пробах, мг/м3.

Результат определения признают приемлемым при выполнении условия:

(Сmax - Cmin)/Сср∙100 ≤ R

(12)

где

Сmax, Cmin - максимальное и минимальное значение результатов параллельных определений, мг/м3;

Сср - среднее арифметическое значение двух параллельных определений, мг/м3.

R - норматив (степень близости результатов параллельных проб друг к другу при вероятности 0,95), %

R = 30 %.

10. КОНТРОЛЬ ТОЧНОСТИ РЕЗУЛЬТАТОВ ИЗМЕРЕНИЯ

10.1. Периодический контроль стабильности градуировочной характеристики

Контроль стабильности градуировочной характеристики проводится не реже 1 раза в квартал, а также при смене реактивов. Контроль проводится по контрольным растворам. Контрольные растворы готовят согласно таб. 1, каждый раствор приготавливают и анализируют 2 раза. Полученные для i-го контрольного раствора два значения оптической плотности признают приемлемым при выполнении условия (1) при нормативе Краз, равном 20 %.

Среднее арифметическое значение используют для вычисления массы аммиака по формуле (6). Результат контроля признаётся удовлетворительным при выполнении условия:

|mk - mi|/mi∙100 ≤ Кст

(13)

где

mi - масса аммиака в 5,0 см3 i-гo контрольного раствора (согласно таб. 1), мкг;

mk - масса аммиака в 5,0 см3 контрольного раствора, найденная по методике и рассчитанная по формуле (6), мкг. Значение mk вычисляется как среднее арифметическое 2-х определений, расхождение между которыми не должно превышать 20 %.

Кст - норматив контроля (допускаемое отклонение результата измерений массы аммиака в 0,5 см3 контрольного раствора от значения массы, приписанному этому раствору при вероятности 0,95), %;

Кст = 15 %.

Примечание:

Если в лаборатории анализ проводится эпизодически, то рекомендуется проводить данный контроль перед каждой серией проб. В этом случае контроль проводят по одной концентрации, значение которой приближается к ожидаемому.

11. ОФОРМЛЕНИЕ РЕЗУЛЬТАТОВ ИЗМЕРЕНИЙ

Результат измерения округляется до 2-х значащих цифр и записывается в виде

± 0,25С), мг/м3

Разработчик:

Главный специалист
ООО «Экосистема»

Н.А. Анисенкова

Приложение 1

Рис. 1

Пробоотборная трубка

1 - пробоотборная трубка 2 - пробка 4 - сорбционная трубка
5 - термометр 6 - тройник 7 - ртутный манометр
8 - аспиратор 9 - алонж

СОДЕРЖАНИЕ

1. Назначение и область применения методики. 1

2. Характеристика погрешности измерения. 1

3. Средства измерения, реактивы, материалы.. 1

4. Метод измерения. 2

5. Условия безопасного проведения работ. 2

6. Требования к квалификации оператора. 2

7. Условия измерения анализируемых газовых выбросов. 2

8. Подготовка и проведение измерений. 3

9. Обработка результатов измерения. 5

10. Контроль точности результатов измерения. 6

11. Оформление результатов измерений. 6

Приложение 1. 7