Государственное санитарно-эпидемиологическое
нормирование
Российской Федерации
4.1. МЕТОДЫ КОНТРОЛЯ. ХИМИЧЕСКИЕ ФАКТОРЫ
Измерение
концентрации вредных веществ
в воздухе рабочей зоны
Сборник
методических указаний
МУК
4.1.1575 - 4.1.1614-03
Выпуск 38
Москва 2003
Настоящий сборник содержит копии оригиналов методических указаний по измерению концентраций вредных веществ в воздухе рабочей зоны (МУК 4.1.1575 - 4.1.1614-03).
Утверждены Первым заместителем Министра здравоохранения Российской Федерации, Председателем Комиссии по государственному санитарно-эпидемиологическому нормированию, Главным государственным санитарным врачом Российской Федерации Г.Г. Онищенко в июне 2003 г.
Методические указания по измерению концентраций вредных веществ в воздухе рабочей зоны (сборник 38) разработаны с целью обеспечения контроля соответствия фактических концентраций вредных веществ их предельно допустимым концентрациям (ПДК) и ориентировочным безопасным уровням воздействия (ОБУВ) - санитарно-гигиеническим нормативам и являются обязательными при осуществлении санитарного контроля.
Включенные в данный сборник 40 методик контроля вредных веществ в воздухе рабочей зоны разработаны и подготовлены в соответствии с требованиями ГОСТ 12.1.005-88 ССБТ «Воздух рабочей зоны. Общие санитарно-гигиенические требования».
Методики выполнены с использованием современных методов исследования, метрологически аттестованы и дают возможность контролировать концентрации химических веществ на уровне и меньше их ПДК и ОБУВ в воздухе рабочей зоны установленных в ГН 2.2.5.686-98 «Предельно допустимые концентрации (ПДК) вредных веществ в воздухе рабочей зоны» и ГН 2.2.5.687-98 «Ориентировочные безопасные уровни воздействия (ОБУВ) вредных веществ в воздухе рабочей зоны».
|
УТВЕРЖДАЮ Первый заместитель Министра здравоохранения Российской Федерации Главный государственный санитарный врач Российской Федерации _____________ Г.Г. Онищенко 29 июня 2003 г. МУК 4.1.1607-03 Дата введения: с момента утверждения |
4.1. МЕТОДЫ КОНТРОЛЯ. ХИМИЧЕСКИЕ ФАКТОРЫ
МЕТОДИЧЕСКИЕ
УКАЗАНИЯ
по спектрофотометрическому измерению концентраций
фенилгидразина солянокислого (гидразинобензол
солянокислый) в воздухе рабочей зоны
|
|
М.м. 144,51 |
|
С6H8N2∙HCl |
Фенилгидразин солянокислый (фенилгидразин гидрохлорид) - кристаллическое вещество с сильным специфическим запахом. Легко растворим в воде, соляной кислоте, растворим в этаноле. Темп. пл. 240 - 241 °С с разложением.
В воздухе находится в виде паров и аэрозоля. Обладает общетоксическим действием, относится ко II классу опасности.
ПДК в воздухе 0,1 мг/м3.
Метод основан на реакции образования нитрозофенилгидразина при взаимодействии солянокислого фенилгидразина с азотистокислым натрием в кислой среде с последующей обработкой аммиаком и измерении оптической плотности раствора при 400 нм.
Отбор проб с концентрированием на фильтр и в поглотитель.
Нижний предел измерения содержания солянокислого фенилгидразина в фотометрируемом объеме пробы - 5 мкг.
Нижний предел измерения концентрации солянокислого фенилгидразина в воздухе - 0,05 мг/м3 (при отборе 100 л воздуха).
Диапазон измеряемых концентраций солянокислого фенилгидразина в воздухе от 0,05 до 0,5 мг/м3.
Определению мешают фенол, крезол и N-замещенные анилины.
Суммарная погрешность измерений не превышает ±20 %.
Время выполнения измерений, включая отбор пробы, около 60 мин.
Спектрофотометр СФ-26 или фотоэлектроколориметр.
Электроаспиратор ЭА-1, ГОСТ 95.10052-84 или аналогичный.
Весы лабораторные ВЛР-200, ГОСТ 24104-88E.
Фильтродержатель, ТУ 95-72-05-77.
Колбы мерные вместимостью 100 мл, ГОСТ 1770-74Е.
Пипетки вместимостью 1, 2, 5 и 10 мл, ГОСТ 29227-91.
Пробирки с пришлифованными пробками вместимостью 10 мл, ГОСТ 1770-74E.
Баня водяная лабораторная, ТУ 64-1-7850-76.
Поглотители Рыхтера, ГОСТ 6755-73.
Фенилгидразин солянокислый, ГОСТ 5834-73, ч.д.а.
Натрий азотистокислый, ГОСТ 4197-74, х.ч., 1 % водный раствор.
Серная кислота, ГОСТ 4204-77, разбавленная водой (1:3).
Аммиак водный, ГОСТ 3760-79, ч.д.а., 10 %-ный раствор.
Этиловый спирт, ГОСТ 5963-67, разбавленный водой (1:49).
Фильтр АФА-ВП-10, ТУ 95-743-80.
Стандартный раствор № 1 с концентрацией фенилгидразина солянокислого 400 мкг/мл готовят растворением 40 мг вещества в разбавленном водой спирте в мерной колбе вместимостью 100 мл.
Раствор устойчив при хранении в темном месте в течение недели.
Стандартный раствор № 2 с концентрацией 20 мкг/мл готовят соответствующим разбавлением стандартного раствора № 1 водным раствором спирта.
Раствор устойчив при хранении в темном месте в течение 3-х дней.
Воздух с объемным расходом 5 л/мин аспирируют через последовательно соединенные фильтр АФА-ВП-10 и поглотитель Рыхтера с 4 мл этилового спирта (1:49) при охлаждении (лед + вода).
Для определения 0,5 ПДК достаточно отобрать 100 л воздуха. Фильтры с отобранными пробами помещают в пробирки с пришлифованными пробками.
Пробы можно хранить в закрытых сосудах в холодильнике в течение недели.
Градуировочные растворы готовят согласно таблице.
Таблица
|
№ стандарта |
Стандартный раствор № 2, мл |
Этиловый спирт (1:49) |
Содержание фенилгидразина солянокислого в растворе, мкг |
|
1 |
0 |
4,0 |
0 |
|
2 |
0,25 |
3,75 |
5 |
|
3 |
0,50 |
3,50 |
10 |
|
4 |
1,00 |
3,00 |
20 |
|
5 |
1,50 |
2,50 |
30 |
|
6 |
2,00 |
2,00 |
40 |
|
7 |
2,50 |
1,50 |
50 |
В полученные градуировочные растворы добавляют по 0,1 мл раствора серной кислоты в воде (1:3), перемешивают, по 1 мл 1 %-ного водного раствора азотистокислого натрия, перемешивают и ставят в кипящую водяную баню на 5 минут. Затем пробирки охлаждают до комнатной температуры и доливают объем раствора до метки 6 мл 10 %-ным водным раствором аммиака. Через 15 минут растворы фотометрируют при длине волны 400 нм в кювете с толщиной поглощающего слоя 10 мм относительно к раствору сравнения, не содержащему определяемого вещества (раствор № 1 по таблице).
Строят градуировочный график: на ось ординат наносят значения оптических плотностей, на ось абсцисс - соответствующие им величины содержания фенилгидразина солянокислого в градуировочном растворе (мкг).
Проверку градуировочного графика проводят один раз в три месяца или в случае использования новой партии реактивов.
После отбора объем в поглотителе доводят до 4 мл этанолом (1:49).
Фильтр с отобранной пробой помещают в пробирку и заливают содержимым поглотителя, оставляют на 10 - 15 минут, периодически помешивая стеклянной палочкой. Фильтр отжимают и удаляют. Степень десорбции с фильтра 98 %.
Далее обработку проводят аналогично анализу градуировочных растворов. Оптическую плотность анализируемого раствора пробы измеряют аналогично градуировочным растворам по сравнению с контролем, который готовят одновременно и аналогично пробам, используя чистый фильтр.
Количественное содержание фенилгидразина солянокислого в растворе (мкг) находят по предварительно построенному градуировочному графику.
Концентрацию фенилгидразина солянокислого "С" (в мг/м3) в воздухе вычисляют по формуле:
![]()
а - содержание вещества в анализируемом объеме пробы, найденное по градуировочному графику, мкг;
V - объем воздуха, отобранный для анализа и приведенный к стандартным условиям, л (см. Приложение 1).
Приведение объёма воздуха к стандартным условиям (температура 20 °С и давление 760 мм рт. ст.) проводят по формуле:
![]()
Vt - объём воздуха, отобранный для анализа, л;
Р - барометрическое давление, кПа (101,33 кПа = 760 мм рт. ст.);
t - - температура воздуха в месте отбора пробы, °С.
Для удобства расчёта V20 следует пользоваться таблицей коэффициентов (приложение 2). Для приведения воздуха к стандартным условиям надо умножить Vt на соответствующий коэффициент.
Коэффициенты для приведения объема воздуха к стандартным условиям
|
°С |
Давление Р, кПа/мм рт. ст. |
|||||||||
|
97,33/730 |
97,66/734 |
98,4/738 |
98,93/742 |
99,46/746 |
100/750 |
100,53/754 |
101,06/758 |
101,33/760 |
101,86/764 |
|
|
-30 |
1,1582 |
1,1646 |
1,1709 |
1,1772 |
1,1836 |
1,1899 |
1,1963 |
1,2026 |
1,2068 |
1,2122 |
|
-26 |
1,1393 |
1,1456 |
1,1519 |
1,1581 |
1,1644 |
1,170? |
1,1768 |
1,1831 |
1,1862 |
1,1926 |
|
-22 |
1,1212 |
1,1274 |
1,1336 |
1,1396 |
1,1436 |
1,1?19 |
1,1581 |
1,1643 |
1,1673 |
1,173? |
|
-18 |
1,1036 |
1,1097 |
1,1158 |
1,1218 |
1,1278 |
1,1338 |
1,1399 |
1,1460 |
1,1490 |
1,1551 |
|
-14 |
1,0866 |
1,0926 |
1,0986 |
1,104? |
1,110? |
1,1164 |
1,1224 |
1,1284 |
1,1313 |
1,1373 |
|
-10 |
1,0701 |
1,0760 |
1,0819 |
1,0877 |
1,0986 |
1,0994 |
1,1053 |
1,1112 |
1,1141 |
1,1200 |
|
-6 |
1,0?40 |
1,0699 |
1,0657 |
1,0714 |
1,0772 |
1,0829 |
1,0887 |
1,094? |
1,0974 |
1,1032 |
|
-2 |
1,0385 |
1,0442 |
1,0499 |
1,0556 |
1,0613 |
1,0669 |
1,0726 |
1,0784 |
1,0812 |
1,0869 |
|
0 |
1,0309 |
1,0366 |
1,0423 |
1,0477 |
1,0536 |
1,0591 |
1,0648 |
1,0705 |
1,0733 |
1,0789 |
|
+2 |
1,0234 |
1,0291 |
1,0347 |
1,0402 |
1,0459 |
1,0614 |
1,0571 |
1,0627 |
1,06?5 |
1,0712 |
|
+6 |
1,0087 |
1,0143 |
1,0198 |
1,02?3 |
1,0309 |
1,0363 |
1,0419 |
1,0475 |
1,0502 |
1,0557 |
|
+10 |
0,9944 |
0,9999 |
0,0054 |
1,0108 |
1,0162 |
1,0216 |
1,0272 |
1,0326 |
1,0353 |
1,0407 |
|
+14 |
0,9806 |
0,9860 |
0,9914 |
0,9967 |
1,0027 |
1,0074 |
1,0128 |
1,0183 |
1,0209 |
1,0263 |
|
+18 |
0,9671 |
0,972? |
0,9778 |
0,9830 |
0,9884 |
0,9936 |
0,9989 |
1,0043 |
1,0069 |
1,0122 |
|
+20 |
0,960? |
0,96?8 |
0,9711 |
0,9783 |
0,9816 |
0,9868 |
0,9921 |
0,9974 |
1,0000 |
1,00?3 |
|
+22 |
0,9539 |
0,9592 |
0,9643 |
0,9696 |
0,9749 |
0,9800 |
0,9853 |
0,9908 |
0,9932 |
0,9985 |
|
+24 |
0,9475 |
0,9627 |
0,9379 |
0,9631 |
0,9683 |
0,973? |
0,9787 |
0,9?39 |
0,9?6? |
0,9917 |
|
+26 |
0,9412 |
0,9464 |
0,9?16 |
0,9566 |
0,9618 |
0,9669 |
0,9721 |
0,9773 |
0,9799 |
0,9?51 |
|
+28 |
0,9349 |
0,9401 |
0,94?3 |
0,9503 |
0,95?? |
0,960? |
0,96?7 |
0,970? |
0,9734 |
0,978? |
|
+30 |
0,9288 |
0,9339 |
0,9391 |
0,9440 |
0,9432 |
0,9542 |
0,9?94 |
0,964? |
0,9670 |
0,9723 |
|
+34 |
0,9167 |
0,9218 |
0,9268 |
0,9318 |
0,9368 |
0,941? |
0,9468 |
0,9?19 |
0,9?44 |
0,9?9? |
|
+38 |
0,9049 |
0,9099 |
0,9149 |
0,9199 |
0,9248 |
0,9297 |
0,9347 |
0,9397 |
0,9421 |
0,9471 |
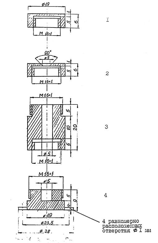
Рисунок 1
Пассивный дозиметр P-1

1 - сплошная крышка
2 - крышка с диффузным отверстием
3 - диффузная камера
4 - камера для сорбента
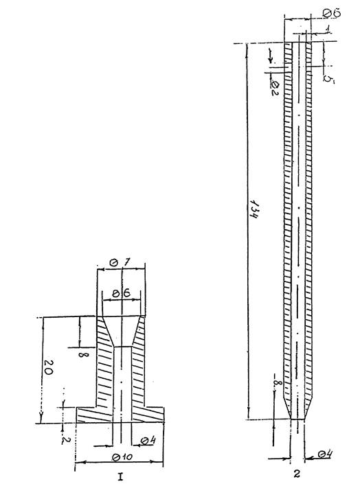
Рисунок 2
Устройство для концентрирования и ввода проб

1 - пята , 2 - концентрационная трубка
Рисунок 3
Пассивный дозиметр Р-4

1 - сплошная крышка
2 - крышка с диффузным отверстием
3 - диффузная камера
4 - камера для сорбента
Материал для изготовления дозиметра - дюраль или
нержавеющая сталь.
Указатель основных синонимов, технических, торговых и фирменных названий веществ
|
|
Стр. |
|
Белая магнезия |
87 |
|
Бромгексин |
9 |
|
Бура |
141 |
|
Гидразинобензол солянокислый |
151 |
|
Глибенкламид |
155 |
|
Диэтиламинопропиламин |
77 |
|
Иминодибензил |
30 |
|
Лидокаин |
46 |
|
Метаран |
50 |
|
МЦ-100 |
102 |
|
Масло "Турбомас" |
73 |
|
Неопентилгликоль |
83 |
|
Нимодипин |
59 |
|
Нитрендипин |
54 |
|
Нитроглицерин |
131 |
|
Оксипропилметилцеллюлоза |
21 |
|
Ондансетрон |
145 |
|
Ранитидин гидрохлорид |
35 |
|
Реагент ААК или Таллактам |
118 |
|
СМБА |
137 |
|
Сульфаметоксазол |
12, 15 |
|
Тамоксифен основание |
40 |
|
Тамоксифен цитрата |
40 |
|
Тиаприд |
82 |
|
Триметоприм |
27 |
|
Хладон-14 |
148 |
|
Ципрофлоксацин гидрохлорида моногидрат |
164 |
|
Экосорб |
108 |
|
Эналаприла малеат |
176 |
|
Этиниловый спирт |
181 |
|
Наименование вещества |
Методические указания |
|
1. Ароматизатор из мяты перечной 16433 |
МУ по газохроматографическому измерению концентраций ментола (L-2-изопропил-5-метициклогексанола) в воздухе рабочей зоны. Вып. 30. М. 2000, с. 189 , МУК 4.1.240-96. |
|
2. Ванадий-алюминиевая лигатура |
Измерение концентрации ванадия методом атомно-абсорбционной спектрофотометрии. Сб. "МУ по определению вредных веществ в сварочном аэрозоле". М. 1992 г., стр. 67, МУ № 4945-88. |
|
3. Мультиинзимная композиция МЭК-СХ-1 |
МУ по спектрофотометрическому измерению концентраций амилазы в воздухе рабочей зоны. Вып. 38. |
|
4. Мультиинзимная композиция МЭК-СХ-2 |
МУ по спектрофотометрическому измерению концентрации целлюлазы в воздухе рабочей зоны. Вып. 38. |
|
5. Опаспрей белый |
МУ по газохроматографическому измерению метилового спирта в воздухе рабочей зоны. Вып. 19, М. 1984, стр. 102, МУ № 2902-83. |
|
6. Опаспрей жёлтый |
МУ по газохроматографичесхому измерению метилового спирта в воздухе рабочей зоны. Вып. 19, М. 1984, стр. 102, МУ № 2902-83. |
|
7. Пыль периклазохромитовых и хромитопериклазовых огнеупорных изделий |
МУ на гравиметрическое определение пыли в воздухе рабочей зоны и в системах вентиляционных установок. Вып. 1 - 5, M. 1981, стр. 235, МУ № 1719-77. |
|
8. Хладон СМ-1 |
МУ по газохроматографическому измерению концентраций 1,1,1,2-тетрафторэтана в воздухе рабочей зоны. Вып. 35, МУК 4.1.860-99 утв. 30.12.99 г. |
|
9. Биовит-160 |
МУ по фотометрическому измерению концентраций хлортетрациклина в воздухе рабочей зоны. Вып. 11 переработ., M. 1992, стр. 149. № 5866-91. |
|
10. M0624M смесь (смесь четвертичных аммониевых соединений) |
МУ по фотометрическому измерению концентраций диалкилдиметиламмоний хлорида (C17 - C20) и алкилбензилдиметиламмоний хлорида (С10 - С16)-дон-2, диалкилламинопропионитрила (С7 - С9) - ифхангаз, алкилтриметиламмоний хлорида (С10 - С16), дон-52 в воздухе рабочей зоны. Вып. 25, М., 1989, стр. 49, МУК № 4905-88. |
Расчет характеристик погрешности на основе данных, приведенных в МВИ КХА
|
Приведено в МВИ |
Принятые предположения |
Расчет составляющей погрешности |
|
Δ (информация о структуре погрешности отсутствует) |
Δс - незначимо |
σ( |
Δ - характеристика результатов КХА (суммарная погрешность),
Δс - характеристика систематической составляющей погрешности,
σ(
) -
характеристика случайной составляющей погрешности.
Расчёт норматива оперативного контроля погрешности (точности) МВИ КХА
|
№ |
Алгоритм оперативного контроля |
Вид контроля |
Принятые обозначения |
||
|
Внутренний оперативный контроль |
Внешний контроль по схеме оперативного контроля |
||||
|
1 |
С применением образцов для контроля |
|
Kк - результат контрольной процедуры; |
||
|
K = 0,84Δ |
K = Δ |
|
|||
|
где Δ - характеристика погрешности, соответствующая содержанию компонента в ОК |
C - аттестованное значение ОК; |
||||
|
K - норматив оперативного контроля |
|||||
|
2 |
С применением метода добавок |
|
Kк - результат контрольной процедуры; |
||
|
|
|
|
|||
|
|
|
||||
|
C - величина добавки; |
|||||
|
K - норматив оперативного контроля |
|||||
|
3 |
С применением метода разбавления |
|
Kк - результат контрольной процедуры; |
||
|
|
|
|
|||
|
|
|
||||
|
R - коэффициент разбавления; |
|||||
|
K - норматив оперативного контроля |
|||||
|
4 |
С применением другой (контрольной) методики |
|
Kк - результат контрольной процедуры; |
||
|
|
|
|
|||
|
|
|
||||
|
K - норматив оперативного контроля |
|||||
Оперативный контроль погрешности (точности) проводят в одинаковых условиях, т.е. результаты анализа получает один аналитик с использованием одного набора мерной посуды, одной партии реактивов и т.д.
Расчет норматива внутрилабораторного оперативного контроля (ВОК) воспроизводимости МВИ КХА
ВОК воспроизводимости проводят с использованием рабочих проб путем сравнения результата контрольной процедуры, равного расхождению двух результатов КХА (x1 и x2) содержания компонента в одной и той же пробе, с нормативом ВОК воспроизводимости Д.
![]()
Норматив ВОК воспроизводимости рассчитывают по формуле:
Д = Q(P, m)σ(Δ),
где σ(Δ) - показатель воспроизводимости (характеристика случайной составляющей погрешности, соответствующая среднему содержанию компонента в пробе):
![]()
Q(P, m) = 2,77 при m = 2, Р = 0,95.
При осуществлении ВОК воспроизводимости отбирают две пробы, объём которых равен объёму, необходимому для проведения анализа по методике, и анализируют в точном соответствии с прописью методики, максимально варьируя условия проведения анализа, т.е. получают два результата анализа, используя разные наборы мерной посуды, разные партии реактивов. В работе должны участвовать два аналитика.
При превышении норматива ВОК воспроизводимости эксперимент повторяют. При повторном превышении указанного норматива выясняют причины, приводящие к неудовлетворительным результатам контроля, и устраняют их.
СОДЕРЖАНИЕ