ФЕДЕРАЛЬНОЕ АГЕНТСТВО
ПО ТЕХНИЧЕСКОМУ РЕГУЛИРОВАНИЮ И МЕТРОЛОГИИ
|
|
НАЦИОНАЛЬНЫЙ |
ГОСТ Р |
ОТВЕСЫ СТАЛЬНЫЕ СТРОИТЕЛЬНЫЕ
Технические условия
|
|
Москва Стандартинформ 2019 |
Предисловие
1 РАЗРАБОТАН Акционерным обществом «Всероссийский научно-исследовательский институт сертификации» (АО «ВНИИС»)
2 ВНЕСЕН Техническим комитетом по стандартизации ТК 465 «Строительство»
3 УТВЕРЖДЕН И ВВЕДЕН В ДЕЙСТВИЕ Приказом Федерального агентства по техническому регулированию и метрологии от 30 августа 2019 г. № 597-ст
4 ВВЕДЕН ВПЕРВЫЕ
Правила применения настоящего стандарта установлены в статье 26 Федерального закона от 29 июня 2015 г. № 162-ФЗ «О стандартизации в Российской Федерации». Информация об изменениях к настоящему стандарту публикуется в ежегодном (по состоянию на 1 января текущего года) информационном указателе «Национальные стандарты», а официальный текст изменений и поправок - в ежемесячном информационном указателе «Национальные стандарты». В случае пересмотра (замены) или отмены настоящего стандарта соответствующее уведомление будет опубликовано в ближайшем выпуске ежемесячного информационного указателя «Национальные стандарты». Соответствующая информация, уведомление и тексты размещаются также в информационной системе общего пользования - на официальном сайте Федерального агентства по техническому регулированию и метрологии в сети Интернет (www.gost.ru)
Содержание
|
3 Основные параметры и размеры.. 3 7 Маркировка, упаковка, транспортирование и хранение. 5 Приложение А (обязательное) Конструкция и размеры основных деталей отвесов. 6
|
ГОСТ P 58513-2019
НАЦИОНАЛЬНЫЙ СТАНДАРТ РОССИЙСКОЙ ФЕДЕРАЦИИ
ОТВЕСЫ СТАЛЬНЫЕ СТРОИТЕЛЬНЫЕ
Технические условия
Steel construction antenna. Specifications
Дата введения - 2020-03-01
Настоящий стандарт устанавливает технические требования к стальным отвесам строительным, применяемым для контроля вертикальности конструкций при производстве строительных монтажных работ.
В настоящем стандарте использованы нормативные ссылки на следующие стандарты:
ГОСТ 8.051 Государственная система обеспечения единства измерений. Погрешности, допускаемые при измерении линейных размеров до 500 мм
ГОСТ 9.014 Единая система защиты от коррозии и старения. Временная противокоррозионная защита изделий. Общие требования
ГОСТ 9.301 Единая система защиты от коррозии и старения. Покрытия металлические и неметаллические неорганические. Общие требования
ГОСТ 9.302 Единая система защиты от коррозии и старения. Покрытия металлические и неметаллические неорганические. Методы контроля
ГОСТ 9.303 Единая система защиты от коррозии и старения. Покрытия металлические и неметаллические неорганические. Общие требования к выбору
ГОСТ 380 Сталь углеродистая обыкновенного качества. Марки
ГОСТ 427 Линейки измерительные металлические. Технические условия
ГОСТ 1050 Металлопродукция из нелегированных конструкционных качественных и специальных сталей. Общие технические условия
ГОСТ 1414 Прокат из конструкционной стали высокой обрабатываемости резанием. Технические условия
ГОСТ 13837 Динамометры общего назначения. Технические условия
ГОСТ 14192 Маркировка грузов
ГОСТ 15150 Машины, приборы и другие технические изделия. Исполнения для различных климатических районов. Категории, условия эксплуатации, хранения и транспортирования в части воздействия климатических факторов внешней среды
ГОСТ 18088 Инструмент металлорежущий, алмазный, дереворежущий, слесарно-монтажный и вспомогательный. Упаковка, маркировка, транспортирование и хранение
ГОСТ 21631 Листы из алюминия и алюминиевых сплавов. Технические условия
Примечание - При пользовании настоящим стандартом целесообразно проверить действие ссылочных стандартов в информационной системе общего пользования - на официальном сайте Федерального агентства по техническому регулированию и метрологии в сети Интернет или по ежегодному информационному указателю «Национальные стандарты», который опубликован по состоянию на 1 января текущего года, и по выпускам ежемесячного информационного указателя «Национальные стандарты» за текущий год. Если заменен ссылочный стандарт, на который дана недатированная ссылка, то рекомендуется использовать действующую версию этого стандарта с учетом всех внесенных в данную версию изменений. Если заменен ссылочный стандарт, на который дана датированная ссылка, то рекомендуется использовать версию этого стандарта с указанным выше годом утверждения (принятия). Если после утверждения настоящего стандарта в ссылочный стандарт, на который дана датированная ссылка, внесено изменение, затрагивающее положение, на которое дана ссылка, то это положение рекомендуется применять без учета данного изменения. Если ссылочный стандарт отменен без замены, то положение, в котором дана ссылка на него, рекомендуется применять в части, не затрагивающей эту ссылку.
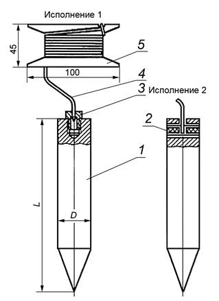
3.1 Типоразмеры, основные размеры и масса отвесов должны соответствовать указанным в таблице 1 и на рисунке 1.
Таблица 1 - Типоразмеры, основные размеры и масса отвесов
Размеры в миллиметрах
|
Типоразмер |
D±0,5 |
L±2 |
Масса, кг, не более |
|
ОТ50 |
18 |
39 |
0,05 |
|
ОТ100 |
- |
64 |
0,5 |
|
ОТ200 |
- |
114 |
0,2 |
|
ОТ400 |
30 |
98 |
0,4 |
|
ОТ600 |
- |
132 |
0,6 |
|
ОТ800 |
- |
165 |
0,8 |
|
ОТ1000 |
38 |
144 |
1,0 |
|
ОТ1500 |
- |
200 |
1,5 |
Примечание - В таблице указана масса отвеса и его головки.
3.2 Конструкция, размеры деталей отвесов и их масса приведены в приложении А.
3.3 Условное обозначение отвеса должно включать наименование, типоразмер, исполнение, обозначение настоящего стандарта.
Пример - Условное обозначение отвеса типоразмера ОТ50, исполнения 1: Отвес стальной ОТ50-1 ГОСТ Р 58513-2019.
1 - корпус; 2 - вставка; 3 - головка; 4 - шнур; 5 - планка
Рисунок 1 - Отвес типа ОТ
4.2 Корпуса и головки отвесов должны изготовляться из стали любой марки по ГОСТ 380, ГОСТ 1050 или ГОСТ 1414.
4.3 Вставки для отвесов исполнения 2 должны изготовляться из полиамида 6 по нормативным и техническим документам изготовителя или других пластмасс, механические показатели которых не ниже, чем у полиамида 6.
4.4 Планки для отвесов должны изготовляться из алюминиевого листа марок АД0 или АД1 по ГОСТ 21631 толщиной 1,5 - 2 мм.
Допускается изготавливать планки из листа алюминия других марок, механические показатели которых не ниже, чем у листа марок АД0 или АД1.
4.5 Острые кромки планок должны быть притуплены.
- 1,8 мм -для отвесов типоразмеров ОТ50, ОТ100, ОТ200, ОТ400 и ОТ600;
- 3 мм - для отвесов типоразмеров ОТ800, ОТ1000 и ОТ1500.
Допускается применение шнуров из других материалов, механические показатели которых не ниже, чем у капроновых или хлориновых.
4.7 Длина шнура для отвесов должна быть не менее:
- 3 м - для отвесов типоразмеров ОТ50, ОТ100 и ОТ200;
- 5 м - для отвесов типоразмеров ОТ400 и ОТ600;
- 7 м - для отвесов типоразмеров ОТ800 и ОТ1000;
- 10 м - для отвесов типоразмера ОТ1500.
4.8 Шнур должен выдерживать разрывную нагрузку, создаваемую грузом массой, равной десятикратной массе отвеса.
4.9 Отклонение от соосности конуса корпуса отвеса и отверстия для шнура не должно быть более 0,2 мм.
4.10 Конструкция отвеса должна обеспечивать возможность перемонтажа шнура в процессе эксплуатации инструмента.
4.11 Поверхности корпусов головок отвесов должны быть хромированными или оцинкованными с покрытием толщиной 3 - 6 мкм или оксидированными с последующей шлифовкой.
Металлические и окисные покрытия - по ГОСТ 9.301, условия эксплуатации - по группе 2 ГОСТ 9.303.
4.12 Крепление шнура в головке или во вставке и на планке отвеса должно выдерживать нагрузку, создаваемую грузом массой, равной десятикратной массе отвеса.
4.13 В комплект поставки отвесов входят: корпус, головка (вставка), шнур, планка.
5.1 Отвесы должны быть приняты техническим контролем предприятия-изготовителя.
5.2 Прием и поставку отвесов осуществляют партиями. Размер партии устанавливают соглашением сторон. Партия должна состоять из отвесов одного типоразмера, изготовленных из одинакового материала и по одной технологии.
5.3 Для проверки требований, изложенных в 3.1, 4.1 (в части соответствия рабочим чертежам), 4.6 - 4.12, применяют двухступенчатый контроль, для чего от партии отбирают отвесы в выборку в соответствии с таблицей 2.
5.4 Партию отвесов принимают, если количество дефектных отвесов в первой выборке меньше или равно приемочному числу, и бракуют без назначения второй выборки, если количество дефектных отвесов больше или равно браковочному числу. Если количество дефектных отвесов в первой выборке больше приемочного числа, но меньше браковочного, проводят вторую выборку.
Таблица 2 - Двухступенчатый контроль партии отвесов
|
Объем партии, |
Ступени контроля |
Объем одной выборки |
Объем двух выборок |
Приемочное число |
Браковочное |
|
51 - 90 |
Первая |
8 |
16 |
0 |
2 |
|
Вторая |
1 |
2 |
|||
|
91 - 150 |
Первая |
13 |
26 |
0 |
3 |
|
Вторая |
3 |
4 |
|||
|
151 - 280 |
Первая |
20 |
40 |
1 |
4 |
|
Вторая |
4 |
5 |
|||
|
281 - 500 |
Первая |
32 |
64 |
2 |
5 |
|
Вторая |
6 |
7 |
|||
|
501 - 1200 |
Первая |
50 |
100 |
3 |
7 |
|
Вторая |
8 |
9 |
5.5 Партию отвесов принимают, если количество дефектных отвесов в двух выборках меньше или равно приемочному числу, и бракуют, если количество дефектных отвесов в двух выборках больше или равно браковочному числу.
Допускается забракованную партию принимать методом сплошного контроля по показателям, по которым была забракована партия.
5.6 Проверка отвесов на соответствие требованиям, приведенным в 4.1 (в части соответствия образцам-эталонам), должна осуществляться методом сплошного контроля.
5.7 Потребитель имеет право проводить контрольную проверку качества отвесов, применяя при этом методы испытаний, установленные настоящим стандартом.
6.1 Размеры отвесов и их деталей должны проверяться с помощью измерительных средств, погрешности измерения которых не превышают:
- значений по ГОСТ 8.051 - для линейных размеров (за исключением длины шнура);
- 35 % от допуска на контролируемый размер - для угловых размеров;
- 25 % от допуска на контролируемый размер - для отклонения формы и расположения поверхностей;
- 2 % от длины шнура.
6.2 Массу отвесов следует определять взвешиванием.
6.3 Сплошной контроль должен осуществляться визуально методом сравнения с образцами- эталонами.
6.4 Контроль толщины металлических и окисных покрытий - по ГОСТ 9.302.
6.5 Для определения прочности шнура и прочности закрепления шнура в головке или во вставке отвеса и на планке проводят статические испытания.
Статические испытания проводят равномерным приложением нагрузки, равной десятикратной массе отвеса, с выдержкой под ней не менее 2 мин. Величина нагрузки должна измеряться динамометром по ГОСТ 13837 или приложением тарированного груза.
6.6 Проверка отклонения отвеса от вертикали осуществляется с помощью теодолита и измерительной металлической линейки по ГОСТ 427 с ценой деления 1,0 мм.
7.1 На корпусе каждого отвеса должны быть нанесены:
- товарный знак предприятия-изготовителя (при наличии) или краткое наименование предприятия- изготовителя;
- типоразмер отвеса.
7.2 Нанесение маркировочных знаков должно осуществляться путем гравировки, травления или другим способом, обеспечивающим их сохранность в течение срока эксплуатации.
7.3 Транспортная маркировка - по ГОСТ 14192.
7.4 Упаковка и транспортирование отвесов должны осуществляться в соответствии с требованиями ГОСТ 18088.
Допускается другая упаковка, обеспечивающая сохранность отвесов от механических повреждений и воздействия влаги во время транспортирования и хранения. При окисном покрытии отвесы подвергают консервации по ГОСТ 9.014. Срок действия консервации - один год.
При этом корпус отвеса и планку со шнуром упаковывают раздельно.
7.5 Хранение отвесов - по группе условий хранения 2 ГОСТ 15150.
7.6 Гарантийный срок эксплуатации отвесов - 18 месяцев со дня изготовления.

Рисунок А.1 -Корпус. Исполнение 1
Таблица А.1
|
Типоразмер отвесов |
ОТ50 |
ОТ100 |
ОТ200 |
ОТ400 |
ОТ600 |
ОТ800 |
ОТ1000 |
ОТ1500 |
|
Масса, кг, не более |
0,03 |
0,08 |
0,13 |
0,38 |
0,58 |
0,78 |
0,98 |
1,42 |

Рисунок А.2 - Корпус. Исполнение 2
Таблица А.2
|
Типоразмер отвесов |
ОТ50 |
ОТ100 |
ОТ200 |
ОТ400 |
ОТ600 |
ОТ800 |
ОТ1000 |
ОТ1500 |
|
d, мм |
2,5 |
2,5 |
2,5 |
2,5 |
2,5 |
3,5 |
3,5 |
3,5 |
|
Масса, кг, не более |
0,034 |
0,084 |
0,184 |
0,375 |
0,573 |
0,773 |
0,970 |
1,466 |

Рисунок А.3 - Головка
Таблица А.3
|
Типоразмер |
ОТ50 |
ОТ100 |
ОТ200 |
ОТ400 |
ОТ600 |
ОТ800 |
ОТ1000 |
ОТ1500 |
|
d, мм |
2,5 |
2,5 |
2,5 |
2,5 |
2,5 |
3,5 |
3,5 |
3,5 |
Примечание - Масса - не более 0,02 кг.

Рисунок А.4 - Вставка
Таблица А.4
|
Типоразмер |
ОТ50 |
ОТ100 |
ОТ200 |
ОТ400 |
ОТ600 |
ОТ800 |
ОТ1000 |
ОТ 1500 |
|
d, мм |
2,5 |
2,5 |
2,5 |
2,5 |
2,5 |
3,5 |
3,5 |
3,5 |
|
L, мм |
18 |
18 |
18 |
30 |
30 |
30 |
38 |
38 |
Примечание - Масса - не более 0,005 кг.
Ключевые слова: отвесы стальные строительные, технические требования