Darbies, floats and semifloats. Specifications

ФЕДЕРАЛЬНОЕ АГЕНТСТВО
ПО ТЕХНИЧЕСКОМУ РЕГУЛИРОВАНИЮ И МЕТРОЛОГИИ

НАЦИОНАЛЬНЫЙ
СТАНДАРТ
РОССИЙСКОЙ
ФЕДЕРАЦИИ

ГОСТ Р
58519-
2019

ПРАВИЛА, ТЕРКИ И ПОЛУТЕРКИ

Технические условия

Москва
Стандартинформ
2019

Предисловие

1 РАЗРАБОТАН Акционерным обществом «Всероссийский научно-исследовательский институт сертификации» (АО «ВНИИС»)

2 ВНЕСЕН Техническим комитетом по стандартизации ТК 465 «Строительство»

3 УТВЕРЖДЕН И ВВЕДЕН В ДЕЙСТВИЕ Приказом Федерального агентства по техническому регулированию и метрологии от 30 августа 2019 г. № 603-ст

4 ВВЕДЕН ВПЕРВЫЕ

Правила применения настоящего стандарта установлены в статье 26 Федерального закона от 29 июня 2015 г. № 162-ФЗ «О стандартизации в Российской Федерации». Информация об изменениях к настоящему стандарту публикуется в ежегодном (по состоянию на 1 января текущего года) информационном указателе «Национальные стандарты», а официальный текст изменений и поправок - в ежемесячном информационном указателе «Национальные стандарты». В случае пересмотра (замены) или отмены настоящего стандарта соответствующее уведомление будет опубликовано в ближайшем выпуске ежемесячного информационного указателя «Национальные стандарты». Соответствующая информация, уведомление и тексты размещаются также в информационной системе общего пользования - на официальном сайте Федерального агентства по техническому регулированию и метрологии в сети Интернет (www.gost.ru)

ГОСТ Р 58519-2019

НАЦИОНАЛЬНЫЙ СТАНДАРТ РОССИЙСКОЙ ФЕДЕРАЦИИ

ПРАВИЛА, ТЕРКИ И ПОЛУТЕРКИ

Технические условия

Darbies, floats and semifloats. Specifications

Дата введения - 2020-03-01

1 Область применения

Настоящий стандарт распространяется на правила, терки и полутерки, применяемые при производстве штукатурных работ.

Настоящий стандарт не распространяется на формы ручек и оснований правил, терок и полутерков.

2 Нормативные ссылки

В настоящем стандарте использованы нормативные ссылки на следующие стандарты:

ГОСТ 9.032 Единая система защиты от коррозии и старения. Покрытия лакокрасочные. Группы, технические требования и обозначения

ГОСТ 9.104 Единая система защиты от коррозии и старения. Покрытия лакокрасочные. Группы условий эксплуатации

ГОСТ 9.303 Единая система защиты от коррозии и старения. Покрытия металлические и неметаллические неорганические. Общие требования к выбору

ГОСТ 9.306 Единая система защиты от коррозии и старения. Покрытия металлические и неметаллические неорганические. Обозначения

ГОСТ 190 Олифа оксоль. Технические условия

ГОСТ 1050 Металлопродукция из нелегированных конструкционных качественных и специальных сталей. Общие технические условия

ГОСТ 2695 Пиломатериалы лиственных пород. Технические условия

ГОСТ 4784 Алюминий и сплавы алюминиевые деформируемые. Марки

ГОСТ 4976 Лаки марок НЦ-218, НЦ-222, НЦ-243 мебельные и НЦ-223. Технические условия

ГОСТ 5378 Угломеры с нониусом. Технические условия

ГОСТ 6308 Войлок технический полугрубошерстный и детали из него для машиностроения. Технические условия

ГОСТ 6418 Войлок технический грубошерстный и детали из него для машиностроения. Технические условия

ГОСТ 8026 Линейки поверочные. Технические условия

ГОСТ 8486 Пиломатериалы хвойных пород. Технические условия

ГОСТ 10905 Плиты поверочные и разметочные. Технические условия

ГОСТ 14192 Маркировка грузов

ГОСТ 15150 Машины, приборы и другие технические изделия. Исполнения для различных климатических районов. Категории, условия эксплуатации, хранения и транспортирования в части воздействия климатических факторов внешней среды

ГОСТ 16338 Полиэтилен низкого давления. Технические условия

ГОСТ 16588 Пилопродукция и деревянные детали. Методы определения влажности

ГОСТ 18088 Инструмент металлорежущий, алмазный, дереворежущий, слесарно-монтажный и вспомогательный. Упаковка, маркировка, транспортирование и хранение

ГОСТ 23170 Упаковка для изделий машиностроения. Общие требования

ГОСТ 25347 Основные нормы взаимозаменяемости. Характеристики изделий геометрические. Система допусков на линейные размеры. Ряды допусков, предельные отклонения отверстий и валов

Примечание - При пользовании настоящим стандартом целесообразно проверить действие ссылочных стандартов (сводов правил) в информационной системе общего пользования - на официальном сайте Федерального агентства по техническому регулированию и метрологии в сети Интернет или по ежегодному информационному указателю «Национальные стандарты», который опубликован по состоянию на 1 января текущего года, и по выпускам ежемесячного информационного указателя «Национальные стандарты» за текущий год. Если заменен ссылочный стандарт, на который дана недатированная ссылка, то рекомендуется использовать действующую версию этого стандарта с учетом всех внесенных в данную версию изменений. Если заменен ссылочный стандарт, на который дана датированная ссылка, то рекомендуется использовать версию этого стандарта с указанным выше годом утверждения (принятия). Если после утверждения настоящего стандарта в ссылочный стандарт, на который дана датированная ссылка, внесено изменение, затрагивающее положение, на которое дана ссылка, то это положение рекомендуется применять без учета данного изменения. Если ссылочный стандарт отменен без замены, то положение, в котором дана ссылка на него, рекомендуется применять в части, не затрагивающей эту ссылку.

3 Технические требования

3.1 Основные размеры

3.1.1 Правила, терки и полутерки должны изготовляться в соответствии с требованиями настоящего стандарта по рабочим чертежам и образцам-эталонам, утвержденным в установленном порядке.

3.1.2 Правила, терки и полутерки в зависимости от назначения должны изготовляться следующих типов, указанных в таблице 1.

Таблица 1 - Правила, терки и полутерки и их назначения

Тип

Наименование

Назначение

ПП

Правило с прямой кромкой

Для разравнивания грунтовочного и накрывочного слоев штукатурного намета

ПЗ

Правило с зубчатой кромкой

Для разравнивания грунтовочного слоя и образования борозд для лучшего сцепления с последующим слоем штукатурного намета

ПУ

Правило усеночное

Для отделки наружных углов при выполнении штукатурных работ

ПЛ

Правило лузговое

Для отделки внутренних углов при выполнении штукатурных работ

Т

Терка

Для затирки накрывочного слоя штукатурного намета

ТЦ

Терка цельнолитая

ПТ

Полутерок

Для заглаживания и затирки накрывочного слоя штукатурного намета

ПТЦ

Полутерок цельнолитой

3.1.3 Варианты возможного исполнения правил, терок и полутерков, а также их основные размеры приведены на рисунках 1 - 8 и в таблицах 2 - 6.

* Условные размеры.

1 - основание; 2 - стойка; 3 – ручка

Рисунок 1 - Правило с прямой кромкой, тип ПП

Таблица 2 - Основные размеры для правила с прямой кромкой

Размеры в мм

Типоразмер

L

I

Масса, кг, не более

ПП1200

1200

800

1,7

ПП1600

1600

1200

2,2

ПП1800

1800

1400

2,5

* Условные размеры.

1 - основание; 2 - стойка; 3 – ручка

Рисунок 2 - Правило с зубчатой кромкой, тип ПЗ

Таблица 3 - Основные размеры для правила с зубчатой кромкой

Размеры в мм

Типоразмер

L

I

Масса, кг, не более

ПЗ1200

1200

800

1,60

ПЗ1600

1600

1200

2,15

ПЗ1800

1800

1400

2,40

* Условные размеры.

1 - основание; 2 - стойка; 3 - ручка; 4 - нож

Рисунок 3 - Правило усеночное, тип ПУ

Таблица 4 - Основные размеры для правила усеночного

Размеры в мм

Типоразмер

L

I

Масса, кг, не более

ПУ800

800

400

1,20

ПУ1000

1000

1,35

ПУ1200

1200

500

1,60

ПУ1500

1500

800

1,95

* Условные размеры.

1 - основание; 2 - стойка; 3 - ручка; 4 – нож

Рисунок 4 - Правило лузговое, тип ПЛ

Таблица 5 - Основные размеры для правила лузгового

Размеры в мм

Типоразмер

L

I

Масса, кг, не более

ПЛ800

800

400

1,06

ПЛ1000

1000

1,30

ПЛ1200

1200

500

1,60

ПЛ1500

1500

800

1,90

1 - основание; 2 - стойка; 3 – ручка

Рисунок 5 - Терка, тип Т

Рисунок 6 - Терка цельнолитая, тип ТЦ

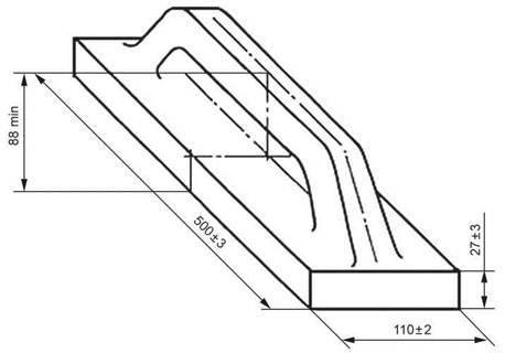
* Условные размеры.

1 - основание; 2 - стойка; 3 - ручка; 4 – полотно

Рисунок 7 - Полутерок, тип ПТ

Таблица 6 - Основные размеры для полутерок

Размеры в мм

Типоразмер

L

/

Масса, кг, не более

ПТ500

500

400

0,75

ПТ750

750

1,20

ПТ1000

1000

800

1,40

Рисунок 8 - Полутерок цельнолитой, тип ПТЦ

3.1.4 Неуказанные предельные отклонения размеров металлических деталей должны соответствовать 14-му квалитету по ГОСТ 25347.

3.1.5 Условные обозначения правил, терок и полутерков при заказе должны состоять из обозначения типа или типоразмера изделия и обозначения настоящего стандарта.

Пример - Условное обозначение правила с прямой кромкой длиной 1200 мм:

Правило с прямой кромкой типоразмера ПП1200 ГОСТ Р 58519-2019.

3.2 Характеристики и свойства

3.2.1 Соединение стоек правил и полутерков с основанием должно выдерживать усилие на отрыв не менее 392 Н (40 кгс).

3.2.2 Соединение ручек терок с основанием должно выдерживать усилие на отрыв не менее 98 Н (10 кгс).

3.2.3 Соединение основания с полотном терок и полутерков должно выдерживать усилие на сдвиг не менее 98 Н (10 кгс).

3.2.4 Ручки правил и полутерков со стойками должны соединяться плотно и выдерживать статическую нагрузку не менее 98 Н (10 кгс), направленную вдоль оси ручки.

3.2.5 Допуск плоскостности рабочей поверхности основания или полотна должен быть 2 мм на 1000 мм длины правил и полутерков и 0,8 мм на всей длине терок (за исключением терок с войлочным или поролоновым основанием).

3.2.6 Допуск симметричности поверхности ручек и поверхности стоек относительно общей поверхности симметрии правил, терок и полутерков - 2,5 мм.

3.2.7 Выступание ножей усеночных и лузговых правил за рабочую поверхность основания не допускается.

3.2.8 Поверхность цельнолитых терок и полутерков из пенополиуретана не должна иметь облоя, сколов и трещин.

С рабочей поверхности терок и полутерков должна быть снята глянцевая поверхность интегрального слоя на глубину не более 1,5 мм.

По согласованию с потребителем допускается изготовление терок и полутерков без снятия глянцевой поверхности интегрального слоя.

3.2.9 Пластмассовые ручки не должны иметь грата, коробления, сколов, трещин, раковин, холодных стыков.

3.2.10 Ручки, изготовленные из древесины, не должны иметь трещин, гнили, прорости и червоточин.

Допускается не более двух здоровых, сросшихся, несквозных сучков диаметром не более 5 мм. Остальные пороки древесины не должны превышать норм, установленных для пиломатериалов 1-го сорта по ГОСТ 2695 или ГОСТ 8486.

3.2.11 Влажность ручек, изготовленных из древесины, перед нанесением покрытия не должна быть более 18 %.

3.2.12 Ручки правил, терок и полутерков, изготовленные из древесины, должны быть покрыты лаком по ГОСТ 4976 или эмалями.

По согласованию с потребителем допускается ручки, изготовленные из древесины лиственных пород, покрывать олифой «оксоль» по ГОСТ 190.

Лакокрасочные покрытия должны соответствовать классу V по ГОСТ 9.032, условия эксплуатации - группе У1 по ГОСТ 9.104.

3.2.13 Ножи усеночных и лузговых правил должны иметь покрытия по ГОСТ 9.306.

Выбор покрытия - по ГОСТ 9.303 для группы условий эксплуатации 3 по ГОСТ 15150.

3.3 Требования к сырью и материалам

Материалы для изготовления деталей правил, терок и полутерков должны соответствовать указанным в таблице 7.

Таблица 7 - Материалы для изготовления деталей правил, терок и полутерков

Наименование изделия и его детали

Материал

Основание и стойка правил и полутерков

Алюминиевые сплавы марки АД31 или 1915 по ГОСТ 4784

Основание терок

Алюминий марки АД1 или алюминиевые сплавы марок Д1, Д16, АД31 или В95 по ГОСТ 4784

Полотно терок

Пенопласт плиточный поливинилхлоридный с кажущейся плотностью не менее 115 кг/м или пенопласт полистирольный плиточный, или эластичный пенополиуретан марки ППУ-Э-40-08, выпускаемые по технической документации, утвержденной в установленном порядке, войлок по ГОСТ 6418 или ГОСТ 6308; пиломатериалы хвойных пород по ГОСТ 8486

Полотно полутерков

Пенопласт плиточный поливинилхлоридный с кажущейся плотностью не менее 115 кг/м или пенопласт полистирольный плиточный, выпускаемые по технической документации, утвержденной в установленном порядке

Ручка правил и полутерков

Пиломатериалы лиственных по ГОСТ 2695 или хвойных пород по ГОСТ 8486; стеклопластик, выпускаемый по технической документации, утвержденной в установленном порядке

Ручка терок

Фенопласт, полиэтилен низкого давления по ГОСТ 16338, ударопрочные пластмассы и полиамиды литьевые, выпускаемые по технической документации, утвержденной в установленном порядке; пиломатериалы лиственных по ГОСТ 2695 или хвойных по ГОСТ 8486 пород

Нож усеночных и лузговых правил

Сталь любых марок по ГОСТ 1050

Терка и полутерок цельнолитые

Пенополиуретан марки ППУ-322 (компоненты А и Б), выпускаемый по технической документации, утвержденной в установленном порядке

Примечание - Не допускается применять березу для изготовления ручек правил с основанием длиной свыше 1600 мм.

3.4 Маркировка

На каждом правиле, терке и полутерке должны быть нанесены:

- товарный знак предприятия-изготовителя;

- тип или типоразмер изделия.

Примечание - Способ нанесения указанных маркировочных знаков должен обеспечивать их сохранность в течение всего срока службы изделия.

3.5 Упаковка

3.5.1 Упаковка правил, терок и полутерков - по ГОСТ 18088 или ГОСТ 23170 по категории КУ-1.

Допускается другая упаковка, обеспечивающая сохранность правил, терок и полутерков от механических повреждений и воздействия влаги во время транспортирования и хранения.

Масса ящиков брутто - не более 30 кг (для изделий, предназначенных для розничной продажи).

3.5.2 В транспортную тару должен быть вложен упаковочный лист (вкладыш), в котором должно быть указано:

- наименование изготовителя;

- условное обозначение изделия;

- число изделий;

- штамп технического контроля;

- дата выпуска.

3.5.3 Маркировка транспортной тары - по ГОСТ 14192.

4 Приемка

4.1 Для проверки соответствия правил, терок и полутерков требованиям настоящего стандарта предприятие-изготовитель должно проводить приемо-сдаточные испытания.

4.2 Приемку и поставку правил, терок и полутерков осуществляют партиями.

Объем партии устанавливают соглашением сторон.

Партия должна состоять из правил, терок и полутерков одного типоразмера, изготовленных из одних и тех же материалов, обработанных по одному технологическому процессу и одновременно предъявленных к приемке по одному документу.

4.3 При проведении приемо-сдаточных испытаний правил, терок и полутерков на соответствие 3.1.1, 3.2.1 - 3.2.13, 3.3.1.4 применяют двухступенчатый контроль в соответствии с таблицей 8.

Таблица 8 - Ступени контроля для проведения приемо-сдаточных испытаний правил, терок и полутерков

Объем партии, шт.

Ступень контроля

Объем одной выборки, шт.

Объем двух выборок, шт.

Приемочное число, шт.

Браковочное число, шт.

51 - 90

Первая

8

16

0

2

Вторая

1

2

91 - 150

Первая

13

26

0

3

Вторая

3

4

151 - 280

Первая

20

40

1

4

Вторая

4

5

281 - 500

Первая

32

64

2

5

Вторая

6

7

501 - 1200

Первая

50

100

3

7

Вторая

8

9

4.4 Партию правил, терок и полутерков принимают, если количество дефектных правил, терок или полутерков в первой выборке меньше или равно приемочному числу, и бракуют без назначения второй выборки, если количество дефектных правил, терок и полутерков больше или равно браковочному числу.

Если количество дефектных правил, терок или полутерков в первой выборке больше приемочного числа, но меньше браковочного, производят вторую выборку.

Партию правил, терок и полутерков принимают, если количество дефектных правил, терок и полутерков в двух выборках меньше или равно приемочному числу, и бракуют, если количество дефектных изделий в двух выборках больше или равно браковочному числу.

4.5 Потребитель имеет право проводить контрольную проверку качества правил, терок и полутерков, соблюдая при этом приведенный порядок отбора образцов и применяя методы испытаний, установленные настоящим стандартом

5 Методы контроля и испытаний

5.1 Линейные размеры правил, терок и полутерков должны проверяться при помощи универсальных измерительных средств с абсолютной погрешностью ±1 мм, диаметр сучков и глубина интегрального слоя - с абсолютной погрешностью ±0,1 мм.

5.2 Угловые размеры должны измеряться при помощи угломера по ГОСТ 5378 или шаблонами.

5.3 Допуск плоскостности (см. 3.2.5) должен проверяться при помощи щупов на поверочной плите по ГОСТ 10905 или лекальной линейкой по ГОСТ 8026.

5.4 Допуск симметричности (см. 3.2.6) должен проверяться при помощи шаблонов.

5.5 Требования 3.1.1 (в части образцов-эталонов), 3.2.7 - 3.2.10, 3.2.12, 3.2.13 проверяют визуально методом сравнения с образцом-эталоном.

Примечание - Требование 3.2.10 проверяют до нанесения покрытия.

5.6 Влажность древесины (см. 3.2.11) определяют по ГОСТ 16588 или при помощи влагомера.

5.7 Прочность соединения деталей правил, терок и полутерков и прочность конструкций цельнолитых терок и полутерков (см. 3.2.1 - 3.2.4) проверяют с помощью динамометра общего применения 2-го класса точности методом приложения статической нагрузки в течение 2 мин по схемам, приведенным на рисунках 9 - 12, или тарированного груза.

Падение показаний на динамометре в момент приложения нагрузки не более 10 % не является браковочным признаком.

5.8 Схемы определения прочности соединения деталей правил, терок и полутерков

Рисунок 9 - Схема определения прочности соединения стоек правил и полутерков с основанием

Рисунок 10 - Схема определения прочности соединения ручек терок с основанием и определения прочности конструкции цельнолитых терок и полутерков

Рисунок 11 - Схема определения прочности соединения ручек правил и полутерков со стойками

Рисунок 12 - Схема определения прочности соединения основания терок и полутерков с полотном

6 Транспортирование и хранение

6.1 Упакованные правила, терки и полутерки могут переводиться транспортом любого вида при обеспечении мер, предохраняющих изделия от механических повреждений и воздействия влаги.

6.2 Хранение правил, терок и полутерков - по группе условий хранения 2 ГОСТ 15150.

Ключевые слова: правила, терки и полутерки, технические требования