ФЕДЕРАЛЬНОЕ АГЕНТСТВО
ПО ТЕХНИЧЕСКОМУ РЕГУЛИРОВАНИЮ И МЕТРОЛОГИИ
|
|
НАЦИОНАЛЬНЫЙ |
ГОСТ Р |
КИСТИ И ЩЕТКИ МАЛЯРНЫЕ
Технические условия
|
|
Москва |
Предисловие
1 РАЗРАБОТАН Акционерным обществом «Всероссийский научно-исследовательский институт сертификации» (АО «ВНИИС»)
2 ВНЕСЕН Техническим комитетом по стандартизации ТК 465 «Строительство»
3 УТВЕРЖДЕН И ВВЕДЕН В ДЕЙСТВИЕ Приказом Федерального агентства по техническому регулированию и метрологии от 30 августа 2019 г. № 600-ст
4 ВВЕДЕН ВПЕРВЫЕ
Правила применения настоящего стандарта установлены в статье 26 Федерального закона от 29 июня 2015 г. № 162-ФЗ «О стандартизации в Российской Федерации». Информация об изменениях к настоящему стандарту публикуется в ежегодном (по состоянию на 1 января текущего года) информационном указателе «Национальные стандарты», а официальный текст изменений и поправок - в ежемесячном информационном указателе «Национальные стандарты». В случае пересмотра (замены) или отмены настоящего стандарта соответствующее уведомление будет опубликовано в ближайшем выпуске ежемесячного информационного указателя «Национальные стандарты». Соответствующая информация, уведомление и тексты размещаются также в информационной системе общего пользования - на официальном сайте Федерального агентства по техническому регулированию и метрологии в сети Интернет (www.gost.ru)
Содержание
|
6 Транспортирование и хранение. 17 Приложение А (обязательное) Примеры исполнения обоймы.. 18 Приложение Б (рекомендуемое) Приспособление для проверки соосности. 19 |
ГОСТ Р 58516-2019
НАЦИОНАЛЬНЫЙ СТАНДАРТ РОССИЙСКОЙ ФЕДЕРАЦИИ
КИСТИ И ЩЕТКИ МАЛЯРНЫЕ
Технические условия
Paint brushes. Specifications
Дата введения - 2020-03-01
Настоящий стандарт устанавливает технические требования к кистям и щеткам малярным, применяемым при производстве малярных работ в строительстве.
В настоящем стандарте использованы нормативные ссылки на следующие стандарты:
ГОСТ 9.032 Единая система защиты от коррозии и старения. Покрытия лакокрасочные. Группы, технические требования и обозначения
ГОСТ 9.104 Единая система защиты от коррозии и старения. Покрытия лакокрасочные. Группы условий эксплуатации
ГОСТ 1050 Металлопродукция из нелегированных конструкционных качественных и специальных сталей. Общие технические условия
ГОСТ 2695 Пиломатериалы лиственных пород. Технические условия
ГОСТ 2991 Ящики дощатые неразборные для грузов массой до 500 кг. Общие технические условия
ГОСТ 4598 Плиты древесно-волокнистые мокрого способа производства. Технические условия
ГОСТ 5959 Ящики из листовых древесных материалов неразборные для грузов массой до 200 кг. Общие технические условия
ГОСТ 7016 Изделия из древесины и древесных материалов. Параметры шероховатости поверхности
ГОСТ 7827 Растворители марок P-4, Р-4А, P-5, Р-5А, Р-12 для лакокрасочных материалов. Технические условия
ГОСТ 7933 Картон для потребительской тары. Общие технические условия
ГОСТ 8273 Бумага оберточная. Технические условия
ГОСТ 8486 Пиломатериалы хвойных пород. Технические условия
ГОСТ 8828 Бумага-основа и бумага двухслойная водонепроницаемая упаковочная. Технические условия
ГОСТ 10350 Ящики деревянные для продукции легкой промышленности. Технические условия
ГОСТ 13345 Жесть. Технические условия
ГОСТ 13837 Динамометры общего назначения. Технические условия
ГОСТ 14192 Маркировка грузов
ГОСТ 15150 Машины, приборы и другие технические изделия. Исполнения для различных климатических районов. Категории, условия эксплуатации, хранения и транспортирования в части воздействия климатических факторов внешней среды
ГОСТ 16338 Полиэтилен низкого давления. Технические условия
ГОСТ 16588 Пилопродукция и деревянные детали. Методы определения влажности
ГОСТ 18188 Растворители марок 645, 646, 647, 648 для лакокрасочных материалов. Технические условия
Примечание - При пользовании настоящим стандартом целесообразно проверить действие ссылочных стандартов в информационной системе общего пользования - на официальном сайте Федерального агентства по техническому регулированию и метрологии в сети Интернет или по ежегодному информационному указателю «Национальные стандарты», который опубликован по состоянию на 1 января текущего года, и по выпускам ежемесячного информационного указателя «Национальные стандарты» за текущий год. Если заменен ссылочный стандарт, на который дана недатированная ссылка, то рекомендуется использовать действующую версию этого стандарта с учетом всех внесенных в данную версию изменений. Если заменен ссылочный стандарт, на который дана датированная ссылка, то рекомендуется использовать версию этого стандарта с указанным выше годом утверждения (принятия). Если после утверждения настоящего стандарта в ссылочный стандарт, на который дана датированная ссылка, внесено изменение, затрагивающее положение, на которое дана ссылка, то это положение рекомендуется применять без учета данного изменения. Если ссылочный стандарт отменен без замены, то положение, в котором дана ссылка на него, рекомендуется применять в части, не затрагивающей эту ссылку.
3.1 Основные размеры
3.1.1 Малярные кисти и щетки должны изготовляться в соответствии с требованиями настоящего стандарта по рабочим чертежам и образцам-эталонам, утвержденным в установленном порядке.
3.1.2 Малярные кисти и щетки изготовляют следующих типов:
- КР, КРС, КРО - кисти-ручники, предназначаемые для грунтовки и окраски поверхностей;
- КП - кисти плоские, предназначаемые для грунтовки, окраски, а также для покрытия поверхностей лаком;
- КМ - кисти маховые, предназначаемые для промывки, грунтовки, побелки и окраски поверхностей;
- КМА - кисти-макловицы, предназначаемые для окраски поверхностей водными растворами;
- КФ - кисти флейцевые, предназначаемые для обработки (флейцевания) свежеокрашенных поверхностей путем сглаживания следов кисти;
- КФК - кисти филеночные, предназначаемые для выполнения отделочных операций;
- ЩТ - щетки-торцовки, предназначаемые для обработки свежеокрашенных поверхностей и придания им шероховато-матового вида.
3.1.3 Основные размеры кистей и щеток должны соответствовать размерам, указанным на рисунках 1 - 11, рисунке А4 приложения А и в таблицах 1 - 6.
Примеры исполнения обоймы кистей типов КР, КРС, КРО, КФ и КП приведены в приложении А. Кисти типоразмеров КР50, КР55, КРС50, КРС55, КРО50 - КРО60 и типа КМ независимо от длины пучка должны изготовляться с обвязкой пучка. Кисти типоразмеров КР20 - КР45, КРС20 - КРС45 и КРО20 - КРО45 должны изготовляться с обвязкой пучка в случае, если длина пучка превышает длину, указанную в таблицах 1 и 2, более чем на 7 мм. При изготовлении кистей с обвязкой пучка рекомендуется применять съемные вкладыши. Длина обвязки пучка должна быть не менее величины превышения длины пучка, указанной в таблицах 1 и 2.
|
* Условный размер. Рисунок 1 - Кисть-ручник типа КР |
|
* Условный размер. Рисунок 2 - Кисть-ручник типа КРС |
|
* Условный размер. Рисунок 3 - Кисть-ручник типа КРО |
|
* Условный размер. Рисунок 4 - Кисть плоская типа КП |
|
1 - кольцо Рисунок 5 - Кисть маховая типа КМ |
|
* Условный размер. 1 - пучок; 2 - колодка; 3 – ручка Рисунок 6 - Кисть-макловица типа КМА. Исполнение 1 Примечание - Исполнение данной части кисти аналогично указанному в приложении А. |
|
1 - пучок; 2 - держатель; 3 - колодка; 4 - шуруп (остальное - см. исполнение 1) Рисунок 7 - Кисть-макловица типа КМА. Исполнение 2 |
|
1 - пучок; 2 - гвоздь; 3 - обойма; 4 - вкладыш; 5 – ручка Рисунок 8 - Кисть флейцевая типа КФ. Исполнение 1 |
|
Рисунок 9 - Кисть флейцевая типа КФ. Исполнение 2 |
|
* Условный размер. 1 - пучок; 2 - обойма; 3 – ручка Рисунок 10 - Кисть филеночная типа КФК. Исполнение 1 |
|
* Условный размер. 1 - пучок; 2 - колодка; 3 - ручка; 4 - накладка; 5 - шуруп Рисунок 11 - Щетка-торцовка типа ЩТ Примечание - Количество пучков в обойме кисти должно быть не менее 140. |
Таблица 1 - Типоразмеры кистей
Размеры в мм
|
Типоразмер |
D ± 1 |
L1, не менее |
|
I, не менее |
|
КР20, КРС20 |
20 |
200 |
16 |
37 |
|
КР25, КРС25 |
25 |
250 |
20 |
|
|
КР30, КРС30 |
30 |
38 |
||
|
КР35, КРС35 |
35 |
|||
|
КР40, КРС40 |
40 |
44 |
||
|
КР45, КРС45 |
45 |
280 |
51 |
|
|
КР50, КРС50 |
50 |
57 |
||
|
КР55, КРС55 |
55 |
63 |
||
|
КР55а |
70 |
|||
|
КР55, |
76 |
|||
|
КР55в |
82 |
|||
|
КР55г |
89 |
Таблица 2 - Типоразмеры кистей
Размеры в мм
|
Типоразмер |
А |
В |
d |
L |
I |
|
+ 1 -2 |
Не менее |
||||
|
КРО20 |
20 |
10 |
10 |
200 |
37 |
|
КРО25 |
25 |
15 |
15 |
250 |
|
|
КРО30 |
30 |
20 |
20 |
38 |
|
|
КРО35 |
35 |
||||
|
КРО40 |
40 |
25 |
44 |
||
|
КРО45 |
45 |
30 |
280 |
51 |
|
|
КРО50 |
50 |
35 |
57 |
||
|
КРО55 |
55 |
40 |
63 |
||
|
КРО60 |
60 |
45 |
70 |
||
Таблица 3 -Типоразмеры кистей
Размеры в мм
|
Типоразмер |
А |
В |
|
L |
I |
|
Не менее |
Не менее |
||||
|
КП35 |
35 |
20 |
16 |
210 |
40 |
|
КП40 |
40 |
|
|
|
45 |
|
КП50 |
50 |
25 |
20 |
230 |
50 |
|
КП60 |
60 |
30 |
|
|
60 |
|
КП75 |
75 |
|
|
250 |
75 |
|
КП 100 |
100 |
35 |
|
|
80 |
Таблица 4 - Типоразмеры кистей
Размеры в мм
|
Типоразмер |
А |
В |
L |
d |
b |
I |
Число пучков |
|
Не менее |
|||||||
|
КМА 135 |
135 |
55 |
215 |
152 |
70 |
70 |
105 |
|
КМА 165 |
165 |
60 |
245 |
176 |
80 |
75 |
140 |
|
КМА 195 |
195 |
65 |
275 |
210 |
80 |
150 |
|
Примечание - Пучки в колодке должны быть расположены равномерно.
Таблица 5 - Типоразмеры кистей
Размеры в мм
|
Типоразмер |
А |
В |
L |
I |
|
Не менее |
||||
|
КФ25 |
25 |
9 |
180 |
37 |
|
КФ50 |
50 |
|||
|
КФ50а |
43 |
|||
|
КФ60 |
60 |
14 |
210 |
|
|
КФ60а |
49 |
|||
|
КФ75 |
75 |
|||
|
КФ75а |
56 |
|||
|
КФ100 |
100 |
18 |
240 |
|
|
КФ100а |
62 |
|||
Таблица 6 - Типоразмеры кистей
Размеры в мм
|
Типоразмер |
D ±1 |
L |
d |
I |
|
Не менее |
||||
|
КФК8 |
8 |
225 |
12 |
25 |
|
КФК10 |
10 |
240 |
|
35 |
|
КФК14 |
14 |
|
20 |
|
|
КФК18 |
18 |
|
|
|
3.1.4 Условные обозначения кистей и щеток должны состоять из условных обозначений типов или типоразмеров, исполнения кистей и обозначения настоящего стандарта.
Пример - Условные обозначения:
маховой кисти типа КМ - Кисть маховая КМ ГОСТ Р 58516-2019
кисти-ручника типоразмера КР20 - Кисть ручник КР20 ГОСТ Р 58516-2019
кисти флейцевой типоразмера КФ25 исполнения 1 - Кисть флейцевая КФ25-1 ГОСТ Р 58516-2019
3.2 Характеристики
3.2.1 Обоймы с ручкой и пучком, а также колодки с пучком, ручкой или держателем должны быть прочно соединены. Прочность соединения должна определяться методом вырывания пучка волокон диаметром 5 мм с усилием не менее:
- 47 Н (15 кгс) - для кистей типов КР, КРС, КРО, КП, КМ, КФ, КФК;
- 49 Н (5 кгс) - для кистей и щеток типов КМА, ЩТ.
3.2.2 Колодку щетки типа ЩТ допускается изготовлять без накладки при условии соблюдения прочности соединения ручки с колодкой в соответствии с 3.2.1.
При изготовлении ручек кистей типов КП и КФ из полиамида, а обоймы - из жести допускается детали кистей не соединять гвоздями при условии выполнения требований 3.2.1. Для крепления обоймы с ручкой и вкладышем кистей типа КФ допускается применять металлические скобы. Ручки кистей типа КФ допускается изготовлять цельнолитыми с обоймой и вкладышами. Ручки кистей типов КФ и КМ допускается располагать под углом от 35 до 45° относительно пучка кисти.
Кисти типа КМ допускается изготовлять без предохранительного кольца.
Обоймы кистей могут иметь крючки, обеспечивающие подвеску кистей на емкостях с лакокрасочным составом.
3.2.3 Коэффициент плотности пучка кистей типов КР, КРС, КРО, КП, КФ, КМ должен быть не менее 0,6.
3.2.4 Кисти типов КР, КРС, КРО (за исключением кистей типоразмеров КР20, КР25, КРС20, КРС25, КРО20, КРО25), КП, КФ и КМ должны иметь вкладыши.
Площадь вкладыша в поперечном сечении относительно общей площади пучка должна составлять не более:
- 30 % - для пучка из тянутой щетины или щетины шток;
- 40 % - для другого вида сырья.
Вкладыши площадью более 30 % общей площади пучка для кистей типов КР и КМ должны быть круглой формы. Вкладыши должны располагаться в центре пучка кисти.
3.2.5 Допуск соосности обоймы, колодки и ручки относительно общей оси симметрии кисти - 3 мм.
3.2.6 Древесина для деталей кистей и щеток должна быть здоровой, без трещин, гнили, прорости и червоточины. Сучки диаметром более 5 мм не допускаются. На ручках кистей не должно быть более 2 сучков. При этом сучки должны быть здоровыми и сросшимися с древесиной. Остальные пороки и дефекты древесины не должны превышать нормативов для пиломатериалов 2-го сорта по ГОСТ 2695 и ГОСТ 8486.
3.2.7 Влажность деталей кистей и щеток из древесины не должна быть более 12 %.
3.2.8 Обоймы из жести, а также предохранительные кольца не должны иметь вмятин, рваных краев, пятен ржавчины.
3.2.9 Пластмассовые детали должны быть защищены от грата и не должны иметь сколов, вздутия, волнистой поверхности, коробления, непроплавов, раковин, трещин.
3.2.10 Ручки и колодки из древесины должны быть покрыты олифой или иметь лакокрасочное покрытие. Лакокрасочное покрытие должно соответствовать классу V по ГОСТ 9.032, условия эксплуатации - группе У1 по ГОСТ 9.104.
Ручки для кистей и колодки из древесины лиственных пород допускается изготовлять без покрытия. При этом шероховатость наружных поверхностей не должна быть более 100 мкм по ГОСТ 7016.
3.2.11 Проникновение клея в пучок кистей типов КР, КРО, КП, КФ, КМ и КФК за обойму со стороны пучка допускается на расстояние не более 5 мм, а у кистей типа КРС - не более 3 мм от наружной поверхности вкладыша.
3.3 Требования к сырью и материалам
3.3.1 Для изготовления пучков кистей и щеток должна применяться свиная обработанная щетина, обработанный волос, синтетическая щетина по нормативным и техническим документам, утвержденным в установленном порядке.
3.3.2 Сырье и материалы для изготовления деталей кистей и щеток должны соответствовать приведенным в таблице 7.
|
Наименование детали |
Наименование сырья, материала |
|
Пучок для кистей типоразмеров КР20, КР25, КР30, КР35, КРО20, КРО25, КРО30, КРО35, КП35, КП40 |
Тянутая щетина, щетина шток, смесь тянутой щетины и синтетической щетины в соотношении: не менее 70 % тянутой и не более 30 % синтетической щетины |
|
Пучок для кистей типоразмеров КР40, КР45, КР50, КР55, КРС20, КРС25, КРС30, КРС35, КРС40, КРС45, КРС50, КРС55, КРО40, КРО45, КРО50, КРО55, КРО60, КП50, КП60, КП75, КП100 |
Тянутая щетина, смесь щетины тянутой и синтетической щетины в соотношении: не менее 70 % тянутой и не более 30 % синтетической щетины |
|
Пучок для кистей типа КМ |
Тянутая щетина, конский или коровий волос, смесь конского волоса с коровьим в различных соотношениях, конского или коровьего волоса с синтетической щетиной в соотношении: не менее 70 % конского или коровьего волоса и не более 30 % синтетической щетины |
|
Пучок для кистей или щеток типов КМА и ЩТ |
Тянутая щетина, конский или коровий волос, синтетическая щетина, смесь конского волоса с коровьим в различных соотношениях, смесь конского или коровьего волоса с синтетической щетиной в соотношении 1:1 |
|
Пучок для кистей типоразмеров КФ25 и КФ50 |
Тянутая щетина, щетина шток |
|
Пучок для кистей типоразмеров КФ60, КФ75, КФ100 |
Тянутая щетина |
|
Пучок для кистей типа КФК |
Тянутая щетина, щетина шток |
|
Обойма для кистей типов КР, КРС, КРО, КМ, КП |
Полиамид 6 по нормативной и технической документации |
|
Обойма для кистей типов КФ, КФК |
Полиамид 6 по нормативной и технической документации, жесть белая холоднокатаная горячего лужения по ГОСТ 13345 |
|
Ручки, вкладыши, колодки, накладки, держатели |
Древесина лиственных пород по ГОСТ 2695 или хвойных пород по ГОСТ 8486, полиамид 6 по нормативной и технической документации, полиамид 6 (вторичный) по нормативной и технической документации |
|
Предохранительное кольцо для кистей типа КМ |
Сталь любых марок по ГОСТ 1050 |
Примечания
1 Допускается ручки, держатели, колодки для кистей и щеток типов КМА и ЩТ изготовлять из полиэтилена низкого давления по ГОСТ 16338.
2 Допускается пучки кистей и щеток типов КМА и ЩТ, изготовленные из конского или коровьего волоса, окантовывать натуральной щетиной.
3 Допускается обоймы, накладки, держатели изготовлять из отходов капроновой щетины по нормативной и технической документации.
4 Допускается вкладыши для кистей типа КФ изготовлять из коробочного картона по ГОСТ 7933 или древесноволокнистой плиты марки Т-350 или Т-400 по ГОСТ 4598.
3.3.3 Синтетическая щетина должна удовлетворять следующим требованиям:
- форма волокон должна быть конусообразной или цилиндрической;
- рабочие концы волокон цилиндрической формы, предназначаемые для кистей, за исключением кистей типа КМА, должны иметь флажки или должны быть заточенными;
- диаметр волокон в основании должен быть не более 0,24 мм.
3.3.4 Кисти и щетки должны быть стойкими к воздействию:
- растворителей (ацетона, бензола и др.) и агрессивных сред (раствор медного купороса и извести) - кисти типов КР, КРС и КРО;
- растворителей, агрессивных сред и горячей воды - кисти типа КМ;
- растворителей - кисти и щетки типов КП, КФ, КФК, ЩТ;
- агрессивных сред и горячей воды - кисти типа КМА.
Температурный предел стойкости (термостойкость) пучков кистей и щеток должен быть не менее 70 °С.
3.4 Маркировка
На каждой кисти и щетке (ручке, обойме, колодке или держателе) должны быть нанесены:
- товарный знак предприятия-изготовителя;
- тип или типоразмер.
Примечание - Способ нанесения указанных маркировочных знаков должен обеспечивать их сохранность в течение срока службы кистей или щеток.
3.5 Упаковка
3.5.1 Кисти и щетки должны быть уложены в ящики по ГОСТ 2991, ГОСТ 5959 или ГОСТ 10350.
Ящики внутри должны быть выложены водонепроницаемой бумагой по ГОСТ 8828 или оберточной бумагой по ГОСТ 8273.
Каждый ряд кистей и щеток с пучками из щетины или волоса должен быть обработан любым противомолевым препаратом.
Допускается другая упаковка, обеспечивающая сохранность кистей и щеток во время хранения и транспортирования.
3.5.2 Масса ящиков брутто - не более 30 кг.
3.5.3 В транспортную тару должен быть вложен упаковочный лист (вкладыш) со следующей информацией:
- наименование предприятия-изготовителя;
- условное обозначение изделий;
- число изделий;
- штамп технического контроля;
- дата выпуска.
3.5.4 Маркировка транспортной тары - по ГОСТ 14192.
4.1 Кисти и щетки должны быть приняты техническим контролем предприятия-изготовителя.
4.2 Приемку и поставку кистей и щеток производят партиями. Объем партии устанавливают соглашением сторон. Партия должна состоять из кистей и щеток одного типа или типоразмера, изготовленных из одних и тех же материалов, обработанных по одному технологическому процессу и одновременно предъявленных к приемке по одному документу.
4.3 При проверке кистей и щеток на соответствие требованиям 3.1.2, 3.2.3 - 3.2.11, 3.3.1 - 3.3.3 применяют двухступенчатый контроль в соответствии с таблицей 8.
4.4 Партию кистей или щеток принимают, если число дефектных кистей или щеток в первой выборке меньше или равно приемочному числу, и бракуют без назначения второй выборки, если число дефектных кистей или щеток больше либо равно браковочному числу.
Таблица 8 - Двухступенчатый контроль качества кистей и щеток
|
Объем партии, шт. |
Ступень контроля |
Объем одной выборки, шт. |
Объем двух выборок, шт. |
Приемочное |
Браковочное |
|
91 - 150 |
Первая |
13 |
26 |
0 |
3 |
|
Вторая |
3 |
4 |
|||
|
151 - 280 |
Первая |
20 |
40 |
1 |
4 |
|
Вторая |
4 |
5 |
|||
|
281 - 500 |
Первая |
32 |
64 |
2 |
5 |
|
Вторая |
6 |
7 |
|||
|
501 - 1200 |
Первая |
50 |
100 |
3 |
7 |
|
Вторая |
8 |
9 |
|||
|
1201 - 3200 |
Первая |
80 |
160 |
5 |
9 |
|
Вторая |
12 |
13 |
|||
|
3201 - 10000 |
Первая |
125 |
250 |
7 |
11 |
|
Вторая |
18 |
19 |
Если число дефектных кистей или щеток в первой выборке больше приемочного числа, но меньше браковочного, проводят вторую выборку.
Партию кистей или щеток принимают, если число дефектных кистей или щеток в двух выборках меньше или равно приемочному числу, и бракуют, если число дефектных кистей или щеток в двух выборках больше или равно браковочному числу.
4.5 Проверка кистей или щеток на соответствие требованиям 3.2.1 и 3.3.4 должна проводиться не реже одного раза в год или при замене применяемого сырья, или технологии изготовления, для чего от партии отбирают 0,1 %, но не менее 3 шт. кистей или щеток. Если при проверке отобранных кистей или щеток хотя бы одно изделие не будет удовлетворять требованиям 3.2.1 и 3.3.4, следует проводить повторные испытания удвоенного числа изделий, отобранных из той же партии. При неудовлетворительных результатах повторной проверки партии кистей или щеток приемке не подлежит. Результаты повторной проверки изделий являются окончательными.
4.6 Потребитель имеет право проводить контрольную проверку качества кистей и щеток, соблюдая при этом приведенный порядок отбора образцов и применяя методы испытаний, установленные настоящим стандартом.
5.1 Размеры кистей, щеток и их деталей, а также требования, предусмотренные 3.2.11, проверяют при помощи измерительных средств, погрешность измерения которых ±0,1 мм, и шаблонов. Кисти с обвязкой по 3.2.11 не проверяют.
5.2 Испытание пучков кистей и щеток на термостойкость проводят путем погружения пучка в горячую воду температурой (70 ± 2) °С и выдерживания при этой температуре в течение 1 ч. Температуру воды измеряют термометром, погрешность измерения при этом ±1 °С.
5.3 Испытания деталей кистей и щеток на стойкость к воздействию растворителей или агрессивных сред проводят путем погружения кистей или щеток в растворитель или агрессивную среду. Испытания кистей и щеток всех типов, за исключением кистей типа КМА, проводят одним из следующих способов:
- путем выдерживания по 1 ч поочередно в растворителях № 646 по ГОСТ 18188, Р-12 по ГОСТ 7827, растворах медного купороса и извести при температуре не ниже 20 °С;
- путем выдерживания поочередно в ацетоне, бензоле, растворах медного купороса и извести в течение 8 ч в каждом из них.
Кисти и щетки типов КП, КФ, КФК и ЩТ в растворах медного купороса и извести не испытывают.
Испытание кистей типа КМА осуществляют путем выдерживания поочередно в растворах медного купороса и извести в течение 8 ч.
Концентрация раствора медного купороса должна быть не менее 10 %, раствор извести должен быть с осадком. После проведения испытаний по 5.2 и 3.3 и высушивания у пучков не допускается появления закрученности, усадки по длине и ломкости.
Примечание - Кисти и щетки после проведения каждого этапа испытаний должны быть промыты в проточной воде.
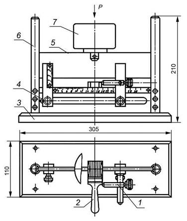
5.4 Прочность соединения пучков кистей с обоймой и ручкой, а также колодок с пучком, ручкой или держателем определяют на разрывной машине с усилием разрыва 300 Н (30 кгс) или при помощи динамометра по ГОСТ 13837 с использованием специального приспособления, указанного на рисунке 12.
1 - патрон; 2 - оправка; 3 - рукоятка; 4 - кисть; 5 - зона измерения
Рисунок
12 - Приспособление к разрывной машине для определения прочности соединения
пучков кистей
с обоймой и ручкой, колодок с пучком, ручкой или держателем
Испытания проводят в следующей последовательности: пучок кисти или щетки диаметром 5 мм, выбранный в периферийной части кисти, вставляют в отверстие патрона и при помощи подвижного конуса закрепляют в нем. После этого кисть или щетку с указанным приспособлением устанавливают на разрывную машину, закрепляя в ней ручку кисти и приспособление, или используют динамометр и снимают показатели на машине или динамометре.
Показатели должны соответствовать значениям, приведенным в 3.2.1.
Определение прочности соединения пучков кистей и ручек определяют не менее чем в двух местах. За значение прочности соединения принимают среднее арифметическое значение результатов двух измерений.
5.5 Коэффициент плотности пучков кистей типов КР, КРС, КМ, КФК и кистей типов КРО, КП, КФ проверяют на специальных приспособлениях, указанных соответственно на рисунках 13 и 14.
Обжатие пучка должно осуществляться на середине его длины.
Коэффициент плотности пучка К определяют по формуле
![]()
где S1 - площадь поперечного сечения пучка на выходе из обоймы кисти до ввода его в приспособление;
S2 - площадь поперечного сечения пучка кисти после его обжатия в приспособлении усилием, измеренная следующим образом.
В приспособлении устанавливают кисть таким образом, чтобы середина пучка находилась на кромке подвижной части приспособления. Опускают подвижную часть приспособления.
При помощи упора закрепляют кисть в приспособлении и прикладывают статическую нагрузку Р:
- 49 Н (5 кгс) - для кистей типов КР, КРС, КМ и КФК;
- 29,4 Н (3 кгс) - для кистей типов КРО, КП и КФ.
1 - зажим; 2 - кисть; 3 - основание; 4
- неподвижная часть приспособления; 5 - подвижная часть приспособления;
6 - стойка; 7 - груз
Рисунок 13 - Приспособление для определения коэффициента плотности пучков кистей типов КР, КРС, КМ, КФК
1 - зажим; 2 - кисть; 3 - основание; 4
- неподвижная часть приспособления; 5 - подвижная часть приспособления;
6 - стойка; 7 - груз
Рисунок 14 - Приспособление для определения коэффициента плотности пучков кистей типов КРО, КП, КФ
Статическая нагрузка Р складывается из массы груза и подвижной части приспособления.
Площадь поперечного сечения пучка определяют по шкале приспособления.
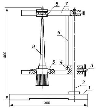
5.6 Требования 3.2.5 проверяют при помощи приспособления, указанного в приложении Б, или шаблоном.
5.7 Требования 3.2.6, 3.2.8, 3.2.9 проверяют визуально методом сравнения с образцом-эталоном.
5.8 Влажность древесины ручек определяют по ГОСТ 16588.
5.9 Параметр шероховатости деталей из древесины определяют сравнением их с образцом-эталоном или на приборе.
6.1 Упакованные кисти и щетки малярные допускается перевозить транспортом любого вида при обеспечении мер, предохраняющих кисти и щетки от механических повреждений и воздействия влаги.
6.2 Хранение кистей и щеток малярных - по группе условий хранения 2 (С) ГОСТ 15150.

1 - пучок; 2 - обойма; 3 - вкладыш; 4 - ручка
Рисунок А.1 - Исполнения кистей-ручников типов КР, КРО. Исполнения 1 - 3

1 - пучок; 2 - обойма; 3 - ежеобразный вкладыш; 4 - ручка
Рисунок А.2 - Исполнения кистей-ручников типа КРС. Исполнения 1, 2

1 - пучок; 2 - обойма; 3 - вкладыш; 4 - ручка
Рисунок А.3 - Кисть-ручник типа КП
1 - ручка; 2 - пучок
Рисунок А.4 - Исполнение флейцевой кисти типа КФ

1 - станина; 2 - стойка; 3 - стопор; 4 - кольцо-планка; 5 - вкладыш; 6 - держатель; 7 - шкала; 8 - ползун; 9 - кисть
Рисунок Б.1 - Приспособление для проверки соосности
Ключевые слова: кисти и щетки малярные, технические требования