Fire equipment. Fire pressure hoses. General technical requirements. Test methods

ФЕДЕРАЛЬНОЕ АГЕНЬСТВО

ПО ТЕХНИЧЕСКОМУ РЕГУЛИРОВАНИЮ И МЕТРОЛОГИИ

НАЦИОНАЛЬНЫЙ
СТАНДАРТ
РОССИЙСКОЙ
ФЕДЕРАЦИИ

ГОСТ Р
51049-
2019

Техника пожарная

РУКАВА ПОЖАРНЫЕ НАПОРНЫЕ

Общие технические требования.
Методы испытаний

 

Москва

Стандартинформ

2019

 

Предисловие

1 РАЗРАБОТАН Федеральным государственным бюджетным учреждением «Всероссийский ордена «Знак Почета» научно-исследовательский институт противопожарной обороны» Министерства Российской Федерации по делам гражданской обороны, чрезвычайным ситуациям и ликвидации последствий стихийных бедствий (ФГБУ ВНИИПО МЧС России)

2 ВНЕСЕН Техническим комитетом по стандартизации ТК 274 «Пожарная безопасность»

3 УТВЕРЖДЕН И ВВЕДЕН В ДЕЙСТВИЕ Приказом Федерального агентства по техническому регулированию и метрологии от 19 сентября 2019 г. № 721-ст

4 ВЗАМЕН ГОСТ Р 51049-2008

5 Федеральное агентство по техническому регулированию и метрологии не несет ответственности за патентную чистоту настоящего стандарта. Патентообладатель может заявить о своих правах и направить в национальный орган по стандартизации аргументированное предложение о внесении в настоящий стандарт поправки для указания информации о наличии в стандарте объектов патентного права и патентообладателе

Правила применения настоящего стандарта установлены в статье 26 Федерального закона от 29 июня 2015 г. № 162-ФЗ «О стандартизации в Российской Федерации». Информация об изменениях к настоящему стандарту публикуется в ежегодном (по состоянию на 1 января текущего года) информационном указателе «Национальные стандарты», а официальный текст изменений и поправок - в ежемесячном информационном указателе «Национальные стандарты». В случае пересмотра (замены) или отмены настоящего стандарта соответствующее уведомление будет опубликовано в ближайшем выпуске ежемесячного информационного указателя «Национальные стандарты». Соответствующая информация, уведомление и тексты размещаются также в информационной системе общего пользования - на официальном сайте Федерального агентства по техническому регулированию и метрологии в сети Интернет (www.gost.ru)

 

Содержание

1 Область применения. 1

2 Нормативные ссылки. 1

3 Термины и определения. 1

4 Конструкция и классификация напорных пожарных рукавов. 1

4.1 Конструкция напорных пожарных рукавов. 1

4.2 Классификация напорных пожарных рукавов. 1

4.3 Примеры условного обозначения. 1

5 Общие технические требования. 1

6 Правила приемки. 1

7 Методы испытаний. 1

7.1 Требования к условиям проведения испытаний. 1

7.2 Требования к средствам измерений. 1

7.3 Требования к количеству образцов. 1

7.4 Метод измерения длины рукава. 1

7.5 Метод измерения внутреннего диаметра рукава. 1

7.6 Метод измерения массы 1 м рукава. 1

7.7 Метод определения толщины слоя материала внутреннего гидроизоляционного
и наружного покрытий рукава. 1

7.8 Метод определения относительного увеличения диаметра и относительного удлинения
рукава. 1

7.9 Метод проверки герметичности рукава. 1

7.10 Метод определения удельного расхода воды на увлажнение перколированного рукава  1

7.11 Метод определения разрывного давления рукава. 1

7.12 Метод определения прочности связи внутреннего гидроизоляционного покрытия
с каркасом рукава. 1

7.13 Метод проверки термостойкости. 1

7.14 Метод проверки маслостойкости. 1

7.15 Метод проверки стойкости рукава к абразивному износу. 1

7.16 Метод проверки климатического исполнения рукава. 1

7.16.1 Проверка работоспособности рукава при нижней рабочей температуре, заданной
при эксплуатации. 1

7.16.2 Проверка работоспособности рукава при верхней рабочей температуре, заданной
при эксплуатации, и сохранение работоспособности при верхней температуре
транспортирования и хранения. 1

7.16.3 Проверка сохранения работоспособности рукава при нижней температуре,
заданной при транспортировании и хранении. 1

Приложение А (обязательное) Содержание формуляра «Рукав пожарный напорный». 1

 

 

НАЦИОНАЛЬНЫЙ СТАНДАРТ РОССИЙСКОЙ ФЕДЕРАЦИИ

Техника пожарная

РУКАВА ПОЖАРНЫЕ НАПОРНЫЕ

Общие технические требования.
Методы испытаний

Fire equipment. Fire pressure hoses. General technical requirements. Test methods

Дата введения - 2020-02-01

1 Область применения

1.1 Настоящий стандарт устанавливает общие технические требования и методы испытаний на напорные пожарные рукава, предназначенные для транспортирования огнетушащих веществ к месту пожара и принимающие плоскую форму при отсутствии в них избыточного давления.

1.2 Настоящий стандарт может применяться для целей подтверждения соответствия требованиям технических регламентов.

2 Нормативные ссылки

В настоящем стандарте использованы нормативные ссылки на следующие стандарты:

ГОСТ 2.601-2013 Единая система конструкторской документации. Эксплуатационные документы

ГОСТ 15.309 Система разработки и постановки продукции на производство. Испытания и приемка выпускаемой продукции. Основные положения

ГОСТ 166 Штангенциркули. Технические условия

ГОСТ 427 Линейки измерительные металлические. Технические условия

ГОСТ 1770 Посуда мерная лабораторная стеклянная. Цилиндры, мензурки, колбы, пробирки. Технические условия

ГОСТ 2199 Клей резиновый. Технические условия

ГОСТ 2405 Манометры, вакуумметры, мановакуумметры, напоромеры, тягомеры, тягонапоромеры. Общие технические условия

ГОСТ 7502 Рулетки измерительные металлические. Технические условия

ГОСТ 11358 Толщиномеры и стенкомеры индикаторные с ценой деления 0,01 и 0,1 мм. Технические условия

ГОСТ 13344 Шкурка шлифовальная тканевая водостойкая. Технические условия

ГОСТ 14192 Маркировка грузов

ГОСТ 15150 Машины, приборы и другие технические изделия. Исполнения для различных климатических районов. Категории, условия эксплуатации, хранения и транспортирования в части воздействия климатических факторов внешней среды

ГОСТ 16504 Система государственных испытаний продукции. Испытания и контроль качества продукции. Основные термины и определения

ГОСТ 25346 Основные нормы взаимозаменяемости. Единая система допусков и посадок. Общие положения, ряды допусков и основных отклонений

ГОСТ 28338 Соединения трубопроводов и арматура. Номинальные диаметры. Ряды

ГОСТ 29298 Ткани хлопчатобумажные и смешанные бытовые. Общие технические условия

ГОСТ Р 15.201 Система разработки и постановки продукции на производство. Продукция производственно-технического назначения. Порядок разработки и постановки продукции на производство

ГОСТ Р 53228 Весы неавтоматического действия. Часть 1. Метрологические и технические требования. Испытания

ГОСТ Р 53279 Техника пожарная. Головки соединительные пожарные. Общие технические требования. Методы испытаний

ГОСТ Р 53331 Техника пожарная. Стволы пожарные ручные. Общие технические требования. Методы испытаний

Примечание - При пользовании настоящим стандартом целесообразно проверить действие ссылочных стандартов в информационной системе общего пользования - на официальном сайте Федерального агентства по техническому регулированию и метрологии в сети Интернет или по ежегодному информационному указателю «Национальные стандарты», который опубликован по состоянию на 1 января текущего года, и по выпускам ежемесячного информационного указателя «Национальные стандарты» за текущий год. Если заменен ссылочный стандарт, на который дана недатированная ссылка, то рекомендуется использовать действующую версию этого стандарта с учетом всех внесенных в данную версию изменений. Если изменен ссылочный стандарт, на который дана датированная ссылка, то рекомендуется использовать версию этого документа с указанным выше годом утверждения (принятия). Если после утверждения настоящего стандарта в ссылочный стандарт, на который дана датированная ссылка, внесено изменение, затрагивающее положение, на которое дана ссылка, то это положение рекомендуется применять без учета данного изменения. Если ссылочный стандарт отменен без замены, то положение, в котором дана ссылка на него, рекомендуется применять в части, не затрагивающей эту ссылку.

3 Термины и определения

В настоящем стандарте применены термины по ГОСТ 28338 и ГОСТ 16504, а также следующие термины с соответствующими определениями:

3.1 напорный пожарный рукав: Гибкий трубопровод, предназначенный для транспортирования огнетушащих веществ под избыточным давлением.

3.2 каркас напорного пожарного рукава: Текстильная основа рукава, обеспечивающая его прочностные характеристики.

3.3 внутреннее гидроизоляционное покрытие напорного пожарного рукава: Слой из водонепроницаемого материала на внутренней поверхности каркаса.

3.4 рабочее давление; рр: Наибольшее избыточное давление огнетушащего вещества, при котором изделие сохраняет свою работоспособность в пределах назначенного предприятием-изготовителем срока службы при заданном режиме эксплуатации.

3.5 работоспособность: Состояние рукава, при котором возможно его использование по назначению.

3.6 разрывное давление: Избыточное давление, при котором происходит разрушение напорного пожарного рукава.

3.7 напорный пожарный рукав без наружного покрытия: Рукав, не имеющий с наружной стороны каркаса защитного слоя покрывного материала, а также пропитки структуры каркаса каким-либо видом материала.

3.8 напорный пожарный рукав с пропиткой каркаса: Рукав, имеющий пропитку структуры каркаса каким-либо видом материала, например, латексом или другим материалом.

3.9 напорный пожарный рукав с наружным покрытием (двухсторонний): Рукав с внутренним гидроизоляционным покрытием, имеющий с наружной стороны каркаса защитный слой покрывного материала определенной толщины.

3.10 износостойкий напорный пожарный рукав: Рукав, обладающий повышенной стойкостью к истиранию.

3.11 маслостойкий напорный пожарный рукав: Рукав, обладающий повышенной стойкостью к воздействию масел и различных нефтепродуктов и имеющий с наружной стороны каркаса защитный слой покрывного материала или пропитку структуры каркаса.

3.12 термостойкий напорный пожарный рукав: Рукав, обладающий повышенной стойкостью при контакте с нагретыми поверхностями.

3.13 перколированный напорный пожарный рукав: Вид термостойкого напорного пожарного рукава, термостойкость которого обеспечивается увлажнением за счет перколяции его наружной поверхности по всей длине транспортируемыми огнетушащими веществами (водой, водными растворами пенообразователей и т. п.).

3.14 скатка: Форма укладки напорного пожарного рукава, предназначенная для транспортирования и (или) быстрого его развертывания.

3.15 одинарная скатка: Напорный пожарный рукав, скатанный по всей длине от одного конца к другому.

3.16 двойная скатка: Напорный пожарный рукав, сложенный вдвое и скатанный от середины к концам.

3.17 муфта для устранения течи: Отрезок напорного пожарного рукава длиной не менее 300 мм, надетый на рукав аналогичного типа и номинального диаметра, предназначенный для оперативного устранения течи при повреждении рукава.

3.18 муфта на навязку: Отрезок напорного пожарного рукава, надеваемый на напорный пожарный рукав аналогичного типа в месте проволочной навязки на пожарную соединительную головку, и предназначенный для дополнительной его защиты от внешних воздействий.

3.19 Устройство механизированного прокладывания и уборки напорной рукавной линии; (УПР): Устройство, входящее в состав мобильного средства пожаротушения, предназначенное для безопасного прокладывания и уборки с грунта в специальный отсек напорной рукавной линии, и обеспечивающее при этом слив остаточной воды, и первичную очистку рукавов.

4 Конструкция и классификация напорных пожарных рукавов

4.1 Конструкция напорных пожарных рукавов

Напорные пожарные рукава состоят из тканого каркаса и внутреннего гидроизоляционного покрытия.

При изготовлении каркаса напорного пожарного рукава используют нити из химических, синтетических и натуральных волокон.

Внутреннее гидроизоляционное покрытие изготовляют из различных видов резин, латекса, полиуретанов и других материалов.

В зависимости от назначения и степени стойкости к внешним воздействиям каркас напорного пожарного рукава может иметь наружное защитное покрытие или пропитку.

Напорный пожарный рукав может иметь внутреннее и наружное покрытия, образованные одним гомогенным материалом, составляющим вместе с каркасом цельную конструкцию.

Перколированный напорный пожарный рукав с каркасом из натуральных волокон изготавливается без внутреннего гидроизоляционного и наружного покрытия.

При эксплуатации в боевом расчете пожарной машины и составе пожарного крана напорный пожарный рукав должен быть оборудован пожарными соединительными головками.

Конструктивно оборудование напорного пожарного рукава пожарной соединительной головкой может быть выполнено любым способом при условии сохранения его работоспособности.

На напорный пожарный рукав для пожарных машин с номинальным диаметром до DN 300, включительно, до оборудования его пожарными соединительными головками, должна быть надета муфта для устранения течи.

При оборудовании напорного пожарного рукава для пожарных машин пожарными соединительными головками методом навязки проволокой, на него должны дополнительно надеваться муфты на навязку.

4.2 Классификация напорных пожарных рукавов

4.2.1 Напорные пожарные рукава классифицируют по величине номинального диаметра и рабочего давления в соответствии с таблицей 1 для комплектации:

- мобильных средств пожаротушения (РПМ);

- внутренних и наружных пожарных кранов (РПК).

Таблица 1

Условное обозначение

Номинальный диаметр DN

Рабочее давление рр, МПа, не менее

РПМ

150, 200, 250, 300

1,2

25, 40, 50, 65, 80, 90

1,6

25, 40, 50, 65, 80

3,0

РПК

25, 40, 50, 65

1,0

4.2.2 Рукава классифицируют по стойкости к внешним воздействиям:

- на рукава общего исполнения;

- специального исполнения:

- износостойкие (И);

- маслостойкие (М);

- термостойкие (Т);

- термостойкие перколированные (Тп).

Примечание - Рукава могут иметь различные комбинации специальных исполнений, например, рукав - износостойкий, маслостойкий, термостойкий (ИМТ).

4.2.3 Напорные пожарные рукава классифицируют по климатическому исполнению в соответствии с ГОСТ 15150 для эксплуатации в районах:

- с тропическим и умеренным климатом категории размещения 1 (ТУ1);

- умеренным климатом категории размещения 1 (У1);

- умеренным и холодным климатом категории размещения 1 (УХЛ1).

4.2.4 Напорные пожарные рукава с внутренним гидроизоляционным покрытием классифицируют по типу конструкции:

- на рукава без наружного покрытия (В);

- с пропиткой каркаса (П);

- с наружным покрытием (двухсторонний) (Д).

4.3 Примеры условного обозначения

4.3.1 Напорный пожарный рукав с внутренним гидроизоляционным покрытием без наружного защитного покрытия, для мобильных средств пожаротушения, с номинальным диаметром 50, на рабочее давление 1,6 МПа, общего исполнения, климатического исполнения ТУ1:

РПМ(В)-50-1,6-ТУ1.

4.3.2 Напорный пожарный рукав с внутренним гидроизоляционным покрытием и пропиткой каркаса, для комплектации пожарных машин, с номинальным диаметром 90, на рабочее давление 1,6 МПа, специального исполнения износостойкий, климатического исполнения УХЛ1:

РПМ(П)-90-1,6-И-УХЛ1.

4.3.3 Напорный пожарный рукав с внутренним гидроизоляционным и наружным защитным покрытием (двухсторонний), для комплектации пожарных машин, с номинальным диаметром 65, на рабочее давление 3,0 МПа, специального исполнения: износостойкий, маслостойкий, климатического исполнения У1:

РПМ(Д)-65-3,0-ИМ-У1.

4.3.4 Напорный пожарный рукав с внутренним гидроизоляционным покрытием без наружного защитного покрытия, для комплектации пожарных кранов, с номинальным диаметром 50, на рабочее давление 1,0 МПа, общего исполнения; климатического исполнения У1:

РПК(В)-50-1,0-У1.

4.3.5 Напорный пожарный рукав без внутреннего и наружного покрытия, для комплектации пожарных кранов, номинальным диаметром 50, на рабочее давление 1,0 МПа, специального исполнения: термостойкий перколированный; климатического исполнения У1:

РПК-50-1,0-Тп-У1.

4.3.6 Напорные пожарные рукава, прокладываемые и убираемые механизированным способом с помощью УПР или каким-либо другим способом должны в конце условного обозначения иметь дополнительные литеры «МП»:

РПМ(Д)-150-1,2У1-МП.

5 Общие технические требования

5.1 Напорные пожарные рукава (далее - рукава) следует изготавливать в соответствии с требованиями настоящего стандарта, по нормативному документу (НД), утвержденному в установленном порядке.

5.2 Каркас рукава и материалы, применяемые при его изготовлении, должны соответствовать КД, утвержденной в установленном порядке.

5.3 Пожарные соединительные головки должны соответствовать ГОСТ Р 53279.

5.4 Длина рукава должна соответствовать значениям, приведенным в таблице 2.

Таблица 2

Условное обозначение

Длина рукава, м

Номинальная

Предельные отклонения

РПМ

20

±1

РПК

10-21

-

Примечание - По требованию заказчика допускается изготовление рукавов с литерой «МП» другой номинальной длины. В этом случае на рукавах должна быть нанесена маркировка с указанием фактической длины рукава и литеры «МП» для рукавов, прокладываемых и убираемых механизированным способом.

5.5 Внутренний диаметр рукава должен соответствовать значениям, приведенным в таблице 3.

Таблица 3

Номинальный диаметр DN

Внутренний диаметр рукава, мм

Номинальный

Предельное отклонение

25

25

+2,0

40

38

50

51

65

66

80

77

90

89

+2,5

150

150

+3,0

200

204

±3,0

250

254

300

304

5.6 Масса одного метра рукава должна соответствовать значениям, приведенным в таблице 4.

Таблица 4

Номинальный диаметр DN

Масса рукава общего исполнения,
кг, не более

Масса рукава специального исполнения,
кг, не более

25

0,25

0,30

40

0,34

0,39

50

0,45

0,50

65

0,55

0,65

80

0,65

0,80

90

0,83

1,15

150

1,2

2,65

200

3,0

250

4,2

300

4,9

Примечание - Рукава, имеющие массу одного метра рукава более 1,2 кг и массу скатки 30 кг и более, должны прокладываться и убираться механизированным способом.

5.7 Требования к толщине покрытий рукава

5.7.1 Толщина слоя материала внутреннего гидроизоляционного покрытия рукава, должна быть не менее 0,30 мм.

5.7.2 Толщина защитного слоя покрывного материала рукава с наружным покрытием должна быть не менее 0,10 мм.

5.8 Относительное увеличение диаметра и относительное удлинение рукава при рабочем давлении должны соответствовать значениям, приведенным в таблице 5.

Таблица 5

Условное обозначение

Относительное увеличение диаметра,
%, не более

Относительное удлинение,
%, не более

РПМ - 25, 40, 50, 65, 80, 90, 150

5

5

РПМ - 200, 250, 300

5

3

РПК

10

5

5.9 Рукав (кроме перколированного) должен быть герметичным при испытательном давлении, превышающем в 1,25 раза рабочее давление.

5.10 Перколированный рукав должен обеспечивать расход воды на увлажнение в соответствии с таблицей 6.

Таблица 6

Номинальный диаметр DN

Удельный расход воды на увлажнение одного метра рукава при давлении 0,5рр, л/мин,
не более

25

0,06

40

0,12

50

0,16

65

0,22

80

0,26

90

0,32

Примечание - Для рукавов с каркасом из натуральных волокон значение показателя не нормируется.

5.11 Разрывное давление рукава в зависимости от рабочего давления должно соответствовать значениям, приведенным в таблице 7.

Таблица 7

Рабочее давление рр, МПа

Разрывное давление, МПа, не менее

1,0

2,0

1,2

2,4

1,6

3,5

3,0

6,0

Примечание - Для других значений рабочего давления величина разрывного давления должна превышать рабочее давление не менее чем в два раза.

5.12 Прочность связи внутреннего гидроизоляционного покрытия с каркасом рукава должна быть не менее 10 Н/см. Прочность связи внутреннего гидроизоляционного покрытия из латекса с каркасом должна быть не менее 7 Н/см.

5.13 Рукав должен удовлетворять требованиям термостойкости в соответствии с таблицей 8.

Таблица 8

Условное обозначение

Стойкость при контакте с нагретым стержнем, с, не менее

Температура наружной поверхности
стержня 300 °С

Температура наружной поверхности
стержня 450 °С

РПМ-25, 40, 50, 65, 80, 90

30

-

РПМ-Т-25, 40, 50, 65, 80, 90

-

60

РПК

5

-

5.14 Маслостойкий рукав после воздействия масла в течение 72 ч должен сохранять нормативные значения прочности связи внутреннего гидроизоляционного слоя с каркасом в соответствии с 5.12 и разрывного давления в соответствии с 5.11.

5.15 Стойкость рукавов к абразивному износу должна соответствовать значениям, приведенным в таблице 9.

Таблица 9

Условное обозначение

Номинальный диаметр DN

Стойкость к абразивному износу, циклов, не менее

РПМ

25

50

40

50

65

40

80

30

90

РПМ-И

25

200

40

50

65

150

РПМ-И

80

100

90

РПК

25

20

40

50

65

15

5.16 Климатическое исполнение рукавов с соответствующими температурами окружающего воздуха при их эксплуатации, транспортировании и хранении должно соответствовать таблице 10.

Таблица 10

Климатическое исполнение рукава

Рабочая температура при эксплуатации,
°С

Температура транспортирования и хранения,
°С

Нижняя

Верхняя

Нижняя

Верхняя

ТУ1

Минус 30

40

Минус 40

50

У1

Минус 45

Минус 50

УХЛ1

Минус 60

Минус 60

Для РПК и перколированных рукавов нижний предел рабочих температур не устанавливают. Климатическое исполнение - только по условиям транспортирования и хранения.

5.17 Срок службы - не менее 5 лет.

5.18 Комплектность

В комплект поставки должны входить:

- рукав с муфтами на навязку и муфтой для устранения течи;

- формуляр по ГОСТ 2.601-2013 (приложение А), подписанный изготовителем;

- копия грузовой таможенной декларации (для рукавов иностранного происхождения), заверенная изготовителем или поставщиком;

- копия документа, подтверждающего соответствие обязательным требованиям, установленным к данному виду продукции, заверенная изготовителем или поставщиком;

- индивидуальная упаковка каждого рукава с наименованием производителя (или по согласованию с заказчиком допускается одна общая упаковка на несколько скаток рукава).

Примечание - В формуляр на рукава большой длины и (или) массы, подпадающие под ограничения безопасности и охраны труда, включается указание об обязательном их прокладывании и уборке механизированным способом.

Допускается по согласованию с заказчиком рукава РПК не оборудовать муфтами на навязку и муфтой для устранения течи.

Примечания

1. По требованию заказчика рукав при поставке может оборудоваться двумя головками соединительными пожарными напорными по ГОСТ Р 53279.

2. Рукава, оборудованные пожарными соединительными головками, должны иметь документы на рукава и пожарные соединительные головки, подтверждающие их соответствие обязательным требованиям.

3. По требованию заказчика рукав РПК при поставке может оборудоваться головкой соединительной пожарной напорной по ГОСТ Р 53279 с одной стороны и ручным пожарным стволом по ГОСТ Р 53331 с другой стороны.

5.19 Маркировка

На расстоянии не более 0,5 м от обоих концов рукава должна быть маркировка, содержащая:

- название или буквенный код страны изготовления;

- наименование или товарный знак предприятия-изготовителя;

- условное обозначение рукава;

- длину рукава (номинальную), м;

- дату изготовления (месяц, год);

- знак обращения на рынке, подтверждающий соответствие обязательным требованиям, предъявляемым к данной продукции.

Для рукавов РПМ дополнительно на расстоянии не менее 5 м от одного из концов должна быть маркировка содержащая:

- наименование или товарный знак предприятия-изготовителя;

- дату изготовления (месяц, год);

- литеры «МП» при необходимости.

В качестве дополнительной маркировки рукавов без наружного защитного покрытия каркаса могут быть нити основы, отличающиеся по цвету от нитей каркаса (просновки):

- РПМ - две просновки;

- РПК - одна просновка.

Маркировка должна быть выполнена способом, обеспечивающим четкость и сохранность надписей в течение всего срока эксплуатации.

5.20 Упаковка

Рукава поставляют в скатках. Намотка рукава должна быть ровной, без выступающих кромок отдельных витков. Наружный конец рукава в скатке закрепляют с одной или двух сторон перевязочным материалом, исключающим возможность его раскручивания.

Рукава следует упаковывать в полиэтиленовую пленку или заворачивать в упаковочную ткань, мешковину или другой упаковочный материал по согласованию с заказчиком. Упаковка должна обеспечивать сохранность рукавов при транспортировании и хранении.

Упаковка должна содержать следующую информацию:

- наименование изделий;

- дату изготовления (месяц, год);

- номер стандарта, которому соответствует изделие;

- название или буквенный код страны изготовления;

- название, адрес (юридический, фактический), контактные телефоны предприятия-изготовителя.

Масса упаковочной единицы при ручных погрузо-разгрузочных работах должна быть не более 30 кг.

По согласованию с заказчиком рукава допускается поставлять без упаковки.

6 Правила приемки

6.1 Для контроля качества рукавов в процессе разработки и производства проводят следующие испытания:

- предварительные;

- приемочные;

- квалификационные;

- приемо-сдаточные;

- периодические;

- типовые;

- испытания по подтверждению соответствия обязательным требованиям.

6.2 Правила приемки - в соответствии с ГОСТ 15.309.

6.3 Приемо-сдаточные испытания

6.3.1 При приемо-сдаточных испытаниях рукава принимают партиями. Партией считают рукава одного условного прохода, изготовленные в течение определенного интервала времени по одной и той же технологической документации, сопровождаемые одним документом о качестве. Количество рукавов в партии устанавливают в НД изготовителей.

6.3.2 Приемо-сдаточные испытания рукавов проводят по показателям, приведенным в таблице 11.

Таблица 11

Наименование показателя

Номер пункта

технических требований

методов испытаний

Длина

5.4

7.4

Внутренний диаметр

5.5

7.5

Герметичность

5.9

7.9

Комплектность

5.18

7.18

Маркировка

5.19

7.18

Упаковка

5.20

7.18

6.3.3 Приемо-сдаточные испытания следует проводить не ранее чем через 24 ч после изготовления рукавов.

6.4 Периодические испытания

Периодические испытания проводят по показателям, приведенным в таблице 12, на рукавах, прошедших приемо-сдаточные испытания. Периодичность проведения испытаний по каждому показателю определена в конструкторской документации, в зависимости от способности технологического оборудования обеспечивать технические характеристики выпускаемой продукции.

Таблица 12

Наименование показателя

Номер пункта

технических требований

методов испытаний

Масса 1 м

5.6

7.6

Толщина покрытий рукава

5.7

7.7

Относительное увеличение диаметра и относительное удлинение рукава

5.8

7.8

Расход воды на увлажнение1)

5.10

7.10

Разрывное давление

5.11

7.11

Прочность связи внутреннего гидроизоляционного покрытия с каркасом

5.12

7.12

Термостойкость

5.13

7.13

Маслостойкость2)

5.14

7.14

Стойкость к абразивному износу

5.15

7.15

1) Для перколированных рукавов.

2) Для маслостойких рукавов.

6.5 Типовые испытания

Типовые испытания проводят при изменении конструкции рукава, технологии изготовления или замене сырья и покупных полуфабрикатов, изделий. Испытания проводят по программе и методике испытаний в соответствии с ГОСТ 15.309. Количество образцов рукавов для испытаний определяют в соответствии с программой и методикой типовых испытаний.

6.6 Предварительные, приемочные и квалификационные испытания проводят в соответствии с ГОСТ Р 15.201.

Предварительные, приемочные, квалификационные испытания проводят по всем пунктам технических требований настоящего стандарта.

6.7 Эксплуатационные испытания проводят на стадии постановки рукавов на производство по программе и методике, согласованной и утвержденной в порядке, установленном в ГОСТ Р 15.201.

6.8 Испытания по подтверждению соответствия обязательным требованиям, установленным к данному виду продукции, проводят по всем пунктам технических требований настоящего стандарта.

6.9 На испытания допускается поставлять рукава как оборудованные пожарными соединительными головками, так и не оборудованные ими.

7 Методы испытаний

7.1 Требования к условиям проведения испытаний

Все испытания проводят в нормальных климатических условиях по ГОСТ 15150:

- температура от 15 °С до 35 °С;

- относительная влажность воздуха от 45 % до 80 %;

- атмосферное давление от 84,0 до 106,7 кПа.

7.2 Требования к средствам измерений

При проведении испытаний используют средства измерений, обеспечивающие необходимую точность измерений, поверенные в установленном порядке.

7.3 Требования к количеству образцов

На испытания должно быть представлено не менее трех образцов рукавов.

Образцы для испытаний отбирают методом случайной выборки из числа представленных на испытания.

7.3.1 Испытания по 7.4 (измерение длины рукава), 7.5 (измерение внутреннего диаметра), 7.6 (измерение массы 1 м рукава), 7.18 (проверка комплектности, маркировки, упаковки) проводят не менее чем на трех образцах рукава, не подвергавшихся другим видам испытаний.

7.3.2 Испытания по 7.8 (определение относительного увеличения диаметра и относительного удлинения рукава) проводят на одном образце рукава, не подвергавшемся испытаниям по 7.7 (определения толщины слоя материала внутреннего гидроизоляционного и наружного покрытий рукава), 7.11 (определение разрывного давления), 7.12 (определение прочности связи внутреннего гидроизоляционного покрытия с каркасом рукава), 7.13 (проверка термостойкости), 7.14 (проверки маслостойкости), 7.15 (проверка стойкости рукава к абразивному износу), 7.16 (проверка климатического исполнения рукава).

7.3.3 Испытание по 7.9 (проверка герметичности рукава) проводят не менее чем на трех образцах рукавов, не подвергавшихся испытаниям по 7.7 (определения толщины слоя материала внутреннего гидроизоляционного и наружного покрытий рукава), 7.11 (определение разрывного давления), 7.12 (определение прочности связи внутреннего гидроизоляционного покрытия с каркасом рукава), 7.13 (проверка термостойкости), 7.14 (проверка маслостойкости), 7.15 (проверка стойкости рукава к абразивному износу), 7.16 (проверка климатического исполнения рукава).

7.3.4 Испытания по 7.7 (определения толщины слоя материала внутреннего гидроизоляционного и наружного покрытий рукава), 7.11 (определение разрывного давления рукава), 7.12 (определение прочности связи внутреннего гидроизоляционного покрытия с каркасом рукава), 7.13 (проверка термостойкости), 7.14 (проверка маслостойкости), 7.15 (проверка стойкости рукава к абразивному износу) проводят не менее чем на трех образцах, отрезанных от одного из рукавов.

7.3.5 Испытание по 7.10 (определение удельного расхода воды на увлажнение перколированного рукава) проводят на одном образце, отрезанном от одного из рукавов.

7.3.6 Испытание по 7.16 (проверка климатического исполнения рукава) проводят на одном целом образце рукава, одном отрезке рукава и трех образцах, отрезанных от одного из рукавов.

7.4 Метод измерения длины рукава

Рукав раскатывают на ровной горизонтальной поверхности. Длину рукава измеряют рулеткой по ГОСТ 7502 с ценой деления не более 0,1 м. Допускается проводить испытание с использованием других средств измерений. Результат испытаний считают положительным, если все представленные на испытания рукава соответствуют требованию 5.4.

7.5 Метод измерения внутреннего диаметра рукава

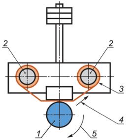
Внутренний диаметр измеряют ступенчатым металлическим калибром (см. рисунок 1, таблицу 13) на рукаве без пожарных соединительных головок. Рукав натягивают на калибр усилием от руки без упора. Диаметр считают равным максимальному размеру ступени, на которую он натянут полностью.

Рисунок 1 - Ступенчатый калибр

Таблица 13 - Размеры ступенчатого калибра, мм

Номинальный диаметр DN

d1

d2

d3

d4

d5

d6

d7

25

22

23

24

25

26

27

28

40

35

36

37

38

39

40

41

50

48

49

50

51

52

53

54

65

63

64

65

66

67

68

69

80

74

75

76

77

78

79

80

90

86

87

88

89

90

91

92

150

147

148

149

150

151

152

153

200

201

202

203

204

205

206

207

250

251

252

253

254

255

256

257

300

301

302

303

304

305

306

307

Примечание - Допуск на диаметры ступенек - h12, на длину - Н14 по ГОСТ 25346.

Результат испытаний считают положительным, если все представленные на испытания рукава соответствуют требованию 5.5.

7.6 Метод измерения массы 1 м рукава

Образец рукава в скатке без пожарных соединительных головок взвешивают на весах по ГОСТ Р 53228. Погрешность взвешивания должна быть не более ± 0,1 кг. Измеряют длину рукава так же, как в 7.4. Длину образцов измеряют рулеткой по ГОСТ 7502 или линейкой по ГОСТ 427. Погрешность измерения длины не должна быть более 0,1 м. Массу 1 м рукава определяют как частное от деления массы рукава в скатке на его длину. Результат испытаний считают положительным, если значение массы не превышает значений таблицы 4.

7.7 Метод определения толщины слоя материала внутреннего гидроизоляционного и наружного покрытий рукава

Для определения толщины слоя материала внутреннего гидроизоляционного или наружного покрытия от рукава отрезают три образца длиной не менее 50 мм каждый. Полученные образцы разрезают вдоль нитей основы по одной из складок и делят каждый на 10 равных отрезков в направлении уточных нитей. При этом необходимо исключить попадание отрезка на складку рукава. Делают 10 измерений толщины стенки рукава на размеченных отрезках. После этого на каждом образце прорезают полоску слоя покрывного материала, соответственно, с внутренней или наружной стороны каркаса рукава, вдоль уточных нитей шириной от 15 до 30 мм, не повреждая нитей каркаса. Полоску слоя материала покрытия отделяют от каркаса и измеряют толщину стенки рукава без него внутри размеченного отрезка. Измерение проводят толщиномером по ГОСТ 11358. Измерительное усилие должно быть от 2 до 4 Н. Погрешность измерения не должна быть более 0,1 мм.

Разница между результатами измерений толщины стенки рукава с покрытием и без него составляет толщину слоя материала внутреннего гидроизоляционного или наружного покрытия, соответственно. Конечный результат определяют как среднеарифметическое из тридцати, полученных при измерениях значений, по формуле

(1)

где Si - толщина внутреннего гидроизоляционного покрытия при i-м измерении, мм;

N - количество измерений.

Результат испытаний считают положительным, если среднеарифметическое значение толщины слоя материала покрытия соответствует требованиям 5.7.

Допускается толщину слоя внутреннего и наружного покрытия рукава определять при помощи микроскопа с увеличением не менее, чем двадцатикратным, откалиброванного по поверенным средствам измерений. Погрешность измерения должна составлять не более (±0,02) мм.

От рукава отрезают произвольно три образца длиной 15 - 25 мм каждый. Толщину слоя измеряют на срезе каждого образца в четырех местах, равномерно расположенных по окружности, исключая складок рукава.

При этом за значение толщины слоя при каждом измерении принимают наименьшую толщину слоя в видимом секторе обзора микроскопа.

Результат испытаний считают положительным, если наименьшее значение толщины слоя материала покрытия всех образцов соответствует требованиям 5.7.

7.8 Метод определения относительного увеличения диаметра и относительного удлинения рукава

Рукав раскатывают на всю длину и один его конец присоединяют к насосу. Другой конец рукава присоединяют к запорной арматуре для выпуска воздуха. Рукав наполняют водой до полного удаления воздуха, давление в нем поднимают до 0,1+0 01 МПа. Давление измеряют манометром по ГОСТ 2405 с погрешностью измерения не более 0,06 МПа. При этом давлении на рукаве отмечают контрольными метками три участка (в начале, середине и в конце) исходной длины L0 равной (1000 ± 1) мм, и измеряют наружный диаметр рукава D0 в трех произвольно отмеченных местах на каждом участке с погрешностью не более 1,0 мм. Наружный диаметр измеряют на трех отмеченных местах (равномерно распределенных по участку) на каждом участке. Давление в рукаве поднимают до рр+0,1 МПа и выдерживают 2 - 3 мин. Давление измеряют манометром с погрешностью измерения более 0,06 МПа. При этом давлении измеряют длину каждого отмеченного участка L и наружный диаметр D на отмеченных местах. Погрешность измерения длины L и наружного диаметра D не должна быть более 1 мм на каждом контрольном участке. Размеры L0, L, D0, D измеряют при помощи рулетки по ГОСТ 7502.

Для определения размеров D0, D при помощи рулетки по ГОСТ 7502 измеряют длину окружности I0, и I в отмеченных местах.

D0, D для каждого участка вычисляют по формулам:

(2)

(3)

где I0, I - длины окружности в отмеченных местах, мм;

π = 3,141593.

Допускается размеры D0, D для рукавов с номинальным диаметром 25 и 40 измерять при помощи штангенциркуля по ГОСТ 166.

Относительное удлинение εL для каждого участка вычисляют по формуле

(4)

где L0 - исходная длина, мм;

L - длина при рабочем давлении, мм.

Относительное увеличение диаметра εD для каждого участка вычисляют по формуле

(5)

где D0 - исходный диаметр, мм;

D - диаметр при рабочем давлении, мм.

За относительное удлинение рукава принимают среднеарифметическое показателей, полученных на трех участках. За величину относительного увеличения диаметра рукава принимают среднеарифметическое показателей, полученных на девяти местах.

Результат испытаний считают положительным, если среднеарифметическое относительного удлинения и относительного увеличения диаметра не превышает значений таблицы 5.

7.9 Метод проверки герметичности рукава

Рукав раскатывают на всю длину, и один его конец присоединяют к насосу. Другой конец рукава присоединяют к запорной арматуре для выпуска воздуха. Рукав медленно наполняют водой до полного удаления воздуха. Давление плавно поднимают до значения, равного 1,25рр+0,1 МПа, и выдерживают при этом давлении в течение не менее 3 мин. Появление капель воды на наружной поверхности рукава и в местах его соединения с пожарными соединительными головками не допускается. Для рукавов с внутренним гидроизоляционным покрытием из латекса допускается намокание наружной поверхности без отекания капель воды.

Давление измеряют манометром по ГОСТ 2405 с погрешностью не более 0,06 МПа. Время измеряют секундомером с погрешностью не более 0,2 с.

Результат испытаний считают положительным, если все представленные на испытания рукава выдерживают испытания.

7.10 Метод определения удельного расхода воды на увлажнение перколированного рукава

От рукава отрезают образец длиной (1000 ± 5) мм. Образец заполняют водой до полного удаления воздуха, поднимают давление в рукаве до 1,25рp+0,1 МПа и выдерживают при этом давлении не менее 3 мин. Давление измеряют манометром по ГОСТ 2405 с погрешностью не более 0,06 МПа. Далее давление снижают до значения равного 50 % от рр и выдерживают не менее 20 мин. После выдержки измеряют количество просачивающейся воды в течение 1 мин. Измерения просачивающейся воды проводят не менее трех раз через каждые 5 мин. Воду собирают в специальную емкость, расположенную под образцом рукава, находящегося под давлением. Количество собранной воды (удельный расход) определяют с помощью мерной посуды по ГОСТ 1770 или с помощью весов по ГОСТ Р 53228 с погрешностью измерения не более 20 г по разнице массы сухой посуды и заполненной водой. За удельный расход принимают среднеарифметическое значений показателей, полученных при измерениях. Удельный расход воды не должен превышать значений, указанных в таблице 6. При проведении испытаний внешним осмотром проверяют равномерность смачивания рукава.

7.11 Метод определения разрывного давления рукава

От рукава отрезают не менее трех образцов длиной (1,0 ± 0,1) м. Образцы отрезают от целого рукава, по одному образцу на расстоянии не более 5 м от каждого конца и один образец от середины рукава. После заполнения образца рукава водой и удаления воздуха повышают давление со скоростью не более 0,3 МПа/с до разрушения образца и фиксируют максимальное значение давления. Если при испытании конец рукава вырывается из зажима, повторные испытания проводят на новом дополнительном образце рукава. Давление измеряют манометром по ГОСТ 2405 с погрешностью не более 0,06 МПа. За разрывное давление рукава принимают наименьшее полученное значение по результатам испытаний трех образцов рукавов. Результат испытаний считают положительным, если наименьшее значение разрывного давления соответствует значению таблицы 7.

При испытании образцов рукавов на разрывное давление допускается повышать давление до значения в соответствии с таблицей 7 и затем снижать до нуля. Результат испытаний считают положительным, если все образцы выдержали разрывное давление в соответствии с таблицей 7 без разрушений.

7.12 Метод определения прочности связи внутреннего гидроизоляционного покрытия с каркасом рукава

Испытание проводят на разрывной машине со скоростью движения нижнего зажима (200 ± 20) мм/мин. Погрешность измерения усилия, при котором происходит отрыв внутреннего гидроизоляционного покрытия, должна составлять не более ±1 % от измеряемого значения.

Испытание проводят на трех образцах длиной (250 ± 10) мм каждый, отрезанных от одного рукава. Каждый образец разрезают по складкам на две полоски в направлении нитей основы. Для рукавов с внутренним покрытием из латекса на внутреннее гидроизоляционное покрытие наклеивают хлопчатобумажную ткань по ГОСТ 29298 с помощью резинового клея по ГОСТ 2199 (время выдержки не менее 24 ч). На полосках вдоль нитей основы делают два параллельных надреза на толщину внутреннего гидроизоляционного покрытия по всей длине полоски. Расстояние «В» между надрезами (50 ± 1) мм. После этого расслаивают один из концов на длину от 40 до 50 мм. Расслоенные концы закрепляют: один в подвижном, другой в неподвижном зажимах и фиксируют максимальное усилие расслоения. Далее определяют среднеарифметическое из максимальных значений усилий расслоения всех полосок «F».

Показатель прочности связи внутреннего гидроизоляционного покрытия с каркасом «Р», Н/см, вычисляют по формуле

(6)

Результат испытаний считают положительным, если среднеарифметическое значение показателя прочности связи не ниже требований 5.12.

7.13 Метод проверки термостойкости

От рукава отрезают три образца произвольной длины, достаточной для закрепления на испытательном оборудовании. Перед испытаниями образцы выдерживают в нормальных условиях не менее 24 ч. Положение образца при испытании - горизонтальное. Термостойкость рукава определяют при условиях, указанных в таблице 14. Испытываемый образец заполняется водой из системы внутреннего водопровода здания, сооружения.

Таблица 14

Условие проведения испытаний

Значение параметра

Давление в рукаве, МПа

1,00 ± 0,10

Температура наружной поверхности стержня в зависимости от применения испытуемого рукава, °С

300 ± 5

450 ± 10

Усилие воздействия стержня на рукав в точке контакта, Н

4,0 ± 0,1

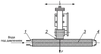
Температуру стержня измеряют в месте контакта его с образцом с использованием термоэлектрических преобразователей. Давление измеряют манометром по ГОСТ 2405 с погрешностью измерения не более 0,06 МПа. Термостойкость рукава определяют по времени контакта с полым стержнем, изготовленным из кварцевого стекла с расположенным в нем электронагревательным элементом (см. рисунок 2), с образцом рукава до образования свища. Время измеряют секундомером с погрешностью не более 0,2 с.

За результат испытаний принимают среднеарифметическое значение, полученное на трех образцах. Результат испытаний считают положительным, если среднеарифметическое значение соответствует требованиям 5.13.

1 - кварцевое стекло

Рисунок 2 - Стержень с электронагревательным элементом

7.14 Метод проверки маслостойкости

От рукава отрезают три образца по методу определения прочности связи внутреннего покрытия с каркасом и три образца по методу определения разрывного давления. Перед испытаниями образцы выдерживают в нормальных условиях не менее 24 ч. Образцы рукавов погружают в минеральное масло - трансформаторное или другое с плотностью от 0,875 до 0,905 г/см3. Образцы погружают в масло так, чтобы их концы, предназначенные для закрепления в зажимах испытательного оборудования, оставались над поверхностью масла. Время выдержки в масле 72+1 ч. После выдержки в масле проверяют прочность связи внутреннего гидроизоляционного покрытия с каркасом и разрывное давление.

При испытании образцов рукавов на разрывное давление допускается повышать давление до значения в соответствии с таблицей 7 и затем снижать до нуля. Результат испытаний считают положительным, если все образцы выдержали разрывное давление в соответствии с таблицей 7 без разрушений.

Результат испытаний считают положительным, если наименьшее полученное значение прочности связи внутреннего гидроизоляционного покрытия соответствует требованиям 5.12, а значение разрывного давления соответствует требованиям 5.11.

7.15 Метод проверки стойкости рукава к абразивному износу

Испытание проводят на оборудовании с техническими характеристиками, приведенными в таблице 15. Схема истирания на оборудовании приведена на рисунках 3, 4.

Таблица 15

Характеристика

Значение

Скорость вращения образца, мин-1

30 ± 3

Шлифовальная шкурка

14А8Н ГОСТ 13344

Ширина шкурки, мм

50 ± 2

Скорость движения шкурки вдоль оси рукава, мм/с

20 ± 2

Ход возвратно-поступательного движения шкурки вдоль оси рукава L, мм

80 ± 2

Усилие прижатия шкурки к образцу рукава F, Н:

75 ± 5

Подача шкурки за один цикл, мм

4 ± 1

Направления подачи шкурки и вращения рукава

Должны совпадать

Давление внутри образца рукава р, МПа

0,50 ± 0,01

От отобранного для испытаний рукава отрезают три образца. Длина образца должна быть достаточной для закрепления его в испытательном оборудовании. Образец рукава герметично закрепляют на штуцерах и заполняют его водой. Создают внутри образца рукава давление согласно таблице 15 и проводят истирание.

1, 4 - штуцер; 2 - шкурка; 3 - рукав; L - ход шкурки; F - усилие прижатия шкурки

Рисунок 3 - Схема истирания образца рукава

1 - рукав; 2 - ролики лентопротяжного механизма со шкуркой; 3 - шкурка; 4 - направление подачи шкурки;
5 - направление вращение образца рукава

Рисунок 4 - Схема истирания (вид слева)

Число циклов истирания в соответствие с таблицей 9. Циклом считают одно (возвратно-поступательное) движение шкурки по рукаву. Число циклов регистрируют счетчиком. После установленного числа циклов истирания образец рукава испытывают на герметичность при рабочем давлении. Образец рукава заполняют водой и удаляют воздух, плавно повышают давление до рабочего. Давление измеряют манометром по ГОСТ 2405 с погрешностью не более 0,06 МПа. Выдерживают при этом давлении в течение не менее 3 мин. Появление капель воды на наружной поверхности образца рукава не допускается. Образцы перколированных рукавов должны сохранять прочность: появление разрушений образца рукава и превышение удельного расхода воды на увлажнение наружной поверхности не допускаются. Рукав считают выдержавшим испытание, если три образца рукава выдержали испытание.

7.16 Метод проверки климатического исполнения рукава

7.16.1 Проверка работоспособности рукава при нижней рабочей температуре, заданной при эксплуатации

Для испытания рукавов с DN от 25 до 90 отбирают один целый образец рукава и отрезок рукава длиной от 500 до 1000 мм.

Испытания рукавов более DN 90 проводят на отрезке рукава длиной от 500 до 1000 мм.

Рукав скатывают в одинарную скатку. Скатку и отрезок рукава помещают в камеру холода. Температуру в камере доводят до значения, указанного в таблице 10, в соответствии с климатическим исполнением рукава, после чего образцы выдерживают в камере не менее 1 ч. После выдержки скатку и образец достают из камеры. Время изъятия образцов из камеры до начала испытаний должно быть не более 5 с.

Образец рукава посередине изгибают один раз на 180° в одну и другую стороны. Скатку рукава раскатывают. По окончании испытаний образцы рукавов осматривают на наличие трещин и повреждений. Скатка должна свободно раскатиться на расстояние не менее 7 м. Не менее чем через 2 ч рукав и отрезок рукава испытывают на герметичность при испытательном давлении (см. 5.9). Появление трещин на испытанных образцах и нарушение герметичности не допускаются. Образцы перколированных рукавов испытывают на прочность при рабочем давлении в течение 3 мин. Образцы перколированных рукавов должны сохранять прочность: появление разрушений образца рукава и превышение удельного расхода воды на увлажнение наружной поверхности (см. таблицу 6) не допускаются.

7.16.2 Проверка работоспособности рукава при верхней рабочей температуре, заданной при эксплуатации, и сохранение работоспособности при верхней температуре транспортирования и хранения

Верхнюю рабочую температуру эксплуатации и транспортирования и хранения проверяют на рукаве, скатанном в одинарную или двойную скатку. Испытания рукавов более DN 90 проводят на отрезке рукава длиной от 3,0 до 5,0 м.

Температуру в камере доводят до значения, указанного в таблице 10, и выдерживают рукав не менее 4 ч. Не позднее 1 мин после изъятия рукава из камеры его раскатывают. На всей длине рукава не должно быть слипания внутреннего гидроизоляционного покрытия (проверяют органолептическим методом).

7.16.3 Проверка сохранения работоспособности рукава при нижней температуре, заданной при транспортировании и хранении

Для испытаний от рукава отрезают три образца длиной от 10 до 15 мм каждый. Испытания рукавов более DN 90 проводят на образцах длиной от 15 до 25 мм каждый.

Образцы в виде колец устанавливают в приспособление (см. рисунок 5). Образцы рукавов более DN 90 складывают по новой складке, перпендикулярно к основной складке рукава, и устанавливают в приспособление одним концом.

Температуру в камере холода устанавливают в соответствии с таблицей 10 в соответствии с климатическим исполнением рукава, после чего образцы в приспособлении помещают в камеру, где выдерживают не менее 1 ч, затем камеру открывают и не позднее чем через время, равное от 2 до 3 с, щеки приспособления с образцами смыкают до упора.

Рисунок 5

После этого образцы извлекают из приспособления и осматривают. При обнаружении трещин в местах перегиба образец считают не выдержавшим испытание.

7.17 Качество каркаса рукава, пожарных соединительных головок, материалов рукава (см. 5.2, 5.3) проверяют при входном контроле по параметрам и методам испытаний, установленным в НД на них.

7.18 Комплектность (см. 5.18), маркировку (см. 5.19) и упаковку (см. 5.20) проверяют внешним осмотром на соответствие НД.

7.19 Соответствие рукавов требованиям по сроку службы (см. 5.17) определяют сопоставлением сданными, установленными в НД и эксплуатационной документации на конкретные изделия.

Приложение А
(обязательное)
Содержание формуляра «Рукав пожарный напорный»

А.1 Общие указания

Перед эксплуатацией необходимо внимательно ознакомиться с формуляром.

Формуляр должен сохраняться на протяжении всего срока службы пожарного рукава.

При записи в формуляр не допускаются записи карандашом, смывающимися чернилами, подчистки и затертости.

Неправильная запись должна быть аккуратно зачеркнута и рядом записана новая, которую заверяет ответственное лицо.

Формуляр считается недействительным, если полностью не заполнен, или информация в нем содержит недостоверные сведения.

А.2 Основные сведения об изделии

Назначение изделия (с указанием климатических условий эксплуатации) __________

Тип (условное обозначение) ________________________________________________

ТУ (нормативный документ) ________________________________________________

Наименование и номер стандарта, которому соответствуют рукава _______________

Изготовитель _____________________________________________________________

Наименование или буквенный код страны изготовления ________________________

Адрес предприятия-изготовителя (контактные телефоны) _______________________

Поставщик (для рукавов иностранного происхождения) ________________________

Адрес поставщика (юридический, фактический, контактные телефоны) (для рукавов иностранного происхождения) ________________________________________________

Сведения о подтверждении обязательным требованиям, установленным к данному виду продукции (номер документа, подтверждающего соответствие обязательным требованиям, срок действия) __________________________________________________

А.3 Основные технические данные

Таблица А.1

Наименование параметра

Значение

Номинальный диаметр DN (внутренний диаметр, мм)

Масса, кг

Длина, м

Рабочее давление, МПа

Испытательное давление, МПа

А.4 Комплектность

А.5 Маркировка

А.6 Упаковка

А.7 Гарантии изготовителя (поставщика), срок службы

А.8 Свидетельство о приемке

Пожарный рукав с номинальным диаметром ________________________________;

ТУ ____________________________________________________________________;

Партия № ______________________________________________________________

Изготовлены и приняты в соответствии с обязательными требованиями НД и признаны годными к эксплуатации.

Начальник ОТК __________________

__________________________________

 

подпись

расшифровка подписи

МП

__________________

 

 

число, месяц, год

 

А.9 Транспортирование и хранение (с указанием климатических условий транспортирования и хранения)

А.10 Указания по эксплуатации и техническому обслуживанию

Указывают конструктивные особенности, определяющие назначение изделия в эксплуатации, рекомендации по эксплуатации.

Указывают технологию и условия технического обслуживания (необходимость и периодичность перекатки рукава, в том числе на новое ребро, характеристики моющих средств, время и температуру сушки и т. п.).

А.11 Особенности ремонта

Указывают технологию ремонта пожарного рукава (рекомендации по выбору режимов вулканизации, клея, способов наложения заплат) и т. д.

А.12 Сведения о рекламациях

А.13 Сведения об утилизации

А.14 Приложение к формуляру

Приложение оформляется в пожарной части, на рукавной базе или объекте, где используются пожарные рукава

Движение изделия в эксплуатации

Пожарная часть, рукавная база, охраняемый объект __________________________

Дополнительная маркировка ______________________________________________

Дата постановки на вооружение ___________________________________________

Дата окончания срока службы _____________________________________________

Таблица А.2 - Постановка изделия на вооружение

Состояние рукава

Должность и Ф. И. О.

Подпись

Таблица А.3 - Испытания

Дата

Причина проведения испытания

Условия проведения испытания (давление, вакуум)

Результат

Ф. И. О., подпись

Таблица А.4 - Ремонт

Дата

Причина ремонта

Характер повреждения

Вид ремонта

Ф. И. О., подпись

 

Ключевые слова: пожарная техника, пожарно-техническое вооружение, пожарное оборудование, пожарный рукав, напорный пожарный рукав