Flat wooden pallets. Quality of fasteners for assembly of new and repair of used, wooden pallets

МЕЖГОСУДАРСТВЕННЫЙ СОВЕТ ПО СТАНДАРТИЗАЦИИ, МЕТРОЛОГИИ И СЕРТИФИКАЦИИ
(МГС)

INTERSTATE COUNCIL FOR STANDARDIZATION, METROLOGY AND CERTIFICATION
(ISC)

МЕЖГОСУДАРСТВЕННЫЙ
СТАНДАРТ

ГОСТ
34576-
2019

ПОДДОНЫ ПЛОСКИЕ ДЕРЕВЯННЫЕ

Качество крепежных деталей
для сбора новых и ремонта
используемых деревянных поддонов

(ISO 15629:2002, NEQ)

Москва
Стандартинформ
2019

Предисловие

Цели, основные принципы и общие правила проведения работ по межгосударственной стандартизации установлены ГОСТ 1.0 «Межгосударственная система стандартизации. Основные положения» и ГОСТ 1.2 «Межгосударственная система стандартизации. Стандарты межгосударственные, правила и рекомендации по межгосударственной стандартизации. Правила разработки, принятия, обновления и отмены»

Сведения о стандарте

1 РАЗРАБОТАН Обществом с ограниченной ответственностью «Компания ЕвроБалт»

2 ВНЕСЕН Межгосударственным техническим комитетом по стандартизации МТК 223 «Упаковка»

3 ПРИНЯТ Межгосударственным советом по стандартизации, метрологии и сертификации (протокол от 30 августа 2019 г. № 121-П)

За принятие проголосовали:

Краткое наименование страны
по МК (ИСО 3166) 004-97

Код страны
по МК (ИСО 3166) 004-97

Сокращенное наименование
национального органа по стандартизации

Беларусь

BY

Госстандарт Республики Беларусь

Киргизия

KG

Кыргызстандарт

Россия

RU

Росстандарт

Таджикистан

TJ

Таджикстандарт

Узбекистан

UZ

Узстандарт

Украина

UA

Минэкономразвития Украины

4 Приказом Федерального агентства по техническому регулированию и метрологии от 9 октября 2019 г. № 898-ст межгосударственный стандарт ГОСТ 34576-2019 введен в действие в качестве национального стандарта Российской Федерации с 1 июля 2020 г.

5 В настоящем стандарте учтены основные нормативные положения международного стандарта ISO 15629:2002 «Поддоны для перевозки и погрузки-разгрузки. Качество крепежных деталей для сборки новых и ремонта используемых плоских деревянных поддонов» («Pallets for materials handling - Quality of fasteners for assembly of new and repair of used, flat, wooden pallets», NEQ)

6 ВВЕДЕН ВПЕРВЫЕ

Информация о введении в действие (прекращении действия) настоящего стандарта и изменений к нему на территории указанных выше государств публикуется в указателях национальных стандартов, издаваемых в этих государствах, а также в сети Интернет на сайтах соответствующих национальных органов по стандартизации.

В случае пересмотра, изменения или отмены настоящего стандарта соответствующая информация будет опубликована на официальном интернет-сайте Межгосударственного совета по стандартизации, метрологии и сертификации в каталоге «Межгосударственные стандарты»

Содержание

1 Область применения. 2

2 Нормативные ссылки. 3

3 Термины и определения. 3

4 Гвозди и скобы.. 3

Приложение А (рекомендуемое) Методы измерения физических характеристик гвоздей и скоб, используемых в поддонах. 5

Приложение Б (рекомендуемое) Крепежные детали и типы острия. 16

ГОСТ 34576-2019

МЕЖГОСУДАРСТВЕННЫЙ СТАНДАРТ

ПОДДОНЫ ПЛОСКИЕ ДЕРЕВЯННЫЕ

Качество крепежных деталей для сбора новых
и ремонта используемых деревянных поддонов

Flat wooden pallets. Quality of fasteners for assembly of new and repair of used, wooden pallets

Дата введения - 2020-07-01

1 Область применения

Настоящий стандарт распространяется на поддоны плоские деревянные (далее - поддоны), и содержит требования к качеству крепежных деталей, используемых в операциях по сборке новых и ремонту используемых плоских деревянных поддонов.

В настоящем стандарте термин крепежные детали применяется только к гвоздям и скобам.

2 Нормативные ссылки

В настоящем стандарте использованы ссылки на следующие межгосударственные стандарты:

ГОСТ 427 Линейки измерительные металлические. Технические условия

ГОСТ ISO 445 Средства пакетирования. Поддоны. Термины и определения

ГОСТ 5378 Угломеры с нониусом. Технические условия

ГОСТ 6507 Микрометры. Технические условия

Примечание - При пользовании настоящим стандартом целесообразно проверить действие ссылочных стандартов и классификаторов на официальном интернет-сайте Межгосударственного совета по стандартизации, метрологии и сертификации (www.easc.by) или по указателям национальных стандартов, издаваемым в государствах, указанных в предисловии, или на официальных сайтах соответствующих национальных органов по стандартизации. Если на документ дана недатированная ссылка, то следует использовать документ, действующий на текущий момент, с учетом всех внесенных в него изменений. Если заменен ссылочный документ, на который дана датированная ссылка, то следует использовать указанную версию этого документа. Если после принятия настоящего стандарта в ссылочный документ, на который дана датированная ссылка, внесено изменение, затрагивающее положение, на которое дана ссылка, то это положение применяется без учета данного изменения. Если ссылочный документ отменен без замены, то положение, в котором дана ссылка на него, применяется в части, не затрагивающей эту ссылку.

3 Термины и определения

В настоящем стандарте применены термины по ГОСТ ISO 445.

4 Гвозди и скобы

4.1 Классификация

Гвозди используемые в поддонах делятся:

- на простые или гладкие;

- выпуклые (винтовые с выпуклой нарезкой);

- кольцевые (имеющие на нарезной части кольцеобразную резьбу);

- крученые или заершенные.

В скобах, используемых в поддонах круглый или квадратный проволочный элемент.

При описании гвоздей и скоб должен быть указан диаметр проволоки гвоздя, его длина, тип резьбы и тип острия. Эти и другие характеристики эксплуатационных качеств гвоздей и скоб приведены в таблице 1.

Таблица 1 - Физические и механические характеристики гвоздей и скоб

Гвозди - профили стержня

Скобы

Простые или гладкие

Выпуклые

Кольцевые

Крученые или заершенные

Проволочный элемент круглый

Проволочный элемент квадратный

Диаметр стержня гвоздя (проволоки)

Диаметр стержня гвоздя (проволоки)

Диаметр стержня гвоздя (проволоки)

Диаметр стержня гвоздя (проволоки)

Диаметр ножки скобы

Ширина и толщина ножки скобы

Диаметр шляпки

Диаметр шляпки

Диаметр шляпки

Диаметр шляпки

Наружный размер между двумя ножками скобы

Наружный размер между двумя ножками скобы

-

Длина резьбы

Длина резьбы

-

-

-

-

Диаметр гребневых выступов резьбы

Диаметр гребневых выступов резьбы

Диаметр гребневых выступов рифлей

-

-

-

Число спиральных витков

Число колец

Число спиральных витков

-

-

-

Число рифлей

-

Число рифлей

-

-

Тип острия

Тип острия

Тип острия

Тип острия

Тип острия

Тип острия

Сопротивление изгибу

Сопротивление изгибу

Сопротивление изгибу

Сопротивление изгибу

Сопротивление изгибу

Сопротивление изгибу

* Диаметр гвоздя (проволоки) является диаметром гребневых выступов резьбы.

4.2 Измерение физических характеристик

Методы измерения физических характеристик гвоздей и скоб приведены в приложении А.

Средства измерений, применяемые при измерениях физических характеристик гвоздей и скоб, должны соответствовать требованиям законодательства об обеспечении единства измерений, включая требования к допустимой погрешности.

4.3 Минимально допустимые уровни качества

Минимально допустимые уровни качества для гвоздей и скоб указаны в таблице 2.

Примечание - На крепежные элементы поддона могут быть нанесены покрытия. Такие покрытия предназначены:

- для повышения сопротивляемости коррозии;

- повышения отрывного сопротивления;

- улучшения забивной способность (заглубляемости).

Таблица 2 - Минимально допустимые уровни качества для гвоздей и скоб*

Предназначение
крепежных деталей

Минимальное отрывное сопротивлениеa)
в расчете на крепежные детали, Н

Минимальное сопротивление изгибу в расчете
на крепежные детали, Н ∙ м

Минимальное отношение диаметра шляпки к диаметру стержня (проволоки) для гвоздя

Минимальный наружный размер
между двумя ножками скобы

при уровне качестваб)

при уровне качестваб)

1

2

3

1

2

3

Для шашек или поперечных досок поддона

2000

1000

600

6,0

5,4

3,5

2,00

9,5 мм + 2×(ширина ножки или диаметр)

Для расстила (проволокоармированного ящика)

1000

500

250

2,5

2,2

1,6

2,00

9,5 мм + 2×(ширина ножки или диаметр)

а) Определяют путем измерения сопротивления выдергиванию неполностью вбитых и полностью вбитых гвоздей или скоб.

б) Уровень качества имеет отношение к относительным уровням долговечности конструкции поддона или сопротивляемости небрежному обращению с поддонами по ходу их эксплуатации. Уровни 1, 2 и 3 относятся к уровням качества крепежных деталей при использовании в поддонах многоразового использования, имеющих высокий, средний и низкий уровни применительно к долговечности конструкции.

4.4 Крепежные детали и типы острия приведены в приложении Б.

__________

* Данные уровни качества характеризуют крепежные детали поддонов, которые успешно использовались. Ответственность за определение подходящего уровня качества крепежной детали лежит на изготовителе.

Приложение А
(рекомендуемое)
Методы измерения физических характеристик гвоздей и скоб,
используемых в поддонах

А.1 Отбор образцов для испытания

Рекомендуется на одну партию крепежных деталей испытывать минимально 12 образов, отобранных случайным способом. Необходимо регистрировать усредненные значения с описанием разброса по полученным данным.

Примечание - Партия включает в себя крепежные детали единовременной поставки, сделанные по одной и той же спецификации и изготовленные в течение одного непрерывного производственного цикла.

А.2 Длина крепежных деталей

А.2.1 Гвозди

Длина гвоздя l - это расстояние, измеряемое параллельно оси стержня гвоздя от верха шляпки до кончика острия, как показано на рисунке А.1. Для этого измерения используют линейку по ГОСТ 427, округляя полученное значение до ближайших 0,5 мм.

Рисунок А.1 - Схематическое представление измерения длины гвоздя

А.2.2 Скобы

Длина скобы L - это расстояние, измеряемое параллельно оси ножки скобы от низа свода скобы до кончика острия, как показано на рисунке А.2. Для этого измерения используют линейку по ГОСТ 427, округляя полученное значение до ближайших 0,5 мм.

Рисунок А.2 - Схематическое представление измерения длины скобы

А.3 Длина резьбы

Длина резьбы LT - это расстояние, измеряемое от верхней точки резьбы до острия или нижней точки резьбы вдоль стержня гвоздя, как показано на рисунке А.3. Если резьба прерывается, тогда длина резьбы - это длина резьбовых участков стержня, вбиваемого в материал на требуемую глубину. Для этого измерения используют линейку по ГОСТ 427, округляя полученное значение до ближайших 0,5 мм.

Рисунок А.3 - Схематическое представление измерения длины резьбы

А.4 Диаметр проволоки гвоздя или скобки

А.4.1 Гладкие, выпуклые ершистые и кольцевые гвозди из проволоки круглого поперечного сечения

Диаметр проволоки d - это поперечное расстояние между обхватываемыми точками на нерезьбовом участке стержня гвоздя, как показано на рисунке А.4. Диаметр проволоки измеряют микрометром по ГОСТ 6507, округляя полученное значение до ближайших 0,025 мм. Если на гвозде имеется покрытие, то его аккуратно удаляют в том месте, где проводят измерение.

а - гладкий стержень; б - спиралеобразная резьба; в - кольцеобразная резьба;
d1 - диаметр проволоки; d2 - диаметр резьбы

Рисунок А.4 - Схематическое представление измерения диаметра проволоки гвоздя (d)

А.4.2 Скобы

Ножки скобы имеют одинаковый диаметр. Для скоб из крутой проволоки, предназначенных для заделки мешков или пакетов, диаметр является размером поперечного сечения ножки скобы. Для скоб из плоской проволоки, которая обычно имеет прямоугольное поперечное сечение, соответствующими измерениями будут толщина Т и ширина W ножки скобы, как показано на рисунке А.5. Толщина - это размер по направлению, которое перпендикулярно своду скобы. Обычно это наибольший из размеров поперечного сечения ножки. Ширина - это размер по направлению, которое параллельно своду скобы. Толщину и ширину измеряют микрометром по ГОСТ 6507 на участке ножки скобы, не имеющем покрытия, округляя полученное значение до ближайших 0,025 мм.

Рисунок А.5 - Схематическое представление измерения ширины и толщины скобы

А.4.3 Рифленые или крученые гвозди со стержнем из квадратной проволоки

Для рифленых или крученых гвоздей со стержнем из квадратной проволоки диаметр проволоки гвоздя d является наибольшим диаметром винтовой спирали резьбы, как показано на рисунке А.6. Профиль рифленых гвоздей формируется протягиванием проволоки через плашку для нарезания резьбы.

а - крученый стержень из квадратной проволоки; б - рифленый стержень из квадратной проволоки; d2 - диаметр

Рисунок А.6 - Схематическое представление измерения диаметра проволоки
для рифленых или крученых гвоздей со стержнем из квадратной проволоки

А.5 Наибольший диаметр винтовой спирали резьбы (диаметр гребневых выступов резьбы)

А.5.1 Рифленые, крученые и винтовые гвозди

Наибольший диаметр винтовой спирали резьбы DT рифленых, крученых и винтовых гвоздей - это размер, измененный от гребня до гребня по деформированному (резьбовому) участку стержня гвоздя, как показано на рисунке А.7. Этот размер измеряют в направлении, которое перпендикулярно к оси гвоздя, используя микрометр по ГОСТ 6507 с плоской измерительной поверхностью, округляя измеренное значение до ближайших 0,025 мм. Для учета любой неравномерности или конусности нарезки эти измерения следует проводить, по меньшей мере, в трех местах, находящихся вблизи двух концов и по центру рифлей или винтовых спиралей резьбы при вращении гвоздя. Гребни резьбы должны быть острыми и нескругленными.

а - стержень со спиралеобразной резьбой; б - стержень с кольцевой резьбой;
DT - наибольший диаметр винтовой спирали резьбы

Рисунок А.7 - Схематическое представление измерения наибольшего диаметра винтовой спирали резьбы

А.5.2 Отдельный гвоздь

Наибольший диаметр винтовой спирали резьбы DT отдельно взятого гвоздя является усредненным значением, как минимум, трех измерений. Этот диаметр может значительно варьироваться для гвоздей, взятых из одной выборки или из одной партии гвоздей, так же, как и для гвоздей, взятых из нескольких партий гвоздей одной и той же поставки.

А.6 Винтовые спирали резьбы

А.6.1 Выпуклые винтовые гвозди из круглой проволоки

Для выпуклых винтовых гвоздей из круглой проволоки количество винтовых спиралей резьбы равно количеству скрещиваний выступающих наружу гребней винтовых спиралей на протяжении всей нарезной части. Винтовые спирали с выступающим гребнем - это те винтовые спирали резьбы в гвоздях с двухступенчатым винтовым гребнем, где выступающие наружу и невыступающие винтовые гребни расположены рядом или параллельны друг другу. Используя гвоздь, диаметр резьбы которого равен усредненному диаметру резьбы в выборке, и располагая рулетку вдоль резьбы, параллельно оси гвоздя, как показано на рисунке А.8, подсчитывают количество винтовых спиралей (или выступающих наружу гребней в случае резьбы с конусностью). Число винтовых спиралей можно получить, разделив количество контактных точек резьбы на точную длину, на которой проводился подсчет, и затем умножив полученное значение на общую длину резьбовой части. Это значение следует рассчитывать с точностью 0,1 винтовой спирали.

А - количество контактных точек

Примечание - Количество винтовых спиралей резьбы = семь контактных точек резьбы/1,9 см (длина резьбы)×3 см.

Рисунок А.8 - Схематическое представление количества винтовых спиралей в винтовом гвозде

А.6.2 Крученые или рифленые гвозди из квадратной проволоки

Для крученых гвоздей из квадратной проволоки рифли крученых гвоздей или рифленых гвоздей простираются по всей длине стержня гвоздя от острия до основания шляпки. Процедура определения количества винтовых спиралей крученых квадратных гвоздей должна быть такой же, что и для круглых выпуклых винтовых гвоздей, как это показано на рисунке А.9.

А - количество контактных точек

Примечание - Количество винтовых спиралей резьбы = четыре контактные точки/2,4 см (длина резьбы)×3 см.

Рисунок А.9 - Схематическое представление количества винтовых спиралей
в крученом гвозде из квадратной проволоки

А.7 Кольцеобразная резьба. Кольцевые гвозди

Для кольцевых гвоздей следует подсчитать и записать количество наружных винтовых колец резьбы. Наружные винтовые кольца резьбы - это те винтовые кольца резьбы в гвоздях с двухступенчатым кольцевым гребнем, где выступающие наружу и невыступающие винтовые кольца расположены рядом или параллельны друг другу, как это показано на рисунке А.10. Чтобы определить количество колец на дюйм по резьбовому участку стержня гвоздя, необходимо посчитать количество наружных винтовых колец и разделить это на длину резьбы. Поскольку в пределах выборки или партии кольцевых гвоздей обычно наблюдается незначительный разброс по количеству наружных колец резьбы, для получения достоверного значения по количеству колец будет достаточно исследовать пять гвоздей.

Примечание - 1 2 3 4 5 ... = выступающие наружу винтовые кольца.

Рисунок А.10 - Схематическое представление выступающих наружу винтовых колец
в гвоздях с кольцеобразной резьбой

А.8 Рифли гвоздя

А.8.1 Выпуклые винтовые и крученые гвозди, сделанные из квадратной проволоки

Для выпуклых винтовых и крученых квадратных проволочных гвоздей количество рифлей по длине стержня определяют визуально, осмотр стержня со стороны острия и подсчет количества основных впадин на поверхности поперечного сечения, проводят как показано на рисунке А.11. Крученый гвоздь из квадратной проволоки имеет четыре рифли. Выпуклый винтовой гвоздь обычно имеет четыре или пять рифлей. Специальные гвозди, обеспечивающие повышенную прочность конструкции, могут иметь еще большее количество рифлей.

а - крученый стержень из квадратной проволоки; б - стержень со спиралеобразной резьбой;
1 - четыре рифли; 2 - пять рифлей

Рисунок А.11 - Схематическое представление рифлей на винтовых гвоздях

А.8.2 Разброс значений по количеству рифлей

Разброс значений по количеству рифлей определяют в пределах выборки образцов из выпуклых винтовых гвоздей. Для подсчета количества рифлей на длине стержня необходимо исследовать все образцы из взятой выборки гвоздей. Угол профиля резьбы следует вычислять для каждого гвоздя с разным количеством рифлей.

А.9 Угол профиля резьбы

Для выпуклых винтовых гвоздей из круглой проволоки и крученых гвоздей из квадратной проволоки угол профиля резьбы αT измеряют относительно плоскости, расположенной перпендикулярно по отношению к оси стержня гвоздя, как показано на рисунке А.12.

Рисунок А.12 - Схематическое представление измерения угла профиля резьбы
выпуклого винтового гвоздя

Данный угол может быть измерен с помощью угломера по ГОСТ 5378 по отпечатку, полученному после обертывания гвоздя листом копировальной бумаги, но более точные значения угла получают, вычислив среднее значения угла профиля резьбы αT, град:

(А.1)

где F - количество рифлей на стержне гвоздя;

DT - среднее значение наибольшего диаметра винтовой спирали резьбы, мм;

N - количество винтовых спиралей резьбы на стержне гвоздя;

LT - длина резьбы, мм.

Значение угла профиля резьбы следует округлять до ближайшего целого градуса.

Если в выборке или партии выявлена любая вариация по количеству рифлей, то рекомендуется рассчитывать угол профиля резьбы для каждого гвоздя, имеющего различное количество рифлей, беря соответствующее количество винтовых спиралей для каждого числа рифлей.

Угол профиля резьбы αT иногда выражают как наклон профиля S. Наклон профиля является наклоном линии, образованной резьбой, относительно оси стержня крепежной детали.

А.10 Длина острия

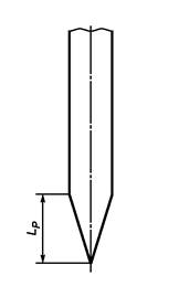
Длину острия LP гвоздя и скобы измеряют вдоль края острия, от его верхней точки до низа или кончика, как это показано на рисунке А.13. Тупое острие имеет скругленный конец в противоположность острому кончику. Крепежная деталь может и не иметь острия вследствие срезания проволоки крепежной детали под прямым углом к оси проволоки в процессе его изготовления. Острие гвоздя и скобы для поддонов не должно быть более 5 мм.

Рисунок А.13 - Схематическое представление измерения длины острия

Примечание - Наиболее распространенным типом острия является пирамидальное острие в форме симметричной четырехугольной пирамиды. Для скрепления поддонов часто используют гвозди и скобы с долотообразным и клиновидным острием. У долотообразного острия две главные плоскости образуют V-образный профиль, а две другие плоскости на каждом стержне формируют шестигранное сечение. У клиновидного острия две сходящиеся образуют V-образный профиль, у уплощенного клиновидного острия две главные плоскости образуют V-образный профиль, а с каждой боковой стороны одна плоскость формирует прямоугольное сечение. Острия гвоздей, предназначенные для самостоятельного загибания, имеют ассиметричное острие со скосом в одну из сторон. Иногда такие гвозди называют гвоздями со скошенным острием. Для обеспечения загибания также используют гвозди с окружным острием, образуемым посредством косого среза проволоки гвоздя. Гвозди без острия имеют срез, перпендикулярный к оси стержня. Часто у ножки скобы острие бывает выполнено путем наклонного среза проволоки. Этим обеспечивается загибание на наружной поверхности или/и дополнительная глубина вхождения в тонкий скрепляемый материал. Наиболее распространенные типы острия у крепежных деталей показаны на рисунке Б.2.

А.11 Диаметр шляпки DH и высота головки гвоздя TH

А.11.1 Шляпка гвоздя для поддонов должна быть ровной или иметь рельефный клетчатый узор на поверхности и должна быть немного утопленной и концентрической или почти концентрической. Диаметр шляпки DH является максимальным расстоянием, измеренным поперек шляпки перпендикулярно коси гвоздя. Если шляпки квадратной или овальной формы, диаметр шляпки является максимальным размером, как показано на рисунке А.14. Его можно измерить с помощью микрометра по ГОСТ 6507, округлив полученное значение до ближайших 0,025 мм. Можно определить размер шляпки гвоздя, используя металлический шаблон, имеющий отверстия под наиболее распространенные размеры шляпок. Если шляпка гвоздя проходит сквозь отверстие определенного размера, ее размер будет менее, чем размер данного отверстия. Другие шаблоны имеют градуированный паз переменного сечения, что позволяет измерять размер шляпки гвоздя, двигая шляпку вдоль паза до упора. Когда это произойдет, по отметке на шаблоне можно определить размер шляпки гвоздя.

Рисунок А.14 - Схематическое изображение измерения диаметра шляпки гвоздя

А.11.2 Подгоняемые друг к другу гвозди часто имеют шляпки неполной формы в виде половинок и т.д., для возможности подогнать их вплотную на узких участках, как показано на рисунке А.15, несущая площадь таких гвоздей не должна быть менее, чем для гвоздей такого же размера с полными шляпками.

DH - максимальный размер

Рисунок А.15 - Схематическое изображение измерения диаметра
шляпки гвоздя неполной формы

А.11.3 Толщина шляпки гвоздя является толщиной окружной части шляпки, измеренной параллельно оси гвоздя, как показано на рисунке А.16, и измеряется с помощью микрометра по ГОСТ 6507, при этом полученное значение округляют до ближайших 0,025 мм. На шляпке не должно быть трещин, которые могут возникать при неправильной отливке шляпки. Толщина шляпки должна быть такой, чтобы при вбивании гвоздя не происходило ее разрушения.

HT - толщина шляпки

Рисунок А.16 - Схематическое изображение измерения толщины шляпки гвоздя

А.11.4 У каждого гвоздя в месте соединения шляпки и стержня должно быть скругление, как показано на рисунке А.17, и должен быть указан радиус такого скругления. Для толстых, а также для длинных гвоздей, вбиваемых в твердые материалы, это скругление должно быть более, чем у легких гвоздей, чтобы избежать отделения шляпки от стержня как при забивке гвоздя, так и при передаче нагрузки от шляпки к стержню.

F - скругление

Рисунок А.17 - Схематическое изображение скругления между шляпкой и стержнем гвоздя

А.12 Ширина и толщина свода скобы

А.12.1 Толщина свода скобы WC является расстоянием, измеренным вдоль поверхности свода, охватывающим ножки скобы, как это показано на рисунке А.18. Ее измеряют, округляя измеренное значение до ближайших 0,5 мм.

Рисунок А.18 - Схематическое изображение измерения размера свода скобы

Толщина свода скобы является размером, измеряемым микрометром по ГОСТ 6507 по перпендикуляру к ширине свода скобы. Измеренное значение следует округлить до ближайших 0,025 мм.

А.13 Стержни

А.13.1 Стержень гвоздя

Стержень гвоздя располагается под шляпкой гвоздя, и простирается до кончика острия, как показано на рисунке А.19.

l3 - стержень гвоздя

Рисунок А.19 - Схематическое изображение стержня гвоздя

А.13.2 Простой стержень

Простой стержень является гладким участком стержня гвоздя, расположенным под шляпкой, как это показано на рисунке А.20.

l2 - простой стержень

Рисунок А.20 - Схематическое изображение простого стержня гвоздя с резьбой

А.13.3 Винтовой гвоздь

Резьбовой стержень является тем участком стержня крепежной детали, на котором имеется резьба, как это показано на рисунке А.21.

l1 - резьбовой стержень

Рисунок А.21 - Схематическое изображение резьбового стержня
выпуклого винтового гвоздя

Приложение Б
(рекомендуемое)
Крепежные детали и типы острия

Б.1 Типы крепежных деталей

Типы крепежных деталей, используемых в конструкциях поддонов, указаны на рисунке Б.1, и описаны в ГОСТ ISO 445.

A - заершенный гвоздь; B - простой гвоздь; C - выпуклый винтовой гвоздь; D - кольцевой гвоздь; E - кольцевой гвоздь с
прерывной резьбой; F - скоба;
G - крученый гвоздь из квадратной проволоки; H - рифленый гвоздь; 1 - насечки для захвата

Рисунок Б.1 - Схематическое представление разных типов крепежных деталей,
используемых при сборке поддонов

Б.2 Типы острия

Наиболее распространенные типы острия крепежных деталей показаны на рисунке Б.2.

D - симметричное пирамидальное острие; О - скошенное пирамидальное острие;
C - долотообразное острие; W- клиновидное острие; OR- круглое острие со скосом;
T - уплощенное клиновидное острие; N - острие отсутствует

Рисунок Б.2 - Схематическое изображение различных типов острия крепежных деталей

 

Ключевые слова: поддоны плоские деревянные, качество крепежных деталей, скобы, гвозди