Traps for sewer systems in buildings. Specifications

МЕЖГОСУДАРСТВЕННЫЙ СОВЕТ ПО СТАНДАРТИЗАЦИИ, МЕТРОЛОГИИ И СЕРТИФИКАЦИИ
(МГС)

INTERSTATE COUNCIL FOR STANDARDIZATION, METROLOGY AND CERTIFICATION
(ISC)

МЕЖГОСУДАРСТВЕННЫЙ
СТАНДАРТ

ГОСТ
1811
-
2019

ТРАПЫ ДЛЯ СИСТЕМ КАНАЛИЗАЦИИ
ЗДАНИЙ

Технические условия

Москва

Стандартинформ

2020

Предисловие

Цели, основные принципы и общие правила проведения работ по межгосударственной стандартизации установлены ГОСТ 1.0 «Межгосударственная система стандартизации. Основные положения» и ГОСТ 1.2 «Межгосударственная система стандартизации. Стандарты межгосударственные, правила и рекомендации по межгосударственной стандартизации. Правила разработки, принятия, обновления и отмены»

Сведения о стандарте

1 РАЗРАБОТАН Акционерным обществом «Центр методологии нормирования и стандартизации в строительстве» (АО «ЦНС»)

2 ВНЕСЕН Федеральным агентством по техническому регулированию и метрологии

3 ПРИНЯТ Межгосударственным советом по стандартизации, метрологии и сертификации (протокол от 30 сентября 2019 г. № 122-П)

За принятие проголосовали:

Краткое наименование страны
по МК (ИСО 3166) 004-97

Код страны
по МК (ИСО 3166) 004-97

Сокращенное наименование
национального органа по стандартизации

Армения

AM

Минэкономики Республики Армения

Беларусь

BY

Госстандарт Республики Беларусь

Киргизия

KG

Кыргызстандарт

Россия

RU

Росстандарт

Узбекистан

UZ

Узстандарт

4 Приказом Федерального агентства по техническому регулированию и метрологии от 24 декабря 2019 г. № 1442-ст межгосударственный стандарт ГОСТ 1811-2019 введен в действие в качестве национального стандарта Российской Федерации с 1 июня 2020 г.

5 ВЗАМЕН ГОСТ 1811-97

Информация о введении в действие (прекращении действия) настоящего стандарта и изменений к нему на территории указанных выше государств публикуется в указателях национальных стандартов, издаваемых в этих государствах, а также в сети Интернет на сайтах соответствующих национальных органов по стандартизации.

В случае пересмотра, изменения или отмены настоящего стандарта соответствующая информация будет опубликована на официальном интернет-сайте Межгосударственного совета по стандартизации, метрологии и сертификации в каталоге «Межгосударственные стандарты»

ГОСТ 1811-2019

МЕЖГОСУДАРСТВЕННЫЙ СТАНДАРТ

ТРАПЫ ДЛЯ СИСТЕМ КАНАЛИЗАЦИИ ЗДАНИИ

Технические условия

Traps for sewer systems in buildings. Specifications

Дата введения - 2020-06-01

1 Область применения

Настоящий стандарт распространяется на чугунные и пластмассовые трапы, устанавливаемые в помещениях жилых, общественных и производственных зданий.

2 Нормативные ссылки

В настоящем стандарте использованы нормативные ссылки на следующие межгосударственные стандарты:

ГОСТ 9.104 Единая система защиты от коррозии и старения. Покрытия лакокрасочные. Группы условий эксплуатации

ГОСТ 17.1.1.01 Охрана природы. Гидросфера. Использование и охрана вод. Основные термины и определения

ГОСТ 17.2.3.02 Правила установления допустимых выбросов загрязняющих веществ промышленными предприятиями

ГОСТ 166 (ИСО 3599-76) Штангенциркули. Технические условия

ГОСТ 427 Линейки измерительные металлические. Технические условия

ГОСТ 1412 Чугун с пластинчатым графитом для отливок. Марки

ГОСТ 8433 Вещества вспомогательные ОП-7 и ОП-10. Технические условия

ГОСТ 14192 Маркировка грузов

ГОСТ 15150 Машины, приборы и другие технические изделия. Исполнения для различных климатических районов. Категории, условия эксплуатации, хранения и транспортирования в части воздействия климатических факторов внешней среды

ГОСТ 15846 Продукция, отправляемая в районы Крайнего Севера и приравненные к ним местности. Упаковка, маркировка, транспортирование и хранение

ГОСТ 16338 Полиэтилен низкого давления. Технические условия

ГОСТ 21650 Средства скрепления тарно-штучных грузов в транспортных пакетах. Общие требования

ГОСТ 24105 Изделия из пластмасс. Термины и определения дефектов

ГОСТ 24297 Верификация закупленной продукции. Организация проведения и методы контроля

ГОСТ 24405 Эмали силикатные (фритты). Технические условия

ГОСТ 24888 Пластмассы, полимеры и синтетические смолы. Химические наименования, термины и определения

ГОСТ 25150 Канализация. Термины и определения

ГОСТ 26645 Отливки из металлов и сплавов. Допуски размеров, массы и припуски на механическую обработку1)

1) В Российской Федерации действует ГОСТ Р 53464-2009 «Отливки из металлов и сплавов. Допуски размеров, массы и припуски на механическую обработку».

ГОСТ 26996 Полипропилен и сополимеры полипропилена. Технические условия

ГОСТ 28246 Материалы лакокрасочные. Термины и определения

Примечание - При пользовании настоящим стандартом целесообразно проверить действие ссылочных стандартов и классификаторов на официальном интернет-сайте Межгосударственного совета по стандартизации, метрологии и сертификации (www.easc.by) или по указателям национальных стандартов, издаваемым в государствах, указанных в предисловии, или на официальных сайтах соответствующих национальных органов по стандартизации. Если на документ дана недатированная ссылка, то следует использовать документ, действующий на текущий момент, с учетом всех внесенных в него изменений. Если заменен ссылочный документ, на который дана датированная ссылка, то следует использовать указанную версию этого документа. Если после принятия настоящего стандарта в ссылочный документ, на который дана датированная ссылка, внесено изменение, затрагивающее положение, на которое дана ссылка, то это положение применяется без учета данного изменения. Если ссылочный документ отменен без замены, то положение, в котором дана ссылка на него, применяется в части, не затрагивающей эту ссылку.

3 Термины и определения

В настоящем стандарте применены термины по ГОСТ 25150, ГОСТ 17.1.1.01, ГОСТ 24888, ГОСТ 28246, ГОСТ 24105, а также следующие термины с соответствующими определениями:

3.1 трап: Устройство для приема и отвода в канализационную сеть сточных вод с полов помещений.

3.2 пластмассовый трап: Трап, корпус которого изготовлен из пластической массы.

3.3 чугунный трап: Трап, корпус которого изготовлен из чугуна по ГОСТ 1412.

3.4 корпус трапа: Неподвижная составная часть конструкции трапа, которая является основным контуром конструкции, присоединяется к канализационной сети и обеспечивает пути прохождения сточных вод.

3.5 условный диаметр Dy, мм: Условный размер, выраженный округленным числом, которое приблизительно соответствует внутреннему диаметру отвода трапа.

3.6 отвод трапа: Составная часть конструкции трапа, обеспечивающая изменение направления потока сточных вод и соединения с канализацией.

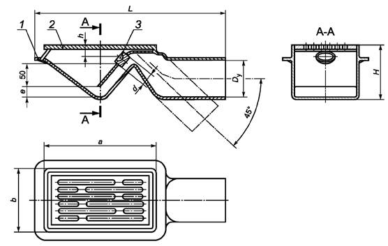
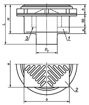
Примечание - Отводы трапа, приведенные на рисунках 1 и 2, могут быть прямыми, вертикальными или косыми.

1 - корпус; 2 - решетка; 3 - пробка

Н - высота трапа; h - высота от пола до оси отводящего трубопровода; е - высота прохода сточной воды через гидрозатвор трапа; а - длина решетки; b - ширина решетки; d - диаметр пробки; L - длина трапа

Рисунок 1 - Трап с прямым (косым) отводом

1 - корпус трапа; 2 - решетка; 3 - стакан

Рисунок 2 - Трап с вертикальным отводом

3.7 литник: Канал для заполнения литейной формы расплавленной массой.

3.8 партия: Количество изделий одного типа, изготовленных из одной марки сырья, по одной и той же технологической документации, одновременно предъявляемых на приемку, но не более сменной выработки.

4 Классификация и основные размеры

4.1 Трапы следует изготовлять следующих типов:

Т50 - трап с прямым отводом условным проходом 50 мм;

ТК50 - трап с косым отводом условным проходом 50 мм;

Т100м - трап с прямым отводом условным проходом 100 мм, малый;

ТК100м - трап с косым отводом условным проходом 100 мм, малый;

Т100б - трап с прямым отводом условным проходом 100 мм, большой;

ТК100б - трап с косым отводом условным проходом 100 мм, большой;

ТВ50 - трап с вертикальным отводом условным проходом 50 мм;

ТВ100 - трап с вертикальным отводом условным проходом 100 мм.

4.2 Основные размеры трапов должны соответствовать указанным на рисунках 1, 2 и в таблице 1.

Таблица1

В миллиметрах

Тип трапа

Dy

Н

h

е

а

b

d

L

Т50

50

110

38

15

100-150

100-150

32

260

ТК50

-

Т100м

100

140

42

32

200

150

355

ТК100м

-

Т100б

180

55

50

250

200

 

415

ТК100б

-

ТВ50

50

108

43

15

100-150

100-150

-

335

ТВ100

100

117

47

20

200

200

201

4.3 Условное обозначение трапа при заказе и в технической документации должно состоять из слова «Трап», обозначения типа трапа и обозначения настоящего стандарта. В обозначение пластмассового трапа должна быть добавлена буква «П».

Примеры условных обозначений трапов:

- чугунного трапа с прямым отводом условным проходом 50 мм:

Трап Т50 ГОСТ 1811-2019

- трапа с косым отводом условным проходом 100 мм, большого:

Трап ТК100б ГОСТ 1811-2019

- пластмассового трапа с вертикальным отводом условным проходом 100 мм:

Трап ТВ100 П ГОСТ 1811-2019

5 Технические требования

5.1 Основные характеристики

5.1.1 Трапы типов Т50, ТК50, ТВ50 должны обеспечивать отведение сточных вод в количестве не менее 0,7 дм3/с, трапы типов Т100м, ТК100м, ТВ100 - не менее 2,1 дм3/с, трапы типов Т100б и ТК100б - не менее 3,7 дм3/с при средней высоте слоя воды перед внешней кромкой решетки не более (20 ± 3) мм.

5.1.2 Форму корпуса трапа, а также форму и расположение отверстий решетки, устанавливают в технической документации изготовителя.

5.1.3 Решетка, установленная на корпусе трапа, должна устойчиво опираться на его опорную поверхность.

5.1.4 Наружная поверхность решетки, установленной на корпусе трапа, должна быть на одном уровне с поверхностью его бортов или находиться ниже их, но не более чем на 1 мм.

5.1.5 Края отверстия для пробки не должны иметь острых кромок, а, в случае их механической обработки, также и заусенцев.

5.1.6 Трапы могут иметь запахозапирающие устройства. Пробки следует изготавливать как формовые изделия из водостойких резин.

5.1.7 Трап в собранном виде должен быть герметичен при испытании его гидростатическим давлением 0,01 МПа (0,1 кгс/см2).

5.1.8 Решетки трапов должны выдерживать сосредоточенную нагрузку, приложенную в центре решетки на площадь 15 см2, не менее 60 кг - для трапов с условным проходом Dy 50 мм и на площадь 30 см2 - не менее 90 кг - для трапов с условным проходом Dy 100 мм.

5.1.9 Внутреннюю поверхность чугунных трапов следует покрывать стекловидными (силикатными) эмалями по ГОСТ 24405 светлых тонов; решетки трапов - стекловидной (силикатной) грунт-эмалью.

5.1.10 Наружные поверхности чугунных трапов должны иметь лакокрасочное покрытие, соответствующее условиям эксплуатации не ниже У2 по ГОСТ 9.104.

5.1.11 Лакокрасочное покрытие чугунных трапов должно быть сплошным, прочно сцепленным с поверхностью металла трапа.

5.1.12 Предельные отклонения основных размеров чугунных трапов должны соответствовать указанным в ГОСТ 26645 для отливок 9-го класса точности.

5.1.13 Поверхность пластмассовых деталей трапа должна быть гладкой, без трещин, сколов, вздутий, посторонних включений, следов холодного стыка. Не допускается коробление деталей, влияющее на качество их сопряжений.

В местах удаления литника допускаются выступы не более 1 мм.

5.1.14 Пластмассовые детали трапа должны быть стойкими к воздействию внутренних напряжений.

5.1.15 Трапы следует изготавливать в климатическом исполнении УХЛ, категории размещения 4.2 по ГОСТ 15150.

5.2 Требования к материалам

5.2.1 Чугунные трапы следует отливать из серого чугуна марок СЧ10 и СЧ15 по ГОСТ 1412.

5.2.2 Для изготовления пластмассовых трапов необходимо применять коррозионно-стойкие материалы, обеспечивающие выполнение требований настоящего стандарта.

Примечание - Изготовление пластмассовых трапов рекомендуется выполнять с применением композиции полиэтилена низкого давления по ГОСТ 16338 марок 203, 206-209 (суспензионный) с добавками по рецептурам 03, 11, 12, 20, 23 и марок 273, 276, 277 (газофазный) с добавками по рецептурам 71, 75, 79, 80, 81, окрашенного в черный цвет по рецептуре 901; а также полипропилен по ГОСТ 26996 литьевых марок, окрашенный в белый цвет или другие цвета светлых тонов, или в черный цвет.

5.3 Комплектность

5.3.1 В состав комплекта поставки трапа должны входить корпус, решетка, стакан (для вертикальных трапов), пробка (для трапов с прямым и косым отводами).

5.3.2 Трапы, отгружаемые потребителю в одной транспортной единице по одному сопроводительному документу, должны сопровождаться паспортом и инструкцией по эксплуатации.

5.3.2.1 В паспорте должно быть указано следующее:

- наименование трапа;

- наименование предприятия-изготовителя, его товарный знак и адрес;

- наименование страны-изготовителя;

- условное обозначение трапа;

- комплектность;

- срок службы и гарантия предприятия-изготовителя;

- дата выпуска или отгрузки;

- обозначение настоящего стандарта, по которому изготовлен трап;

- штриховой код изготовленного трапа.

5.3.2.2 Допускается совмещать паспорт с инструкцией по монтажу и эксплуатации.

5.4 Маркировка

5.4.1 На наружной поверхности трапа должны быть указаны:

- наименование предприятия-изготовителя или его товарный знак;

- наименование страны-изготовителя;

- дата изготовления трапа.

5.4.2 Маркировка должна быть прочной, сохраняться в течение всего срока службы трапа.

5.4.3 Место и способ нанесения маркировки определяет предприятие-изготовитель.

5.4.4 Упакованные изделия должны иметь транспортную маркировку в соответствии с ГОСТ 14192 и содержать манипуляционный знак: «Хрупкое. Осторожно».

5.4.5 При маркировке трапа должны быть соблюдены нормы законодательства, действующего в каждом из государств, проголосовавших за принятие настоящего стандарта, и устанавливающего порядок маркирования продукции информацией на государственном языке.

5.5 Упаковка

5.5.1 При упаковке решетку вставляют в корпус трапа с прокладыванием между ними бумаги до достижения плотности посадки, а резиновую пробку плотно вставляют в отверстие, предназначенное для нее.

5.5.2 При поставке потребителю трапы должны быть упакованы в коробки, деревянные ящики, мешки из полиэтиленовой пленки толщиной не менее 0,1 мм, бумажные мешки или уложены в контейнеры. Допускается упаковка иного вида, которая должна обеспечивать сохранность изделий при транспортировании и хранении.

5.5.3 При транспортировании, погрузочно-разгрузочных работах должна быть предусмотрена возможность пакетирования, исключающая механическое повреждение трапов.

5.5.4 При поставке трапов в торговую сеть их поштучно укладывают в упаковку, которая должна обеспечивать сохранность изделий при транспортировании и хранении.

5.5.5 Трапы должны быть сформированы в пакеты или блок-пакеты массой до 5 т. Средства пакетирования грузов - по ГОСТ 21650.

5.6 Требования безопасности и охрана окружающей среды

5.6.1 Трапы не являются токсичным материалом и невзрывоопасны при производстве.

5.6.2 Использование трапов не требует специальных мер предосторожности.

5.6.3 С целью охраны атмосферного воздуха от загрязнений выбросами паров, входящих в состав трапов, должен быть организован контроль процесса производства в соответствии с ГОСТ 17.2.3.02.

6 Правила приемки

6.1 При изготовлении трапов следует проводить верификацию каждой поступающей для их изготовления партии материала (сырья) на соответствие требованиям 5.2.

6.2 Отгрузку изготовленных трапов допускается осуществлять только после подтверждения при приемо-сдаточных испытаниях по 6.2.1 - 6.2.3 соответствия партии трапов требованиям настоящего стандарта.

6.2.1 Трапы на приемо-сдаточные испытания следует предъявлять партиями. Допускается поштучная приемка трапов.

6.2.2 При приемо-сдаточных испытаниях следует проверять:

- на соответствие требованиям 5.1.9, 5.1.10, 5.1.13, 5.4, 5.5 - каждый трап в партии;

- на соответствие требованиям 5.1.3, 5.1.4, 5.1.7 - 5 % трапов, но не менее пяти, которые отбирают из партии трапов методом случайного отбора.

6.2.3 Если при приемо-сдаточных испытаниях хотя бы один трап не будет соответствовать требованиям настоящего стандарта, то необходимо провести повторную проверку по этому показателю удвоенного количества трапов, взятых из той же партии. В случае неудовлетворительных результатов повторной проверки партия трапов приемке не подлежит.

6.2.4 Оформление результатов приемо-сдаточных испытаний и порядок допуска трапов к отгрузке устанавливаются внутренними документами предприятия-изготовителя.

6.3 Не реже одного раза в год следует проводить периодические испытания трапов на соответствие всем требованиям раздела 5. Проверке подвергают не менее трех трапов, прошедших приемосдаточные испытания.

6.4 При постановке продукции на производство, внесении изменений в конструкцию трапов, технологию их изготовления или при изменении сырья, которые могут повлиять на технические и эксплуатационные характеристики трапов следует провести типовые испытания не менее пяти трапов на соответствие всем требованиям раздела 5.

6.5 Критерии оценки и оформления результатов периодических и типовых испытаний устанавливают по 6.2.3 и 6.2.4.

7 Методы испытаний

7.1 Проверку размеров трапов и их деталей на соответствие требованиям 4.2 и 5.1.12 следует выполнять прямыми измерениями измерительной металлической линейкой по ГОСТ 427 или штангенциркулем по ГОСТ 166. Допускается применение специальных шаблонов, обеспечивающих оперативное выполнение проверок с необходимой достоверностью.

7.2 При проверке трапов на соответствие требованиям 5.1.1 допускается использовать специально изготовленные стенды, обеспечивающие указанные условия проведения испытаний.

7.3 Устойчивость опирания решетки на опорную поверхность корпуса трапа (см. 5.1.3) проверяют поочередным нажатием рукой сверху на углы решетки, установленной в его корпусе. Если от нажатий амплитуда качания решетки не превышает 2 мм, то трап соответствует требованиям 5.1.3.

7.4 Для проверки трапа на соответствие требованиям 5.1.4 на трап с установленной в его корпусе решеткой попеременно поперек бортов, а также по их диагоналям, накладывают ребром металлическую линейку и при помощи щупа определяют наличие и размер зазора между линейкой и решеткой. Если линейка опирается на борт корпуса трапа и одновременно на решетку или, если максимальный зазор, измеренный между линейкой и решеткой, не превышает 1 мм, то трап соответствует требованиям 5.1.4.

7.5 Отсутствие острых кромок и заусенцев (см. 5.1.5) определяют визуально1) и прощупыванием краев отверстия ребром пластмассовой пластинки.

1) В Российской Федерации визуальный контроль выполняют по ГОСТ Р ЕН 13018-2014 «Контроль визуальный. Общие положения».

7.6 Проверку трапов на соответствие требованиям 5.1.7 следует проводить путем испытания их в собранном виде водопроводной водой температурой (20 ± 15) °С и давлением 0,01 МПа (0,1 кгс/см2) в течение 30 с.

Трап считают выдержавшим испытание, если при осмотре мест соединения не будут обнаружены течь воды или запотевание.

Примечание - Рекомендуется для проведения испытаний изготовлять специальный стенд, обеспечивающий соблюдение установленных условий испытаний.

7.7 При проверке трапов на соответствие требованиям 5.1.8 целесообразно использовать специально изготовленные стенды, обеспечивающие создание указанной в 5.1.8 нагрузки и условий проведения испытаний. Изделие считают выдержавшим испытание, если после испытания не произошло растрескивания решетки, а вмятина (или прогиб), образовавшаяся после приложенной нагрузки, исчезнет по истечении 24 ч.

7.8 Проверку трапов на соответствие требованиям 5.1.9 - 5.1.11 (в части сплошности лакокрасочного покрытия) и 5.1.13 проводят визуально с расстояния 0,7 м, без применения увеличительных приборов, при естественном или искусственном освещении освещенностью не менее 200 лк сравнением внешнего вида и качества поверхностей проверяемых трапов с образцами-эталонами.

7.9 Проверку прочности сцепления лакокрасочного покрытия с поверхностью металла трапа (см. 5.1.11) проверяют простукиванием трапа деревянным молотком массой 300 г. Если при простукивании не слышно дребезжащего звука, а эмаль не откалывается, то эмалевое покрытие имеет прочное сцепление с поверхностью металла трапа.

7.10 Для проверки трапов на соответствие требованиям 5.1.14 детали трапа помещают в емкость с кипящим 20 %-ным раствором ОП-10 по ГОСТ 8433 и выдерживают в нем в течение 30 мин. Во избежание всплывания деталей к ним прикрепляют груз (инертный материал). По окончании испытания детали охлаждают и подвергают визуальному осмотру. Деталь считают выдержавшей испытания, если при осмотре не обнаружены расслоение, пузыри, трещины.

7.11 Верификацию применяемого для изготовления трапов материала (сырья) следует проводить по ГОСТ 24297.

8 Транспортирование и хранение

8.1 Трапы следует перевозить крытыми транспортными средствами любого вида согласно правилам перевозки грузов, действующих на каждом виде транспорта.

8.2 Условия транспортирования и хранения трапов в части воздействия климатических факторов должны соответствовать условиям хранения 2 (С) по ГОСТ 15150.

8.3 В районы Крайнего Севера и приравненные к ним местности трапы следует поставлять в соответствии с требованиями ГОСТ 15846.

8.4 Трапы необходимо хранить в неотапливаемых складских помещениях в условиях, исключающих вероятность механических повреждений, или в отапливаемых складах не ближе 1 м от отопительных приборов с соблюдением мер защиты от воздействия прямых солнечных лучей.

9 Указания по монтажу и эксплуатации

9.1 Монтаж трапов следует осуществлять в соответствии с инструкцией по монтажу и эксплуатации.

9.2 При эксплуатации трапов рекомендуются периодическая очистка и промывка гидрозатвора водопроводной водой из шланга.

10 Гарантии изготовителя

10.1 Предприятия-изготовители в соответствии с законодательством, действующем в каждом из государств, проголосовавших за принятие настоящего стандарта, устанавливают гарантийные обязательства (в том числе конкретную продолжительность и порядок исчисления гарантийного срока) о соответствии выпускаемых ими трапов требованиям данного стандарта в технических условиях на трапы, эксплуатационных документах к ним или специально оговаривают в договорах (контрактах) на их поставку.

10.2 Установление гарантийного срока эксплуатации комплектующих изделий трапа (см. 5.3.1) целесообразно устанавливать равным гарантийному сроку на трап.

Ключевые слова: трапы, системы канализации зданий, технические условия