МИНИСТЕРСТВО
СТРОИТЕЛЬСТВА
И ЖИЛИЩНО-КОММУНАЛЬНОГО ХОЗЯЙСТВА
РОССИЙСКОЙ ФЕДЕРАЦИИ
ФЕДЕРАЛЬНОЕ
АВТОНОМНОЕ УЧРЕЖДЕНИЕ
«ФЕДЕРАЛЬНЫЙ ЦЕНТР НОРМИРОВАНИЯ,
СТАНДАРТИЗАЦИИ И ТЕХНИЧЕСКОЙ ОЦЕНКИ
СООТВЕТСТВИЯ В СТРОИТЕЛЬСТВЕ»
МЕТОДИЧЕСКОЕ ПОСОБИЕ
ПРОЕКТИРОВАНИЕ ОСНОВАНИЙ ФУНДАМЕНТОВ
НА ПУЧИНИСТЫХ ГРУНТАХ
Москва 2019
Содержание
Введение
Методическое пособие (далее - пособие) разработано в развитие положений СП 22.13330.2016 «СНиП 2.02.01-83* Основания зданий и сооружений», СП 24.13330.2011 «СНиП 2.02.03-85 Свайные фундаменты» и СП 25.13330.2012 «СНиП 2.02.04-88 Основания и фундаменты на вечномерзлых грунтах». В пособии разъяснены методики определения степени пучинистости грунта и глубины сезонного промерзания-оттаивания грунтов. Отражены и дополнены основные принципы проектирования и расчета различных типов фундаментов на пучинистых грунтах по предельным состояниям, разработанные в развитие подраздела 6.8 СП 22.13330 и приложения Ж СП 24.13330, а также даны рекомендации по применению противопучинистых мероприятий в период строительства и эксплуатации сооружений на основе раздела 12 СП 116.13330.
Пособие предназначено для широкого круга специалистов, чья деятельность связана с проектированием и исследованиями в области оснований и фундаментов (специалисты проектных организаций, государственных и иных органов экспертизы и согласования), с целью разъяснения особенностей проектирования оснований фундаментов на пучинистых грунтах для грамотного и рационального их проектирования.
Работа выполнена авторским коллективом АО «КТБ ЖБ», АО «НИЦ «Строительство» НИИОСП им. Н.М. Герсеванова (руководитель работы - канд. техн. наук А.А. Алексеев, инженер С.А. Виноградова).
Рекомендации настоящего пособия распространяются на проектирование различных типов фундаментов зданий и сооружений на пучинистых грунтах, в том числе возводимых на территории распространения многолетнемерзлых грунтов.
Рекомендации пособия не распространяются на проектирование оснований земляного полотна автомобильных и железных дорог, аэродромных покрытий, оснований глубоких опор и фундаментов машин с динамическими нагрузками.
В настоящем пособии использованы ссылки на следующие нормативные документы.
ГОСТ 5180-2015 Грунты. Методы лабораторного определения физических характеристик
ГОСТ 12248-2010 Методы лабораторного определения характеристик прочности и деформируемости
ГОСТ 20276-2012 Грунты. Методы полевого определения характеристик прочности и деформируемости
ГОСТ 25100-2011 Грунты. Классификация
ГОСТ 24846-2012 Грунты. Методы измерения деформаций оснований зданий и сооружений
ГОСТ 24847-2017 Грунты. Методы определения глубины сезонного промерзания
ГОСТ 25358-2012. Грунты. Метод полевого определения температуры
ГОСТ 26262-2014 Грунты. Методы полевого определения глубины сезонного оттаивания
ГОСТ 27217-2012 Грунты. Метод полевого определения удельных касательных сил морозного пучения
ГОСТ 27751-2014 Надежность строительных конструкций и оснований. Основные положения
ГОСТ 28622-2012 Грунты. Методы лабораторного определения степени пучинистости
ГОСТ Р 56726-2015 Грунты. Метод лабораторного определения удельной касательной силы морозного пучения
СП 22.13330.2016 «СНиП 2.02.01-83* Основания зданий и сооружений» (с изменениями № 1, № 2, № 3)
СП 24.13330.2011 «СНиП 2.02.03-85 Свайные фундаменты» (с изменениями № 1, № 2, № 3)
СП 25.13330.2012 «СНиП 2.02.04-88 Основания и фундаменты на вечномерзлых грунтах» (с изменениями № 1, № 2, № 3, № 4)
СП 45.13330.2017 «СНиП 3.02.01-87 Земляные сооружения, основания и фундаменты» (с изменениями № 1, № 2)
СП 104.13330.2016 «СНиП 2.06.15-85 Инженерная защита территории от затопления и подтопления»
СП 116.13330.2012 «СНиП 22-02-2003 Инженерная защита территорий, зданий и сооружений от опасных геологических процессов. Основные положения»
СП 131.13330.2018 «СНиП 23-01-99* Строительная климатология»
Примечание - При пользовании настоящим стандартом целесообразно проверить действие ссылочных стандартов в информационной системе общего пользования - на официальном сайте Федерального агентства по техническому регулированию и метрологии в сети Интернет или по ежегодно издаваемому информационному указателю «Национальные стандарты», который опубликован по состоянию на 1 января текущего года, и по выпускам ежемесячно издаваемого информационного указателя «Национальные стандарты» за текущий год. Если заменен ссылочный стандарт, на который дана недатированная ссылка, то рекомендуется использовать действующую версию этого стандарта с учетом всех внесенных в данную версию изменений. Если заменен ссылочный стандарт, на который дана датированная ссылка, то рекомендуется использовать версию этого стандарта с указанным выше годом утверждения (принятия). Если после утверждения настоящего стандарта в ссылочный стандарт, на который дана датированная ссылка, внесено изменение, затрагивающее положение, на которое дана ссылка, то это положение рекомендуется применять без учета данного изменения. Если ссылочный стандарт отменен без замены, то положение, в котором дана ссылка на него, рекомендуется применять в части, не затрагивающей эту ссылку. Сведения о действии свода правил целесообразно проверить в Федеральном информационном фонде стандартов
В настоящем пособии применены следующие термины с соответствующими определениями:
3.1 грунт пучинистый: Дисперсный грунт, который при переходе из талого в мерзлое состояние увеличивается в объеме вследствие образования кристаллов льда и имеет относительную деформацию морозного пучения εfn ≥ 0,01;
3.2 грунт сезонномерзлый (сезонноталый): Грунт, находящийся в мерзлом или талом состоянии периодически в течение холодного или теплого сезона;
3.3 грунт многолетнемерзлый/грунт вечномерзлый: Грунт, находящийся в мерзлом состоянии постоянно в течение трех и более лет;
3.4 геотехнический мониторинг: Комплекс работ, основанный на натурных наблюдениях за поведением конструкций вновь возводимого или реконструируемого сооружения, его основания, в т.ч. грунтового массива, окружающего (вмещающего) сооружение, и конструкций сооружений окружающей застройки;
3.5 геотехническая категория: Категория сложности объекта строительства с точки зрения проектирования оснований и фундаментов, определяемая в зависимости от уровня ответственности и сложности инженерно-геологических условий площадки строительства;
3.6 инженерная защита территорий, зданий и сооружений: Комплекс сооружений и мероприятий, направленных на предупреждение отрицательного воздействия опасных геологических, экологических и других процессов на территорию, здания и сооружения, а также защиту от их последствий;
3.7 касательная сила морозного (криогенного) пучения: Сила, действующая в процессе промерзающего грунта по боковой поверхности фундамента, обусловленная сопротивлением смерзания и трения его с промерзающим грунтом;
3.8 морозное пучение: Внутриобъемное деформирование
промерзающих влажных грунтов, приводящее к увеличению их объема вследствие
кристаллизации поровой и мигрирующей воды с образованием кристаллов и линз
льда;![]()
3.9 малозаглубленный фундамент: Фундамент с глубиной заложения подошвы выше расчетной глубины сезонного промерзания грунта;
3.10 «мостики холода»: Разрывы в теплоизоляции, создающие термически проводимые пути;
3.11 нормальная вертикальная сила морозного (криогенного) пучения: Сила, действующая по нормали к подошве фундамента, возникающая в результате промерзания грунта и развития морозного пучения;
3.12 нормальная горизонтальная сила морозного (криогенного) пучения: Сила, действующая по нормали к боковой поверхности фундамента и ограждающей конструкции, возникающая в результате промерзания грунта и развития морозного пучения;
3.13 ростверк: Распределительная балка или плита, объединяющая головы свай и перераспределяющая на них нагрузку от вышерасположенных конструкций;
3.14 слой сезонного промерзания: Поверхностный слой грунта, промерзающий в холодный период года и оттаивающий в теплый, под которым находятся немерзлые грунты;
3.15 слой сезонного оттаивания (сезоннопротаивающий, сезонноталый): Поверхностный слой грунта, оттаивающий в летний период и подстилаемый многолетнемерзлыми грунтами;
3.16 свайный фундамент: Комплекс свай, объединенных в единую конструкцию, передающую нагрузку на основание;
3.17 свая: Погруженная в грунт или изготовленная в грунте вертикальная или наклонная конструкция, предназначенная для передачи нагрузки на основание;
3.18 стена в грунте: Искусственно выполненная противофильтрационная, ограждающая или несущая конструкция из бетона или железобетона в грунте;
3.19 термометрическая скважина: Специально оборудованная скважина, предназначенная для измерения температуры грунта гирляндой температурных датчиков;
3.20 относительная деформация морозного пучения: Отношение абсолютной вертикальной деформации морозного пучения промерзающего грунта к мощности промерзшего слоя;
3.21 отрицательные (негативные) силы трения: Силы, возникающие на боковой поверхности фундаментов и подземных частей сооружений при перемещении грунтов вниз относительно них;
3.22 подъемы и осадки: Вертикальные составляющие деформаций основания, связанные с изменением объема грунтов при изменении их влажности или воздействием химических веществ (набухание и усадка) и при замерзании воды и оттаивании льда в порах грунта (морозное пучение и оттаивание грунта);
3.23 удельная касательная сила морозного пучения: Касательная сила пучения, отнесенная к площади смерзания боковой поверхности фундамента с промерзающим грунтом;
3.24 фундамент глубокого заложения: Конструкция, сооружаемая из свай, оболочек, столбов или с применением опускных колодцев и кессонов;
3.25 фундамент мелкого заложения (shallow foundation): Фундамент, соотношения высоты и ширины которого не превышает 4, сооружаемый в котлованах или полостях заданной формы, предварительно отрытых с поверхности до проектной глубины, и передающий нагрузку на основание преимущественно через подошву.
Примечание - Глубина заложения подошвы фундамента в пучинистых грунтах должна быть ниже расчетной глубины сезонного промерзания грунта.
4.1 К пучинистым грунтам относятся глинистые грунты, пески пылеватые и мелкие, а также крупнообломочные грунты с глинистым заполнителем, имеющие к началу промерзания влажность выше критической влажности (см. п. 5.7).
4.2 Пучинистые грунты характеризуют следующие параметры:
- абсолютная деформация морозного пучения hf, представляющая подъем ненагруженной поверхности промерзающего грунта;
- относительная деформация (интенсивность) морозного пучения εfh - отношение абсолютной деформации морозного пучения hf к толщине промерзающего слоя df;
- степень пучинистости грунта;
- нормальное вертикальное давление морозного пучения pfh,v, действующее по нормали к подошве фундамента;
- нормальное горизонтальное давление морозного пучения pfh,h, действующее по нормали к боковой поверхности фундамента;
- удельная касательная сила морозного пучения τfh, действующей вдоль боковой поверхности фундамента.
4.3 Характеристики пучинистости промерзающих грунтов следует устанавливать на основании непосредственных испытаний грунтов в полевых и лабораторных условиях, для сооружений 1 геотехнической категории допускается принимать расчетные или табличные значения.
4.4 Проектирование фундаментов мелкого и глубокого заложений должно выполняться в соответствии с СП 22.13330, для свайных фундаментов - с СП 24.13330, а проектирование в районе распространения многолетнемерзлых грунтов (ММГ) в соответствии с СП 25.13330. Работы по устройству фундаментов следует выполнять по СП 45.13330.
4.5 Основания, сложенные пучинистыми или искусственно замороженными грунтами, следует проектировать с учетом способности таких грунтов при сезонном, искусственном или многолетнем промерзании увеличиваться в объеме, что сопровождается подъемом поверхности грунта и развитием сил морозного пучения, действующих на фундаменты и другие конструкции сооружений. При последующем оттаивании пучинистого грунта происходит его оседание.
4.6 При проектировании фундаментов мелкого заложения на пучинистых грунтах не допускается их промораживание в основании фундамента в период строительства и эксплуатации без обоснования расчетом.
4.7 При консервации объекта или вынужденной остановке строительства в зимний период следует предусматривать мероприятия, исключающие промораживание пучинистых грунтов в основании фундаментов.
4.8 Температура в неотапливаемых или недостроенных заглубленных помещениях (подвалы, тоннели, шахты и др.) не должна быть отрицательной при наличии пучинистых грунтов в основании фундаментов и за стенами сооружений без выполнения теплоизолирующих мероприятий.
4.9 Вертикальные или наклонные подпорные стены, анкеры, распорные системы и тоннели должны рассчитываться на усилия, возникающие от сил морозного пучения грунта, при наличии и возможности промерзания пучинистых грунтов за стеной и в основании.
5.1 Грунты подразделяют по степени пучинистости в соответствии с ГОСТ 25100 на пять групп (таблица 5.1). Степень пучинистости влияет при проектировании на выбор параметров фундамента и противопучинистых мероприятий.
|
Разновидность грунтов |
Относительная деформация пучения εfh, д.е. |
Характеристика грунтов |
|
Практически непучинистый |
0,01 < εfh |
Глинистые при IL ≤ 0. Пески гравелистые, крупные и средней крупности, пески мелкие и пылеватые при Sr ≤ 0,6, а также пески мелкие и пылеватые, содержащие менее 15 % по массе частиц мельче 0,05 мм (независимо от значения Sr). Крупнообломочные грунты с заполнителем до 10 % |
|
Слабопучинистый |
0,01 ≤ εfh ≤ 0,035 |
Глинистые при 0 < IL ≤ 0,25. Пески пылеватые и мелкие при 0,6 < Sr ≤ 0,8. Крупнообломочные с заполнителем (глинистым, песком мелким и пылеватым) от 10 до 30 % по массе |
|
Среднепучинистый |
0,035 < εfh ≤ 0,07 |
Глинистые при 0,25 < IL ≤ 0,50. Пески пылеватые и мелкие при 0,80 < Sr ≤ 0,95. Крупнообломочные с заполнителем (глинистым, песком мелким и пылеватым), более 30 % по массе. |
|
Сильнопучинистый и чрезмернопучинистый |
0,07 < εfh ≤ 0,1 εfh > 0,01 |
Глинистые при IL > 0,5. Пески пылеватые и мелкие при Sr > 0,95 |
5.2 Предварительную оценку степени пучинистости грунтов на стадии изысканий допускается выполнять по таблице 5.1 на основании физических характеристик грунтов.
5.3 Для сооружений 2 и 3 геотехнической категории степень пучинистости и относительная деформация морозного пучения определяются на основе непосредственных испытаний в лабораторных условиях в соответствии с ГОСТ 28622 с учетом возможного изменения влажности грунтов в процессе строительства и эксплуатации сооружений.
5.4 Лабораторные испытания по определению степени пучинистости грунтов по ГОСТ 28622 проводят для глинистых, крупнообломочных (с содержанием глинистого заполнителя более 10 % общей массы), песчаных (с содержанием частиц мельче 0,05 мм более 2 % общей массы), биогенных, засоленных и искусственных грунтов и определяют по значению относительной деформации морозного пучения εfh в соответствии с таблицей 5.1 по формуле
|
|
(5.1) |
где hf - вертикальная деформация образца грунта в конце испытания, мм;
di - фактическая толщина промерзшего слоя образца грунта, мм.
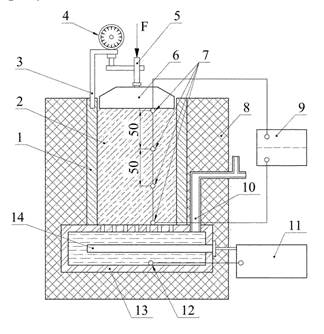
Значения hf и di получают по результатам испытаний образцов грунта в специальной установке, обеспечивающей вертикальное промораживание образца исследуемого грунта в заданном температурном и влажностном режимах и измерение перемещений его поверхности. Один из вариантов конструкции установки представлен на рисунке 5.1.

1 - обойма; 2 - образец грунта; 3 -
кронштейн; 4 - индикатор перемещения; 5 - шток механизма
для нагружения образца грунта; 6 - штамп; 7 - датчики температуры;
8 - теплоизоляционный кожух;
9 - прибор для измерения температуры; 10 - устройство для подачи
воды (емкость с водой);
11 - терморегулятор; 12 - датчики температуры; 13 - поддон
с водой и капиллярнопористым
материалом; 14 - ТЭН
Рисунок 5.1 - Схема установки для определения степени пучинистости грунта
5.5 Для сооружений 1 геотехнической категории допускается определять степень пучинистости расчетным путем по п. 5.6 и 5.7 в соответствии с СП 22.13330, в том числе в районах распространения ММГ.
5.6 Степень пучинистости несвязных грунтов (крупнообломочных грунтов и песков, содержащих глинистые фракции), а также супесей при Iр < 0,02, допускается определять через показатель дисперсности D, вычисляемый по формуле
|
|
(5.2) |
где k - коэффициент, равный 1,85·10-4 см2;
е - коэффициент пористости;
- средний диаметр частиц грунта, см,
вычисляемый по формуле
|
|
(5.3) |
где p1, p2,..., pi - содержание отдельных фракций грунта, д.е.;
d1, d2,... , di - средний диаметр частиц отдельных фракций, см.
Диаметры отдельных классифицированных фракций определяются по их минимальным размерам, умноженным на коэффициент 1,4. За расчетный диаметр наименьшей фракции принимается ее максимальный размер, деленный на коэффициент 1,4.
Таблица 5.2
|
Степень пучинистости грунта |
Показатель дисперсии |
|
Непучинистый |
D < 1 |
|
Слабопучинистый |
1 < D < 5 |
|
Среднепучинистый, сильнопучинистый и чрезмернопучинистый |
D > 5 |
Пример 5.1. На строительной площадке слой сезонного промерзания сложен песком пылеватым с коэффициентом пористости е = 0,81. Требуется определить степень пучинистости грунта. Гранулометрический состав песка приведен в таблице 5.3.
Таблица 5.3
|
Размер частиц отдельных фракций, мм |
1,0 ÷ 10,5 |
0,5 ÷ 0,25 |
0,25 ÷ 0,1 |
0,1 ÷ 0,05 |
0,05 ÷ 0,01 |
0,01 ÷ 0,005 |
<0,005 |
|
Содержание фракций, %, |
1,6 |
22,7 |
43,4 |
17,8 |
8,9 |
2,8 |
2,8 |
Средний диаметр частиц грунта
равен
|
|
Показатель дисперсности D составляет
|
|
|
Песок пылеватый по показателю дисперсности относится к пучинистым грунтам, его относительная деформация пучения εfh > 0,35 (таблица 5.1).
5.7 Степень пучинистости глинистых грунтов допускается определять исходя из значения относительной деформации пучения εfh по рисунку 5.2 в зависимости от параметра Rf, вычисляемого по формуле
|
|
(5.4) |
где w, wρ - влажность в пределах слоя промерзающего грунта соответственно природная и на границе раскатывания, д.е.;
wcr - критическая влажность - предельное значение важности, характеризующее границу, за которой прекращается перераспределение влаги, вызывающей морозное пучение в промерзающем пучинистом грунте, д.е., определяется по графикам на рисунке 5.3;
wsat - полная влагоемкость грунта, д.е., определяемая по формуле
|
|
(5.5) |
где е - коэффициент пористости;
ρw - плотность воды, кг/м3;
ρs - плотность твердых частиц грунта, кг/м3;
ρd - плотность сухого грунта, кг/м3 определяемая по формуле
|
|
(5.6) |
где ρ - плотность грунта, кг/м3;
М0 - безразмерный коэффициент, численно равный абсолютному значению средней многолетней температуры воздуха за зимний период, определяемый в соответствии с СП 131.13330.
a - практически непучинистый; б -
слабопучинистый; в - среднепучинистый;
г - сильнопучинистый; д - чрезмернопучинистый.
1, 2 - супеси; 3 - суглинки; 4 - суглинки с
0,07 < Iр ≤
0,13; 5 - суглинки с 0,13 < Iр ≤ 0,17; 6 - глины
(в грунтах 2, 4 и 5 содержание пылеватых частиц размером 0,05 - 0,005
составляет более 50 % по массе).
Рисунок 5.2 - Взаимосвязь параметра Rf и относительной деформации εfh
Рисунок 5.3 - Зависимость критической влажности wcr
от числа пластичности Iр и
предела текучески грунта wL
Пример 5.2 Площадка строительства находится в г. Чебоксары. Слой сезонного промерзания сложен суглинком полутвердым с коэффициентом пористости е = 0,68, природной влажностью w = 0,2, влажностью на границе раскатывания wρ = 0,19, плотностью грунта ρ = 1,99·103 кг/м3, влажностью на границе текучести wL = 0,32. Требуется определить степень пучинистости грунта.
Параметр Rf определяется по формуле
|
|
wcr - критическая влажность, определяется по графику 4 (для суглинка с 0,07 < Ip ≤ 0,13) на рисунке 5.2 для wL = 0,32 и Iр = wL - wρ = 0,32 - 0,19 = 0,13 и составляет 0,21;
wsat - полная влагоемкость грунта, доли единицы, для глинистых грунтов берется влажность на границе текучести wL;
ρd - плотность сухого грунта, кг/м3, определяемая по формуле
|
|
|
М0 - безразмерный коэффициент, численно равный абсолютному значению средней многолетней температуры воздуха за зимний период в г. Чебоксары, принимаем равный 9,02.
Относительная деформация суглинка в соответствии с параметром Rf·102 = 0,15 составляет εfh = 0,02. По графику на рисунке 5.2 и по таблице 5.1 грунт в слое сезонного промерзания относится к слабопучинистому.
6.1 Глубину сезонного промерзания-оттаивания следует определять:
- для назначения глубины заложения и выбора типа фундаментов зданий и сооружений;
- для определения деформаций и сил морозного пучения грунта;
- для разработки противопучинистых мероприятий, позволяющих уменьшать или исключать действие сил морозного пучения на фундаменты и вышележащие конструкции и предотвращать их недопустимые деформации.
6.2 Глубина сезонного промерзания дисперсных грунтов, в том числе многолетнемерзлых, если слой сезонного промерзания грунтов не сливается с многолетнемерзлой толщей, определяется в соответствии с ГОСТ 24847, при уровне подземных вод, расположенном ниже глубины сезонного промерзания.
6.3 Глубину сезонного оттаивания песчаных, пылевато-глинистых, биогенных и крупнообломочных грунтов в районах распространения ММГ следует определять в соответствии с ГОСТ 26262.
6.4 Нормативную глубину сезонного промерзания грунта df,n, м, следует принимать равной средней из ежегодных максимальных глубин сезонного промерзания грунтов по данным многолетних наблюдений (не менее 10 лет).
6.5 При отсутствии данных многолетних наблюдений нормативная глубина сезонного промерзания определятся по формуле
|
|
(6.1) |
где d'f - наибольшая глубина сезонного промерзания грунта в годовом периоде, м, устанавливаемая по данным натурных наблюдений;
Tf,m и tf,m - соответственно средняя по многолетним данным температура воздуха за период отрицательных температур, °С, и продолжительность этого периода, ч, принимаемые по СП 131.13330;
Tbf - температура начала замерзания грунта, °С, определяемая в А.4;
Tf и tf - соответственно средняя температура воздуха, °С, за период отрицательных температур и продолжительность этого периода, ч, в год проведения наблюдений, принимаемые по метео данным.
6.6 Нормативная глубина сезонного оттаивания для ММГ dth,n, м, определяется по данным наблюдений по формуле
|
|
(6.2) |
где d'th - наибольшая глубина сезонного оттаивания грунта в годовом периоде, м, устанавливаемая по данным натурных наблюдений;
Tth,m и tth,m - соответственно средняя по многолетним данным температура воздуха за период положительных температур, °С, и продолжительность этого периода, ч, принимаемые по СП 131.13330, причем для климатических подрайонов IБ и IГ значения Tth,m и tth,m следует принимать с коэффициентом 0,9;
Tbf - см. в формулу (6.1);
Tth и tth - соответственно средняя температура воздуха, °С, за период положительных температур и продолжительность этого периода, ч, в год проведения наблюдений, принимаемые по метео данным.
6.7 При отсутствии данных о полевых наблюдениях за глубиной промерзания - оттаивания, нормативную глубину сезонного промерзания - оттаивания грунта df,n (dth,n), м, допускается назначать на основании теплотехнических расчетов.
6.7.1 Для районов, где глубина промерзания df,n не превышает 2,5 м, ее нормативное значение следует вычислять по формуле
|
|
(6.3) |
где d0 - величина, принимаемая равной:
- 0,23 м - для суглинков и глин;
- 0,28 м - для супесей, песков мелких и пылеватых;
- 0,30 м - для песков гравелистых, крупных и средней крупности;
- 0,34 м - для крупнообломочных грунтов.
Mt - безразмерный коэффициент, численно равный сумме абсолютных значений отрицательных среднемесячных температур за год в конкретном районе, принимаемых по СП 131.13330, а при отсутствии в нем данных для конкретного пункта или района строительства - по результатам наблюдений метеорологической станции, находящейся в районе строительства.
Значение d0 для грунтов неоднородного сложения определяют как средневзвешенное в пределах глубины промерзания.
6.7.2 Для районов, где df,n превышает 2,5 м, а также в районах распространения многолетнемерзлых грунтов и в горных районах (где резко изменяются рельеф местности, инженерно-геологические и климатические условия), нормативную глубину сезонного промерзания следует вычислять по формуле
|
|
(6.4) |
где
|
q2 = Lv - 0,5Сf(Tf,m - Tbf), |
(6.5) |
здесь Lv - теплота замерзания грунта, Дж/м3, определяемая в А.10 при температуре грунта равной 0,5(Tf,m - Тbf), °С; Сf - объемная теплоемкость мерзлого грунта, Дж/(м3·°С), определяемая в А.6.2 и А.7.2. Остальные обозначения те же, что в формуле (6.1).
λf - теплопроводность мерзлого грунта, Вт/(м·°С), определяемая в А.8;
Tbf, Тf,m и tf,m - см. в формулу (6.1).
6.7.3 Нормативная глубина сезонного оттаивания грунта dth,n, м, определятся по формуле
|
|
где
|
|
(6.7) |
|
|
(6.8) |
Tbf - см. в формулу (6.1);
Tth,c - расчетная температура поверхности грунта в летний период, °С, определяемая по формуле
|
Tth,c = 1,4Tth,m + 2,4, |
(6.9) |
tth,c - расчетный период положительных температур, ч, определяемый по формуле
|
tth,c = 1,15tth,m + 0,1t1, |
(6.10) |
t1 - время, принимаемое равным 1,3·107 с (3600 ч);
t2 - время, принимаемое равным 2,7·107 с (7500 ч);
Т0 - расчетная среднегодовая температура многолетнемерзлого грунта, °С, определяемая по 6.8;
λth - теплопроводность талого грунта, Вт/(м·°С);
Cth - объемная теплоемкость талого грунта, Дж/(м3·°С);
km - коэффициент, принимаемый для песчаных грунтов равным 1,0, а для глинистых - по таблице 6.1 в зависимости от значения теплоемкости Сf и средней температуры грунта, °С, определяемой по формуле
|
|
(6.11) |
Lv - теплота
таяния (замерзания) грунта, Дж/м3, определяемая в А.10 при температуре грунта, равной 0,5
, °С.
Остальные обозначения - см. в формулу (6.1).
|
Температура, °С |
Значения коэффициента km при объемной теплоемкости Сf, Дж/(м3·°С) |
|||
|
1,3·106 |
1,7·106 |
2,1·106 |
2,5·106 |
|
|
-1 |
6,8 |
5,9 |
5,3 |
5,0 |
|
-2 |
5,2 |
4,5 |
4,0 |
3,7 |
|
-4 |
3,7 |
3,2 |
2,8 |
2,5 |
|
-6 |
3,0 |
2,6 |
2,3 |
2,1 |
|
-8 |
2,5 |
2,2 |
1,9 |
1,6 |
|
-10 |
1,8 |
1,6 |
1,4 |
1,2 |
6.8 Расчетная среднегодовая температура многолетнемерзлого грунта Т0, °С, устанавливается на основании прогнозных расчетов изменения температурного режима грунтов на застраиваемой территории.
Допускается определять значение Т0, °С, по формуле
|
|
(6.12) |
где ty - продолжительность года, принимаемая равной 3,15·107 с (8760 ч);
Tf,m и tf,m - соответственно средняя по многолетним данным температура воздуха в период отрицательных температур, °С, и продолжительность этого периода, с (ч), принимаемые по СП 131.13330;
dth,n - нормативная глубина сезонного оттаивания, м, для предварительных расчетов допускается принимать по рисункам В.1 и В.2;
Lv - теплота таяния-замерзания грунта, Дж/м3, определяемая по А.10 Приложения А;
Rs - термическое сопротивление снегового покрова, м2·°С/Вт, определяемое по формуле
|
Rs = ds/λs, |
где ds - среднезимняя высота снегового покрова, м, принимаемая по метеоданным;
λs - среднезимняя теплопроводность снегового покрова, Вт/м2·°С, определяется по формуле
|
λs = md(0,18 + 0,87ρs), |
(6.14) |
где md - пересчетный множитель, принимаемый равным 1,16 м Вт/(т °С);
ρs - среднезимняя плотность снегового покрова, т/м3, принимаемая по метео данным.
Примечания
1 В районах со средней скоростью ветра в зимний период свыше 5 м/с, рассчитанное по формуле (6.13) значение Rs следует увеличивать в 1,3 раза.
2 Если при расчете по формуле (6.12) Т0 > Tbf, то следует принимать Т0 = Tbf.
6.9 Расчетная глубина сезонного оттаивания dth, м, и расчетная глубина сезонного промерзания грунта df, м, определяются по формулам
|
dth = k'hdth,n; |
(6.15) |
где k'h - коэффициент теплового влияния сооружения, принимаемый по таблице 6.2.
dth,n - нормативная глубина сезонного оттаивания грунта, определяемая по 6.6 или 6.7.3.
|
df = khdf,n, |
kh - коэффициент теплового влияния сооружения, принимаемый:
- 1,1 - для наружных и внутренних фундаментов неотапливаемых сооружений в районах с положительной среднегодовой температурой;
- по таблице 6.2 - для зданий, тепловой режим которых существенно влияет на температуру грунтов (холодильники, котельные и т.п.), для наружных и внутренних фундаментов в районах с отрицательной среднегодовой температурой, и для зданий и сооружений, возведённых на ММГ, используемых в качестве оснований по II принципу;
- по таблице 6.3 - для наружных фундаментов отапливаемых сооружений;
df,n - нормативная глубина сезонного промерзания грунта, определяемая по 6.5 или 6.7.1 или 6.7.2.
|
Наименование сооружения |
k'h |
kh |
|
Здания и сооружения без холодного подполья |
- |
По таблице 6.3 |
|
Здания и сооружения с холодным подпольем: |
|
|
|
у наружных стен с отмостками, имеющими асфальтовое и тому подобное покрытия |
1,2 |
- |
|
у наружных стен с отмостками без асфальтовых покрытий |
1,0 |
- |
|
у внутренних опор |
0,8 |
- |
|
Мосты: |
|
|
|
промежуточные массивные опоры с фундаментами мелкого заложения или фундаментами из свай и свай-столбов с плитой (ростверком), заглубленной в грунт при ширине опор по фасаду: |
|
|
|
от 2 до 4 м |
1,3 |
1,2 |
|
4 м и более |
1,5 |
1,3 |
|
промежуточные столбчатые и свайные опоры, рамно-стоечные опоры с фундаментами мелкого заложения |
1,2 |
1,1 |
|
обсыпные устои |
1,0 |
1,0 |
|
Примечания: 1 Данные настоящей таблицы не распространяются на случаи применения теплоизоляции и других специальных теплозащитных мероприятий (вентилируемые и теплоизолирующие подсыпки, охлаждающие устройства и т.д.). 2 Для устоев мостов, обсыпанных песчаным грунтом, значения k'h и kh следует принимать по данным теплотехнического расчета, но не менее 1,2. |
||
|
Особенности сооружения |
Коэффициент kh при расчетной среднесуточной температуре воздуха в помещении, примыкающем к наружным фундаментам, °С |
||||
|
0 |
5 |
10 |
15 |
20 и более |
|
|
Без подвала с полами, устраиваемыми: |
|
|
|
|
|
|
по грунту |
0,9 |
0,8 |
0,7 |
0,6 |
0,5 |
|
на лагах по грунту |
1,0 |
0,9 |
0,8 |
0,7 |
0,6 |
|
по утепленному цокольному перекрытию |
1,0 |
1,0 |
0,9 |
0,8 |
0,7 |
|
С подвалом или техническим подпольем |
0,8 |
0,7 |
0,6 |
0,5 |
0,4 |
|
Примечания: 1 Приведенные в настоящей таблице значения коэффициента kh относятся к фундаментам, у которых расстояние от внешней грани стены до края фундамента аf < 0,5 м; если аf ≥ 1,5 м, значения коэффициента повышают на 0,1, но не более чем до значения kh = 1; при промежуточном значении коэффициента kh определяют интерполяцией. 2 К помещениям, примыкающим к наружным фундаментам, относятся подвалы и технические подполья, а при их отсутствии - помещения первого этажа. 3 При промежуточных значениях температуры воздуха коэффициент kh принимают с округлением до ближайшего меньшего значения, указанного в таблице. 4 Для зданий с нерегулярным отоплением при определении kh за расчетную температуру воздуха принимают ее среднесуточное значение с учетом длительности отапливаемого и неотапливаемого периодов в течение суток. |
|||||
6.10 Значения теплофизических характеристик при расчете нормативных глубин сезонного промерзания-оттаивания грунтов по формулам (6.4) и (6.6) при применении мероприятий инженерной защиты зданий и сооружений от морозного пучения грунтов, приводящих к понижению уровня подземных вод (вертикальная планировка территории подсыпкой, регулирование поверхностного стока и т.д.), следует принимать при влажности грунта w, д.е., равной:
0,04 - для крупнообломочных грунтов;
0,07 - для песков (кроме пылеватых);
0,1 - для песков пылеватых;
(wp + 0,5Ip) - для глинистых грунтов;
1,1wp - для заторфованных грунтов.
где Ip и wp - соответственно число пластичности и влажности грунта на границе пластичности.
6.11 Расчетную глубину промерзания-оттаивания допускается определять теплотехническим расчетом на основании моделирования теплового взаимодействия зданий и сооружений и грунтового основания с учетом фазовых переходов и теплофизических свойств грунтов в программных комплексах.
6.12 Для выполнения теплотехнических расчетов в программном комплексе задаются следующие характеристики:
- теплофизические свойства грунтов: теплопроводность и объемная теплоемкость в талом и мерзлом состоянии, плотность, температура начала фазового перехода, кривая незамерзшей воды.
- теплопроводность, теплоемкость и плотность строительных материалов, включая теплоизоляционные материалы.
- вертикальное распределение температуры в грунте на начало прогноза (данные по термометрическим скважинам).
- метеорологические данные: температура воздуха, в том числе с учетом изменения скорости ветра на поверхности и изменения толщины снежного покрова во времени (если необходимо учесть влияние толщины снежного покрова).
- гидрогеологические свойства грунтов: изменение уровня подземных вод по периметру исследуемой области в зависимости от времени.
Пример 6.1. Строительная площадка находится вблизи г. Хабаровска. Основание площадки сложено глинистыми грунтами, слой сезонного промерзания представлен суглинком полутвердым, слабопучинистым, мощностью 2 м. Планируется строительство пятиэтажного дома без подвала с полами, устраиваемыми по утепленному цокольному перекрытию, при расчетной среднесуточной температуре воздуха в помещении 15 °С. Требуется определить расчетную глубину сезонного промерзания.
Нормативная глубина сезонного промерзания грунта dfn, м, определяется по формуле
|
|
|
где Mt - безразмерный коэффициент, численно равный сумме абсолютных значений отрицательных среднемесячных температур за зиму в данном районе (г. Хабаровск), принимаем равный 1;
d0 - величина, принимаемая для суглинков и глин 0,23 м;
Расчетная глубина сезонного промерзания грунта df, м, определяется по формуле
|
df = khdfn = 0,8·1,90 = 1,52. |
|
где kh - коэффициент, учитывающий влияние теплового режима сооружения, kh = 0,8;
dfn - нормативная глубина промерзания, м.
Расчетная глубина сезонного промерзания вблизи г. Хабаровск в исходных инженерно-геологических условиях составляет 1,52 м.
Пример 6.2. Строительная площадка находится вблизи г. Чебоксары. Основание площадки сложено глинистыми грунтами, слой сезонного промерзания представлен суглинком тяжелым пылеватым, полутвердым со следующими характеристиками: плотность сухого грунта ρd = 1,6·103 кг/м3, коэффициент пористости е = 0,696, влажность грунта в природных условиях w = 0,22, влажность на пределе раскатывания wp = 0,21, число пластичности Ip = 0,14, показатель текучести IL = 0,11. Планируется строительство башни на свайном фундаменте.
Средняя температура воздуха в районе строительства за период отрицательных температур Тf,m = -8,3 °С, а продолжительность этого периода tf,m = 3744 ч = 13478400 с. Требуется рассчитать расчетную глубину сезонного промерзания.
Нормативная глубина сезонного промерзания грунта df,n, м, определяется по формуле
|
|
|
где λf - теплопроводность грунта в мерзлом состоянии, определяется при температуре грунта равной Т = -4,05 °С; λf = 1,62 Вт/(м·°С).
Теплопроводность незасоленных и засоленных грунтов в мерзлом состоянии в диапазоне температур Tbf ≥ Т > Тт, где Тт = -15 °С, определяется по формуле
![]()
![]()
где λfm - коэффициент теплопроводности грунтов в мерзлом состоянии; λfm = 1,64 Вт/(м·°С);
λth - коэффициент теплопроводности грунтов в талом состоянии, λth = 1,4 Вт/(м·°С);
wtot - суммарная влажность мерзлого грунта, принимается равной естественной влажности грунта wtot = 0,22;
ww - влажность незасоленного мерзлого грунта (η = 0) за счет незамерзшей воды, определяется по Приложению А:
ww(T) = 0,5·0,21 = 0,105,
ww(Tm) = 0,45·0,21 = 0,0945,
где wp - влажность грунта на границе пластичности, wp = 0,21;
k - коэффициент, принимаемый в зависимости от числа пластичности Iр = 0,14 и температуры грунта Т = -4,05 °С и Тт = -15 °С, k(Т) = 0,5 и k(Тm) = 0,45.
Tbf - температура начала замерзания грунта, °С, определяется по Приложению А:
|
|
|
Tf,m и tf,m - средняя по многолетним данным температура воздуха за период отрицательных температур и продолжительность этого периода, принимаемые по СП 131.13330;
|
q2 = Lv - 0,5Cf(Tf,m - Tbf) = 616,4·105 - 0,5·26,1·105·((-8,3) - (-0,2)) = 722,11·105 Дж/м3, |
где Lv - теплота замерзания грунта, Дж/м3, определяется при температуре грунта равной Т = -4,05 °С;
|
Lv = L0 × [wtot - ww]ρd,th,f = 3,35·105·[0,22 - 0,105]·1600 = 616,4·105 Дж/м3 |
|
где L0 - удельная теплота фазовых превращений вода-лед; L0 = 3,35·105 Дж/кг.
ρd,th,f - плотность сухого грунта; ρd,th,f = 1600 кг/м3;
Cf - объемная теплоемкость незасоленного грунта в мерзлом состоянии, определяется при температуре грунта равной Т = -4,05 °С
Cf = (Ср + Cwww(T) + Ci(wtot - ww(T)))ρd,f = [950 + 4200·0,105 +
+ 2088,41·(0,22 - 0,105)]·1600 = 26,1·105 Дж/(кг·°С),
Cp - удельная теплоемкость скелета грунта, Ср = 950 Дж/(кг·°С);
Cw - удельная теплоемкость незамерзшей воды, Cw = 4200 Дж/(кг·°С);
Ci - удельная теплоемкость льда:
Ci = 2120 + 7,8Т = 2120 + 7,8·(-4,05) = 2088,41 Дж/(кг·°С),
Расчетная глубина сезонного промерзания грунта df определяется по формуле
df = khdfn = 1,1·2,21 = 2,43 м.
где kh - коэффициент, учитывающий влияние теплового режима сооружения, принимаемый для неотапливаемых сооружений kh = 1,1;
df,n - нормативная глубина промерзания, м.
Расчетная глубина сезонного промерзания в исходных инженерно-геологических условиях, с учетом физических и теплофизических характеристик грунта составляет 2,43 м.
7.1 Проектирование оснований и фундаментов зданий и сооружений на пучинистых грунтах должно содержать расчеты по предельным состояниям. Расчет по предельному состоянию первой группы состоит в определении устойчивости фундаментов (сооружений), а именно:
- на действие нормальных сил морозного пучения;
- на действие горизонтальных касательных сил морозного пучения;
- на совместное действие нормальных и касательных сил морозного пучения.
Расчет по предельному состоянию второй группы состоит в определении деформаций фундаментов (сооружений), а именно:
- подъема при промораживании грунта;
- относительной разности перемещений при подъеме;
- осадки при оттаивании грунта;
- относительной разности перемещений при осадке.
Расчет по предельным состояниям первой группы
7.2 Устойчивость свайных фундаментов, фундаментов мелкого заложения и малозаглубленных (незаглубленных) фундаментов, в том числе возводимых на территории распространения многолетнемерзлых грунтов, на действие касательных сил морозного пучения грунтов надлежит проверять по условию
|
|
(7.1) |
где τfh - расчетная удельная касательная сила пучения, кПа, принимаемая согласно 7.3;
Afh - площадь боковой поверхности смерзания сваи или фундамента в пределах расчетной глубины сезонного промерзания-оттаивания грунта или слоя искусственно замороженного грунта, м2;
F - расчетная нагрузка на сваю или фундамент, кН, принимаемая с коэффициентом 0,9 по наиболее невыгодному сочетанию нагрузок и воздействий, включая выдергивающие (ветровые, крановые и т.п.);
Frf - расчетное значение силы, удерживающей сваю или фундамент от выпучивания вследствие трения его боковой поверхности о талый (мерзлый) грунт, лежащий ниже расчетной глубины промерзания, кН, принимаемое согласно 7.7;
γс - коэффициент условий работы, принимаемый равный 1,0;
γn - коэффициент надежности по назначению сооружений, принимаемый равный 1,1, а для фундаментов опор мостов - 1,3.
7.3 Расчетную удельную касательную силу морозного пучения τfh, кПа, следует определять опытным путем по результатам полевых или лабораторных испытаний (7.4 - 7.6). Для сооружений 1 и 2 геотехнических категорий значения τfh допускается принимать по таблице 7.1 в зависимости от состава, влажности и глубины сезонного промерзания-оттаивания грунтов df(dth).
Таблица 7.1
|
Разновидность грунта и его характеристика |
Значения τfh, кПа, при глубине сезонного промерзания оттаивания df(dth), м |
||
|
До 1,5 |
2,5 |
3,0 и более |
|
|
Супеси, суглинки и глины при показателе текучести IL > 0,5, крупнообломочные грунты с глинистым заполнителем, пески мелкие и пылеватые при показателе дисперсности D > 5 и степени влажности Sr > 0,95 |
110 |
90 |
70 |
|
Супеси, суглинки и глины при 0,25 < IL ≤ 0,5, крупнообломочные грунты с глинистым заполнителем, пески мелкие и пылеватые при D > 1 и степени влажности 0,8 < Sr ≤ 0,95 |
90 |
70 |
55 |
|
Супеси, суглинки и глины при IL ≤ 0,25, крупнообломочные грунты с глинистым заполнителем, пески мелкие и пылеватые при D > 1 и степени влажности 0,6 < Sr ≤ 0,8 |
70 |
55 |
40 |
|
Примечания 1 Для промежуточных глубин промерзания τfh принимается интерполяцией. 2 Значения τfh для грунтов, используемых при обратной засыпке котлованов, принимается по первой строке настоящей таблицы. 3 В зависимости от вида поверхности фундамента приведенные значения τfh умножают на коэффициент: 1,0 - при гладкой бетонной необработанной; 1,1 - 1,2 - при шероховатой бетонной с выступами и кавернами до 5 мм; 1,25 - 1,5 - до 20 мм; 0,9 - при деревянной антисептированной; 0,8 - при металлической без специальной обработки. 4 Для сооружений 1 геотехнической категории значения τfh умножают на коэффициент 0,9. |
|||
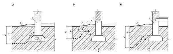
7.4 В полевых условиях касательная сила морозного пучения определяется в соответствии с ГОСТ 27217, распространяющемся на грунты без жестких структурных связей. В ходе испытаний на специальных установках удельную касательную силу морозного пучения определяют как отношение измеренной при испытаниях максимальной касательной силы морозного пучения, действующей на образец фундамента, к площади его боковой поверхности, находящейся в промерзающем грунте, по формуле
|
|
(7.2) |
где F - максимальная касательная сила морозного пучения, зарегистрированная показаниями приборов, МН;
u - периметр поперечного сечения образца фундамента, м;
df - глубина сезонного промерзания (оттаивания) грунта, м;
G - вес образца фундамента, МН.
7.5 В лабораторных условиях удельная касательная сила морозного пучения определяется в соответствии с ГОСТ Р 56726. Испытания проводят на водонасыщенных образцах грунта природного или нарушенного сложения с заданной плотностью и влажностью с учетом возможных изменений водно-физических свойств грунта в процессе строительства и эксплуатации сооружения.
Удельные касательные силы морозного пучения грунта определяют по значению устойчивого сопротивления сдвигу образца мерзлого грунта относительно поверхности образца фундамента, полученному по результатам испытаний в устройстве, обеспечивающем срез грунта по поверхности смерзания с постоянной скоростью перемещения по формуле
|
|
(7.3) |
где Q - сдвигающее усилие в конце испытания, кН;
А - площадь смерзания образца грунта с поверхностью модели фундамента, м2.
7.6 В соответствии с СП 25.13330 касательные силы морозного пучения грунта определяются следующим образом:
- Строятся графики изменения температуры грунта по глубине до границы фазовых переходов (до глубины промерзания грунта df). Значения температуры грунта определяют на площадке строительства или по данным ближайших метеостанций. Допускается определять температуру грунта по глубине расчетным путем, в том числе численными методами (6.9 и 6.11).
- График изменения во времени температуры разбивается на три характерных участка (рисунок 7.1):
первый участок - от глубины промерзания грунта до глубины, на которой зафиксирована температура минус 1 °С;
второй участок - от глубины, на которой зафиксирована температура минус 1 °С, до глубины, на которой зафиксирована температура минус 2 °С;
третий участок - от глубины, на которой зафиксирована температура минус 2 °С, до поверхности грунта;
- Касательная сила морозного пучения определяется по сумме произведений удельной касательной силы морозного пучения, полученной в лабораторных условиях (7.5) для разных температур (минус 1 °С, минус 2 °С, минус 6 °С), и площади боковой поверхности фундамента, где температура грунта соответствует указанным выше значениям:
|
Ff = τfhlA1 + τfh2A2 + τfh3A3, |
(7.4) |
где τfh1, τfh2, τfh3 - удельные касательные силы пучения, кПа, определяемые для температур: минус 1 °С, минус 2 °С и минус 6 °С;
А1, A2, А3 - площади боковой поверхности фундамента для трех участков.
Рисунок 7.1 - Схематический график распределения температуры
грунта
для расчета касательной силы морозного пучения
7.7 Значение силы Frf, удерживающей от выпучивания фундамент, в зависимости от грунтовых условий следует определять по формулам:
- при строительстве на немерзлых грунтах и на многолетнемерзлых грунтах по принципу II (СП 25.13330)
|
|
(7.5) |
- при строительстве на многолетнемерзлых грунтах по принципу I (СП 25.13330)
|
|
(7.6) |
где u - периметр сечения поверхности сдвига, м, принимаемый равный:
- периметру сечения фундамента (сваи) - для свайных и столбчатых фундаментов без анкерной плиты;
- периметру анкерной плиты - для столбчатых фундаментов с анкерной плитой;
hi - толщина i-го слоя талого грунта, расположенного ниже подошвы слоя промерзания-оттаивания, м;
Raf - расчетное сопротивление i-го слоя многолетнемерзлого грунта сдвигу по поверхности смерзания, кПа, принимаемое по испытаниям и таблицам в соответствии с приложением В СП 25.13330.2012;
fi - расчетное сопротивление i-го слоя талого грунта сдвигу по поверхности сваи, кПа, принимаемое в соответствии с разделом 7 СП 24.13330.2011.
Примечание - Расчетные сопротивления оттаявших или оттаивающих грунтов вдоль боковой поверхности свай следует принимать по СП 24.13330 с понижающими коэффициентами (кроме крупнообломочных и песков со степенью влажности, не превышающей 0,8):
0,8 - для глинистых грунтов;
0,9 - для песчаных водонасыщенных грунтов;
определять по опытным данным - для других грунтов.
7.8 Малозаглубленные и незаглубленные фундаменты, фундаменты глубокого заложения и свайные ростверки, закладываемые в слое сезонного промерзания-оттаивания пучинистых грунтов, следует рассчитывать по устойчивости на действие нормальных вертикальных сил морозного пучения.
Устойчивость фундаментов на действие нормальных сил морозного пучения проверяется по формуле
|
|
(7.7) |
где pfh - удельное нормальное давление пучения грунта на подошву фундамента и ростверк, кПа, устанавливаемое по опытным данным: в полевых и лабораторных условиях;
Af - площадь подошвы фундамента и ростверка, м2;
Остальные обозначения см. формулу (7.1).
7.9 Расчет на совместное действие касательных и нормальных сил морозного пучения выполняют по формуле
|
|
(7.8) |
Обозначения см. в формулах (7.1) и (7.7).
7.10 Вертикальные стены подвалов, тоннелей, подпорных стен и ограждений котлована допускается рассчитывать только на действие нормальных горизонтальных сил морозного пучения. При проектировании фундаментов с системой термостабилизации грунтов следует учитывать действие нормальных горизонтальных сил морозного пучения, возникающих от работы термостабилизаторов.
7.11 Заанкеренный столбчатый фундамент должен быть проверен на отрыв силами морозного пучения стойки фундамента от анкерной плиты. Усиление Fneg, кН, разрывающее заанкеренный фундамент, определяется по формуле
|
Ffh = τfhAfh - F, |
(7.9) |
где Afh - площадь боковой поверхности стойки фундамента, находящейся в пределах слоя сезонного промерзания-оттаивания грунта, м2;
Остальные обозначения см. формулу (7.1).
Расчет по предельным состояниям второй группы
7.11 Расчет по деформациям следует проводить с учетом совместной работы сооружения с промораживаемым и подстилающим основаниями. При этом, возникающие в результате неравномерных поднятий и осадок фундаментов дополнительные усилия в конструкциях сооружения не должны превышать предельно допустимых значений, а крены и прогибы не препятствовать нормальной эксплуатации сооружения.
Расчет основания по деформациям морозного пучения грунта, промерзавшего ниже подошвы малозаглубленного фундамента и свайного ростверка, производится исходя из следующих двух условий:
|
hfp ≤ su, |
(7.10) |
|
|
(7.11) |
где hfp - расчетное значение подъема (осадки) основания от пучения грунта (оттаивания грунта) под фундаментом с учетом давления под его подошвой;
εfp - расчетная относительная деформация пучения грунта основания под фундаментом;
- соответственно предельные значения
относительной разности осадок и подъема (осадки) здания и сооружения,
принимаемые по приложению Г (с учетом примечания 6) СП 22.13330.2016,
либо по приложению Б.
7.12 Расчетное значение подъема основания от пучения определяется следующим образом
|
hfp = εfh·df, |
(7.12) |
где εfh - относительная деформация пучения грунта, определяемая в соответствии с разделом 5;
df - глубина промерзания грунта в основании фундаментов, определяемая в соответствии с разделом 6.
Значение подъема основания и фундамента от пучения hfp должно определяться с учетом сжимаемости промороженных и подстилающих слоев грунта от давления пучения и нагрузки от фундамента.
Значения деформаций вертикальных стен от действия сил морозного пучения должны определяться с учетом сжимаемости грунтов за стеной, жесткости стен, анкерных и распорных систем.
7.13 Осадку оттаивающего в процессе эксплуатации сооружения основания следует определять по формуле
|
s = sth + sp, |
(7.13) |
где sth - составляющая осадки основания, обусловленная действием собственного веса оттаивающего грунта, определяемая по формуле (7.14);
sp - составляющая осадки основания, обусловленная дополнительным давлением на грунт от веса сооружения, определяемая по подразделу 7.3 СП 25.13330.2012.
7.14 Расчетное значение осадки основания от оттаивания, обусловленное действием собственного веса оттаивающего грунта, определяется по формуле
|
|
(7.14) |
где n - число выделенных при расчете слоев грунта;
Ath,i и mth,i - коэффициент оттаивания, д.е., и коэффициент сжимаемости, кПа-1, i-го слоя оттаивающего грунта, принимаемые по 7.15;
σzg,i - вертикальное напряжение от собственного веса грунта в середине i-го слоя грунта, кПа, определяемое расчетом для глубины zi от уровня планировочных отметок с учетом взвешивающего действия воды;
hi - толщина i-го слоя оттаивающего грунта, м.
Примечание - Взвешивающее действие воды при определении sth следует учитывать для водопроницаемых грунтов, залегающих ниже расчетного уровня подземных вод, но выше водоупора.
7.15 Коэффициенты оттаивания Ath и сжимаемости оттаивающего грунта mth надлежит устанавливать по результатам полевых испытаний мерзлых грунтов горячим штампом по ГОСТ 20276.
Если значения Ath и mth получены по данным лабораторных испытаний грунтов в соответствии с ГОСТ 12248, то их расчетные значения при определении осадок оттаивающего основания следует умножать на поправочный коэффициент ki = 1 + Δii, где Δii - разность между суммарной льдистостью i-го слоя грунта и льдистостью испытанного образца, взятого из этого слоя. Допускается вводить поправки на неполное смыкание макропор и набухание оттаивающего грунта, если это подтверждено экспериментальными данными.
Примечание - Расчет развития осадок оттаивающего основания во времени следует выполнять по скорости протаивания грунтов под сооружением, определяемой теплотехническим расчетом.
8.1.1 Глубину заложения фундаментов мелкого заложения назначают исходя из условия недопущения промерзания пучинистого грунта под подошвой фундамента, для исключения развития нормальных веритикальных сил морозного пучения на фундамент. Глубину заложения наружных фундаментов допускается назначать независимо от расчетной глубины промерзания, если:
- лабораторными исследованиями в соответствии с ГОСТ 28622 на данной площадке установлено, что грунты не имеют пучинистых свойств;
- специальными исследованиями и расчетами установлено, что деформации грунтов основания при их промерзании-оттаивании не нарушают эксплуатационную надежность сооружения и не превышают предельно допустимых деформаций (7.11);
- предусмотрены специальные теплотехнические мероприятия, исключающие промерзание грунтов;
- предусмотрена замена грунта непучинистым материалом на глубину промерзания;
- выполнены мероприятия по снижению пучинистых свойств грунтов;
- предусмотрен обогрев грунтов в зимний период.
8.1.2 В зависимости от теплового режима здания глубину заложения фундаментов при использовании немерзлых и многолетнемерзлых грунтов по принципу II в качестве основания следует назначать:
- для наружных фундаментов отапливаемых сооружений (от уровня планировки) по таблице 8.1;
- для внутренних фундаментов отапливаемых сооружений - независимо от расчетной глубины промерзания грунтов;
- для наружных и внутренних фундаментов отапливаемых сооружений с холодными подвалами и техническими подпольями (с отрицательной температурой в зимний период) - по таблице 8.1, считая от пола подвала или технического подполья;
- для наружных и внутренних фундаментов неотапливаемых сооружений по таблице 8.1, при этом глубина исчисляется: при отсутствии подвала или технического подполья - от уровня планировки, а при их наличии - от пола подвала или технического подполья.
При наличии в холодном подвале (техническом подполье) отрицательной среднезимней температуры глубину заложения внутренних фундаментов принимают по таблице 8.1 в зависимости от расчетной глубины сезонного промерзания грунта, вычисляемой по формуле (6.16) при коэффициенте kh = 1. При этом нормативную глубину промерзания, считая от пола подвала, определяют расчетом с учетом среднезимней температуры воздуха в подвале по формуле (6.1).
Глубину заложения наружных фундаментов отапливаемых сооружений с холодным подвалом (техническим подпольем) принимают наибольшей из значений глубины заложения внутренних фундаментов и расчетной глубины промерзания грунта с коэффициентом kh =1, считая от уровня планировки.
|
Разновидность грунта под подошвой фундамента |
Глубина заложения фундаментов в зависимости от глубины расположения уровня подземных вод dw, м, при |
|
|
dw ≤ df + 2 |
dw > df + 2 |
|
|
Скальные, крупнообломочные с песчаным заполнителем, пески гравелистые, крупные и средней крупности |
Не зависит от df |
Не зависит от df |
|
Пески мелкие и пылеватые |
Не менее df |
|
|
Супеси с показателем текучести IL < 0 |
|
|
|
То же, при IL ≥ 0 |
Не менее df |
|
|
Суглинки, глины, а также крупнообломочные грунты с глинистым заполнителем при показателе текучести грунта или заполнителя IL ≥ 0,25 |
||
|
То же, при IL < 0,25 |
|
Не менее 0,5df |
|
Примечания 1 В случаях, когда глубина заложения фундаментов не зависит от расчетной глубины промерзания df, соответствующие грунты, указанные в настоящей таблице, должны залегать до глубины не менее нормативной глубины промерзания df,n. 2 Уровень подземных вод следует принимать с учетом 5.4 СП 22.13330.2016. |
||
8.1.3. При использовании многолетнемерзлых грунтов в качестве основания по принципу I минимальную глубину заложения фундаментов dmin рекомендуется принимать по таблице 8.2 в зависимости от расчетной глубины сезонного оттаивания грунта dth, определяемой согласно 6.9.
Таблица 8.2
|
Тип фундамента |
Минимальная глубина заложения фундаментов dmin, м |
|
Фундаменты всех типов, кроме свайных |
dth + 1 |
|
Свайные фундаменты зданий и сооружений |
dth + 2 |
|
Сваи опор мостов |
dth + 4 |
|
Фундаменты зданий и сооружений, возводимых на подсыпках |
Не нормируется |
8.2.1 Малозаглубленные и незаглубленные фундаменты устраиваются выше глубины сезонного промерзания - оттаивания грунта.
8.2.2 При нормативной глубине промерзания не более 1,7 м допускается устраивать малозаглубленные (незаглубленные) фундаменты на естественном или на локально уплотненном основании для сооружений пониженного уровня ответственности и малоэтажных зданий. Тип и конструкция малозаглубленных (незаглубленных) фундаментов, способ подготовки их оснований принимаются с учетом свойств грунтов строительной площадки (степени пучинистости грунтов).
8.2.3 На незаглубленные фундаменты действуют только нормальные силы морозного пучения, а на малозаглубленные фундаменты - совместно касательные и нормальные силы морозного пучения.
8.2.4 При строительстве на практически непучинистых грунтах несущие элементы малозаглубленных и незаглубленных фундаментов укладывают на выравнивающую подсыпку из песка, на пучинистых грунтах - на подушку из непучинистого материала (песок гравелистый, крупный или средней крупности, мелкий щебень, котельный шлак, плиты из влаго- и биостойкой теплоизоляции и др.). В необходимых случаях для увеличения расчетного сопротивления грунта основания целесообразно предусматривать устройство песчано-щебеночной (песчано-гравийной) подушки (смесь песка крупного или средней крупности - 40 %, щебня или гравия - 60 %).
8.2.5 Устройство подушек и засыпку пазух и траншей следует выполнять с послойным трамбованием или уплотнением. Пазухи подушки необходимо гидроизолировать устройством отмостки для исключения попадания атмосферных вод. В случае выявления на строительной площадке высокого уровня подземных вод и/или верховодки необходимо предусматривать мероприятия, исключающие заиливания окружающим пучинистым грунтом материала подушки. Для исключения (снижения) промерзания грунтов в основании фундаментов укладывают слой теплоизоляции.
8.2.6 В зависимости от степени пучинистости грунта основания ленточные малозаглубленные фундаменты следует устраивать:
- на практически непучинистых и слабопучинистых грунтах - из сборных бетонных блоков, укладываемых без соединения между собой;
- на средне- и сильнопучинистых грунтах - из сборных железобетонных блоков, содержащих выпуски арматуры (выпуски соседних блоков соединяют, стыки замоноличивают бетоном);
- на чрезмернопучинистых грунтах - из монолитного железобетона.
8.2.7 Сборно-монолитные, монолитные фундаменты и ростверки щелевых фундаментов и коротких свай всех стен должны быть жестко связаны между собой и объединены в систему перекрестных лент.
8.2.8 При строительстве на сильно- и чрезмернопучинистых грунтах следует усиливать стены армированными или железобетонными поясами, устраиваемыми в уровне перекрытий и над проемами верхнего этажа.
8.2.9 Малозаглубленные столбчатые фундаменты на средне-, сильно- и чрезмернопучинистых грунтах должны быть связаны фундаментными балками, объединенными в единую систему.
8.2.10 При устройстве столбчатых фундаментов на пучинистых грунтах необходимо предусматривать зазор между нижней гранью фундаментных балок и планировочной поверхностью грунта, значение которого должно быть не менее расчетной деформации пучения (подъема) ненагруженного основания, но не менее 15 см.
8.2.11 При наличии чрезмернопучинистых грунтов и значительной чувствительности зданий к неравномерным деформациям рекомендуется строить их на малозаглубленных и незаглубленных монолитных железобетонных плитных фундаментах, под которыми устраивают подушки из непучинистых материалов.
8.2.12 При вытрамбовывании (выштамповывании) котлованов и забивке блоков рекомендуется использовать фундаменты в форме усеченной пирамиды с углом наклона боковых граней к вертикали 5 - 10°. Фундаменты такой конструкции допускается закладывать в сезоннопромерзающем слое грунта.
8.2.13 Если расчетные деформации морозного пучения основания малозаглубленных фундаментов больше предельных или устойчивость фундаментов на действие сил морозного пучения недостаточна, то кроме возможности изменения глубины заложения фундаментов следует рассматривать необходимость применения мероприятий, уменьшающих силы и деформации морозного пучения (устройство подсыпки, замена грунта, водопонижение и др.), а также глубину промерзания (теплозащитные или физико-химические мероприятия).
Если при применении указанных мероприятий деформации морозного пучения не исключены, следует предусматривать конструктивные мероприятия, назначаемые исходя из расчета фундаментов и конструкций сооружения с учетом возможных деформаций морозного пучения.
8.3.1 Свайные фундаменты и сваи следует рассчитывать по прочности материала, проверять устойчивость фундаментов при действии сил морозного пучения для предотвращения выпучивания (поднятия) свай и предусматривать меры, предотвращающие или уменьшающие влияние сил морозного пучения грунта на свайный ростверк.
8.3.2 Расчет оснований и свайных фундаментов по устойчивости и прочности на воздействие сил морозного пучения грунтов следует выполнять при эксплуатации неотапливаемых сооружений, мачт линий электропередачи и мобильной связи, трубопроводов и др. или при консервации сооружений, а также для условий периода строительства, если до передачи на сваи проектных нагрузок возможно промерзание грунтов слоя сезонного промерзания-оттаивания или выполняется искусственное замораживание грунтов (при строительстве тоннелей или эксплуатации помещений с отрицательной температурой).
8.3.3 В случае оттаивания сезонномерзлых или искусственно замороженных грунтов возникают отрицательные (негативные) силы трения, действующие на боковую поверхность сваи и направленные вертикально вниз, причиной появление которых является оседание грунта. Отрицательную (негативную) силу трения оттаивающего грунта по боковой поверхности сваи рекомендуется определять по формуле
|
|
(8.1) |
где up - периметр поперечного сечения сваи, м;
fn,i - отрицательное трение i-го слоя оттаивающего грунта по боковой поверхности сваи, кПа, определяемое по опытным данным; расчетные значения fn,i принимать в соответствии с разделом 7 СП 24.13330.2011;
hi - толщина i-го слоя оттаивающего грунта.
Пример 8.1. Проектом для башни предусмотрен свайный фундамент с монолитными железобетонными ростверками, устраиваемыми по оголовкам сплошных железобетонных забивных свай сечением 30×30 см, и длиной 8 м. Размеры ростверка в плане составляют 1,8×1,8 м, толщина - 1,1 м. Наибольшее значение выдергивающей нагрузки на свайный фундамент составляет 52,47 тс (~13 тс на одну сваю), наибольшее значение вдавливающей нагрузки на свайный фундамент составляет 57,8 тс (~14 тс на одну сваю) при наиболее неблагоприятном воздействии ветровой нагрузки. Вес конструкций башни составляет 11,48 тс, вес ростверка - 8,45 тс. По данным инженерно-геологических изысканий грунты сезонного промерзания - среднепучинистые. Требуется проверить свайный фундамент по устойчивости на воздействие сил морозного пучения грунтов.
Устойчивость свайных фундаментов на действие касательных сил морозного пучения грунтов проверяется по условию
|
|
где τfh - расчетная удельная касательная сила пучения, кПа (рисунок 8.1);
Afh - площадь боковой поверхности смерзания сваи в пределах расчетной глубины сезонного промерзания-оттаивания грунта, м2, (рисунок 8.1);
F - расчетная нагрузка на сваю, кН, принимаемая с коэффициентом 0,9 по наиболее невыгодному сочетанию нагрузок и воздействий, включая выдергивающие (ветровые, крановые и т.п.); вес башни с ростверком F = 199,3 кН;
γс - коэффициент условий работы, принимаемый равный 1,0;
γk - коэффициент надежности, принимаемый равный 1,1;
Frf - расчетное значение силы, удерживающей сваю от выпучивания вследствие трения его боковой поверхности о талый грунт, лежащий ниже расчетной глубины промерзания, кН, (рисунок 8.1) определяется по формуле (8.3).
|
|
(8.3) |
где u - периметр сечения поверхности сдвига, м, принимаемый равный периметру сечения сваи или ростверка, м, (рисунок 8.1);
fi - расчетное сопротивление i-го слоя талого грунта сдвигу по поверхности сваи, кПа, (рисунок 8.1);
hi - толщина i-го слоя талого грунта, расположенного ниже подошвы слоя промерзания-оттаивания, м, (рисунок 8.1).
Рисунок 8.1 - Расчетная схема
Проверяем устойчивость свайного фундамента на действие касательных сил морозного пучения грунтов
![]()
605 > 428.
Таким образом, условие устойчивости свайного фундамента на действие сил морозного пучения грунтов (8.2) не выполняется, поэтому необходимо предусматривать мероприятия по предотвращению выпучивания фундамента башни.
8.4.1 При устройстве и эксплуатации фундаментов глубокого заложения и ограждающих конструкций котлована на пучинистых грунтах следует учитывать силы морозного пучения действующие при промерзании грунтов.
8.4.2 Подпорные стены, стены ограждения котлованов и стены подземных частей сооружений, открытые и закрытые неотапливаемые тоннели, шахты и другие сооружения подвергаются действию сил морозного пучения при промерзании грунта за ними. Промораживание грунтов вызывается естественными понижениями температуры и искусственным промораживанием грунтов.
8.4.3 В расчетах устойчивости стен ограждающих конструкций и фундаментов глубокого заложения следует учитывать дополнительное давление морозного пучения грунта.
8.4.4 При расчете анкерных и распорных систем должно быть учтено усилие, вызываемое силами морозного пучения грунта.
8.4.5 При устройстве ограждающих конструкций котлована и строительстве фундаментов глубокого заложения в зимнее время при превышении деформаций стен и фундаментов от действия давления пучения следует предусматривать мероприятия по снижению глубины (неоднородности) промерзания, увеличению жесткости конструкций и др.
8.4.6 Эксплуатируемые открытые стены и тоннели должны быть изолированы от промерзания пучинистого грунта.
8.4.7 Значение нормального давления морозного пучения следует определять опытным путем в полевых и лабораторных условиях.
9.1.1 При строительстве на пучинистых грунтах в зимнее время на малонагруженные, неотапливаемые и законсервированные здания, подземные и заглубленные сооружения, линейные сооружения и коммуникации (трубопроводы, ЛЭП, дороги, аэродромы, линии связи) действуют усилия, вызванные морозным пучением.
9.1.2 Если устойчивость сооружения, рассчитываемая на действие сил морозного пучения, не компенсируется нагрузкой от сооружения, а деформации пучения или осадки при промерзании-оттаивании превышают предельно допустимые значения деформаций, необходимо применять противопучинстые мероприятия.
9.1.3 Для разработки эффективной инженерной защиты от морозного (криогенного) пучения необходимы следующие данные:
- гранулометрический и минеральный состав грунтов;
- плотность грунтов;
- водно-физические свойства грунтов (предзимняя влажность, влажность пределов пластичности, полная влагоемкость, коэффициент фильтрации, высота капиллярного поднятия);
- деформационные свойства грунтов;
- теплофизические свойства грунтов (теплоемкость, теплопроводность);
- уровень подземных вод;
- глубина сезонного промерзания-оттаивания;
- климатические данные: среднемесячная температура воздуха в зимний период, продолжительность зимнего периода, высота и плотность снежного покрова;
- нагрузки от сооружения.
9.1.4 Противопучинистые мероприятия подразделяют на:
- инженерно-мелиоративные (тепломелиорация и гидромелиорация);
- конструктивные;
- физико-химические (гидрофобизация грунтов, добавки полимеров, засоление и др.);
- комбинированные.
9.2.1 Тепломелиорация направлена на уменьшение глубины промерзания грунта возле фундамента, повышение его температуры и снижение интенсивности пучения. Тепломелиоративные мероприятия сводятся к созданию в грунте, в период промерзания, температурного градиента горизонтального или вертикального направления и заключаются в теплоизоляции фундамента или прокладке вблизи фундамента по наружному периметру подземных коммуникаций или греющего кабеля, выделяющих в грунт тепло.
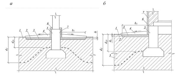
9.2.2 Теплоизоляцию фундаментов с помощью теплоизоляционных материалов (пенополиуретан, керамзит, экструдированный пенополистирол и др.), (рисунок 9.1), подразделяют на:
- горизонтальную (под подошвой фундамента (ростверка) и/или за контуром сооружения);
- вертикальную (теплоизоляция вертикальных граней фундаментов и стен подвалов и ограждений);
- термолокализаторы (слой теплоизоляции, укладываемый на поверхность грунта вокруг фундамента, если он состоит из одиночных опор или несет конструкции неотапливаемого сооружения).

а, в, г - неотапливаемые здания; б - отапливаемые
здания,
д - ограждающая конструкция котлована
1 - мерзлый грунт; 2 - уплотненный непучинистый
грунт; 3 - горизонтальная теплоизоляция;
4 - отмостка; 5 - фундамент; 6 - защитный слой; 7 -
вертикальная теплоизоляция;
8 - стена в грунте; 9 - песчано-гравийная смесь.
Рисунок 9.1 - Теплоизоляция фундаментов
9.2.3 Перед укладкой теплоизоляции поверхность грунта у фундамента следует тщательно утрамбовать и спланировать с уклоном 3 % - 5 % в сторону от фундамента. Для отвода поверхностных вод от фундамента грунт и слой теплоизоляции целесообразно покрыть гидроизоляционным материалом с достаточной воздухопроводностью во избежание образования конденсата в грунте. Ширина покрытия грунта теплоизоляционным материалом должна превышать ширину обратной засыпки пазух фундамента.
9.2.4 При несовпадении плоскости стены отапливаемого здания с плоскостью внешней вертикальной поверхности фундамента необходимо предусматривать мероприятия по недопущению возникновения «мостиков холода», например предусмотреть излом вертикальной изоляции в месте сопряжения плоскостей как на рисунке 9.2.

Рисунок 9.2 - Схема укладки теплоизоляционных плит
для устранения «мостиков холода»
9.2.5 При возведении зданий на ленточных фундаментах предпочтительнее применять обогрев грунта у фундаментов по наружному периметру сооружения, используя:
- системы центрального отопления (применяется обратная линия труб теплоносителя, укладываемая на расстоянии 10 - 30 см от фундамента или в теле фундамента - рисунок 9.3 а) и б);
- электрообогрев (прокладка электрических кабелей - рисунок 9.3 в);
- калориферные установки.

а - прокладка труб отопления в фундаментах; б -
прокладка труб отопления возле фундамента;
в - прокладка греющего кабеля
1 - фундамент; 2 - трубы отопления; 3 - греющий кабель; 4 - мерзлый грунт; 5 - отмостка
Рисунок 9.3 - Обогрев грунта
При применении электрообогрева ток через кабель пропускается только при охлаждении окружающего грунта до значения температуры 0 °С. Глубина подошвы фундамента следует задавать из расчета, что греющий кабель включается только в самые суровые зимы (раз в 5 - 10 лет).
Сечение трубопровода или электрокабеля, количество труб и их расположение у фундамента определяются теплотехническим расчетом на основании климатических условий района строительства.
При обогреве грунта теплый воздух от калорифера или от системы вытяжной вентиляции рекомендуется продувать через горизонтальные полости внутри ленточного фундамента, таким образом, воздух выполняет функцию теплоизоляции, предотвращая охлаждение грунтов через подошву фундамента.
При строительстве в суровых климатических условиях глубина заложения трубопровода не должна быть более 0,5 м. В районах распространения ММГ обогрев грунта основания следует применять в случае, если здание возводится по принципу II использования ММГ.
9.2.6 Гидромелиоративные мероприятия сводятся к понижению уровня подземных вод, осушению грунтов в пределах слоя сезонного промерзания и предохранению их от насыщения поверхности атмосферными и производственными водами.
Проектирование гидромелиоративных мероприятий следует выполнять в соответствии с СП 104.13330 в виде:
- открытых и закрытых дренажных систем (лотки, траншеи, канавы, трубы);
- дренажей (мелкого и глубокого заложения);
- глубинного водопонижения (иглофильтры и др.);
- отмосток (бетонных и асфальтобетонных).
9.2.7 При устройстве дренажных сооружений вместо пучинистых грунтов следует укладывать средне- или крупнозернистый песок вдоль водоотводных каналов (дрен). Пески должны быть однородного гранулометрического состава. Песчаные дренирующие засыпки, устраиваемые у фундаментов, предусматривают не только отвод воды от фундамента, но и предохранение его от смерзания с пучинистым грунтом. Виды дренажных систем у фундаментов приведены на рисунке 9.4.

а - водоотвод ниже глубины сезонного промерзания; б
- то же, при наличии слоя теплоизоляции;
в - осушение грунта у фундамента с помощью дренажных скважин.
1 - фундамент; 2 - теплоизоляция; 3 -
мерзлый грунт; 4 - отмостка; 5 - дренирующий слой грунта;
6 - дренажная труба; 7 - водоотводная труба
Рисунок 9.4 - Виды дренажных сооружений у фундаментов
9.2.8 Отметки заложения водоотводных каналов и закрытых лотков определяются глубиной, на которую должен быть осушен грунт, а также условиями отвода подземных вод в систему сточно-ливневой канализации или в другие спускные сооружения и водоемы. При возможном соблюдении условий водоотвода каналы следует закладывать ниже глубины сезонного промерзания грунта. При заложении каналов в слое промерзающего грунта необходимо предусматривать теплоизоляцию песчаных пазух дренажа, смотровых колодцев, а также водоотводных каналов и труб при расположении их выпусков на пологих склонах местности.
9.2.9 При наличии в грунтах водопроницаемых слоев (средне- и крупнозернистые пески, гравий, галечник и т.п.) и безнапорных подземных вод осушение основания возможно посредством устройства вокруг фундаментов песчаных локализаторов, соединенных дренажными скважинами с водопроницаемым слоем грунта.
9.2.10 На начальном этапе строительства для предохранения грунтов основания от насыщения атмосферными и производственными водами следует планировать территорию с учетом необходимых уклонов для стока поверхностных вод, а также устраивать отмостки, предохраняющие от скопления этих вод у фундаментов. Устраиваемые вокруг здания отмостки должны перекрывать перекопанный грунт, уложенный при обратной засыпке пазух фундаментов.
9.2.11 Открытые водосборные и водоотводные лотки и замощенные канавы следует устраивать от здания (сооружения) на расстоянии, не допускающем влияния водоотводных сооружений на промерзание грунта.
9.2.12 При укладке подземных коммуникаций (водопровод, канализация) необходимо выполнять надежное соединение труб, чтобы исключить местное увлажнение грунтов.
9.3.1 Конструктивные противопучинные мероприятия следует применять для повышения эффективной работы конструкций фундаментов и сооружений в пучинистых грунтах, а именно:
- для снижения усилий, выпучивающих фундамент;
- для анкеровки фундаментов в талых и мерзлых грунтах;
- для увеличения жесткости стен ограждающих конструкций;
- для приспособления фундаментов и надземной части сооружения к неравномерным деформациям пучения.
9.3.2 Для снижения касательных сил пучения следует:
- проектировать сооружения на столбчатых и свайных фундаментах;
- уменьшать число отдельно стоящих опор фундаментов с целью увеличения нагрузки на каждую опору;
- уменьшать поперечное сечение столбчатых фундаментов и свай в пределах промерзающего слоя;
- устраивать у железобетонных фундаментов наклонные боковые грани (до 2° - 3°) с уширением книзу, обеспечивающие увеличение сопротивления фундамента действию касательных сил пучения;
- применять для обмазки боковой поверхности фундаментов вязкие не смерзающиеся материалы и гидрофобные пропитки (смолы, мазут, деготь, нефть, битумные мастики, а также высокомолекулярные эпоксидные компаунды и кремнийорганические соединения);
- применять для наклеивания на боковые поверхности фундаментов полимерные пленки (рисунок 9.5 а);
- применять для заполнения пазух буроопускных свай в слое сезонного промерзания непучинистый грунт;
- уменьшать шероховатость боковой поверхности фундаментов (затирка и железнение железобетонных фундаментов, рисунки 9.5 б - д).

а - полимерные пленки; б - жесткие подвижные
оболочки; в - оболочки из колец;
г - резиновые кольца; д - сыпучий материал в водонепроницаемой
оболочке;
е - замена пучинистого грунта непучинистым
Рисунок 9.5 - Методы снижения сил морозного пучения
9.3.3 Для приспособления конструкций фундаментов и надземной части зданий к неравномерным деформациям морозного пучения рекомендуется применять:
- устройство в кирпичных стенах и фундаментах железобетонных поясов;
- устройство осадочных швов в сооружениях (для разделения частей сооружений с резко отличным тепловыделением у наружных стен, а также при большой протяженности сооружения, в этом случае осадочные швы назначаются через 18 - 20 м);
- фундаменты рамной конструкции или фундаментные железобетонные плиты;
- замену пучинистых грунтов и устройство под зданием (сооружением) сплошных подсыпок из непучинистых грунтов (крупный песок, гравий, щебень, рисунок 9.5 е);
- конструктивный зазор 15 см между планировочной отметкой поверхности грунта и выступающими над фундаментом несущими конструкциями сооружения.
9.4.1 Физико-химические противопучинистые мероприятия сводятся к специальной обработке грунта вяжущими стабилизирующими веществами (гидрофобизация грунтов) или насыщению грунта солевыми растворами (засоление грунтов).
9.4.2 Гидрофобизация грунтов проводится посредством обработки его экологически чистым веществом (полимером) при определенных гидротермических условиях, придающих ему водоотталкивающие свойства, варианты представлены на рисунке 9.6.

1 - фундамент; 2 - гидрофобный грунт; 3 - мерзлый грунт
Рисунок 9.6 - Устройство рубашки из гидрофобного грунта
9.4.3 Для предохранения сооружений от выпучивания вокруг фундаментов следует устраивать рубашку из гидрофобного грунта толщиной 0,15 - 0,25 м в зависимости от напора подземных вод в пределах слоя сезонного промерзания. Перед укладкой гидрофобного грунта поверхность фундамента рекомендуется дважды покрывать жидким вяжущим, после чего устанавливать вдоль фундамента опалубку. Гидрофобный грунт укладывать отдельными слоями толщиной 20 - 30 см с последующим уплотнением каждого слоя. Для повышения плотности сухую смесь необходимо перед укладкой увлажнять до оптимальной влажности.
9.4.4 Засоление грунтов относится к мероприятиям кратковременного действия (срок действия один-два года), если грунты не защищены от воздействия поверхностных и подземных вод. Наиболее пригодны для засоления грунты с малой водопропускной способностью. Из песчаных и супесчаных грунтов соли быстро вымываются.
9.4.5 При строительстве по принципу сохранения грунтов основания в мерзлом состоянии засоление грунтов деятельного слоя не рекомендуется во избежание нарушения температурного режима мерзлых грунтов основания.
9.4.6 Для засоления грунтов применяют хлористый натрий, кальций и магний. Хлористый натрий и кальций понижают температуру замерзания до минус 20 °С и ниже. Применение для сильноувлажненных грунтов солевых растворов вместо кристаллических безводных солей не рекомендуется во избежание быстрого вымывания введенных в грунт солей.
9.4.7 Работы по засолению грунтов у фундаментов могут производиться двумя методами, приведенными на рисунке 9.7:
- засолением грунта обратной засыпки до укладки его в пазухи котлована;
- устройством в незасоленных грунтах у фундамента шпуров, набиваемых кристаллической солью и в дальнейшем заливаемых насыщенным раствором той же соли.

а - засоление грунта обратной засыпки до укладки его в
пазухи котлована;
б - устройство в незасоленном грунте шпуров, набиваемых кристаллической
солью;
1 - фундамент; 2 - засоленный грунт; 3 - отмостка; 4 - мерзлый грунт
Рисунок 9.7 - Методы засоления грунта
9.4.8 Уложенный в пазухи засоленный грунт тщательно уплотняется, а его спланированная поверхность защищается гидроизоляцией (слоем жирной глины, тощего бетона и т.п.).
9.4.9 Для предохранения сооружений от выпучивания возможно введение в грунт добавки твердых высокомолекулярных соединений (полимеров), обладающих способностью обратимо деформироваться под действием многократно приложенной нагрузки или имеющих большие коэффициенты температурного расширения.
10.1 При строительстве на сильно- и чрезмернопучинистых грунтах, при эксплуатации сооружений с возможностью промерзания грунта в основании фундаментов, при промораживании грунтов за стенами ограждающих конструкций следует предусматривать проведение геотехнического мониторинга для обеспечения надежности и эффективности применяемых противопучинистых мероприятий. Наблюдения должны проводиться за свойствами, температурой и глубиной промерзания грунта, деформациями сооружений в предзимний, зимний и весенний периоды. Состав и режим наблюдений определяют в зависимости от сложности инженерно-геокриологических условий, типов применяемых фундаментов и потенциальной опасности процессов морозного пучения на осваиваемой территории.
10.2 В состав мониторинга входят следующие виды работ:
- наблюдения за глубиной промерзания-оттаивания в соответствии с ГОСТ 24847 и ГОСТ 26262;
- наблюдения за температурой грунта в основании сооружений в соответствии с ГОСТ 25358;
- наблюдения за деформациями фундаментов и ограждающих стен ГОСТ 24846;
- наблюдения за отклонением ограждающих стен ГОСТ 24846;
- наблюдения за гидрогеологическим режимом основания СП 11-105-97 (части I, IV).
10.3 Определять глубину промерзания следует с помощью мерзлотомера по ГОСТ 24847. Устраивать не менее двух мерзлотомеров на диагональных углах здания.
10.4 Температура грунтов определяется с помощью термометрического оборудования, устанавливаемого в термометрические скважины. Вблизи наружных фундаментов устраивается по две скважины на здание. Для оценки и контроля касательных сил морозного пучения с помощью измеренных температур грунтов скважин, определяется глубина промерзания-оттаивания грунта, и уточняются силы смерзания грунта с фундаментом. Измерения выполняются не менее трех раз в год: в начале и конце зимнего периода и в конце оттаивания грунтов.
10.5 Гидрогеологические наблюдения ведутся по гидрогеологическим скважинам в начале зимнего и весеннего периода. Рекомендуется устраивать не менее одной скважины на здание. Измерения выполняют не менее двух раз в год: в начале и конце зимнего периода.
10.6 Деформации здания измеряются нивелированием по II классу при помощи геодезических марок, устанавливаемых на цоколе здания с шагом 10 - 15 м и по обе стороны температурного шва. Измерения ведутся ежемесячно. В результате измерений определяется значение поднятия (пучения) и осадки (оттаивания).
Физические и теплофизические характеристики многолетнемерзлых грунтов
А.1 Расчетные значения физических и теплофизических характеристик грунтов допускается принимать по таблицам и формулам приложения А для расчета оснований сооружений 1 и 2 геотехнических категорий по ГОСТ 27751 с габаритными размерами не более 24 м, при условии:
- расположения сооружений на геокриологически изученных площадках, сложенных незасоленными грунтами без органических включений;
- отсутствия опасных геокриологических процессов на территории строительства;
- использования многолетнемерзлых грунтов в качестве основания сооружений по принципу I;
- выполнения предварительных расчетов оснований и привязки типовых проектов к местным условиям.
А.2 Суммарная влажность мерзлого грунта wtot и влажность мерзлого грунта, расположенного между ледяными включениями wm, определяются в соответствии с ГОСТ 5180.
А.3 Суммарная льдистость мерзлого грунта itot, льдистость мерзлого грунта за счет включений льда ii и степень заполнения объема пор мерзлого грунта льдом и незамерзшей водой Sr рассчитываются в соответствии с ГОСТ 25100.
А.4 Температура начала замерзания грунта Tbf характеризует температуру перехода грунта из талого в мерзлое состояние. Температуру начала замерзания незасоленных, засоленных и заторфованных грунтов следует определять опытным путем. Однако в случаях, предусмотренных в А.1, температуру начала замерзания незасоленных и засоленных грунтов допускается принимать в зависимости от вида грунта по формуле:
|
|
(A.1) |
где А - коэффициент, характеризующий температуру начала замерзания незасоленного грунта, принимать по таблице А.1;
В - коэффициент, зависящий от типа засоления грунта:
0 - для незасоленных грунтов;
1 - для грунтов морского типа засоления;
0,85 - для грунтов с континентальным типом засоления.
Cps - концентрации порового раствора, доли единицы, допускается определять по формуле
|
Cps = Dsal/(Dsal + 40w), |
где Dsal - степень засоленности грунта определяется по ГОСТ 25100;
w - влажность засоленного грунта, принимаемая для грунтов с льдистостью itot ≤ 0,4 равной wtot, а с itot > 0,4 равной wm.
Таблица А.1 - Температура начала замерзания незасоленного грунта А
|
Разновидность грунтов |
A, °C |
|
Пески разных фракций |
-0,10 |
|
Супеси и пылеватые пески |
-0,15 |
|
Суглинок |
-0,20 |
|
Глины |
-0,25 |
Значение Tbf для заторфованных грунтов следует выбирать по значению температуры начала замерзания того компонента (торфяного или минерального), у которого она выше. Значения Tbf для торфа приведены в таблице А.2.
Таблица А.2 - Расчетные значения температуры начала замерзания Tbf для торфа
|
Тип торфа |
Wtot, д.е. |
Tbf, °С |
|
Слаборазложившийся верховой |
7,30 |
-0,14 |
|
5,90 |
-0,16 |
|
|
3,27 |
-0,25 |
|
|
1,64 |
-0,35 |
|
|
Среднеразложившийся верховой |
3,50 |
-0,13 |
|
0,90 |
-0,20 |
А.5 Влажность незасоленного, засоленного и заторфованного мерзлого грунта за счет незамерзшей воды ww определяется опытным путем. В случаях, предусмотренных в А.1, для незасоленного и засоленного грунтов, находящихся в охлажденном состоянии, когда температура грунта выше температуры начала замерзания (0 °С > Т > Tbf), значение ww принимается для грунтов с льдистостью itot ≤ 0,4 равным wtot, а с itot > 0,4 равным wm.
А.5.1 Для незасоленного и засоленного мерзлого грунта значения ww допускается определять по формуле (А.3) при условии, что температура грунта ниже или равна температуре начала замерзания (Т ≤ Tbf), которую определяют по формуле (А.1). При этом если значение ww превысит значение wtot, тогда ww = wtot.
|
ww = kwwp + ηDsal, |
(А.3) |
где kw - коэффициент, принимаемый по таблице А.3;
wp - влажность грунта на границе пластичности (раскатывания), д.е.;
η - коэффициент, принимаемый:
0 - для незасоленных грунтов;
по таблице А.4 - для засоленных грунтов;
значению η при Т = -15 °С - для температур Т < -15 °С.
Dsal - степень засоленности грунта, д.е.
Таблица А.3 - Расчетные значения коэффициента kw
|
Разновидность грунтов |
Число пластичности Ip, д.е. |
Коэффициент kw при температуре грунта T, °С |
|||||||||
|
-0,3 |
-0,5 |
-1 |
-2 |
-3 |
-4 |
-6 |
-8 |
-10 |
-15 |
||
|
Пески |
- |
0 |
0 |
0 |
0 |
0 |
0 |
0 |
0 |
0 |
0 |
|
Супеси |
Ip ≤ 0,02 |
||||||||||
|
0,02 < Ip ≤ 0,07 |
0,60 |
0,50 |
0,40 |
0,35 |
0,32 |
0,30 |
0,27 |
0,26 |
0,25 |
0,23 |
|
|
Суглинки |
0,07 < Ip ≤ 0,13 |
0,70 |
0,65 |
0,58 |
0,50 |
0,46 |
0,44 |
0,42 |
0,41 |
0,40 |
0,38 |
|
0,13 < Ip ≤ 0,17 |
0,80 |
0,75 |
0,65 |
0,55 |
0,51 |
0,49 |
0,47 |
0,46 |
0,45 |
0,43 |
|
|
Глины |
Ip > 0,17 |
0,98 |
0,92 |
0,80 |
0,68 |
0,63 |
0,60 |
0,57 |
0,56 |
0,55 |
0,53 |
Таблица А.4 - Расчетные значения коэффициента η
|
Разновидность грунтов |
Число пластичности Ip, д.е. |
Значение коэффициента ц при температуре грунта T, °С |
|||||||||
|
-0,3 |
-0,5 |
-1 |
-2 |
-3 |
-4 |
-6 |
-8 |
-10 |
-15 |
||
|
Пески и супеси |
Ip ≤ 0,02 |
210 |
160 |
75 |
34 |
20 |
14 |
9 |
6,5 |
5 |
4 |
|
Супеси |
0,02 < Ip ≤ 0,07 |
150 |
130 |
57 |
24 |
15 |
11 |
7 |
5 |
4,5 |
3,5 |
|
Суглинки |
0,07 < Ip ≤ 0,13 |
130 |
103 |
44 |
19 |
11 |
8 |
5,5 |
4 |
3,2 |
2,3 |
|
Суглинки, глины |
0,13 < Ip |
102 |
70 |
34 |
17 |
9,5 |
6,5 |
4 |
3 |
2,5 |
2 |
А.5.2 Расчетные значения ww для торфа и заторфованных грунтов, находящихся в охлажденном состоянии, когда температура грунта выше температуры начала замерзания (0 °С > Т > Tbf), принимаются для грунтов льдистостью itot ≤ 0,4 равными wtot, а с itot > 0,4 равными wm.
А.5.3 Для мерзлых заторфованных грунтов и торфа значения ww допускается определять по формуле (А.4) в зависимости от степени заторфованности J (д.е.) и температуры Т, при условии, что температура грунта ниже или равна температуре начала замерзания (Т ≤ Tbf):
|
|
(A.4) |
где Ψ - параметр, зависящий от объемной степени заторфованности J, принимается по таблице А.5.
Таблица А.5 - Расчетные значения коэффициента Ψ
|
Тип грунта |
Ψ, град4 |
|
Торф |
1,6 |
|
Супесчаные заторфованные грунты |
1,67J - 0,1 |
|
Суглинистые заторфованные грунты |
1,6J |
А.6 Теплофизические характеристики грунтов: коэффициент теплопроводности λ, объемная теплоемкость С и коэффициент температуропроводности а определяются опытным путем.
А.7 В случаях, предусмотренных в А.1, значения объемной теплоемкости засоленных и незасоленных грунтов в талом или охлажденном Cth состоянии рассчитывать по А.7.1, а в мерзлом Сf состоянии допускается рассчитывать по А.7.2 и А.7.3.
А.7.1 Для незасоленных грунтов, находящихся в талом состоянии, и для засоленных грунтов в охлажденном состоянии, когда температура грунта выше температуры начала замерзания (Т > Tbf), значение Сth находится по формуле
|
Cth = (Сρ + Cwwtot)ρd,th, |
где Сρ - удельная теплоемкость скелета грунтов, Дж/(кг·°С), принимается по таблице А.6;
Cw - температурная и концентрационная зависимость удельной теплоемкости незамерзшей воды, Дж/(кг·°С), определяемая:
- 4200 Дж/(кг·°С) - для незасоленных грунтов и торфа;
- (Cwt - 4550Сps) - для засоленных грунтов в охлажденном состоянии (0 °С > Т > Tbf). Удельная теплоемкость порового раствора Cwt, Дж/(кг·°С), определяется по таблице А.7; Cps - см. формулу (А.2).
wtot - суммарная влажность мерзлого грунта;
ρd,th - плотность талого грунта в сухом состоянии (плотность скелета грунта).
Таблица А.6 - Расчетные значения удельной теплоемкости скелета грунтов Сρ
|
Разновидность грунтов |
Песок |
Супесь |
Глина и суглинок |
Торф |
|
|
низинный |
верховой |
||||
|
Сρ, Дж/(кг·°С) |
750 |
850 |
950 |
1920 |
1680 |
Таблица А.7 - Расчетные значения температурной зависимости удельной теплоемкости порового раствора Cwt
|
T, °C |
Cwt, Дж/(кг·°С) |
T, °C |
Cwt, Дж/(кг·°С) |
T, °C |
Cwt, Дж/(кг·°С) |
|
0,0 |
4210 |
-2,8 |
3890 |
-13,0 |
3510 |
|
-0,2 |
4150 |
-3,2 |
3860 |
-14,0 |
3490 |
|
-0,4 |
4110 |
-3,6 |
3840 |
-15,0 |
3470 |
|
-0,6 |
4060 |
-4,0 |
3820 |
-16,0 |
3450 |
|
-0,8 |
4030 |
-5,2 |
3800 |
-17,0 |
3440 |
|
-1,0 |
4010 |
-6,0 |
3700 |
-18,0 |
3430 |
|
-1,2 |
3990 |
-6,8 |
3670 |
-19,0 |
3410 |
|
-1,4 |
3970 |
-8,0 |
3630 |
-20,0 |
3400 |
|
-1,6 |
3950 |
-8,8 |
3600 |
-21,0 |
3390 |
|
-1,8 |
3930 |
-10,0 |
3570 |
-22,0 |
3380 |
|
-2,0 |
3920 |
-11,0 |
3550 |
|
|
|
-2,4 |
3900 |
-12,0 |
3520 |
|
|
А.7.2 Для незасоленных грунтов и торфа в мерзлом состоянии при условии, что температура грунта ниже или равна температуре начала замерзания (T ≤ Tbf), значение Сf находится по формуле
|
Cf = (Сρ + Cwww + Ci(wtot - ww))ρd,f, |
где Сρ и wtot - см. формулу (А.5);
Cw - температурная и концентрационная зависимость удельной теплоемкости незамерзшей воды, принимаемая равной 4200 Дж/(кг·°С);
ww - влажность за счет незамерзшей воды, рассчитывая по А.5.1;
Ci - температурная и концентрационная зависимость удельной теплоемкости льда, определяемая по формуле
|
Ci = 2120 + 7,8·T. |
где Т - температура грунта.
ρd,f - плотность мерзлого грунта в сухом состоянии (плотность скелета грунта).
А.7.3 Для засоленных грунтов в мерзлом состоянии при условии, что температура грунта ниже или равна температуре начала замерзания (T ≤ Tbf), значение Сf находится по формуле
|
Cf = (Сρ + Cwww + Ci(wtot - ww))ρd,f, |
(A.8) |
где Cρww и wtot - см. формулу (A.5);
Ci и ρd,f - см. формулу (A.7);
Cw - температурная и концентрационная зависимость удельной теплоемкости незамерзшей воды, определяемая из выражения (Cwt - 4550Cps).
А.8 Значения объемной теплоемкости заторфованных грунтов в талом или охлажденном состоянии Cth допускается рассчитывать по А.8.1, а в мерзлом Cf состоянии - по А.8.2.
А.8.1 Для заторфованных грунтов, находящихся в талом и охлажденном состоянии, когда температура грунта выше температуры начала замерзания (Т > Тbf), значение Cth находится по формуле
|
Cth = (Сρм(1 - G) + CρgG + Cwwtot)ρd,th, |
где Сρм - удельная теплоемкость минеральной составляющей органо-минерального скелета грунта, определяемая по таблице А.6;
G - весовая (массовая) доля торфа в заторфованном грунте;
Cρg - удельной теплоемкости торфяной составляющей органо-минерального скелета грунта, определяемой по таблице А.5;
Cw, wtot и ρd,th - см. формулу (А.5).
А.8.2 Для заторфованных грунтов, находящихся в мерзлом состоянии, когда температура грунта ниже или равна температуре начала замерзания (Т ≤ Тbf), значение Сf находится по формуле
|
Cf = (Сρм(1 - G) + CρgG + Cwww + Ci(wtot - ww)ρd,f, |
(A.10) |
где Сρм, G и Cρg - см. формулу (A.9);
ww - влажность за счет незамерзшей воды, рассчитывая по А.5.3;
Ci - см. формулу (А.7);
Cw, wtot и ρd,f - см. формулу (А.6).
А.9 В случаях, предусмотренных в А.1, значение коэффициента теплопроводности незасоленных, засоленных и заторфованных грунтов в талом λth и мерзлом λfm (для диапазона температур ниже T ≤ -15 °С) состоянии приведены в таблице А.8, в зависимости от влажности Wtot, плотности сухого грунта рd,th,f и степени засоленности согласно ГОСТ 25100.
Для определения значения λf незасоленных и засоленных грунтов в мерзлом состоянии в диапазоне температур Тbf ≥ Т > Тm, где Тт = -15 °С можно использовать формулу
|
λf = λf - (λf - λth)(ww(T) - ww(Tm))/(wtot - ww(Tm)), |
(A.11) |
где λth и λf - нормативные значения коэффициентов теплопроводности грунта в талом λth и мерзлом λf состоянии, определяемые по таблице А.8;
ww(T) и ww(Tm) - влажности за счет незамерзшей воды, определяемые по формуле (А.3) для незасоленных грунтов при η = 0;
Tbf - температура начала замерзания грунта, определяемая по формуле (А.1) для незасоленных грунтов при В = 0.
А.9 В случаях, предусмотренных в А.1 значение коэффициента температуропроводности а, м2/с, для незасоленных, засоленных и заторфованных грунтов находится по формуле
|
a = λ/Сρ, |
(А.12) |
где значения коэффициентов теплопроводности λ и объемной теплоемкости Сρ находятся в соответствии с А.6 - А.8.
А.10 Значение объемной теплоты замерзания (таяния) грунта Lv, Дж/м3, принимается равным количеству теплоты, необходимому для замерзания воды (таяния льда) в единице объема грунта и определяется по формуле
|
Lv = L0(wtot - ww)ρd,th,f, |
(А.13) |
где L0 - значение удельной теплоты фазовых превращений вода-лед, равной 3,35·105 Дж/кг;
ww для незасоленных, засоленных и заторфованных грунтов определяется в соответствии с А.5 при условии Тbf ≥ Т, где Тbf определяется в соответствии с А.4.
Таблица А.8 - Нормативные значения коэффициентов теплопроводности грунта в талом λth и мерзлом λf
|
Плотность сухого грунта ρd,th, ρdf, г/см3 |
Суммарная влажность грунта, Wtot, д.е. |
Коэффициент теплопроводности грунтов λ, Вт/(м °С) |
||||||||||||||||
|
Пески разной плотности |
Супеси пылеватые |
Суглинки и глины |
Заторфованные грунты |
|||||||||||||||
|
Степень засоленности |
Степень засоленности |
Степень засоленности |
||||||||||||||||
|
Незасоленные |
Слабозасоленные |
Среднезасоленные |
Сильнозасоленные |
Незасоленные |
Слабозасоленные |
Среднезасоленные |
Сильнозасоленные |
Незасоленные |
Слабозасоленные |
Среднезасоленные |
Сильнозасоленные |
|||||||
|
λth |
λf |
λf |
λf |
λf |
λth |
λf |
λf |
λf |
λf |
λth |
λf |
λf |
λf |
λf |
λth |
λf |
||
|
0,1 |
9,0 |
- |
|
|
|
|
- |
|
|
|
|
- |
|
|
|
|
0,81 |
1,34 |
|
0,1 |
6,0 |
- |
- |
- |
- |
- |
- |
- |
- |
- |
- |
- |
- |
- |
- |
- |
0,40 |
0,70 |
|
0,1 |
4,0 |
- |
- |
- |
- |
- |
- |
- |
- |
- |
- |
~ |
- |
- |
- |
- |
0,23 |
0,41 |
|
0,1 |
2,0 |
- |
- |
- |
- |
- |
- |
- |
- |
- |
- |
~ |
- |
- |
- |
- |
0,12 |
0,23 |
|
0,2 |
4,0 |
- |
- |
- |
- |
- |
- |
- |
- |
- |
- |
- |
- |
- |
- |
- |
0,81 |
1,33 |
|
0,2 |
2,0 |
- |
- |
- |
- |
- |
- |
- |
- |
- |
- |
- |
- |
- |
- |
- |
0,23 |
0,52 |
|
0,3 |
3,0 |
- |
- |
- |
- |
- |
- |
- |
- |
- |
- |
- |
- |
- |
- |
- |
0,93 |
1,39 |
|
0,3 |
2,0 |
- |
- |
- |
- |
- |
- |
- |
- |
- |
- |
- |
- |
- |
- |
- |
0,41 |
0,70 |
|
0,4 |
2,0 |
- |
- |
- |
- |
- |
- |
2,16 |
- |
- |
- |
- |
2,10 |
- |
- |
- |
0,93 |
1,39 |
|
0,7 |
1,0 |
- |
- |
- |
|
- |
- |
2,14 |
- |
- |
- |
- |
2,00 |
- |
- |
- |
- |
- |
|
1,0 |
0,60 |
- |
- |
- |
|
- |
- |
2,10 |
- |
- |
- |
- |
1,90 |
- |
- |
- |
- |
- |
|
1,2 |
0,40 |
- |
- |
- |
- |
- |
- |
2,02 |
- |
- |
- |
1,57 |
1,80 |
- |
- |
- |
- |
- |
|
1,4 |
0,35 |
- |
- |
- |
- |
- |
1,80 |
2,00 |
- |
- |
- |
1,57 |
1,76 |
1,68 |
1,65 |
1,59 |
- |
- |
|
1,4 |
0,30 |
- |
- |
- |
- |
- |
1,74 |
1,98 |
1,95 |
1,91 |
1,88 |
1,45 |
1,65 |
1,59 |
1,56 |
1,50 |
- |
- |
|
1,4 |
0,25 |
1,91 |
2,48 |
2,37 |
2,21 |
2,08 |
1,57 |
1,84 |
1,81 |
1,78 |
1,73 |
1,33 |
1,58 |
1,50 |
1,46 |
1,36 |
- |
- |
|
1,4 |
0,20 |
1,57 |
2,09 |
2,00 |
1,90 |
1,82 |
1,33 |
1,63 |
1,58 |
1,53 |
1,48 |
1,10 |
1,31 |
1,23 |
1,20 |
1,10 |
- |
- |
|
1,4 |
0,15 |
1,39 |
1,83 |
1,75 |
1,65 |
1,58 |
1,10 |
1,35 |
1,30 |
1,25 |
1,20 |
0,87 |
0,99 |
0,94 |
0,92 |
0,87 |
- |
|
|
1,4 |
0,10 |
1,10 |
1,35 |
1,30 |
1,25 |
1,21 |
0,93 |
1,09 |
1,06 |
1,03 |
0,99 |
0,70 |
0,77 |
0,75 |
0,73 |
0,71 |
- |
- |
|
1,4 |
0,05 |
0,75 |
0,84 |
0,82 |
0,80 |
0,77 |
0,64 |
0,73 |
0,71 |
0,69 |
0,67 |
0,46 |
0,48 |
0,43* |
0,41* |
0,40* |
- |
- |
|
1,6 |
0,30 |
- |
- |
- |
- |
- |
- |
- |
- |
- |
- |
1,68 |
1,94 |
1,80 |
1,74 |
1,65 |
- |
- |
|
1,6 |
0,25 |
2,50 |
2,92 |
2,86 |
2,78 |
2,70 |
1,80 |
2,00 |
1,96 |
1,92 |
1,88 |
1,51 |
1,75 |
1,68 |
1,62 |
1,49 |
- |
- |
|
1,6 |
0,20 |
2,15 |
2,50 |
2,43 |
2,36 |
2,30 |
1,62 |
1,78 |
1,75 |
1,71 |
1,67 |
1,33 |
1,56 |
1,46 |
1,41 |
1,30 |
- |
- |
|
1,6 |
0,15 |
1,80 |
2,10 |
2,03 |
1,96 |
1,90 |
1,45 |
1,60 |
1,56 |
1,52 |
1,49 |
1,10 |
1,23 |
1,17 |
1,15 |
1,08 |
- |
- |
|
1,6 |
0,10 |
1,45 |
1,68 |
1,62 |
1,56 |
1,50 |
1,16 |
1,29 |
1,26 |
1,22 |
1,19 |
0,87 |
0,97 |
0,92 |
0,90 |
0,86 |
- |
- |
|
1,6 |
0,05 |
1,05 |
1,16 |
1,10 |
1,08, |
1,05 |
0,81 |
0,87 |
0,85 |
0,84 |
0,82 |
0,58 |
0,60 |
0,56* |
0,55* |
0,53* |
- |
- |
|
1,8 |
0,20 |
2,67 |
3,05 |
2,92 |
2,80 |
2,69 |
1,86 |
2,05 |
2,00 |
1,94 |
1,88 |
1,57 |
1,86 |
1,70 |
1,61 |
1,48 |
- |
- |
|
1,8 |
0,15 |
2,26 |
2,75 |
2,63 |
2,52 |
2,44 |
1,68 |
1,83 |
1,79 |
1,74 |
1,70 |
1,39 |
1,60 |
1,47 |
1,40 |
1,36 |
- |
- |
|
1,8 |
0,10 |
1,97 |
2,30 |
2,23 |
2,17 |
2,10 |
1,45 |
1,59 |
1,55 |
1,51 |
1,47 |
1,06 |
1,26 |
1,14 |
1,09 |
1,02 |
- |
- |
|
1,8 |
0,05 |
1,45 |
1,56 |
1,52 |
1,48 |
1,45 |
0,98 |
0,99 |
0,98 |
0,98 |
0,97 |
0,70 |
0,75 |
0,69* |
0,68* |
0,65* |
- |
- |
|
2,0 |
0,10 |
- |
- |
- |
- |
- |
- |
- |
- |
- |
- |
1,28 |
1,46 |
1,35 |
1,30 |
1,25 |
- |
- |
Предельные деформации основания фундаментов объектов нового строительства
Таблица Б.1
|
Наименования зданий и сооружений |
Относительная разность осадок (Δs/L)u. |
Максимальный
|
|
1 Производственные и гражданские одноэтажные и многоэтажные здания с полным каркасом: |
|
|
|
железобетонным |
0,001 |
2,5 |
|
то же, с устройством железобетонных поясов или монолитных перекрытий, а также здания монолитной конструкции |
0,0015 |
3,75 |
|
стальным |
0,002 |
3,75 |
|
то же, с устройством железобетонных поясов или монолитных перекрытий |
0,0025 |
4,5 |
|
2 Здания и сооружения, в конструкциях которых не возникают усилия от неравномерных осадок |
0,003 |
5 |
|
3 Многоэтажные бескаркасные здания с несущими стенами из: |
|
|
|
крупных панелей |
0,0008 |
3 |
|
крупных блоков или кирпичной кладки без армирования |
0,001 |
3 |
|
то же, с армированием, в том числе с устройством железобетонных поясов или монолитных перекрытий, а также здания монолитной конструкции |
0,0012 |
4,5 |
|
4 Сооружения элеваторов из железобетонных конструкций: |
|
|
|
рабочее здание и силосный корпус монолитной конструкции на одной фундаментной плите |
- |
10 |
|
то же, сборной конструкции |
- |
7,5 |
|
отдельно стоящий силосный корпус монолитной конструкции |
- |
10 |
|
то же, сборной конструкции |
- |
7,5 |
|
5 Дымовые трубы высотой Н, м: |
|
|
|
Н ≤ 100 |
- |
10 |
|
100 < Н ≤ 200 |
- |
7,5 |
|
200 < Н ≤ 300 |
- |
5 |
|
Н > 300 |
- |
2,5 |
|
6 Жесткие сооружения высотой до 100 м, кроме указанных в пунктах 4 и 5 настоящей таблицы |
- |
5 |
|
7 Антенные сооружения связи: |
|
|
|
стволы мачт заземленные |
- |
5 |
|
то же, электрически изолированные |
- |
2,5 |
|
башни радио |
0,001 |
- |
|
башни коротковолновых радиостанций |
0,00125 |
- |
|
башни (отдельные блоки) |
0,0005 |
- |
|
8 Опоры воздушных линий электропередачи: |
|
|
|
промежуточные прямые |
0,0015 |
- |
|
анкерные и анкерно-угловые, |
0,00125 |
- |
|
промежуточные угловые, концевые, порталы открытых распределительных устройств специальные переходные |
0,001 |
- |
|
Примечания: 1. Значение предельного максимального
подъема основания фундаментов И Т.П.). 2. Значения предельного среднего подъема
3. При определении относительной разности осадок (Δs/L)u в пункте 8 настоящей таблицы за L принимают расстояние между осями блоков фундаментов в направлении горизонтальных нагрузок, а в опорах с оттяжками - расстояние между осями сжатого фундамента и анкера. 4. Если основание сложено горизонтальными (с уклоном не более 0,1), выдержанными по толщине слоями грунтов, предельные значения максимальных и средних осадок допускается увеличивать на 20 %. 5. На основе обобщения опыта проектирования, строительства и эксплуатации отдельных видов сооружений допускается принимать предельные значения деформаций (относительная разность осадок, максимальный и средний подъем) основания фундаментов, отличающиеся от указанных в настоящем приложении. |
||
Рисунок В.1 - Глубина оттаивания песчаных грунтов, м
Рисунок В.2 - Глубина оттаивания глинистых грунтов, м