Изменение № 5 ГОСТ 7006-72 Покровы защитные кабелей. Конструкция и типы, технические требования и методы испытаний
Принято Евразийским советом по стандартизации, метрологии и сертификации (протокол № 22 от 06.11.2002)
Зарегистрировано Бюро но стандартам МГС № 4291
За принятие изменения проголосовали национальные органы по стандартизации следующих государств: AM, BY, KZ, KG, MD, RU, TJ, TM [коды альфа-2 по МК (ИСО 3166) 004]
Пункт 2.8 изложить в новой редакции:
«2.8. Кабельная пряжа и кабельная бумага должны быть предварительно пропитаны антисептическим составом АС-2, содержание которого в пропитанной пряже и кабельной бумаге должно быть не менее 4 %».
Пункт 2.18. Второй абзац. Заменить ссылку: ГОСТ 905-78 на ОСТ 17-05-047-2001;
седьмой абзац. Заменить слова: «нафтенат меди - ГОСТ 9549-80» на «антисептический состав АС-2 - ТУ 2416-007-05773103-98»;
восьмой абзац. Заменить слова: «бумага крепированная для защитных покровов - ГОСТ 10396-84» на «бумага кабельная крепированная марки БКК - ТУ 5456-004-05773103-98».
Пункт 4.8 изложить в новой редакции:
«4.8. Содержание антисептического состава АС-2 (п. 2.8) в кабельной пряже и кабельной бумаге определяют после их предварительной пропитки методом потенциометрического титрования экстрагента, полученного из образцов пропитанной пряжи или бумаги по следующей методике.
Образец кабельной пряжи или бумаги разрезают на отрезки или полоски соответственно длиной 50 - 60 мм или шириной 3 - 5 мм. Затем отбирают навеску пряжи или бумаги в количестве 4 - 5 г. взвешенную с погрешностью не более 0,0002 г на лабораторных весах по ГОСТ 24104-2001.
При экстрагировании применяют бензол по ГОСТ 5955-75.
Для экстрагирования используют экстракционный аппарате объемом колбы не более 200 мл и емкостью сборника не более 85 мл.
Экстрагирование проводят до получения чистого бензола. Бензол из насадки не должен попасть в колбу с экстрагентом.
Количество экстрагента в колбе не должно превышать 30 мл. После проведения экстрагирования полученный экстракт остужают до комнатной температуры и добавляют равное по объему количество этилового спирта.
Титрование приготовленных проб проводят 1,0 н. спиртовым раствором соляной кислоты.
Для измерения потенциала используют потенциометр или рН-метр любого типа с ценой деления не более 5 мВ, чувствительностью не ниже 2 мВ и диапазоном измерения не менее 500 мВ.
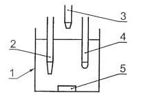
Схема устройства для титрования представлена на черт. 1.

1 - стеклянный стакан; 2 - электрод сравнения; 3 - бюретка;
4 - стеклянный электрод; 5 - мешалка
Черт. 1
Для титрования применяют бюретку емкостью 2 - 10 мл с иеной деления не более 0,1 мл.
Титрование проводят следующим образом.
В стакан для титрования наливают приготовленный экстракт. Стакан устанавливают на магнитную мешалку и помешают в пего электроды. Включают мешалку.
Бюретку заполняют 1,0 н. спиртовым раствором соляной кислоты и помещают в штатив так, чтобы конец бюретки находился на расстоянии 20 - 25 мм от поверхности титруемого раствора. Отмечают начальный уровень раствора в бюретке и начальное показание потенциометра, затем прибавляют небольшими порциями (по 0,1 мл) 1,0 н. спиртовой раствор соляной кислоты. После добавления каждой порции соляной кислоты фиксируют показания потенциометра. Титрование заканчивают, когда потенциал после добавления 0,2 мл соляной кислоты изменяется менее, чем на 5 мВ.
Вычерчивают кривую титрования, откладывая на оси ординат показания потенциометра Е в милливольтах, а на оси абсцисс - объем добавленного раствора V в миллилитрах. За точку эквивалентности принимают точку перегиба кривой титрования.
На черт. 2 представлен характерный вид кривой титрования.

Черт. 2
Содержание антисептика А, в процентах, в пряже или бумаге определяют по формуле
%,
где
- количество 1,0 н.
спиртового раствора соляной кислоты, идущего на титрование навески пряжи или
бумаги, мл;
0,53 - количество Na2СО3, г, соответствующее количеству в мл точно 1,0 н. спиртового раствора соляной кислоты, идущего yа титрование 1 г антисептика (соответствует показателю «общая щелочность» антисептика АС-2, равному 10 %);
М - навеска пряжи или бумаги, г.
Содержание антисептика определяют как среднее значение по трем измерениям».
(ИУС № 9 2003 г.)