Изменение № 3 к СП 39.13330.2012
«СНиП 2.06.05-84* Плотины из грунтовых материалов»
Утверждено и введено в действие Приказом Министерства строительства и жилищно-коммунального хозяйства Российской Федерации (Минстрой России) от 24 января 2019 г. № 41/пр
Дата введения - 2019-07-25
Содержание
Дополнить наименованиями приложений С и Т в следующей редакции:
«Приложение С Классификация геосинтетических материалов
Приложение Т Методика лабораторных испытаний модели «вода - геосинтетический материал - грунтовый материал».».
2 Нормативные ссылки
Изложить раздел в новой редакции:
«2 Нормативные ссылки
В настоящем своде правил применены нормативные ссылки на следующие документы:
ГОСТ 8.423-81 Государственная система обеспечения единства измерений. Секундомеры технические. Методы и средства поверки
ГОСТ 17.1.3.13-86 Охрана природы. Гидросфера. Общие требования к охране поверхностных вод от загрязнения
ГОСТ 427-75 Линейки измерительные металлические. Технические условия
ГОСТ 1770-74 (ИСО 1042-83, ИСО 4788-80) Посуда мерная лабораторная стеклянная. Цилиндры, мензурки, колбы, пробирки. Общие технические условия
ГОСТ 5180-2015 Грунты. Методы лабораторного определения физических характеристик
ГОСТ 12071-2014 Грунты. Отбор, упаковка, транспортирование и хранение образцов
ГОСТ 12536-2014 Грунты. Методы лабораторного определения гранулометрического (зернового) и микроагрегатного состава
ГОСТ 19185-73 Гидротехника. Основные понятия. Термины и определения
ГОСТ 20522-2012 Грунты. Методы статистической обработки результатов испытаний
ГОСТ 25100-2011 Грунты. Классификация
ГОСТ 25584-2016 Грунты. Методы лабораторного определения коэффициента фильтрации
ГОСТ 28498-90 Термометры жидкостные стеклянные. Общие технические требования. Методы испытаний
ГОСТ 30416-2012 Грунты. Лабораторные испытания. Общие положения
ГОСТ EN 1928-2011 Материалы кровельные и гидроизоляционные гибкие битумосодержащие и полимерные (термопластичные или эластомерные). Метод определения водонепроницаемости
ГОСТ EN 13416-2011 Материалы кровельные и гидроизоляционные гибкие битумосодержащие и полимерные (термопластичные или эластомерные). Правила отбора образцов
ГОСТ ISO 9862-2014 Материалы геосинтетические. Порядок отбора и подготовки образцов для испытаний
ГОСТ Р 51268-99 Ножницы. Общие технические условия
ГОСТ Р 52608-2006 Материалы геотекстильные. Методы определения водопроницаемости
ГОСТ Р 53225-2008 Материалы геотекстильные. Термины и определения
ГОСТ Р 53228-2008 Весы неавтоматического действия. Часть 1. Метрологические и технические требования. Испытания
ГОСТ Р ИСО 10320-2014 Материалы геотекстильные и относящиеся к ним изделия. Идентификация на месте
СП 23.13330.2018 «СНиП 2.02.02-85* Основания гидротехнических сооружений»
СП 38.13330.2018 «СНиП 2.06.04-82* Нагрузки и воздействия на гидротехнические сооружения (волновые, ледовые и от судов)»
СП 58.13330.2012 «СНиП 33-01-2003 Гидротехнические сооружения. Основные положения» (с изменением № 1)
СанПин 2.1.4.1074-01 Питьевая вода. Гигиенические требования к качеству воды централизованных систем питьевого водоснабжения. Контроль качества
Примечание - При пользовании настоящим сводом правил целесообразно проверить действие ссылочных документов в информационной системе общего пользования - на официальном сайте федерального органа исполнительной власти в сфере стандартизации в сети Интернет или по ежегодному информационному указателю «Национальные стандарты», который опубликован по состоянию на 1 января текущего года, и по выпускам ежемесячного информационного указателя «Национальные стандарты» за текущий год. Если заменен ссылочный документ, на который дана недатированная ссылка, то рекомендуется использовать действующую версию этого документа с учетом всех внесенных в данную версию изменений. Если заменен ссылочный документ, на который дана датированная ссылка, то рекомендуется использовать версию этого документа с указанным выше годом утверждения (принятия). Если после утверждения настоящего свода правил в ссылочный документ, на который дана датированная ссылка, внесено изменение, затрагивающее положение, на которое дана ссылка, то это положение рекомендуется применять без учета данного изменения. Если ссылочный документ отменен без замены, то положение, в котором дана ссылка на него, рекомендуется применять в части, не затрагивающей эту ссылку. Сведения о действии сводов правил целесообразно проверить в Федеральном информационном фонде стандартов.».
3 Термины и определения
Изложить раздел в следующей редакции:
«3 Термины и определения
В настоящем своде правил применены термины по ГОСТ 19185, СП 23.13330 и СП 58.13330, а также следующие термины с соответствующими определениями:
3.1
грунт: Любые горные породы, почвы, осадки и техногенные образования, рассматриваемые как многокомпонентные динамичные системы и часть геологической среды и изучаемые в связи с инженерно-хозяйственной деятельностью человека.
[ГОСТ 25100-2011, статья 3.8]
3.2
геосинтетика: Материал, в котором как минимум один компонент изготовлен из синтетического полимера в виде полотна, лент или трехмерной структуры, используемый в контакте с грунтом (почвой) и (или) другими строительными материалами для создания дополнительных слоев (прослоек) различного назначения (армирующих, защитных, фильтрующих, дренирующих, гидроизолирующих, теплоизолирующих) в транспортном, трубопроводном строительстве и гидротехнических сооружениях.
[ГОСТ Р 53225-2008, статья 3.2.1]
3.3
геотекстильный материал (геотекстиль): Плоский водопроницаемый синтетический или натуральный текстильный материал (нетканый, тканый или трикотажный), используемый в контакте с грунтом и (или) другими материалами в транспортном, трубопроводном строительстве и гидротехнических сооружениях.
[ГОСТ Р 53225-2008, статья 3.2.2]
3.4
геомембрана: Непроницаемый полимерный материал, предназначенный для уменьшения или предотвращения прохода потока воды и (или) жидкости сквозь его структуру.
[ГОСТ Р 53225-2008, статья 3.2.7]
3.5 форшахта: Вспомогательная конструкция, используемая в качестве кондуктора при устройстве свай.».
4 Общие положения
Раздел дополнить пунктом 4.20 в следующей редакции:
«4.20 Проектирование грунтовых плотин и дамб с элементами, включающими геосинтетические материалы (ГСМ) (геотекстиль, георешетки, геомембраны и др.), должно быть обосновано результатами расчетных, лабораторных и полевых исследований.
Заявленные производителем технические характеристики ГСМ должны подтверждаться результатами испытаний.
Расчетные характеристики ГСМ должны быть определены:
- путем лабораторных испытаний;
- на физических моделях элементов конструкций грунтовых гидротехнических сооружений (ГТС) при моделировании проектных нагрузок, действующих на расположенный между слоями грунтового материала ГСМ;
- на опытных полигонах для испытаний элементов конструкций грунтовых ГТС и технологических операций по укладке ГСМ в конструкцию при нагрузках, максимально приближенных к строительным и эксплуатационным, предусмотренным проектом.
Расчетные характеристики ГСМ для ГТС III, IV классов допускается принимать по объектам-аналогам.
Расчет конструкций с элементами ГСМ должен выполняться с учетом требований, предъявляемых к расчету соответствующего элемента плотины, и раздела 9.».
5 Земляные насыпные плотины
Пункт 5.16. Изложить в новой редакции:
«5.16 Для защиты верхового откоса, как правило, необходимо принимать следующие виды креплений:
- каменные (насыпные);
- бетонные монолитные, железобетонные сборные и монолитные с обычной и предварительно напряженной арматурой;
- асфальтобетонные;
- биологические;
- с габионовыми конструкциями;
- грунтоцементные, из камня, залитого литым асфальтом, и др.
При наличии данных, обоснованных исследованиями или опытом строительства и эксплуатации плотин, допускается применять и другие виды креплений верховых откосов, например гравийно-галечниковые, из защитных и армирующих геосинтетических материалов и др.».
Пункт 5.38. Первый абзац. Изложить в новой редакции:
«5.38 Противофильтрационные устройства (ПФУ) следует выполнять из слабопроницаемых грунтов (глинистых и мелкозернистых песчаных, глиноцементобетона (ГЦБ), глинобетона, а также торфа) или негрунтовых материалов (бетона, железобетона, стали, полимерных, битумных материалов и др.) в виде верховой или центральной противофильтрационной призмы, экрана, диафрагмы, ядра, понура, шпунта, стенки, в том числе и создаваемой методом «стена в грунте», цементационной и других завес, а при соответствующем обосновании - в виде комбинированной конструкции из грунтовых и негрунтовых материалов, что позволяет возводить сооружения без создания перемычек.».
Пункт 5.51 Дополнить пунктами 5.51а - 5.51к в следующей редакции:
«5.51а Противофильтрационное устройство из глиноцементобетонных буросекущихся свай в виде «стены в грунте» следует выполнять из ГЦБ с заданными по условиям строительства и работы физико-механическими и фильтрационными свойствами.
5.51б Подбор количественного состава глиноцементобетонной смеси следует выполнять в соответствии с заданными требованиями по прочности на сжатие, модулю деформации, фильтрационно-суффозионным характеристикам материала, температуре массива грунта и гидрохимическому составу воды, с учетом времени года возведения сооружения (летний, осенний, зимний периоды).
Состав ГЦБ, его технологические параметры и способ приготовления должны быть обоснованы с учетом исходных материалов, способа производства работ, наличия в районе строительства грунтовых материалов, которые могут быть применены при возведении противофильтрационного элемента, климатических, инженерно-геологических и других местных условий.
5.51в Противофильтрационное устройство из ГЦБ буросекущихся свай может выполняться одним ярусом с промежуточной отметки отсыпки на гребневой части плотины или в два или несколько ярусов плотины в случае выделения промежуточных пусковых профилей плотины, при этом на промежуточной отметке гребня пускового профиля плотины должна быть предусмотрена форшахта из ГЦБ. Конструкция сопряжения тела плотины с основанием, берегами и примыкающими бетонными сооружениями должна исключать возможность фильтрационных деформаций грунтов тела плотины и основания, обеспечивать статическую устойчивость сооружения и минимизировать фильтрационные потери из водохранилища.
5.51г Работы по возведению стены в грунте следует выполнять при отсутствии напора на центральную песчаную призму плотины.
5.51д Для обеспечения самозалечивания возможных трещин в ПФУ следует предусмотреть отсыпку песчаного грунта в зоне бурения скважин «стены в грунте».
Толщина залечивающего слоя перед противофильтрационным элементом должна быть не менее 2,5 - 3,0 м, чтобы обеспечивать качественное уплотнение кольматирующего материала и проходку через него буросекущихся свай. В береговых примыканиях, в примыканиях к бетонным сооружениям габариты залечивающего слоя рекомендуется увеличивать.
5.51е При возведении стены в грунте в теле плотины из ГЦБ буросекущихся свай допустимое отклонение оси скважин от вертикали должно быть не более 0,2 %.
5.51ж При выполнении ПФУ в теле плотины точность бурения достигается использованием буровых станков, у которых есть возможность поворота обсадной колонны при ее погружении в грунт на 360°, - секции обсадной колонны задавливаются с поворотом буровой машиной в грунт тела плотины.
Контроль и корректировка вертикального положения обсадной колонны должны выполняться через каждый метр проходки до глубины 12 м от поверхности форшахты.
Задавливание обсадной колонны проводится до тех пор, пока это позволяет грунт. В зависимости от состояния и категории грунта разработка его внутри обсадной колонны проводится шнековым буром или ковшебуром. При проходке скважин в грунтах с естественной влажностью ножевая коронка обсадной трубы должна быть всегда глубже шнекового бура не менее чем на 0,5 м, а при проходке влажных или водоносных грунтов ножевая секция обсадной колонны все время должна быть глубже шнекового бура на 0,8 - 1,0 м.
5.51и На площадке строительства необходимо предусматривать устройство опытного полигона для исследования влияния длительных внешних воздействий на свойства глиноцементобетонного материала, уложенного в ПФУ.
Местоположение опытного полигона определяется так, чтобы после постановки плотины под напор опытные глиноцементобетонные сваи можно было вскрыть на возможно большую глубину, не подвергая угрозе безопасность плотины. Сваи опытного полигона заливаются одновременно со сваями русловой плотины для обеспечения идентичных условий их формирования.
Продолжительность исследований определяется возрастом ГЦБ опытных свай, оптимальный возраст свай для проведения исследований находится в интервале от 28 до 120 сут.
5.51к Контроль состояния ПФУ из ГЦБ буросекущихся свай следует выполнять с использованием методов контроля, приведенных в таблице За, которые позволяют оценить его фильтрационную прочность. Мониторинг фильтрационного состояния ПФУ грунтовой плотины выполняется с учетом приложений Б и Н.
Таблица 3а - Система мониторинга фильтрационного состояния грунтовой плотины с ПФУ выполненным методом «стена в грунте» из глиноцементобетонных буросекущихся свай
|
Метод контроля |
Измеряемый параметр |
Решаемая задача |
Примечание |
|
Расходометрия |
Расход воды |
Определение местоположения протечки в ПФУ по фронту и количества фильтрующейся воды |
Устройство возможно только в процессе возведения грунтовой плотины |
|
Оптоволоконная термометрия |
Температура окружающей среды |
Определение местоположения протечки в ПФУ и количества фильтрующейся воды |
То же |
|
Геофизический метод - наведенное поле |
Электрическое сопротивление |
Определение местоположения протечки в ПФУ |
Применяется как с устройством постоянной оборудованной сети электродов и наблюдательных скважин, так и по временной схеме |
|
Геофизический метод - сейсмометрия |
Скорость прохождения сейсмической волны |
Определение протечки в ПФУ |
Специального оснащения ГТС не требуется |
Дополнить свод правил приложениями С и Т в следующей редакции:
«Приложение С
«Классификация геосинтетических материалов»
Геосинтетический материал (ГСМ) - изделие из синтетических или природных полимеров или неорганических веществ, контактирующее с грунтом и (или) другими материалами, применяемое в строительстве и предназначенное для выполнения различных геотехнических функций.
ГСМ включают следующие виды материалов: геомат, геомембрана, георешетка, геосетка, геотекстиль, геосотовый материал, геополоса, глиномат, геокомпозит и т.д.
ГСМ могут выполнять следующие функции в конструкции ГТС:
- армирование - усиление конструкций плотин из грунтовых материалов, их оснований и элементов конструкций для повышения их устойчивости;
- дренирование - сбор и перенос осадков, грунтовых и профильтровавшихся вод в теле, полостях и порах геосинтетического материала;
- защита - предохранение поверхности объекта от возможных повреждений;
- борьба с эрозией поверхности - предотвращение или ограничение перемещения грунта или других частиц по надводным поверхностям плотин из грунтовых материалов;
- разделение - предотвращение взаимного проникания частиц материалов смежных слоев элементов конструкций плотин из грунтовых материалов;
- фильтрация - пропускание жидкости в структуру материала или сквозь нее с одновременным сдерживанием грунтовых и подобных им частиц;
- гидроизоляция - предотвращение или ограничение перемещения жидкостей через ПФУ плотин из грунтовых материалов и других напорных ГТС.
Пределы применимости ГСМ и конструктивные решения узлов ГТС с использованием ГСМ определяются с учетом 4.20.
В общем виде классификация ГСМ по группам, типам, классам и видам с учетом потребности ГТС по целевому функциональному назначению приведена в таблице С.1.
Таблица С.1 - Классификация геосинтетических материалов
|
Геосинтетические материалы |
|||||||||||||
|
Группы |
|||||||||||||
|
Водопроницаемые |
Водонепроницаемые |
||||||||||||
|
Типы |
|||||||||||||
|
Геотекстиль |
Геопластмассы |
Геокомпозиты |
Геопластмассы |
Геокомпозиты |
|||||||||
|
Классы |
|||||||||||||
|
Тканый |
Вязаный |
Нетканый |
Экструдированные |
Дискретно-упрочненные |
Непрерывно-упрочненные |
Экструдированные |
Непрерывно-упрочненные |
Дискретно-упрочненные |
|||||
|
Виды |
|||||||||||||
|
Геополотна |
Геополотна |
Геополотна |
Георешетки |
Биоматы |
Геополосы |
Геомембраны экструдированные [линейный полиэтилен низкой плотности (ЛПЭНП) и полиэтилен высокой плотности (ПЭВП)] |
Геомембраны композиционные |
Глиноматы |
|||||
|
Геоматы |
Геоматы |
Геоматы |
Геосетки |
||||||||||
|
Геоматы |
|||||||||||||
|
Геосотовый материал |
|||||||||||||
|
Геоплиты |
|||||||||||||
|
Функциональные особенности ГСМ |
|||||||||||||
|
Армирование |
Разделение |
Фильтрация |
Дренирование |
Защита от эрозии |
Гидроизоляция |
Защита |
|||||||
|
Геотекстиль тканый |
Геотекстиль тканый |
Геотекстиль вязаный |
Геотекстиль нетканый |
Геотекстиль нетканый |
Геомембрана |
Геотекстиль тканый |
|||||||
|
Геотекстиль вязаный |
Геотекстиль вязаный |
Геотекстиль нетканый |
Геомат |
Геомат |
Геомембраны композиционные |
Геотекстиль вязаный |
|||||||
|
Георешетка |
Геотекстиль нетканый |
Биомат |
Глиноматы |
Геотекстиль нетканый |
|||||||||
|
Геосетка |
Георешетка |
||||||||||||
|
Геокомпозит |
Геосетка |
||||||||||||
|
Геокомпозит |
|||||||||||||
Приложение Т
Методика лабораторных испытаний модели «вода - геосинтетический материал - грунтовый материал»
Т.1 Методика предназначена для лабораторных испытаний конструкций грунтовых ГТС, содержащих геосинтетические материалы, обладающие фильтрационными (геотекстиль: конструкции обратных фильтров) и противофильтрационными (геомембрана: конструкции призмы, понура, диафрагмы, экрана) свойствами.
Сущность метода заключается в моделировании фильтрационных процессов, протекающих в конструкции грунтового ГТС, включающей грунт и ГСМ (геотекстиль, геомембрана), при вертикальном (восходящем/нисходящем) направлении потока воды с возможностью определения фильтрационно-суффозионных характеристик элемента конструкции ГТС (коэффициент фильтрации, водопроницаемость, суффозионная устойчивость - вынос частиц грунта через поры геотекстиля, заиление геотекстиля, контактный размыв на границе геомембрана/грунт).
Т.2 Использование полимерных (синтетических) материалов в конструкции ПФУ, а также необходимость обоснования применения негрунтовых материалов (например, геотекстиля) для устройства обратных фильтров предусмотрены настоящим сводом правил.
Т.3 Обоснование возможности проектирования ПФУ с использованием ГСМ проводится на основании технико-экономических показателей с учетом расчетных характеристик грунтовых материалов и проектных требований к конструкции (тип ПФУ; направление фильтрации; требования к водонепроницаемости, прочностным и деформационным характеристикам элемента).
Т.4 Обоснование возможности замены одного или нескольких слоев проектируемого обратного фильтра на ГСМ проводится на основании технико-экономических расчетов с учетом расчетных характеристик грунтовых материалов и проектных требований к конструкции (направление фильтрации; удельный расход; суффозионная устойчивость).
Т.5 В испытаниях применяют несвязные грунты нарушенного сложения заданной плотности. Для проведения испытаний используют несвязные грунты, доставленные с площадки строительства ГТС, или используются грунты, аналогичные им по гранулометрическому составу и фильтрационно-суффозионным свойствам.
Максимальный размер крупнообломочных включений в песчаных грунтах должен быть не более 1/5 поперечного сечения прибора, используемого для проведения испытаний.
Отбор, упаковку, транспортирование образцов грунта следует проводить по ГОСТ 12071. Характеристики грунта определяют перед проведением испытаний по ГОСТ 25100, ГОСТ 30416, ГОСТ 12536, ГОСТ 5180. Статистическую обработку результатов определений характеристик физико-механических свойств грунтов проводят по ГОСТ 20522. Нормативные значения коэффициента фильтрации для каждого слоя грунта устанавливают методом статистической обработки результатов частных определений по ГОСТ 20522. Расчетные значения коэффициента фильтрации следует принимать равными нормативным.
Коэффициент фильтрации грунта определяется по ГОСТ 25584 при постоянном заданном или переменном градиенте напора с пропуском воды сверху вниз или снизу вверх при предварительном полном насыщении образца грунта водой снизу вверх.
Т.6 Порядок отбора и подготовки образцов ГСМ для испытаний установлен в ГОСТ ISO 9862.
Объединенный образец геотекстильных ГСМ, необходимый для получения единичных образцов для испытаний, вырезают из рулона по всей его ширине в направлении, перпендикулярном к продольному направлению изготовления - направлению длины. Идентификацию объединенного образца проводят в соответствии с ГОСТ Р ИСО 10320. До начала испытаний подготовленные единичные образцы хранят при температуре окружающей среды в сухом темном месте, защищенном от пыли, химического и физического воздействий. Форму и размер отбираемых для определения водопроницаемости проб принимают по ГОСТ Р 52608. Определение водопроницаемости/коэффициента фильтрации геотекстильных ГСМ проводят в соответствии с ГОСТ Р 52608 согласно руководству по эксплуатации применяемых приборов. При определении водопроницаемости в направлении, перпендикулярном к плоскости образца геотекстильных ГСМ, определяют коэффициент фильтрации, м/сут, и водопроницаемость, дм3/(м2 с).
Отбор проб гидроизоляционных полимерных материалов (геомембран) проводят в соответствии с ГОСТ EN 13416. Полосу материала отрезают по всей ширине полотна рулона такой длины, чтобы можно было вырубить образцы, необходимые для проведения испытаний всех видов.
Т.7 Для проведения лабораторных испытаний модели «вода - геосинтетический материал - грунтовый материал» следует применять вертикальные/горизонтальные фильтрационно-суффозионные приборы. Фильтрационные приборы могут быть напорные или безнапорные. Тип прибора, условия его работы (в том числе действующие нагрузки) определяют, исходя из проектных условий работы исследуемой модели. Допускается применение приборов, совмещающих возможность воздействия потока воды в разных направлениях.
Принципиальные схемы вертикальных фильтрационно-суффозионных приборов должны быть подобны прибору на рисунках Т.1 и Т.2, принципиальные схемы горизонтальных фильтрационно-суффозионных приборов - приборам на рисунках Т.3 и Т.4.

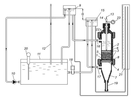
1 - образец геотекстиля; 2 - фильтрационная камера; 3
- сетка; 4 - неподвижная опорная решетка;
5 - образец несвязного грунта; 6 - подвижная (нагрузочная) решетка; 7 -
конический отстойник;
8 - болты для герметизации образца геосинтетического материала; 9 - бачок
верхнего бьефа;
10 - насос; 11 - емкость для воды; 12 - труба для наполнения водой емкости; 13
- устройство для
передачи нагрузки; 14 - датчик нагрузки; 15 - бачок нижнего бьефа; 16 - верхний
патрубок для
подачи/выпуска воды; 17 - нижний патрубок для подачи/выпуска воды; 18 -
расходомер;
19 - пескосборник; 20 - датчик измерения температуры воды в емкости; 21 -
трубчатые
пьезометры для измерения напора воды; 22 - приспособление (вантуз) для выпуска
воздуха; 23 - датчик линейных перемещений
Рисунок Т.1 - Схема вертикального фильтрационно-суффозионного
прибора для испытания модели «вода - геотекстиль - грунтовый
материал»
(при нисходящем направлении потока воды)

1 - образец геомембраны; 2 - 22 - см. рисунок Т.1
Рисунок Т.2 - Схема вертикального фильтрационно-суффозионного
прибора для испытания модели «вода -
геомембрана - грунтовый материал»
(при восходящем направлении потока воды)

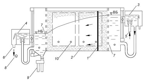
1 - образец геосинтетического материала
(горизонтальный вариант инсталляции в модели);
2 - образец несвязного грунта; 3 - бачок верхнего бьефа; 4 -
бачок нижнего бьефа;
5 - патрубок для подачи воды; 6 - патрубок для выпуска воды; 7 -
решетка; 8 - устройство
для передачи нагрузки; 9 - датчик нагрузки; 10 - расходомер; 11 -
пескосборник; 12 - точки
подключения трубчатых пьезометров для измерения напора воды; 13 - датчик
линейных перемещений
Рисунок Т.3 -
Схема напорного горизонтального фильтрационно-суффозионного
лотка для испытания модели «вода - ГСМ -
грунтовый материал»
(при горизонтальном направлении потока воды)

1 - образец геосинтетического материала
(вертикальный вариант инсталляции в модели);
2 - образец несвязного грунта; 3 - бачок верхнего бьефа; 4 -
бачок нижнего бьефа; 5 - патрубок
для подачи воды; 6 - патрубок для выпуска воды; 7 - решетка; 8 -
расходомер; 9 - пескосборник;
10 - точки подключения трубчатых пьезометров для измерения напора воды
Рисунок Т.4 - Схема безнапорного горизонтального
фильтрационно-суффозионного
лотка для испытания модели «вода - ГСМ - грунтовый материал»
(при горизонтальном направлении потока воды)
Т.8 В комплект оборудования для лабораторных испытаний модели «вода - геосинтетический материал - грунтовый материал» должны входить:
- фильтрационный прибор, подобный прибору по Т.7;
- весы лабораторные по ГОСТ Р 53228;
- термометр с погрешностью измерения не более 0,5 °С по ГОСТ 28498;
- линейка измерительная металлическая по ГОСТ 427;
- секундомер по ГОСТ 8.423;
- ножницы по ГОСТ Р 51268;
- шаблон для изготовления образца;
- цилиндр мерный по ГОСТ 1770.
T.9 Применяемые приборы и оборудование должны обеспечивать измерения с погрешностью не более:
0,2 °С -температура;
0,1 с - время;
1 мм - высота водяного столба (напор);
1 % - объем воды;
3 % - давление на образец;
1 % - толщина образца.
Т.10 Стандартные значения давления на образец и значения напора
Коэффициент фильтрации ГСМ оценивают при давлениях на пробу 2, 20, 100, 200 кПа или при давлении, соответствующем воздействующему на ГСМ в конкретной конструкции ГТС.
При каждом уровне давления на пробу коэффициент фильтрации оценивают при значениях напора 300, 100, 70, 50 мм или при значении напора, возникающего в конкретной конструкции ГТС.
Т.11 Стандартные требования к используемой воде
Температура воды должна быть от 18 до 22 °С. Воду применяют:
- подземную - из интервала отбора грунта, при этом обязательным является определение ее минерализации;
- питьевую - по СанПиН 2.1.4.1074 с добавлением веществ, снижающих гидрофобный эффект (арилалкил-сульфонат натрия в концентрации 0,1 % к объему);
- хозяйственно-питьевого назначения - с минерализацией не более 2 г/л, при этом она должна быть деаэрирована путем вакуумирования или кипячения (допускается отстаивание воды в течение не менее 1 сут);
- дистиллированную - в случаях, устанавливаемых программой исследований.
Т.12 Стандартные требования к температуре и влажности воздуха
Определение водопроницаемости элементов грунтовых сооружений с использованием ГСМ следует проводить при температуре от 18 до 22 °С и относительной влажности воздуха от 30 до 80 %.
Т.13 Порядок проведения испытаний модели элемента конструкции грунтового ГТС, включающей фильтрующий ГСМ (геотекстиль), при исследовании водопроницаемости/коэффициента фильтрации конструкции включает выполнение следующих операций:
- установочные исследования начальных характеристик используемых несвязных грунтов: фильтрационные исследования по ГОСТ 25584; расчетная/лабораторная оценка суффозионности;
- установочные исследования начальных характеристик фильтрующего ГСМ (геотекстиль): определение толщины образцов (в том числе при нагружении); определение водопроницаемости/коэффициента фильтрации по ГОСТ Р 52608 согласно руководству по эксплуатации применяемых приборов (в том числе при нагружении);
- проведение испытаний на фильтрационном приборе модели «вода - геотекстиль - грунтовый материал»;
- итоговые исследования образца после проведения испытаний в модели: определение остаточной водопроницаемости/коэффициента фильтрации по ГОСТ Р 52608 согласно руководству по эксплуатации применяемых приборов (в том числе при нагружении); определение количества грунта, закольматировавшего образец; оценка степени кольматажа образца геотекстиля;
- определение количества грунта, закольматировавшего образец фильтрующего ГСМ (геотекстиля), прошедшего испытания в составе модели элемента конструкции грунтового ГТС, проводится взвешиванием образца ГСМ, прошедшего испытания в составе модели элемента конструкции грунтового ГТС и высушенного до воздушно-сухого состояния, и его сравнением с весом образца, установленным до проведения испытаний;
- число испытаний на фильтрационном приборе модели «вода - геотекстиль - грунтовый материал» принимается в соответствии с ГОСТ Р 52608;
- испытания прекращаются при достижении среднего из пяти последних измерений значений времени фильтрации установленного объема воды, отличающихся не более чем на 5 %.
Т.14 Порядок проведения испытаний модели элемента конструкции грунтового ГТС, включающей противо-фильтрационный ГСМ (геомембрана), при исследовании фильтрационной прочности/контактной фильтрации конструкции включает выполнение следующих операций:
- установочные исследования начальных характеристик используемых грунтов: фильтрационные исследования по ГОСТ 25584; расчетная/лабораторная оценка суффозионности;
- испытание противофильтрационных ГСМ (геомембраны), предназначенных для эксплуатации в условиях низких давлений воды, с использованием устройства для определения водонепроницаемости при низких давлениях по ГОСТ EN 1928;
- испытание противофильтрационных ГСМ (геомембраны), предназначенных для эксплуатации в условиях высоких давлений воды, выполняют с использованием устройства для определения водонепроницаемости при высоких давлениях по ГОСТ EN 1928;
- проведение испытаний на фильтрационном приборе модели «вода - геомембрана - грунтовый материал»;
- испытание проводят на трех образцах ГСМ, если в нормативных или технических документах на материалы конкретных видов не указано иное число образцов;
- испытания прекращаются при резком изменении прилагаемой нагрузки (разрыве образца) или истечении нормативного периода проведения испытаний.
Т.15 Фильтрационные и суффозионные критерии возможности применения ГСМ в модели элемента конструкции грунтового ГТС, включающей фильтрационный ГСМ (геотекстиль) и противофильтрационный ГСМ (геомембрана), устанавливаются по результатам экспериментальных исследований.
Фильтрационные критерии возможности применения ГСМ в модели элемента конструкции грунтового ГТС, включающей фильтрационный ГСМ (геотекстиль), устанавливаются согласованием коэффициентов фильтрации материала грунтового ГТС и фильтрационного ГСМ (геотекстиля) различной плотности.
Суффозионные критерии возможности применения ГСМ в модели элемента конструкции грунтового ГТС, включающей фильтрационный ГСМ (геотекстиль), устанавливаются на основании суффозионности/несуффозионности материала грунтового ГТС и остаточной водопроницаемости фильтрационного ГСМ (геотекстиля) различной плотности.
Критерии фильтрационной прочности применения ГСМ в модели элемента конструкции грунтового ГТС, включающей противофильтрационный ГСМ (геомембрана), устанавливаются по результатам определения водонепроницаемости модели.
Критерии контактной фильтрации в модели элемента конструкции грунтового ГТС, включающей противофильтрационный ГСМ (геомембрана), устанавливаются на основании сравнения полученных значений коэффициента фильтрации модели элемента конструкции грунтового ГТС, включающей противофильтрационный ГСМ, и коэффициента фильтрации грунтового материала ГТС.
Оценка влияния глубины заложения конструкции грунтового ГТС, включающей фильтрационный ГСМ (геотекстиль), на изменение проницаемости ГСМ в модели элемента проводится по значению водопроницаемости фильтрационного ГСМ (геотекстиля) различной плотности, устанавливаемому по результатам испытаний с пошаговым приложением нагрузки, вплоть до значения, соответствующего фактической глубине заложения элемента конструкции грунтового ГТС, включающей фильтрационный ГСМ (геотекстиль).
Т.16 Испытания модели при исследовании водопроницаемости/коэффициента фильтрации модели элемента конструкции грунтового ГТС, включающей фильтрующий ГСМ (геотекстиль), в вертикальном фильтрационно-суффозионном приборе
Испытание в вертикальном фильтрационно-суффозионном приборе, показанном на рисунке Т.1, осуществляется следующим образом.
Проводят загрузку исследуемой модели в устройство: для этого образец геотекстиля 1 помещают в фильтрационную камеру 2, укладывая его на сетку 3, размещенную на неподвижной опорной решетке 4. Герметизируют соединение конического отстойника 7 и фильтрационной камеры 2 путем стяжки фланцевого соединения 8 с помощью болтов. Болты фланцевого соединения 8 обеспечивают равномерный зажим образца геотекстиля 1 по периметру. На поверхность образца геотекстиля 1 помещают образец несвязного грунта 5 с послойной его укладкой и трамбованием, на поверхность несвязного грунта 5 укладывают еще одну сетку 3 и устанавливают подвижную (нагрузочную) решетку 6.
Проведение исследования фильтрационно-суффозионных свойств модели проводится следующим образом. Воду в бачок верхнего бьефа 9 подают насосом 10 из емкости для воды 11, куда она поступает по трубе 12. В фильтрационную камеру 2 подают из бачка верхнего бьефа 9 воду с напором (H), соответствующим минимальному из применяемых в испытаниях. Выполняют нагружение модели устройством для передачи нагрузки 13, фиксируя нагрузку датчиком нагрузки 14. Перемещение подвижной (нагрузочной) решетки 6 фиксируется датчиком линейных перемещений 23. Фильтрационная камера 2 соединена с бачками 9 и 15 верхнего и нижнего бьефов через верхний 16 и нижний 17 патрубки. При проведении испытания при нисходящем направлении фильтрации бачок верхнего бьефа 9 подключается к верхнему патрубку 16, расположенному в верхней части фильтрационной камеры 2, а бачок нижнего бьефа 15 подключается к нижнему патрубку 17, расположенному в нижней части фильтрационной камеры 2. Частицы грунта, профильтровавшиеся через образец геотекстиля 1 при нисходящем направлении фильтрации, падают в пескосборник 19.
При исследованиях с восходящим направлением фильтрации бачок верхнего бьефа 9 подключается к нижнему патрубку 17, расположенному в нижней части фильтрационной камеры 2, а бачок нижнего бьефа 15 подключается к верхнему патрубку 16, расположенному в верхней части фильтрационной камеры 2. Вода, профильтровавшаяся через размещенную в приборе модель, состоящую из образца несвязного грунта 5 и образца геотекстиля 1, отводится через расходомер 18 в емкость для воды 11.
Температуру воды в емкости для воды 11 определяют по датчику измерения температуры воды 20, расход профильтровавшейся через комбинированный образец воды определяют по расходомеру 18, измерение напора в опыте проводят по трубчатым пьезометрам 21, подсоединенным к бачкам 9 и 15 верхнего и нижнего бьефов, нагрузку на грунт определяют по датчику нагрузки 14. Воздух из устройства выпускают через специально устроенное приспособление 22.
При окончании испытаний получают оценку коэффициента фильтрации, водопроницаемости и суффозионной устойчивости модели с учетом действующих значений нагрузок и воздействий в конструкциях различных элементов грунтовых ГТС.
Т.17 Испытание модели при исследовании фильтрационной прочности/контактной фильтрации элемента конструкции грунтового ГТС, включающей противофильтрационный ГСМ (геомембрана) в вертикальном фильтрационно-суффозионном приборе
Испытание в вертикальном фильтрационно-суффозионном приборе, показанном на рисунке Т.2, осуществляется следующим образом.
Загрузка исследуемой модели элемента конструкции в устройство выполняется аналогично Т.16, за исключением порядка размещения образца противофильтрационного ГСМ. На сетку 3, размещенную на неподвижной опорной решетке 4, насыпают слой грунта 5 (толщиной около 2 см) с послойным его уплотнением при насыщении водой снизу. Грунтовый материал, используемый в испытании, должен соответствовать требованиям, предъявляемым к грунтовому материалу, запроектированному в качестве защитных слоев/переходных зон противофильтрационного ГСМ. Образец геомембраны 1 прямоугольной формы устанавливается по центру фильтрационной камеры 2 прибора. Ширина образца геомембраны равна диаметру фильтрационной камеры 2 прибора. Толщина слоя грунта 5 между верхним торцом образца геомембраны и подвижной (нагрузочной) решеткой 6 составляет порядка 2 см. Между грунтом и подвижной (нагрузочной) решеткой 6 устанавливается сетка 3.
Подача воды, нагрузки на образец, определение температуры воды в емкости, определение расхода и напора осуществляются аналогично Т.16.
Значение контактной фильтрации в модели определяют сравнением полученных значений коэффициента фильтрации модели элемента конструкции грунтового ГТС, включающей противофильтрационный ГСМ, и коэффициента фильтрации грунтового материала.
Т.18 Определение водопроницаемости модели по результатам испытаний в вертикальном фильтрационно-суффозионном приборе
Определение водопроницаемости выполняют в следующем порядке:
- измеряют стабильный расход Q воды, профильтровавшейся через модель при некотором напоре Н;
- находят скорость фильтрации v = Q/ω, где ω - площадь сечения камеры прибора;
- по показаниям пьезометров вычисляют градиенты напора I;
- определяют коэффициент фильтрации K = v/I.
Т.19 Испытание модели при исследовании водопроницаемости/коэффициента фильтрации/ контактного размыва модели элемента конструкции грунтового ГТС, включающей фильтрующий или противофильтрационный ГСМ в горизонтальном фильтрационно-суффозионном лотке
Испытание в горизонтальном фильтрационно-суффозионном лотке, показанном на рисунке Т.3, осуществляется следующим образом.
Грунт 2 укладывается в лоток с послойным его уплотнением при насыщении водой.
Образец исследуемого ГСМ размещают в лотке вертикально/горизонтально/наклонно в зависимости от проектного положения ГСМ в модели элемента конструкции грунтового ГТС.
Напорный/безнапорный режим фильтрации и нагрузку выбирают в зависимости от проектных нагрузок на ГСМ в элементе конструкции грунтового ГТС. Плотность укладки грунта определяется требованиями к конструкции элемента ГТС.
Для испытаний на контактный размыв по контакту «грунт - ГСМ» ГСМ укладывают под слоем грунта или над ним (потолочный размыв). Испытания грунта на контактный размыв проводят после водонасыщения и полной его осадки под заданной нагрузкой, о чем судят по прекращению осадки поршня 8, регистрируемой установленными на нем датчиками линейного перемещения 13. Напор повышается ступенями. В процессе испытаний фиксируют наименьшее значение скорости и градиента напора фильтрационного потока, при которых возникает устойчивый размыв грунта. Об интенсивности размыва судят по увеличению количества выносимых потоком в пескосборник 11 частиц грунта и соответствующих смещениях размываемой поверхности грунта, о чем свидетельствует осадка поршня.
Т.20 Определение водопроницаемости модели по результатам испытаний в напорном/безнапорном
горизонтальном фильтрационно-суффозионном лотке
Испытание в горизонтальном фильтрационно-суффозионном лотке, показанном на рисунке Т.4, осуществляется следующим образом:
- после замачивания грунта и присоединения пьезометров приступают непосредственно к определению водопроницаемости модели, для чего измеряют по расходомеру или объемным способом стабильный расход воды Q, профильтровавшейся при заданном напоре через модель, и одновременно пьезометрические уровни верхнего и нижнего бьефов;
- понижая (ступенями) в процессе испытаний модели уровень нижнего бьефа в лотке и измеряя при этом стабильные расходы воды и одновременно пьезометрические уровни на границах отдельных участков, определяют средние значения коэффициента фильтрации грунта в пределах каждого из этих участков
![]()
где Q - расход воды;
ln - средняя длина участка (отсека);
В - ширина рабочей камеры лотка;
Тn - средняя высота отсека (ограниченная при безнапорном режиме фильтрации депрессионной поверхностью потока);
Δhn - изменение напора по длине отсека;
- коэффициент фильтрации всей испытуемой модели определяется по формуле
![]()
где Q - расход воды;
L - общая длина модели в лотке;
h1 и h2 - уровни воды в верхнем и нижнем бьефах лотка;
В - ширина рабочей камеры;
- итоговые исследования образца геотекстиля после проведения испытаний в модели: определение остаточной водопроницаемости/коэффициента фильтрации по ГОСТ Р 52608 согласно руководству по эксплуатации применяемых приборов (в том числе при нагружении); определение количества грунта, закольматировавшего образец; оценка степени кольматажа образца геотекстиля;
- определение количества грунта, закольматировавшего образец геотекстильного фильтрующего материала, прошедшего испытания в составе модели элемента конструкции грунтового ГТС, проводится взвешиванием образца ГСМ, прошедшего испытания в составе модели элемента конструкции грунтового ГТС и высушенного до воздушно-сухого состояния, и его сравнения с весом образца, установленным до проведения испытаний.
Т.21 При проведении экспериментальных исследований конструкции грунтового ГТС, включающей фильтрационный ГСМ (геотекстиль) или противофильтрационный ГСМ (геомембрана), оформляются следующие акты:
- акт отбора грунтового материала, контактирующего с фильтрационным или противофильтрационным ГСМ, по ГОСТ 12071;
- акт отбора объединенного образца фильтрационного ГСМ (геотекстиля) по ГОСТ ISO 9862;
- акт отбора объединенного образца противофильтрационного ГСМ (геомембраны) по ГОСТ EN 13416;
- акт отбора единичных образцов фильтрационного ГСМ (геотекстиля) по ГОСТ ISO 9862;
- акт отбора единичных образцов противофильтрационного ГСМ (геомембраны) по ГОСТ EN 13416.
Т.22 По результатам экспериментальных исследований для конкретных объектов оформляется протокол экспериментальных исследований конструкции грунтового ГТС, включающей фильтрационный ГСМ (геотекстиль), или протокол экспериментальных исследований конструкции грунтового ГТС, включающей противофильтрационный ГСМ (геомембрану). Рекомендуемая форма протокола:
ПРОТОКОЛ № _______________ от ______________ г. экспериментальных исследований конструкции грунтового ГТС, I Листов всего - ____. II Протокол испытаний распространяется только на образцы и конструкции грунтового ГТС, подвергнутые испытаниям. III Протокол испытаний не может быть частично или полностью перепечатан или размножен без разрешения (указывается организация, выполняющая исследования). 1 Наименование изделия: _____________________________________________________ 2 Описание изделия (назначение): _____________________________________________ (наименование) 3 Заказчик испытаний ________________________________________________________ (наименование организации или Ф.И.О. заказчика, юридический адрес) Предприятие-проектировщик ГТС: ____________________________________________ (наименование организации или Ф. И. О. заказчика, юридический адрес) 5 Схема расположения ГСМ:
6 Проектные нагрузки и воздействия на конструкцию грунтового ГТС, включающую ГСМ в проектируемом (эксплуатируемом) сооружении: __________________________ ___________________________________________________________________________ 7 Дополнительные требования, обусловленные наличием агрессивных сред или климатическими условиями: ___________________________________________________________________________ ___________________________________________________________________________ 8 Сведения об акте отбора образцов грунтового материала: ________________________ ___________________________________________________________________________ (наименование акта, организация, номер, дата) 9 Предприятие-изготовитель ГСМ: ____________________________________________ (наименование организации или Ф. И. О. изготовителя, юридический адрес) 10 Сведения об акте отбора образцов ГСМ: ______________________________________ (наименование акта, организация, номер, дата) 11 Дата проведения испытаний: _______________________________________________ 12 Место проведения испытаний: ______________________________________________ (наименование организации или Ф. И. О. исполнителя, юридический адрес) 13 Цель испытаний: _________________________________________________________ 14 Программа испытаний: ____________________________________________________ (нормативные требования) 15 Нормативный документ, на соответствие требованиям которого проведены испытания: _________________________________________________________________ ___________________________________________________________________________ 16 Перечень применяемого испытательного оборудования и средств измерений: ___________________________________________________________________________ ___________________________________________________________________________ 17 Вода, используемая при проведении испытаний: ______________________________ (водопроводная, дистиллированная, природная) 18 Климатические условия проведения испытаний: - температура воды - температура воздуха в лаборатории - относительная влажность воздуха - атмосферное давление - специальные условия _______________________________________________________ 19 Результаты испытаний: таблица результатов испытаний по форме, приведенной в Т.23 или Т.24. Т.23 Форма таблицы результатов испытаний фильтрующего ГСМ (рекомендуемая) Результаты экспериментальных исследований конструкции
грунтового ГТС, __________________________________________________ (наименование конструкции) марка геосинтетического материала (геотекстиля) _______________________________ проектная/эксплуатационная нагрузка ________, действующий градиент напора _____
ЗАКЛЮЧЕНИЕ: Фильтрующий материал геотекстиль «______________» производства фирмы «_________________», соответствует/не соответствует требованиям, предъявляемым к конструкции грунтового ГТС, включающей фильтрующий ГСМ (геотекстиль) _______ ___________________________________________________________________________ (наименование конструкции) при действующих на нее нагрузках и воздействиях, предусмотренных при проведении настоящих экспериментальных исследований. Испытания проводил __________________________________________________ (подпись, Ф. И. О.) Эксперт _____________________________________________________________ (подпись, Ф. И. О.) Т.24 Форма таблицы результатов испытаний противофильтрационного ГСМ (рекомендуемая) Результаты экспериментальных исследований конструкции грунтового ГТС, включающей противофильтрационный ГСМ (геомембрану) ___________________________________________________________________________ (наименование конструкции) марка геосинтетического материала (геомембрана) ______________________________ статическое давление воды __________, давление грунта __________, действующий градиент напора __________.
ЗАКЛЮЧЕНИЕ: Противофильтрационный материал геомембрана «________________» производства фирмы «_____________»,соответствует/не соответствует требованиям по контактному размыву, предъявляемым к конструкции грунтового ГТС, включающей противофильтрационный ГСМ (геомембрану) ___________________________________ ______________________________ при действующих на нее нагрузках и воздействиях, (наименование конструкции) предусмотренных при проведении настоящих экспериментальных исследований. Испытания проводил __________________________________________________ (подпись, Ф. И. О.) Эксперт _____________________________________________________________ (подпись, Ф. И. О.)
|
|||||||||||||||||||||||||||||||||||||||||||||||||
Ключевые слова
Изложить в новой редакции:
|
Ключевые слова: гидротехнические сооружения, грунты, плотина, геосинтетический материал, противофильтрационный элемент, глиноцементобетон |