
ГОСУДАРСТВЕННЫЙ СТАНДАРТ СОЮЗА ССР
ДЕТАЛИ КРЕПЛЕНИЯ ТРУБОПРОВОДОВ
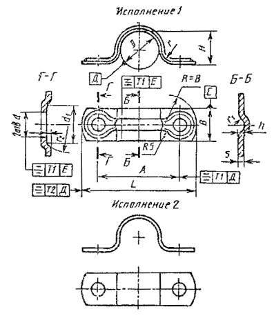
СКОБЫ ОДНОМЕСТНЫЕ
Конструкция и размеры
ГОСТ 24133-80
ИЗДАТЕЛЬСТВО СТАНДАРТОВ
Москва
ГОСУДАРСТВЕННЫЙ СТАНДАРТ СОЮЗА ССР
|
Детали крепления трубопроводов СКОБЫ ОДНОМЕСТНЫЕ Конструкция и размеры Pipe-line
fastening parts. |
ГОСТ Взамен |
Постановлением Государственного комитета СССР по стандартам от 25 апреля 1980 г. № 1891 срок введения установлен
с 01.01.81
Ограничение срока действия отменено, ИУС II-12-94
1. Настоящий стандарт распространяется на одноместные скобы диаметром D от 6 до 150 мм.
2. Конструкция и размеры одноместных скоб должны соответствовать указанным на чертеже и в таблице.

Примечания:
1. Все размеры, кроме размеров В и s, обеспечиваются инструментом.
2. Отклонение от центра радиуса R относительно оси поверхности Е не должно быть более 1 мм.
Размеры, мм
|
D |
А ± 0,5 |
B ´ s для исполнений |
Н |
L |
d h14 |
d1 |
h |
r |
r1 |
r2 |
Масса 1000 шт., кг, для исполнений |
применяемость для исполнений |
||||
|
1 |
2 |
1 |
2 |
1 |
2 |
|||||||||||
|
6 |
24 |
16 ´ 1,0 |
16 ´ 2 |
5 |
40 |
5,8 |
9 |
1,0 |
3 |
2 |
10 |
5,3 |
10,6 |
|
|
|
|
8 |
26 |
6 |
42 |
5,7 |
11,4 |
|
|
|||||||||
|
10 |
28 |
8 |
44 |
6,4 |
12,8 |
|
|
|||||||||
|
12 |
30 |
10 |
46 |
7,0 |
14,0 |
|
|
|||||||||
|
14 |
38 |
18 ´ 1,6 |
18 ´ 3 |
12 |
56 |
7,0 |
10 |
1,4 |
5 |
3 |
15,4 |
28,8 |
|
|
||
|
16 |
40 |
14 |
58 |
16,6 |
31,0 |
|
|
|||||||||
|
18 |
42 |
16 |
60 |
17,7 |
33,1 |
|
|
|||||||||
|
20 |
45 |
18 |
63 |
19,1 |
35,7 |
|
|
|||||||||
|
22 |
52 |
22 ´ 1,6 |
22 ´ 3 |
20 |
74 |
9,0 |
14 |
26,6 |
49,7 |
|
|
|||||
|
25 |
55 |
22 |
77 |
28,3 |
52,9 |
|
|
|||||||||
|
28 |
58 |
24 |
80 |
29,9 |
55,9 |
|
|
|||||||||
|
32 |
62 |
28 |
84 |
32,7 |
61,1 |
|
|
|||||||||
|
36 |
65 |
32 |
87 |
35,3 |
66,0 |
|
|
|||||||||
|
40 |
75 |
30 ´ 2,0 |
30 ´ 3 |
35 |
105 |
2,0 |
6 |
4 |
16 |
71,1 |
106,7 |
|
|
|||
|
45 |
78 |
40 |
108 |
76,3 |
114,5 |
|
|
|||||||||
|
50 |
85 |
45 |
115 |
83,2 |
124,8 |
|
|
|||||||||
|
55 |
90 |
50 |
120 |
11,0 |
16 |
2 |
88,3 |
132,5 |
|
|
||||||
|
60 |
95 |
55 |
125 |
91,3 |
141,5 |
|
|
|||||||||
|
65 |
105 |
60 |
135 |
102,7 |
154,1 |
|
|
|||||||||
|
70 |
110 |
- |
60 |
140 |
- |
- |
- |
- |
- |
156,6 |
|
|
||||
|
75 |
115 |
65 |
145 |
165,1 |
|
|
||||||||||
|
80 |
125 |
30 ´ 4 |
70 |
155 |
13,0 |
234,7 |
|
|
||||||||
|
85 |
130 |
75 |
160 |
246.7 |
|
|
||||||||||
|
90 |
135 |
80 |
165 |
253,9 |
|
|
||||||||||
|
95 |
140 |
85 |
170 |
270,9 |
|
|
||||||||||
|
100 |
145 |
90 |
175 |
283,1 |
|
|
||||||||||
|
105 |
150 |
95 |
180 |
295,2 |
|
|
||||||||||
|
110 |
155 |
100 |
185 |
307,3 |
|
|
||||||||||
|
115 |
170 |
40 ´ 4 |
105 |
210 |
17,0 |
452,6 |
|
|
||||||||
|
120 |
170 |
110 |
210 |
456,9 |
|
|
||||||||||
|
125 |
180 |
115 |
220 |
479,0 |
|
|
||||||||||
|
130 |
180 |
120 |
930 |
489,0 |
|
|
||||||||||
|
135 |
190 |
125 |
230 |
511,6 |
|
|
||||||||||
|
140 |
190 |
130 |
230 |
521,7 |
|
|
||||||||||
|
145 |
200 |
135 |
240 |
513,8 |
|
|
||||||||||
|
150 |
200 |
140 |
240 |
553,7 |
|
|
||||||||||
Пример условного обозначения одноместной скобы пополнения 1 D = 25 мм из стали марки 20 с покрытием Ц9.хр:
Скоба 1- 25- 20-Ц9.хр ГОСТ 24133-80
То же, исполнения 2 из стали марки 12Х18Н10Т с покрытием Хим. Пас.;
Скоба 2-25-12Х18Н10Т-Хим. Пас. ГОСТ 24133-80
3. Технические требования - по ГОСТ 24140-80.