Изменение № 1 ГОСТ 8.570-2000 Государственная система обеспечения единства измерений. Резервуары стальные вертикальные цилиндрические. Методика поверки
Принято Межгосударственным советом по стандартизации, метрологии и сертификации (протокол № 32 от 24.11.2007)
Зарегистрировано Бюро по стандартам МГС № 5681
За принятие изменения проголосовали национальные органы по стандартизации следующих государств :AZ, AM, BY, KZ, KG, MD, RU, TJ, TM, UZ, UA [коды альфа-2 по МК (ИСО 3166) 004]
Дату введения в действие настоящего изменения устанавливают указанные национальные органы по стандартизации*
* Дата введения в действие на территории Российской Федерации – 2008-06-01.
(Поправка. ИУС 7-2008)
Раздел 1. Заменить значение и слова: 50000 на 100000, «периодической» на «периодической и внеочередной».
Раздел 2 дополнить ссылкой:
«ГОСТ 12.4.087-84 Система стандартов безопасности труда. Строительство. Каски строительные. Технические условия».
Пункт 3.14 изложить в новой редакции:
«3.14 исходный уровень: Уровень жидкости в резервуаре, соответствующий высоте «мертвой» полости».
Пункт 3.15 дополнить словами: «(приемно-раздаточное устройство)».
Пункт 3.22. Заменить значение: 40 на 100.
Раздел 3 дополнить пунктами - 3.25, 3.26, 3.27, 3.28:
«3.25 высота газового пространства в плавающей крыше (hпг): Расстояние по вертикали от риски или верхнего среза измерительного люка, находящегося на плавающей крыше резервуара, до поверхности раздела газового пространства и жидкости.
3.26 полная вместимость резервуара: Вместимость резервуара, соответствующая предельному уровню наполнения, определенная по результатам его поверки.
3.27 предельный уровень: Предельный уровень определения посантиметровой вместимости резервуара при его поверке, соответствующий высоте цилиндрической части резервуара.
3.28 максимальный уровень: Максимально допустимый уровень наполнения резервуара жидкостью при его эксплуатации, установленный технической документацией на резервуар».
Раздел 4. Наименование изложить в новой редакции: «4 Методы поверки».
Пункт 4.1 после слова «методом» изложить в новой редакции:
«Допускаются:
- комбинация геометрического и объемного методов поверки, например, определение вместимости «мертвой» полости или вместимости резервуара в пределах высоты неровностей днища объемным методом при применении геометрического метода поверки;
- комбинация динамического объемного и статического объемного методов поверки».
Пункты 5.1.1 (таблица 1, головка), 5.1.2. Заменить значение: 50000 на 100000.
Подраздел 5.2. Наименование. Заменить слово: «основных» на «рабочих эталонов».
Подпункты 5.2.1.1, 5.2.1.2, 5.2.1.10, 5.2.2.5 изложить в новой редакции:
«5.2.1.1 Рулетки измерительные 2-го класса точности с верхними пределами измерений 10, 20, 30 и 50 м по ГОСТ 7502.
5.2.1.2 Рулетки измерительные с грузом 2-го класса точности с верхними пределами измерений 10, 20 и 30 м по ГОСТ 7502.
5.2.1.10 Штангенциркуль с диапазонами измерений: от 0 до 125 мм; от 0 до 150 мм; от 150 до 500 мм; от 500 до 1600 мм (черт. 3) по ГОСТ 166.
5.2.2.5 Рулетки измерительные с грузом 2-го класса точности с пределами измерений 10, 20 и 30 м по ГОСТ 7502».
Подраздел 5.2 дополнить подпунктами - 5.2.1.19, 5.2.2.9:
«5.2.1.19 Анализатор течеискатель АНТ-3.
5.2.2.9 Анализатор течеискатель АНТ-3».
Пункт 5.2.4. Заменить слова: «Основные средства поверки резервуаров» на «Применяемые рабочие эталоны и средства поверки».
Пункт 5.2.5 дополнить словами: «по взрывозащищенности - ГОСТ 12.1.011».
Подпункт 5.3.1.4 изложить в новой редакции:
«5.3.1.4 Резервуар при первичной поверке должен быть порожним. При периодической и внеочередной поверках в резервуаре может находиться жидкость до произвольного уровня, а в резервуаре с плавающим покрытием - до минимально допустимого уровня, установленного в технологической карте резервуара.
Плавающая крыша должна быть освобождена от посторонних предметов (от воды и других предметов, не относящихся к плавающей крыше)».
Подпункт 5.3.1.5 до слов «В этом случае» изложить в новой редакции:
«При наличии жидкости в резервуаре для нефтепродукта при его поверке (периодической или внеочередной) допускается использовать результаты измерений вместимости «мертвой» полости, полученные ранее, и вносить их в таблицу Б.9 приложения Б, если изменение базовой высоты резервуара по сравнению с результатами ее измерений в предыдущей поверке составляет не более 0,1 %, а изменения степени наклона и утла направления наклона резервуара составляют не более 1 %»;
подпункт дополнить примечанием:
«Примечание - Вместимость «мертвой» полости резервуара для нефти и нефтепродуктов, образующих парафинистые отложения, при проведении периодической и внеочередной поверок допускается принимать равной ее вместимости, полученной при первичной поверке резервуара или полученной при периодической поверке резервуара после его зачистки».
Подпункт 5.3.2.1. Примечание после слов «до плюс 2 °С - при применении дизельного топлива» дополнить словами: «и воды;».
Пункт 5.3.3 исключить.
Пункт 6.1 после слов «(государственной) метрологической службы» дополнить знаком сноски:1); дополнить сноской:
«1) На территории Российской Федерации орган государственной метрологической службы проходит аккредитацию на право проведения поверки резервуаров».
Пункт 6.2 изложить в новой редакции:
«6.2 Поверки резервуара проводят:
- первичную - после завершения строительства резервуара или капитального ремонта и его гидравлических испытаний - перед вводом его в эксплуатацию;
- периодическую - по истечении срока межповерочного интервала;
- внеочередную - в случаях изменения базовой высоты резервуара более чем на 0,1 % по 9.1.10.3; при внесении в резервуар конструктивных изменений, влияющих на его вместимость, и после очередного полного технического диагностирования».
Пункт 7.1. Заменить слова: «в установленном порядке» на «и промышленной безопасности в установленном порядке 2)».
Пункт 7.1, подпункт 7.1.1 дополнить сноской - 2):
«2) На территории Российской Федерации действует Постановление Росгортехнадзора № 21 от 30.04.2002».
Пункт 7.1 дополнить подпунктом - 7.1.1:
«7.1.1 Измерения величин при поверке резервуара проводит группа лиц, включающая поверителя организации, указанной в 6.1, и не менее двух специалистов, прошедших курсы повышения квалификации, и других лиц (при необходимости), аттестованных по промышленной безопасности в установленном порядке 2)».
Пункт 7.3 дополнить подпунктом - 7.3.3:
«7.3.3 Лица, выполняющие измерения, должны быть в строительной каске по ГОСТ 12.4.087».
Пункт 7.6. Заменить слова: «или уровень» на «и уровень».
Пункт 7.8 дополнить словами: «и должен быть в строительной каске по ГОСТ 12.4.087».
Пункт 7.9 изложить в новой редакции:
«7.9 Средства поверки по 5.2.1.4, 5.2.1.17, 5.2.1.19 при поверке резервуара геометрическим методом, средства поверки по 5.2.2.1, 5.2.2.2, 5.2.2.8, 5.2.2.9, 5.2.5 при поверке объемным методом должны быть во взрывозащищенном исполнении для групп взрывоопасных смесей категории II В-ТЗ по ГОСТ 12.1.011 и предназначены для эксплуатации на открытом воздухе».
Пункт 7.10 после слова «резервуара» дополнить словами: «в рабочей зоне»;
заменить слова: «на высоте 2000 мм» на «(на высоте 2000 мм)».
Подпункт 8.2.8 исключить.
Подпункт 9.1.1.1 изложить в новой редакции:
«9.1.1.1 Длину окружности Lн измеряют на отметке высоты:
- равной 3/4 высоты первого пояса, если высота пояса находится в пределах от 1500 до 2250 мм;
- равной 8/15 высоты первого пояса, если высота пояса составляет 3000 мм.
При наличии деталей, мешающих измерениям, допускается уменьшать высоту на величину до 300 мм от отметки 3/4 или 8/15 высоты первого пояса».
Подпункт 9.1.1.7 после слов «динамометра усилием» изложить в новой редакции:
«(100 ± 10) Н - для рулеток длиной 10 м и более;
(10 ± 1) Н - для рулеток длиной 1-5 м.
Для рулеток с желобчатой лентой - без натяжения».
Подпункт 9.1.1.13. Формула (3). Знаменатель. Заменить знак: «-» на «+».
Подпункт 9.1.1.17. Последний абзац изложить в новой редакции:
«Значение поправок (суммарных при наличии двух и более) на обход в миллиметрах вносят в протокол, форма которого приведена в приложении Б».
Подпункт 9.1.2.2 изложить в новой редакции:
«9.1.2.2 Окружность первого пояса резервуара, измеренную по 9.1.1, разбивают на равные части (откладывают дугу постоянной длины и наносят вертикальные отметки на стенке первого пояса), начиная с образующей резервуара, находящейся в плоскости А (рисунок А.10а), проходящей через точку измерений уровня жидкости и базовой высоты резервуара на направляющей планке измерительного люка и продольную ось резервуара, с соблюдением следующих условий:
- число разбивок должно быть четным;
- число разбивок в зависимости от вместимости резервуара выбирают по таблице 3.
Таблица 3
|
Наименование показателя |
Значение показателя для вместимости резервуара, м3, не менее |
||||||
|
100 |
200 |
300 |
400 |
700 |
1000 |
2000 |
|
|
Число разбивок |
24 |
26 |
28 |
30 |
32 |
34 |
36 |
Окончание таблицы 3
|
Наименование показателя |
Значение показателя для вместимости резервуара, м3 не менее |
||||||
|
3000 |
5000 |
10000 |
20000 |
30000 |
50000 |
100000 |
|
|
Число разбивок |
38 |
40 |
42 |
44 |
46 |
48 |
52 |
Все отметки разбивок пронумеровывают по часовой стрелке в соответствии с рисунком А.10».
Подпункт 9.1.2.5. Второй абзац. Заменить слова: «или ниже ребра» на «и ниже ребра».
Пункт 9.1.3 изложить в новой редакции:
«9.1.3 Определение степени наклона и угла направления наклона резервуара
9.1.3.1 Степень наклона η и угол направления наклона φ резервуара определяют по результатам измерений угла и направления наклона контура днища резервуара снаружи (или изнутри) с применением нивелира с рейкой.
9.1.3.2 Степень наклона и угол направления наклона резервуара определяют в два этапа:
- на первом этапе устанавливают номера двух противоположных отметок разбивки (образующих резервуара), через которые проходит приближенное направление наклона резервуара;
- на втором этапе определяют степень наклона и угол уточненного направления наклона резервуара.
9.1.3.3 Приближенное направление наклона резервуара определяют в следующей последовательности:
а) проводят разбивку длины окружности первого пояса по 9.1.2.2;
б) освобождают утор окраек днища (далее - утор днища) резервуара от грунта;
в) устанавливают нивелир напротив первой отметки разбивки на расстоянии 5-10 м от резервуара и приводят его в горизонтальное положение;
г) устанавливают рейку вертикально в точке на уторе днища, находящейся напротив первой отметки разбивки, отсчитывают показание шкалы рейки l1 с погрешностью до 1 мм;
д) последовательно устанавливая рейку по часовой стрелке в точках на уторе днища, находящихся напротив отметок разбивки 2, 3, ..., v, отсчитывают показания шкалы рейки l2, l3, ..., lv с погрешностью до 1 мм;
е) для снятия показаний рейки в оставшихся точках отметок разбивки нивелир устанавливают на расстоянии 5-10 м от резервуара напротив отметки разбивки (v + 1) и, устанавливая рейку вторично в точке отметки разбивки v, вторично снимают показание рейки l'v. При этом показание рейки в точке, находящейся напротив отметки разбивки v (крайней) до перенесения нивелира на другое место lv, должно совпадать с показанием рейки в этой же точке разбивки v после перенесения нивелира на другое место, то есть l'v с погрешностью до 1 мм. Выполнение этого условия обеспечивается регулированием высоты нивелира после перенесения его на другое место.
В случае невозможности выполнения вышеуказанного условия регулированием высоты нивелира на показание рейки в точках, находящихся напротив отметок разбивки (v + 1), (v + 2), ..., s, вводят поправку, например на показание рейки в точке, находящейся напротив отметки разбивки (v + 1), l'v+l по формуле
lv+l = l'v+l +Δl, (3а)
где l'v+l - показание рейки после перенесения нивелира на другое место, мм;
Δl - поправка, мм. Ее значение определяют по формуле
Δl = lv - l'v, (3б)
где lv - показание рейки, находящейся напротив отметки v до перенесения нивелира на другое место, мм;
l'v - показание рейки, находящейся напротив отметки v после перенесения нивелира на другое место, мм;
ж) выполняя аналогичные операции по перечислению е), отсчитывают показания рейки до отметки разбивки т (т - число отметок разбивки длины окружности первого пояса резервуара).
Показания шкалы рейки lk вносят в протокол, форма которого приведена в приложении Б (таблица Б.14).
Определяют значение разности показаний шкалы рейки в точках утора днища, находящихся напротив двух противоположных отметок разбивки Δlk, мм (см. таблицу Б.14):
- при числе отметок k от 1 до
по формуле
Δl'k = lk - l(m/2+k); (3в)
- при числе отметок от
до m по формуле
Δl"k = lk - l(k-m/2), (3г)
где lk - показание шкалы рейки в точке, находящейся напротив k-й отметки, мм;
l(m/2+k), l(k-m/2) - показания шкалы рейки в точках, находящейся напротив отметок разбивки (m/2+k) и (k-m/2), мм;
k - номер отметки разбивки. Его значения выбирают из ряда: 1, 2, 3, 4, ..., т;
т - число отметок разбивки длины окружности первого пояса резервуара.
Строят график (рисунок А.10) функции Δlk, рассчитываемой по формулам (3в) и (3г). Если кривая, соединяющая точки графика Δlk относительно абсциссы, имеет вид синусоиды с периодом, равным отрезку 1 - т (кривая С на рисунке А.10), то резервуар стоит наклонно, если нет (кривая В) - резервуар стоит не наклонно.
По максимальному значению разности (Δlk)max, определенному по формуле (3в) или (3г), устанавливают приближенное направление наклона резервуара (рисунок А.10б).
Приближенное значение угла направления наклона резервуара φп определяют по формуле
(3д)
где N - число разбивок, отсчитываемое от первой отметки разбивки до приближенного направления наклона резервуара, равное k - 1.
9.1.3.4 Степень наклона и уточненный угол направления наклона резервуара определяют в следующей последовательности:
а) проводят дополнительное разбивание длины дуги противоположных разбивок (рисунок А.10б), например находящихся справа от отметок разбивки 6 и 18 (разбивки N5 и N17) и слева от отметок разбивки 6 и 18 (разбивки N6 и N18) от приближенного направления наклона контура днища, определенного по 9.1.3.3;
б) длину дуги дополнительного разбивания ΔL, мм, соответствующую 1°, вычисляют по формуле
(3е)
где Lн - длина наружной окружности первого пояса резервуара, мм;
в) дугу длиной, вычисленной по формуле (3е), откладывают справа и слева (наносят вертикальные отметки на стенке первого пояса), начиная с образующих (отметок разбивки), по которым проходит приближенное направление наклона резервуара. Отметки отложенных дополнительных дуг (разбивок) нумеруют арабскими цифрами справа и слева от приближенного направления наклона резервуара;
г) выполняя операции, указанные в перечислениях в) и г) 9.1.3.3, отсчитывают показания шкалы рейки в точках дополнительного разбивания дуг основных разбивок, находящихся слева lл и справа lп от приближенного направления наклона резервуара, с погрешностью до 1 мм.
Результаты показаний шкалы lл, lп вносят в протокол, форма которого приведена в приложении Б».
Подпункт 9.1.6.1 изложить в новой редакции:
«9.1.6.1. Высоту поясов hн измеряют с наружной стороны резервуара вдоль образующей резервуара, находящейся в плоскости А (рисунок А.10а) по 9.1.2.2, при помощи измерительной рулетки с грузом и упорного угольника».
Подпункт 9.1.7.1 после слов «от днища резервуара» изложить в новой редакции: «и от стенки первого пояса резервуара lд, угла φ1, между плоскостью А и плоскостью С (рисунок А.10а). Значение угла φ1, определяют методом разбивания длины окружности первого пояса с погрешностью ± 1° в следующей последовательности:
- длину окружности первого пояса изнутри резервуара разбивают на восемь частей, начиная с плоскости А (рисунок А.10а), по часовой стрелке;
- на днище резервуара через его центр и точки разбивки проводят восемь радиусов;
- устанавливают номер сектора, в пределах которого находится плоскость С (рисунок А.10а);
- в пределах вышеустановленного сектора на стенке резервуара до плоскости С откладывают (размечают) nо-ное число дополнительных хорд длиной So, соответствующей 1°, вычисляемой по формуле
![]()
- значение угла φ1, определяют по формуле
φ1 = 45 No + пo,
где No - число больших разбиваний;
пo - число отложений хорды So до плоскости С.
Результаты измерений величин No, пo, φ1, вносят в протокол, форма которого приведена в приложении Б».
Подпункт 9.1.6.5 дополнить абзацем:
«Толщину слоя внутреннего антикоррозионного покрытия δс.п измеряют при помощи ультразвукового толщиномера с погрешностью до 0,1 мм».
Подпункт 9.1.6.6 перед словом «вносят» дополнить обозначением: δс.п.
Пункт 9.1.8. Наименование дополнить словами: «и параметров местных неровностей (хлопунов)».
Подпункт 9.1.8.1 изложить в новой редакции:
«9.1.8.1 Если резервуар имеет несколько приемно-раздаточных патрубков, то высоту «мертвой» полости, соответствующую j-му приемно-раздаточному патрубку (hм.п)j, измеряют рулеткой по стенке резервуара от днища резервуара до нижней точки j-гo приемно-раздаточного патрубка. Нумерацию высот «мертвой» полости проводят, начиная с плоскости А (рисунок А.10а).
Если резервуар имеет приемно-раздаточные устройства, например, устройства ПРУ-Д, то измеряют рулеткой (рисунок А.17а):
- высоту по стенке резервуара от контура днища до места установки j-гo приемно-раздаточного устройства hyj;
- расстояние от нижнего образующего j-гo приемно-раздаточного устройства до его нижнего или верхнего среза hcj;
- длину j-гo приемно-раздаточного устройства (расстояние от центра среза устройства до стенки резервуара) lcj.
Результаты измерений величин (hм.п)j, hyj, hcj, lcj в миллиметрах вносят в протокол, форма которого приведена в приложении Б».
Подпункт 9.1.8.2. Второй абзац. Заменить слова: «с восемью радиусами» на «с 24 радиусами», «восьми радиусов» на «24 радиусов», «8 равных частей» на «24 равных части»;
заменить значение: 0-8 на 0-24;
третий абзац изложить в новой редакции:
«- при отсутствии центральной трубы нивелир устанавливают в центре днища резервуара и измеряют расстояние по вертикали от неровностей днища до визирной линии (до центра окуляра) нивелира (bo) при помощи измерительной рулетки с грузом или рейкой. При наличии центральной трубы нивелир устанавливают последовательно в двух противоположных точках, не лежащих на отмеченных радиусах и отстоящих от стенки резервуара не более 1000 мм».
Пункт 9.1.8 дополнить подпунктами - 9.1.8.4-9.1.8.7:
«9.1.8.4 Угол φ2 между плоскостью А (рисунок А.10а) и плоскостью В, проходящую через продольные оси приемно-раздаточного патрубка и резервуара, определяют с погрешностью не более ± 1°, используя данные разбивки длины окружности первого пояса по 9.1.2.2 в следующей последовательности:
- устанавливают число полных разбивок N'o, находящихся до плоскости В (рисунок А.10а);
- по длине дуги разбивки, в пределах которой проходит плоскость В, размечают до образующей приемно-раздаточного патрубка п'o-ное число дополнительных дуг длиной ΔL, соответствующей 1°. Длину дуги ΔL, мм, вычисляют по формуле
![]()
- значение угла φ2 определяют по формуле
![]()
где т - число разбивок длины окружности первого пояса резервуара;
rп.р - радиус приемно-раздаточного патрубка, мм.
9.1.8.5 Результаты измерений величины φ2 вносят в протокол, форма которого приведена в приложении Б.
9.1.8.6 В случае определения вместимости «мертвой» полости объемным статическим методом в соответствии с 9.2.2 результаты измерений оформляют протоколом поверки для «мертвой» полости по форме, приведенной в приложении В (заполняют таблицы В.4, В.6, В.8).
9.1.8.7 Площадь хлопуна sx, м2, определяют по результатам измерений длины и ширины хлопуна.
Длину lх и ширину bх хлопуна измеряют измерительной рулеткой. Показания рулетки отсчитывают с точностью до 1 мм.
Высоту хлопуна hx измеряют штангенциркулем или измерительной линейкой. Показания штангенциркуля или линейки отсчитывают с точностью до 1 мм.
Результаты измерений величин lх, bх, hx вносят в протокол, форма которого приведена в приложении Б».
Подпункт 9.1.9.1 изложить в новой редакции:
«9.1.9.1 Измеряют расстояние по горизонтали между линейкой, установленной вертикально по первой внешней образующей резервуара (рисунок А.10), и внешней образующей измерительного люка l1, (рисунок А.16) при помощи измерительной рулетки с погрешностью ± 5 мм».
Подпункт 9.1.10.1. Второй абзац изложить в новой редакции:
«При наличии жидкости в резервуарах с плавающим покрытием уровень ее должен быть не ниже уровня, установленного технологической картой на резервуар»;
дополнить абзацем:
«Базовую высоту резервуара с плавающей крышей измеряют через измерительный люк, установленный на направляющей стойке плавающей крыши или на трубе для радарного уровнемера (рисунок А.2а)».
Подпункт 9.1.10.3 изложить в новой редакции:
«9.1.10.3 Базовую высоту измеряют ежегодно. Ежегодные измерения базовой высоты резервуара проводит комиссия, назначенная приказом руководителя предприятия - владельца резервуара, в состав которой должен быть включен специалист, прошедший курсы повышения квалификации по поверке и калибровке резервуаров.
При ежегодных измерениях базовой высоты резервуара без плавающего покрытия резервуар может быть наполнен до произвольного уровня, резервуар с плавающим покрытием - до минимально допустимого уровня.
Результат измерений базовой высоты резервуара не должен отличаться от ее значения, указанного в протоколе поверки резервуара, более чем на 0,1 %.
Если это условие не выполняется, то проводят повторное измерение базовой высоты при уровне наполнения резервуара, отличающимся от его уровня наполнения, указанного в протоколе поверки резервуара, не более чем на 500 мм.
Результаты измерений базовой высоты оформляют актом, форма которого приведена в приложении Л.
При изменении базовой высоты по сравнению с ее значением, установленным при поверке резервуара, более чем на 0,1 % устанавливают причину и устраняют ее. При отсутствии возможности устранения причины проводят внеочередную поверку резервуара.
Примечание - В Российской Федерации специалисты проходят курсы повышения квалификации в соответствии с 7.1».
Подпункт 9.1.11.1 перед словом «берут» дополнить словами: «а также верхнее положение плавающего покрытия h'п».
Подпункт 9.1.11.2 изложить в новой редакции:
«9.1.11.2 Высоту нижнего положения плавающего покрытия hп измеряют рулеткой от точки касания днища грузом рулетки до нижнего края образующей плавающего покрытия. Показания рулетки отсчитывают с точностью до 1 мм. Измерения проводят не менее двух раз. Расхождение между результатами двух измерений должно быть не более 2 мм».
Подпункт 9.1.11.3 после слов «и результаты измерений» дополнить обозначением: h'п.
Подраздел 9.1 дополнить пунктами - 9.1.12, 9.1.13:
«9.1.12 Определение длины внутренней окружности вышестоящего пояса резервуара с плавающей крышей
9.1.12.1 При отсутствии возможности применения приспособления, показанного на рисунке А.6, длину внутренней окружности вышестоящего пояса определяют:
второго пояса (при высоте поясов от 2250 до 3000 мм) или третьего (при высоте поясов 1500 мм) - методом отложения хорд по внутренней стенке пояса;
вышестоящих поясов, начиная с третьего (при высоте поясов от 2250 до 3000 мм) или, начиная с четвертого (при высоте поясов от 1500 мм), - по результатам измерений радиальных отклонений образующих резервуара, проведенных изнутри резервуара.
9.1.12.2 Хорды откладывают на уровнях, отсчитываемых от верхней плоскости плавающей крыши:
1600 мм - при высоте поясов от 2250 до 3000 мм;
1200 мм - при высоте поясов 1500 мм.
9.1.12.3 Перед откладыванием хорд на уровне 1600 мм или на уровне 1200 мм, указанных в 9.1.12.2, при помощи рулетки с грузом через каждые 1000 мм наносят горизонтальные отметки длиной 10-20 мм по стенке поясов.
9.1.12.4 Отметки, нанесенные по стенкам поясов на уровнях, указанных в 9.1.12.2, соединяют между собой, применяя гибкую стальную ленту (рулетку). При этом линии горизонтальных окружностей проводят толщиной не более 5 мм.
9.1.12.5 Вычисляют длину хорды S1 по формуле
(3ж)
где D1 - внутренний диаметр первого пояса резервуара, вычисляемый по формуле
(3и)
где Lвн - внутренняя длина окружности первого пояса, вычисляемая по формуле (Г.2);
α1 - центральный угол, соответствующий длине хорды S1, вычисляемый по формуле
(3к)
где т1 - число отложений хорд по линиям горизонтальных окружностей. Число т1, в зависимости от номинальной вместимости резервуара принимают по таблице 4.
Таблица 4
|
Номинальная вместимость резервуара, м3 |
Число отложений хорд m1 |
Номинальная вместимость резервуара, м3 |
Число отложений хорд m1 |
|
100 |
24 |
3000(4000) |
38 |
|
200 |
26 |
5000 |
40 |
|
300 |
28 |
10000 |
58 |
|
400 |
32 |
20000 |
76 |
|
700 |
34 |
30000 |
80 |
|
1000 |
34 |
50000 |
120 |
|
2000 |
36 |
100000 |
160 |
9.1.12.6 Хорду S1 длина которой вычислена по формуле (3ж), откладывают по линии горизонтальной окружности, проведенной на высоте 1600 мм и на высоте 1200 мм, указанных в 9.1.12.2, при помощи штангенциркуля (ГОСТ 166, черт.3) с диапазоном измерений от 500 до 1600 мм.
9.1.12.7 После отложений хорд по 9.1.12.6 измеряют длину остаточной хорды Soп при помощи штангенциркуля с диапазоном измерений 0-150 мм с погрешностью не более 0,1 мм. Обозначение «п» соответствует термину: «покрытие».
9.1.12.8 Значения величин S1 и Soп вносят в протокол, форма которого приведена в приложении Б.
9.1.12.9 Длины внутренних окружностей поясов, находящихся выше поясов, указанных в 9.1.12.1, определяют по результатам измерений радиальных отклонений образующих резервуара от вертикали изнутри резервуара с применением измерительной каретки (далее - каретки) в следующей последовательности:
а) длину окружности первого пояса, измеренную по 9.1.1, разбивают на равные части по 9.1.2.2 (наносят вертикальные отметки на уровне 1600 мм или на уровне 1200 мм в соответствии с 9.1.12.3), начиная с плоскости А (рисунок А.10а);
б) штангу 12 с блоком 11 (рисунок А.2а), при помощи которого каретка перемещается по внутренней поверхности резервуара, устанавливают у края площадки обслуживания 13;
в) линейку 6 устанавливают на высоте 400 мм по перечислению а) 9.1.12.9 от верхней плоскости плавающей крыши при помощи магнитного держателя 7 перпендикулярно к стенке резервуара, поочередно для каждой отметки разбивки;
г) для перехода от одной отметки разбивки к другой каретку опускают, а штангу со всей оснасткой передвигают по кольцевой площадке обслуживания резервуара. Расстояние от стенки резервуара до нити отвеса а отсчитывают по линейке 6;
д) измерения вдоль каждой образующей резервуара начинают с отметки разбивки под номером один первого пояса. На каждом следующем поясе измерения проводят в трех сечениях: среднем, находящемся в середине пояса, нижнем и верхнем, расположенных на расстоянии 50-100 мм от горизонтального сварочного шва. На верхнем поясе - в двух сечениях: нижнем и среднем. Отсчеты по линейке снимают с погрешностью в пределах ± 1 мм в момент, когда каретка установлена в намеченной точке при неподвижном отвесе;
е) в начальный момент каретку для всех образующих резервуара останавливают на линии горизонтальной окружности на уровне 1600 мм или на уровне 1200 мм.
Результаты измерений расстояния а в миллиметрах вносят в протокол, форма которого приведена в приложении Б.
9.1.13 Высота газового пространства в плавающей крыше
9.1.13.1 Высоту газового пространства hпг (3.25) измеряют при помощи измерительной рулетки с грузом или линейкой не менее двух раз. Расхождение между результатами двух измерений не должно превышать 1 мм.
9.1.13.2 Результаты измерений hпг вносят в протокол, форма которого приведена в приложении Б».
Пункт 9.2.1 дополнить перечислением - е):
«е) угла φ2 в соответствии с 9.1.8.4».
Подпункт 9.2.1.2. Заменить номер подпункта: 9.2.1.2 на 9.2.1.1;
перед словом «вносят» дополнить обозначением: φ2.
Пункт 9.2.2. Наименование дополнить словами: «или в пределах высоты неровностей днища».
Подпункт 9.2.2.1 после слов «В пределах «мертвой» полости» дополнить словами: «(рисунок А.17) и в пределах неровностей днища (рисунок А.18), если неровности днища выходят за пределы «мертвой» полости;
заменить слова: «не более чем на 30 мм» на «в пределах от 10 до 100 мм».
Подпункт 9.2.2.2. Перечисление д). Заменить слова: «значения 30 мм» на «значения в пределах от 10 до 100 мм».
Пункт 9.2.3 после слов «выше «мертвой» полости» дополнить словами: «или выше высоты неровностей днища».
Подпункт 9.2.3.1 после слов «высоте «мертвой» полости» дополнить словами: «(высоте неровностей днища)».
Подпункт 9.2.3.2 после слов «в пределах «мертвой» полости» дополнить словами: «(до высоты неровностей днища)».
Подпункт 9.2.3.3. Исключить слова: «в соответствии с 9.2.2.2, 9.2.2.3».
Пункт 9.2.3 дополнить подпунктом - 9.2.3.6:
«9.2.3.6 При достижении уровня поверочной жидкости, соответствующего полной вместимости резервуара, измеряют базовую высоту резервуара Hб в соответствии с 9.1.10. Значение базовой высоты не должно отличаться от значения, измеренного по 9.2.1, более чем на 0,1 %».
Подпункт 9.2.5.1. Последний абзац. Заменить значение: ± 0,1°С на ± 0,2°С.
Пункт 9.2.6, подпункты 9.2.6.1, 9.2.6.2 исключить.
Подпункт 10.3.1.1. Заменить слова: «максимального уровня Нmах» на «предельного уровня Hпр»;
формулу (4) изложить в новой редакции:
![]()
(4) »;
экспликацию после абзаца «fл - высота точки касания днища грузом рулетки;» дополнить абзацем:
«Lвн - длина внутренней окружности 1-го пояса, вычисляемая по формуле (Г.2)».
Подпункт 10.3.1.2. Формулы (5) - (8) изложить в новой редакции:
(5)
(6)
(7)
где ΔV"в.д - объем внутренних деталей, включая объемы опор плавающего покрытия, на участке от Нм.п до Нп;
(8) »;
последний абзац, формулы (9), (10) и экспликации исключить.
Подпункт 10.3.1.5 и формулы (11) - (15) исключить.
Подпункт 10.3.2.1 изложить в новой редакции:
«10.3.2.1 Градуировочную таблицу составляют, суммируя последовательно, начиная с исходного уровня (уровня, соответствующего высоте «мертвой» полости Нм.п), вместимости резервуара, приходящиеся на 1 см высоты наполнения, в соответствии с формулой
(16)
где Vм.п - вместимость «мертвой» полости, вычисляемая по формуле (Е.12) при изменении k от 0 до v, или по формуле, приведенной в Е.13;
Vk, Vk-1 - дозовые вместимости резервуара при наливе в него k и (k-1) доз, соответствующие уровням Hk, H(k-1), вычисляемые по формуле (Е.12) при изменении k от v + 1 до значения k, соответствующего полной вместимости резервуара, или по формулам (Е.13), (Е.14) приложения Е и т.д.
Вместимость «мертвой» полости резервуара вычисляют по формуле
где Vo - объем жидкости до точки касания днища грузом рулетки».
Пункт 11.1. Второй абзац исключить.
Пункт 11.2. Перечисление д) дополнить словами: «(только в случае проведения расчетов вручную)».
Пункт 11.3. Первый абзац после слов «в приложении В» изложить в новой редакции: «Форма акта измерений базовой высоты резервуара, составленного при ежегодных ее измерениях, приведена в приложении Л»;
последний абзац изложить в новой редакции:
«Протокол поверки подписывают поверитель и лица, принявшие участие в проведении измерений параметров резервуара»;
дополнить абзацем:
«Титульный лист и последнюю страницу градуировочной таблицы подписывает поверитель. Подписи поверителя заверяют оттисками поверительного клейма, печати (штампа). Документы, указанные в 11.2, пронумеровывают сквозной нумерацией, прошнуровывают, концы шнурка приклеивают к последнему листу и на месте наклейки наносят оттиск поверительного клейма, печати (штампа)».
Пункт 11.4 изложить в новой редакции:
«11.4 Градуировочные таблицы на резервуары утверждает руководитель организации национальной (государственной) метрологической службы или руководитель метрологической службы юридического лица, аккредитованный на право проведения поверки».
Раздел 11 дополнить пунктом - 11.6 и сноской:
«11.6 Если при поверке резервуара получены отрицательные результаты даже по одному из приведенных ниже параметров:
- значение вместимости «мертвой» полости имеет знак минус;
- размеры хлопунов не соответствуют требованиям правил безопасности 1);
- значение степени наклона резервуара более 0,02, если это значение подтверждено результатами измерений отклонения окраек контура днища резервуара от горизонтали, выполненных по методике диагностирования резервуара, то резервуар считается непригодным к эксплуатации и выдают «Извещение о непригодности»;
«1) На территории Российской Федерации действует Постановление Росгортехнадзора № 76 от 09.06.2003 об утверждении Правил устройства вертикальных цилиндрических стальных резервуаров для нефти и нефтепродуктов».
Приложение А дополнить рисунками - А.2а, А.10а (после рисунка А.10), А.10б, А.10в, А.11а, А.17а;
рисунки А.10, А.14, А.15, А.16 изложить в новой редакции:

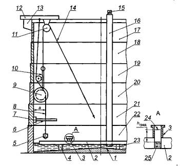
1 - неровности днища; 2 - плавающая крыша; 3, 15 - измерительный люк; 4, 23 - опоры плавающей крыши; 5 - груз отвеса; 6 - линейка; 7 - магнитный держатель линейки; 8 - нить отвеса; 9 - колеса измерительной каретки; 10 - измерительная каретка; 11 - блок; 12 - штанга; 13 - площадка обслуживания; 14 - тяговый канат; 16 - труба для радарного уровнемера; 17, 18, 19, 20, 21, 22 - пояса резервуара; 24 - риска измерительного люка; 25 - жидкость; а - показание линейки (радиальное отклонение образующей резервуара от вертикали); hград - высота газового пространства в плавающей крыше
Рисунок А.2а - Схема измерений радиальных отклонений образующих резервуара с плавающей крышей

1 - контур днища резервуара; 2 - измерительный люк; Δlk - функция, вычисляемая по формулам (3в) и (3г); С, В - графики функции Δlk при наличии и отсутствии наклона резервуара соответственно; (Δlk)max - максимум функции Δlk; т - число разбивок; k - номер разбивки; φ - угол направления наклона резервуара, вычисляемый по формуле (Г.22)
Рисунок А.10 - График функции Δlk и схема направления наклона резервуара

1 - стенка резервуара; 2 - приемно-раздаточный патрубок; 3 - измерительный люк; 4 - внутренняя деталь; φ - угол между плоскостью, проходящей через точку измерений уровня жидкости и базовой высоты резервуара на направляющей планке измерительного люка (плоскостью А) и направлением наклона резервуара X; φ1 - угол между плоскостью А и плоскостью, проходящей через продольные оси резервуара и внутренней детали (плоскостью С); φ2 - угол между плоскостью А и плоскостью, проходящей через продольные оси резервуара и приемно-раздаточного патрубка (плоскостью В); l0 - расстояние от точки касания днища грузом рулетки до стенки 1-го пояса резервуара; lд - расстояние от центра внутренней детали до стенки 1-го пояса резервуара; hнд, hвд - нижнее и верхнее положения внутренней детали

1 - дополнительные отметки справа; 2 - уточненное направление наклона контура днища; 3 - приближенное направление контура днища; 4 - дополнительные отметки слева; 5 - утор днища; φп - угол приближенного направления контура днища; φ - угол уточненного направления контура днища;
![]()
Рисунок А.10б - Схема определения угла направления наклона днища

l'n, l"n - максимальное и минимальное показания рейки по уточненному правлению наклона контура днища; β - угол наклона контура днища;
![]()
Рисунок А.10в - Схема наклоненного резервуара

1 - плавающая крыша с опорами; 2 - груз отвеса; 3 - линейка; 4 - нить отвеса; 5 - верхняя площадка обслуживания; 6 - резервуар; 7 - неровности днища; а - расстояние от стенки резервуара до нити отвеса
Рисунок А.11а - Схема измерений степени и угла направления наклона резервуара с плавающей крышей

1-24 - радиусы; 25 - приемно-раздаточный патрубок; 26 - рейка; 27 - горизонт нивелира; 28 - нивелир; 29 - рейка в точке касания днища грузом рулетки; I-VIII - концентрические окружности; hм.п - высота «мертвой» полости резервуара
Рисунок А.14 - Нивелирование днища резервуара при отсутствии центральной трубы

1-24 - радиусы; 25 - приемно-раздаточный патрубок; 26 - рейка; 27 - рейка в точке касания днища грузом рулетки; 28 - горизонт нивелира; 29 - центральная труба; 30 - нивелир; 31, 32 - места установки нивелира; I-VIII - концентрические окружности; hм.п - высота «мертвой» полости резервуара

1 - кровля резервуара; 2 - измерительный люк; 3 - направляющая планка; 4 - точка измерений уровня жидкости или базовой высоты резервуара; l1 - расстояние между внешней образующей резервуара и измерительного люка; l2 - расстояние между точкой измерений на планке измерительного люка и внутренней образующей измерительного люка

1, 3 - приемно-раздаточные устройства; 2 - стенка резервуара; 4 - неровности днища; 5 - контур днища; hy, h'y - высоты приемно-раздаточных устройств; hс - расстояние от нижней образующей приемно-раздаточного устройства до его нижнего или верхнего среза; lс - длина приемно-раздаточного устройства
Приложение Б. Таблицу Б.1 изложить в новой редакции:
Таблица Б.1 - Общие данные
|
Код документа |
Регистрационный номер |
Дата |
Основание для проведения поверки |
||
|
Число |
Месяц |
Год |
|||
|
1 |
2 |
3 |
4 |
5 |
6 |
|
|
|
|
|
|
|
Продолжение таблицы Б.1
|
Место проведения поверки |
Средства измерений |
|
7 |
8 |
|
|
|
Окончание таблицы Б.1
|
Резервуар |
||||
|
Тип |
Номер |
Назначение |
Наличие угла наклона |
Погрешность определения вместимости резервуара, % |
|
9 |
10 |
11 |
12 |
13 |
|
|
|
|
|
|
|
Примечание - В графе 12 указывают знак «+» при наличии угла наклона, знак «-» - при его отсутствии. |
||||
таблицу Б.4 изложить в новой редакции:
Таблица Б.4 - Радиальные отклонения образующих резервуара от вертикали
|
Номер пояса |
Точка измерения |
Показание линейки о, мм |
||||||||||||||
|
1 |
2 |
3 |
4 |
5 |
6 |
7 |
8 |
9 |
10 |
11 |
12 |
… |
… |
т |
||
|
I |
3/4 h1 |
|
|
|
|
|
|
|
|
|
|
|
|
|
|
|
|
II |
Н |
|
|
|
|
|
|
|
|
|
|
|
|
|
|
|
|
С |
|
|
|
|
|
|
|
|
|
|
|
|
|
|
|
|
в |
|
|
|
|
|
|
|
|
|
|
|
|
|
|
|
|
III |
Н |
|
|
|
|
|
|
|
|
|
|
|
|
|
|
|
|
С |
|
|
|
|
|
|
|
|
|
|
|
|
|
|
|
|
|
В |
|
|
|
|
|
|
|
|
|
|
|
|
|
|
|
|
|
IV |
н |
|
|
|
|
|
|
|
|
|
|
|
|
|
|
|
|
с |
|
|
|
|
|
|
|
|
|
|
|
|
|
|
|
|
|
В |
|
|
|
|
|
|
|
|
|
|
|
|
|
|
|
|
|
V |
н |
|
|
|
|
|
|
|
|
|
|
|
|
|
|
|
|
с |
|
|
|
|
|
|
|
|
|
|
|
|
|
|
|
|
|
в |
|
|
|
|
|
|
|
|
|
|
|
|
|
|
|
|
|
VI |
н |
|
|
|
|
|
|
|
|
|
|
|
|
|
|
|
|
с |
|
|
|
|
|
|
|
|
|
|
|
|
|
|
|
|
|
в |
|
|
|
|
|
|
|
|
|
|
|
|
|
|
|
|
|
… |
|
|
|
|
|
|
|
|
|
|
|
|
|
|
|
|
|
… |
|
|
|
|
|
|
|
|
|
|
|
|
|
|
|
|
|
п |
н |
|
|
|
|
|
|
|
|
|
|
|
|
|
|
|
|
с |
|
|
|
|
|
|
|
|
|
|
|
|
|
|
|
|
|
Примечание - При наличии ребра жесткости, например, в v-м поясе (9.1.2.5): а) если ребро жесткости находится в середине пояса, то в строке «С» вносят показание линейки, определенное по формуле
где
б) если ребро жесткости находится ближе к верхнему или нижнему сварному шву, то среднее расстояние от стенки резервуара до нити отвеса вычисляют по формуле
где |
||||||||||||||||
дополнить таблицей - Б.4.1:
Таблица Б.4.1 - Длины хорд
|
Уровень отложений хорды |
Хорда |
||
|
основная Sп1 |
остаточная Sп0 |
||
|
1-е измерение |
2-е измерение |
||
|
1600 |
|
|
|
|
1200 |
|
|
|
Таблица Б.5. Наименование изложить в новой редакции:
«Таблица Б.5 - Параметры поверочной и хранимой жидкостей (нефти и нефтепродуктов)»;
дополнить таблицей - Б.5.1:
Таблица Б.5.1 - Радиальные отклонения образующих первого (второго или третьего для резервуаров с плавающей крышей) и последнего п-го поясов от вертикали
В миллиметрах
|
Номер пояса |
Радиальные отклонения образующих поясов от вертикали |
|||||||||
|
1 |
2 |
3 |
4 |
5 |
6 |
7 |
… |
… |
m |
|
|
I (II или III) |
|
|
|
|
|
|
|
|
|
|
|
п |
|
|
|
|
|
|
|
|
|
|
таблицу Б.6 дополнить графой - 7:
|
Толщина слоя антикоррозионного покрытия δс.п, мм |
|
7 |
таблицы Б.7, Б.8, Б.9 изложить в новой редакции:
Таблица Б.7 - Внутренние детали цилиндрической формы
|
Диаметр, мм |
Высота от днища, мм |
Расстояние от стенки первого пояса lд, мм |
Число разбиваний |
Угол φ1, …° |
||
|
Нижняя граница hнд |
Верхняя граница hвд |
No |
no |
|||
|
|
|
|
|
|
|
|
|
|
|
|
|
|
|
|
Таблица Б.8 - Внутренние детали прочей формы
|
Объем, м3 |
Высота от днища, мм |
Расстояние от стенки первого пояса lд, мм |
Число разбиваний |
Угол φ1, …° |
||
|
Нижняя граница hнд |
Верхняя граница hвд |
No |
no |
|||
|
|
|
|
|
|
|
|
|
|
|
|
|
|
|
|
Таблица Б.9 - Параметры «мертвой» полости с приемно-раздаточным патрубком (ПРП)
|
Высота hм.п, мм, ПРП под номером |
Угол φ2, …°, ПРП под номером |
Вместимость Vм.п, м3 |
||||||
|
1 |
2 |
3 |
4 |
1 |
2 |
3 |
4 |
|
|
1 |
2 |
3 |
4 |
5 |
6 |
7 |
8 |
9 |
|
|
|
|
|
|
|
|
|
|
|
Примечание - Графу 9 заполняют только при определении вместимости «мертвой» полости объемным методом и принятие вместимости «мертвой» полости по 5.3.1.5. |
||||||||
дополнить таблицами - Б.9.1, Б.9.2:
Таблица Б.9.1 - Параметры «мертвой» полости с приемно-раздаточным устройством (ПРУ)
|
Высота установки hу, мм, ПРУ под номером |
Расстояние hс, мм, ПРУ под номером |
Длина lс, мм, ПРУ под номером |
Угол φ2,…°, ПРУ под номером |
Вместимость Vм.п, м3 |
||||
|
1 |
2 |
1 |
2 |
1 |
2 |
1 |
2 |
|
|
1 |
2 |
3 |
4 |
5 |
6 |
7 |
8 |
9 |
|
|
|
|
|
|
|
|
|
|
|
Примечание - Число граф в зависимости от числа приемно-раздаточных устройств может быть увеличено. |
||||||||
Таблица Б.9.2 - Параметры местных неровностей (хлопунов)
Хлопун |
||
|
Длина lх |
Ширина bх |
Высота hх |
|
|
|
|
|
|
|
|
|
|
|
|
Таблица Б.10. Графа 1. Заменить значение: 8 на 24;
дополнить примечанием - 3:
«3 При отсутствии центральной трубы вносят (графа 3) значение bo»;
таблицы Б.13, Б.14 изложить в новой редакции:
В миллиметрах
|
Точка измерения базовой высоты Нб |
Номер измерения |
|
|
1 |
2 |
|
|
Риска измерительного люка |
|
|
|
Верхний срез измерительного люка |
|
|
Таблица Б.14 - Степень наклона и угол приближенного направления наклона резервуара
|
Номер точки разбивки k от 1 до т/2 |
Отсчет по рейке lк, мм |
Номер точки разбивки k от (т/2 + 1) до т |
Отсчет по рейке lk, мм |
|
1 |
2 |
3 |
4 |
|
1 |
ll |
т/2+1 |
l(m/2 + l) |
|
1 |
2 |
3 |
4 |
|
2 |
l2 |
т/2+2 |
l(m/2 + 2) |
|
3 |
l3 |
m/2+3 |
l(m/2 + 3) |
|
… |
… |
… |
|
|
… |
… |
… |
|
|
… |
… |
… |
|
|
… |
… |
… |
|
|
… |
… |
… |
|
|
… |
… |
… |
|
|
т/2 |
l(т/2) |
т |
lm |
Примечания1 k (графы 1, 3) - номер разбивки длины окружности первого пояса резервуара, выбирают из ряда: 1, 2, 3, ..., т. 2 lk (графы 2, 4) - отсчеты по рейке в точках разбивки k. |
|||
дополнить таблицей - Б. 14.1:
Таблица Б.14.1 - Степень наклона и угол уточненного направления наклона резервуара
|
Значение угла п2 при Nn = ... |
Показание рейки по правой разбивке lп, мм |
Значение угла n2 при Nл = ... |
Показание рейки по правой разбивке lл, мм |
||
|
l'п |
l"п |
l'л |
l"л |
||
|
1 |
2 |
3 |
4 |
5 |
6 |
|
-1° |
|
|
+1° |
|
|
|
-2° |
|
|
+2° |
|
|
|
-3° |
|
|
+3° |
|
|
|
-4° |
|
|
+4° |
|
|
|
-5° |
|
|
+5° |
|
|
|
-6° |
|
|
+6° |
|
|
|
-7° |
|
|
+7° |
|
|
|
-8° |
|
|
+8° |
|
|
|
-9° |
|
|
+9° |
|
|
|
-10° |
|
|
+10° |
|
|
|
-11° |
|
|
+11° |
|
|
|
-12° |
|
|
+12° |
|
|
|
-13° |
|
|
+13° |
|
|
|
-14° |
|
|
+14° |
|
|
Примечания1 В графах 1, 4 вносят числа разбивок Nп, Nл (например Nп = 17). 2 l'п, l"п (графы 2, 3) - показания рейки по правым противоположным разбивкам. 3 l'л, l"л (графы 5, 6) - показания рейки по левым противоположным разбивкам. |
|||||
таблицу Б.15 изложить в новой редакции:
таблица Б.15 - Плавающее покрытие
|
Масса тп, кг |
Диаметр Dп, мм |
Расстояние от днища резервуара при крайнем положении, мм |
|
|
нижнем hп |
верхнем h'п |
||
|
1 |
2 |
3 |
4 |
|
|
|
|
|
|
|
|
|
|
Окончание таблицы Б.15
|
Диаметр отверстия, мм |
Параметры опоры |
Уровень жидкости в момент всплытия Нвсп, мм |
Объем жидкости в момент всплытия Vвсп, м3 |
||||
|
D1 |
D2 |
D3 |
Диаметр, мм |
Число, шт. |
Высота, мм |
||
|
5 |
6 |
7 |
8 |
9 |
10 |
11 |
12 |
|
|
|
|
|
|
|
|
|
Примечания1 Если опоры плавающего покрытия приварены к днищу резервуара, то их относят к числу внутренних деталей. 2 Графы 11 и 12 заполняют только при применении объемного метода. |
|||||||
дополнить таблицей - Б. 16:
таблица Б.16 - Высота газового пространства в плавающей крыше
|
Точка измерения высоты газового пространства hпг |
Номер измерения |
|
|
1 |
2 |
|
|
Риска измерительного люка |
|
|
|
Верхний срез измерительного люка |
|
|
Приложение В. Таблицы В.3, В.5 изложить в новой редакции:
таблица В.3 - Величины, измеряемые в «мертвой» полости
|
Высота hм.п, мм, ПРП под номером |
Угол φ2,…°, ПРП под номером |
Отчет по рейке в точке, мм |
||||||||
|
касания днища грузом рулетки bл |
пересечения 1-го радиуса и 8-й окружности b8.1 |
|||||||||
|
1 |
2 |
3 |
4 |
1 |
2 |
3 |
4 |
|||
|
|
|
|
|
|
|
|
|
|
|
|
таблица В.5 - Степень наклона и угол приближенного направления наклона резервуара
|
Номер точки разбивки k от 1 до т/2 |
Отсчет по рейке lк, мм |
Номер точки разбивки k от (т/2 + 1) до т |
Отсчет по рейке lk, мм |
|
1 |
2 |
3 |
4 |
|
1 |
ll |
т/2+1 |
l(m/2 + l) |
|
2 |
l2 |
т/2+2 |
l(m/2 + 2) |
|
3 |
l3 |
m/2+3 |
l(m/2 + 3) |
|
… |
… |
… |
|
|
… |
… |
… |
|
|
… |
… |
… |
|
|
… |
… |
… |
|
|
… |
… |
… |
|
|
… |
… |
… |
|
|
т/2 |
l(т/2) |
т |
lm |
Примечания1 k (графы 1,3) - номер разбивки длины окружности первого пояса резервуара, выбирают из ряда: 1, 2, 3, ..., т. 2 lk (графы 2, 4) - отсчеты по рейке в точках разбивки k. |
|||
дополнить таблицей - В.5.1
Таблица В.5.1 - Степень наклона и угол уточненного направления наклона резервуара
|
Значение угла п2 при Nn = ... |
Показание рейки по правой разбивке lп, мм |
Значение угла n2 при Nл = ... |
Показание рейки по правой разбивке lл, мм |
||
|
l'п |
l"п |
l'л |
l"л |
||
|
1 |
2 |
3 |
4 |
5 |
6 |
|
-1° |
|
|
+1° |
|
|
|
-2° |
|
|
+2° |
|
|
|
-3° |
|
|
+3° |
|
|
|
-4° |
|
|
+4° |
|
|
|
-5° |
|
|
+5° |
|
|
|
-6° |
|
|
+6° |
|
|
|
-7° |
|
|
+7° |
|
|
|
-8° |
|
|
+8° |
|
|
|
-9° |
|
|
+9° |
|
|
|
-10° |
|
|
+10° |
|
|
|
-11° |
|
|
+11° |
|
|
|
-12° |
|
|
+12° |
|
|
|
-13° |
|
|
+13° |
|
|
|
-14° |
|
|
+14° |
|
|
|
-15° |
|
|
+15° |
|
|
|
-16° |
|
|
+16° |
|
|
Примечания1 В графах 1, 4 вносят числа разбивок Nп, Nл (например Nп = 17). 2 l'п, l"п (графы 2, 3) - показания рейки по правым противоположным разбивкам. 3 l'л, l"л (графы 5, 6) - показания рейки по левым противоположным разбивкам. |
|||||
таблицу В.6 изложить в новой редакции:
Таблица В.6 - Текущие значения параметров поверочной жидкости
|
Номер измерения |
Объем дозы (ΔVc)j, дм3, или показание счетчика жидкости qj, дм3 (Hj, имп.) |
Уровень Hj, мм |
Температура жидкости, °С |
Избыточное давление в счетчике жидкости pj, МПа |
Расход Q, дм3/мин, (дм3/имп.) |
|
|
в резервуаре (Tp)j |
в счетчике жидкости (Tт)j |
|||||
|
1 |
2 |
3 |
4 |
5 |
6 |
7 |
|
1 |
|
|
|
|
|
|
|
2 |
|
|
|
|
|
|
|
3* |
|
|
|
|
|
|
|
4 |
|
|
|
|
|
|
|
5* |
|
|
|
|
|
|
|
… |
|
|
|
|
|
|
|
… |
|
|
|
|
|
|
|
… |
|
|
|
|
|
|
|
* Номера измерений, выделяемые только для счетчиков жидкости с проскоком и только при применении статического метода измерений объема дозы жидкости. |
||||||
дополнить таблицей - В.9.1:
Таблица В.9.1 - Параметры счетчика жидкости со сдвигом дозирования и проскоком
|
Наименование параметра |
Значение параметра при расходе Q, дм3/мин |
|||
|
100 |
150 |
200 |
250 |
|
|
Сдвиг дозирования С, дм3 |
|
|
|
|
|
Проскок Пр, дм3 |
|
|
|
|
Приложение Г. Пункт Г.1.2. Формулу (Г.2) изложить в новой редакции:
«Lвн = Lн-2π (δ1+δс.к+δс.п), (Г.2)»;
экспликацию дополнить абзацем:
«δс.п - толщина слоя антикоррозийного покрытия».
Пункт Г.1.3 дополнить подпунктами - Г.1.3.1-Г.1.3.4:
«Г.1.3.1 За значение длины внутренней окружности второго пояса резервуара с плавающей крышей (L*вн.ц)п2 при высоте поясов, равной 1500 мм, принимают значение длины внутренней окружности первого пояса (Lвн.ц)п1, определяемое по формуле
(Lвн.ц)п1 = Lн-2π (δ1+δс.к+δс.п) (Г.2а)
Г.1.3.2 Длину внутренней окружности второго пояса резервуара с плавающей крышей при высоте поясов от 2250 до 3000 мм (L**вн.ц)п2 или длину внутренней окружности третьего пояса при высоте поясов 1500 мм (L*вн.ц)п3 определяют методом последовательных приближений, используя результаты отложений хорды S1 на уровне 1600 мм или на уровне 1200 мм по 9.1.12.2 настоящего стандарта в следующей последовательности:
а) в качестве первого приближения внутреннего диаметра пояса принимают значение внутреннего диаметра первого пояса, определенного по формуле (3и);
б) вычисляют центральный угол αх1, соответствующий остаточной хорде Sпо (например для второго пояса), по формуле
где Sпо - длина остаточной хорды, измеренной по 9.1.12.7;
D21 - внутренний диаметр второго пояса в первом приближении, значение которого принимают равным значению внутреннего диаметра первого пояса, определенного по формуле (3и);
в) вычисляют разность углов βх1 по формуле
βх1 = α1m1+αх1-360 °,
где α1 - центральный угол, вычисленный по формуле (3к) при числе отложений хорды m1 и принимаемый за значение первого приближения центрального угла;
г) вычисляют центральный угол α2 во втором приближении по формуле
(Г.2б)
Если βx1 < 0, то в формуле (Г.2б) принимают знак «+», если βx1 > 0 - знак «-»;
д) вычисляют внутренний диаметр второго пояса D22 во втором приближении по формуле
где S1 - хорда, длину которой вычисляют по формуле (3ж);
е) проверяют выполнение условия
Если это условие не выполняется, то определяют значение внутреннего диаметра второго пояса D32 в третьем приближении, вычисляя последовательно параметры по формулам:
βх2 = α2m1+αх2-360 °;
Проверяют выполнение условия
Если это условие не выполняется, то делают следующие приближения до выполнения условия
Выполняя аналогичные операции, указанные в перечислениях а) - е), определяют внутренний диаметр третьего пояса резервуара.
Г.1.3.3 Длины внутренних окружностей второго (L*вн.ц)п2 и третьего (L**вн.ц)п3 поясов резервуара с плавающей крышей вычисляют по формулам:
(L*вн.ц)п2 = πD2;
(L**вн.ц)п3 = πD3,
где D2, D3 - внутренние диаметры второго и третьего поясов, определенные методом последовательного приближения по Г.1.3.2.
Г.1.3.4 Длины внутренних окружностей вышестоящих поясов резервуара с плавающей крышей (Lвн.ц)пi вычисляют по формуле
(Lвн.ц)пi = (Lвн.ц)п1 - 2πΔRсрi, (г.10а)
где (Lвн.ц)п1 - длина внутренней окружности первого пояса, вычисляемая по формуле (Г.2а);
ΔRсрi - средние радиальные отклонения образующих резервуара, вычисляемые по формуле (Г.9);
i - номер пояса, выбираемый для резервуаров:
- при высоте поясов от 2250 до 3000 мм из ряда: 2, 3, ..., п;
- при высоте поясов 1500 мм из ряда: 3, 4, ..., п;
п - число поясов резервуара».
Подпункт Г.2.1.2, пункт Г.2.2. Формулу (Г.9) изложить в новой редакции:
«ΔRсрi = aсрi - aср1 (Г.9)»;
формула (Г.10). Заменить обозначение: ΔRс.рi на ΔRсрi.
Пункт Г.2.5. Формулу (Г.12) изложить в новой редакции:
«hi = hнi - S1 hнxi + Si+1 hнх(i+l), (Г.12)»;
экспликацию дополнить абзацами:
«Si, Si+1 - величины, имеющие абсолютное значение, равное 1, и в зависимости от схемы нахлеста поясов в соответствии с таблицей Б.6 (графа 6) принимают знак «+» или «-»;
hнх(i+l) - высота нахлеста (i+1)-го вышестоящего пояса».
Пункт Г.3. Наименование изложить в новой редакции:
«Г.3 Вычисление степени наклона и угла направления наклона резервуара»;
подпункты Г.3.1, Г.3.2, Г.3.3 изложить в новой редакции:
«Г.3.1 Степень наклона резервуара η вычисляют по формулам:
(Г.13)
(Г.14)
(Г.15)
где Lн - длина окружности первого пояса, мм;
(Δlк)mах - максимальная разность показаний шкалы рейки, вычисляемая по формуле (3в) или (3г);
(Δlп)mах, (Δlл)mах - максимальные разности показаний шкалы рейки по правым и левым противоположным разбивкам, мм. Их значения определяют по формулам:
(Δlп)mах = (l'п)mах - (l"п)min
(Δlл)mах = (l'л)mах - (l"л)max
Значения величин (l'п)mах, (l"п)min, (l'л)mах, (l"л)max принимают по таблице Б.14.
Примечание - Степень наклона резервуара вычисляют по формуле (Г.13), если приближенное направление наклона контура днища совпадает с уточненным его направлением.
Г.3.2 По результатам измерений в соответствии с 9.1.3.4 устанавливают точки направления наклона резервуара и определяют число дополнительных разбивок п2, соответствующих 1°, от приближенного направления наклона резервуара (от точки разбивки N) до точного направления наклона резервуара.
Г.3.3 Угол φ в градусах между плоскостью (рисунок А.10а), проходящей через точку измерений уровня жидкости и базовой высоты резервуара на направляющей планке измерительного люка и продольную ось резервуара, и уточненным направлением наклона резервуара вычисляют по формуле
(Г.16)
где N - номер разбивки (правая или левая от приближенного направления наклона резервуара), через которую проводят уточненное направление наклона резервуара;
т - число отметок разбивки длины окружности первого пояса резервуара;
п2 - число дополнительных разбивок, соответствующее максимальной разности показаний шкалы рейки (Δlк)mах или (Δlп)mах и (Δlл)mах»;
подпункты Г.3.4, Г.3.5 исключить;
подпункт Г.3.6 изложить в новой редакции:
«Г.3.6 Результаты вычислений величин η и φ вносят в журнал, форма которого приведена в приложении Д»;
пункт Г.3 дополнить подпунктом - Г.3.7:
«Г.3.7 Резервуар считают не наклоненным, если выполняется условие
η ≤ ηmin,
где η - степень наклона резервуара, вычисляемая по формулам (Г.13), (Г.14), (Г.15);
ηmin - минимальная степень наклона резервуара. Значения величины ηmin в зависимости от номинальной вместимости резервуаров приведены в таблице Г.1.
Таблица Г.1
|
Наименование показателя |
Значение ηmin при номинальной вместимости резервуара, м3 |
||
|
100-700 |
1000-5000 |
10000-100000 |
|
|
Минимальная степень наклона ηmin |
0,0003 |
0,0001 |
0,00005 |
Пункты Г.4-Г.4.6 исключить.
Пункт Г.5.1. Формулы (Г.23), (Г.24) изложить в новой редакции (кроме экспликаций):
(Г.23)
(Г.24)».
Пункт Г.5.2. Формулу (Г.26) изложить в новой редакции (кроме экспликации):
(Г.26)
экспликация. Формулу вычисления f1 изложить в новой редакции:
(Г.26а)».
Пункт Г.5.3. Исключить слово: «превышения».
Пункт Г.5.4 изложить в новой редакции:
«Г.5.4 Уровень жидкости в резервуаре, соответствующий высоте «мертвой» полости Нм.п:
- при наличии приемно-раздаточного патрубка (рисунок А.17 или А.18) Н'м.п вычисляют по формуле
(Г.30)
- при наличии приемно-раздаточного устройства (рисунок А.17а) Н"м.п вычисляют по формуле
(Г.30а)
где hм.п - высота «мертвой» полости резервуара;
fл - высота точки касания днища грузом рулетки, вычисляемая по формуле (Г.27);
hy - высота установки приемно-раздаточного устройства;
hc - расстояние от нижнего образующего приемно-раздаточного устройства до его верхнего или нижнего среза;
lс - расстояние от центра среза приемно-раздаточного устройства до стенки резервуара;
lo - координата точки отсчета значений уровня или базовой высоты, вычисляемая по формуле (Г.28) или (Г.29).
В формуле (Г.30а) указывают знак «+», если срез приемно-раздаточного устройства находится выше высоты его места установки; знак «-», если срез приемно-раздаточного устройства находится ниже высоты его места установки».
Подпункт Г.5.7.2. Заменить слова: «, соответствующий уровню Н'o,» на «в пределах уровня Н'o»;
формулу (Г.34) изложить в новой редакции; дополнить экспликацией:
(Г.34)
где α - угол, вычисляемый по формуле
(Г.34а)».
Подпункт Г.5.7.3. Формулу (Г.35) изложить в новой редакции:
(Г.35)»
Подпункт Г.5.7.4 после слов «кровли резервуара» изложить в новой редакции:
«при выполнении условия fл > Hо ΔV'л вычисляют по формуле
(Г.36)
Величину ΔVo вычисляют по формуле (Г.34).
При выполнении условия fл < Hо величину ΔV"л, соответствующую уровню (Ho - fл), вычисляют по формуле (Г.34)».
Подпункт Г.5.7.5. Формулу (Г.37) изложить в новой редакции:
(Г.37)»;
дополнить абзацем, формулой и примечанием:
«Величину z вычисляют по формуле
z = (fл - Но) + H, (Г.37а)
где Н - уровень жидкости, значение которого изменяется от нуля до уровня, соответствующего высоте неровностей днища Нн.д.
Примечание - При выполнении условия fл < Hо величину ΔV"дн вычисляют по формуле (Г.35)».
Подпункт Г.5.7.6. Первый абзац и формулы (Г.38), (Г.39) изложить в новой редакции:
«Величины а, b, λ, R, входящие в формулы (Г.34), (Г.34а) - (Г.37), вычисляют по формулам:
(Г.38)
(Г.39)»;
примечание изложить в новой редакции:
«Примечание - Формулы (Г.35) и (Г.37) применяют при определении посантиметровой вместимости резервуара в пределах уровня, соответствующего высоте неровностей днища fo (при наличии)».
Пункт Г.5.7 дополнить подпунктами - Г.5.7.7 - Г.5.7.10:
«Г.5.7.7 Уровень жидкости Нн.д, соответствующий высоте неровностей днища fo вычисляют по формуле
(Г.39а)
Г.5.7.8 Если неровности днища выходят за пределы высоты «мертвой» полости резервуара (рисунок А.18), то объем неровностей днища в пределах высоты «мертвой» полости вычисляют по формуле (Г.35) или (Г.37) до уровня Нм.п, вычисляемого по формуле (Г.30).
Г.5.7.9 Объем неровностей днища от уровня Нн.м до уровня Нн.д, вычисляемого по формуле (Г.39а), относят к объемам внутренних деталей, находящихся выше высоты «мертвой» полости.
Г.5.7.10 Уровни жидкости, соответствующие нижней границе Ннд верхней границе Нвд внутренней детали, вычисляют по формулам:
(Г.39б)
(Г.39в)
где hнд, hвд нижняя и верхняя границы внутренней детали;
lд - расстояние от внутренней детали до стенки первого пояса резервуара;
fo - высота неровностей днища;
А (φ, φ1) - величина, зависимая от углов φ и φ1 (см. рисунок А.10а), вычисляют по формуле

Пункт Г.5.8. Формула (Г.40). Экспликация. Заменить слова: «равном уровню» на «в пределах уровня»;
пункт Г.5.8 дополнить примечанием:
«Примечание - Знак значения вместимости «мертвой» полости резервуара, определенной по формуле (Г.40), должен быть положительным».
Подпункт Г.5.8.1. Формулу (Г.41) изложить в новой редакции:
(Г.41)»;
экспликацию дополнить абзацем:
«α - угол, вычисляемый по формуле (Г.34а) при fл = 0».
Пункт Г.5.9 дополнить подпунктом - Г.5.9.1:
«Г.5.9.1 Площадь хлопуна Sx, м2, вычисляют по формуле
Sx = lxbx·10-6, (Г.42а)
где lx, bx - длина и ширина хлопуна соответственно, измеренные по 9.1.8.7 настоящего стандарта».
Пункт Г.5.10. Исключить слова: «и исходного уровня».
Подпункт Г.5.10.2 и формулу (Г.44) исключить.
Подпункт Г.5.10.3. Исключить обозначение: Ни.
Пункт Г.6.3 дополнить абзацами (перед примечаниями):
«Величину Δhд, мм, вычисляют по формуле
Δhд =hпг - hэг, (Г.46а)
где hпг - высота газового пространства, измеряемая при поверке резервуара по 9.1.13 настоящего стандарта, мм;
hэг - высота газового пространства, измеряемая при эксплуатации резервуара, мм.
Объем жидкости, находящейся в резервуаре с плавающей крышей Vп.к, м3, вычисляют по формуле
Vп.к = V20 - Vп.д, (Г.46б)
где V20 - объем жидкости, определенный по градуировочной таблице резервуара, м3;
Vп.д - объем жидкости, вычисляемый по формуле (Г.46) с учетом высоты Δhд, м3».
Пункты Г.7.1-Г.7.3 изложить в новой редакции:
«Г.7.1 Уровень жидкости, соответствующий расстоянию от днища резервуара до нижней части плавающего покрытия Нп, вычисляют по формуле
(Г.47)
где hп - расстояние от днища резервуара до нижней части плавающего покрытия, измеренное в соответствии с 9.1.11.2 настоящего стандарта.
Г.7.2 Уровень жидкости, соответствующий высоте всплытия плавающего покрытия резервуара Нвсп:
- при выполнении условия η ≤ ηmin Н'всп вычисляют по формуле
(Г.48)
где Vп - объем жидкости, вытесненный плавающим покрытием, вычисляемый по формуле (Г.45);
Vопор - объем опор плавающего покрытия. Если опоры смонтированы на днище резервуара, то значение Vопор в формуле (Г.48) принимают равным нулю;
Dп, D1, D2, ... - диаметры плавающего покрытия и отверстий в нем;
- при выполнении условия η > ηmin Н"всп вычисляют по формуле
Н"всп = Hп + Δh, (Г.48а)
где Δh - высота погружения плавающего покрытия, определяемая от нуля до предельной высоты Δhпред, решая уравнения
(Vп - Vопор) = F(Δh), (Г.48б)
где F(Δh) - функция, зависящая от высоты погружения плавающего покрытия, вычисляемая по формуле
(Г.48в)
где η - степень наклона резервуара. Величины ψ и Δhпред вычисляют по формулам:
Если при Δh = Δhпред значение правой части уравнения (Г.48б) меньше значений левой, то уровень жидкости Н'"всп, соответствующий высоте всплытия плавающего покрытия, вычисляют по формуле
Н'"всп = Нп + Δhпред + Δh1, (Г.48г)
где Δh1 - высота дополнительного погружения плавающего покрытия, вычисляемая по формуле
Г.7.3 Объем жидкости от исходного уровня до уровня, соответствующего всплытию плавающего покрытия, Vвсп:
- при выполнении условия η ≤ ηmin V'всп, м3, вычисляют по формуле
(Г.49)
где Vп - объем жидкости, вытесненный плавающим покрытием, вычисляемый по формуле (Г.45);
V'опор - объем части опор плавающего покрытия, находящейся в пределах уровня от Нм.п до Нвсп;
- при выполнении условия η > ηmin объем жидкости через каждое изменение уровня на 1 см в пределах уровня (Н - Нм.п) до уровня (Н - Нм.п) + Δhпред V"всп м3 вычисляют по формуле
(Г.49а)
где F(Δh) - функция, вычисляемая по формуле (Г.48в).
Если при уровне (Н - Нм.п) + Δhпред не происходит всплытие плавающего покрытия, то объем его всплытия V'"всп, м3, вычисляют по формуле
(Г.49б)
где V"всп - объем жидкости, вычисляемый по формуле (Г.49а) при Δh = Δhпред».
Приложение Е. Пункт Е.10.1 после формулы (Е.7) дополнить абзацем и формулой (Е.7а):
«- со сдвигом и проскоком дозирования, дм3:
(ΔV3c)j = (qj - qj-1) Kc (E.7a)»;
экспликацию дополнить абзацем:
«Kc - поправочный коэффициент».
Пункт Е.13.3. Формулы |20 - (Тр)к| ≤ 2 °С и |20 - (Тр)к| ≤ 0,5 °С. Заменить значения: 2 °С и 0,5 °С на 10 °С.
Приложение И. Пункт И.2 изложить в новой редакции:
«И.2 Резервуары, находящиеся в сфере Государственного метрологического контроля и надзора, после их сооружения подлежат испытаниям для целей утверждения типа.
Допускается проведение испытаний для целей утверждения типа и первичной поверки резервуара в процессе приемки его после сооружения.
Допускается проведение поверки резервуаров, находящихся в эксплуатации, с выдачей документа «Свидетельство о поверке» без испытаний для целей утверждения типа»;
пункты И.3, И.4, И.8, И.9, И.14 исключить;
пункт И.5. Третье и четвертое предложения исключить;
пункт И.11 дополнить словами: «Комплектность оборудования резервуара должна соответствовать утвержденному проекту»;
пункт И.13 дополнить словами: «Для измерения базовой высоты резервуара с плавающей крышей резервуар должен иметь дополнительный измерительный люк, установленный на направляющей стойке плавающей крыши или на трубе для радарного уровнемера»;
пункт И.17. Исключить слова: «Резервуары подлежат первичной и периодической поверкам»;
дополнить пунктом - И.18 и сноской:
«И.18 Техническая документация вновь сооружаемого резервуара подлежит экспертизе в части выполнения требований метрологического обеспечения в установленном порядке 1)»;
«1) На территории Российской Федерации экспертизу проводит ФГУП ВНИИР ГНМЦ или другой ГНМЦ по специализации».
Приложение К. Заменить слово: «Поверители» на «Поверитель»;
таблица К.1. Заменить обозначения:
(Hм.п - fл) на Hм.п; (Hм.п - fл) + 1 на Hм.п + 1; (Hм.п - fл) + 2 на Hм.п + 2.
Приложение Л. Наименование изложить в новой редакции:
«Форма акта ежегодных измерений базовой высоты резервуара»;
исключить слова: «Л.1 Форма акта измерения базовой высоты резервуара»;
заменить слово: «комиссия» на «комиссия **»;
дополнить сноской **:
«**В состав комиссии должен быть включен специалист, прошедший курсы повышения квалификации по поверке и калибровке резервуаров и трубопроводов»;
пункты Л.2, Л.3 исключить.
(ИУС № 2 2008 г.)