
ГОСУДАРСТВЕННЫЙ СТАНДАРТ СОЮЗА ССР
САМОЛЕТЫ КОРОТКОГО ВЗЛЕТА И ПОСАДКИ
ДОПУСТИМЫЕ УРОВНИ ШУМА НА МЕСТНОСТИ
И МЕТОД ОПРЕДЕЛЕНИЯ УРОВНЕЙ ШУМА
ГОСТ 24659-81
ГОСУДАРСТВЕННЫЙ КОМИТЕТ СССР ПО СТАНДАРТАМ
Москва
ГОСУДАРСТВЕННЫЙ СТАНДАРТ СОЮЗА ССР
|
САМОЛЕТЫ КОРОТКОГО ВЗЛЕТА И ПОСАДКИ Допустимые уровни шума на
местности и метод Short take off and landing aircrafts. |
ГОСТ 24659-81 |
Постановлением Государственного комитета СССР по стандартам от 30 марта 1981 г. № 1671 срок введения установлен
с 01.01.1982 г.
Настоящий стандарт распространяется на винтовые самолеты короткого взлета и посадки (СКВП) гражданской авиации с максимальной взлетной массой более 5700 кг и с потребной длиной взлетно-посадочной полосы (ВПП) не более 600 м.
Стандарт устанавливает максимально допустимые уровни шума, создаваемого винтовыми СКВП гражданской авиации на местности, и метод их определения.
Стандарт соответствует стандарту ИКАО по шуму (Приложение 16 «Авиационный шум» к Чикагской конвенции о международной гражданской авиации, третье издание, июль 1978 г.), МС ИСО 3891 и рекомендации МЭК Р 561.
1.1. Шум, создаваемый СКВП, выражают в эффективных уровнях воспринимаемого шума EPNL, измеряемых в ЕРNдБ, установленных в ГОСТ 17229-78.
1.2. Допустимые уровни шума устанавливают для контрольных точек, указанных в таблице.
|
Этап полета |
Контрольная точка |
|
Взлет |
Точка на линии, параллельной оси взлетно-посадочной полосы (ВПП) или ее продолжению и удаленной от нее на расстояние 300 м, в которой уровень шума при взлете самолета в режиме короткого взлета посадки (КВП) является максимальным |
|
Набор высоты |
Точка на продолжении оси ВПП на расстоянии 1500 м от начала разбега |
|
Заход на посадку |
Точка на продолжении оси ВПП, расположенная под траекторией снижения на посадку на расстоянии 900 м от посадочного торца ВПП, и точка на линии, параллельной оси ВПП или ее продолжению и удаленной от нее на расстояние 300 м, в которой уровень шума при посадке самолета в режиме КВП является максимальным |
1.3. Максимальный уровень шума в каждой контрольной точке, определенный по ГОСТ 17229-78 и методикой летных испытаний (разд. 2), не должен превышать:
EPNдБ - при 5700 кг £ т £ 17000 кг,
EPNдБ - при т > 17000 кг,
где ![]()
т - максимальная взлетная масса СКВП в кг;
т0 - нормирующая константа, равная 1 кг.
Примечание. Установленные настоящим стандартом максимально допустимые уровни шума являются технической характеристикой СКВП. Допустимые уровни шума для ограничения жилой застройки в окрестностях аэропортов и аэродромов установлены в ГОСТ 22283-76.
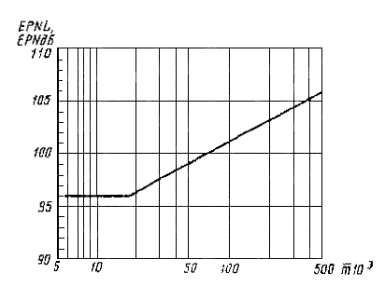
1.4. Расчет максимально допустимых уровней шума по приведенной формуле производят с округлением конечного результата до 0,1 ЕРNдБ.
График зависимости максимально допустимых уровней шума от взлетной массы СКВП приведен в рекомендуемом приложении.
1.5. Допускается превышение указанных в п. 1.3 максимально допустимых уровней шума в одной или двух контрольных точках. При этом превышение в одной контрольной точке должно быть не больше 3 ЕРNдБ, а в двух контрольных точках не более 4 ЕРNдБ.
Любое превышение допустимых уровней шума должно быть скомпенсировано соответствующим снижением уровней шума в другой точке или точках.
2.1. СКВП при взлете должен иметь:
максимальную взлетную массу, для которой производится сертификация по шуму;
частоту вращения вала двигателя или винта (об/мин), режим мощности, воздушную скорость, градиент набора высоты, пространственное положение и конфигурацию, соответствующие значениям, установленным в требованиях по технике пилотирования для каждого конкретного СКВП в режиме КВП.
2.2. СКВП при заходе на посадку должен иметь:
максимальную посадочную массу, для которой производится сертификация по шуму;
частоту вращения вала двигателя или винта (об/мин), режим мощности, воздушную скорость, градиент снижения, пространственное положение и конфигурацию, соответствующие значениям, установленным в требованиях по технике пилотирования для каждого конкретного СКВП в режиме КВП.
2.2.1. Режим реверса тяги после посадки должен быть максимальным из указанных в установленных требованиях по технике пилотирования.
2.3. Проведение акустических измерений, обработка магнитных записей и расчет эффективных уровней воспринимаемого шума - по ГОСТ 17229-78.
3. ОФОРМЛЕНИЕ РЕЗУЛЬТАТОВ ИСПЫТАНИЙ
3.1. Результаты испытаний оформляются в виде отчета, в котором должна быть представлена следующая информация:
о СКВП и режимах его полета
тип СКВП и двигателей, бортовой номер СКВП и заводские номера двигателей и винтов;
чертежи: три проекции СКВП с указанием габаритных размеров, фотографии СКВП под ракурсом 3/4 спереди и 3/4 сзади;
масса и конфигурация СКВП при каждом испытательном полете, включая положение закрылков и шасси;
режимы работы двигателей;
измеренные траектории полета;
максимальные взлетная и посадочная массы, для которых проведена сертификация СКВП;
об атмосферных условиях при каждом полете:
температура и относительная влажность окружающего воздуха;
скорость и направление ветра;
атмосферное давление;
о контрольно-измерительной аппаратуре:
перечень контрольно-измерительной бортовой и наземной аппаратуры, использованной для определения и анализа характеристик шума СКВП и метеорологических данных, тарировочные характеристики, а также сведения о государственной или ведомственной поверке аппаратуры;
о точках измерения шума
схема и описание расположения точек измерения шума, характера земной поверхности и факторов, влияющих на ослабление шума;
об уровнях шума:
измеренные и скорректированные уровни звукового давления в 1/3 - октавных полосах частот в каждой точке измерения при всех полетах СКВП и рассчитанные по ним эффективные уровни воспринимаемого шума EPNL;
уровни шумового фона при каждом измерении (РNдБ);
средние значения приведенных к исходным условиям эффективных уровней воспринимаемого шума и соответствующие им значения 90%-ных доверительных интервалов для каждой контрольной точки в сопоставлении с допустимыми уровнями, установленными в разд. 1;
оценка погрешности определяемых величин.
3.2. В случае соответствия полученных средних значений эффективных уровней воспринимаемого шума требованиям разд. 1 оформляют сертификат по результатам летных испытаний шума СКВП, в котором указывают:
наименование органа, выдавшего сертификат по шуму;
тип, бортовой и заводской номера СКВП;
тип, модель и заводские номера двигателей;
максимальные взлетную и посадочные массы СКВП, для которых определены эффективные уровни воспринимаемого шума;
определенные в соответствии с настоящим стандартом средние значения эффективных уровней воспринимаемого шума и значения 90%-го доверительного интервала для каждой контрольной точки в сопоставлении с установленными в настоящем стандарте допустимыми уровнями.
Рекомендуемое

СОДЕРЖАНИЕ
|
2. Методика летных испытаний. 2 Приложение Зависимость максимально допустимых уровней шума от взлетной массы самолета. 3 |