ВСЕРОССИЙСКОЕ ДОБРОВОЛЬНОЕ ПОЖАРНОЕ ОБЩЕСТВО
ПРАВИЛА
ПРОИЗВОДСТВА РАБОТ, РЕМОНТА ПЕЧЕЙ
И ДЫМОВЫХ КАНАЛОВ
Согласовано:
ГИПН МВД РСФСР
29.03.1991 года
Госкомархстрой РСФСР
26.06.1991 года
МОСКВА
1991
РЕКОМЕНДОВАНЫ К ИЗДАНИЮ РЕШЕНИЕМ ТЕХНИЧЕСКОГО СОВЕТА ВСЕРОССИЙСКОГО ДОБРОВОЛЬНОГО ОБЩЕСТВА
В правилах изложены требования, предъявляемые при кладке и ремонте печей и установке бытовых отопительных аппаратов на твердом и газообразном топливе. Приведены требования к устройству дымовых каналов для отвода продуктов горения и вытяжных каналов систем вентиляции отапливаемых помещений. Рассмотрены технические и организационные решения по обеспечению безопасной эксплуатации отопительных печей и аппаратов. Изложен порядок чистки воздуховодов и вентиляционного оборудования естественных и механических систем вентиляции от горючих отложений, а также порядок обмуровки котельных агрегатов. Приведены правила охраны труда и техники безопасности при выполнении работ по кладке печей, чистке вентиляционного оборудования и обмуровке котлов.
Разработаны к.т.н. Сидоруком В. И. (Руководитель коллектива), инженерами Токаревым В. Н., Овчинниковым Ю. Г. (ВИПТШ МВД СССР), инженерами Шмагиным Ю. А. и Адинсковым Б. П. (Гипрониигаз Минжилкомхоза РСФСР) с участием инженера Рыбкина В. И.
Настоящими правилами предусмотрены требования, предъявляемые при кладке (монтаже) и эксплуатации отопительных печей (аппаратов), работающих на твердом и газообразном топливе.
С выходом в свет настоящих Правил действие «Правил производства работ и ремонта печей, дымоходов и газоходов», утвержденных ЦС ВДПО 31 марта 1981 г. прекращается.
В Правилах принята следующая нумерация: первая цифра - номер главы, вторая - номер раздела, третья - номер параграфа.
При составлении правил использованы требования, изложенные в СНиП 2.04.05-86. Отопление, вентиляция и кондиционирование; СНиП 2.04.08-87. Газоснабжение; СНиП 3.03.01-87. Каменные конструкции; ГОСТ 9817-82. Аппараты бытовые, работающие на твердом топливе; Правилах безопасности в газовом хозяйстве.
1.1.1. Требования настоящих Правил распространяются на отопительные теплоемкие, отопительно-варочные, хозяйственно-бытовые, печи специального назначения, аппараты водонагревательные, а также отопительные бытовые аппараты и котлы.
1.1.3. Кладка печей и монтаж аппаратов в жилых зданиях должны производиться по проектам или типовым нормалям, выполненным в соответствии с требованиями действующих нормативных документов Госстроя СССР по составлению проектов по гражданскому строительству.
1.1.4. Профилактическое обслуживание печей и аппаратов, работающих на газе производит представитель организации газовой службы. Индивидуальные потребители несут ответственность за правильную эксплуатацию печей и аппаратов.
1.1.5. К самостоятельному выполнению работ допускаются рабочие не моложе 18 лет, прошедшие специальную подготовку по правильным и безопасным методам работ в соответствии с настоящими Правилами и сдавшие экзамены комиссии, назначенной организацией ВДПО.
Результаты экзаменов оформляются протоколом, на основании которого выдаются квалификационные удостоверения на право производства работ, подписанные и заверенные печатью организации ВДПО. Повторная проверка знаний должна производиться ежегодно. Лица, не имеющие квалификационных удостоверений, к самостоятельной работе не допускаются.
1.1.6. Инженерно-технические работники организаций ВДПО, занимающиеся подготовкой специалистов, организацией и контролем за производством работ на газифицированных объектах по п. 1.1.2. настоящих правил, а также преподаватели учебных пунктов и комбинатов должны сдать экзамены на знание «Правил безопасности в газовом хозяйстве» в объеме выполняемых работ и настоящих Правил. Проверку знаний должна осуществлять комиссия организации ВДПО при участии представителя Госпроматомнадзора СССР. Повторная проверка знаний проводится 1 раз в 3 года.
1.2.1. Отопительные теплоемкие печи с периодической топкой - печи, которые компенсируют расчетные потери теплоты в помещениях средней тепловой мощности исходя из двух топок а сутки.
1.2.2. Отопительно-варочные печи (комбинированные) - печи для отопления помещений, приготовления пищи и выпечки хлеба.
1.2.3. Печи длительного горения - печи, которые компенсируют расчетные потери теплоты в помещения средней тепловой мощностью при их непрерывной топке.
1.2.4. Печь повышенного прогрева - печь с температурой стенок в момент максимального прогрева в отдельных точках до 120° С.
1.2.5. Аппараты водонагревательные емкостные газовые бытовые - аппараты, работающие на природном или сжиженном углеводородном газе, предназначенные для местного водяного отопления помещений или горячего водоснабжения.
1.2.6. Аппараты водонагревательные проточные газовые бытовые - аппараты, предназначенные для горячего водоснабжения.
1.2.7. Аппараты отопительные газовые бытовые с водяным контуром - аппараты, предназначенные для отопления жилых помещений с теплопотерями до 18608 Вт.
1.2.8. Аппараты бытовые, работающие на твердом топливе - аппараты, предназначенные для приготовления пищи, отопления жилых помещений и горячего водоснабжения.
1.2.9. Малометражные стальные и чугунные котлы - котлы с тепловой мощностью до 50 кВт, используемые для отопления и горячего водоснабжения отдельных квартир или малоэтажных зданий типа «коттедж», а также производственных зданий, расположенные в сельских населенных пунктах.
1.2.10. Дымоходы (дымообороты) - каналы, по которым осуществляется движение продуктов горения внутри печи.
1.2.11. Дымовые каналы, дымовые трубы (трубы насадные, каналы в стенах, трубы коренные) - каналы для отвода дыма от печей и аппаратов и создания тяги.
2.1.1. Работы по п. 1.1.2 настоящих Правил выполняют организации ВДПО (исполнитель) по договорам, заключенным с производственными и коммунальными предприятиями, жилищными конторами и домоуправлениями, кооперативами и другими видами предприятий, а также владельцами домов на правах личной собственности (заказчик).
Небольшой объем работ может выполняться по разовым заявкам организацией или отдельных лиц.
2.1.2. Заказчик и исполнитель должны заключать договоры в конце предшествующего года, в которых определяются объем, сроки и стоимость выполнения работ.
2.1.3. Заказчики, заключившие договоры или подавшие заявку на производство работ обязаны:
а) обеспечить исполнителей по их заявкам материалами в количествах, необходимых для выполнения всего объема работ, указанного в договоре;
б) обеспечить рабочие места нужными приспособлениями (ящики, рамки для подноски кирпича, подмостки, скамьи, стойки и т.п.) для качественного и безопасного ведения работ;
в) осуществлять контроль за производством и качеством работ, производимых подрядными организациями;
г) принимать выполненные работы и заверять наряды на принятый объем работ;
д) представлять в эксплуатационный трест (контору) газового хозяйства акты на прочистку дымовых каналов от газовых аппаратов и приборов и акты обследования технического состояния вентиляционных каналов в газифицированных помещениях не позднее трех дней после выполнения работ;
е) извещать трест (контору) газового хозяйства и организацию ВДПО о всех намечаемых работах по ремонту и переоборудованию дымовых каналов от газовых печей, аппаратов и приборов;
ж) устранять неисправности в отопительных, отопительно-варочных печах, дымовых и вентиляционных каналах, привлекая в необходимых случаях специалистов организаций ВДПО, треста (конторы) газового хозяйства и ремонтно-строительной организации;
з) производить не реже одного раза в месяц, а в очень холодном и холодном (1-й подрайон) климатических районах - 2 раза в месяц осмотр оголовков дымовых и вентиляционных каналов и принимать меры для предотвращения обмерзания и уменьшения сечения каналов при отложении льда, снега или инея;
и) извещать трест (контору) газового хозяйства о намечаемых организацией ВДПО ремонтных работ по печам на газовом топливе и дымовым каналам от печей, аппаратов и приборов, работающих на газе, а также об окончании этих работ для своевременного отключения или включения печей, аппаратов и приборов.
2.1.4. Исполнители, работающие на правах подрядной организации, обязаны:
а) составлять годовые (квартальные) графики производства работ, ремонта печей и дымовых каналов, очистки и проверки дымовых каналов и ознакомить их с заказчиком;
б) выдавать рабочим наряды на выполнение работ и осуществлять контроль за сроком, объемом и качеством выполняемых работ;
в) закреплять рабочих за определенными объектами, не допуская обезлички в проведении работ, обеспечивая рабочих необходимыми инструментами, приборами, спецодеждой и защитными средствами;
г) производить трубочистные и проверочные работы по печам и дымовым каналам группой в составе не менее 2-х человек;
д) регистрировать акты о проверке и очистке дымовых каналов газифицированных печей, аппаратов и приборов, а также акты технического состояния вентиляционных каналов не позднее, чем на второй день после их составления.
2.1.5. Руководители организаций ВДПО и инженерно-технические работники несут ответственность за своевременное выполнение по нарядам работ, качественное их выполнение, соблюдению технологической и трудовой дисциплины, охрану и безопасность труда.
2.2.1. На выполнение работ мастерами должны составляться годовые графики на каждую бригаду (звено) и утверждаться главным инженером организации ВДПО. В графике указывают организацию заказчика, перечень выполняемых работ, сроки исполнения и перечень исполнителей работ. На основании годового графика должен составляться месячный график.
2.2.2. Выполнение работ следует осуществлять по наряду в соответствии с договором и графиком работ. Наряд, подписанный руководителем работ (мастером) передается бригадиру (звеньевому) под роспись и регистрацией наряда в специальном журнале.
2.2.3. В наряде необходимо отражать объем работ и нормы на их выполнение. В том случае, когда выполняемый объем работ больше, чем указанный в наряде, следует вписать в наряд дополнительный объем работ или выдать новый наряд на этот объем работ.
2.2.4. К выполнению работ по кладке и ремонту печей и дымовых каналов необходимо приступать после заготовки и рационального размещения кирпича, раствора, инвентаря, печных приборов, а также разделения труда с учетом квалификации рабочих. Схемы организации рабочего места при кладке печи в разных местах помещений показаны на рис. 2.1 и рис. 2.2.
Рис. 2.1. Схема организации рабочего места при кладке печи у стены и в углу помещения
1 - печь; 2 - рамки из кирпича; 3 - ящик с глиной; 4 - ведро; 5 - кирпич ломаный, кирпич огнеупорный, изразцы; 6 - запас кирпича; 7 - емкость с водой для замачивания кирпича; 8 - ящик с раствором; 9 - место размещения чертежа печи.
Рис 2.2. Схема организации рабочего места при кладке печи в перегородке (обозначения те же, что на рис. 2.1.)
2.2.5. Кладку печи должно вести, как правило, рабочее звено из двух печников и одного подсобного рабочего. Приготовление раствора, сортировку кирпича и доставку материалов к рабочему месту должны производить специальные рабочие.
2.2.6. Кладку новых и ремонт существующих печей и кухонных плит выполняют при наличии кровли или временного покрытия над местом производства работ.
2.2.7. Дымовую трубу на чердаке необходимо возводить с одной позиции. Ящик с водой для замочки кирпича и скамейку с расходными материалами ставят в междубалочных пролетах. Кирпич на рабочее место следует подавать в небольших количествах из расчета двух-трех рядов кладки.
2.2.8. Для кладки дымовой трубы сверх крыши необходимо устраивать специальные горизонтальные площадки с ограждением со стороны ската крыши. На площадке устанавливают ящик с раствором, а кирпич в небольших количествах складывают на стремянках, закрепленных за конек крыши.
2.2.9. При установке печей, плит и отопительных аппаратов заводского изготовления следует до начала работ проверить их комплектность в соответствии с заводским паспортом, а также работоспособность отдельных блоков или элементов.
2.2.10. Сборку печей и плит из блоков заводского изготовления, а также установку отопительных бытовых аппаратов необходимо производить согласно инструкции завода-изготовителя.
2.2.11. По выполнении работ исполнитель и заказчик подписывают наряд. Подпись заказчика заверяется печатью. Наряд окончательно оформляет мастер с указанием фактического объема выполненных работ, количества затраченного времени и сдает его в бухгалтерию.
3.1.1. Печное отопление на твердом топливе допускается для зданий, приведенных в табл. 3.1, при отсутствии централизованного теплоснабжения.
Таблица 3.1. Применение печного отопления
|
Число этажей не более |
Число мест, не более |
|
|
1 |
2 |
3 |
|
Жилые и административные |
2 |
|
|
Общежития, бани |
1 |
25 |
|
Поликлиники, спортивные, предприятия бытового обслуживания населения (кроме домов быта, комбинатов обслуживания), предприятия связи, а также помещения категорий Г и Д площадью не более 500 м |
1 |
- |
|
Клубы |
1 |
100 |
|
Общеобразовательные школы без спальных корпусов |
1 |
80 |
|
Детские дошкольные учреждения с дневным пребыванием детей, предприятия общественного питания и транспорта |
1 |
50 |
|
Летние садовые домики |
1 |
|
Примечание: Этажность зданий следует принимать без учета цокольного этажа.
3.1.2. Запрещается печное отопление в зданиях категорий А, Б и В.
3.2.1. Для отопления помещений следует принимать печи, конструкции которых испытаны в лабораториях, имеют теплотехнические характеристики и проверены в эксплуатации, а также печи и отопительные бытовые аппараты или котлы заводского изготовления.
3.2.2. Число отопительных печей в здании должно быть минимальным. Одной печью допускается отапливать не более 3-х помещений, расположенных на одном этаже.
3.2.3. Теплоотдача печи или аппарата не должна быть меньше теплопотерь отапливаемых помещений. Значение теплолотерь должно быть в проекте здания.
3.2.4. При отоплении нескольких смежных помещений одной печью ее следует устанавливать таким образом, чтобы теплоотдача выходящей в каждое помещение части нагретой поверхности возмещала теплопотери соответствующего помещения.
3.2.5. При выборе печей необходимо учитывать особенности санитарно-гигиенических требований к печам, устанавливаемым в различных помещениях, особенно в детских и лечебных учреждениях.
3.2.6. Для малометражных (однокомнатных) квартир рекомендуется применять комбинированные отопительно-варочные печи, обеспечивающие отопление квартиры и приготовление пищи.
3.2.7. При установке кухонной плиты со щитком, последний может служить в качестве прибора отопления для кухни и соседних подсобных помещений. Отапливать жилые комнаты только за счет щитка при плите не рекомендуется, ввиду малой его теплоотдачи.
3.2.8. В двухэтажных зданиях допускается применять двухъярусные кирпичные печи с обособленными топливниками и дымоходами для каждого этажа, а для двухъярусных квартир - с одной топкой на первом этаже. Укладка деревянных балок между верхним и нижним ярусами не допускается.
3.3.1. При размещении отопительных печей и аппаратов в помещениях дымовые каналы для отвода продуктов горения не должны пересекать балки и стропила, а также планировку помещений. Варианты размещения печей на плане помещений приведены на рис. 3.1.
Рис. 3.1. Примеры размещения печей и плит в жилых домах
1 - отопительно-варочная печь; 2 - отопительная печь; 3 - кухонная плита со щитком; 4 - водогрейная колонка.
3.3.2. Не рекомендуется размещение отопительных печей и аппаратов у наружных стен здания.
3.3.3. Печи, как правило, следует размещать у внутренних стен и перегородок, предусматривая использования внутренних несгораемых стен для размещения в них дымовых каналов. При невозможности устройства дымовых каналов во внутренних стенах, для отвода дыма следует применять насадные или коренные дымовые трубы.
3.3.4. В зданиях любого назначения при наличии коридоров печи следует устанавливать так, чтобы топливники и задвижки обслуживались из коридоров. В зданиях общеобразовательных школ, детских дошкольных, лечебно-профилактических учреждений, клубов, домов отдыха и гостиниц, не имеющих коридоров, печи следует устанавливать так, чтобы топливники и задвижки обслуживались из подсобных помещений.
3.3.5. В коридорах и подсобных помещениях, из которых обслуживаются топливники печей и аппаратов, следует предусматривать окна с форточками или вытяжную вентиляцию с естественным побуждением.
3.3.6. При размещении отопительных аппаратов необходимо обеспечить свободный доступ для чистки камеры сгорания и дымовых каналов от зольных и сажистых отложений.
3.4.1. Материалы для печных работ, а также печные приборы должны удовлетворять требованиям действующих ГОСТ, технических условий, республиканских стандартов, а также указаниям проекта.
3.4.2. Для кладки фундаментов под печи и отдельно стоящих дымовых труб применяются те же материалы, что и для фундамента зданий. Рекомендуется использовать бетонные блоки, бутовый камень, бетон.
При кладке печей, кухонных плит и установке аппаратов следует применять:
а) для основной кладки печей, дымовых труб и каналов в стенах - кирпич полнотелый, керамический (красный), высшего качества, нормального обжига, без трещин и посторонних примесей марки не ниже М 100;
6) для частей печи, подвергающихся воздействию высоких температур (порог, стенки, футеровку и перекрытие топливника, первые два-три ряда насадки в бесканальных печах) - тугоплавкий или огнеупорный кирпич;
в) для облицовки - изразцы, кровельную сталь, кафельные плитки, асбофанеру;
г) для разделок - кирпич полнотелый керамический марки не ниже М 100;
д) для защиты конструкций от возгорания - асбест, асбоцементные плиты, строительный войлок, вымоченный в глине.
3.4.3. Запрещается применять для кладки печей и дымовых каналов кирпич пережженный или недожженный, пустотелый, облегченный, а также силикатный.
3.4.4. Глина для раствора должна применяться преимущественно красная, не загрязненная примесями. Для этого глину предварительно замачивают, а примеси удаляют отмучиванием.
3.4.5. Песок для раствора должен применяться преимущественно горный, без посторонних примесей и растительных остатков, мелкозернистый, просеянный через сито с ячейками 1 - 1,5 мм.
3.4.6. Материалы для кладки печей при хранении должны быть надежно защищены от атмосферных осадков.
3.4.7. При производстве печных работ следует применять следующие растворы:
а) глино-песчаный - для кладки из полнотелого керамического кирпича марки не ниже М 100, а также для футеровки керамическим кирпичом;
б) из тугоплавкой глины с песком - для кладки тугоплавкого кирпича;
в) из огнеупорной глины с шамотным порошком - для кладки из огнеупорного кирпича;
г) известковый или известково-цементный - для кладки дымовых труб, вентиляционных каналов, дымовых каналов в стенах зданий;
д) известково-цементный - для кладки дымовых труб выше чердачного перекрытия;
е) цементный - для кладки дымовых труб выше крыши;
ж) известково-песчаный - для кладки фундамента в сухом грунте и цементный - во влажном грунте;
з) глино-песчаный - для сборки печей и кухонных плит из блоков заводского изготовления, кирпичных вкладышей;
и) глиняный, известково-гипсовый, цементно-глиняный - для оштукатуривания печей и труб в зависимости от требуемого качества отделки, назначения и влажности в помещении.
В помещениях с повышенной влажностью для оштукатуривания рекомендуется цементно-глиняный раствор.
3.4.8. Состав глино-песчаного раствора для кладки должен подбираться в зависимости от жирности глины в соотношениях, обеспечивающих высыхание раствора без заметного изменения объема и растрескивания. Глино-песчаную растворную смесь нужно приготовлять заблаговременно, не менее чем за сутки до начала работ.
3.4.9. Для приготовления раствора следует применять чистую воду. В случае применения морской воды, норма цемента в растворах должна увеличиваться на 10 - 15 проц.
3.4.10. Окраску печей производить водяными и казеиновыми красками, а также известью. Печные приборы и металлические футляры окрашивают печным лаком или жароустойчивыми красками.
3.4.10. Материалы в зимнее время до начала работ должны быть подогреты до температуры не ниже 5°С.
3.5.1. К производству печных работ следует приступать при наличии:
а) планов помещений с привязкой печей, дымовых труб и фундаментов;
б) рабочих чертежей с порядками для отопительных и отопительно-варочных печей или технической документации для печей и аппаратов заводского изготовления;
в) рабочих чертежей с деталями устройства элементов противопожарной защиты.
3.5.2. Отопительные печи массой 750 кг и более должны устанавливаться на отдельные фундаменты или основания.
Размещение печи на отдельном фундаменте показано на рис. 3.2.
Рис. 3.2. Размещение печи на отдельном фундаменте
1 - печь; 2 - гидроизоляция; 3 - предтопочный лист; 4 - фундамент печи; 5 - засыпка; 6 - фундамент стены.
3.5.3. Перед кладкой фундамента определяется место расположения и контуры печи, производится разбивка осей и углов фундамента. Отмечаются места сопряжения фундамента с конструкциями здания.
3.5.4. При возведении фундамента из кирпича или природных камней следует выполнять следующие правила кладки:
а) поверхности кирпича и камней должны быть очищены от грязи и пыли;
б) кирпич перед кладкой должен погружаться в воду, природные камни допускается смачивать водой;
в) толщина швов кирпичной кладки должна быть равномерной и выдерживаться в допустимых размерах;
г) фундаменты из природных камней и щебня выполняются в опалубке методом бетонирования с учетом требований на производство и приемку работ по бетонным и железобетонным монолитным конструкциям;
д) нижние слои фундаментной кладки необходимо защищать от грунтовых вод и переувлажнения.
3.5.5. При выполнении фундамента на насыпном грунте под фундаментом должен предусматриваться уплотнительный слой.
3.5.6. Для обеспечения требуемой, несущей способности фундамента и устойчивости печи, размер фундамента в плане должен выходить за контуры печи не менее, чем на 50 мм.
3.5.7. Между фундаментом под печь и фундаментом здания предусматриваются зазоры не менее 50 мм, обеспечивающие независимую осадку печи и здания. Зазоры заполняются сухим песком.
3.5.8. Толщина горизонтальных швов кирпичной кладки фундамента должна выдерживаться в пределах 10 - 15 мм, а вертикальных швов - 8 - 5 мм.
3.5.9. Возведение фундамента из камней и бутобетона должно осуществляться с соблюдением следующих правил:
а) состав бетонной смеси должен соответствовать требованиям на производство бетонных работ;
б) укладка бетонной смеси должна производиться горизонтальными слоями высотой не более 250 мм;
в) размер камней, втапливаемых в бетон, не должен превышать 1/3 толщины фундамента;
г) заливка бетонным раствором и втапливание камней должны выполняться так, чтобы обеспечивалась монолитность кладки. Не допускается втапливание камней в бетонную смесь, начавшую схватываться.
3.5.10. Глубина заложения фундамента под печь должна приниматься от 0,7 до 1 м.
По высоте фундамент выполняется до уровня чистого пола помещения. Кладка фундамента заканчивается двумя рядами обыкновенного глиняного кирпича с гидроизоляцией между ними.
3.5.11. Отопительные печи, размещаемые на втором этаже здания, могут устанавливаться на основания. Основания выполняются на консолях (рис. 3.3) или на уширении стен (рис. 3.4).

Рис. 3.3. Основание печи на консолях
1 - печь; 2 - два слоя кирпича; 3 - теплоизоляция; 4 - настил; 5 - консоли; 6 - балка; 7 - стяжной болт; 8 - детали крепления консоли.
Рис. 3.4. Основание печи на уширении стены
1 - стена; 2 - основание печи; 3 - печь; 4 - вентиляционная решетка; 5 - разделка из кирпича.
3.5.12. Основания на консолях устраиваются обычно у бетонных и железобетонных стен зданий заводского изготовления. Размеры и конструктивное исполнение консолей определяются расчетом и должны быть представлены в проектных материалах.
3.5.13. При каменных или кирпичных стенах, как правило, основания под печь выполняются за счет уширения стены кирпичной кладкой. Кладку уширения стены необходимо выполнять так, чтобы вынос каждого ряда не превышал 1/3 длины кирпича, а общий вынос кирпичного неармированного карниза не превышал половины толщины стены.
3.5.14. Для повышения прочности и несущей способности кладка из кирпича может армироваться. Армирование должно выполняться металлической сеткой с диаметром проволоки 2 - 6 мм. Армирование отдельными стержнями не допускается.
3.5.15. Кладку печей, кухонных плит и дымовых каналов следует производить согласно порядовок с соблюдением горизонтальности рядов, вертикальности углов, формы и размеров. Вертикальность граней и углов кладки, горизонтальность ее рядов должны проверяться не менее двух раз через 0,5 - 0,6 м на каждом ярусе кладки с устранением отклонений.
3.5.16. Глино-песчаный раствор приготавливается заранее, не позднее, чем за сутки до начала работ. Раствор должен подбираться в зависимости от жирности глины с соотношением глины и песка, обеспечивающем высыхание раствора без заметного изменения объема и без растрескивания.
3.5.17. При кладке в жаркую сухую погоду (при температуре воздуха 30° С и более и относительной влажности воздуха менее 50 проц.) глиняный кирпич перед укладкой в конструкцию должен погружаться в воду на время, необходимое для оптимального увлажнения.
При перерывах в работе верхний ряд кладки должен оставляться неприкрытым раствором. Продолжение кладки после перерыва можно начинать с полива водой верхнего слоя кирпича. Раствор систематически перемешивать, не допускать обезвоживания раствора.
3.5.18. Каждый ряд кладки должен быть выложен с перевязкой швов в 1/2 кирпича. В рядах, где для обеспечения перевязки необходимо 3/4 кирпича, допускается перевязка в 1/4 кирпича.
3.5.19. Толщина швов печной кладки, выполняемой из обыкновенного глиняного кирпича, должна быть не более 5 мм, а из тугоплавкого и огнеупорного - 3 мм. Толщина швов кладки труб, выполняемой на известковом или сложном растворе, должна быть не более 10 мм. Горизонтальные и вертикальные швы кирпичной кладки должны полностью заполняться раствором.
3.5.20. Закладные детали печи (дверки, рамки, задвижки и т.п.) должны устанавливаться по ходу кладки и крепиться металлической проволокой, заделываемой в швы кладки.
Следует обеспечивать при этом вертикальность установки поддувальной и топочной дверок, исключающую их самопроизвольное открывание.
3.5.21. Колосниковые решетки должны размещаться в топливнике ниже нижней границы топочного отверстия на 7 - 14 мм и укладываться на место с зазором шириной 5 мм по периметру, заполняемым песком. Прорези решетки должны располагаться вдоль топливника.
3.5.22. Задвижка или вьюшка дымового канала в отопительной печи, работающей на торфе, угле или газе должна иметь отверстие диаметром 15 мм.
3.5.23. Установку вентиляционных решеток в закрытых отступках отопительных печей следует выполнять в соответствии со схемой, приведенной на рис. 3.5.
Рис. 3.5. Схема размещения вентиляционных решеток
1 - вентиляционная решетка; 2 - закрытая отступка; 3 - стена.
3.5.24. Отверстия в стенах и камеры в кладе печи следует перекрывать напуском кирпича, клинчатыми перемычками или сводами. Применение стальных перемычек для перекрытия отверстий не допускается.
3.5.25. Кладку клинчатых перемычек и сводов следует выполнять на опалубке одновременно с двух сторон в направлении от пят к середине. Толщина клинообразных швов должна быть не менее 5 мм внизу и не более 25 мм вверху.
3.5.26. Мероприятия пожарной безопасности по защите сгораемых и трудносгораемых конструкций от возгорания, разделки и отступки выполняются одновременно по ходу кладки печи.
3.5.27. Внутренние поверхности печи и дымового канала должны быть гладкими, тщательно очищаться от излишков раствора мокрой швабровкой. Оштукатуривание внутренних поверхностей не допускается.
3.5.28. В пределах чердачного помещения наружные поверхности дымовой трубы следует оштукатурить и побелить.
3.5.29. Кладку дымовой трубы выше кровли необходимо производить на известковом, цементном или смешанном растворе. Использование глиняного раствора не допускается.
3.5.30. Верх оголовка дымовой трубы следует защищать от атмосферных осадков слоем цементного раствора (рис. 3.6.) или колпаком из кровельной стали.
Рис. 3.6. Варианты защиты оголовка
1 - дымовая труба; 2 - колпак из кровельной стали; 3 - слой цементного раствора
3.5.31 Отделка наружных поверхностей печей может осуществляться: оштукатуриванием глиняным, известково-глиняным или цементно-глиняным раствором с добавлением 10-20 проц. по объему асбестовой крошки; облицовкой металлическими листами, окрашенными термостойкой краской с добавлением алюминиевого порошка; облицовкой плиткой или изразцами.
3.5.32. При выборе вида отделки печей следует учитывать:
а) назначение здания (больница, детские учреждения, жилой дом и т. д.);
б) вид печи;
в) место установки печи или аппарата (отдельное помещение, кухня, гостиная и др.);
г) экономическую возможность, целесообразность и др.
3.5.33. При устройстве печей повышенного прогрева следует выполнять ряд дополнительных требований:
а) печь с наружной стороны защищается металлическим футляром или каркасом;
б) металлический футляр крепится кляммерами из полосок кровельной стали длиной 100 мм и шириной 10 - 15 мм, приклепанных к стенке футляра и зажимающихся в швах кирпичной кладки;
в) в качестве каркаса могут использоваться асбоцементные листы, которые снаружи окрашиваются алюминиевым порошком, разведенным в асфальтовом лаке № 177 с добавлением бензина в соотношении по весу - 70 проц., алюминиевой пудры - 20 проц., бензина - 10 проц.
3.5.34. При монтаже печей заводского изготовления из сборных бетонных блоков следует обращать внимание на правильность сборки, наличие и правильность установки тепловых компенсаторов, которые предотвращают разрушение блоков при разогреве печей.
3.5.35. После возведения печей и отопительных аппаратов должна производиться их сушка путем пробной топки с постепенным увеличением топлива, начиная с закладки 20 - 30 проц. расчетного количества топлива. Сушку можно считать законченной, если на поверхности печи перестанут появляться сырые пятна, а на задвижке или вьюшке - следы конденсата. По окончании сушки не должно быть трещин на поверхности печи.
3.5.36. Во время сушки печи задвижка, топочная и поддувальная дверцы должны оставаться открытыми круглые сутки.
3.5.37. Сушка и пробная топка печей до вывода дымовых труб выше кровли не допускается.
3.6.1. Кладка печей должна осуществляться с учетом требований проекта, а установка аппаратов - с учетом требований заводской инструкции.
3.6.2. При кладке и ремонте печей, а также установке отопительных аппаратов должны соблюдаться противопожарные мероприятия в соответствии с требованиями СНиП 2.04.05-86, СНиП 3.03.01-87, ГОСТ 9817-82, а также альбомов отопительных и отопительно-варочных печей, рекомендованных при использовании твердого топлива и настоящих Правил.
3.6.3. Сгораемые и трудносгораемые конструкции помещений, примыкающие к отопительной печи или аппарату, должны защищаться от возгорания путем устройства отступок, разделок, а также изоляцией конструкций несгораемыми материалами.
3.6.4. Отступка, т.е. расстояние от наружной поверхности печи до строительной конструкции, может выполняться полностью закрытой, закрытой с двух сторон, закрытой с одной стороны и открытой со всех сторон.
3.6.5. Размеры отступки и способы защиты сгораемых и трудносгораемых стен и перегородок в зависимости от вида отступки и конструктивных особенностей печи следует принимать согласно табл. 3.2.
3.6.6. В детских дошкольных и лечебно-профилактических учреждениях следует предусматривать только закрытые отступки, схемы которых представлены на рис. 3.7. С боковых сторон отступа заделывается красным кирпичом, а сверху на уровне перекрыши печи - двумя рядами кирпича.
Рис. 3.7. Устройство закрытой отступки
1 - фундамент печи; 2 - уплотнительный слой; 3 - несгораемый пол; 4 - деревянная стена; 5 - щит из досок; 6 - теплоизоляция (асбест или войлок); 7 - кирпич «на ребро»; 8 - печь; 9 - предтопочный лист
Таблиц 3.2.
РАЗМЕРЫ ОТСТУПОК И СПОСОБЫ ЗАЩИТЫ КОНСТРУКЦИИ ОТ ВОЗГОРАНИЯ
|
Отступки |
Наименьшее расстояние между печью или дымовой трубой и сгораемой или трудносгораемой стеной или перегородкой, в мм |
Способы защиты конструкций в отступках |
|
|
1. Отопительные и отопительно-варочные со стенками толщиной 120 мм с периодической топкой продолжительностью до 3 ч. |
Открытые или закрытые с одной стороны |
130 |
Штукатуркой толщиной 25 мм. |
|
2. То же |
Закрытые с двух сторон |
130 |
Щитом из досок, обитым асбестовым картоном толщиной 8 мм или двумя слоями войлока, пропитанного глиняным раствором и облицованным кирпичом на глиняном растворе толщиной 65 мм. |
|
3. То же, со стенками толщиной 65 мм |
Открытые с двух сторон |
320 |
Штукатуркой толщиной 25 мм. |
|
4. Отопительные длительного горения |
То же |
260 |
Штукатуркой толщиной 25 мм. |
|
5. Отопительные и отопительно-варочные со стенками толщиной 120 мм периодической топки продолжительностью более 3ч. |
|
260 |
Штукатуркой толщиной 25 мм по асбестовому картону толщиной 8 мм или по войлоку, пропитанному глиняным раствором. Кирпичной облицовкой толщиной 65 мм на глиняном растворе. |
|
6. То же |
Закрытые |
260 |
Щитом из досок, обитым двумя слоями войлока, пропитанного глиняным раствором и облицованным кирпичом на глиняном растворе толщиной 120 мм. |
Примечания: 1. Высоту и ширину слоя изоляции у печей при открытых отступках следует предусматривать больше их высоты и ширины на 150 мм, а высоту слоя изоляции над кухонной плитой - на 500 мм выше чугунного настила.
2. Размеры отступок и способы защиты конструкций от возгорания в отступках дымовых труб следует предусматривать те же, что и для печей, от которых отводится дым через эти трубы.
3. Для защиты конструкций от возгорания в открытых отступках следует предусматривать штукатурку по металлической сетке. Применять сухую штукатурку не допускается.
4. Допускается применять строительный войлок, пропитанный глиняным раствором, с последующей штукатуркой по металлической сетке. Применять минеральный войлок не допускается.
5. Допускается применение для защиты конструкций от возгорания других негорючих материалов, обеспечивающих предел огнестойкости конструкции не менее 0,75 ч при открытой отступке и 1 ч при закрытой отступке.
6. В зданиях общеобразовательных школ, детских дошкольных учреждений, общежитиях и предприятий общественного питания защиту конструкций от возгорания у отопительно-варочных печей следует предусматривать по поз. 6 настоящей таблицы. Схема размещения решеток приведена на рис. 3.5.
3.6.7. Для циркуляции воздуха в закрытой отступке в стенах с боковых сторон выполняются отверстия над полом и вверху и устанавливаются решетки.
3.6.8. Пол в отступке следует выполнять из негорючих материалов на 70 мм выше уровня пола помещения. Допускается сгораемый пол, обеспечивая его защиту отступке с пределом огнестойкости не менее 0,75 ч.
3.6.9. Для отопительных печей длительного горения и каркасных печей со стенками толщиной 65 мм отступки следует выполнять открытыми со всех сторон.
3.6.10. Изоляция сгораемых конструкций в открытых отступках должна осуществляться штукатуркой толщиной 25 мм или кровельной сталью по асбестовому картону толщиной 8 мм и выходить за контуры печи на 150 мм.
3.6.11. Потолки, выполненные из сгораемых или трудносгораемых материалов, над перекрытием печи должны защищаться от возгорания.
3.6.12. Минимальное расстояние от верха перекрыши толщиной в три ряда кирпича до потолка, защищенного от возгорания, следует предусматривать 250 мм для печей с периодической топкой и 700 мм для нетеплоемких печей длительного горения, а до незащищенного потолка, соответственно, - не менее 350 и 1000 мм.
При толщине перекрыши в два ряда расстояние должно увеличиваться на 70 мм.
3.6.13. Для толстостенных печей с толщиной перекрыши 4 кирпича и более допускается закрывать пространство над печью со всех сторон до потолка кирпичными стенами, обеспечивая защиту потолка.
В стенах закрытого пространства над печью следует предусматривать два отверстия на разном уровне с решетками.
3.6.14. Конструкции здания, выполненные из горючих или трудногорючих материалов и примыкающие к печам, следует защищать от теплового воздействия разделками из негорючих материалов.
3.6.15. Размеры разделок (расстояние от внутренней поверхности печи до сгораемой строительной конструкции) в зависимости от вида печи и способов защиты конструкций от возгорания приведены в табл. 3.3.
Таблица 3.3.
РАЗМЕРЫ РАЗДЕЛОК У ПЕЧЕЙ И ДЫМОВЫХ КАНАЛОВ
|
Размеры разделок, мм |
||
|
Сгораемая конструкция не защищенная |
Сгораемая конструкция защищенная: |
|
|
1. Отопительные и отопительно-варочные с периодической топкой продолжительностью в ч: |
|
|
|
до 3 |
380 |
250 |
|
более 3 |
510 |
380 |
|
2. Отопительные длительного горения |
380 |
250 |
Примечания: 1. В зданиях детских дошкольных учреждений размеры разделок следует принимать как для печей продолжительностью топки более 3 ч.
2. Размеры разделок для отопительных котлов на твердом топливе следует принимать как для печей с периодической топкой продолжительностью более 3 ч.
3. Сгораемая конструкция считается защищенной от возгорания, если предел огнестойкости ее не менее 0.75 ч.
3.6.16. Устройство вертикальной разделки при расположении отопительных печей в проемах сгораемых (трудносгораемых) конструкций приведено на рис. 3.8.
Рис. 3.8. Устройство вертикальной разделки
1 - печь; 2 - вертикальная разделка; 3 - сгораемая конструкция; 4 - теплоизоляция
3.6.17. Вертикальные разделки выполняются на всю высоту печи в пределах помещения, толщиной не менее толщины примыкающей стены или перегородки.
3.6.18. Перевязка вертикальных разделок с кладкой печи или дымового канала не допускается, так как это может вызвать образование трещин при осадке печи.
3.6.19. Защита сгораемых конструкций в пределах разделки может выполняться асбестовым картоном толщиной 8 мм или войлоком толщиной 20 мм, смоченном в глиняном растворе.
3.6.20. При устройстве двухъярусных печей следует выполнять горизонтальные разделки в местах пересечения печами сгораемых конструкций перекрытия.
3.6.21. Горизонтальные разделки перевязываются с кладкой печи. Не допускается опирать разделку на перекрытие. Для независимой осадки здания и печи между разделкой и строительной конструкцией оставляется зазор 15 мм, который заполняется негорючими материалами (глиняный раствор с добавлением асбестовой крошки).
3.6.22. Высоту разделки следует принимать больше толщины перекрытия так, чтобы верх разделки выступал над полом или засыпкой на чердаке на 70 мм.
3.6.23. Укладка деревянных балок перекрытия в разделке между верхним и нижним ярусами двухъярусной печи не допускается.
3.6.24. Разделка от дна зольника и дымооборотов до сгораемого пола должна выполняться тремя рядами кирпича, обеспечивая расстояние не менее 210 мм. При несгораемой конструкции пола дно зольника и дымооборотов допускается выполнять на одном уровне с полом.
3.6.25. Стену или перегородку из горючих материалов, расположенную под углом фронту печи на расстоянии менее 1250 мм от топочной дверцы следует защищать от возгорания от пола до уровня на 250 мм выше от топочной дверки. Защита должна обеспечивать предел огнестойкости конструкции не менее 0,75 ч.
3.6.26. Для защиты пола из сгораемых и трудносгораемых материалов под топочной дверкой устанавливается металлический лист размером 500×700 мм, длинной стороной вдоль печи.
3.6.27. Сгораемый пол под каркасными печами и отопительными аппаратами необходимо изолировать негорючими материалами, обеспечивая предел огнестойкости конструкции не менее 0,75 ч.
3.6.28. Отопительные аппараты на твердом топливе следует устанавливать на расстоянии не менее 0,5 м от сгораемых строительных конструкций.
3.6.29. Печь повышенного прогрева должна выполняться в металлическом футляре, обеспечивающем прочность и газонепроницаемость.
3.6.30. Печи из сборных бетонных блоков должны иметь компенсаторы, предохраняющие разрушение блоков и образование сквозных трещин при разогреве массива печи во время топки.
3.7.1. Приемка отопительных и отопительно-варочных печей и аппаратов на твердом и газообразном топливе должна осуществляться с учетом требований СНиП 3.03.01-87 "Правила производства и приемки работ. Каменные конструкции», СНиП 2.04.08-87 «Газоснабжение», «Правила безопасности в газовом хозяйстве», «Правила технической эксплуатации и техники безопасности в газовом хозяйстве РСФСР» и настоящих Правил.
3.7.2. Отопительные печи и аппараты на твердом и газообразном топливе после кладки (монтажа) должны быть сданы комиссии.
Печи и аппараты на твердом топливе принимает комиссия в составе представителя жилищно-коммунальной организации, техника-смотрителя (коменданта); владельца дома.
Газовые печи и печи, переведенные с твердого топлива на газ, принимает комиссия в составе представителей эксплуатационной организации газового хозяйства (председатель), заказчика, строительно-монтажной организации.
3.7.3. При приемке-сдаче отопительных печей и аппаратов заказчик должен предъявить комиссии:
а) проектные материалы на печь (аппарат);
б) акты на скрытые работы, составляемые в процессе кладки;
в) проект подводки газа к печам (аппаратам), утвержденный в установленном порядке с внесенными в него отступлениями и изменениями, допущенными в процессе монтажа;
г) акт обследования технического состояния отопительных и отопительно-варочных печей, предназначенных к переводу, на газовое топливо;
д) акт обследования технического состояния дымовых и вентиляционных каналов от печей (аппаратов);
е) акт приемки в эксплуатацию внутридомового газового оборудования;
ж) протокол о сдаче экзаменов на знание правил техники безопасности в газовом хозяйстве комендантами и управляющими в жилых домах и ответственными лицами за газовое хозяйство на предприятиях;
з) документ, удостоверяющий обучение жильцов правилами безопасного пользования газифицированными печами (аппаратами).
3.7.4. При приемке печей (аппаратов) на твердом или газообразном топливе необходимо проверить:
а) наличие необходимой исполнительно-технической документации (проектных материалов на печь, проекта подводки газа, актов на скрытые работы, актов проверки пригодности к эксплуатации печей и дымовых каналов, акта приемки газового оборудования и других документов, регламентирующих безопасную эксплуатацию газового оборудования);
б) соответствие выполненных работ требованиям проекта;
в) качество выполненной кладки (наличие перевязки; толщина швов, вертикальность углов и стенок; тщательность пригонки изразцов; наличие трещин);
г) плотность кладки печи;
д) наличие достаточных устройств для чистки печи;
е) размеры разделок или отступок у печей и способ защиты сгораемых конструкций от возгорания;
ж) наличие и работоспособность автоматических устройств, обеспечивающих отключение горелок при прекращении подачи газа, погасания пламени и отсутствии необходимого разрежения в дымовом канале;
з) качество и прочность установки печных приборов;
и) порядок прокладки соединительных труб (патрубков) от печей и аппаратов к дымовым каналам;
к) качество выполненных газопроводов и порядок прокладки их в здании;
л) соответствие дымовых и вентиляционных каналов требованиям, изложенным в главе 5 настоящих Правил.
3.7.5. При приемке-сдаче печных работ необходимо осуществлять контрольную топку печей в присутствии заказчика и подрядчика. При наличии большого количества одинаковых конструкций печей испытывают на выбор несколько печей.
Пробную топку газифицированных печей осуществляют после пуска газа специалисты газового хозяйства.
3.7.6. При пробной топке устанавливают:
а) температуру и равномерность прогрева стенок печи;
б) наличие тяги в печи и дымовых каналах;
в) отсутствие трещим в кладке печи и каналах;
г) отсутствие конденсата дымовых каналах;
д) герметичность в местах установки задвижек и вьюшек.
3.7.7. Отклонения поверхностей кладки печей от вертикали не должны превышать 10 мм на всю высоту печи. Неровности на поверхности допускаются не более 5 мм у печей и труб без облицовки и не более 2 мм у облицованных печей. Отклонения от проектных размеров в плане печи, кухонного очага или дымовой трубы не должны превышать ±10 мм.
3.7.8. Размеры и исправность разделок и отступок между печами, дымовыми каналами и деревянными конструкциями зданий следует производить путем наружного осмотра и простукивания. В том случае, когда наличие разделок и отступок по внешнему осмотру установить невозможно, производят контрольное вскрытие и последующей тщательной заделкой вскрытых мест. Результаты вскрытия оформляются актом.
3.7.9. Печные приборы должны обеспечивать нормальную работу печей и уход за ними. Дверки и задвижки, а также вьюшки должны хорошо закрываться и обеспечивать герметичность.
3.7.10. В случае обнаружения дефектов, препятствующих нормальной и безопасной эксплуатации печей, составляется дефектная ведомость и назначается срок их устранения. До полного устранения дефектов эксплуатация печи не разрешается.
3.7.11. На каждую принятую печь (или группу одинаковых печей) необходимо составлять паспорт, в котором указывается дата кладки печи, отмечаются конструктивные особенности печи и вносят фамилии исполнителей работ.
3.7.12. При сдаче и приемке печных работ производят обмер объема кладки и результаты выполненных работ фиксируют в приемо-сдаточном акте (Приложение 1).
3.8.1. Эксплуатация печей и аппаратов допускается при выполнении требований безопасности, установленных «Типовыми правилами пожарной безопасности для жилых домов, гостиниц, общежитии, зданий административных учреждений и индивидуальных гаражей» и ГОСТ 9817-82 «Аппараты бытовые, работающие на твердом топливе».
3.8.2. Перед началом отопительного сезона печи и аппараты должны быть проверены и отремонтированы. Неисправные отопительные устройства к эксплуатации не допускаются.
3.8.3. Перед эксплуатацией печей следует проверить целостность кладки печей и дымовых каналов и состояние футеровки топливника.
3.8.4. В ходе эксплуатации необходим постоянный контроль за исправностью запорно-регулирующей арматуры, колосниковой решетки, дверок зольника и топливника, герметичностью лючков на дымовых каналах.
3.8.5. Запрещается перекаливать печи с периодической топкой, сжигая топлива больше того количества, на которое они рассчитаны. Топка печей должна осуществляться два раза в сутки,
3.8.6. В производственных, культурно-бытовых, общественных и других служебных помещениях топка печей должна производиться специально выделенными для этого лицами, получившими противопожарный инструктаж и выполняющими правила пожарной безопасности. Топка в указанных помещениях должна заканчиваться за 2 часа до окончания работы в этих помещениях.
3.8.7. В детских учреждениях с дневным пребыванием детей топка должна заканчиваться не позднее, чем за 1 час до прихода детей.
В общежитиях, больницах и детских учреждениях с круглосуточным пребыванием детей топка должна быть закончена за два часа до отхода проживающих ко сну.
3.8.8. Во время массовых мероприятий топка печей и аппаратов не допускается.
3.8.9. Категорически запрещается применять для розжига печей и аппаратов на твердом топливе бензин, керосин и другие легковоспламеняющиеся жидкости.
3.8.10. Запрещается топить печь с открытой топочной дверкой. При самопроизвольном открывании дверки следует произвести ремонт.
3.8.11. Запрещается переполнять топливом топливник или использовать дрова, превышающими по длине глубину топливника, а также превышать количество сжигаемого топлива установленное для каждой марки печи или аппарата.
3.8.12. Подходы к печи со стороны топочной дверки должны быть свободными. Мебель и другие сгораемые материалы следует размещать от отопительных аппаратов на расстоянии не менее 0,5 м. В отапливаемом помещении допускается хранение запаса твердого топлива не более, чем на одну топку.
3.8.13. При эксплуатации отопительных аппаратов заводского изготовления следует использовать топливо только того вида, на который рассчитан аппарат. Не допускается переоборудовать эти аппараты с одного топлива на другое.
3.8.14. В качестве топлива следует использовать дрова и торф, а сланцы и уголь, очищенными от примесей.
3.8.15. При розжиге и загрузке новых порций мелкого угля, богатого летучими соединениями, не следует закрывать все зеркало горения. Если зеркало оказалось закрытым, то до появления пламени в топливнике над поверхностью угля необходимо топочную дверку держать приоткрытой с зазором 10-20 мм для разбавления газов смеси до безопасной концентрации.
3.8.16. Отопительный аппарат с водяным контуром должен эксплуатироваться только подключенным к отопительной системе, заполненной водой.
3.8.17. Во время топки необходимо постоянно вести контроль за температурой воды в контуре по термометру, предусмотренному конструкцией аппарата. Температура воды на выходе из аппарата не должна превышать 90°С.
3.8.18. Поверхности отопительных приборов должны систематически очищаться от пыли и других горючих отложений.
3.8.19. В летний пожароопасный период во время сильного ветра целесообразно прекратить топку печей и аппаратов, работающих на твердом топливе.
3.8.20. Шлак и золу необходимо удалять в специально отведенное для них безопасное место и заливать их водой.
3.8.21. Основные неисправности при кладке и эксплуатации печей и методы устранения неисправностей приведены в табл. 3.4.
Таблица 3.4.
НЕИСПРАВНОСТИ ПЕЧЕЙ, ПРИЧИНЫ И МЕТОДЫ УСТРАНЕНИЯ
|
Вероятная причина неисправности |
Метод устранения неисправности |
|
||||
|
1 |
2 |
3 |
|
|||
|
1. Постеленное ослабление тяги. Слабое горение топлива, при открытой топочной дверке дым поступает в помещение |
Засорение дымоходов или дымовых каналов (труб) |
Полная чистка печи от сажи, удаление из каналов обвалившейся кладки, раствора и т. п. |
|
|||
|
2. Внезапное резкое ослабление тяги, из трубы выбивается тонкая струйка дыма |
Обрушение рассечки, перекрыши или другой части печи |
Установить место повреждения проверкой тяги в дымоходах, начиная с дымовой трубы. Для этого вначале необходимо сжечь бумагу над вьюшкой, затем в прочистном отверстии под трубой и т. д. Изменение тяги укажет на место повреждения. При обрушении кирпичей необходимо их извлечь, разобрать кладку и восстановить разрушенное место. |
|
|||
|
3. Полное отсутствие тяги при растопке печи |
В дымовой трубе и дымоходах находится холодный воздух |
Сжечь над вьюшкой или в месте, предусмотренном для чистки, бумагу, стружку и т.п. |
|
|||
|
4. При ветре дым выбивается в помещение через топочную дверку и конфорки плиты |
Тяга в трубе недостаточна. Каналы трубы размещены в зоне ветрового подпора |
Нарастить дымовую трубу с таким расчетом, чтобы ее оголовок был выведен из зоны ветрового подпора. |
|
|||
|
5. Из дымовой трубы стекает вода, труба и дымообороты покрываются влагой. Часть влаги выходит на наружную поверхность трубы в виде темных пятен |
Температура отходящих газов ниже температуры конденсации водяных паров в дымовой трубе |
Поднять температуру отходящих газов на выходе из канала (трубы) на 15°С выше точки росы, для чего: а) сократить длину дымооборотов в печах с большим числом дымооборотов; б) в печах с малыми размерами топливника увеличить его размеры и поставить колосниковую, решетку большего сечения с целью возрастания количества теплоты; в) увеличить толщину стенок канала (трубы) или утеплить их на чердаке и над крышей слоем теплоизоляции необходимой толщины; г) использовать для топки сухой вид топлива; д) уменьшить сечение дымооборотов до нормативных значений. |
|||
|
6. Выпадение топочных дверок |
Дверки установлены без лапок или закреплены не лапками, а проволокой, которая перегорела |
Разобрать кладку вокруг дверок, извлечь их, наклепать лапки. Поставить дверку на место и заделать кладку вокруг нее. |
|||
|
7. Наличие тяги при закрытой вьюшечной задвижке |
Движок до конца не заходит в рамку или имеются щели между рамкой и кладкой |
Разобрать кладку над задвижкой, извлечь задвижку и очистить пазы. При наличии щели между рамкой и кладкой заложить ее стальной полоской и замазать глиной. |
|||
|
8. Стенки печи не прогреваются даже после длительной топки |
Дымообороты покрыты толстым слоем сажи или холодный воздух поступает в дымообороты через щели в основании печи. |
Произвести чистку печи, проверить дно дымооборотов и при наличии щелей замазать их раствором. |
|||
|
9. Появление в кладке сквозных трещин, неподдающихся заделке |
Кладка произведена без перевязки швов в нескольких рядах подряд; между приборами и кладкой отсутствуют необходимые зазоры; на печь оказывают давление элементы здания, дающего осадку; основание выполнено без учета требований норм и правил |
В зависимости от обнаруженных причин: а) переложить кладку, соблюдая перевязку швов; б) извлечь приборы и установить их снова с соблюдением зазоров; в) устранить давление на печь, убрав давящий элемент; г) расширить трещины и затереть их раствором; д) при повторном появлении трещин или их расширении переложить печь, установив надежное основание-(фундамент). |
|||
|
10. Край кухонной плиты при нагреве приподымается |
Противоположный край плиты прижат кладкой |
Извлечь плиту и уложить ее свободно. |
|||
|
11. Сильный перегрев отдельных участков печи |
Разрушение отдельных кирпичей |
Сменить разрушенные кирпичи новыми. При появлении прогаров в большом количестве печь подлежит перекладке. |
|||
|
12. Сужение дымоходов, установка приборов несоответствующих размеров, выступы и шероховатости внутри дымовых каналов и т.п. |
Небрежность, допущенная при кладке, низкая квалификация печника |
Качественное выполнение всех работ по кладке с учетом требований изложенных в проектных материалах печи. |
|||
4.1.1. Газовое отопление помещений включает в себя использование:
отопительных и отопительно-варочных печей;
малометражных отопительных бытовых котлов и аппаратов для водяного отопления;
каминов и калориферов заводского изготовления с отводом продуктов сгорания газа в дымоход.
4.1.2. Печное газовое отопление и отопительные газовые приборы допускаются в зданиях, перечень которых приведен в СНиП 2.04.05-86. Отопление, вентиляция и кондиционирование, СНиП 2.04.08-87. Газоснабжение и Правила безопасности в газовом хозяйстве.
4.1.3. Малометражные отопительные котлы и аппараты для водяного отопления, камины и калориферы заводского изготовления с отводом продуктов сгорания газа в дымоход, допускается предусматривать в жилых зданиях высотой до 5 этажей включительно (без учета цокольного этажа).
4.1.4. Газовое отопление разрешается при использовании печных газогорелочных устройств, малометражных отопительных бытовых котлов и аппаратов для водяного отопления, каминов и калориферов только заводского изготовления с паспортами, подтверждающими их соответствие требованиям стандартов и технических условий.
4.2.2. Системы газового отопления должны обеспечивать в течение всего отопительного периода равномерное нагревание воздуха отапливаемых помещений в пределах допустимых норм, а также пожаро- и взрывобезопасность.
4.2.3. Расчетные потери теплоты в помещениях с печами должны компенсироваться средней тепловой мощностью печей: для печей с периодической топкой - исходя из двух топок в сутки (одна топка печи на газовом топливе не должна превышать 3 ч), а для печей с газогорелочным устройством непрерывного действия - при непрерывной топке.
4.2.4. Топки печей следует предусматривать со стороны коридора или другого нежилого (неслужебного) помещения.
Допускается располагать топки печей со стороны жилых (служебных) помещений при условии подачи газа к печам самостоятельными ответвлениями, на которых в месте присоединения к газопроводу должно устанавливаться вне указанных выше помещений отключающее устройство подачи газа.
Помещения, в которые выходят топки печей, должны иметь вытяжной вентиляционный канал либо окно с форточкой. Перед печью должен быть предусмотрен проход шириной не менее 1 м.
Имеющиеся в помещениях дымовые каналы от бывших кухонных очагов, печей и т.п., не связанных с другими действующими дымовыми каналами, могут быть использованы в качестве вентиляционных каналов.
4.2.5. Печи с газогорелочными устройствами должны быть оборудованы тягостабилизаторами.
4.2.6. В зданиях с печным газовым отоплением не допускается:
а) устройство вытяжной вентиляции с искусственным побуждением;
б) отвод дыма в вентиляционные каналы;
в) установка вентиляционных решеток на дымовых каналах.
4.2.7. Печи должны быть изготовлены из кирпича полнотелого керамического марки не ниже М100.
Топливники печей с газогорелочными устройствами тепловой мощности более 9 кВт должны быть футерованы.
Для футеровки топливника печи должен использоваться тугоплавкий и огнеупорный кирпич.
4.2.8. Для каждой печи следует предусматривать отдельную дымовую трубу или канал. Дымовые трубы должны выполняться насадными или коренными (отдельно стоящими).
Дымовые трубы (каналы) должны приниматься из кирпича полнотелого керамического марки не ниже М 75, жаростойких бетонных или железобетонных блоков.
Допускается применять для разовых водонагревательных приборов гончарные (керамические), асбестоцементные напорные и безнапорные трубы при условии их теплоизоляции (Рис. 4.1.).
4.2.9. Перед первичной эксплуатацией печи должна быть проведена ее сушка путем пробной топки при работе только запальной горелки газогорелочного устройства. Сушку следует считать законченной, если на поверхности печи исчезнут сырые пятна, а на задвижке (тягостабилизаторе) - следы конденсата.
Во время сушки печи поддувальная дверка или регулятор подачи вторичного воздуха для горения (при их наличии) должны быть открыты.
4.2.10. Малометражные газовые отопительные котлы и аппараты разрешается устанавливать в нежилых помещениях высотой не менее 2 м, имеющих вентиляционный канал или форточку, зазор между полом и дверью с живым сечением не менее 0,02 м2 для притока воздуха в помещение установки.
Объем
помещения кухни, в которой устанавливается котел или аппарат, должен быть на 6
м3
больше объема, требуемого для установки газовых плит
(8 м3 - для плиты на две конфорки, 12м3 - для плиты на
три конфорки и 15 м3 - для плиты на четыре конфорки).
4.2.11. В одном помещении допускается установка не более двух малометражных котлов (аппаратов).
При установке одного объем помещения должен составлять не менее 7,5 м3, двух - не менее 12м3.
4.2.12. Отвод продуктов сгорания газа от малометражных котлов и аппаратов, каминов и калориферов должен предусматриваться от каждого прибора по обособленному дымоходу.
В существующих зданиях допускается присоединение к одному дымоходу не более двух газовых приборов, расположенных на одном или разных этажах при условии ввода продуктов сгорания в дымоход на различных уровнях не ближе 50 см друг от друга, или устройства в дымоходе на такую же высоту рассечек (рис. 4.2.). При соединении к дымоходу двух приборов сечение дымохода определяется исходя из одновременной их работы.
Рис. 4.1. Устройство дымоходов отопительных печей на газовом топливе с непрерывным режимом топки
1 - асбестоцементная труба; 2 - минеральная вата; 3 - металлический кожух; 4 - опорная пластина; 5 - кирпичная кладка (пустоты между кладкой и трубой заполняются теплоизоляционным материалом).
4.2.13. Проходное сечение канала для отвода продуктов сгорания газа от прибора должно быть оптимальным, обеспечивающим полный отвод и минимальное охлаждение продуктов сгорания. Во всех случаях площадь проходного сечения патрубка газового прибора, присоединяемого к дымоходу.
Рис. 4.2. Схема ввода продуктов сгорания газа от двух малометражных отопительных котлов или аппаратов в один дымоход
а) ввод продуктов сгорания на разных уровнях; б) ввод продуктов сгорания с устройством рассечки.
4.2.14 Газовые малометражные отопительные котлы и аппараты, камины и калориферы должны присоединяться к дымовым трубам (каналам) металлическими трубами.
Длина вертикального участка соединительной трубы, считая от низа дымоотводящего патрубка прибора до оси горизонтального участка трубы, должна быть не менее 0,5 м. В помещениях высотой до 2,7 м для приборов со стабилизаторами тяги допускается уменьшение длины вертикального участка до 0,25 м, а для приборов без стабилизатора тяги - 0,15 м.
Длина металлических горизонтальных труб для присоединения газовых приборов в строящихся зданиях должна быть не более 3 м, а в существующих - не более 6 м.
Уклон трубы должен быть в сторону газового прибора не менее 0,01.
Подвеска и крепление соединительных труб должны исключать возможность их прогиба.
Звенья соединительных труб должны плотно, без зазоров, вдвигаться одно в другое по ходу газа не менее чем на 0,5 диаметра трубы.
Соединительная труба должна плотно присоединяться к дымовой трубе (каналу). Конец соединительной трубы не должен перекрывать сечение канала, для чего используются ограничивающие устройства (шайба или гофр).
Соединительные трубы из черной листовой стали должны окрашиваться термостойкими красками.
4.2.16. Запрещается прокладка соединительных труб от приборов к дымовым трубам (каналам) через жилые комнаты. Трубы, прокладываемые через неотапливаемые помещения, должны теплоизолироваться, обеспечивая температуру на наружной поверхности ниже 40° С
4.2.17. Соединительные трубы должны иметь не более трех поворотов, радиус закругления которых должен быть не менее диаметра трубы.
4.2.18. Присоединение к дымовой трубе (каналу) соединительной трубы от приборов должно осуществляться так, чтобы в канале ниже ввода трубы оставался «карман» глубиной не менее 0,25 м. В блочных домах, сооружаемых из панелей высотой в этаж или в половину этажа с каналами, а также в одноэтажных домах с гончарными или асбестоцементными дымоходами устройство люка в стенах панелей не требуется.
В местах соединения панелей, в которых проходят дымовые каналы, ниже ввода продуктов сгорания следует производить установку на каналах герметизирующих диафрагм или заглушек.
4.2.19. Требования пожарной безопасности, предъявляемые к газовым бытовым печам, малометражным отопительным котлам и аппаратам, каминам и калориферам и их дымоходам и вентиляционным каналам должны соответствовать § 4.5 и главе 5 настоящих Правил.
4.3.1. Газовое оборудование отопительных и отопительно-варочных печей включает в себя:
газогорелочное устройство по ГОСТ 16569-86;
тягостабилизатор для газогорелочных устройств непрерывной топки;
регулятор подачи вторичного воздуха для горения газа (поддувальная дверка);
подводящий газопровод с запорным устройством.
4.3.2. По характеру эксплуатации и режиму работы печные газогорелочные устройства промышленного изготовления могут выбираться для газификации печей из следующего типового ряда: УГОП-Н-4, УГОП-НП-9, УГОП-П-16.
Индекс «Н» в обозначении устройства означает, что газогорелочное устройство предназначено для непрерывной топки печей, индекс «П» - для периодической топки, индекс «НП» - для непрерывной и периодической. Цифры 4, 9 и 16 указывают номинальную тепловую мощность газогорелочмого устройства в киловаттах.
4.3.3. Основные параметры и размеры газогорелочных устройств должны соответствовать указанным в табл. 4.1.
Таблица 4.1.
ОСНОВНЫЕ ПАРАМЕТРЫ И РАЗМЕРЫ ПЕЧНЫХ ГАЗОГОРЕЛОЧНЫХ УСТРОЙСТВ
|
Норма для типоразмера |
|||
|
УГОП-Н-4 |
УГОП-НП-9 |
УГОП-П-16 |
|
|
1. Номинальная тепловая мощность, кВт, |
4,0 |
9,0 |
16,0 |
|
в том числе: |
|
|
|
|
горелки основной |
3,0 |
6,5 |
13,5 |
|
горелки пониженной мощности (запальной) |
1,0 |
2,5 |
2,5 |
|
2. Номинальное давление газа, кПа |
1,3 или 2,0 (200 ±5)×(250 ±5) |
||
|
3. Размер рамки закладываемой топливник печи, мм |
|||
|
4. Размер штуцера для подвода газа: |
|
|
|
|
условный проход, мм |
15 |
15 |
20 |
|
резьба присоединительная |
|
|
|
|
трубная, цилиндрическая ГОСТ 6357-81 |
G 1/2-А |
G 1/2-А |
G 3/4-А |
|
5. Габаритные размеры, мм, не более: |
|
|
|
|
длина |
485 |
485 |
485 |
|
ширина |
300 |
300 |
380 |
|
высота |
250 |
250 |
360 |
|
6. Масса, кг, не более |
7 |
8 |
8 |
Примечание. Печные газогорелочные устройства соответствуют требованиям ГОСТ 16569-86.
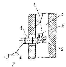
4.3.4. В состав газогорелочного устройства входят (рис. 4.3.) горелка основная;
Рис. 4.3. Общий вид газогорелочного устройства с термоэлектрической автоматикой безопасности
1 - основная горелка; 2 - запальная горелка; 3 - термопара; 4 - рамка; 5 - электромагнитный клапан; 6 - ручка крана; 7 - кран; 8 - газопровод; 9 - инжектор
горелка запальная (для газогорелочных устройств непрерывной топки она является и горелкой пониженной мощности);
автоматика безопасности по контролю пламени на запальной горелке и разрежения в топке печи;
рамка;
фронтальный щиток, на котором крепятся составляющие газогорелочного устройства;
защитно-декоративный кожух со смотровым стеклом у газогорелочных устройств последнего поколения;
тягостабилизатор для газогорелочных устройств непрерывного действия (рис. 4.4.).
Рис. 4.4. Тягостабилизатор газифицированных печей непрерывной топки
4.3.5. Для установки газогорелочного устройства в печь должна использоваться рамка (рис. 4.5.), входящая в комплект устройства, которая надежно крепится к проему топки печи. К рамке крепится газогорелочное устройство двумя винтами.
Рамка унифицирована для всех типов размеров газогорелочных устройств.
Рис 4.5. Рамка, устанавливаемая в проем топки печи, к которой двумя винтами крепится газогорелочное устройство
4.3.6. Установка газогорелочного устройства непрерывной топки и тягостабилизатора в печь должна соответствовать схемам рис. 4.6 и рис. 4.7.
Рис. 4.6. Схема печи, переведенной на газовое топливо в непрерывный режим топки.
1 - газогорелочное устройство; 2 - газопровод с арматурой на нем; 3 - кран на спуске; 4 - тягостабилизатор
Рис. 4.7. Схема установки тягостабилизатора в дымоходе печи
1 - тягостабилизатор; 2 - асбестоцементная труба; 3 - опорная пластина; 4 - уплотнение
4.3.7. При использовании газогорелочных устройств периодического действия в основании дымовой трубы должна устанавливаться герметизирующая задвижка (шибер) с отверстием диаметром 15 мм. Во время топки печи задвижка должна быть открыта.
Печь с газогорелочным устройством периодического действия должна оборудоваться регулятором вторичного воздуха для горения газа в виде задвижки. В качестве регулятора вторичного воздуха может использоваться поддувальная (вольниковая) дверка, крепящаяся в кладке печи с помощью специальных лапок или другими способами.
4.3.8. Отвод дыма от печей и аппаратов, имеющие газогорелочные устройства непрерывного действия должен осуществляться только через специальное отверстие тягостабилизатора площадью проходного сечения 30 см2 для газогорелочных устройств УГОП-Н-4 и 60 см2 для устройств УГОП-НП-9. Отверстия и щели вокруг тягостабилизатора, через которые могут проходить отходящие газы в дымовую трубу (канал), должны тщательно уплотняться и обмазываться раствором.
Для удобства уплотнения отверстий и щелей вокруг тягостабилизатора его установку рекомендуется производить при снятой вентиляционной решетке. После установки тягостабилизатора и уплотнения отверстий и щелей решетка должна быть установлена на место и также уплотнена раствором.
4.3.9. Газогорелочные устройства следует устанавливать в печах с соответствующей теплоотдачей по данным табл. 4.2.
Таблица 4.2
ТЕПЛООТДАЧА ПЕЧЕЙ В ЗАВИСИМОСТИ ОТ ТИПОРАЗМЕРА ГАЗОГОРЕЛОЧНОГО УСТРОЙСТВА
|
Теплоотдача печи, кВт не более |
||
|
режим топки |
режим топки: |
|
|
УГОП-Н-4 |
от 0,8 до 3,0 |
- |
|
УГОП-НП-9 |
от 2,0 до 6,0 |
до 1 |
|
УГОП-П-16 |
- |
до 2 |
Примечание. В таблице указаны газогорелочные устройства выпускаемые отечественной промышленностью.
4.3.10. В жилых зданиях рекомендуется установка печей с горелочными устройствами непрерывного действия. На предприятиях общественного назначения и бытового обслуживания в зависимости от теплоотдачи печей, и конкретных условий эксплуатации зданий и периодичности пребывания людей, должны выбираться газогорелочные устройства как непрерывной, так и периодической топки.
4.3.11. Режим работы газогорелочных устройств непрерывной топки - круглосуточный. Постоянно, в течение всего отопительного сезона, должна работать горелка пониженной мощности. При похолоданиях в работу дополнительно должна включаться основная горелка ее запорным устройством.
Розжиг газогорелочного устройства непрерывного действия производится один раз в начале отопительного сезона, осенью. Первоначальный разогрев печи должен осуществляться при работе запальной и основной горелок в течение не менее 24 часов. Затем основная горелка должна выключиться ее запорным устройством. Основная горелка включается по мере необходимости при похолоданиях.
Запальная горелка (горелка пониженной мощности) должна выключаться только по окончании отопительного сезона.
4.3.12. Продолжительность топки печи с газогорелочным устройством периодического действия должна составлять 2-3 ч один-два раза в сутки.
4.4.1. Применение газового топлива разрешается в отопительных и отопительно-варочных печах, удовлетворяющих требованиям настоящего документа.
4.4.2. Выбор печей для переоборудования на газовое топливо производится городскими или районными жилищно-коммунальными организациями или местными Советами народных депутатов совместно с представителями организации Всероссийского добровольного пожарного общества (ВДПО).
4.4.3. В жилых домах и общественных зданиях определение пригодности печей и дымоходов к переводу на газовое топливо производится комиссией в составе инженерно-технического работника жилищно-коммунальной организации или представителя местного Совета (председатель), управляющего или коменданта дома, а по домам, принадлежащим гражданам на правах частной собственности - домовладельца, представителя организации ВДПО.
4.4.4. Результаты обследования печей и дымоходов, переводимых на газовое топливо, комиссия оформляет актом (приложение 2 и приложение 3). Акты остаются в организации ВДПО, жилищной организации или местном Совете и передаются в трест (контору) газового хозяйства и проектную организацию.
4.4.5. Отопительные и отопительно-варочные печи при переводе на газовое топливо во всех случаях должны оснащаться газогорелочными устройствами с автоматикой безопасности по отключению горелок при погасании пламени и нарушении тяги в дымоходе.
4.4.6. При переводе отопительных печей на газ в помещениях для содержания скота и птицы передние стенки печей необходимо выносить в коридоры, тамбуры или смежные помещения. Если это сделать невозможно, необходимо отгораживать предтопочное пространство на высоту достаточную для предохранения газового оборудования от повреждений, а скота и птицы от ожогов.
Не допускаются к переводу на газовое топливо печи с горизонтальным расположением каналов.
Для определения количества дымооборотов, и их состояния производится вскрытие зеркала печи. После осмотра и очистки каналов все вскрытые места заделываются.
4.4.8. На газовое топливо могут переводиться печи с толщиной стенки не менее 120 мм. Допускается перевод печей на газовое топливо с толщиной стенки в 65 мм (1/4 кирпича) при наличии у печи металлического футляра. На непрерывную топку могут переводиться печи с толщиной стенок 65 мм без металлического футляра.
4.4.9. Не допускается к переводу на газ отопительно-варочные печи в помещениях, расположенных под спальными и групповыми комнатами детских учреждений, обеденными и торговыми залами, кафе, столовыми и ресторанами, больничными палатами, аудиториями, классами учебных заведений, фойе, зрительными залами.
4.4.10. Переводимые на низкое газовое топливо печи и их дымоходы должны быть исправны, без трещин в кладке и завалов. Каждая печь должна иметь достаточное количество чисток в печи и дымоходе, а также шибер (задвижку), если в печь устанавливается газогорелочное устройство периодического действия.
Установка задвижек (шиберов) в печах с непрерывным режимом топки не допускается.
При переводе печей на газовое топливо в непрерывный режим топки высота топливника может быть не менее указанной на рис. 4.6.
Подвод воздуха для горения газа должен осуществляться через канал сечением не менее 120×120 мм. Входное отверстие канала должно оборудоваться регулятором подачи вторичного воздуха в виде дверки, шибера или другого устройства и должно располагаться не менее чем на два ряда ниже топливника. Указанный канал может не выполняться, если используется газогорелочное устройство непрерывного действия.
При переводе печей на непрерывную топку подача воздуха для горения газа осуществляется через отверстия во фронтальном щитке или кожухе газогорелочного устройства.
4.4.12. Топливники отопительных печей при переводе на газовое топливо следует футеровать тугоплавким и огнеупорным кирпичом, футеровку топливника печей непрерывного действия производить не следует.
4.4.13. Отопительно-варочные печи, предназначенные к переводу на газовое топливо, должны иметь площадь основания не более 1 м2 и не более трех шиберов. Один - для летнего хода, другой - для зимнего, третий - вентиляционный.
4.4.14. При выполнении работ по переводу печей на газовое топливо наружным осмотром производится обследование внешней поверхности печи и дымовой трубы, футеровки топливника и его свода. Через чистки обследуются перегородки между дымооборотами. их состояние. Дымообороты должны соответствовать требованиям п. 4.4.7.
4.4.16. При обнаружении дефектов футеровки, свода и перегородок они обновляются вновь. В случае необходимости перекладки свода, сначала через одну из наружных стенок разбираются внутренние перегородки дымооборотов, а затем заменяются свод и перегородки.
Печи, находящиеся в ветхом состоянии, перекладываются вновь.
4.4.17. При выполнении работ по п. 4.4.14 производится очистка дымовых труб и дымооборотов от сажи и мусора через чистки. Если чисток нет, то их следует оборудовать. При очистке дымовой трубы шибер (задвижка) должен быть закрыт.
4.4.18. При переводе отопительных печей на периодический режим топки выполняются следующие работы;
разбирается зеркало печи в зоне топливника. Удаляются топочная и зольниковая дверки, колосниковая решетка;
на втором ряду кирпичной кладки устанавливается регулятор подачи воздуха для горения газа в соответствии с требованием п. 4.4.11. Выкладывается канал для подачи воздуха из зольника в топливник;
на два ряда выше канала подачи воздуха устанавливается рамка газогорелочного устройства. Установка рамки производится одновременно с футеровкой топливника. Толщина футеровки должна быть 65 мм (1/4 кирпича). В случае малой ширины или глубины топливника, когда дополнительная футеровка невозможна, печь рекомендуется перевести на непрерывный режим топки, или стенки топливника выложить целиком из огнеупорного кирпича с толщиной стенки 120 мм. При футеровке топливника кирпичи футеровки не должны перевязываться с кирпичами наружных стен печи;
на два ряда кирпича выше шибера печи оборудуется отверстие в дымоход размером 120×120 мм и устанавливается прочистная дверка. Отверстие используется в качестве чистки и вытяжки;
производится просушка печи и оштукатуривается кирпичная кладка, которая подвергалась ремонту;
после окончания строительных работ проверяется на плотность кладка печи и дымовой трубы. Проверка плотности дымовой трубы (канала) производится в соответствии с главой 5.
4.4.19. При переводе печей на непрерывную топку газом выполняются работы по п.п. 4.4.14 - 4.4.18.
Футеровку топливника производить не следует, так как непрерывная топка характеризуется постоянным температурным режимом стенок и относительно небольшой теплонапряженностью топливника.
Перекрытие печи при проверке кладки на плотность производится через отверстие, выполненное на месте шибера (задвижки), в которое монтируется тягостабилизатор (рис. 4.7).
4.4.20. При переводе отопительно-варочных печей на газовое топливо выполняются следующие работы:
а) наружным осмотром обследуется состояние внешней поверхности печи и дымовой трубы, футеровки стенки духового шкафа (при его наличии), непосредственно соприкасающейся с продуктами сгорания топочной камеры, чугунной плиты и духового шкафа. Через чистки обследуется состояние перегородок между дымооборотами. Обнаруженные дефекты устраняются;
б) в случае наличия в отопительном щитке более трех дымооборотов третий вертикальный дымооборот соединяется непосредственно с дымовой трубой, остальные отключаются от системы дымооборотов;
в) выполняются работы по п. 4.4.15. Щитки отопительно-варочных печей с толщиной стенки 65 мм оштукатуриваются заново;
г) при расположении чугунной плиты на не огнеупорном кирпиче производится снятие плиты и одного ряда кирпича, на который опирается плита. На верхнюю поверхность духового шкафа (при его наличии) наносится слой глины со щебнем толщиной не менее 2 см. Выкладывается ряд кладки из огнеупорного кирпича и плита с конфорочными кольцами устанавливается вновь;
д) выполняются работы по п. 4.4.18.
4.4.21. Общие требования к отопительным и отопительно-варочным печам должны также соответствовать разделу 4.2.
4.4.22. Приемка в эксплуатацию газифицированных печей и пуск газа должны осуществляться в соответствии с требованиями «Правил безопасности в газовом хозяйстве».
4.5.1. При установке газовых малометражных отопительных котлов, аппаратов и емкостных газовых водонагревателей у деревянных оштукатуренных или облицованных негорючими или трудногорючими материалами стенах, последние должны быть изолированы кровельной сталью по листу асбеста толщиной не менее 3 мм. Отопительные приборы должны размещаться на расстоянии не менее 10 см от стены. Изоляция должна выступать за габариты корпуса приборов на 10 см.
4.5.3. Расстояние от соединительной дымоотводящей трубы до деревянных оштукатуренных потолков и стен следует принимать не менее 25 см. Допускается уменьшение указанного расстояния до 10 см при условии защиты стен негорючими материалами, обеспечивая предел огнестойкости конструкции не менее 0,75 ч. Обивка должна выступать за габариты дымоотводящей трубы на 15 см с каждой стороны.
4.5.4. Конструкции зданий из горючих или трудногорючих материалов (стены, перегородки, перекрытия, балки), примыкающие к печам на газовом топливе и дымовым каналам, следует защищать от возгорания разделками из негорючих материалов.
Расстояние от внутренней поверхности печей и дымовых каналов до конструкций здания из горючих или трудногорючих материалов (размеры разделок) следует предусматривать не менее указанных в табл. 4.3.
Таблица 4.3.
Размеры разделок дымовых каналов
|
Размеры разделок в мм при наличии конструкций |
||
|
не защищенных возгорания |
защищенных от возгорания от |
|
|
1. Каналы от отопительной и отопительно-варочной печи с горелками УГОП-НП-8, УГОП-П-14, УГОП-П-19, УГОП-П-25 и с периодической топкой продолжительностью: до 3 ч |
380 |
250 |
|
более 3 ч |
510 |
380 |
|
2. Каналы от аппаратов газовых бытовых проточных, емкостных, отопительных с водяным контуром, отопительной печи с непрерывной топкой с горелкой УГОП-Н-4 |
250 |
250 |
Примечание: защита конструкций от возгорания должна производиться несгораемым материалом, обеспечивая предел огнестойкости не менее 0,75 ч.
4.5.5. Газовые камины и калориферы для отопления должны устанавливаться в помещениях, имеющих окно с форточкой или вентиляционный канал.
При установке каминов на стенах должны соблюдаться следующие требования:
расстояние от камина до негорючих стен помещения должно быть не менее 2 см;
расстояние от камина до трудногорючих стен помещения должны быть не менее 8 см. При этом поверхность стены следует изолировать кровельной сталью по листу асбеста толщиной 3 мм или войлоку толщиной не мнее 15 мм, пропитанному глиняным раствором или другим трудногорючим материалом. Обивка должна выступать за габариты корпуса камина на 10 см. Стены, облицованные глазурированными плитками, не изолируются.
Расстояние от газового камина до сгораемых конструкций и предметов должно быть не менее 0,75 м. При установке каминов на полу должны соблюдаться требования п. 4.5.2.
4.6.1. Для безопасной эксплуатации газовых печей, аппаратов и приборов должны соблюдаться требования «Правил безопасности в газовом хозяйстве».
4.6.1.1. На предприятиях общественного назначения и бытового обслуживания населения у газового оборудования систем отопления на видных местах должны быть вывешены инструкции по правильному и безопасному пользованию газом и во всех случаях таблички с предупредительными надписями по безопасному пользованию газовыми печами, отопительными малометражными котлами и аппаратами, каминами и калориферами (далее «приборы»).
4.6.1.2. Запрещается:
оставлять без присмотра работающие приборы, кроме рассчитанных на непрерывную работу и имеющих для этого соответствующую автоматику;
применять огонь для обнаружения утечек газа из газопроводов и приборов;
допускать к пользованию приборами детей дошкольного возраста, а также лиц, не знающих правил обращения с этими приборами;
нагружать газопроводы посторонними предметами (привязывать веревки, развешивать белье и т. п.);
пользование приборами в случае их неисправности.
4.6.1.3. В случае прекращения подачи газа потребителю краны газогорелочных устройств приборов должны немедленно закрываться.
4.6.1.4. Перед каждым пользованием приборами должна проверяться тяга в топливнике прибора и в дымоходе. Проверка тяги производится до и после включения прибора в соответствии с инструкцией для данного прибора.
При отсутствии тяги пользование прибором запрещается.
4.6.1.5. Помещения, в которых установлены приборы, должны постоянно проветриваться. Категорически запрещается закрывать решетки вентиляционных каналов.
При пользовании приборами форточки или фрамуги окон должны быть открыты.
4.6.1.6. При появлении в помещении запаха газа следует немедленно прекратить пользование приборами, открыть окна для проветривания помещения, вызвать аварийную службу, не зажигать огня, не курить, не включать и не выключать электроосвещение и электроприборы, не пользоваться электрозвонками, проверить, закрыты ли все краны у газовых приборов.
4.6.1.7. При пользовании приборами запрещается закрывать имеющиеся в нижней части дверей решетку или зазор между поломи дверью, которые служат для притока свежего воздуха в помещение установки, необходимого для горения газа.
4.6.1.8. Открывать краны у основной горелки газогорелочных устройств приборов разрешается только при горящей запальной горелке.
В случае погасания пламени на горелках должен быть закрыт кран перед прибором, а топка прибора перед повторным зажиганием должна быть проветрена в течение не менее 5 мин.
4.6.2. Эксплуатация дымоходов и вентиляционных каналов от приборов должна производиться в соответствии с требованиями раздела 5.5., их исправность и ремонт проверяться и производиться в установленные в данном разделе сроки.
4.6.2.1. Ответственными за безопасную эксплуатацию и исправное состояние каналов являются жилищно-эксплуатационные организации, коменданты зданий, а в домах личного владения - их владельцы.
4.6.2.2. Контроль за своевременным проведением проверок состояния печей, дымовых и вентиляционных каналов с целью определения их пригодности для дальнейшей эксплуатации в установленные сроки возлагается на жилищно-эксплуатационные организации, руководителей предприятий общественного назначения и бытового обслуживания населения, а в домах личного владения - на их владельцев.
4.6.2.3. К самостоятельному выполнению проверки и ремонту печей, дымовых и вентиляционных каналов допускаются лица, имеющие специальную подготовку и удостоверения, соответствующие требованиям организаций ВДПО.
4.6.2.4. Представление актов (приложение 2 и приложение 3) о техническом состоянии печей каналов в эксплуатационные организации газового хозяйства является для них основанием к включению бытовых газовых аппаратов.
В случае не представления своевременно вышеуказанных актов подача газа к приборам и ввод в эксплуатацию газового оборудования не производится.
4.6.3. Техническое обслуживание и ремонт газового оборудования и бытовых газовых приборов должны производиться службами газового хозяйства в соответствии с требованием паспортов (руководств по эксплуатации) на приборы и республиканскими нормативно-техническими документами.
5.1.1. Дымовые каналы (трубы) должны обеспечивать полный отвод продуктов сгорания в атмосферу от отопительных печей и аппаратов на твердом топливе, а также от бытовых газовых аппаратов и газифицированных печей с целью предотвращения распространения продуктов сгорания в помещения, в которых они установлены и эксплуатируются.
5.1.2. Строительство и монтаж дымовых каналов (труб) должны проводиться согласно проектной документации, разработанной в соответствии с требованиями СНиП 2.04.05-86 «Отопление, вентиляция и кондиционирование», СНиП 2.04.08-87 «Газоснабжение», СНиП 3.03.01-87 «Правила производства и приемки работ. Каменные конструкции», «Правила безопасности в газовом хозяйстве», «Правила технической эксплуатации и требований безопасности труда в газовом хозяйстве РСФСР» «Руководящего технического материала. Каналы газоотводные для бытовых газовых аппаратов. Требования безопасности». РТМ 204 РСФСР 3.38-81.
5.1.3. Строительство и монтаж вентиляционных каналов должны проводиться согласно проектной документации, разработанной в соответствии с требованиями СНиП 2.04.05-86 «Отопление, вентиляция и кондиционирование», СНиП 2.08.01-89 «Жилые здания» и СНиП 3.03.01-87 «Правила производства и приемки работы. Каменные конструкции».
5.1.4. Возведение дымовых и вентиляционных каналов допускается при наличии проектных материалов и соблюдения требований строительных норм и правил.
5.1.5. Размещение дымовых и вентиляционных каналов в отапливаемых зданиях следует осуществлять с учетом требований пожарной безопасности, а также удобства их монтажа, ремонта, обслуживания и эксплуатации.
5.1.6. Удаление воздуха из отапливаемых помещений должны обеспечивать системы вентиляции с естественным побуждением, а свободное удаление продуктов горения от печей и аппаратов - дымовые каналы (трубы).
5.1.7. Конструкция решеток, устанавливаемых на вентиляционных каналах естественных систем вентиляции должна быть такой, чтобы ячейки решетки были всегда открытыми.
5.1.8. Дымовые и вентиляционные каналы целесообразно выполнять вертикальными без уступов. Допускается выполнять каналы с уклоном под углом не более 30° к вертикали и отклонением по горизонтали не более 1000м. Наклонные участки должны быть гладкими, постоянного сечения, площадью не менее сечения вертикального участка.
5.1.9. Внутренние размеры дымовых труб, обеспечивающие требуемое сечение, в зависимости от тепловой мощности печи или аппарата принимаются, мм, не менее:
140×140 - при тепловой мощности до 3,5 кВт;
140×200 - при тепловой мощности от 3.5 до 5.2 кВт;
140×270 - при тепловой мощности от 5,2 до 7 кВт.
Площадь сечения круглых каналов должна быть не менее площади указанных прямоугольных каналов.
5.1.10. При возведении каналов из сплошного керамического кирпича толщина стенок выполняется не менее 120 мм. Внутренние поверхности кирпичной кладки не оштукатуриваются, но при кладке тщательно очищаются от излишков раствора шабрением.
5.1.11. Дымовые и вентиляционные каналы заводского изготовления в виде коренных труб выполняются из жаростойкого бетона с толщиной стенок 60 мм и более.
5.1.12. Дымовые каналы в несгораемых внутренних или наружных стенах допускается выполнять совместно с вентиляционными каналами. При этом они должны быть разделены по всей высоте герметичными перегородками из глиняного кирпича толщиной не менее 120 мм.
5.1.13. Для очистки от сажистых отложений в основаниях дымовых каналов и труб выполняются карманы глубиной 250 мм.
5.1.14. Высоту дымовых труб, считая от колосниковой решетки до устья, следует выполнять не менее 5 м. Высота вытяжных вентиляционных каналов, расположенных рядом с дымовыми трубами, должна быть равной высоте этих труб.
5.1.15. Возвышение дымовых труб над кровлей (рис. 5.1.) следует принимать:
а) не менее 500 мм над плоской кровлей;
б) не менее 500 мм над коньком кровли или парапетом при расположении трубы на расстоянии до 1,5 м от конька или парапета;
в) не ниже конька кровли или парапета при расположении дымовой трубы на расстоянии от 1.5 до 3 м от конька или парапета;
г) не ниже линии, проведенной от конька вниз под углом 10° к горизонту, при расположении дымовой трубы от конька на расстоянии более 3 м.
Рис. 5.1. Варианты размещения дымовых каналов над кровлей
5.1.16. Возвышение дымовых труб на 500 мм необходимо предусматривать:
д) выше верхней точки здания, пристроенного к отапливаемому зданию;
е) выше в верхней плоскости и ветровой тени более высокого рядом стоящего здания или сооружения.
5.1.17. Оголовок дымовой трубы следует защищать от атмосферных осадков.
Установка над трубой зонтов и дефлекторов запрещается.
5.2.1. Для каждой отопительной или отопительно-варочной печи на твердом топливе, как правило, следует предусматривать отдельный дымовой канал.
Допускается присоединять к одному каналу две печи, расположенные в одной квартире и на одном этаже.
5.2.2. Присоединение печей на твердом топливе к отдельно стоящим или проходящим в стенах дымовым каналам осуществляется при помощи патрубков длиной не более 0,4м. Конструкция соединительного патрубка, выполненного из кирпича представлена на рис. 5.2.
Рис. 5.2. Схема соединительного патрубка
1 - патрубок; 2 - устройство для чистки.
5.2.3. Толщина стенок патрубка, выполненного из кирпича, должна быть не менее 65 мм, а из жаростойкого бетона - не менее 60 мм,
При кирпичной кладке верх патрубка следует выполнять в два слоя кирпича, обеспечивая герметичность перевязкой кирпича.
5.2.4. При подключении к дымовому каналу двух печей необходимо выполнять в канале рассечку толщиной 120 мм и высотой не менее 1 м от низа соединительных патрубков.
5.2.5. Бытовые аппараты заводского изготовления, работающие на твердом топливе, должны подключаться к обособленным дымовым каналам.
5.2.6. Присоединение аппаратов на твердом топливе к дымовым каналам следует выполнять согласно п. 4.2.15.
5.3.1. Конструкции зданий, выполненные из горючих и трудногорючих материалов, примыкающие к дымовым каналам следует защищать от возгорания путем выполнения разделок или отступок.
5.3.2. При пересечении дымовыми каналами сгораемых или трудносгораемых перекрытий необходимо выполнять горизонтальные разделки. Конструкция горизонтальной разделки представлена на рис. 5.3.
Рис. 5.3. Горизонтальная разделка
1 - дымовой канал; 2 - теплоизоляция; 3 - сгораемая балка; 4 - негорючая засыпка
5.3.3. Горизонтальные разделки устраиваются путем утолщения стенок дымового канала. При кирпичной кладке утолщение выполняется свесом не более 1/4 длины кирпича в каждом ряду кладки.
5.3.4. Расстояние от внутренней поверхности дымового канала до конструкции здания (размер разделки), а также защиту сгораемых и трудносгораемых конструкций от возгорания следует предусматривать согласно п. 3.6.15.
5.3.5. Деревянные балки, заложенные в стены с дымовыми каналами, должны располагаться от внутренней поверхности канала на расстоянии не менее 250 мм, если балка защищена и на расстоянии не менее 380 мм, если не защищена от возгорания.
Варианты выполнения разделок от дымовых каналов до деревянных балок и ригелей и способы защиты от возгорания представлены на рис. 5.4 и рис. 5.5.
Рис. 5.4. Размещение деревянной балки в стене с дымовыми каналами
1 - балка; 2 - теплоизоляция; 3 - дымовые каналы.
Рис. 5.5. Способ защиты ригеля от возгорания
1 - балки; 2 - ригель; 3 - дымовые каналы; 4 - разделка.
5.3.6. Расстояние от наружных поверхностей дымовых труб до металлических и железобетонных балок следует предусматривать не менее 130 мм.
5.3.7. Сгораемые и трудно сгораемые конструкции кровли (стропила, обрешетки и т.п.) должны располагаться от наружной поверхности дымовой трубы на расстоянии не менее 130 мм.
5.3.8. Свободное пространство между дымовой трубой и конструкциями кровли следует перекрывать фартуком из кровельной стали, подведенным под выдру (рис. 5.6).
Рис. 5.6. Выполнение выдры у дымовой трубы
1 - фартук; 2 - дымовая труба; 3 - кровельная сталь; 4 - обрешетка; 5 - стропила.
5.3.9. В зданиях с кровлями из горючих материалов на дымовых трубах от приборов на твердом топливе должны быть устроены искроуловители из металлической сетки с отверстиями не более 5×5 мм.
5.4.1. Проверка и очистка дымовых и вентиляционных каналов должны проводиться в установленные сроки, в полном объеме и методами, предусмотренными требованиями настоящего раздела Правил.
5.4.2. Проверка каналов производится при приемке в эксплуатацию вновь построенных печей или печей, переоборудованных с твердого топлива на газ (первичная проверка) и в процессе эксплуатации печей (периодическая проверка).
5.4.3. Первичная проверка каналов должна проводиться комиссией с целью приемки их в эксплуатацию или допустимости переоборудования печи с твердого топлива на газ.
5.4.4. При осмотре дымовых каналов проверяют:
а) соответствие материала канала требованиям настоящих правил;
б) толщину стенок канала;
в) соответствие принятого сечения канала тепловой мощности печи или аппарата;
г) порядок присоединения печей и аппаратов к дымовому каналу;
д) конструктивное исполнение и размеры разделок и отступок;
е) способы защиты сгораемых (трудно сгораемых) конструкций от возгорания;
ж) наличие устройств для чистки каналов, уводов, канала и лючка;
з) материал и толщину тепловой изоляции каналов;
и) исправность оголовка и возвышение его относительно крыши и зоны ветрового подпора;
к) защиту оголовка от атмосферных осадков;
л) отсутствие засорений в каналах;
м) плотность и обособленность каналов;
н) наличие необходимой тяги, значение которой установлено в нормативных документах.
5.4.5. Наличие засоров посторонними предметами дымовых и вентиляционных каналов выявляют путем опускания на веревке металлического шара диаметром 80 - 100 мм, через устье каналов. При опускании шара следует соблюдать осторожность, чтобы не повредить стенки канала. Свободное перемещение шара свидетельствует об отсутствии засоров.
5.4.6. Дымовые каналы на плотность проверяют задымлением канала путем сжигания материала, дающего большое количество дыма (опилки, ветошь и др.). Устье задымленного канала плотно закрывают. Появление продуктов горения на чердаке, в отапливаемых помещениях или в рядом расположенных вентиляционных каналах, свидетельствует о недостаточной плотности дымоходов печи или дымового канала.
5.4.7. Обособленность дымового канала от соседних дымовых или вентиляционных каналов производится также методом задымления обособленного канала. Появление дыма в смежных с дымоходом каналах свидетельствует о необособленности или неплотности дымохода.
5.4.8. Наличие тяги в печах и аппаратах на твердом топливе проверяется зажженной спичкой, которая подносится к открытой топочной дверке (смотровому отверстию) печи или аппарата. Отклонение пламени спички от вертикали сторону топливника свидетельствует о наличии тяги.
В дымовых каналах печей на газообразном топливе наличие тяги определяется с помощью узкой полоски тонкой бумаги, подносимой к смотровому отверстию топки. Отклонение бумаги в сторону топки свидетельствует о наличии тяги.
5.4.9. При первичной проверке дымовых каналов отопительных котлов и аппаратов заводского изготовления следует измерить разрежение в дымовом канале, которое должно быть в пределах:
а) для газовых отопительных аппаратов от 3 до 30 Па (от 0,3 до 3,0 мм вод. ст);
б) для аппаратов бытовых, работающих на твердом топливе от 4 до 15 Па (от 0,4 до 1,5 мм вод. ст.).
Величину разрежения в каналах измеряют жидкостным микроманометром с пределом измерения от 0 до 16 мм вод. ст. (0 - 157 Па) и допустимой погрешностью ±1 проц. или другими приборами, позволяющими измерить требуемые значения разрежения.
5.4.10. При осмотре вентиляционных каналов следует проверить:
а) соответствие их устройства и использованных материалов требованиям строительных норм и правил;
б) соответствие размеров вентиляционных каналов требованиям проектных материалов;
в) отсутствие засорений в каналах;
г) наличие тяги в каналах;
д) соответствие расхода воздуха, удаляемого через вентиляционные каналы, требованиям норм.
5.4.11. Наличие тяги в вентиляционном канале проверяется листом тонкой бумаги, который прикладывается к воздуховытяжной решетке. При достаточной тяге в канале лист бумаги плотно прилегает к решетке и самостоятельно удерживается в таком состоянии.
5.4.12. Расход удаляемого воздуха через вентиляционные каналы должен обеспечивать требуемый воздухообмен помещения, в котором установлен отопительный аппарат. Методика определения расхода воздуха приведена в приложении 4.
5.4.13. Результаты первичной проверки оформляются актом первичного обследования технического состояния дымовых и вентиляционных каналов, форма которого приведена в приложении 5.
5.4.14. В процессе эксплуатации техническое состояние дымовых каналов отопительных печей и аппаратов должно проверяться 1 раз в год (перед началом отопительного сезона), каналов отопительно-варочных печей - 3 раза в год (перед началом отопительного сезона, в середине его и весной с наступлением оттепели). Кроме того, в зимнее время не реже 1 раза в месяц, а в районах с холодным климатом 2 раза в месяц, лица, ответственные за отопление домов, должны производить осмотр оголовков дымоходов газифицируемых печей с целью предотвращения обмерзания и закупорки устьев дымоходов.
5.4.15. В дымовых каналах при периодической проверке выявляют состояние внутренних стенок и наличие сажистых и смолистых отложений, а также проверяют принятые решения, которые приведены в п. 5.4.4. В вентиляционных каналах проверяют наличие пыли, пуха, паутины в каналах, а также другие решения, приведенные в п. 5.4.10.
5.4.16. Для проверки состояния внутренних стенок канала и наличия сажистых отложений может быть использовано устройство, выполненное в виде стереотрубы, схема которого представлена на рис. 5.7. Устройство вводится коротким патрубком в канал и после включения лампочки поворачивается так, чтобы при взгляде в длинный патрубок на зеркале в нем отражались стенки канала, подлежащие осмотру. Данное устройство может быть также использовано при определении характера засорений, обособленности канала и в других случаях при проверке и очистке дымовых и вентиляционных каналов.
Рис. 5.7. Устройство для осмотра каналов.
1 - стереотруба; 2 - место засора; 3 - дымовой канал; 4 - осветительная лампа; 5 - выпуклое зеркало; 6 - шнур; 7 - источник электропитания.
5.4.17. Очистку дымовых и вентиляционных каналов от сажистых отложений, пыли, завалов или засоров должны производить специалисты по трубочно-печным работам ДПО.
5.4.18. Очистка дымовых каналов печей и аппаратов на твердом топливе должна выполняться перед началом отопительного сезона и в течение отопительного сезона не реже:
а) одного раза в два месяца для отопительных печей и аппаратов;
б) в середине отопительного сезона и в весенние месяцы с наступлением оттепели для отопительно-варочных печей.
Очистка дымоходов и дымовых каналов производственных печей и аппаратов специального назначения должна выполняться в сроки, установленные инструкциями по их эксплуатации.
5.4.19. Очистку дымовых каналов от сажи и вентиляционных каналов от пыли выполняют трубоочистной тройкой с жесткой волосяной щеткой, а перекидных рукавов, патрубков и дымооборотов печей - веником. Качество очистки каналов от сажи проверяют путем контрольного опускания трубоочистной тройки. Свободное перемещение тройки и количество сажи в основании трубы или дымохода не более 2 - 3-х трубоочистных ковшов свидетельствуют о качественной очистке.
5.4.20. Очистка дымовых и вентиляционных каналов от засоров или завалов осуществляют методом проталкивания или разборки. Прежде всего определяют засорение это или завал. Если при ударении металлическим шаром три-четыре раза - длина веревки, на которой опускается шар, увеличивается, то можно предположить, что это засорение канала. Засорение устраняют путем проталкивания предметов, вызвавших засор шаром или шестом. Завал полностью перекрывает сечение канала, не поддается проталкиванию и чаще всего устраняется вскрытием стенок канала и разборкой завала вручную через проем. После устранения завала выполняется повторная проверка шаром и заделывается проем в стенках канала.
5.4.21. Результаты периодической проверки и очистки дымовых и вентиляционных каналов оформляются актом в двух экземплярах. Форма акта приведена в приложении 6.
5.5.1. К эксплуатации допускаются исправные дымовые и вентиляционные каналы, прошедшие первичную или периодическую проверку.
5.5.2. Эксплуатация дымовых и вентиляционных каналов должна производиться в соответствии с требованиями правил пожарной безопасности и настоящих Правил.
5.5.3. За техническим состоянием эксплуатируемых каналов должен осуществляться постоянный контроль лицами, обслуживающими печи или отопительные аппараты, а также жилищно-эксплуатационными организациями.
5.5.4. При эксплуатации дымовых и вентиляционных каналов возможны следующие нарушения в их работе:
а) недостаточная тяга в каналах;
б) выпадение конденсата в дымовой трубе;
а) протечки в местах пересечения каналами кровли;
г) обледенение оголовки и устья каналов.
5.5.5. Наличие тяги следует проверить перед розжигом печи и включением отопительного аппарата. При отсутствии тяги их эксплуатация не допускается.
5.5.6. Для обеспечения достаточной тяги в каналах необходимо:
а) произвести своевременную очистку их от сажи, смолистых отложений, пыли, пуха и посторонних предметов;
б) заделывать трещины в стенках каналов и герметизировать неплотности в соединительных патрубках и местах установки закладных деталей (лючков, задвижек, вьюшек и т.п.);
в) в помещение, в котором установлены печь или аппарат, обеспечивать приток воздуха через зазоры между дверью и полом, форточки или фрамуги окна.
5.5.7. Для исключения конденсации влаги в дымовых каналах необходимо контролировать толщину и состояние тепловой изоляции каналов, выполненных в наружных стенах и в пределах чердачного помещения.
5.5.8. Для предотвращения протечек, вызывающих разрушение стенок каналов, следует осуществлять контроль за состоянием выдры и защитного козырька в местах пересечения каналами кровли.
5.5.9. В зимнее время не реже одного раза в месяц, а в районах с холодным климатом два раза в месяц домовладельцы или лица, ответственные за эксплуатацию печей, должны производить осмотр дымовых каналов (труб) и при необходимости принимать меры к своевременной очистке их от снега и льда.
5.5.10. В пределах чердачного помещения дымовые каналы должны быть оштукатурены и побелены.
5.5.11. При обнаружении нарушений в дымовых и вентиляционных каналах, которые могут привести к пожару, необходимо прекратить эксплуатацию печей и аппаратов подключенных к каналам до полного устранения нарушений,
6.1.1. Очистку воздуховодов и вентиляторов от горючих отложений, а также удаление уловленной пыли из фильтров и пылеуловителей необходимо производить с целью;
а) обеспечения нормальной работы вентиляционных систем и создания надлежащих санитарно-гигиенических условий на рабочих местах;
б) предотвращения образования горючей среды и, следовательно, возникновения и распространения пожара;
в) предотвращения самовозгорания горючих отложений, если они склонны к этому.
6.1.2. Чистка вентиляционных систем должна производиться в соответствии с инструкцией по эксплуатации вентиляционных систем для предприятий соответствующих отраслей промышленности и требованиями ГОСТ 12.4.021-75 (Системы вентиляционные. Общие требования) способами, исключающими возможность возникновения взрыва или пожара.
6.1.3. В рабочих инструкциях по эксплуатации систем вентиляции должны быть учтены особенности местных условий, специфика работы каждой системы, способы и периодичность чистки в зависимости от свойств перемещаемой среды и времени работы системы.
В инструкции должны быть достаточно подробно изложены следующие вопросы:
а) порядок и последовательность очистки воздуховодов и вентиляционного оборудования;
б) получение разрешения на чистку и запись распоряжения о начале и окончании чистки;
в) определение периодичности и составления графиков чистки;
г) установление способов и средств чистки воздуховодов и оборудования по каждой системе или группе идентичных систем;
д) оформление результатов чистки.
6.1.4. Периодичность очистки устанавливается предприятием на основе опыта эксплуатации систем вентиляции и в зависимости от физико-химических свойств осаждающихся продуктов и параметров газо-воздушной смеси.
6.1.5. Годовой график чистки воздуховодов и вентиляционного оборудования должен составляться механиком производственного подразделения, главным механиком (главным энергетиком) и согласовываться со службой вентиляции предприятия с учетом текущего технического состояния вентиляционного оборудования, сроков обрастания воздуховодов отложениями, возможности самовозгорания отложений. График утверждается главным инженером предприятия.
6.1.6. На основании практики эксплуатации систем вентиляции для каждой конкретной системы устанавливается график периодичности очистки.
6.1.7. Чистку необходимо, как правило, производить в выходные дни и не рабочие смены по согласованию с руководством объекта. При непрерывной работе цехов чистку воздуховодов и оборудования необходимо совмещать с остановкой технологического оборудования на ремонт.
6.1.8. Очистка воздуховодов должна производиться досрочно в случае появления признаков забивания их отложениями пыли, а также если обнаружится резкое снижение производительности вентиляционной системы или степени очистки воздуха от пыли.
6.1.9. Методы очистки по каждой системе или группе идентичных систем должны определяться рабочей инструкцией по эксплуатации систем вентиляции.
6.1.10. Чистка отложений в воздуховодах и вентиляционном оборудовании производится с помощью щеток, скребков, ветоши, веников. Сильно затвердевшие корки и наросты могут удаляться путем скалывания.
6.1.11. Отдельные детали и элементы систем вентиляции при необходимости промываются в содовом растворе, горячей воде, негорючих растворителях, нейтрализующих растворах.
6.1.12. Чистка пропариванием производится путем подачи водяного пара в воздуховод снизу вверх с соблюдением норм техники безопасности и удалением конденсата через лючки, расположенные в нижней части воздуховодов.
6.1.13. Чистка воздуховодов вытяжных систем вентиляции продувкой сжатым воздухом производится при работающем вентиляторе путем сдува пыли со стенок воздуховодов.
6.1.14. При монтаже воздуховодов должны быть определены места устройства разборных элементов воздуховодов и размеры разборных элементов в зависимости от диаметра воздуховодов, агрегатного состояния отложений, способов и средств чистки.
6.1.15. Порядок разборки и сборки вентиляционной системы определяется рабочей инструкцией.
6.1.16. Очистку вентиляторов, циклонов, фильтров следует производить одновременно с чисткой воздуховодов.
6.1.17. Работы по чистке систем вентиляции, обслуживающих или расположенных в помещениях категорий А и Б, разрешается только после того, как концентрация взрывоопасных веществ в воздуховодах будет снижена до уровня, не превышающего допустимых величин, установленных санитарными нормами для данного вещества.
6.1.18. Работу по очистке воздуховодов и вентиляционного оборудования организации ВДПО должны осуществлять в сроки, указанные в договоре, заключенном с предприятием-заказчиком.
6.1.19. По окончании работ должна быть сделана отметка о результатах чистки в журнале ремонта и эксплуатации вентиляционных систем и составлен акт приемки из чистки систем, вентиляции (Приложение 7).
6.2.1. Чистка воздуховодов может осуществляться следующими способами:
а) механическим (вручную с частичной или полной разборкой воздуховодов);
б) пропаркой водяным паром без разборки;
в) промывкой водой без разборки;
г) пневматический;
д) выжиганием отдельных элементов (звеньев) в специально оборудованных местах.
6.2.2. В воздуховодах, в которых возможны отложения горючих веществ у тройников, на поворотах, а также на прямолинейных участках устанавливают на расстоянии 10 - 15 м друг от друга герметичные лючки для периодического осмотра, чистки и подачи из шлангов воды или пара для промывки или пропарки воздуховодов.
Лючки рекомендуется монтировать на горизонтальных и наклонных воздуховодах в основном на боковых стенках в вертикальном положении. В некоторых случаях допускается монтировать лючки в верхней поверхности воздуховодов.
6.2.3. При наличии на воздуховодах люков, допускается чистка воздуховодов через них с помощью скребков и ершей в направлении к местным отсосам. Очистку без снятия воздуховодов следует производить в часы, когда работа цеха прекращена.
6.2.4. Чистка воздуховодов должна производиться методом полной или частичной разборки звеньев воздуховодов, укрытий, местных отсосов, элементов пылеочистных устройств и разборкой вентиляторов.
6.2.5. При очистке воздуховодов, покрытых отложениями смол, полимеров, сернистого железа и других осадков, необходимо очищаемую поверхность увлажнять водой. Отложения должны быть тщательно собраны в емкость, залиты водой и по окончании чистки немедленно удалены из помещения в безопасное в пожарном отношении место.
6.2.6. Очистку загрязненных воздуховодов следует производить в следующей последовательности:
а) остановить вентилятор;
б) удалить накопившуюся пыль из пылеприемников;
в) произвести очистку засоренных участков по направлению от магистрали к местным отсосам, плотно закрывая крышки люков после очистки.
6.3.1. Для очистки масляного самоочищающего фильтра следует слить масло и промыть бак и сетки. Для слива масла на торец сливной трубки надевают шланг диаметром 32 мм, предварительно соединив его с пустой емкостью. Перед спуском удаляют весь шлак из бака. Бак и фильтрующие панели необходимо промывать 10 проц. водным раствором моющих порошков или паст. Раствор разогревают до 70 - 80° С и заливают в бак, после чего фильтр включают на 3 ч., затем раствор сливают, а сетки и бак промывают струёй воды. После промывки бак заполняют маслом. При повышенном уносе масла необходимо очищать лотки верхних маслосъемников, для чего снимают крышки в верхней части стенок фильтра и проволокой прочищают лотки.
6.3.2. Очистку ячеек всех фильтров и заполнения их маслом следует производить в следующей последовательности:
а) задержанную пыль вытряхивают легким постукиванием деревянным молотком по стенкам корпуса ячейки;
б) очищенную ячейку помещают в бак с 10 проц. раствором каустической соды с температурой 60 - 70 °С;
в) после очистки ячейку промывают в баке с горячей водой (40 - 50°С) и просушивают;
г) для заполнения маслом ячейку фильтра несколько раз медленно погружают в масляную ванну, после чего в течение суток держат в подвешенном состоянии над поддоном для стока излишнего масла.
6.3.3. Ячейковые фильтры (винипластовые, пенополиуретановые) - после снятия из корпуса промывают в тепловой воде с мылом, затем промывают чистой водой, просушивают и устанавливают в корпусе фильтра.
6.3.4. Для очистки панельных фильтров ФР необходимо фильтрующий материал промыть водой из шланга со стороны, противоположной запылению, с последующей продувкой сжатым воздухом. Для этого следует фильтрующий материал уложить на предварительно натянутую сетку с ячейками не более 40×40 мм на специальной площадке, имеющей подводку воды, бассейн-отстойник и подвод сжатого воздуха.
6.3.5. Для очистки фильтров, установленных в фильтр-камере, снимают планки и сепараторы, протирают их влажной тряпкой, а освободившийся запыленный материал свертывают в рулон и уничтожают.
6.3.6. Промывку электрических фильтров следует осуществлять после снятия противоуносного фильтра вначале теплой, а затем холодной водой при полностью открытом селеноидном вентиле. После промывки вода с фильтров должна стекать в течение 5 - 10 мин. Затем до включения электрического фильтра устанавливают устройство и запускается вентилятор. Промывка противоуносного фильтра производится по той же схеме, что и промывка рабочего фильтра. В холодный период года необходимо перед включением фильтра прогревать их металлические конструкции в течение 30 мин.
6.3.7. Очистку циклонов от корки, образующейся при контакте пыли с влагой, следует производить через люки в корпусе, которые должны герметически закрываться. Необходимо удалять пыль из бункера, очищать входные и выходные патрубки циклона от отложений.
6.3.8. При очистке циклонов от слипающейся пыли с внутренних стенок бункера следует предусматривать ворошители в виде цепей или других устройств, приводимых в действие вручную или механически.
6.3.9. Пыль, осаждаемая в сухих пылеуловителях, должна собираться в специальных бункерах.
6.3.10. Угол наклона стенок сборного бункера следует выбирать используя данные о естественном откосе данного сыпучего материала. При отсутствии данных рекомендуется принимать угол 60°.
6.3.11. Емкость сборных бункеров должна соответствовать количеству улавливаемой пыли и установленному режиму их разгрузки. Необходимо предусматривать удобную безпыльную разгрузку пыли в транспортную тару и ее механизированное удаление.
6.3.12. Взрывоопасная пыль должна удаляться из сборных бункеров и других закрытых емкостей, как правило, непрерывно.
6.3.13. Фильтры для очистки запыленного воздуха от отходов хлопка, кроме ежедневной чистки, должны подвергаться периодической и генеральной чистке, Периодическую чистку проводят один раз в неделю, генеральную - один раз в месяц бригадой чистильщиков из 4 человек.
Периодическую чистку проводят в следующем порядке:
а) после остановки фильтра слесарь снимает ограждения и приводные ремни;
б) чистильщики вычищают, протирают, обмахивают редуктор, шестерню и ременную передачу, вентилятор, рукава от пуха, пыли, отработанного масла, а также вычищают камеры от пуха;
в) слесарь закрывает ограждение и надевает приводные ремни;
г) чистильщики обмахивают фильтр снаружи и подметают пол.
Генеральную чистку осуществляют в следующей последовательности:
а) после полной остановки фильтра слесарь снимает ограждения и приводные ремни;
б) чистильщики чистят шестеренную и ременную передачи, вентилятор, редуктор, сетчатый барабан, подводы пневматики, рукава, вычищают из камер скопление пуха;
в) слесарь закрывает ограждение и надевает приводные ремни;
г) чистильщики обмахивают фильтр снаружи и подметают пол.
6.3.14. Удаление осевшего материала из пылеосадочных камер должно быть механизированным и непрерывным, а камеры оборудованы автоматическими спринклерными установками.
6.3.15. Очистку внутренней поверхности вентиляторов, отсасывающих газы и сухую пыль необходимо производить не реже 1 раза в три месяца, а вентиляторов, отсасывающих пыль совместно с газами и влагой - не реже 1 раза в месяц.
6.3.16. Осмотр и очистку внутренней поверхности корпуса и рабочего колеса в вентиляторах № 10 и выше следует осуществлять через герметически закрывающийся люк, устанавливаемый в корпусе вентилятора, размерами не менее 300×200 мм. Очистку вентиляторов меньших размеров осуществляют путем демонтажа части воздуховода со стороны всасывающего патрубка вентилятора. Очистку производят при помощи щетки, скребков и ветоши.
При наличии значительных отложений чистки проточной части вентиляторов может осуществляться также через устанавливаемые в корпусе герметические люки.
6.3.17. Внутренние поверхности кондиционеров-доводчиков должны очищаться не реже одного раза в год при помощи пылесоса, а ребристые поверхности - сжатым воздухом.
6.3.18. Очистку наружных поверхностей калориферных установок от загрязнений следует производить пневматическим способом, а при плотно слежавшихся загрязнениях с примесью масла - гидропневматическим способом.
7.1.1. Обмуровкой котельного агрегата называется система огнеупорных и теплоизоляционных ограждений и конструкция, предназначенная для обеспечения газовой плотности и уменьшения тепловых потерь парового котла.
7.1.2. Тяжелую обмуровку рекомендуется применять в конструкциях паровых котлов малой производительности с неэкранированными топками или котлов устаревших конструкций. Тяжелая самонесущая обмуровка выполняется в виде кладки из огнеупорного и теплоизоляционного строительного красного кирпича и передающая нагрузку от собственной массы на фундамент котла.
7.1.3. Облегченную обмуровку необходимо применять в паровых котлах средней и большой производительности с плотным экранированием топочных камер. Облегченная накаркасная обмуровка прикрепляется к каркасу котла и выполняется в виде щиток (панелей) или монолитных участков из жароупорных и теплоизоляционных бетонов, теплоизоляционных штучных изделий и уплотнительных обмазок.
Облегченная накаркасная и натрубная (одновременно) обмуровка выполняется из штучных огнеупорных и теплоизоляционных изделий и стальной обшивки, связанная с каркасом и поверхностями нагрева котла.
Легкая натрубная обмуровка закрепляется непосредственно к поверхностям нагрева котла и выполняется из жароупорных бетонов, теплоизоляционных штучных изделий и уплотнительных обмазок.
7.1.4. Поступающие на монтаж материалы и изделия должны иметь сертификат завода-изготовителя, в котором указываются количество материала, его марка и качественные показатели согласно ГОСТ или техническим условиям.
7.1.5. Обмуровка паровых котлов должна обладать высокими теплоизоляционными свойствами, высокой плотностью, минимальной материалоемкостью и максимальной долговечностью.
7.1.6. Условия хранения обмуровочных материалов на складе и на монтажной площадке должна соответствовать требованиям технических условий на материалы.
7.2.1. Производство обмуровочных работ производится при наличии технической документации завода-изготовителя на котел, проектной документации, правил производства работ и ведомственной инструкции по выполнению обмуровки и изоляции котла.
В объем заводской технической документации должны входить:
а) чертежи общих видов и узлов обмуровки, фасонных огнеупорных изделий, установки деталей крепления обмуровки и самих деталей, обшивки котла;
б) спецификации объемов работ, а также спецификации на материалы и изделия, включая фасонные изделия, детали крепления, металл на обшивку обмуровки;
в) инструкция по выполнению обмуровки с указанием последовательности работ, объема домонтажной обмуровки, объема дообмуровки, составов и способов приготовления бетонов, обмазок, масс и растворов, допусков на выполнение элементов обмуровки, методов контроля и особенности сушки обмуровки.
В правилах производства работ должны решаться вопросы механизации работ по приготовлению и подаче материалов, организации монтажной площадки, размещения мест складирования материалов, а также определяться перечни оборудования и инструментов и др. вопросы.
7.2.2. В процессе выполнения обмуровки необходимо мастеру вести журнал обмуровочных работ, в котором фиксируют по сменам:
а) описание выполненных работ и номер чертежей, по которым производились работы;
б) параметры, характеризующие свойства применяемых материалов (марка, плотность, гранулометрический состав и т.п.);
в) расход материалов на один замес;
г) режим увлажнения твердеющего бетона;
д) результаты вибрации бетона;
е) фактические размеры температурных швов, зазоров между обмуровки и трубами;
ж) температуру окружающего воздуха на рабочем месте и во время замесов;
з) данные о контрольных кубах и результаты их испытаний;
и) отметку об отступлениях от проекта и обнаруженных дефектах, а также об исправлении дефектов;
к) отметку о сроках хранения изделий в тепляке после укладки бетона в зимнее время и отметку об условиях хранения материала.
7.2.3. В зимних условиях работы необходимо выполнять в утепленных зданиях при температуре на рабочем месте не ниже 5° С. Огнеупорный кирпич и раствор при укладке должны иметь температуру не ниже 5° С, а растворы изоляционной кладки - не ниже 10° С.
7.2.4. Укладку обмуровочных и теплоизоляционных изделий следует выполнять после проверки правильности установки разгрузочных кронштейнов и других закладных элементов, а также правильности установки экранов и труб в них.
7.2.5. При огнеупорной кладке необходимо выдерживать строгую вертикальность стен, не допуская выпучин, впадин и отдельно выступающих кирпичей. Допустимые отклонения от проектных размеров не должны превышать установленных размеров.
7.2.6. Огнеупорность и химический состав мертеля для огнеупорной кладки должны соответствовать огнеупорности и химическому составу применяемого кирпича. Огнеупорный раствор должен быть использован в течение того дня, когда его приготовляли. Растворы для изоляционной кладки, имеющие в своем составе цемент, должны быть использованы в течение 2 ч, с момента их приготовления.
7.2.7. Кладку первых рядов нормального и фасонного кирпича необходимо вымерять по ватерпасу и шнуру. Не допускается выравнивать кирпичи подкладками из асбестового листа или подливкой раствора.
7.2.8. Огнеупорную кладку следует выполнять со сплошной перевязкой, облицовочные (огнеупорную и изоляционную) кладки между собой - с частичной перевязкой.
7.2.9. При кладке стен высотой более 1,5 м для соединения огнеупорной кладки с изоляционной (облицовочной) шамотные кирпичи выпускают в изоляционный слой отдельными рядами через каждые пять - восемь рядов по высоте стены.
7.2.10. Толщину швов огнеупорной кладки необходимо проверять стальными щупами шириной 15 мм и толщиной, равной толщине шва. Швы считаются нормальными, если щуп входит в шов на глубину не более 20 мм. Толщина внутренних швов между изоляционной и огнеупорной кладкой не должна превышать 5 мм.
7.2.11. Не разрешается применять для кладки подмоченный огнеупорный и изоляционный кирпич, а также смачивать их во время кладки.
7.2.12. Перед монтажом теплоизоляционных конструкций необходимо энергооборудование (трубопроводы, узлы, элементы) очищать от грязи, ржавчины, пыли, масла и влаги.
7.2.13. Минераловатные плиты, прошивные маты в обкладке, маты из стекловолокна следует укладывать на поверхность изолируемого оборудования снизу в один или два слоя с перекрытием швов. Продольные и поперечные швы стягивают вязальной проволокой.
7.2.14. Асбестовый шнур, асбопухшнур и минераловатный шнур укладывают на трубопровод навивкой по спирали, закрепляя в начале и в конце трубопровода, а у фланцев - кольцами из проволоки. В двухслойной конструкции наружный слой навивают в обратном направлении.
7.2.15. Жесткоформованные теплоизоляционные изделия нужно укладывать на поверхность оборудования на мастике или насухо. При укладке на мастике толщина шва должна быть не более 5 мм, при укладке насухо - зазор не более 2 мм. Все зазоры и неплотности затирают мастикой. Укладку изделий выполняют снизу вверх.
7.2.16. Теплоизоляционные конструкции из известково-кремнеземистых изделий скрепляют металлическими бандажами, снабженными рамочными замками.
7.2.17. В теплоизоляционных конструкциях из жестких изделий, в мастичных конструкциях и в штукатурном слое нужно выполнять температурные швы. Швы выполняются в виде разрывов шириной 20 - 40 мм на всю толщину теплоизоляционного и штукатурного слоев, а в конструкциях из волокнистых материалов швы создают только в штукатурном слое шириной 10 - 15 мм. Температурные швы создают на прямых участках трубопроводов через 3 м длины, а также в местах изгибов, у опор и опорных полок.
7.2.18. Торцы теплоизоляционных конструкций трубопроводов следует выполнять перпендикулярно оси и при штукатурном покрытии отделывать тем же составом.
7.2.19. Напыляемую изоляцию наносят послойно с сушкой или сразу на всю проектную толщину с последующей сушкой или без сушки.
7.2.20. При приемке облицовки и тепловой изоляции должно производиться освидетельствование ее отдельных конструктивных элементов. Приемку работ осуществляет комиссия с участием представителей от заказчика и подрядных организаций.
7.3.1. Проверку плотности (герметичности) обмуровки следует совмещать с проверкой котла на воздушную и газовую плотность и проводить после монтажа котлоагрегата.
7.3.2. Неплотность в обмуровке выявляют с помощью факела при работающем дымососе или при созданном дутьевым вентилятором давлении в топке и газоходах. В первом случае в местах неплотностей пламя факела втягивается в топку, во втором случае - отжимается от наружной поверхности котла.
7.3.3. Сушку обмуровки следует начинать после удаления из топки котла лесов, подмостей и строительного мусора и очистки температурных швов от раствора и других посторонних включений.
73.4. Сушку обмуровки, выполненной с применением жароупорных бетонов начинают через 3 суток после укладки бетона на глиноземистом цементе и жидком стекле и через 7 суток при бетонах на портландцементе.
7.3.5. Сушка проводится:
а) горячими газами при сжигании дров или древесных отходов в топочной камере;
б) горячими газами при сжигании в топке газа или мазута с помощью основных или вспомогательных горелок.
7.3.6. При сушке обмуровок должен соблюдаться рекомендуемый инструкцией режим повышения температуры и выдержки заданной температуры в течение определенного времени.
7.3.7. После окончания сушки, которая должна контролироваться термопарами, заложенными в обмуровку, составляют акт приемки с фиксацией всех этапов сушки.
7.4.1. Уплотнительные обмазки должны приготавливаться из расчета на 1 ч. работы.
7.4.2. Магнезиальную обмазку приготавливают путем перемешивания сухой смеси распушенного асбеста и каустического магнезита до получения однородной массы с последующим добавлением раствора хлористого магния и тщательным перемешиванием.
7.4.3. Для приготовления асбестошамотной обмазки перемешивают распушенный асбест, просеянную огнеупорную глину, шамотный порошок и цемент с последующим добавлением жидкого стекла и воды и тщательным перемешиванием.
7.4.4. При выполнении работ необходимо обмазки набрасывать на сетку небольшими порциями и тщательно уплотнять мастерками или полутерками. Магнезиальную обмазку наносят сразу на всю толщину слоя, а асбестошамотную обмазку - в два-три слоя, причем каждый последующий слой наносят после затвердения предыдущего.
7.4.5. Нанесение уплотнительной магнезиальной обмазки должно производиться при температуре окружающего воздуха не ниже 10°С, асбестошамотной обмазки не ниже 5°С.
7.5.1. Набивную изоляцию следует накладывать на поверхности специфической конфигурации.
7.5.2. Для приготовления набивных масс перемешивают глину в воде, а затем вводят мелкий шамотный заполнитель, цемент и в последнюю очередь крупный заполнитель.
7.5.3. Для приготовления хрономагнезитовой массы перемешивают фракции руды и кремнефтористого натрия с последующим добавлением раствора жидкого стекла и глиняного шликера и последующего перемешивания в течение 5 - 10 мин.
7.5.4. Набивные массы должны быть уложены в течение 2 ч. с момента их приготовления. Перед укладкой масс поверхности элементов следует очистить от пыли, краски, окалин и грязи. Слой толщиной до 100 мм укладывают за один прием, массу уплотняют только вручную деревянными трамбовками и молотками.
7.5.5. Укладку масс производят при температуре не ниже 5°С, уложенные слои необходимо предохранять от увлажнения.
7.6.1. Жароупорные и теплоизоляционные бетоны следует приготавливать в мешалках принудительного действия.
При приготовлении бетонов в мешалках в барабан загружают цементные вяжущие, тонкомолотые добавки и кремнефтористый натрий в заданной дозе и перемешивают в течение 1 мин. После этого в смесь заливают соответствующий данному виду бетона затворитель (воду, жидкое стекло) и перемешивают бетонную смесь до полной однородности в течение 5 мин.
7.6.2. При приготовлении бетонов на глиноземистом цементе в летнее время следует применять холодную воду, чтобы не допустить перегрева бетонной смеси свыше 30° С.
7.6.3. Время от начала приготовления бетонной смеси до момента ее укладки не должно превышать 45 мин. для бетонов на глиноземистом цементе и жидком стекле и 1 ч. - для бетонов на портландцементе.
7.6.4. Перед укладкой бетонной смеси необходимо проверить правильность и надежность крепления сеток, арматуры и закладных деталей, правильность установки и закрепления опалубки, наличие закладных деталей и т.п.
7.6.5. Бетонную смесь следует укладывать равномерным слоем толщиной не более рабочей длины глубинного вибратора или не более 200 мм.
7.6.6. Для уплотнения жароупорных бетонов нужно применять только внутренние и поверхностные вибраторы. Ручное трамбование разрешается только при натрубных обмуровках с толщиной слоя до 40 мм.
7.6.7. Укладка жароупорного бетона поверх теплоизоляционного разрешается только после затвердения последнего, но не ранее чем через сутки после его укладки.
7.6.8. Температурные швы в жароупорных бетонах необходимо выполнять путем закладывания смазанных смазкой металлических полос толщиной 4 - 5 мм.
7.6.9. Укладывание и отвердение жароупорных смесей следует производить с соблюдением следующих требований:
а) бетонирование должно вестись непрерывно с перерывом между очередными уплотнениями не более 1 ч;
б) шаг перестановки внутренних вибраторов не должен превышать полуторного радиуса их действия, а поверхность вибраторов - границы перекрытия площадкой;
в) вибрирование слоев до 60 мм допускается глубинными вибраторами с укладкой наконечника в горизонтальное положение;
г) выравнивание в затирку поверхности уложенного бетона следует производить после впитывания цементного молока;
д) отвердение уложенного бетона на цементном вяжущем обеспечивать во влажной среде (периодическая поливка водой, укрытие мешковиной);
е) снятие опалубки разрешается выполнять при достижении бетоном необходимой конструктивной прочности;
ж) раковины и другие дефекты на поверхности уложенного бетона должны быть расчищены и затерты мелкозернистым бетоном того же состава.
7.6.10. Укладку бетонов на портландцементе необходимо осуществлять при температуре не ниже 15°С, а на глиноземистом цементе - не ниже 7°С.
7.7.1. Конструкция котла должна обеспечивать осмотр, ремонт и чистку его элементов с внутренней и наружной стороны.
В барабанах котлов лазы должны быть овальной формы, с размерами по наименьшей и наибольшей осям 325 и 400 мм или круглой формы с диаметром не менее 400 мм.
7.7.2. Подлежащие осмотру или очистке части котла, в которые невозможно проникновение человека, должны иметь в стенках овальные или круглые лючки с наименьшим размером в свету не менее 80 мм. Число лючков и их расположение на элементах котла устанавливают; исходя из условия обеспечения осмотра и очистки внутренней поверхности элементов.
7.7.3. Для осмотра элементов котла и газоходов в обмуровке должны быть лазы: прямоугольные размером не менее 400×450 мм или круглые диаметром не менее 450 мм. Для очистки наружных поверхностей секций котлов в газоходах предусматривают лючки, закрываемые дверцами. Для осмотра топки и газоходов в обмуровке котла устраивают лючки.
8.1.1. К самостоятельному выполнению работ по кладке и ремонту печей и дымовых каналов, обмуровке котельных агрегатов, чистке дымовых каналов, воздуховодов и обеспыливающего оборудования допускаются лица не моложе 18 лет, прошедшие медицинский осмотр и признанные годными к выполнению указанных работ, а также прошедшие инструктаж по технике безопасности и производственной санитарии в соответствии с требованиями ГОСТ 12.1.004-89.
8.1.2. Обучение работающих безопасности труда на предприятиях ВДПО следует проводить при подготовке новых рабочих (вновь принятых рабочих, не имеющих профессии или меняющих профессию), проведению различных видов инструктажа и при повышении квалификации.
По характеру и времени проведения инструктажа работающих подразделяют на вводный, первичный на рабочем месте, повторный, внеплановый и целевой.
Вводный инструктаж проводит инженер по охране труда (технике безопасности) или лицо, на которое возложены обязанности инженера по охране труда (технике безопасности). Первичный инструктаж на рабочем месте проводит руководитель работ согласно инструкций по охране труда, разработанным для отдельных профессий или видов работ организаций ВДПО.
8.1.3. Вводный инструктаж должен проводиться в кабинете охраны, труда или в специально оборудованном помещении с использованием современных технических средств обучения и пропаганды, а также наглядных пособий.
8.1.4. Вводный инструктаж проводят по программе, разработанной с учетом требований стандартов, а также особенностей видов работ, выполняемых организациями ВДПО. Программа утверждается руководителем организации или главным инженером.
8.1.5. Программа вводного инструктажа должна включать в себя:
а) общие сведения о предприятии ВДПО и специфических условиях при выполнении работ;
б) законодательства по охране труда;
в) технику безопасности;
г) производственную санитарию;
д) средства индивидуальной защиты работающих и требования к средствам защиты;
е) пожарную безопасность;
ж) первую помощь пострадавшему.
8.1.6. Результаты вводного инструктажа и проверки знаний заносят в журнал регистрации вводного инструктажа с обязательной подписью инструктируемого и инструктирующего.
8.1.7. Первичный инструктаж на рабочем месте проводят со всеми новыми вновь принятыми на предприятие (организацию) ВДПО, переводимыми из одного подразделения в другое, командированными, с работниками выполняющими новую для них работу.
8.1.8. Первичный инструктаж проводят по инструкциям по охране труда, разработанным для отдельных профессий или видов работ с учетом требований стандартов и основных вопросов инструктажа на рабочем месте.
8.1.9. При первичном инструктаже должны быть разъяснены:
а) общие сведения о технологическом процессе и оборудовании на соответствующем участке и опасные факторы;
б) безопасная организация и содержание, рабочего места;
в) предохранительные приспособления и ограждения;
г) порядок подготовки к работе;
д) безопасные приемы и методы работы, а также действия при возникновении опасной ситуации;
е) средства индивидуальной защиты при выполнении работ и правила пользования ими;
ж) требования безопасности при погрузочно-разгрузочных работах;
з) меры предупреждения пожаров и действия рабочих при возникновении пожара.
Все рабочие после первичного инструктажа на рабочем месте и проверки знаний, стажировки в течение первых 2 - 10 смен (в зависимости от стажа, опыта и характера работы) допускаются к самостоятельной работе с оформлением допуска.
8.1.10. Повторный инструктаж проводят не реже, чем через три месяца с целью проверки и повышения уровня знаний, индивидуально или с группой работников одной профессии, бригады.
8.1.11. Внеплановый инструктаж проводят при:
а) изменении правил по охране труда;
б) замене или модернизации оборудования, приспособлений, инструмента, материалов и других факторов, влияющих на безопасность труда;
в) нарушении рабочими требований безопасности труда, которые могут привести или привели к травме, аварии, взрыву или пожару;
г) перерывах в работе - для работ, к которым предъявляются повышенные требования безопасности труда более, чем на 30 календарных дней, а для остальных работ - 60 дней.
8.1.12. Внеплановый инструктаж проводят индивидуально или с группой рабочих одной профессии в объеме первичного инструктажа на рабочем месте.
8.1.13. О проведении первичного, повторного и внепланового инструктажа лицо, проводившее инструктаж, делает запись в журнале регистрации инструктажа с обязательной подписью инструктируемого и инструктирующего.
8.1.14. Целевой инструктаж проводят с работниками перед выполнением работ, на которые оформляется наряд-допуск. Проведение целевого инструктажа фиксируют в наряде-допуске на производство работ.
8.1.15. Знания, полученные при инструктаже, проверяет работник, проводивший, инструктаж. Лица, получившие инструктаж и показавшие неудовлетворительные знания, к работе не допускаются. Они должны вновь пройти инструктаж.
8.1.16. Ответственность за охрану и безопасность труда возлагается на руководителя работ организации ВДПО.
Руководители работ (бригадиры) в целях безопасности ведения работ обязаны:
а) перед началом смены лично проверить состояние техники безопасности на всех рабочих местах и немедленно устранить обнаруженные нарушения. Если нарушения не могут быть устранены силами бригады (звена) или угрожают здоровью или жизни работающих, руководитель (бригадир) должен доложить об этом производителю работ и не приступать к работе;
б) постоянно в процессе работы обучать работающих безопасным приемам труда, контролировать правильность их выполнения, обеспечивать трудовую дисциплину среди членов бригады и соблюдение ими правил внутреннего распорядка и немедленно устранять нарушения техники безопасности членами бригады;
в) организовать работы в соответствии с проектом производства работ;
г) не допускать до работы членов бригады без средств индивидуальной защиты, спецодежды и спецобуви;
д) следить за чистотой рабочих мест, ограждением опасных мест, а также исправным состоянием и правильной эксплуатацией подмостей, лестниц, инструмента;
е) не допускать до работы лиц с признаками заболевания или в нетрезвом состоянии;
ж) своевременно проводить расследование несчастных случаев, связанных с выполнением работ и составлять соответствующие акты.
8.1.17. Работы, при которых нарушаются правила техники безопасности, должны быть немедленно прекращены. Работник, нарушающий правила техники безопасности, отстраняется от работы.
8.1.18. Руководители организаций обязаны обеспечить работающих спецодеждой, спецобувью и другими средствами индивидуальной защиты в соответствии с существующими нормами.
8.1.19. Запрещается работать в спецодежде, не соответствующей рабочему по размеру или росту.
8.1.20. При получении травмы работающий должен немедленно поставить в известность руководителя работ и получить необходимую медицинскую помощь.
8.1.21. При выполнении работ на строительной площадке или в действующем цехе работника организаций ВДПО должны соблюдать правила внутреннего распорядка объекта или цеха.
8.2.1. К выполнению печных работ допускаются лица, имеющие удостоверения на право производства печных работ.
8.2.2. При кладке печей и дымовых каналов должны выполняться общие требования техники безопасности раздела 8.1. настоящих Правил и требования по охране и безопасности отдельных видов строительных работ.
8.2.3. До начала работ рабочий должен осмотреть и привести в порядок рабочее место, убрать посторонние предметы, убедиться в надежности настилов и ограждений, исправности приспособлений и инструмента.
8.2.4. Для выполнения печных работ необходимо применять инструменты, приспособления, спецодежду и индивидуальные средства защиты, соответствующие виду работ.
8.2.5. При приготовлении растворов с добавлением цемента и извести необходимо нос и рот закрывать влажной повязкой из марли, чтобы пыль не попала на слизистые оболочки и в дыхательные пути.
8.2.6. Гашение извести необходимо производить в одежде, надежно предохраняющей тело от попадания брызг, которые могут вызывать ожоги.
8.2.7. Кладку верхних частей печи при работе на высоте 1,3 м и более необходимо выполнять с лесов или подмостей.
8.2.8. Леса и подмости должны быть инвентарными и изготовлены по типовым проектам. Несущие конструкции должны обеспечивать прочность и устойчивость. Поверхность настила должна выполняться равной, шириной не менее 1 метра. Рабочие места и проходы защищают ограждениями высотой не менее 1 метра.
Ограждения состоят из стоек, поручня, промежуточного горизонтального элемента и бортовой доски внизу настила высотой 150 мм и более. Для подачи строительного материала выполняют наклонный трап.
8.2.9. Запрещается установка подмостей на табуретках, деревянных чурках или столбиках из кирпича, сложенного насухо.
8.2.10. Леса и подмости следует содержать в исправном состоянии и испытывать на прочность и устойчивость нагрузками, установленными паспортом завода-изготовителя.
8.2.11. Подача материалов на рабочие места должна осуществляться в технологической последовательности, обеспечивающей безопасность труда.
8.2.12. Складировать материалы и оборудование следует так, чтобы они не создавали опасность при выполнении работ и не стесняли проходов.
Укладка материалов на подмостях должна производиться так, чтобы до края оставалось расстояние не менее 300 м.
8.2.13. Проходы вокруг сооружаемой печи и подмостей следует систематически очищать от кирпичного боя и посторонних предметов.
8.2.14. Возведение дымовых каналов в помещениях следует выполнять с подмостей, а в пределах чердака с перекрытия, при достаточной его несущей способности. Допускается кладка каналов с настила, выполненного из досок толщиной 40 - 50 мм и уложенного на балках перекрытия.
8.2.15. Кладку дымовой трубы с кровли здания следует выполнять с трапов со специально устроенной горизонтальной площадки с ограждением со стороны ската.
8.2.16. При выполнении работ на крыше печник должен работать с предохранительным поясом для строительно-монтажных работ или поясом пожарным и страховочной веревкой, надежно прикрепленной к конструкциям здания (стропилам, балкам и т. п.). Длина веревки должна обеспечивать свободное перемещение в рабочей зоне и задерживать падение рабочего в пределах кровли здания.
8.2.17. Ящик с раствором, кирпичи, рабочий инструмент должны размещаться в местах, исключающих их падение. Места возможного падения строительных материалов, приспособлений и инструмента должны быть огорожены.
8.2.18. Отделочные работы на высоте следует вести с тех же подмостей и с соблюдением тех же правил, что и при кладке печей.
8.2.19. При оштукатуривании печей печник должен работать в рукавицах, так как некоторые виды растворов вызывают разъедание кожи.
При обрубке изразцов следует надевать защитные очки.
8.2.20. При перерывах и в конце рабочего дня нельзя оставлять на подмостях и на стенках сооружаемой печи материалы и инструменты.
8.2.21. При работах на высоте запрещается:
а) выходить на крышу при обледенении кровли, наносе толстого слоя снега, при покрытии инеем трапов, кровли и т. п., при обледенении обуви, а также в обуви с кожимитовой подошвой или с подковами на каблуках или носках;
б) касаться проложенных над кровлей электрических проводов и проводов связи, пользоваться ими для поддержания равновесия;
в) устраивать подмости к оголовкам дымовых труб из случайных предметов (табуреток, ящиков и т.п.), а также подвешивать лестницы к колпакам дымовых труб;
г) сбрасывать вниз инструмент или материалы без предварительного ограждения или охраны участка, на который может упасть сбрасываемый материал или инструмент;
д) производить работы по очистке дымоходов в поврежденных и обветшалых трубах;
е) работать во время грозы, ливневого дождя, густого тумана, сильного снегопада, пурги, при сильном порывистом ветре.
8.3.1. Перед началом работ по очистке воздуховодов и вентиляционного оборудования мастер (производитель работ) должен ознакомить всех чистильщиков с правилами техники безопасности, действующими в цехе.
8.3.2. К чистке вентиляционных систем допускаются лица, прошедшие медицинское освидетельствование с правом работы на высоте, а также вредными условиями труда, прошедшие инструктаж на рабочем месте и знакомые со спецификой работы применительно к каждому конкретному производству.
8.3.3. Чистку вентиляционных систем следует начинать после получения разрешения начальника технологического цеха на производство работ. Указание о начале и окончании очистки должно быть записано в журнал распоряжений по цеху.
8.3.4. Чистка воздуховодов, вентиляционного и газопылеулавливающего оборудования разрешается после остановки технологического оборудования, отсоединения местных отсосов и выполнения организационно-технических мероприятий.
8.3.5. В зависимости от свойств продуктов, удаляемых вытяжными системами, воздуховоды после отсоединения местных отсосов от технологического оборудования должны проветриваться в течение не менее 10 мин. до достижения санитарных норм содержания вредных веществ в отсасываемом воздухе.
8.3.6. При выполнении работ в действующих цехах нельзя работать около неогражденных движущихся механизмов и станков, люков и отверстий, работающих мостовых кранов, а также вблизи электрических устройств и проводов, если они не выключены или не ограждены.
8.3.7. Работу по очистке вентиляционного оборудования и монтажу воздуховодов, фильтров и пылеуловителей разрешается производить только исправным инструментом. Гаечные ключи должны точно соответствовать размерам гаек и болтов, не иметь сбитых скосов на гранях и заусенцев на рукоятке.
8.3.8. При чистке вентиляционного оборудования во взрывоопасных помещениях действующих цехов запрещается:
а) применять открытый огонь, а также использовать механизмы и инструменты, могущие вызвать искрообразование;
б) бросать на пол металлические детали, инструмент и другие предметы и материалы, которые могут при падении вызвать искру;
в) ходить в обуви, подбитой металлическими гвоздями, подковами и т. п.
8.3.9. Чистку воздуховодов вентиляционных систем производственных помещений следует вести только с подмостей, лесов, настилов, изготовленных из прочных материалов и с соблюдением установленных требований.
Настил на лесах и подмостях должен быть шириной не менее 1 м и иметь с обеих сторон ограждения (перила) высотой не менее 1 м с бортовой строганой доской шириной 0,18 м. Леса и подмосты должны быть чистыми.
Запрещается пользоваться подвесными лесами, не раскрепленные раскосами и тросами.
8.3.10. Для выполнения работ по разборке, сборке и обслуживанию воздуховодов, расположенных на высоте, допускается применять приставные лестницы длиной, не превышающей 5 м, шириной не менее 400 мм и расстояниями между ступенями не более 300 мм. Лестницы могут быть как металлические, так и деревянные. Нижние концы их должны быть снабжены упорами в виде острых металлических шипов или резиновых наконечников. Приставлять лестницы к подвешенным воздуховодам запрещается.
8.3.11. При демонтаже воздуховодов, зонтов, укрытий и т.д. на высоте не разрешается нахождение людей под местом, где проводятся эти работы.
8.3.12. Запрещается закреплять подвешенный воздуховод и вентиляционное оборудование за фермы здания, перекрытия и другие конструкции без разрешения мастера или производителя работ.
8.3.14. Запрещается производить очистку воздуховодов и оборудования со случайных опор труб, разных выступов на оборудовании, машинах и т.п. и пользоваться случайными предметами (досками, ящиками, лестницами) для временных опор и подставок.
8.3.15. Предметы, подвешиваемые к крюку подъемного механизма, должны быть обвязаны надежными, испытанными и каждый раз осмотренными руководителем работ, канатами, цепями, тросами.
8.3.16. Длинномерные воздуховоды, поднимаемые и опускаемые в горизонтальном положении, следует стропить не менее, чем двумя стропами или транспортировать при помощи специальных траверс.
8.3.17. Запрещается:
а) находиться на грузе при перемещении вентиляционного оборудования или воздуховодов;
б) проходить под грузом при его перемещении;
в) оставлять груз на весу;
г) применять для стяжки пеньковые канаты с перетертыми или размочаленными прядями;
д) влезать в воздуховоды, бункеры, укрытия без оформления соответствующего наряда-допуска и до полной остановки установок.
8.3.18. При выполнении работ по чистке внутри магистральных воздуховодов, бункеров и других емкостей должны соблюдаться требования инструкции по организации безопасного проведения газоопасных работ.
8.3.19. Все рабочие места должны иметь достаточное освещение для выполнения работ по очистке вентиляционного оборудования.
В производственных взрывоопасных помещениях без повышенной опасности разрешается пользоваться переносными светильниками взрывобезопасного исполнения напряжением 36 В и 12 В в помещениях с повышенной опасностью.
8.3.20. Чистильщики, выполняющие разборку воздуховодов вытяжных систем должны иметь при себе промышленные фильтрующие противогазы соответствующих марок и размеров.
8.3.21. При работе на высоте чистильщик обязан использовать предохранительный пояс, пригодность которого каждый раз должен проверять руководитель работ.
8.3.22. Перед осмотром и началом очистки воздуховодов, вентиляторов и обеспыливающего оборудования должны быть вынуты пробки или плавкие вставки дежурным электриком, а около пусковых устройств установлена табличка с надписью «Не включать - работают люди».
8.3.23. Запрещается влезать в воздуховоды, бункеры пылеуловителей, фильтры и укрытия до полной остановки соответствующего вентиляционного агрегата.
8.3.24. Перед внутренним осмотром электрического фильтра вентилятор должен быть отключен, снято напряжение, заземлена коронирующая система и провентилирован фильтр естественной тягой через боковые откидные люки. После отключения механизма встряхивания следует вручную стряхнуть электроды, на которых возможно сохранилась пыль.
8.3.25. После включения электрических фильтров запрещается прикасаться к токопроводящим элементам не раньше, чем через 30 - 60 с после отключения питания, так как заряд, накапливающий в конденсаторах и конструкции фильтров достигает опасной величины для людей, а сам заряд стекает не мгновенно.
8.3.26. Запрещается очищать бункер пылеуловителя от пыли при работающем шнеке.
8.3.27. При замене запыленного материала в фильтрах необходимо работать в марлевых повязках, а после окончания работ вымыть руки теплой водой с мылом.
8.3.28. Перед началом работ по очистке вентиляционного оборудования чистильщики должны убедиться в исправности спецодежды, волосы должны быть убраны под головной убор, рукава должны быть короткими или засученными выше локтя.
8.3.29. При чистке фильтров, размещенных в подвалах должны быть открыты запасные выходы из подвала, а на выключателях повешены таблички с надписью «Дверь в подвал не закрывать, работают люди».
8.3.30. Применяемые для очистки воздуховодов и расположенного на высоте вентиляционного оборудования переносные лестницы должны иметь откидные, прочно закрепляемые при работе стойки.
8.3.31. Для обслуживания пылеуловителей на высоте более 1,8 м и для доступа к люкам должны быть смонтированы стационарные лестницы и площадки с ограждениями.
8.3.32. Совмещение отверстий фланцев при соединении воздуховодов следует производить только оправками. Запрещается проверять совпадение отверстий соединяемых фланцев пальцами рук.
8.4.1. Решения по технике безопасности, охране труда, производственной санитарии и пожарной безопасности должны быть отражены в проектах организации и производства монтажных и обмуровочных работ.
8.4.2. Места, где производятся обмуровочные работы и теплоизоляционные работы должны быть надежно ограждены с установкой соответствующих предупредительных знаков.
8.4.3. Производство работ на котлах, турбинах и другом оборудовании в момент их работы или испытаний запрещается.
8.4.4. Разборку обмуровки и изоляции, монтаж обмуровочных изоляционных конструкций пылящими материалами следует выполнять в очках и респираторах.
8.4.5. Работы внутри топок и газоходов котла могут выполняться только при температуре не выше 50°С по письменному разрешению (наряду, допуску) производителя работ. Пребывание одного и того же лица внутри котла или газохода по указанной температуре не должно превышать 20 мин. Необходимые меры безопасности при производстве таких работ оговариваются в наряде-допуске или ином письменном распоряжении на производство работ.
8.4.6. При выполнении работ по обмуровке находящихся в эксплуатации котельных на вентилях, задвижках и заслонках при отключении соответствующих участков трубопроводов, паропроводов, газопроводов и газоходов, а также на пусковых устройствах дымососов, дутьевых вентиляторов и питателях топлива должны быть вывешены плакаты с надписью: «Не включать - работают люди». У пусковых устройств дымососов, дутьевых вентиляторов питателей топлива необходимо снять плавкие вставки.
8.4.7. При работе с минеральной, базальтовой ватой, асбестосодержащими изделиями необходимо применять резиновые перчатки для защиты рук.
8.4.8. При работе в особо опасных местах, в условиях возможного соприкосновения людей с металлическими конструкциями следует использовать переносные лампы напряжением не выше 36 В.
При работе в котле и газоходах для переносного электроосвещения должно применяться напряжение не выше 12 В. Использовать керосиновые и другие лампы с легковоспламеняющимися материалами запрещается.
8.4.9. При производстве ремонтных работ на высоте 1,5 м и более должны быть установлены подмости или леса необходимой прочности, имеющие ограждения, сплошность настилов и обеспечивающие безопасность подъема на нее людей и подачу на них материалов. Мастер (бригадир) должен каждый раз перед началом работ проверить состояние лесов и подмостей.
8.4.10. К выполнению футеровочных работ не допускаются рабочие, не проинструктированные по правилам техники безопасности или не достигшие совершеннолетия.
8.4.11. К работе на установках по нанесению огнеупорных или напыляемых масс допускаются специально обученные операторы.
8.4.12. К работам по очистке или осмотру котла и газоходов следует приступать после получения специального инструктажа по технике безопасности и письменного допуска с указанием места и времени работ от ответственного руководителя работ.
8.4.13. В бригаду по очистке котлов и газоходов должны входить ответственное лицо за эксплуатацию котельной и высококвалифицированный специалист организации ВДПО.
8.4.14. До начала работ внутри барабана, камеры или коллектора котла, соединенного с другими работающими котлами общими трубопроводами, а также в газоходах котел должен быть отделен от всех трубопроводов заглушками или отсоединены. Отсоединенные трубопроводы также следует заглушить.
При работе на газообразном топливе котел должен быть надежно отделен от общего газопровода.
8.4.15. На вентилях, задвижках и заслонках при отключении участков газопроводов и газоходов, а также на пусковых устройствах дымососов, дутьевых вентиляторов и питателях топлива должны быть вывешены таблички с надписью: «Не включать - работают люди».
8.4.16. Работы внутри топки котлов и в газоходах следует проводить после их проветривания и анализа воздушной среды и получения письменного разрешения начальника котельной.
8.4.17. Во избежание получения ожогов рабочие должны пользоваться брезентовым костюмом с капюшоном, предохранительными очками, плотными рукавицами, обувью и т.п.
|
г._______________ «____» __________ 199 ___ г. АКТ приемки отопительных и отопительно-варочных печей в эксплуатацию Мы, нижеподписавшиеся, представитель «Заказчика» __________________________ (должность, _________________________________________________ ответственный за проведение фамилия, имя, отчество) работ _______________________________________________ представитель подрядчика (должность, фамилия, имя, отчество) __________________________________________________________ произвели приемку (должность, фамилия, имя, отчество) отопительных и отопительно-варочных печей в доме № ___________________________ ул. _________________________ с целью установления пригодности их к эксплуатации. Проверкой установлено: 1. Отопительные, отопительно-варочные печи имеются в квартирах № _____________________________ размер __________________________________ см, выполнены из ______________________________________ Основание печи выполнено (указать материал) из ____________________________________ (указать материал) 2. Расстояние от уровня сгораемого (трудносгораемого) пола до дна зольника ____________________ см, до дна газооборотов ____________________ см. Изоляция сгораемого пола выполнена из _____________________________________ (указать материал) __________________________________________ составляет толщину ____________ см. 3. Топливник выполнен из __________________________________________________ (указать материал) размеры ___________________________ см, обеспечивает сжигание ________________ (указать ____________________________________________ Наличие металлического листа под вид топлива) топочной дверкой ___________________________________________ размер составляет (имеется, отсутствует) _____________________________________см. 4. Качество и прочность закрепления печных приборов __________________________________________________________________________ (указать способ и надежность закрепления) 5. Расстояние от топочной дверки до противоположной стены ____________________________________см. 6. Наличие изоляции сгораемых стен или перегородок, примыкающих под углом к фронту печей ______________________________________________________________, (имеется, отсутствует) выполнен из ________________________________________________________________ (указать материал) 7. Отступки между поверхностями печи и сгораемыми (трудносгораемыми) стенами или перегородками открытые, закрытые(нужное подчеркнуть) ___________ составляют (имеются, отсутствуют) ______________________________ см выполнены из _____________________________ (указать материал) 8. Перекрытие печи составляет ______________________________________________ (указать количество рядов ______________________________________ расстояние от перекрытия печи до потолка кирпича) _________________________ см. Защита потолка ________________________________ (имеются, отсутствуют) выполнена из ______________________________. (указать материал) 9. Противопожарные разделки_______________________________________________ (имеются, отсутствуют) выполнены из ____________________________________ составляют _____________ см. (указать материал) 10. Внешняя отделка печи выполнена из ______________________________________ (указать материал) неровности на поверхности печи ___________________________________________ см. 11. Отклонение поверхности печи от вертикали ____________________________ см. 12. Отклонение от проектных размеров в плане печи ________________________ см. 13. Дымовые трубы в кв. № ____________ сечение __________________________ см. на чердаке: оштукатурены, побелены __________________________________________. Расстояние от наружной поверхности дымовой трубы до сгораемых конструкций ________________________________________ см. 14. Оголовки дымовых труб в кв. № _____________________________ расположены в зоне ветрового подпора. Высота оголовков дымовых труб над кровлей _________________________________________м. Оголовки в кв. № _______________________ нуждаются в ремонте_________________ __________________________________________________________________________ (указать неисправность) 15. Печи и дымовые трубы проверены на плотность задымлением В кв. № ____________________ печи и в кв № _____________________ дымовые трубы не плотны. 16. Тяга в печах и дымовых трубах при пробной топке __________________________________________________________________________ (хорошая, удовл.) В кв. № __________________________________ тяга _____________________________ (плохая, удовлетворительная) 17. Плотность закрытия задвижек или вьюшек при пробной топке ___________________________________________________________________________ (плотное, неплотное) 18. Температура и равномерность прогрева стенок печи при пробной топке______________________________________________________________________ (плохая, удовлетворительная) ЗАКЛЮЧЕНИЕ Печи и дымовые трубы кв. № __________________________________ соответствуют «Правилам производства работ ремонта печей и дымовых каналов» СНиП и проекту и пригодны к эксплуатации. Печи и дымовые трубы кв. № ____________________________________ по пунктам № _______________________________________________ не пригодны к эксплуатации. Представитель заказчика ____________________ ____________________ (ф. и. о.) (подпись) Представитель подрядчика _______________________ ____________________ (ф. и. о.) (подпись) _______________________ ____________________ (ф. и. о.) (подпись) |
|
АКТ г._______________ «____»__________ 199 ___г. Комиссия в составе________________________________________________________ (представитель жилищно-коммунальной ______________________________________________________________(председатель), организации, ведомства, должность, ф.и.о.) управляющего домами (коменданта), владельца дома ___________________________________________________________________________ (ненужное зачеркнуть) ___________________________________________________________________________ (фамилия, имя, отчество) представителей от организации ВДПО ____________________ (должность, ______________________________________________________ произвела обследование фамилия, имя, отчество) технического состояния отопительных и отопительно-варочных печей ______________________________________________________________________ (наименование и адрес объекта) с целью определения пригодности их для перевода на газовое топливо. Комиссия установила, что требованиям «Правил перевода отопительных и отопительно-варочных печей на газовое топливо» и «Правил производства работ ремонта печей и дымовых каналов» по своему состоянию и состоянию дымоходов отвечают печи в следующих квартирах (помещениях);
Не отвечают требованиям указанных правил печи в следующих квартирах (помещениях):
Указанные печи не могут быть переведены на газовое топливо до устранения дефектов. Одновременно с обследованием печей было проверено состояние дымоходов от них и вентиляционных каналов. Акт о техническом состоянии дымоходов и вентиляционных каналов прилагается. Председатель комиссии ____________________ ____________________ (ф.и.о.) (подпись) Члены комиссии ___________________________ ____________________ (ф.и.о.) (подпись) ___________________________ ____________________ (ф.и.о.) (подпись) |
||||||||||||||||||||||||||||||||||||||||
|
АКТ г._______________ «____»__________ 199 ___г. ___________________________________________________________________________ (наименование жилищно-коммунальной организации, ведомства) __________________________________________________________________________________________ (должность, ф.и.о.) от Всесоюзного добровольного пожарного общества _____________________________ ___________________________________________________________________________ (наименование организации, ВДПО, должность, ф.и.о.) произвели обследование технического состояния дымоходов от ___________________________________________________________________________ (наименование газовых приборов, агрегатов) и вентиляционных каналов в __________________________________________________ ___________________________________________________________________________ (наименование здания, помещения, адрес) с целью определения пригодности их для отвода продуктов сгорания газа и вентиляции помещений в соответствии с «Правилами безопасности в газовом хозяйстве» и «Правилами перевода отопительных и отопительно-варочных печей на газовое топливо». Дымоходы и вентиляционные каналы проверялись на проходимость и плотность путем опускания шарового груза и задымления.
____________________ ____________________ (ф.и.о.) (подпись) ____________________ ____________________ (ф.и.о.) (подпись) ____________________ ____________________ (ф.и.о.) (подпись) |
||||||||||||||||||||||||||||||||||
Методика определения расхода воздуха в воздухоприемных устройствах и каналах вытяжных систем вентиляции
1. Эффективность работы вентиляции устанавливается путем замера скорости воздуха во всех воздухоприемных устройствах при отсутствии ветра, закрытых форточках и температуре наружного воздуха не выше +8° С.
2. Расход воздуха следует определять по формулам:
а) в открытых проемах воздухоприемных устройств:
![]()
б) в воздухоприемных устройствах, закрытых решетками:
![]()
в) в воздухоприемных устройствах с типовыми решетками
![]()
-
расход воздуха, м/ч;
- средняя скорость
потока в соответствующем сечении, м/с; F
- площадь открытых проемов воздухоприемных устройств с постоянным направлением
движения воздуха или площадь габаритных сечений решеток, м2; Tж - площадь живого
сечения решеток, м2.
3. Компенсацию удаляемого воздуха следует предусматривать как за счет поступления наружного воздуха, так и за счет перетекания воздуха из других помещений данной квартиры.
4. Фактический воздухообмен квартир жилых домов не должен быть меньше требуемого воздухообмена, установленного главой СНиП по проектированию жилых зданий:
а) 3 м3 /ч на 1 м2 жилой площади;
б) 60 м3/ч для кухни; 25 м3/ч - для ванной; 25 м3/ч - для индивидуальной уборной или совмещенного помещения уборной и ванной.
Нормативный воздухообмен принимается по большой величине.
5. Скорость воздушных потоков при испытании систем воздухораспределения или сушке санитарно-гигиенического состояния воздушной среды в помещениях, как правило, следует замерять термоанемометрами.
Скорость в воздуховодах, каналах и проемах определяют по замеренным в мерных сечениях динамического давления или с помощью анемометров (крыльчатых, чашечных, термоанемометров). Чашечные анемометры измеряют скорость воздуха от 1 до 25 м/с, крыльчатые от 0,2 до 5 м/с, термоанемометры, в зависимости от градуирования прибора от 0,1 до 2; 3 или 10 м/с.
6. Измерение скорости воздушного потока в открытых отверстиях производят анемометром в плоскости входа в отверстие. В отверстиях, закрытых решетками, измерение скорости воздуха производится анемометром, снабженным насадком, сделанным из листовой стали, жести, винипласта и т.п. который в процессе измерения плотно примыкает к решетке. Схема крыльчатого анемометра с насадкой приведена на рис. 1. При использовании термоанемометра датчик устанавливают непосредственно в живом сечении решетки.
Рис. 1 (Приложения 4)
Крыльчатый анемометр с насадкой
1 - анемометр; 2 - насадка.
7. Чашечный анемометр следует вносить в воздушный поток так, чтобы ось колеса анемометра была перпендикулярна направлению потока. Крыльчатый анемометр следует устанавливать так, чтобы ось совпадала с направлением потока.
Перед измерениями записывают начальный отсчет по циферблату анемометра, затем анемометр с выключенным счетчиком вносят в поток и через 5 - 10 с (когда крыльчатка начнет вращаться с полной скоростью) счетчик анемометра включают одновременно с секундомером. Через 50 или 100 с счетчик механизма выключают и производят конечный отсчет по циферблату. Разность конечного и начального отсчетов делят на число секунд измерения и результат по градуировочному графику анемометра переводят в скорость воздуха в м/с.
8. В каждой точке скорость следует определять два раза, причем разность между результатами измерений должна быть не более, чем ±5 проц., в противном случае производится дополнительное измерение.
9. Методика измерения температуры и скорости потока воздуха термоанемометрами различных конструкций изложена в паспортах на приборы.
|
АКТ «___»__________ 199 ___ г Мы, нижеподписавшиеся, представитель заказчика_____________________________ ______________________________________________________________, представитель (должность, ф.и.о) строительной организации____________________________________________________ должность, ф.и.о. чистильщики________________________________________________________________ ф.и.о. и номер удостоверения составили настоящий акт о том, что нами согласно исполнительно-технической документации произведена проверка технического состояния дымовых и вентиляционных каналов в доме № ____________________________________________, принадлежащему ____________________________________________________________ наименование организации и расположенному по адресу __________________________________________________ в квартирах № ___________________________________________ с целью установления пригодности их к эксплуатации для удаления продуктов горения от газовых печей, аппаратов и приборов ________________________________________________________ ___________________________________________________________________________ наименование и тип прибора ПРОВЕРКОЙ УСТАНОВЛЕНО: 1. Обособленные дымовые каналы выполнены в квартире номер______________________________________________________________________ указать номера квартир 2. Необособленные дымовые каналы выполнены в квартире номер _____________________________________________________________________ указать номера квартир 3. Сечение (диаметр) дымовых каналов составляет _____________________ мм а вентиляционных каналов ___________________ мм. 4. Дымовые каналы выполнены из ___________________________________________ указать материал а вентиляционные каналы из _________________________________________________. 5. Противопожарные разделки дымовых каналов в междуэтажных и чердачных перекрытиях имеют размер ____________________________________ мм и находятся в _____________________________________ состоянии. исправном, неисправном. 6. Дымовые каналы выполнены плотными, в местах присоединения патрубков к каналам обеспечена герметичность_____________________________________________ ___________________________________________________________________________ при наличии наружной указать их 7. Плотность всех дымовых каналов проведена путем задымления, в результате чего установлено, что________________________________________________________ ___________________________________________________________________________ 8. Дымовые каналы имеют в их основании карманы глубиной 250 мм и отверстия для очистки ________________________________________________________________ если нет, то указать ___________________________________________________________________________ номера квартир 9. Соединительные патрубки в исправном состоянии ___________________________________________________________________________ если имеются нарушения, то указать 10. Дымовые трубы и вытяжные шахты (трубы) находятся вне зоны ветрового подпора ____________________________________________________________________ при наличии зоны, указать номера ___________________________________________________________________________ квартир 11. Горизонтальные участки дымовых каналов в стенах и чердаках имеются в квартирах __________________________________________________________________ указать номера 12. Все дымовые каналы, а также карманы очищены от сажи, а вентиляционные каналы от пыли и других предметов методом опускания шара диаметром 80-100 мм. 13. Тяга в дымовых и вентиляционных каналах на день проверки ___________________________________________________________________________ имеется, отсутствует 14. Оголовки дымовых каналов в исправном состоянии ___________________________________________________________________________ при наличии неисправностей, указать номера квартир а высота их_____________________________________________ техническим условиям. соответствует, не соответствует 15. Все дымовые каналы на чердаках побелены и имеют номера, обслуживающих квартир, нанесенные несмываемой краской на чердаке и снаружи здания. ЗАКЛЮЧЕНИЕ Дымовые каналы от газовых печей, аппаратов, приборов и вентиляционные каналы в квартире номер ___________________ отвечают «Правилам производства работ, ремонта печей и дымовых каналов» и могут быть допущены к эксплуатации. Дымовые каналы от газовых печей, аппаратов, приборов и вентиляционные каналы в квартире номер ________________ не отвечают указанным правилам. ПРЕДСТАВИТЕЛИ ЗАКАЗЧИКА От администрации заказчика __________________________________________________ подпись, место печати От строительной организации _________________________________________________ подпись, место печати Чистильщики ____________________________________________ участка СРС (Х)У ПР ____________________ подпись ____________________ подпись Акт зарегистрирован «___» __________ 199 ___ года, за номером ____________________________________ Мастер участка ____________________ ____________________ фамилия, место печати |
|
АКТ «___»__________199___г Мы, нижеподписавшиеся, представитель заказчика_____________________________ ___________________________________________________________________________ должность, фамилия, имя, отчество и звено чистильщиков _____________________________________ участка СРС(Х)У ПР наименование ___________________________________________________________________________ фамилия, имя, отчество произвели периодическую проверку дымовых и вентиляционных каналов на наличие нормальной тяги и отсутствие засорений, установили исправность оголовков и правильность расположения их относительно крыш и деревьев, плотность кладки каналов и наличие обособленных каналов от каждой печи (аппарата), соответствие устройства и материалов нормативным требованиям в доме № __________________ по адресу ____________________________________________________________________, принадлежащем _____________________________________________________________ Дымовые и вентиляционные каналы в квартирах № ______________________________ пригодны к эксплуатации в срок до ____________________________________ 199___г. Дымовые и вентиляционные каналы в квартирах № ____________________________ не могут быть допущены к эксплуатации по причине ________________________________ ___________________________________________________________________________ ___________________________________________________________________________ Представитель заказчика _____________________________________________________ подпись дата Чистильщики_______________________________________________________________ подпись дата _______________________________________________________________ подпись дата Акт зарегистрирован _______________ 199___г. за №_____________ Мастер участка _____________________________________________________________ подпись фамилия |
|
АКТ №№ __________________________ цеха ___________________________________ предприятия ______________________________________________________________ Комиссия в составе представителя вентиляционной службы предприятия ___________________________________________________________________________ (должность, ф., и., о.) начальника цеха (производства)________________________________________________ (ф.и.о.) и руководителя работ по очистке вентиляционных систем ___________________________________________________________________________ (должность, организация ВДПО, ф.и.о.) составили настоящий акт о том, что в период с «___»___________________199___ г. по «___»____________________199 г. произведена наружная, внутренняя очистка воздуховодов, пылеуловителей, ___________________________________________________________________________ (нужное подчеркнуть) фильтров и вентиляционного оборудования вентиляционных систем №№ ____________________________________________________ от пыли и отложений ___________________________________________________________________________ (наименование продуктов) Указанные системы вентиляции и вентиляционное оборудование находятся в чистом состоянии. Представитель вентиляционной службы предприятия ____________________ подпись Начальник цеха (производства) ____________________ подпись Руководитель работ ____________________ подпись |
СОДЕРЖАНИЕ