АТК 26-18-9-94

АЛЬБОМ ТИПОВЫХ КОНСТРУКЦИЙ

ПРОБКИ

Конструкция и размеры

Дата введения 1995-01-01

1 Область применения

Настоящий альбом типовых конструкций устанавливает конструкцию и размеры пробок для заглушки резьбовых отверстий в устройствах для установки приборов на сосудах, аппаратах, блоках и трубопроводах, применяемых в химической, нефтехимической и газовой промышленности на условное давление до 16,0 МПа и температуру не ниже минус 70 С.

2 Нормативные ссылки

В настоящем стандарте использованы ссылки на следующие стандарты:

АТК 26-18-10-94 Устройства для установки приборов измерения температуры на Ру от 0,6 до 16,0 МПа. Пробки. Общие технические требования.

3 Конструкция и размеры

Пробки по конструкции и размерам предусматриваются двух типов:

Тип I - пробки по рисунку 23

Тип 2 - пробки по рисунку 24.

3.1 Конструкция и размеры пробки типа 1 должны соответствовать рисунку 23; и таблице 8.

Тип 1

Рисунок 23

Таблица 8                                                                                             Размеры в миллиметрах

Диаметр резьбы пробки, d

d

D

D1

S

H

1

2

L

Масса

кг.

Номин.

Пред. откл.

Номин.

Пред. откл.

М18×1,5

5

32

26,5

24

-0,52

10

±0,29

20

27

7,0

35

0,10

M18×2,0

8,5

М20×1,5

6

7,0

0,11

М27×1,5

12

42

29,9

27

12

±0,35

22

30

40

0,25

М27×2,0

8,5

М30×1,5

15

48

35,0

32

-1,00

14

30

36

7,0

50

0,32

М33×2,0

8,5

0,35

Примечание - Масса подсчитана из условия плотности материала 7,85 г/см3.

Пример условного обозначения пробки типа 1 с диаметром резьбы М27×1,5 из стали 20:

Пробка 1-М27×1,5-20 АТК 26-18-9-94

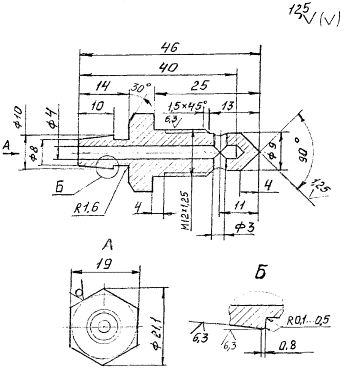
3.2 Конструкция и размеры пробки типа 2 должны соответствовать рисунку 24.

Тип 2

Рисунок 24

Масса пробки 0,034 кг.

Пример условного обозначения пробки типа 2 из стали Ст3сп3:

Пробка 2-СтЗспЗ АТК 26-18-9-94

4 Маркировать условное обозначение на бирке

5 Технические требования по АТК 26-18-10

Примечание - Масса подсчитана из условия плотности материала 7,85 г/см3.