АППАРАТЫ ТЕПЛООБМЕННЫЕ ПЛАСТИНЧАТЫЕ
Метод расчета на прочность и герметичность
РД 26-01-86-88
УкрНИИхиммаш
г. Харьков
1988
УТВЕРЖДАЮ
директор УкрНИИхиммаша
П.П. Прядкин
14.06.1988 г.
ЛИСТ УТВЕРЖДЕНИЯ
Аппараты,
теплообменные пластинчатые.
Метод расчета на прочность и герметичность
РД 26-01-86-88
|
Зам. директора УкрНИИхиммаша по научной работе |
Л.П. Перцев |
|
Зав. отделом стандартизации |
В.В. Проголаев |
|
Зав. отделом прочности |
В.Н. Стогний |
|
Руководитель темы, зав. лабораторией методов исследований |
В.М. Долинский |
|
Исполнители: |
|
|
мл. науч. сотр. |
О.В. Смыслина |
|
мл. науч. сотр. |
В.И. Черемская |
РУКОВОДЯЩИЙ ДОКУМЕНТ
|
АППАРАТЫ ТЕПЛООБМЕННЫЕ ПЛАСТИНЧАТЫЕ. Метод расчета на прочность и герметичность |
РД 26-01-86-88 |
Дата введения 01.01.90
Настоящий руководящий документ распространяется на методы расчетов на прочность и герметичность пластинчатых теплообменных аппаратов разборных и неразборных, применяемых в химической и других смежных отраслях промышленности, при условии, что отклонения от геометрической формы и неточности изготовления рассчитываемых элементов аппаратов не превышают допусков, установленных нормативно-технической документацией.
Руководящий документ распространяется на аппараты, работающие в условиях статической и малоцикловой прочности.
1.4. Расчет укрепления отверстий в цилиндрических панелях производится по ГОСТ 24755-81.
1.5. Толщина плит крышек неразборных теплообменных аппаратов определяется по ГОСТ 14249-80.
1.7. Допускаемые напряжения для стяжных болтов принимаются по ОСТ 26-373-78.
2.1. Расчетные схемы и расчетные нагрузки
2.1.1. Расчетные схемы приведены на черт. 1 - 6, 13, 15.
2.1.2. Расчетные формулы
применимы при условии
,
.
2.1.3. При d1<0,1 используются расчетные схемы черт. 6, 7, 13, 15; расчетные нагрузки определяют по п. 2.1.4. При d1³0,1 расчетные нагрузки определяют по п. 2.1.5 (черт. 1 - 4).
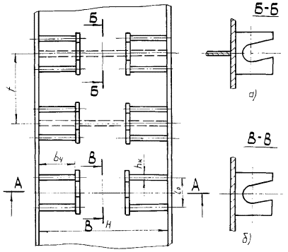
Расчетная схема для центральной панели

а) затяжка;
б) при подаче давления
Черт. 1
Расчетная схема для промежуточной панели


а) затяжка,
, ![]()
б) при подаче давления,
,
;
в) промежуточная панель
Черт. 2
Расчетная схема №1 для крайней панели

а) затяжка,
;
,
;
б) при подаче давления,
;
, ![]()
Черт. 3
Расчетная схема №2 для крайней панели

а) затяжка,
,
;
б) при подаче давления,
, ![]()
Черт. 4
![]()
2.1.4. Расчетные равномерные нагрузки:
- для крайних и
промежуточных панелей;
- для средних
панелей.
2.1.5. Расчетные неравномерные нагрузки
В режиме затяжки
и
- корни уравнений

где
;
![]()
![]()



I1, I2 - моменты инерции сечения (х=0) нажимной и неподвижной плит.
В рабочем режиме
,
, Qр
- корни системы

где ![]()

Коэффициенты j12, j13, j14, j22, j23, j24 определяются по п. 2.1.5.1.
2.1.5.2 Крайние панели
Для стяжек, сдвинутых к центру плиты (см. черт. 3)
В режиме затяжки
,
,
- корни системы

где ![]()

![]()
![]()

![]()
В рабочем режиме
,
,
, Qp
- корни системы

где 

![]()
Для стяжек, не сдвинутых к
центру плиты (см. черт. 5), в режиме затяжки,
и
- корни системы
уравнений

Неоребренная плита
Черт. 5
В рабочем режиме
,
, Qp
- корни системы

Коэффициенты j11, j13, j14, j23, j24 определяются по формулам п. 2.1.5.1.
2.1.5.3. Центральные панели
В рабочем режиме Рор является корнем уравнения
![]()
где
.
Коэффициенты j11, j12 определяются по формулам п. 2.1.5.1.
2.2. Неоребренные плиты
2.2.1. Равномерные нагрузки
2.2.1.1. Толщина панели
Крайней

Схема панели
Черт. 6
где np=1,0 - в рабочем режиме;
np=1,4 - в режиме гидроиспытаний.
Промежуточной и центральной
при a<an,
при an£a£1,5,
при a>1,5,
![]()
коэффициенты
,
,
,
- принимаются по табл. 1, an - черт. 8.
2.2.1.2. Толщина плиты в зоне опорной площадки промежуточной панели
При a£1,5,

при a>1,5

где n0=1,5 - в рабочем режиме;
n0=2,0 - в режиме гидроиспытаний;
коэффициенты
,
принимаются по табл. 1.
2.2.1.3. Толщина опорной шайбы под стяжной болт (см. черт. 7)
Шайба
Черт. 7
Граничный параметр
Черт. 8


Qр
определяется по п.
6.7.
2.2.2. Неравномерная нагрузка
2.2.2.1. Толщина панели
Для промежуточной и центральной панелей
,
Для крайних панелей
.
Изгибающие моменты в центре панели Mm определяют по формулам п. 2.3.6.3.
2.2.2.2. Толщина плиты в зоне опорной площадки определяется по п. 2.2.1.2.
2.2.2.3. Толщина опорной шайбы под стяжной болт определяется по п. 2.2.1.3.
2.3. Оребренные плиты
2.3.1. Расчетные схемы приведены на черт. 9 - 15.
2.3.2. Расчетные формулы
применимы при условиях:
,
.
2.3.3. Расположение стяжек
2.3.3.1. Целесообразно
выдерживать соотношение
. При этом предпочтительны значения, близкие к 2.
2.3.3.2. Верхние (нижние) стяжки можно располагать на расстоянии (определяемом условиями прочности), меньшем L4, так как они находятся в зоне плиты, ослабленной вырезами.
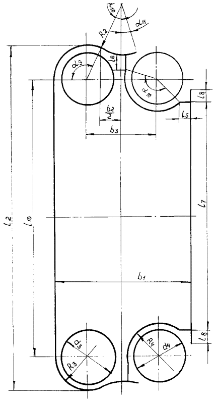
Оребренная плита
Черт. 9
Панель с отверстием
Черт. 10
Таблица 1
|
Х=0,5t, Y=0 |
X=0, Y=0,5b |
X=0,5f, Y=0,5b |
||||
|
|
|
|
||||
|
|
|
|
|
|
|
|
|
0,3 |
0,2590 |
0,200 |
0,940 |
0,3990 |
-1,090 |
-0,4630 |
|
0,4 |
0,2060 |
0,178 |
0,574 |
0,2440 |
-0,660 |
-0,2800 |
|
0,5 |
0,1670 |
0,161 |
0,403 |
0,1710 |
-0,467 |
-0,1980 |
|
0,6 |
0,1400 |
0,150 |
0,311 |
0,1320 |
-0,362 |
-0,1540 |
|
0,7 |
0,1210 |
0,142 |
0,254 |
0,1080 |
-0,298 |
-0,1270 |
|
0,8 |
0,1080 |
0,136 |
0,217 |
0,0922 |
-0,255 |
-0,1080 |
|
0,9 |
0,0985 |
0,132 |
0,190 |
0,0807 |
-0,223 |
-0,0948 |
|
1,0 |
0,0920 |
0,129 |
0,169 |
0,0718 |
-0,200 |
-0,0850 |
|
1,1 |
0,0873 |
0,127 |
0,153 |
0,0650 |
-0,181 |
-0,0769 |
|
1,2 |
0,0839 |
0,126 |
0,140 |
0,0595 |
-0,165 |
-0,0701 |
|
1,3 |
0,0815 |
0,125 |
0,129 |
0,0548 |
-0,152 |
-0,0646 |
|
1,4 |
0,0797 |
0,124 |
0,119 |
0,0506 |
-0,141 |
-0,0599 |
|
1,5 |
0,0784 |
0,124 |
0,111 |
0,0472 |
-0,132 |
-0,0561 |
2.3.4. Формы оребрения
2.3.4.1. Предпочтительно применять ребра с прямолинейной осью.
2.3.4.2. Для ребер целесообразно использовать профильный прокат. Предпочтителен неравнобокий угольник.
2.3.4.3. При изготовлении ребер из листа или из полосы целесообразно, чтобы Sp£S. Предпочтительнее неравенство Sp<S. При этом значение толщины ребра контролируется условием прочности и технологическими ограничениями на высоту ребра.
2.3.4.4. При использовании
продольного оребрения (черт. 9) целесообразно выполнять следующие
соотношения
, где n2
- число продольных ребер.
2.3.5. Толщина листа
2.3.5.1. Расчетом определяется толщина каждой панели. Толщина листа может быть выбрана равной максимальной толщине панели.
2.3.5.2. Расчетная нагрузка на панель
![]()
2.3.5.3. Панель, ограниченная ребрами с двух сторон и с двух сторон свободная

![]()
2.3.5.4. Панель, ограниченная ребрами с четырех сторон (см. черт. 9)

где
.
2.3.5.5. Панель, ограниченная ребрами с трех сторон, четвертая сторона свободная (см. черт. 9)

где
![]()
![]()
n2 - число продольных ребер;
i=0, 1, 2, 3
|
i |
0 |
1 |
2 |
3 |
|
104Bi |
292 |
973 |
210 |
0,19 |
2.3.5.6. Панель, содержащая круглые отверстия (черт. 10)

где
![]()
К2 - определяется по графику (см. черт. 11);
.
2.3.6. Выбор ребер
или ![]()
где
;
- угол
установки ребра, (см. черт. 14).
2.3.6.2. Изгибающий момент при равномерной нагрузке (см. черт. 13)
Зависимость

Черт. 11
Контурные элементы
а) с одним ребром
б) с двумя ребрами
Черт. 12
Панель без отверстия
Черт. 13
Криволинейные ребра
Черт. 14
Расчетная схема возможного варианта крайней панели
Черт. 15
2.3.6.2.1. Изгибающий момент в промежуточных и средней панелях:
в произвольном сечении

где
;
в центре плиты
![]()
2.3.8.2.2. Изгибающий момент в крайних панелях:
в произвольном сечении для несдвинутых к центру плиты стяжек (см. черт. 13)

где
;
в центре плиты
![]()
Для сдвинутых к центру плиты стяжек (см. черт. 15):
в интервале (b, b+b0) в произвольном сечении

в центре плиты

В интервале (0, b6)
![]()
2.3.6.3. Изгибающий момент при неравномерной нагрузке
2.3.6.3.1. Изгибающий момент в центральной панели
В произвольном сечении

где
.
В центре плиты
![]()
2.3.6.3.2. Изгибающий момент в промежуточных панелях
В произвольном сечении в
интервале ![]()

В интервале ![]()

где ![]()
![]()
В центре плиты

2.3.6.3.3. Изгибающий момент в крайних панелях
Для сдвинутых к центру плиты стяжек (см. черт. 3)
в интервале
в произвольном
сечении

в центре плиты

в интервале
в произвольном
сечении

Для стяжек, не сдвинутых к центру плиты (черт. 4):
в интервале
в произвольном
сечении

в центре плиты
![]()
В интервале
в произвольном
сечении
![]()
Коэффициенты g13, g14 определяются по формулам п. 2.3.6.3.2.
2.3.6.4. Эффективная ширина плиты
T=D1+L1+L2,
2.3.6.4.1. Для промежуточных и средней панелей
![]()
где 
![]()
D1=Sp - для одного ребра (см. черт. 12а);
D1=2Sp+В - для спаренных ребер (см. черт. 12б).
2.3.6.4.2. Для концевых панелей (см. черт. 9)
где i=1, 2;
- чертежный
размер (см. черт.
9);
D1=Sp;
=0,1815b.
2.3.6.5. Высота ребра из листа (см. черт. 16)
Высота ребра выбирается по п. 2.3.6.1. При этом
где ![]()
![]()
![]()
Sc=Sp (см. черт. 12а) или Sc=2Sp (см. черт. 12б).
2.3.7. Накладка (черт. 17)
2.3.7.1. Эффективная ширина накладки
![]()
где ![]()
.
2.3.7.2. Нагрузка ![]()
![]()
где Qр - наибольшее усилие в болте по п. 6.7
![]()
,
- площади смятия при
различных положениях гайки (черт. 18)
![]()
Номограмма определения толщины нажимной оребренной плиты
Черт. 16
Участок плиты с накладками
Черт. 17
Расчетные схемы накладок при разном положении гайки
Черт. 18
2.3.7.3. Толщина накладки

здесь sТ,
- пределы текучести
материала накладки и ребра плиты.
3.1. Условие отсутствия опрокидывания относительно т. А:
![]()
где Мопр, Мв - опрокидывающий и восстанавливающий моменты.
![]()
![]()
=1,5 - коэффициент запаса;
- вес пластин,
сдвинутых влево относительно т. А.
3.2. Если условие 3.1 не выполняется, то производится расчет фундаментных болтов.
3.2.1. Усилие в i-том болте
Рi=Рix+Рiy, i=1, 2, 3, 4

Мy=0,7Мопр,
3.2.2. Напряжения в i-том болте
![]()
Схема консольного теплообменного аппарата в состоянии сборки
Черт. 19
4.1. Расчетные схемы приведены на черт. 20 - 23.
4.2. Расчетные формулы применимы
при условиях:
,
.
4.3. Толщина боковой стенки Sб определяется по п. 2.3.5.4.
![]()
![]()

где ![]()
в МПа.
при ![]()
при ![]()
при ![]()
при ![]()
![]()
Для среднего продольного ребра крайней панели


При наличии анкерных связей коэффициент t определяется расчетным или экспериментальным путем. При отсутствии данных расчетов и экспериментов принимается t=1.
Промежуточная плита
1 - боковая стенка
2 - торцевая стенка (боковое продольное ребро);
3 - верхний лист;
4 - поперечное ребро
5 - продольное промежуточное ребро
6 - среднее продольное ребро крайней панели
7 - опорный угол
Черт. 20
Схема возможного расположения прокладок

Черт. 21
Для продольного промежуточного ребра
![]()
Для бокового продольного ребра

или 
в зависимости от положения сечения 2 (см. черт. 21,б).
Для поперечного ребра
![]()
D -
ширина прокладки.
4.5. Толщина торцевой стенки hm
4.5.1. Если кронштейны связаны планками (черт. 20), то расчет ведется по п. 4.4.
4.5.2. Если кронштейны не связаны планками и ребра не приварены к торцевой стенке в зоне расположения кронштейна (см. черт. 22б).

где 
где
![]()
Qр - усилие в стяжке по п. 6.7
Торцевая стенка в зоне опорного узла (1 вариант)

Черт. 22
4.5.3. Если кронштейны не связаны планками и ребра приварены к торцевой стенке под кронштейнами (черт. 22а),

4.6. Толщина планки (черт. 20, 22)
![]()
4.7. Толщина косынки кронштейна (черт. 22)
![]()
![]()
4.8. Условие прочности сварных швов, крепящих кронштейны к торцевой стенке (черт. 22, 23)
![]()
Qo - усилие начальной затяжки в стяжке.
Сечение сварного шва
Черт. 23
![]()

Торцевая стенка в зоне опорного узла (II вариант)


а) сечений в зоне опорного узла
б) расчетная схема опорного узла
Черт. 24
4.9. Толщина верхнего листа плиты (черт. 20)

4.10. Напряжения смятия в зоне опорного узла
![]()
- усилие в
стяжке по п.
6.7;
- площадь
смятия;
![]()
![]()
5.1. Расчетные схемы представлены на черт. 25 - 28.
5.2. Расчетные схемы применимы при условии
,
5.3. Консольная штанга (черт. 25)
5.3.1. Выбор сечения консольной штанги производится по условию
![]()
где
![]()
5.3.2. Ось поворота (т. О) верхней консольной штанги расположена на пересечении нижней плоскости штанги с плоскостью, проходящей через крайнюю точку отверстия в накладке (черт. 27)
![]()
где dk - диаметр отверстия под крепежный болт
5.3.3. Усилие в i-том болте

здесь ![]()
![]()
![]()
f1=0,45 ![]()
5.3.4. Проверка выполнения условия
![]()
Если условие не выполняется, усилия в болтах пересчитывают при То=0 по п. 5.3.3.
5.3.5. Напряжения в наиболее нагруженном болте
![]()
5.3.6. Касательные усилия в ослабленной части штанги
![]()
5.3.7. Напряжения среза в ослабленном сечении
![]()
5.3.8. Напряжения изгиба в ослабленном сечении
i=1, 2, 5,6.
5.3.9. Минимальный момент сопротивления ослабленного сечения (черт. 28):
- сечение (черт. 28а)

![]()

![]()
- сечение (черт. 28б)

![]()
![]()
Тн - эффективная ширина полки;
Вн
по черт. 26.
5.4. Двухопорная штанга
5.4.1. Выбор сечения двухопорной штанги (черт. 29) производится по условию
![]()
где
![]()

где

Консольная штанга
Черт. 25
Узел крепления верхней штанги в неподвижную плиту
Черт. 26
Расчетная схема консольной штанги

Черт. 27
Сечения ослабленного участка верхней штанги
Черт. 28
5.4.11. Опора С (черт. 26) расположена посередине между болтами 1, 2.
![]()
5.4.2. Изгибающий момент в месте соединения штанги с неподвижной плитой (черт. 39)

где

5.4.3. Напряжения изгиба в ослабленном сечении
![]()
где Wmin по п. 5.3.9
5.4.4. Изгибающий момент в месте соединения штанги с неподвижной плитой (черт. 30)

где

где К*=0,8 - коэффициент неполноты заделки
Двухопорная штанга
Черт. 29
Двухопорная штанга (для расчета группы болтов)
Черт. 30
5.4.5. Усилие в i-том болте (черт. 26)

5.4.6. Напряжения в наиболее нагруженном болте по п. 5.3.5.
5.4.6.1. Запас прочности по пределу текучести для материала болта
![]()
5.5. Кронштейн (черт. 31)
5.5.1. Толщина нижней накладки (черт. 32)
где
![]()
коэффициент
для n=0,3
определяется по табл.
2.
Таблица 2
|
|
||||||
|
|
||||||
|
0 |
0,25 |
0,50 |
1,00 |
1,50 |
2,00 |
|
|
0,25 |
0,332 |
0,172 |
0,073 |
0,022 |
0,009 |
0,003 |
|
0,50 |
0,370 |
0,302 |
0,196 |
0,076 |
0,029 |
0,010 |
|
0,75 |
0,428 |
0,387 |
0,284 |
0,141 |
0,051 |
0,023 |
|
1,00 |
0,509 |
0,474 |
0,390 |
0,205 |
0,091 |
0,037 |
Кронштейн
Черт. 31
Расчетная схема нижней накладки
Черт. 32
Верхняя накладка

Черт. 33.
5.5.2. Напряжения в месте соединения нижней накладки с плитой (черт. 31)

где - для коксольного варианта
![]()
- для двухопорного варианта
,
W1-1 - момент сопротивления волокон 1-1.
5.6. Верхняя накладка (черт. 33)
5.6.1. При усилении ослабленного сечения верхней штанги верхней накладкой длина прорези выбирается по условию
![]()
где
- ширина прорези.
5.6.2. Толщина верхней накладки по п. 5.5.1 При этом
![]()
- для сил Р1,
Р6;
- для сил Р2,
Р5.
6.1. Расчетные схемы представлены на черт. 34 - 36.
6.2. Расчетные формулы применимы
при условиях
и ![]()
6.3. Внутренний диаметр стяжки
![]()

6.4. Усилие начальной затяжки
6.4.1. Разборные теплообменные аппараты
![]()
![]()
![]()
где ![]()
(черт. 38)
6.4.2. Полуразборные теплообменные аппараты
![]()
(черт. 39)
6.4.3. Неразборные теплообменные аппараты
где
- коэффициент
запаса плотности
6.5. Нагрузка среды
![]()
(черт. 38)
(черт. 39)
(черт. 40)
6.6. Температурная нагрузка
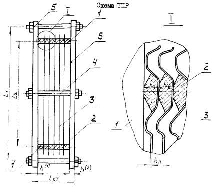
1 - концевая прокладка,
2 - промежуточная прокладка;
3 - гофрированная пластина;
4 - стяжка
5 - нажимная плита.
Черт. 34
Стяжка

Черт. 35
Схема расположения стяжек

б)- для четных Z/2;
а)- для нечетных Z/2.
Черт. 36
Концевая прокладка

Черт. 37
![]()
6.7.1. Разборные и полуразборные теплообменные аппараты
![]()
здесь Ко и Кн по табл. 3.
6.7.2. Неразборные теплообменные аппараты
![]()
6.8. Коэффициент И.И. Бобарыкова
Х=Х1-Х2,
где

![]()
6.9. Разность температурных удлинений
![]()
![]()
j=1, 2
![]()
![]()
![]()
![]()
![]()
6.10. Податливости системы
6.10.1. Податливости промежуточных и концевых камер
6.10.1.1. Разборного и полуразборного аппарата
![]()
j=1, 2
![]()
6.10.1.2. Неразборного аппарата
![]()
где
- количество точек
контакта
![]()
площадь половины гофрированного поля между стяжками
![]()
площадь участка пластины, приходящаяся на одну точку контакта
![]()
здесь
, tГ,
b
- ширина гофрированного поля пластины, шаг и угол пересечения гофр;
жесткость пакета, состоящего из двух пластин, имеющего одну точку контакта.
Сэ=0,691×104 Н/мм;
![]()
6.10.2. Стяжка

![]()
6.10.3. Концевые прокладки
j=1, 2
![]()
6.10.4. Плиты при действии контурных сил (черт. 9)

где
![]()
Е1, Е2, I1, I2 - модули упругости и моменты инерции (п. 2.3.6.4) нажимных плит.
6.10.5. Плиты при действии гидравлического давления (см. черт. 13)

6.11. Коэффициенты распределения нагрузки
![]()
где
![]()
Параметры е, f6, С6 приведены в табл. 3.
Коэффициент
определяется
экспериментально.
При отсутствии экспериментальных
данных принимается
.
6.12. Относительные нагрузки

![]()
![]()
q1, q2, q(1), q(2) - давления первого, второго теплоносителей и давление в концевых камерах, примыкающих к плитам;
n1, n2 - число камер с первым и вторым теплоносителем.
Часть контура средней линии концевой прокладки разборного теплообменного аппарата
Черт. 38
Контур средней линии прокладки пластины полуразборного теплообменного аппарата
Черт. 39
Пластина неразборного теплообменного аппарата
Черт. 40
Таблица 3
7.1. Коллекторы под действием внутреннего давления
7.1.1. Расчетные схемы представлены на черт. 41, 42.
7.1.2. Расчетные формулы применимы при условии r/S17³5.
7.1.3. Цилиндрическая панель с боковыми стенками
7.1.3.1. Расчетная нагрузка от давления среды, приходящаяся на панель и боковые стенки
где i=1, 2, 3;
Ki7 - коэффициент
редукции (табл.
4), зависящий от отношения
.
L7 - длина коллектора, ![]()
Таблица 4
|
K17,27 |
|
K37 |
|
|
1,0 |
0,312 |
0,000 |
1,0000 |
|
1,1 |
0,373 |
0,333 |
0,7520 |
|
1,2 |
0,433 |
0,500 |
0,4660 |
|
1,3 |
0,490 |
0,666 |
0,2680 |
|
1,4 |
0,541 |
1,000 |
0,0904 |
|
1,5 |
0,593 |
1,500 |
0,0223 |
|
1,6 |
0,637 |
2,000 |
0,0075 |
|
1,7 |
0,678 |
3,000 |
0,0015 |
|
1,8 |
0,715 |
¥ |
0,0000 |
|
1,9 |
0,748 |
- |
- |
|
2,0 |
0,778 |
- |
- |
|
3,0 |
0,939 |
- |
- |
|
4,0 |
0,985 |
- |
- |
|
5,0 |
0,996 |
- |
- |
|
¥ |
1,000 |
- |
- |
Цилиндрическая панель и боковые стенки

а) схема;
б) внутренние усилия
Черт. 41
Днище и цилиндрическая панель
Черт. 42
7.1.3.2. Вспомогательные величины
где i=2, 3;
![]()
![]()
![]()
![]()
![]()



7.1.3.2.1. Расчетная длина боковой стенки
для коллектора
без боковых стенок.
В остальных случаях
i=2, 3.
7.1.3.3. Изгибающий момент и мембранное окружное усилие в среднем сечении панели
![]()
![]()
где
![]()
Графики теоретических
зависимостей
и
при L3=0, b2=1,0
представлены на черт.
43.
7.1.3.4. Изгибающий момент и мембранное окружное усилие в сечении jT=a7 цилиндрической панели
![]()
![]()
7.1.3.5. Изгибающий момент и мембранное усилие в сечении Х2=L27 боковой стенки
![]()
где ![]()
![]()
7.1.3.6. Изгибающий момент и мембранное усилие в сечении Х2=L37 боковой стенки
![]()
где ![]()
N3=N2.
Теоретические зависимости
Черт. 43
7.1.3.7. Критерий несущей способности

nT=1,5 в рабочих условиях;
nT=1,1 в режиме гидроиспытаний.
7.1.3.8. Критерий циклической прочности при j=a7, X2=L27, X3=L37.
где i=1, 2, 3.
7.1.4. Днище коллектора
Расчетная толщина днища коллектора
если S17>Sд
если S17<Sд
![]()
nр=1,0 в рабочих условиях;
nр=1,4 в режиме гидроиспытаний.
7.1.5. Сопряжение днища с обечайкой
Критерий циклической прочности
![]()
где
- при одинаковых
давлениях с обеих сторон днища,
- при разных
давлениях с обеих сторон днища.
7.2. Коллекторы под действием наружного давления
Расчет выполняется по ГОСТ 14249-80 для цилиндрических обечаек
8.1. Расчетные схемы даны на черт. 44 - 45.
8.2. Расчетные схемы применимы при условиях
![]()
8.3. Толщина стенки сферической крышки, находящейся под действием внутреннего давления
![]()
8.4. Толщина стенки сферической крышки, находящейся под действием наружного давления, - по п. 1.6.
8.5. Толщина перегородки
8.6.1. Плита
8.6.1. Толщина плиты - по п. 1.6.
8.6.2. Напряжения среза в перемычке
![]()
8.7. Сопряжение крышки с кольцом
Критерий пологости оболочки
![]()
Критерий циклической прочности:
- для непологих оболочек
КРЫШКА
1 - плита; 2 - днище, 3 - перегородка, 4 - патрубок
Черт. 44
ПЛИТА

Черт. 45
где ![]()
- для пологих оболочек
где 

где Т1, Т2,
,
- функции параметра
и их производные.
9.1. Расчетная схема представлена на черт. 46.
9.2. Расчетные формулы применимы
при условии ![]()
9.3. Расчет прокладок позволяет определить усилие на прокладке при затяжке стяжных болтов.
9.4. Усилие на прокладке определяется по характеристике прокладки (черт. 48) в зависимости от заданной осадки, величина которой определяется конструкцией герметизирующего узла (черт. 46).
9.5. Характеристика прокладки определяется экспериментально. Экспериментальные данные приведены в табл. 5. При отсутствии экспериментальных данных характеристика прокладки строится приближенно расчетным путем.
Черт. 46
Черт. 47
Характеристика прокладки ТПР-0,6 из резины марки 4326
Черт. 48
Таблица 5
Экспериментальные характеристики прокладок
|
Число прокладок |
hnp, мм |
V, мм |
qo, Н/мм2 |
Lnp, мм |
|
|
Резина 4326 |
56 |
5,60 |
2,20 |
126,0 |
6360 |
|
Резина 51-1481 |
5 |
6,00 |
2,10 |
62,7 |
760 |
|
Резина 4326 (клеевое крепление) |
3 |
5,75 |
1,61 |
90,0 |
1000 |
|
Резина 4326 (концевая прокладка) |
1 |
5,32 |
1,81 |
100,0 |
1000 |
|
Резина 4326 |
3 |
5,42 |
1,89 |
101,0 |
1000 |
|
Резина 51-1481 |
5 |
5,00 |
2,06 |
86,9 |
4420 |
|
Резина 51-1481 (крепление клеевое) |
5 |
5,00 |
1,32 |
112,0 |
4420 |
9.6. Расчетная характеристика прокладки
![]()
![]()
![]()
![]()

Геометрические размеры прокладки
![]()
![]()
![]()
Линейные приращения размеров
прокладки при изменении нагрузки на величину
и осадки на
определяются по
формулам:



Интенсивность напряжений
![]()

Механические характеристики Eo, sпр, sо, Во, m определяются по деформационной кривой (черт. 47) для соответствующей марки резины.
Программа расчета характеристики прокладки дана в приложении 1
Порядок ввода исходных данных в программу следующий:
а*, tgao, DV, snp, m, Bo, [V].
Выходные данные: q~qo, ![]()
9.7. Номинальное усилие на прокладке определяется по графику (черт. 49)
9.8. Номинальная осадка прокладки (черт. 48, 50, 51, 52)

Если характеристика герметичности (черт. 49) отсутствует, то V1=1,5 мм.
9.9. Дополнительная осадка
, определяемая точностью изготовления, приведена на черт. 53.
9.10. Минимально допустимая осадка прокладки
![]()
9.11. Минимальное допустимое давление на прокладке (черт. 48, 50, 51, 52)

9.12. Вероятность разгерметизации аппарата
![]()
![]()
![]()
[y] - зона затухания корреляционной функции;
z - число некоррелируемых точек.
10.1. Номинальная нагрузка
![]()
10.2. Расчетная нагрузка
![]()
10.3. Коэффициент неравномерности
![]()

10.4. Приведенная толщина гофрированной пластины (черт. 54)

10.5. Вероятный зазор между пластинами
![]()
10.6. Параметр значимости
![]()
10.7. Предельная распределенная нагрузка

10.8. Предельная нагрузка по условиям устойчивости боковой стенки
![]()
10.9. Деформации в точечном контакте определяются из уравнения
либо по черт. 57.
Размер площадки нагружения Сг
определяют из черт.
56 при заданных отношениях
и
где
сосредоточенная
нагрузка на вершины гофр
Характеристика герметичности ТПР-06
1 - прокладка с пазом, крепление клеевое, резина 4326;
2 - прокладка без паза; крепление клеевое, резина 4326
Черт. 49
Разгрузочная характеристика прокладки без паза ТПР-0,6
Черт. 50
Разгрузочная характеристика прокладки с пазом ТПР-0,6
Черт. 51
Разгрузочная характеристика прокладки ТПР-1,3
Черт. 52
Вероятность дополнительной осадки
Черт. 53
10.10. Предельная нагрузка в точечном контакте (черт. 55)

![]()
![]()


![]()




10.11. Предельная нагрузка при линейном контакте
10.11.1. Ширину полосы контакта определяют из уравнения

10.11.2. Предельная нагрузка
![]()
11.1. Статические нагрузки (черт. 58)
11.1.1. Критические деформации
![]()
11.1.2. Критические напряжения

11.1.3. Критические нагрузки
![]()
j=0,4,
для прямоугольных пластин f=2.
11.2. Циклическое нагружение (черт. 59)
11.2.1. Геометрические параметры
![]()
i>2,
i³2.
Треугольный профиль гофра
Черт. 54
Расчетная схема нагружения гофра (профиль треугольник-трапеция)
Черт. 55
Диаграмма предельной нагрузки
Черт. 56
Площадка нагружения и величина осадки гофра
Черт. 57
11.2.2. Напряжения на различных стадиях нагружения
![]()
![]()
i=0, 1, 2,…, к
11.2.3. Условные напряжения
![]()
![]()
11.2.4. Амплитудные значения пульсирующих напряжений
Кs=30.
Деформированное сварное соединение
Черт. 58
Схема пластины с ограничителем
Черт. 59
Рекомендуемое
i=3, а, н, р, м, о, у
1 Введем а1, а2, с, н1,н2, е, в, ш, z, уо, у1, у2, у3
2 Вычислим о1= а1, о2= а2, u=c, р1=м1, р2=м2, s=е, g=0, r=0.
3 Допустим n=0
4 Вычислим d=8zc1s/(3(p1+p2)), м2=2dр2(8so1), м1=3dр1(8so1)
5 Вычислим o0=a0o2/o1, м=((o1+u)p1+(o2+u)p2-(o1+a0+u)(p1-м1)-(c2+c0+u)(p2-м2))/(p1+p2-м1-м2)
6 Вычислим o=o1+a0, o2=o2+o0, u=uTн0, р1=р1-м1, р2=р2-м2, m=в+р2ш
7 Вычислим r=r+z, q=q+d, ![]()
8 если L-Ус£0 идти к 11
9 Вычислим t=LnL, s=exp(y1(Ln5+6Ln10)+(1-y1)t-Ln(y1y2)
10 идти к 12
11 допустим s=e
12 Вставим n=n+1
13 если n-10<0 идти к 17
14 печатаем с 4 Знаками г
15 печатаем c 4 Знаками q
16 идти к 18
17 если u-m<0 идти к 4
18 если u-m< 0 идти к 3
19 Вычислим t=o2
20 если t-в³0 идти к 25
21 если n-10<0 идти к 23
22 допустим n=0
23 Вычислим н0=0, d=8zo1s/(3(p1+p2)), a0=3d/(8s), м1=3dр1(8so1), м2=3dр2(8so1), o0=((o1+m)p1+(o2+m)m2-(o1+a0+m)(p1-м1))/(p2-м2)
24 идти к 6
25 допустим o=0
26 Вычислим н0=0, o0=0, d=8zo1s/(3(p1), м1=3dр1(8so1), м2=0, а0=(o1+m)м1/(p1-м1)
27 Вычислим o1=o1+a0, p1=p1-м1, q=q+d, ![]()
28 Вычислим r=r+z
29 Вставим n=n+1
30 если L-Уo£0 идти к 33
31 Вычислим t=LnL, s=exp(y1(Ln5+6Ln10)+(1-y1)t-Ln(y1y2)
32 идти к 34
33 допустим s=e
34 Вычислим t=y3+10z
35 если n-1-<0 идти к 38
36 печатаем с 4 Знаками q r
37 идти к 39
38 если r-t£0 идти к 26.
39 если r-t£0 идти к 25
40 идти к 1
исполним 1
Справочное
|
Термин и размерность |
Обозначение |
|
Расчетная нагрузка, МПа |
P |
|
Рабочая нагрузка, МПа |
q |
|
Длина прокладки, приходящаяся на рассматриваемую панель, мм |
Ln |
|
Площадь пластины, приходящаяся на рассматриваемую панель, мм |
Fn |
|
Погонная реакция на прокладку, Н/мм |
qc |
|
Расстояние между осями прокладок, мм |
b1 |
|
Шаг установки стяжек, мм |
t |
|
Толщина крайней, промежуточной и средней панелей, мм |
S1, S2, S3 |
|
Ширина крайней панели, мм |
a4 |
|
Коэффициенты нагрузки |
np, no |
|
Высота, длина и толщина ребра промежуточной плиты, мм |
H, L, h4 |
|
Толщины боковой, торцевой стенок и верхнего листа промежуточной плиты, мм |
Sd, hm, Sв |
|
Максимальная погонная нагрузка, действующая на ребро промежуточной плиты, Н/мм |
|
|
Допускаемые напряжения при сжатии, МПа |
[s]y |
|
Коэффициент неоднородности материала |
h |
|
Длины участков нагружения и углы установки прокладок, мм, град |
ao, a1, a2, a3, a6, a1, a2, a3 |
|
Коэффициент передачи нагрузки |
f |
|
Ширина прокладки, мм |
D |
|
Эксцентриситет нагрузки, мм |
Сс |
|
Длина косынки, мм |
b4 |
|
Расстояние между косынками, мм |
Lo |
|
Коэффициент прочности сварного шва |
j |
|
Длина и толщина штанги, мм |
L, Hш |
|
Погонные весовые нагрузки, Н/мм |
q1, q2 |
|
Вес нажимной и неподвижной плит, Н |
Pн, Pн¢ |
|
Вес верхней штанги, Н |
Pш |
|
Реактивные силы и моменты, Н, Н×мм |
RA, RB, MB, Mo, M |
|
Длины участков приложения нагрузки, мм |
L15 - L65 |
|
Положение болтов кропления штанги, мм |
r15¢ - r65¢ |
|
Нагрузки в болтах крепления штанги, Н |
P1 - P6 |
|
Допускаемые напряжения для материалов штанги и болта, МПа |
[s]ш, [s]d |
|
Пределы текучести материалов штанги, болта, накладок, МПа |
sTш, sTd, sTн |
|
Площадь сечения болта узла крепления штанги, мм2 |
Fd |
|
Площадь, момент инерции сечения и статический момент получения штанги, мм2, мм4, мм3 |
Fш, Ix, Sx |
|
Касательные усилия в сечении штанги, Н |
T1 - T6 |
|
Толщины верхней и нижней накладок, мм |
h1, h2 |
|
Толщина и высота ребра нижней накладки, мм |
hp, Hp |
|
Начальные толщины элементов коллектора, мм |
So17, So27, So37, Sдо |
|
Расчетные толщины элементов коллектора в конце срока службы, мм |
S17, S27, S37, Sд |
|
Угол и радиус цилиндрической панели, ряд, мм |
a7, r |
|
Угол установки боковых стенок, ряд |
g |
|
Момент сопротивления сварного шва, мм |
Wc |
|
Длина коллектора, мм |
L7 |
|
Ширины элементов коллектора, мм |
L17, L27, L37 |
|
Текущие значения координат элементов коллектора, мм |
jT, X2, X |
|
Коэффициенты редукции нагрузки |
K17, K27, K37 |
|
Расчетное давление в коллекторе, МПа |
q17, q27, q37 |
|
Перерезывающие силы и мембранные силы, Н/мм |
Q1, Q2, Q3, N1, N2, N3 |
|
Высота днища, мм |
a7 |
|
Эффективный коэффициент концентрации напряжений |
Ks |
|
Радиус, высота и угол крышки, мм, ряд |
R, Z8, a8 |
|
Основные размеры плиты крышки, мм |
D8, a8, b8, Ro, tn |
|
Высота перегородки, мм |
H8 |
|
Толщина сферической панели, плиты и перегородки, мм |
S18, S28, SL |
|
Бесселевы функции и их производные |
T1, T2, T1¢, T2¢ |
|
Шаг гофрировки, толщина, радиус и осадка гофра, мм |
tG, SG, RG, DG |
|
Угол пересечения осей гофр и угол наклона боковой стенки гофра, ряд |
b, aG |
|
Предельная нагрузка, Н |
Qn |
|
Радиус круглой пластины, мм |
Rn |
|
Средний радиус сопряжения пластины, мм |
rn |
|
Высота шва, мм |
Sш |
|
Логарифмические и критические логарифмические деформации |
e0,2, ekp |
|
Условный предел текучести, МПа |
s0,2 |
|
Расстояние между центрами стяжек крайних панелей, мм |
bc |
|
Погонная реакция на прокладку при затяжке, Н/мм |
Poo, Po*, Po**, Po |
|
Погонная реакция на прокладку в рабочем режиме, Н/мм |
Popo, Pop*, Pop**, Pop |
|
Среднеквадратическое отклонение толщины прокладки |
si |
|
Максимальное значение толщины прокладки, мм |
hmax |
|
Минимальное значение толщины прокладки, мм |
hmin |
|
Дополнительная осадка, мм |
|
|
Вероятность дополнительной осадки |
u |
|
Жесткость плит, H-1мм-2 |
D |
|
Податливости плит от действия погонной реакции прокладки, мм2/H |
j13, j14, j24, j23, |
|
Податливости плит от действия сосредоточенной реакции прокладки, мм/H |
j12, j22 |
|
Податливости плит от давления среды, мм2/H |
j13, j21, |
|
Минимально допустимая осадка прокладки, мм |
[V] |
|
Минимально допустимое давление на прокладке, Н/мм |
[qo] |
|
Длина консольного участка плиты, мм |
b6, b2 |
|
Относительная жесткость |
d1 |
|
Относительная длина прокладки, приходящаяся на панель |
K1 |
|
Номинальное усилие на прокладке, мм/H |
qo¢ |
|
Номинальная осадка прокладки, мм |
V1 |
|
Среднее значение толщины прокладки, мм |
hicp |
|
Длина коллекторных участков прокладки, приходящихся на промежуточную панель, мм |
Ln¢ |
|
Моменты инерции сечений нажимной и неподвижной плит |
L1, L2 |
|
Предел текучести, МПа |
sT |
|
Допускаемые напряжения при статическом и малоцикловом нагружении, МПа |
[s],[sм] |
|
Толщина плиты под опорной площадкой, мм |
So |
|
Внутренний и наружный радиусы шайбы, мм |
r1, r2 |
|
Толщина шайбы, мм |
d |
|
Коэффициенты изгиба |
m1, m2, m3, m4 |
|
Коэффициент Пуассона |
n |
|
Модуль Юнга, МПа |
E |
|
Нагрузки на болт от затяжки, внешней среды, температурного воздействия и суммарная, Н |
Qo, Qн, Qt, Qp |
|
Координаты точки, мм |
X, У |
|
Изгибающий момент, Н×мм |
M |
|
Момент сопротивления, мм3 |
W |
|
Момент инерции, мм4 |
I |
|
Толщины нажимных оребренных плит, мм |
h1, h(1), h(2) |
|
Толщина ребра и листа нажимной плиты, мм |
Sp, S |
|
Запасы прочности и устойчивости по пределу текучести |
nT, ny |
|
Параметр нагрузки |
r |
|
Габаритные размеры панели оребренной плиты, мм |
a, b3, L1, Lk, L2 |
|
Приведенный габарит панели, мм |
Lnp |
|
Радиус окружности в плите, мм |
r3 |
|
Радиус окружности, касающейся ребра, мм |
r4 |
|
Коэффициент кривизны ребра |
q |
|
Угол установки ребра, град |
|
|
Расстояние между ребрами, мм |
B |
|
Эффективная ширина плиты, мм |
T |
|
Межцентровое расстояние, мм |
L4 |
|
Расчетное межцентровое расстояние, мм |
b |
|
Ширина листа плиты, мм |
b2 |
|
Длина концевой прокладки, мм |
Lnp |
|
Площадь сечения сварного шва, мм2 |
Fc |
|
Толщина и высота косынки, мм |
hk, Cp |
|
Катеты сварных швов, мм |
hн, hc |
|
Габаритные размеры кронштейнов, мм |
ac, bc, dc |
|
Вес промежуточной плиты, Н |
Q |
|
Габаритные размеры верхнего листа и стропового устройства, мм |
ab, bb |
|
Половина толщины планки, мм |
Sb |
|
Сумма прибавок и расчетным толщинам стенок, мм |
C |
|
Число болтов |
Z |
|
Внутренний диаметр стяжного болта, мм |
d1 |
|
Коэффициенты распределения нагрузки |
Ko, Kн, |
|
Коэффициент И.И. Бобарыкова |
X |
|
Максимальное давление среды, МПа |
qmax |
|
Площадь пластины, мм2 |
Fпл |
|
Податливости прокладок, стяжек и плиты, мм/Н |
lnp, lk, lст, lQ, lq |
|
Число прокладок |
n |
|
Запас плотности |
m6 |
|
Температурные удлинения плит, прокладок, пластин и стяжек, мм |
Dhпл(1), Dhпл(2), Dhпp, Dhk(1), Dhk(2), Dhп, DLст |
|
Температуры и коэффициенты линейного удлинения плит, прокладок, пластин и стяжек, град, град-1 |
tпл(1), tпл(2), tпр, tk(1), tk(2), tn, tст, aпл(1), aпл(2), anp, an, aст |
|
Температура монтажа аппарата, град |
tс |
|
Относительные нагрузки в основных и концевых камерах |
Pj, P(1), P(11) |
|
Давление в j-й и в концевых камерах, МПа |
qj, q(1), q(11) |
|
Площади концевых камер, мм2 |
Fk(1), Fk(11) |
|
Диаметр стяжки, наружный диаметр резьбы, мм |
d2, d |
|
Толщины прокладок и пластин, мм |
hnp, hn |
|
Длины нарезанной, ненарезанной частей и суммарная длина стяжки, мм |
L16, L26, Lст |
|
Параметры характеристики прокладки, Н/мм |
A, K |
|
Эталонное значение осадки прокладки, мм |
Vo |
|
Параметры коэффициентов неравномерности распределения нагрузки |
e, f6, C6 |
|
Статический момент сечения, мм3 |
Sn |
|
Ширина сечения плиты в месте сварки, мм |
bp |
|
Размеры прокладки, мм |
ав, ан, с(9), hн, hв |
|
Параметры гнезда для прокладки |
a*, ao |
|
Интенсивности напряжений и деформаций, МПа |
si, ei |
|
Предел пропорциональности, МПа |
snp |
|
Параметры кривой деформирования, МПа |
Bo, m, so |
|
Коэффициент неравномерности контактного давления |
y05 |
ИНФОРМАЦИОННЫЕ ДАННЫЕ
1. РАЗРАБОТАН И ВНЕСЕН УкрНИИхиммашем
ИСПОЛНИТЕЛИ
В.М. Долинский (руководитель темы), О.В. Смыслина, В.И. Черемская
2. УТВЕРЖДЕН УкрНИИхиммашем
ВДЕДЕН В ДЕЙСТВИЕ Письмом УкрНИИхиммаша
3. СРОК ДЕЙСТВИЯ НЕОГРАНИЧЕН
4. ВЗАМЕН РТМ 26-01-86-83
5. ССЫЛОЧНЫЕ НОРМАТИВНО-ТЕХНИЧЕСКИЕ ДОКУМЕНТЫ
|
Обозначение НТД, на который дана ссылка |
Номер пункта, подпункта, перечисления, приложения |
|
ГОСТ 14249-80 |
|
|
ОСТ 26-11-04-84 |
|
|
ГОСТ 25859-83 |
|
|
ГОСТ 24755-81 |
|
|
ГОСТ 25221-82 |
|
|
ГОСТ 14249-80 |
|
|
ОСТ 26-373-78 |
СОДЕРЖАНИЕ
|
3. Расчет консольного теплообменного аппарата на опрокидывание в состоянии сборки. 16 10. Несущая способность гофрированных пластин. 42 11. Сварные соединения пластин. 47 |