СССР
УТВЕРЖДЕНО
Министерство химического и
нефтяного машиностроения СССР
Заместитель министра
Г. Ф. Шеин
«30» октября 1981г.
ОТРАСЛЕВЫЕ СТАНДАРТЫ
ИЗДЕЛИЯ КРЕПЕЖНЫЕ ДЛЯ
СОСУДОВ И АППАРАТОВ
НА ДАВЛЕНИЕ СВЫШЕ 9,81 ДО 98,1 МПа (СВЫШЕ
100 ДО 1000 кгс/см2). ТИПЫ, КОНСТРУКЦИИ И
РАЗМЕРЫ. ОБЩИЕ ТЕХНИЧЕСКИЕ ТРЕБОВАНИЯ
ГАЙКИ ДЛЯ РЕЗЬБОВЫХ СОЕДИНЕНИЙ СОСУДОВ И АППАРАТОВ НА ДАВЛЕНИЕ СВЫШЕ 9,81 ДО 98,1 МПа (СВЫШЕ 100 ДО 1000 КГС/СМ2).
Типы. Конструкция и размеры.
ОСТ 26-01-140-81
ТЕХНИЧЕСКОЕ УПРАВЛЕНИЕ
/Начальник А. М. Васильев
ВПО «СОЮЗХИММАШ»
/Начальник В. А. Чернов
СОГЛАСОВАНО
НИИХИММАШ
Директор Н. М. Самсонов
Заместитель директора П. Ф. Серб
Начальник БНИОС В. В. Дюкин
ПО УРАЛХИММАШ
Главный инженер Н. К. Глобин
СОГЛАСОВАНО
МИНИСТЕРСТВО ПО ПРОИЗВОДСТВУ МИНЕРАЛЬНЫХ УДОБРЕНИЙ СССР
УПРАВЛЕНИЕ ОБОРУДОВАНИЯ
Заместитель начальника ГИАП В. Н. Назаров
Главный механик С. А. Тверецкий
УТВЕРЖДЕН И ВВЕДЕН В ДЕЙСТВИЕ приказом ВПО Союзхиммаш от 30.10.81 г. № 173.
ИСПОЛНИТЕЛИ
В. П. Вирюкин (руководитель темы); В. И. Лившиц, канд. техн. наук; В. К. Погодин, канд. техн. наук; В. М. Черемных; Г. Г. Ожегов; Г. Г. Золотенин; Е. Д. Кудрикова; А. В. Тасевич; Л. А. Корчагина; В. Д. Продан.
ОТРАСЛЕВОЙ СТАНДАРТ
|
ГАЙКИ ДЛЯ РЕЗЬБОВЫХ СОЕДИНЕНИЙ СОСУДОВ И АППАРАТОВ НА ДАВЛЕНИЕ СВЫШЕ 9,81 ДО 98,1 МПа (СВЫШЕ 100 ДО 1000 КГС/СМ2). Типы. Конструкция и размеры. |
ОСТ 26-01-140-81 Взамен ОСТ 26-1360-75 |
Приказом Всесоюзного производственного объединения Союзхиммаш № 173 от 30 октября 1981 г. срок действия
с 01.07.1982 г.
до 01.01.1997 г.
Настоящий стандарт распространяется на гайки для резьбовых соединений сосудов и аппаратов, применяемых в химической, нефтехимической и смежных отраслях промышленности на давление свыше 9,81 до 98,1 МПа (свыше 100 до 1000 кгс/см2) и при расчетной температуре стенки сосуда от минус 40 до плюс 420 °С.
Примечание. В технически
обоснованных случаях на сварные аппараты газовой промышленности на давление не
свыше 15,7
МПа (не свыше 160
кгс/см2) допускается распространение отраслевого
стандарта ОСТ 26-2041-77 (
,
- предел текучести
материала корпуса аппарата, соответственно, при расчетной температуре и 20 °С).
(Измененная редакция, Изм. № 1, 2).
Стандарт устанавливает следующие типы гаек:
Тип А - гайка для затяжки фланцевого соединения гаечным ключом;
Тип Б - гайка для затяжки фланцевого соединения гидродомкратом.
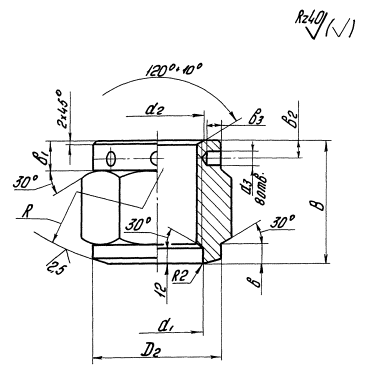
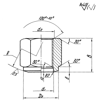
2.1. Конструкция и размеры гаек должны соответствовать указанным на черт.1, 2 и в таблице.
Длина резьбы гаек установлена из
условия, что отношение временного сопротивления материала шпильки (
) к временному сопротивлению материала гайки (
) (при расчетной температуре) должно быть:
для гаек с номинальным диаметром резьбы до 120 мм менее или равно 1,3, т. е.:

для гаек с номинальным диаметром резьбы свыше 120 мм менее или равно 1,25 , т.е.

ТИП А

Черт. 1.
ТИП Б

Черт. 2.
РАЗМЕРЫ ГАЕК
мм
|
Шаг резьбы Р |
Размер S «под ключ |
Диаметр описанной окружности D1 (не менее) |
Высота гайки В |
Диаметр наружных проточек D2 |
Диаметр внутренней проточки d1 |
||
|
Номинальный |
Пред. откл. |
||||||
|
56 |
5,5 |
85 |
- 1,40 |
95 |
80 |
83 |
58 |
|
60 |
90 |
100 |
85 |
88 |
62 |
||
|
64 |
6 |
95 |
105 |
90 |
93 |
66 |
|
|
68 |
100 |
110 |
95 |
98 |
79 |
||
|
72 |
105 |
115 |
100 |
103 |
74 |
||
|
76 |
110 |
122 |
105 |
108 |
78 |
||
|
80 |
115 |
128 |
110 |
113 |
82 |
||
|
85 |
125 |
- 1,60 |
140 |
115 |
123 |
87 |
|
|
90 |
130 |
145 |
120 |
128 |
92 |
||
|
95 |
140 |
155 |
125 |
138 |
97 |
||
|
100 |
145 |
162 |
130 |
143 |
102 |
||
|
105 |
150 |
170 |
135 |
148 |
107 |
||
|
110 |
155 |
175 |
140 |
153 |
112 |
||
|
115 |
170 |
192 |
145 |
168 |
117 |
||
|
120 |
175 |
- 1,90 |
195 |
150 |
173 |
122 |
|
|
125 |
180 |
202 |
155 |
178 |
127 |
||
|
130 |
185 |
210 |
160 |
183 |
132 |
||
|
140 |
200 |
225 |
180 |
198 |
142 |
||
|
150 |
210 |
236 |
190 |
208 |
152 |
||
|
160 |
225 |
255 |
200 |
223 |
162 |
||
|
170 |
240 |
270 |
210 |
238 |
172 |
||
|
180 |
255 |
290 |
220 |
253 |
182 |
||
|
190 |
270 |
305 |
230 |
268 |
192 |
||
|
200 |
290 |
330 |
240 |
288 |
202 |
||
Продолжение
мм
|
Номинальный диаметр резьбы D |
Радиус сферы R |
Диаметр отверстия d3 для типа Б |
Ширина проточки b |
Ширина проточки b1 для типа Б |
Расстояние до оси отверстия b2 для типа Б |
Глубина сверления b3 для типа Б |
|
56 |
150 |
12 |
10 |
20 |
12 |
10 |
|
60 |
||||||
|
64 |
190 |
15 |
||||
|
68 |
||||||
|
72 |
25 |
15 |
12 |
|||
|
76 |
||||||
|
80 |
240 |
|||||
|
85 |
15 |
15 |
||||
|
90 |
||||||
|
95 |
||||||
|
100 |
300 |
|||||
|
105 |
20 |
|||||
|
110 |
||||||
|
115 |
30 |
20 |
20 |
|||
|
120 |
||||||
|
125 |
380 |
|||||
|
130 |
||||||
|
140 |
22 |
|||||
|
150 |
||||||
|
160 |
480 |
20 |
25 |
|||
|
170 |
||||||
|
180 |
30 |
|||||
|
190 |
||||||
|
200 |
Примечания:
1. Неуказанные предельные отклонения размеров
отверстий Н14, валов h14, остальных
.
2. Допускается поверхности граней гаек механически не обрабатывать при условии их изготовления из шестигранного проката или точных штамповок шестигранного сечения.
Примеры условных обозначений
Гайка типа А, с диаметром резьбы 64 мм, с крупным шагом резьбы 6 мм из стали марки 30ХМА:
Гайка АМ64 - 30ХМА ОСТ 26-01-140-81
Гайка типа Б, с диаметром резьбы 100 мм, с мелким шагом резьбы 6 мм из стали марки 40Х:
Гайка БМ100×6 - 40Х ОСТ 26-01-140-81
2.2. Резьба метрическая - по ГОСТ 24705-81 (СТ СЭВ 182-75), ГОСТ 8724-81 (СТ СЭВ 181-75).
Профиль резьбы - по ГОСТ 9150-81 (СТ СЭВ 180-75).
Предельные отклонения размера отверстия под резьбу - по ГОСТ 19257-73.
Предельные отклонения резьб и длины свинчивания - по ГОСТ 16093-81 (СТ СЭВ 640-77). Поля допусков - 6Н.
(Измененная редакция, Изм. № 1).
2.3. Остальные технические требования - по ОСТ 26-01-144-81
2.4. Теоретическая масса гаек приведена в справочном приложении.
Справочное
|
Номинальный диаметр резьбы, мм |
Теоретическая масса гаек, кг, типов |
|
|
А |
Б |
|
|
56 |
2,44 |
2,24 |
|
60 |
2,84 |
2,65 |
|
64 |
3,30 |
3,09 |
|
68 |
3,88 |
3,66 |
|
72 |
4,42 |
4,10 |
|
76 |
5,04 |
4,69 |
|
80 |
5,72 |
5,35 |
|
85 |
7,20 |
6,71 |
|
90 |
7,91 |
7,40 |
|
95 |
9,78 |
9,22 |
|
100 |
10,71 |
10,12 |
|
105 |
11,65 |
11,03 |
|
110 |
12,61 |
11,97 |
|
115 |
16,74 |
15,67 |
|
120 |
17,92 |
16,82 |
|
125 |
19,38 |
18,24 |
|
130 |
20,75 |
19,57 |
|
140 |
28,58 |
26,94 |
|
150 |
30,91 |
29,49 |
|
160 |
37,41 |
35,79 |
|
170 |
44,91 |
43,15 |
|
180 |
53,30 |
51,29 |
|
190 |
62,66 |
60,48 |
|
200 |
77,41 |
75,01 |
Примечание.
Масса подсчитана из условия плотности материала - 7,85 г/см3.
ОТРАСЛЕВОЙ СТАНДАРТ
«Гайки для резьбовых соединений сосудов и аппаратов на давление свыше 9,81 до 98,1 МПа (свыше 100 до 1000 кгс/см2). Типы. Конструкция и размеры».
ИркутскНИИхиммаш
И. О. директора Е. Р. Хисматулин
Заведующий отделом стандартизации В. И. Королев
Заведующий отделом 5 В. И. Лившиц
Заведующий отделом 10 Л. В. Перегудов
Руководитель темы,
старший научный сотрудник В. П. Вирюкин
Заведующий лабораторией отдела 5 В. К. Погодин
Главный конструктор отдела 10 В. М. Черемных
Ведущий конструктор Г. Г. Ожегов
Младший научный сотрудник А. В. Тасевич
МИХМ
Доцент В. Д. Продан
ГОСТ 16093-81 (СТ СЭВ 640-77) Резьба метрическая для диаметров от 1 до 600 мм. Допуски.
ГОСТ 19257-73 Отверстия под нарезание метрической резьбы. Диаметры.
ГОСТ 9150-81 (СТ СЭВ 180-75) Основные нормы взаимозаменяемости. Резьба метрическая. Профиль.
ГОСТ 8724-81 (СТ СЭВ 181-75) Основные нормы взаимозаменяемости. Резьба метрическая. Диаметры и шаги.
ГОСТ 24705-81 (СТ СЭВ 182-75) Основные нормы взаимозаменяемости. Резьба метрическая. Основные размеры.
(Измененная редакция, Изм. № 1).
1. УТВЕРЖДЕН Министерством химического и нефтяного машиностроения СССР И ВВЕДЕН В ДЕЙСТВИЕ ПРИКАЗОМ Всесоюзного производственного объединения «Союзхиммаш» № 173 от 30 октября 1981 г.
2. ИСПОЛНИТЕЛИ
В. И. Лившиц, канд. техн. наук; В. П. Вирюкин (руководитель темы); В. К. Погодин, канд. техн. наук; Г. Г. Золотенин.
3. Срок первой проверки - 1985 год, периодичность проверки - 5 лет
4. ССЫЛОЧНЫЕ НОРМАТИВНО-ТЕХНИЧЕСКИЕ ДОКУМЕНТЫ
|
Обозначение НТД, на который дана ссылка |
Номер пункта, подпункта, перечисления, приложения |
|
ГОСТ 9150-81 |
|
|
ГОСТ 16093-81 |
|
|
ГОСТ 19257-73 |
|
|
ОСТ 26-01-144-81 |
|
|
ОСТ 26-2041-77 |
(Введен дополнительно, Изм. № 2).
|
Обозначение. Наименование документа |
Наименование организации-разработчика |
Наименование организации, за которой закрепляется документ в России (до его пересмотра) |
Примечания (срок действия) |
|
ОСТ 26-01-139-81. Шпильки для резьбовых соединений сосудов и аппаратов на давление свыше 9,81 до 98,1 МПа (свыше 100 до 1000 кгс/см2). Типы. Конструкция и размеры |
АО «ИркутскНИИхиммаш» |
- |
до 01.01.97 |
|
ОСТ 26-01-140-81. Гайки для резьбовых соединений сосудов и аппаратов на давление свыше 9,81 до 98,1 МПа (свыше 100 до 1000 кгс/см2). Типы. Конструкция и размеры |
АО «ИркутскНИИхиммаш» |
- |
до 01.01.97 |
|
ОСТ 26-01-141-81. Шайбы для резьбовых соединений сосудов и аппаратов на давление свыше 9,81 до 98,1 МПа (свыше 100 до 1000 кгс/см2). Конструкция и размеры |
АО «ИркутскНИИхиммаш» |
- |
до 01.01.97 |
|
ОСТ 26-01-142-81. Гнезда для резьбовых соединений сосудов и аппаратов на давление свыше 9,81 до 98,1 МПа (свыше 100 до 1000 кгс/см2). Конструкция и размеры |
АО «ИркутскНИИхиммаш» |
- |
до 01.01.97 |
|
ОСТ 26-01-143-81. Колпачки защитные для резьбовых соединений сосудов и аппаратов на давление свыше 9,81 до 98,1 МПа (свыше 100 до 1000 кгс/см2). Конструкция и размеры |
АО «ИркутскНИИхиммаш» |
- |
до 01.01.97 |
|
ОСТ 26-01-144-81. Шпильки, гайки, шайбы, резьбовые гнезда, колпачки защитные для сосудов и аппаратов на давление свыше 9,81 до 98,1 МПа (свыше 100 до 1000 кгс/см2). Общие технические требования. Правила приемки. Методы испытаний. Маркировка |
АО «ИркутскНИИхиммаш» |
- |
до 01.01.97 |
Директор по научно-техническому
направлению АО «НИИхиммаш» В. А. Заваров
Начальник отдела стандартизации И. И. Орехова
СОДЕРЖАНИЕ