ОТРАСЛЕВОЙ СТАНДАРТ
ШТУЦЕРА
ИЗ ДВУХСЛОЙНЫХ СТАЛЕЙ
С ПРИВАРНЫМИ ВСТЫК ФЛАНЦАМИ И
НАПЛАВЛЕННОЙ УПЛОТНИТЕЛЬНОЙ ПОВЕРХНОСТЬЮ С ПАЗОМ
НА Ру 4,0 МПа.
Конструкция и размеры.
ОСТ 26-02-2045-79
ОТРАСЛЕВОЙ СТАНДАРТ
|
ШТУЦЕРА ИЗ
ДВУХСЛОЙНЫХ СТАЛЕЙ Конструкция и размеры. |
ОСТ 26-02-2045-79 Впервые |
Приказом МИНХИММАШа
от_________________197 г. №___________ срок действия
с 01.01. 1981 г.
до 01.01. 1993 г.
(Измененная редакция, Изм. № 1, 2).
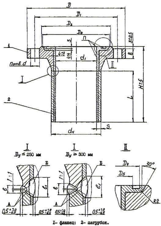
1. Настоящий стандарт распространяется на штуцера из двухслойных сталей с приварными встык фланцами и наплавленной уплотнительной поверхностью с пазом на условный проход Ду от 150 до 500 мм, условное давление Ру 4 МПа (40 кгс/см2) и температуру от минус 60 до 560 °С.
(Измененная редакция, Изм. № 1).
2. Конструкция и размеры штуцеров должны соответствовать указанным на чертеже и в таблице.
3. Материал и технические требования и маркировка штуцеров ПО ОСТ 26-02-2053.
(Измененная редакция, Изм. № 2).
(Измененная редакция, Изм. № 1).

А - присадочный материал перлитного класса;
Б - присадочный материал аустенитного класса;
- по ГОСТ
12821.
(Измененная редакция, Изм. № 1, 2).
|
Dу |
D |
D1 |
D2 |
D3 |
D4 |
D5 |
d1 |
dн |
S |
d |
n |
b |
L |
H |
l, |
l1, |
Масса, кг |
||
|
не более |
не менее |
наплавленного металла |
общая |
||||||||||||||||
|
углеродистого |
аустенитного |
||||||||||||||||||
|
150 |
300 |
250 |
212 |
212 |
204 |
182 |
145 |
169 |
12 |
26 |
8 |
27 |
120 |
190 |
22 |
26 |
0,2 |
2,5 |
19,8 |
|
180 |
250 |
22,5 |
|||||||||||||||||
|
200 |
375 |
320 |
285 |
270 |
260 |
238 |
200 |
224 |
30 |
12 |
35 |
120 |
210 |
0,3 |
3,5 |
32,7 |
|||
|
180 |
270 |
36,7 |
|||||||||||||||||
|
250 |
445 |
385 |
345 |
323 |
313 |
291 |
252 |
276 |
33 |
39 |
120 |
220 |
4,5 |
48,0 |
|||||
|
180 |
280 |
52,6 |
|||||||||||||||||
|
300 |
510 |
450 |
410 |
376 |
364 |
342 |
301 |
333 |
16 |
16 |
42 |
150 |
270 |
20 |
28 |
0,6 |
6,5 |
72,2 |
|
|
210 |
330 |
79,7 |
|||||||||||||||||
|
350 |
570 |
510 |
465 |
434 |
422 |
394 |
351 |
383 |
48 |
150 |
270 |
0,8 |
7,5 |
91,8 |
|||||
|
210 |
330 |
100,5 |
|||||||||||||||||
|
400 |
655 |
585 |
535 |
486 |
474 |
446 |
398 |
430 |
39 |
54 |
180 |
320 |
0,9 |
9,0 |
137,0 |
||||
|
240 |
380 |
147,0 |
|||||||||||||||||
|
450 |
680 |
610 |
560 |
536 |
524 |
496 |
448 |
484 |
18 |
40 |
20 |
56 |
180 |
320 |
20 |
28 |
1,4 |
9,5 |
145,0 |
|
270 |
410 |
164,0 |
|||||||||||||||||
|
500 |
755 |
670 |
615 |
588 |
576 |
548 |
495 |
535 |
20 |
45 |
58 |
180 |
320 |
22 |
30 |
1,8 |
15,0 |
178,5 |
|
|
270 |
410 |
202,0 |
|||||||||||||||||
(Измененная редакция, Изм. № 1).
Примечание. Ду 450 мм применять только для люка.
Пример условного обозначения штуцера Ду 200 мм на Ру 4,0 МПа, Н = 210 мм, патрубок из стали 09Г2С + 08Х13, фланец из стали 09Г2С:
Штуцер 200-4,0-210-4а-4 ОСТ 26-02-2045
(Измененная редакция, Изм. № 1, 2).
ИНФОРМАЦИОННЫЕ ДАННЫЕ
1. УТВЕРЖДЕН И ВВЕДЕН В ДЕЙСТВИЕ Министерством химического и нефтяного машиностроения СССР от 16.07.1979
2. РАЗРАБОТЧИКИ: А.Ю. Пролесковский, М.И. Байбакова
3. ЗАРЕГИСТРИРОВАН ВНИИКИ ГР № 8138505 от 11.09.1979
4.ССЫЛОЧНЫЕ НОРМАТИВНО-ТЕХНИЧЕСКИЕ ДОКУМЕНТЫ
|
Обозначение НТД, на которые дана ссылка |
Номер пункта, подпункта, перечисления, приложения |
|
ОСТ 26-02-2053-79 |
(Введены дополнительно, Изм. № 2).