ОТРАСЛЕВОЙ СТАНДАРТ
ШТУЦЕРА
ИЗ ДВУХСЛОЙНЫХ СТАЛЕЙ С ПЛОСКИМИ ФЛАНЦАМИ С ВПАДИНОЙ.
НА Ру 1,6 и 2,5 МПа
Конструкция и размеры.
ОСТ 26-02-2042
ОТРАСЛЕВОЙ СТАНДАРТ
|
ШТУЦЕРА ИЗ ДВУХСЛОЙНЫХ СТАЛЕЙ С
ПЛОСКИМИ ФЛАНЦАМИ С ВПАДИНОЙ Конструкция и размеры. |
ОСТ 26-02-2042 |
Приказом МИНХИММАШ,а
от 197 г. № срок действия
с 01.01 1981 г.
до 01.01.1993г.
(Измененная редакция, Изм. № 2).
Несоблюдение стандарта преследуется по закону
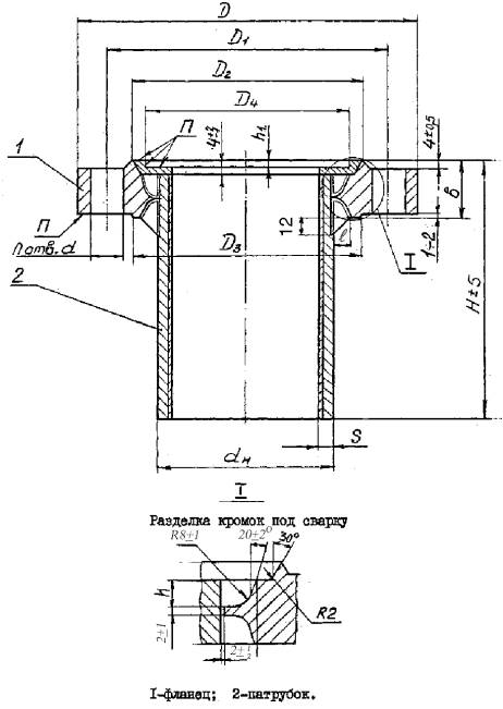
1. Настоящий стандарт распространяется на штуцера из двухслойных сталей с плоскими приварными фланцами с наплавленной уплотнительной поверхностью с впадиной на условный проход Ду от 150 до 600 мм, условное давление Ру 16 и 2,5 МПа (16 и 25 кгс/см2) и температуру от минус 60 до 475°С.
(Измененная редакция, Изм. № 1).
2. Конструкция и размеры штуцеров должны соответствовать указанным на чертеже и в табл. 1-2.
3. Материал, технические требования и маркировка штуцеров по ОСТ 26-02-2053.
(Измененная редакция, Изм. № 1).
Ру 1,6 МПа (16 кгс/см2)
Размеры в мм
|
Dу |
D |
D1 |
D2 |
D3 |
D4 |
DH |
S |
d |
n |
b |
l, не более |
H |
h |
h1 |
Масса, кг |
||
|
наплавленного металла |
общая |
||||||||||||||||
|
углеродистого |
аустенитного |
||||||||||||||||
|
150 |
280 |
240 |
212 |
200 |
204 |
159 |
12 |
22 |
8 |
36 |
18+4 |
187 |
13 |
3 |
1,2 |
0,8 |
18,5 |
|
247 |
21,0 |
||||||||||||||||
|
200 |
335 |
295 |
268 |
255 |
260 |
219 |
12 |
38 |
187 |
14 |
1,9 |
1,1 |
25,0 |
||||
|
247 |
28,6 |
||||||||||||||||
|
250 |
405 |
355 |
320 |
305 |
313 |
273 |
26 |
40 |
187 |
15 |
2,3 |
1,3 |
35,3 |
||||
|
247 |
40,0 |
||||||||||||||||
|
300 |
460 |
410 |
370 |
360 |
364 |
325 |
208 |
4 |
2,7 |
1,7 |
44,0 |
||||||
|
268 |
49,6 |
||||||||||||||||
|
350 |
520 |
470 |
430 |
420 |
422 |
377 |
16 |
42 |
208 |
16 |
3,2 |
2,3 |
54,0 |
||||
|
268 |
60,4 |
||||||||||||||||
|
400 |
580 |
525 |
482 |
470 |
474 |
426 |
30 |
48 |
238 |
19 |
4 |
4,0 |
2,6 |
72,2 |
|||
|
298 |
|
79,6 |
|||||||||||||||
|
450 |
640 |
585 |
532 |
530 |
524 |
480 |
16 |
20 |
50 |
258 |
20 |
5,2 |
3,4 |
98,5 |
|||
|
318 |
109,7 |
||||||||||||||||
|
500 |
710 |
650 |
585 |
590 |
576 |
530 |
33 |
56 |
22+4 |
258 |
23 |
6,6 |
4,4 |
124,0 |
|||
|
318 |
136,0 |
||||||||||||||||
|
600 |
840 |
770 |
685 |
700 |
678 |
630 |
39 |
58 |
260 |
5 |
8,5 |
6,2 |
156,0 |
||||
|
330 |
173,0 |
||||||||||||||||
Примечание. К табл. 1-2. Ду 450 мм применять только для люка.
(Измененная редакция, Изм. № 1).
Ру 2,5 МПа (25 кгс/см2)
Размеры в мм
|
Dу |
D |
D1 |
D2 |
D3 |
D4 |
DH |
S |
d |
n |
b |
l, не более |
H |
h |
h1 |
Масса, кг |
||
|
наплавленного металла |
общая |
||||||||||||||||
|
углеродистого |
аустенитного |
||||||||||||||||
|
150 |
300 |
250 |
212 |
200 |
204 |
159 |
12 |
26 |
8 |
38 |
18+4 |
187 |
14 |
3 |
1,5 |
1,0 |
21,4 |
|
247 |
24,0 |
||||||||||||||||
|
200 |
360 |
310 |
278 |
260 |
260 |
219 |
12 |
40 |
187 |
15 |
2,0 |
3,0 |
29,2 |
||||
|
247 |
32,8 |
||||||||||||||||
|
250 |
425 |
370 |
335 |
315 |
313 |
273 |
30 |
42 |
187 |
16 |
2,5 |
1,7 |
38,6 |
||||
|
247 |
43,3 |
||||||||||||||||
|
300 |
485 |
430 |
390 |
375 |
364 |
325 |
16 |
45 |
208 |
17 |
4 |
2,8 |
2,2 |
50,4 |
|||
|
268 |
56,0 |
||||||||||||||||
|
350 |
550 |
490 |
450 |
430 |
422 |
377 |
33 |
50 |
238 |
20 |
3,8 |
2,7 |
70,0 |
||||
|
298 |
76,3 |
||||||||||||||||
|
400 |
610 |
550 |
505 |
490 |
474 |
426 |
53 |
22+4 |
258 |
21 |
4,5 |
3,2 |
88,3 |
||||
|
318 |
95,6 |
||||||||||||||||
|
450 |
660 |
600 |
555 |
540 |
524 |
480 |
16 |
20 |
60 |
278 |
25 |
6,0 |
3,7 |
118,6 |
|||
|
338 |
129,5 |
||||||||||||||||
|
500 |
730 |
660 |
615 |
590 |
576 |
530 |
39 |
|
63 |
278 |
26 |
6,8 |
4,6 |
146,0 |
|||
|
338 |
158,3 |
||||||||||||||||
(Измененная редакция, Изм. № 1).
Пример условного обозначения штуцера Ду 150 мм на Ру 2,5 МПа, Н=187 мм, патрубок из стали ВСтЗсп + 12Х18Н10Т, фланец из стали 20К:
Штуцер 150-2,5-187-1б-2 ОСТ 26-02-2042
ИНФОРМАЦИОННЫЕ ДАННЫЕ
1. УТВЕРЖДЕН И ВВЕДЕН В ДЕЙСТВИЕ Министерством химического и нефтяного машиностроения СССР от 16.07.1979 г.
2. РАЗРАБОТЧИКИ: А.Ю. Пролесковский, М.И. Байбакова
3. ЗАРЕГИСТРИРОВАН ВНИИКИ ГР № 8138505 от 11.09.1979
4. ССЫЛОЧНЫЕ НОРМАТИВНО-ТЕХНИЧЕСКИЕ ДОКУМЕНТЫ
|
Обозначение НТД, на которые дана ссылка |
Номер пункта, подпункта, перечисления, приложения |
|
ОСТ 26-02-2053-79 |
(Измененная редакция, Изм. № 2).