Система нормативных документов в строительстве
СВОД ПРАВИЛ ПО ПРОЕКТИРОВАНИЮ И СТРОИТЕЛЬСТВУ
ПРОЕКТИРОВАНИЕ И МОНТАЖ ПОДЗЕМНЫХ ТРУБОПРОВОДОВ ВОДОСНАБЖЕНИЯ ИЗ СТЕКЛОПЛАСТИКОВЫХ ТРУБ
СП 40-104-2001
ГОСУДАРСТВЕННЫЙ КОМИТЕТ РОССИЙСКОЙ ФЕДЕРАЦИИ
ПО СТРОИТЕЛЬСТВУ И ЖИЛИЩНО-КОММУНАЛЬНОМУ КОМПЛЕКСУ
(ГОССТРОЙ РОССИИ)
Москва
2001
ПРЕДИСЛОВИЕ
1 РАЗРАБОТАН ГУП «НИИМосстрой», ФГУП ЦНС, ООО «Пласт» и при участии группы специалистов
ВНЕСЕН Управлением стандартизации, технического нормирования и сертификации Госстроя России
2 ОДОБРЕН для применения постановлением Госстроя России № 18 от 12 марта 2001 г.
3 ВВЕДЕН ВПЕРВЫЕ
СОДЕРЖАНИЕ
|
|
|||
|
|
|||
|
|
|||
|
|
|||
|
|
|||
|
|
|||
|
|
|||
|
|
|||
|
|
|||
|
|
|||
|
|
|||
|
|
|||
|
Номограмма для приближенного гидравлического расчета трубопроводов |
|||
|
Номограмма для выбора опорной площади упоров на трубопроводе |
|||
Настоящий Свод правил содержит указания по проектированию и монтажу подземных трубопроводов водоснабжения из стеклопластиковых труб. Выполнение этих указаний обеспечит соблюдение обязательных требований к наружным системам водоснабжения, установленных действующими СНиП 2.04.02-84* «Водоснабжение. Наружные сети и сооружения», СНиП 3.05.04-85* «Наружные сети и сооружения водоснабжения и канализации» и СП 40-102-2000 «Проектирование и монтаж трубопроводов систем водоснабжения и канализации из полимерных материалов. Общие требования».
Решение вопроса о применении данного документа при проектировании и строительстве конкретных зданий и сооружений относится к компетенции заказчика, проектной или строительной организации. В случае если принято решение о применении настоящего документа, должны быть использованы все установленные в нем правила.
В данном Своде правил рассмотрены вопросы, касающиеся стеклопластиковых труб. Установлены требования к сортаменту труб и способам их соединения, рассмотрены правила хранения труб и вопросы монтажа и испытания трубопроводов, а также техники безопасности при их выполнении. Приведены методики гидравлического расчета трубопроводов водоснабжения, а также выбора типоразмеров труб для напорных трубопроводов при подземной прокладке в грунте с учетом требований прочности, предъявляемых к водопроводным сетям.
В разработке Свода правил принимали участие: А.В. Сладков, А.А. Отставнов (ГУП «НИИМосстрой»), Б.П. Муленков, Г.Н. Суровцев, С.А. Котлов, С.П. Дьяков (000 «Пласт»), В.А. Глухарев, В.П. Бовбель (Госстрой России), Л.С. Васильева (ФГУП ЦНС).
СВОД ПРАВИЛ ПО ПРОЕКТИРОВАНИЮ И СТРОИТЕЛЬСТВУ
ПРОЕКТИРОВАНИЕ И МОНТАЖ ПОДЗЕМНЫХ ТРУБОПРОВОДОВ ВОДОСНАБЖЕНИЯ ИЗ СТЕКЛОПЛАСТИКОВЫХ ТРУБ
DESIGN AND
ASSEMBLY OF UNDERGROUND WATER PIPELINES
MADE OF GLASS-REINFORCED PLASTIC PIPES
Дата введения 2001-07-01
Настоящий Свод правил распространяется на проектирование и монтаж подземных трубопроводов холодного водоснабжения из стеклопластиковых и базальтопластиковых труб (далее - трубопроводов) с максимальным давлением воды до 1,6 МПа включительно при траншейной прокладке.
(Поправка от 26.05.2004 г.).
В настоящем Своде правил приведены ссылки на следующие нормативные документы:
СНиП 2.04.02-84* Водоснабжение. Наружные сети и сооружения
СНиП 3.01.04-87 Приемка в эксплуатацию законченных строительством объектов. Основные положения
СНиП 3.02.01-87 Земляные сооружения, основания и фундаменты
СНиП 3.05.04-85* Наружные сети и сооружения водоснабжения и канализации
СНиП III-4-80* Техника безопасности в строительстве
СП 40-102-2000 Проектирование и монтаж трубопроводов систем водоснабжения и канализации из полимерных материалов. Общие требования
ТУ 2296-002-26612968-2000 Трубы стеклопластиковые и соединительные детали.
ТУ 2296-001-70023273-04 «Трубы из полимерных композиционных материалов, соединительные и фасонные части».
(Поправка от 26.05.2004 г.).
При проектировании трубопроводов следует руководствоваться требованиями СНиП 2.04.02, СНиП 3.05.04 и СП 40-102.
Выбор стеклопластиковых труб по диаметру должен осуществляться на основании гидравлического расчета, и по толщине стенки - на основании прочностного расчета с учетом конкретных условий для проектируемого трубопровода.
3.1.1 Свод правил предполагает использование стеклопластиковых труб, изготовляемых методом радиально-перекрестной (РПН), косослойной продольно-поперечной (КППН) и непрерывной продольно-поперечной намотки (НППН), армирующего наполнителя из ровинга или стеклянных комплексных нитей, базальтовых нитей и комбинированного армирующего материала, содержащего в себе сочетание стеклянных и базальтовых волокон, пропитанных связующим составом, на металлическую оправку с последующей полимеризацией. Трубы изготавливают методом РПН и КППН длиной до 8 ми методом НППН до 10м.
(Поправка от 26.05.2004 г.).
3.1.2 Основные физико-механические показатели материала труб, изготовленных в соответствии с ТУ 2296-002-26612968, ТУ 2296-001-70023273-04, приведены в таблице 1.
(Поправка от 26.05.2004 г.).
|
Показатель |
Трубы РПН с углом намотки 52-57 ° |
Трубы КППН и НППН |
|
Предел прочности при растяжении в окружном направлении, МПа, не менее |
250 |
300*/430 |
|
Предел прочности при растяжении в осевом направлении, МПа, не менее |
100 |
120/210 |
|
Модуль упругости в окружном направлении, МПа, не менее |
17000 |
24000/38000 |
|
Модуль упругости в осевом направлении, МПа, не менее |
10000 |
9000/16000 |
|
Коэффициент линейного расширения (осевой) 10-4 °С-1 |
0,24 |
0,2 |
|
Плотность, г/см3 |
1,75-2,0 |
1,6-1,8 |
|
Коэффициент теплопроводности, Вт/м×°С |
0,3-0,4 |
0,3-0,4 |
|
Удельная теплоемкость, кДж/кг×°С |
1,0-1,25 |
0,9-1,3 |
|
Коэффициент Пуассона |
0,3-0,4 |
0,2-0,3 |
|
* Перед чертой – показатели для стеклопластиковых труб, за чертой – для базальтопластиковых труб. |
||
(Поправка от 26.05.2004 г.).
Методы испытаний приведены в технических условиях на трубы.
3.1.3. Внутренние диаметры и толщина стенок труб, изготавливаемых методом РПН и КППН, приведены в таблице 2.
|
Внутренний диаметр, мм |
Конструкционная толщина стенки, мм, для давлений, МПа |
|
|
1,0 |
1,6 |
|
|
50,80 |
3,0 |
3,0 |
|
110 |
||
|
150 |
3,3 |
3,3 |
|
215 |
3,6 |
3,6 |
|
265 |
4,2 |
4,8 |
|
315 |
4,6 |
5,4 |
3.1.4 Внутренние диаметры и толщина стенок труб стеклопластиковых, изготовляемых методом НППН, приведены в таблице 3.
(Поправка от 26.05.2004 г.).
|
Внутренний диаметр |
Толщина стенки трубы |
Рабочее давление, МПа |
|
60,90 |
От 3,0 до 5,0 |
|
|
175 |
» 4,0 » 8,0 |
|
|
200 |
» 4,0 » 8,0 |
От 0,6 до 1,6 |
|
300 |
» 5,0 » 10,0 |
|
|
400 |
» 6,0 »12,0 |
|
3.1.5 Внутренние диаметры и толщина стенок базальтопластиковых труб, изготовляемых методом НППН, приведены в таблице 3а.
|
Внутренний диаметр |
Толщина стенки трубы |
Рабочее давление, МПа |
|
50 |
От 2,5 до 3,2 |
|
|
65 |
» 3,0 » 3,5 |
|
|
80 |
» 3,0 » 3,7 |
|
|
100 |
» 3,2 » 4,0 |
|
|
122 |
» 3,2 » 4,0 |
|
|
150 |
» 3,4 » 4,2 |
От 0,6 до 1,6 |
|
175 |
» 3,5 » 4,4 |
|
|
200 |
» 4,0 » 4,4 |
|
|
300 |
» 4,5 » 5,2 |
|
|
400 |
» 5,5 » 6,2 |
|
|
500 |
» 6,5 » 7,0 |
|
(Включен дополнительно. Поправка от 26.05.2004 г.).
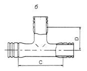
3.2.1 Для соединения труб, устройства поворотов и ответвлений на трубопроводе следует использовать соединительные части: отводы (рисунок 1), тройники (рисунок 2), муфты, крестовины и др.
(Поправка от 26.05.2004 г.).
а - фланцевый; б - ниппельный; в – раструбный
(Поправка. 4/2002).
Рисунок 1 - Схемы стеклопластиковых отводов
а - фланцевый; б - ниппельный; в - раструбный
Рисунок 2 - Схемы стеклопластиковых тройников
3.2.2 Сортамент стеклопластиковых и базальтопластиковых отводов и тройников, размеры А, С, D, обозначенные на рисунках 1 и 2 должны отвечать технической документации заводов-изготовителей.
(Поправка от 26.05.2004 г.).
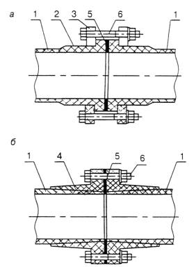
3.3.1 Соединения труб и частей могут быть раструбными, муфтовыми, фланцевыми, бандажными.
Раструбы и муфты (рисунок 3) соединяются резиновыми уплотнительными кольцами и фиксируются стопорными элементами, изготовленными из оцинкованной проволоки, полиамидного или поливинилхлоридного прутка. Кроме того, муфтовое соединение может быть клеевым (рисунок 4).
Фланцы (рисунок 5), надетые на бурты, изготовленные одновременно с изделием, или фланцы, наклеенные на изделия, уплотняются плоской резиновой прокладкой.
а - раструбное; б - муфтовое;
1 - труба; 2 -
резиновый уплотнитель; 3 - стопорный элемент;
4 - раструб; 5 - ниппель; 6 - муфта
Рисунок 3 - Схемы соединений стеклопластиковых труб на резиновых уплотнителях

а - муфтовое; б - раструбное; в - бандажное;
1 - труба; 2 - клеевой шов; 3 - раструб; 4 - муфта; 5 - бандаж; 6 - резьба
Рисунок 4 - Схемы соединения труб на клею (с резьбой и без резьбы)
(Поправка от 26.05.2004 г.).
а - с буртом и свободным фланцем; б - с наклеенным фланцем;
1 - труба; 2 - бурт; 3
- свободный фланец; 4 - наклеенный фланец;
5 - уплотнитель; 6 - болт
Рисунок 5 - Соединение стеклопластиковых труб с помощью фланцев
3.4.1 Гидравлический расчет сетей водоснабжения из стеклопластиковых труб следует выполнять в соответствии с требованиями настоящего Свода правил, СНиП 2.04.02, а также СП 40-102.
3.4.2 Потери напора Н, м, на участке трубопроводной сети определяются по формуле
(1)
где L - расчетная длина участка трубопровода, м;
iт - потери напора, вызванные гидравлическим сопротивлением единицы длины труб;
V - средняя по сечению скорость движения воды, м/с;
g - ускорение свободного падения, м/с2;
- сумма
коэффициентов гидравлических сопротивлений стыковых соединений, соединительных
частей, арматуры, принимаемых по паспорту завода-изготовителя либо по данным аналогичных
проектируемых систем водоснабжения.
3.4.3 Потери напора на единицу длины трубопровода iт следует определять по формуле
(2)
где l - коэффициент гидравлического сопротивления;
d - расчетный (внутренний) диаметр трубы, м.
3.4.4 Коэффициент гидравлического сопротивления l с учетом гидравлического сопротивления стыковых соединений при транспортировании по трубопроводу воды с коэффициентом кинематической вязкости n = 1,3-10-6 м2/с определяется по формуле
(3)
где А1 и т - коэффициенты, принимаемые равными: А1 = 0,0146; т = 0,226.
3.4.5 Для трубопроводов, транспортирующих воду с другим показателем коэффициента кинематической вязкости n, м2/с, коэффициент гидравлического сопротивления l следует определять из выражения
(4)
где Rе =
- число Рейнольдса;
К - абсолютная шероховатость стенок труб, равная 0,0001 м.
3.4.6 При проведении приближенных гидравлических расчетов следует пользоваться номограммой (приложение А).
3.5.1 Выбор труб по прочности надлежит производить на основании статического расчета.
3.5.2 Для выбора стеклопластиковых труб по показателю прочности следует пользоваться методикой, изложенной в СП 40-102, и требованиями СНиП 2.04.02 с учетом конкретных условий.
3.5.3 Статический расчет трубопроводов надлежит производить на воздействие расчетного внутреннего давления, нагрузок от грунта, временных нагрузок, собственной массы труб и транспортируемой воды, атмосферного давления при образовании вакуума и внешнего гидростатического давления грунтовых вод в тех комбинациях, которые оказываются наиболее опасными для проектируемого участка водопровода.
В расчетах должны использоваться прочностные и деформационные показатели материала, установленные заводами-изготовителями труб.
3.5.4 Трубы, укладываемые в грунте, должны быть во всех случаях рассчитаны на восприятие одновременного воздействия расчетного внутреннего давления и приведенной внешней нагрузки с учетом глубины заложения трубопровода, вида основания, уплотнения грунта засыпки, временных нагрузок, возможности увеличения овальности поперечного сечения труб.
3.5.5 Допустимое укорочение вертикального диаметра стеклопластиковых труб при воздействии нагрузки должно приниматься по стандартам (техническим условиям) заводов-изготовителей. В предварительных расчетах может использоваться значение до 3 % включительно.
3.5.6 В качестве временных нагрузок для трубопроводов из стеклопластиковых труб с учетом мест прокладки надлежит принимать нагрузки в соответствии с требованиями СНиП 2.04.02.
3.5.7 Величину расчетного внутреннего давления надлежит принимать равной наибольшему возможному по условиям эксплуатации давлению в водопроводе на различных участках по длине (при наиболее невыгодном режиме работы) без учета повышения давления при гидравлическом ударе или с повышением давления при гидравлическом ударе с учетом действия противоударной арматуры, если это действие в сочетании с другими нагрузками окажет на трубопровод худшее воздействие.
3.5.8 При расчете водопроводов на повышение давления при гидравлическом ударе (определенное с учетом противоударной арматуры или образования вакуума) внешнюю нагрузку следует принимать в соответствии с требованиями СНиП 2.04.02.
3.5.9 При определении величины вакуума следует учитывать действие предусматриваемых на водопроводе противовакуумных устройств.
4.1 Стеклопластиковые трубы и соединительные части перевозят любым видом транспорта в закрепленном состоянии, препятствующем их перемещению.
Для перевозки труб одной длины, но разного диаметра их допускается помещать друг в друга с обязательной защитой внутренней поверхности от повреждений. В качестве защитных материалов используют различные мягкие материалы: резиновые жгуты и кольца; ткань, пленку из поливинилхлорида, полиэтилена или полипропилена и т.п.
4.2 Трубы можно перемещать вручную либо с помощью подъемно-транспортного оборудования, используя неметаллические стропы.
4.3 Запрещается перемещать трубы волоком, сбрасывать и спускать по наклонной плоскости. Не допускается ронять и ударять трубы друг в друга.
4.4 Для защиты раструбов и концов труб от загрязнения допускается обматывать их пластмассовой пленкой.
4.5 Длительное хранение труб осуществляется в закрытых помещениях или под навесом при температуре от минус 50 до 50 °С в условиях, исключающих прямое попадание солнечных лучей и не ближе 1 м от нагревательных приборов.
4.6 Трубы должны храниться на стеллажах или в штабелях высотой до 2 ми опираться на боковые опоры, исключающие их скатывание или сползание, на опорных или разделительных досках на ровной поверхности, свободной от твердых и острых предметов.
4.7 Соединительные части должны храниться отдельно по виду и диаметрам.
4.8 Трубы и соединительные части необходимо оберегать от ударов и механических нагрузок, а их поверхности - от царапин,
4.9 Резиновые уплотнители должны храниться в помещениях при температуре от 0 до 25 °С на расстоянии не менее 1 м от отопительных приборов и быть защищены от загрязнения химически нейтральными смазочными материалами.
5.1.1 Земляные работы при строительстве водопроводных сетей с применением стеклопластиковых труб, крепление стенок траншей, водоотлив и водопонижение следует производить в соответствии с требованиями СНиП 3.02.01.
5.1.2 Ширина траншеи по дну должна быть не менее величины наружного диаметра трубы плюс 50 см. Следует избегать превышения указанной величины.
5.1.3 При плотных и твердых грунтах на дне траншеи перед укладкой труб необходимо устраивать основание из насыпного грунта толщиной 100 - 120 мм, не содержащего твердых комков, кирпича, камня, щебня и других твердых включений крупностью более 20 мм.
5.1.4 После укладки трубы на основание насыпка песчаного слоя толщиной более 100 мм на ширине большей наружного диаметра на 100 - 120 мм должна производиться с каждой стороны трубы одновременно.
5.1.5 Под раструбы (муфты) стеклопластиковых труб по всей ширине дна траншеи устраивают приямки глубиной 50 мм - для раструбных соединений с резиновыми уплотнениями, 100 мм - для клеевых соединений, считая от низа раструба (муфты), длина приямков для тех же видов соединений принимается равной от 2 до 3 длин раструбов.
5.1.6 Засыпку траншеи грунтом следует вести в следующей технологической последовательности:
производят подбивку грунта под трубопровод вручную до высоты 0,1-0,2 от наружного диаметра трубы. Засыпку пазух (от трубы до стенки траншеи с обеих сторон) следует производить одновременно с уплотнением грунта слоями толщиной 5 см - глины и 10 см - песка до уровня горизонтального диаметра трубы и 15 см до верха трубопровода;
обязательно устройство над верхом трубопровода защитного слоя толщиной не менее 30 см из песка или мягкого, в том числе местного грунта крупностью не более 20 мм, и не содержащего твердых включений с острыми гранями;
при засыпке пазух траншеи и устройстве защитного грунтового слоя над трубопроводом соединения труб и деталей оставляют не засыпанными до проведения предварительных испытаний на герметичность (это не распространяется на трубопроводы, выполненные из трубных плетей и предварительно испытанные до укладки в траншею); по завершении предварительных испытаний выполняется засыпка приямков и соединений с уплотнением грунта до проектной степени;
засыпку траншей поверх защитного слоя над трубопроводом производят грунтом, не содержащим твердых включений обломков строительных деталей и т.п. размерами более 0,1 от наружного диаметра до высоты 700 мм над трубой;
степень уплотнения грунта в пазухах более 0,9 посредством трамбовок ИЭ-4505 или аналогичного типа достигается за несколько проходов поверх одного и того же слоя (для глинистого и песчаного грунтов для достижения степени уплотнения 0,93 требуется один проход; за два прохода грунт уплотняется до степени 0,95 и за три - до 0,96 и т.д.);
уплотняют вышележащие слои до проектной степени с использованием любых других механизмов,
5.2.1 Монтаж водопроводов из стеклопластика следует вести с максимальным использованием индустриальных методов.
5.2.2 Стеклопластиковые трубы, соединительные части и комплектующие изделия, поступающие на стройку, должны проходить входной контроль качества.
5.2.2.1 При приемке труб и соединительных частей от поставщика и при складировании на базе следует провести:
контроль наличия оформления поступающей трубной продукции и комплектующих изделий сопроводительной документацией, в том числе сертификатами качества и гигиенических;
100 %-й визуальный осмотр трубных изделий;
выборочный контроль размеров труб и соединительных частей;
периодический контроль качества складирования и хранения труб и соединительных частей.
5.2.2.2 На строительной площадке следует провести:
проверку наличия сертификатов или их копий;
контроль соответствия труб, соединительных частей и резиновых уплотнителей условному обозначению, указанному на ярлыке (копии ярлыка);
выборочный контроль размеров труб, соединительных частей и резиновых уплотнителей с использованием соответствующего мерительного инструмента согласно технической документации.
5.2.2.3. Непосредственно перед монтажом производят:
визуальный осмотр труб, соединительных частей и резиновых уплотнителей;
контроль по калибрам наружного диаметра гладких концов и внутренних диаметров раструбов труб и соединительных частей, сечения резиновых уплотнителей с использованием мерительного инструмента либо шаблонов.
5.2.2.4 При обнаружении трещин, вмятин и других дефектов изделия бракуются.
При визуальном обнаружении надрезов или других дефектов в резиновых уплотнениях при их растяжении вручную на 3 - 10 % они бракуются.
5.2.3 При монтаже трубы и соединительные части раскладывают по трассе (на бровке траншеи на расстоянии 1 - 1,5 м от края) в объеме, определяемом сменной выработкой.
5.2.4 При опускании в траншею стеклопластиковых труб или плетей допустимый изгиб по радиусу не менее 400 наружных диаметров.
5.2.5 Стеклопластиковые трубы (трубные плети), уложенные на дно траншеи, спланированное прямолинейно по расчетному уклону, стыкуются, выравниваются в одну линию и закрепляются грунтом. Отклонение трубопровода от проектного положения должно быть не более 0,005 от длины участка.
5.2.6 Соединения трубопровода с резиновыми уплотнителями выполняются непосредственно на дне траншеи.
5.2.7 Раструбное соединение на резиновых уплотнителях труб между собой либо с соединительными частями осуществляется вручную или с использованием натяжных приспособлений, исключающих повреждение труб.
Перед сборкой трубопровода необходимо очистить и удалить грязь и мусор с проточек ниппеля и раструба. Смазать канавку на ниппеле и шнуровое уплотнение сплошным ровным слоем смазки, установить уплотнение в канавку без его перекручивания, применяя жидкое мыло, мыльный раствор, глицерин или графито-глицериновую смазку. Запрещается применять смазку из солидола, тавота и других нефтепродуктов.
Смонтировать приспособление для стяжки и плавно надвинуть муфту или раструб на ниппель до совпадения отверстий на муфте (раструбе) с канавкой на ниппеле, при этом необходимо следить за тем, чтобы уплотнительное кольцо вошло в канавку без перекручивания. Стопорный элемент смазать сплошным слоем смазкой АМС-З или ЦИАТИМ, Ввести стопорный элемент в канавку на полную длину периметра канавки. Допускается забивание троса с помощью молотка и трубчатых насадок, при этом недовод троса до смыкания концов более 20 мм не допускается.
5.2.8 Сборку раструбных и муфтовых соединений с резиновыми уплотнителями рекомендуется проводить при температуре наружного воздуха до минус 10 °С. При температуре ниже 0 °С резиновые уплотнители должны храниться в теплом помещении (термосах) и устанавливаться неохлажденными.
5.2.9 Контроль качества соединения выполняют, определяя расположение резинового уплотнителя в раструбе (муфте) с помощью щупа.
5.2.10 При использовании клеевых и резьбоклеевых соединений с ускоренным отвердением клеевого шва возможна сборка на бровке траншеи. Затем трубную плеть опускают на дно в проектное положение.
Соединение стеклопластиковых труб на клею должно производиться по специальному технологическому регламенту, учитывающему:
форму склеиваемых поверхностей; качество подготовки поверхностей под склеивание;
вид клея (одно-, двухкомпонентный либо другого состава);
способ нанесения клеевого состава на поверхности;
время технологической паузы (разрыв между завершением нанесения клея и полным сопряжением склеиваемых поверхностей);
метод сопряжения (вручную, посредством приспособлений);
технологию отвердения (с обогревом или без обогрева);
время отвердения до набирания монтажной прочности клеевым швом, а также время отвердения до набирания прочности, при которой возможно проведение испытаний трубопровода.
В регламенте на склеивание стеклопластиковых труб должен предусматриваться контроль качества выполнения клеевого соединения на всех перечисленных выше технологических этапах.
(Поправка от 26.05.2004 г.).
5.2.11 Сборку фланцевых соединений выполняют аналогично сборке фланцевых соединений на трубопроводах из традиционных материалов.
5.2.12 Резку труб при необходимости выполняют алмазным диском либо ножовкой, а фаску на торце трубы снимают плоским тупоносым рашпилем либо с использованием специальных приспособлений.
Резка соединительных частей запрещается.
5.2.13 В местах поворотов и ответвлений трубопроводов, имеющих раструбные (муфтовые) стыки на резиновых уплотнителях без стопорных элементов, во избежание смещения и размыкания трубопровода следует устанавливать упоры.
(Поправка от 26.05.2004 г.).
5.3.1 Сопряжение двух соседних участков водопроводов из стеклопластиковых труб, устройство ответвлений, установку специальных устройств обычно осуществляют в колодцах из железобетона либо кирпича, располагая в них соединительные части и арматуру.
5.3.2 Проход водопровода из стеклопластиковых труб сквозь стенки колодцев из железобетонных колец и другие строительные конструкции следует осуществлять с помощью гильз из отрезков труб (стеклопластиковых, асбестоцементных, бетонных, железобетонных) либо муфт.
5.3.3 Гильзы рекомендуется устанавливать на концах труб, примыкающих к колодцам, перед засыпкой пазух траншеи с проложенным трубопроводом.
5.3.4 Уплотнение пространства между стеклопластиковой трубой и гильзой следует выполнять с использованием резиновых колец либо герметиков.
5.3.5 Гильза заделывается в стенке колодца бетонированием с устройством опалубки.
5.3.6 Монтаж фланцевых соединительных частей и арматуры выполняется в колодцах в соответствии со сложившейся практикой.
Испытания должны проводиться в соответствии с проектом и с учетом требований СП 40-102, СНиП 2.04.02 и СНиП 3.05.04.
5.5.1 Сдача в эксплуатацию сетей водоснабжения из стеклопластиковых труб и соединительных частей, законченных строительством, осуществляется в соответствии с требованиями проекта и СНиП 3.01.04.
5.5.2 Порядок проведения промывки и дезинфекции трубопроводов водоснабжения из стеклопластиков принимается в соответствии с требованиями СНиП 3.05.04.
5.6.1 При производстве работ на монтаже наружных систем водоснабжения из стеклопластиковых труб и соединительных частей необходимо соблюдать требования СНиП III-4.
5.6.2 Складирование труб, соединительных частей, железобетонных колец, строительных изделий и материалов для устройства колодцев и упоров должно осуществляться с учетом требований соответствующей нормативной документации.
5.6.3 Манипуляции при погрузке и разгрузке труб, соединительных частей, железобетонных колец и других строительных изделий должны производиться с использованием инвентарных грузозахватных приспособлений (стропов, мягких полотенец, траверс, захватов и т.п.) с учетом применяемых подъемно-транспортных механизмов.
5.6.4 При перемещении грунта, труб, железобетонных колец и т.п. работники должны находиться в безопасной зоне проведения работ.
5.6.5 Необходимо постоянно следить за состоянием откосов при работе людей в нераскрепленных траншеях и котлованах, а в раскрепленных - за элементами креплений.
5.6.6 При проведении гидравлического испытания водопровода давление следует поднимать постепенно. Запрещается находиться перед заглушками, в зоне временных и постоянных упоров.
5.6.7 При осмотре колодцев необходимо открыть все люки, проверить их газоанализатором на загазованность. Категорически запрещаются попытки проверки загазованности открытым пламенем. Испытания следует прервать во всех случаях, угрожающих безопасности работников.
5.6.8 При проведении испытаний трубопроводов работники, участвующие в монтаже, должны находиться на безопасном расстоянии от возможного места разрушения труб, раструбов и т.п. Обнаруженные дефекты можно устранять только после снятия давления методами, согласованными с проектировщиками.
5.6.9 Все отходы стеклопластика необходимо вывозить в специально отведенные для этого места.
НОМОГРАММА ДЛЯ ПРИБЛИЖЕННОГО ГИДРАВЛИЧЕСКОГО РАСЧЕТА ТРУБОПРОВОДОВ

d - расчетный диаметр, q - расчетный расход воды; V - средняя по сечению скорость движения воды; i - гидравлический уклон (потери напора на единицу длины трубопровода)
Рисунок А. 1
(Приложение Б исключено. Поправка от 26.05.2004 г.).
Ключевые слова: трубопровод, стеклопластиковая труба, подземная сеть водоснабжения