ФЕДЕРАЛЬНОЕ АГЕНТСТВО
ПО ТЕХНИЧЕСКОМУ РЕГУЛИРОВАНИЮ И МЕТРОЛОГИИ

НАЦИОНАЛЬНЫЙ
СТАНДАРТ
РОССИЙСКОЙ
ФЕДЕРАЦИИ

ГОСТ Р
53656.2-
2009
(ИСО 15105-2:
2003)

Пластмассы

ОПРЕДЕЛЕНИЕ СКОРОСТИ ПРОНИКНОВЕНИЯ ГАЗОВ

Часть 2

МЕТОД РАВНОГО ДАВЛЕНИЯ

ISO 15105-2: 2003
Plastics
- Film and sheeting - Determination of gas-transmission rate -
Part 2: Equal-pressure method
(MOD)

Москва

Стандартинформ

2010

Предисловие

Цели и принципы стандартизации в Российской Федерации установлены Федеральным законом от 27 декабря 2002 г. 184-ФЗ «О техническом регулировании», а правила применения национальных стандартов Российской Федерации - ГОСТ Р 1.0-2004 «Стандартизация в Российской Федерации. Основные положения»

Сведения о стандарте

1 РАЗРАБОТАН Открытым акционерным обществом «Институт пластических масс имени Г.С. Петрова» (ОАО «Институт пластмасс») на основе собственного аутентичного перевода на русский язык стандарта, указанного в пункте 4

2 ВНЕСЕН Техническим комитетом по стандартизации ТК 230 «Пластмассы, полимерные материалы, методы их испытаний»

3 УТВЕРЖДЕН И ВВЕДЕН В ДЕЙСТВИЕ Приказом Федерального агентства по техническому регулированию и метрологии от 15 декабря 2009 г. 1021-ст

4 Настоящий стандарт является модифицированным по отношению к международному стандарту ИСО 15105-2:2003 «Пластмассы. Пленки и листы. Определение скорости проникновения газов. Часть 2. Метод равного давления» (ISO 15105-2:2003 «Plastics - Film and sheeting - Determination of gas-transmission rate - Part 2: Equal-pressure method»). При этом дополнительные слова, фразы, показатели, их значения, ссылки, включенные в текст стандарта для учета потребностей национальной экономики Российской Федерации, выделены полужирным курсивом. Наименование настоящего стандарта изменено относительно наименования указанного международного стандарта для приведения в соответствие с ГОСТ Р 1.5-2004 (подраздел 3.5)

5 ВВЕДЕН ВПЕРВЫЕ

Информация об изменениях к настоящему стандарту публикуется в ежегодно издаваемом информационном указателе «Национальные стандарты», а текст изменений и поправок в ежемесячно издаваемых информационных указателях «Национальные стандарты». В случае пересмотра (замены) или отмены настоящего стандарта соответствующее уведомление будет опубликовано в ежемесячно издаваемом информационном указателе «Национальные стандарты». Соответствующая информация, уведомление и тексты размещаются также в информационной системе общего пользования - на официальном сайте Федерального агентства по техническому регулированию и метрологии в сети Интернет

Содержание

1 Область применения

2 Нормативные ссылки

3 Термины и определения

4 Сущность метода

5 Образцы для испытания

6 Кондиционирование и температура испытания

7 Аппаратура и материалы

8 Условия диффузии

9 Проведение испытания

10 Обработка результатов

11 Прецизионность

12 Протокол испытаний

Приложение А (обязательное) Метод определения скорости проникновения кислорода с использованием кулонометрического датчика

Приложение Б (обязательное) Определение методом газовой хроматографии

 

НАЦИОНАЛЬНЫЙ СТАНДАРТ РОССИЙСКОЙ ФЕДЕРАЦИИ

Пластмассы

ОПРЕДЕЛЕНИЕ СКОРОСТИ ПРОНИКНОВЕНИЯ ГАЗОВ

Часть 2

МЕТОД РАВНОГО ДАВЛЕНИЯ

Plastics. Determination of gas-transmission rate. Part 2. Equal-pressure method

Дата введения - 2011-01-01

1 Область применения

Настоящий стандарт устанавливает метод определения скорости проникновения газов через различные полимерные материалы в виде пленок, листов, слоистого пластика, материалов, полученных соэкструзией, эластичных материалов с полимерным покрытием, а также фрагментов тонкостенных изделий и образцов для испытаний, изготовленных различными методами.

Примеры использования данного метода приведены в приложениях А и Б.

2 Нормативные ссылки

В настоящем стандарте использована нормативная ссылка на следующий стандарт:

ГОСТ 17035-86 Пластмассы. Методы определения толщины пленок и листов (ИСО 4593:1979 Пластмассы. Пленка и листы. Определение толщины механическим сканированием, MOD)

Примечание - При пользовании настоящим стандартом целесообразно проверить действие ссылочных стандартов в информационной системе общего пользования - на официальном сайте Федерального агентства по техническому регулированию и метрологии в сети Интернет или по ежегодно издаваемому информационному указателю «Национальные стандарты», который опубликован по состоянию на 1 января текущего года, и по соответствующим ежемесячно издаваемым информационным указателям, опубликованным в текущем году. Если ссылочный стандарт заменен (изменен), то при пользовании настоящим стандартом следует руководствоваться заменяющим (измененным) стандартом. Если ссылочный стандарт отменен без замены, то положение, в котором дана ссылка на него, применяется в части, не затрагивающей эту ссылку.

3 Термины и определения

В настоящем стандарте применены следующие термины с соответствующими определениями:

3.1 скорость проникновения газа; GTR: Объем газа, прошедшего через единицу площади полимерного материала в единицу времени при разнице парциального давления между двумя сторонами полимерного материала, равной единице давления.

Примечание - Скорость проникновения кислорода обозначают: О2GTR.

3.2 газопроницаемость или коэффициент газопроницаемости Р: Объем газа, прошедшего через единицу площади полимерного материала, толщина которого равна единице толщины, в единицу времени при разнице парциального давления между двумя сторонами полимерного материала, равной единице давления.

Примечания

1 Теоретически значение Р, моль -м/(м2·с·Па), определяют по формуле

P = GTR·d,

(1)

где GTR - скорость проникновения газа, моль/(м2·с·Па);

d - средняя толщина образца, м.

2 Газопроницаемость или коэффициент газопроницаемости Р - физическое свойство полимерного материала, зависящее только от газа для испытания и условий испытания, однако различные способы переработки влияют на ориентацию полимерных цепей и кристаллическую структуру, что в свою очередь может отражаться на величине газопроницаемости.

4 Сущность метода

4.1 Испытуемый образец устанавливают в диффузионную ячейку (рисунок А.1, приложение А, или рисунок Б.1, приложение Б) таким образом, чтобы создать герметичный барьер между камерами. Первую камеру медленно заполняют газом-носителем. Во вторую камеру подают газ для испытания. Суммарное давление в каждой камере одинаковое (атмосферное), но так как парциальное давление газа для испытания во второй камере выше, этот газ проникает через барьер в первую камеру, заполненную газом-носителем.

Газ для испытания, проникший через образец, переносится газом-носителем в измерительную ячейку к датчику, который выбирают в зависимости от испытуемого материала и газа для испытания.

5 Образцы для испытания

5.1 Образцы для испытания должны быть типичными для исследуемого материала, однородными по толщине, не должны иметь морщин, складок, отверстий. Площадь образцов должна быть больше площади, через которую газ переносится в измерительную ячейку, чтобы исключить попадание воздуха в измерительную ячейку.

5.2 Если нет других указаний, испытание проводят на трех образцах.

5.3 Отмечают сторону образца, с которой контактирует газ для испытания.

Примечание - Желательно, чтобы условия испытания соответствовали реальным условиям эксплуатации материала, например для упаковочного материала газ для испытания может подаваться как с внутренней, так и с внешней стороны.

5.4 Толщину каждого образца для испытания измеряют по ГОСТ 17035 (метод А) с погрешностью в пределах ±1 мкм, измерение проводят не менее чем в пяти точках на поверхности образца. Записывают минимальное, максимальное и среднее значения.

6 Кондиционирование и температура испытания

6.1 Кондиционирование

Образцы должны быть:

- высушены в течение не менее 48 ч при температуре, при которой будет проводиться испытание. Для высушивания используют эксикатор с хлористым кальцием или другим осушителем; или

- выдержаны при температуре и влажности, указанных в нормативном или техническом документе на материал, в течение времени, определяемого природой испытуемого материала.

6.2 Температура испытания

Если нет других указаний, испытания проводят при температуре (23±2) °С.

7 Аппаратура и материалы

7.1 Общие положения

На рисунках А.1 и рисунках Б.1 приведена схема установки для определения скорости проникновения газов.

Установка состоит из диффузионной ячейки, конструкция которой обеспечивает проникновение газа для испытания через образец, при этом датчик фиксирует количество прошедшего через образец газа для испытания; предусмотрены также устройства для кондиционирования и расходомеры для газа для испытания и газа-носителя.

7.2 Газ для испытания

Газом для испытания может быть как один индивидуальный газ, так и смесь газов.

В первом случае давление газа должно быть равно атмосферному.

Во втором случае давление смеси газов также должно быть равно атмосферному, а парциальное давление каждого газа определяется его концентрацией в смеси.

7.3 Диффузионная ячейка

7.3.1 Для проникновения газа для испытания через образец диффузионная ячейка разделена испытуемым образцом на две камеры (рисунок А.1 или рисунок Б.1).

7.3.2 Газ для испытания при заданных условиях протекает через камеру А и сбрасывается из нее через отверстие соответствующего размера в атмосферу.

Предупреждение - Использование, извлечение, утилизация и/или удаление токсичных, горючих и других опасных газов требуют соблюдения соответствующих мер предосторожности.

7.3.3 Газ-носитель при заданных условиях протекает через камеру Б диффузионной ячейки; для предотвращения деформации испытуемого образца разность давлений в камерах А и Б должна быть минимальной.

7.3.4 Форма диффузионной ячейки должна быть такой, чтобы испытуемый образец с обеих сторон омывался ламинарным потоком газа.

Для этого отношение эффективной площади проникновения к объему каждой камеры должно быть таким, при котором скорость каждого газа была бы ниже установленного предела, зависящего от формы ячейки.

7.3.5 Эффективная площадь проникновения должна соответствовать предполагаемой величине газопроницаемости. Обычно используют площади от 1 до 150 см2.

Эффективную площадь проникновения образца для испытания можно уменьшить, используя маску, изготовленную, например, из алюминиевой фольги, помещенную между двумя камерами. В этом случае маску наклеивают на образец и тщательно проверяют герметичность клеевого шва, так как протечки будут влиять на результаты измерений.

7.3.6 Если ячейку уплотняют, используя прокладки, материал прокладок должен иметь газопроницаемость пренебрежимо малую по сравнению с испытуемым материалом.

7.4 Детектирование и измерение

Из существующих методов измерения количества газа для испытания, проникающего через образец, в приложениях А и Б описаны два метода с использованием:

- кулонометрического датчика (для определения скорости проникновения кислорода) - приложение А;

- детектора хроматографа - приложение Б.

Примечание - Выбор метода испытания зависит от:

- проницаемости материала по отношению к газу для испытания;

- требуемой чувствительности.

8 Условия диффузии

Если нет других указаний, газ для испытания и газ-носитель кондиционируют при одном из вариантов условий, приведенных в таблице 1.

Таблица 1 - Условия диффузии

Вариант условий

Температура, ºС

Относительная влажность, %

1

23

0

2

23

50

3

23

60

4

23

75

5

23

85

6

10

85

7

20

55

Примечание - Кондиционирование обычно проводят при относительной влажности, равной 60 %, при условии, что газ для испытания имеет относительную влажность 0 %, а газ-носитель - относительную влажность 100%.

9 Проведение испытания

9.1 Извлекают образец для испытания из атмосферы для кондиционирования.

9.2 Устанавливают образец в диффузионную ячейку.

9.3 Проводят внешний осмотр образца, устраняя дефекты, например складки, возникшие во время монтажа.

9.4 Подсоединяют диффузионную ячейку к датчику.

9.5 Двумя кранами, расположенными непосредственно перед диффузионной ячейкой, продувают обе камеры ячейки А и Б газом-носителем. Скорость потока газа-носителя обычно устанавливают в интервале от 5 до 100 см3/мин. Рекомендуемая скорость газа-носителя - 30 см3/мин.

9.6 Проверяют герметичность установки, затем продувают газом-носителем всю установку, принимая во внимание возможную десорбцию из образца. Продувку установки продолжают до получения постоянного значения сигнала датчика.

9.7 Регистрируют значение постоянного сигнала датчика, принимая его за нулевое.

Примечание - Время выхода установки на рабочий режим может колебаться от нескольких десятков минут до нескольких часов в зависимости от испытуемого материала, его толщины и условий испытания.

9.8 Пропускают газ для испытания через камеру А при заданных скорости потока, температуре и относительной влажности. Скорость потока газа - от 5 до 100 см3/мин.

9.9 Продолжают пропускать газ для испытания до получения постоянного сигнала датчика. Регистрируют полученный сигнал.

9.10 Повторяют предыдущие операции (9.1 - 9.9) для остальных образцов.

10 Обработка результатов

В зависимости от используемого метода обработку результатов проводят по А.6 или Б.7.

11 Прецизионность

Прецизионность данных методов неизвестна, так как результаты межлабораторных испытаний не получены. После получения результатов межлабораторных испытаний данные о прецизионности будут внесены в стандарт при его переиздании.

12 Протокол испытаний

Протокол испытаний оформляют в зависимости от используемого метода по А.7 или Б.8.

Приложение А
(обязательное)
Метод определения скорости проникновения кислорода с использованием кулонометрического датчика

А.1 Общие сведения

Настоящий метод применяют для определения количества проникающего через испытуемый материал кислорода. Кулонометрическим датчиком измеряют количество кислорода, проникшего через испытуемый материал и перенесенного газом-носителем из диффузионной ячейки к датчику.

Датчик генерирует электрический ток, пропорциональный количеству кислорода, протекающего через датчик в единицу времени.

А.2 Аппаратура

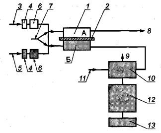
На рисунке А.1 приведена рекомендуемая схема установки.

1 - диффузионная ячейка с камерами А и Б; 2 - образец; 3 - вход кислорода; 4 - устройство для кондиционирования газов; 5 - вход газа-носителя; 6 - расходомер; 7 - трехходовой кран; 8 - выход кислорода (или газа-носителя при продувке); 9 - кулонометрический датчик для измерения концентрации кислорода в газе-носителе; 10- выход газа-носителя; 11- слой катализатора для удаления следов кислорода из газа-носителя; 12 - трехходовой кран; 13 - выход газа-носителя при продувке камеры

Рисунок А.1 - Рекомендуемая схема установки для определения скорости проникновения кислорода с использованием кулонометрического датчика

При установке образца для испытания 2 в диффузионную ячейку 1 переключением крана 7 на обводную линию отключают кулонометрический датчик 9, исключая таким образом попадание в датчик воздуха. Используя кран 7, расположенный до диффузионной ячейки, через камеру А пропускают газ-носитель или газ для испытания. Следы кислорода, которые могут присутствовать в газе-носителе, удаляют, используя слой катализатора 11.

Примечание - Допускается применение другого способа очистки газа-носителя от кислорода.

А.3 Газ-носитель и газ для испытания

А.3.1 В качестве газа-носителя используют смесь осушенного азота и водорода, объемная доля которого 0,5 % - 3,0 %. Концентрация кислорода в газе-носителе не должна превышать 100 мкл/л.

А.3.2 Газ для испытания - осушенный кислород с объемной долей кислорода не менее 99,5 %.

Примечание - Для материалов с высокой проницаемостью кислорода можно использовать смесь азота и кислорода, например воздух (объемная доля кислорода 21 %). Можно также уменьшить эффективную площадь проникновения образца, как описано в 7.3.5.

А.3.3 Устройства для кондиционирования газов 4 должны быть расположены до диффузионной ячейки, чтобы можно было реализовать какой-либо из вариантов условий, приведенных в таблице 1. Устройства для мониторинга влажности газов могут быть установлены в контуре газа-носителя и/или газа для испытания.

А.4 Градуировка

Рекомендуется периодически проводить проверку кулонометрического датчика, используя эталонные материалы.

Примечание - В настоящем методе используют прибор на основе кулонометрического датчика, который в соответствии с законом Фарадея обеспечивает линейную зависимость сигнала от концентрации кислорода. Датчик образует четыре электрона на каждую молекулу протекающего через него кислорода. Если принять, что эффективность датчика равна 95 % - 98 %, его можно рассматривать как внутренний стандарт, который не требует градуировки, и, таким образом, можно использовать этот метод в качестве эталонного. Однако датчик может быть поврежден или истощиться, что снизит его эффективность и уменьшит величину сигнала.

А.5 Проведение испытания

А.5.1 Образец для испытания после кондиционирования по разделу 6 помещают в диффузионную ячейку (см. раздел 9 настоящего стандарта) и устанавливают условия испытания в соответствии с нормативным или техническим документом на материал.

А.5.2 В течение 30 мин продувают обе камеры (А и Б) газом-носителем со скоростью потока 5 - 25 см3/мин.

Для материалов с очень низкой проницаемостью время продувки увеличивают; продувают в течение 3 - 4 мин при скорости потока газа-носителя 25 - 50 см3/мин, затем в течение 30 мин при скорости потока газа-носителя 5 - 25см3/мин.

А.5.3 Проверяют герметичность установки.

А.5.4 Измеряют генерируемый датчиком электрический ток, пропуская его через шунт, установленный параллельно вольтметру. После стабилизации сигнала датчика регистрируют полученное значение сигнала как нулевое.

А.5.5 Переводят кран 7 в положение, обеспечивающее протекание кислорода через камеру А, и ожидают появления постоянного сигнала, который регистрируют.

Для некоторых тонких образцов с высокой проницаемостью равновесное состояние достигается через 30-60 мин, для образцов большей толщины или для образцов из многослойных материалов равновесное состояние достигается через несколько часов. Время, требуемое для достижения равновесия, указывают в протоколе испытания.

А.5.6 Повторяют испытание для оставшихся образцов.

А.6 Обработка результатов

А.6.1 Скорость проникновения кислорода

Скорость проникновения кислорода О2GTR, моль/(м2·с·Па), вычисляют по формуле

(А.1)

где k - градуировочный коэффициент установки, моль/(с·Па·В);

U - значение напряжения для образца, В;

U0 - нулевое значение напряжения, В;

А - эффективная площадь проникновения, м2;

ра - атмосферное давление, Па;

р0 - парциальное давление кислорода в газе для испытания, Па.

Примечание - На практике применяют значения напряжения U и U0 с учетом калибровочного коэффициента установки.

А.6.2 Проницаемость кислорода или коэффициент проницаемости кислорода

Газопроницаемость или коэффициент газопроницаемости Р - это физическая характеристика полимерного материала, зависящая только от газа для испытания и условий испытания.

Проницаемость кислорода или коэффициент проницаемости кислорода Р, (моль·м)/(м2·с·Па), вычисляют по формуле

P = O2GTR·d,

(А.2)

где О2GTR - скорость проникновения кислорода, моль /(м2·с·Па) (объем газа приведен к стандартным условиям);

d - толщина образца, м.

Примечания

1 О2GTR обычно выражают в см3/(м2·сут), объем газа приведен к стандартным условиям.

2 Р часто выражают в см3·мм/(м2·сут·атм).

3 d выражают в миллиметрах.

А.7 Протокол испытания

Протокол испытания должен содержать следующие данные:

а) ссылку на настоящий стандарт;

б) подробное описание использованной аппаратуры (марка, изготовитель и т.д.);

в) описание образцов для испытания, включающее:

1) описание материала, из которого изготовлены образцы (пленка, лист, ламинат, изделие, гранулы и т.д.);

2) способ изготовления материала: полив, раздув, ламинирование, литье под давлением, экструзия и т.д.;

3) описание обеих сторон образцов, если они отличаются, с указанием, какая сторона была обращена к кислороду;

г) число испытанных образцов;

д) среднюю, минимальную и максимальную толщину каждого образца;

е) условия кондиционирования образцов для испытания;

ж) эффективную площадь проникновения;

и) температуру образцов во время испытания;

к) атмосферное давление во время испытания;

л) парциальное давление кислорода в камере А и способ его измерения (А.3.2);

м) скорость газа-носителя в процессе испытания;

п) время до получения стабильного сигнала после введения кислорода в камеру А диффузионной ячейки;

р) значение скорости проникновения кислорода (а также проницаемости кислорода Р, при необходимости) для каждого испытанного образца;

с) дату испытания.

Приложение Б
(обязательное)
Определение методом газовой хроматографии

Б.1 Общие сведения

Настоящий метод применяют для определения скорости проникновения различных газов или смесей газов, используя газовый хроматограф с подходящими колонками.

Б.2 Сущность метода

Молекулы газа, проникающего через испытуемый образец, помещенный в диффузионную ячейку, переносятся газом-носителем в дозирующую петлю, содержимое которой периодически вводится в газовый хроматограф.

Пики на полученной хроматограмме сравнивают с градуировочным графиком, построенным по хроматограммам градуировочных образцов.

Примечание - Автоматические впускные краны могут вызвать повышение давления в диффузионной ячейке, которое следует компенсировать для предотвращения повреждения образца.

Рекомендуемая схема установки приведена на рисунке Б.1.

Б.3 Хроматограф

Б.3.1 Общие сведения

В зависимости от природы газа для испытания используют различные газохроматографические колонки и детекторы согласно приведенным ниже примерам. Для обеспечения требуемой чувствительности при анализе конкретных газов допускается применение других колонок и детекторов.

Б.3.2 Набивную колонку с детектором по теплопроводности (ТПД) можно применять для анализа:

- кислорода, углекислого газа и/или азота;

- смесей этих или других газов.

Примечание - Кондиционирование газов (см. таблицу 1 настоящего стандарта) можно проводить, если устройство для кондиционирования газов расположено перед диффузионной ячейкой, однако при использовании детектора по теплопроводности кондиционирование газа-носителя не проводят.

Б.3.3 Набивную колонку с пламенно-ионизационным детектором (ПИД) можно применять для анализа:

- углекислого газа в случаях, когда требуется высокая чувствительность, при этом газовый хроматограф должен быть оснащен специальной печью для восстановления углекислого газа до метана;

- паров различных органических веществ.

1 - диффузионная ячейка с камерами А и Б; 2 - образец; 3 - вход газа для испытания; 4 - устройство для кондиционирования газа; 5 - вход газа-носителя; 6 - расходомер; 7 - трехходовой кран; 8 - выход газа для испытания (или газа-носителя при продувке); 9 - выход газа-носителя; 10 - дозирующая петля; 11 - вход газа-носителя для хроматографа; 12 - хроматографическая колонка; 13 - детектор по теплопроводности (ТПД) или пламенно-ионизационный детектор (ПИД)

Рисунок Б.1 - Рекомендуемая схема установки для определения скорости проникновения газов с использованием детектора хроматографа

Б.3.4 Капиллярную колонку с пламенно-ионизационным детектором (ПИД) можно применять для анализа паров органических веществ, в том числе обладающих запахом.

В таких случаях следует устранить конденсацию паров во время их прохождения через диффузионную ячейку, хроматографическую колонку и детектор.

Б.4 Газ-носитель и газ для испытания

Б.4.1 Газ-носитель должен быть совместим с выбранным детектором.

Б.4.2 Концентрация каждого газа в смеси газов для испытания и чистота индивидуального газа для испытания должны быть известны с точностью до ± 1 %.

Б.4.3 Газы не должны содержать примесей, которые могут повлиять на точность измерения.

Б.5 Градуировочный график

Б.5.1 Общие положения

Градуировочный график для хроматографической колонки получают одним из следующих способов:

Б.5.2 Способ А

Б.5.2.1 У поставщиков, специализирующихся на поставках газа, приобретают несколько газовых баллонов, заполненных смесью газов с известными концентрациями требующегося газа для испытания, причем диапазон концентраций должен соответствовать ожидаемому при испытаниях.

Б.5.2.2 Подсоединяют по очереди эти газовые баллоны к дозирующей петле и записывают хроматограммы, проводя измерения в одинаковых условиях хроматографирования.

Б.5.3 Способ Б

Б.5.3.1 Настоящий метод применим также для газов, не являющихся компонентами воздуха.

Б.5.3.2 В снабженных мембраной стеклянных сосудах готовят образцы разбавленного газа различной концентрации; разбавление проводят, например, воздухом.

Б.5.3.3 Газовым шприцем вводят известный объем каждого образца разбавленного газа непосредственно в хроматографическую колонку при одинаковых условиях хроматографирования и получают соответствующие хроматограммы.

Б.5.4 Построение градуировочного графика

Хроматограммы, полученные любым из этих способов, можно использовать при построении градуировочного графика в координатах: сигнал детектора - объем газа для испытания в газе-носителе.

Б.6 Выполнение измерений

Б.6.1 В соответствии с разделом 9 отбирают проникший через образец газ для испытания в дозирующую петлю и переносят его из петли в газохроматографическую колонку в соответствии с инструкцией по эксплуатации газового хроматографа.

Следят за изменением величины сигнала детектора для газа для испытания до достижения постоянного значения сигнала. Записывают требующееся для этого время в протокол испытания.

Б.6.2 Определяют площадь пика газа для испытания, используя интегратор хроматографа.

Б.6.3 По градуировочному графику, построенному по Б.5, определяют объем газа для испытания в газе-носителе в кубических сантиметрах.

Б.6.4 Одновременно, используя калиброванный расходомер (например, пенный расходомер), определяют скорость газа-носителя в колонке. Это измерение проводят на выходе газа-носителя 9 после отключения дозирующей петли 10 (рисунок Б.1).

Б.7 Обработка результатов

Б.7.1 Скорость проникновения газа

Скорость проникновения газа GTR, моль/(м2·сут·Па), вычисляют по формуле

(Б.1)

где D - скорость потока газа-носителя, см3/мин;

С - объем газа для испытания в газе-носителе, полученный с использованием хроматограммы, моль/(см3·Па), (объем газа для испытания приведен к стандартным условиям);

А - эффективная площадь проникновения образца, м2;

ра - атмосферное давление, Па;

р0 - парциальное давление газа для испытания в смеси газов для испытания, Па.

Б.7.2 Газопроницаемость или коэффициент газопроницаемости

Газопроницаемость или коэффициент газопроницаемости Р, (моль·м)/(м2·сут·Па), рассчитывают по формуле

Р = GTR d,

(Б.2)

где GTR - скорость проникновения газа, моль/(м2·сут·Па), (объем газа для испытания приведен к стандартным условиям);

d - средняя толщина образца, мм.

Примечания

1 GTR обычно выражают в см3/(м2·сут), объем газа для испытания приводят к стандартным условиям при давлении 1 атм.

2 Р часто выражают в (см3·мм)/(м2·сут·атм).

3 d выражают в миллиметрах.

Б.8 Протокол испытания

Протокол испытания должен содержать следующие данные:

а) ссылку на настоящий стандарт;

б) подробное описание использованной аппаратуры (марка, изготовитель и т.д.);

в) описание образцов для испытания, включающее:

1)описание материала, из которого были изготовлены образцы (пленка, лист, ламинат, изделие, гранулы и т.д.);

2) способ изготовления материала - полив, раздув, ламинирование, литье под давлением, экструзия и т.д.

3) описание обеих сторон образцов, если они отличаются, с указанием, какая сторона была обращена к газу для испытания;

г) число испытанных образцов;

д) среднюю, минимальную и максимальную толщину каждого образца;

е) условия кондиционирования образцов для испытания;

ж) эффективную площадь проникновения;

и) температуру образцов во время испытания;

к) атмосферное давление во время испытания;

л) тип газа для испытания или состав смеси газов для испытания с указанием способа определения состава этой смеси;

м) скорость газа-носителя в процессе испытания;

н) время до достижения стабильного сигнала после введения газа для испытания в камеру А диффузионной ячейки;

п) значение скорости газопроницаемости (а также проницаемость Р, если требуется) для каждого испытанного образца;

р) дату испытания.

Ключевые слова: скорость проникновения газов, газопроницаемость, коэффициент газопроницаемости, пластмассы, образцы для испытаний, газ для испытания, смесь газов для испытания, диффузионная ячейка, кулонометрический датчик, газохроматографический детектор