ФЕДЕРАЛЬНОЕ АГЕНТСТВО
ПО ТЕХНИЧЕСКОМУ РЕГУЛИРОВАНИЮ И МЕТРОЛОГИИ
|
|
НАЦИОНАЛЬНЫЙ |
ГОСТ Р |
ЛИФТЫ ГРУЗОВЫЕ
Основные параметры и размеры
ISO 4190-2:2001
Lift (Elevator) installation - Part 2:
Class IV lifts
(MOD)
|
|
Москва Стандартинформ 2010 |
Цели и принципы стандартизации в Российской Федерации установлены Федеральным законом от 27 декабря 2002 г. № 184-ФЗ «О техническом регулировании», а правила применения национальных стандартов Российской Федерации - ГОСТ Р 1.0-2004 «Стандартизация в Российской Федерации. Основные положения»
Сведения о стандарте
1 ПОДГОТОВЛЕН ОАО «Щербинский лифтостроительный завод» (ОАО «ЩЛЗ») на основе аутентичного перевода международного стандарта, указанного в пункте 4
2 ВНЕСЕН Техническим комитетом по стандартизации ТК 209 «Лифты, эскалаторы, пассажирские конвейеры и подъемные платформы для инвалидов»
3 УТВЕРЖДЕН И ВВЕДЕН В ДЕЙСТВИЕ Приказом Федерального агентства по техническому регулированию и метрологии от 11 февраля 2010 г. № 16-ст
4 Настоящий стандарт является модифицированным по отношению к международному стандарту ИСО 4190-2:2001 «Лифтовая установка. Часть 2. Лифты класса IV» (ISO 4190-2:2001 Lift (Elevator) installation - Part 2: Class IV lifts).
При этом дополнительные положения и требования, включенные в текст стандарта для учета потребностей национальной экономики Российской Федерации, выделены в тексте стандарта курсивом.
Наименование настоящего стандарта изменено относительно наименования указанного международного стандарта для приведения в соответствие с ГОСТ Р 1.5-2004 (пункт 3.5)
5 ВВЕДЕН ВПЕРВЫЕ
Информация об изменениях к настоящему стандарту публикуется в ежегодно издаваемом информационном указателе «Национальные стандарты», а текст изменений и поправок в ежемесячно издаваемых информационных указателях «Национальные стандарты». В случае пересмотра (замены) или отмены настоящего стандарта соответствующее уведомление будет опубликовано в ежемесячно издаваемом информационном указателе «Национальные стандарты». Соответствующая информация, уведомления и тексты размещаются также в информационной системе общего пользования - на официальном сайте Федерального агентства по техническому регулированию и метрологии в сети Интернет
Содержание
|
4.1 Ряд номинальных грузоподъемностей 4.3 Полезная площадь кабины грузовых лифтов 5.3 Внутренние размеры шахты лифта 5.4 Размеры машинного помещения
|
Введение
В настоящий стандарт включены дополнительные по отношению к международному стандарту ИСО 4190-2:2001 требования, отражающие потребности национальной экономики Российской Федерации и особенности изложения национальных стандартов (в соответствии с ГОСТ Р 1.5), а именно:
- ряд номинальных грузоподъемностей дополнен грузоподъемностью 3200 кг;
- стандарт дополнен параметрами для лифтов с горизонтально-раздвижными дверями кабины и распашными дверями шахты категорий лифтов А и В;
- требования раздела 4 изложены в соответствии с требованиями и потребностями национальной экономики Российской Федерации.
Настоящий стандарт дополнен структурным элементом «Библиография» и выделен курсивом.
ГОСТ Р 53771-2010
(ИСО 4190-2:2001)
НАЦИОНАЛЬНЫЙ СТАНДАРТ РОССИЙСКОЙ ФЕДЕРАЦИИ
ЛИФТЫ ГРУЗОВЫЕ
Основные параметры и размеры
Goods lifts. Basic parameters and dimensions
Дата введения - 2010-06-01
1.1 Настоящий стандарт распространяется на грузовые лифты для зданий (сооружений) различного назначения.
1.2 Грузовые лифты, включенные в настоящий стандарт, предназначены для установки в новые здания (сооружения).
Настоящий стандарт может быть использован в качестве нормативной базы при установке новых лифтов в существующие здания (сооружения).
1.3 Настоящий стандарт устанавливает основные параметры и размеры грузовых лифтов следующих видов:
- электрические;
- гидравлические.
1.4 Настоящий стандарт устанавливает требования к грузовым лифтам двух категорий по соотношению полезной площади кабины и номинальной грузоподъемности:
- лифты грузовые категории А: лифты, полезная площадь кабины которых не превышает указанную в таблице 1 для соответствующей номинальной грузоподъемности;
- лифты грузовые категории В: лифты, полезная площадь кабины которых превышает указанную в таблице 1 для соответствующей номинальной грузоподъемности.
1.5 Основные параметры и размеры лифтов могут отличаться от включенных в настоящий стандарт при условии соблюдения требований безопасности, установленных [1].
В настоящем стандарте использована ссылка на следующий стандарт:
ГОСТ 8032-84 Предпочтительные числа и ряды предпочтительных чисел
Примечание - При пользовании настоящим стандартом целесообразно проверить действие ссылочных стандартов в информационной системе общего пользования - на официальном сайте национального органа Российской Федерации по стандартизации в сети Интернет или по ежегодно издаваемому информационному указателю «Национальные стандарты», который опубликован по состоянию на 1 января текущего года, и по соответствующим ежемесячно издаваемым информационным указателям, опубликованным в текущем году. Если ссылочный стандарт заменен (изменен), то при пользовании настоящим стандартом следует руководствоваться заменяющим (измененным) стандартом. Если ссылочный стандарт отменен без замены, то положение, в котором дана ссылка на него, применяется в части, не затрагивающей эту ссылку.
В настоящем стандарте применены следующие термины с соответствующими определениями:
3.1 грузоподъемность грузового лифта номинальная: Наибольшая масса груза, для транспортирования которого предназначен лифт. При использовании для загрузки лифта и транспортирования в нем контейнеров, поддонов, средств напольного транспорта их масса должна быть учтена.
3.2 дверь кабины (шахты) горизонтально-раздвижная: Дверь, створка (и) которой перемещается (ются) по направляющей в горизонтальном направлении.
3.3 дверь кабины (шахты) вертикально-раздвижная: Дверь, створка (и) которой перемещается (ются) по направляющей в вертикальном направлении.
3.4 дверь кабины (шахты) телескопическая: Дверь, створки которой перемещаются в параллельных плоскостях, при открывании заходя одна за другую.
3.5 дверь кабины (шахты) центрального открывания: Дверь, створки которой при движении перемещаются в противоположные направления от центра (к центру).
3.6 дверь кабины (шахты) горизонтально-раздвижная одностороннего открывания: Дверь, створки (а) которой перемещаются (ется) в одну сторону.
3.7 дверь кабины (шахты) распашная: Дверь, створка(и) которой перемещается(ются) вокруг шарнирного крепления к порталу двери.
3.8 дверь кабины (шахты) складчатая: Дверь, створка(и) которой состоит(ят) из двух или более полотен, соединенных между собой перемещаются вокруг шарнирного крепления к порталу двери.
3.9 кабина грузового лифта: Грузонесущее устройство, предназначенное для размещения и транспортирования груза или груза и людей, оборудованное ограждением в виде стен, пола, потолка и двери.
3.10 лифт: Грузоподъемная машина периодического действия, предназначенная для транспортирования людей и/или грузов в зданиях и сооружениях, оборудованная кабиной, перемещающейся по жестким направляющим, угол наклона к вертикали у которых не более 15°.
3.11 лифт грузовой: Лифт, предназначенный в основном для подъема и спуска грузов с сопровождающим или без сопровождающего персонала.
3.12 лифт грузовой грузопассажирский: Грузовой лифт, в кабине которого допускается транспортирование пассажиров с сопровождающим персоналом.
3.13 лифт грузовой грузопассажирский самостоятельного пользования: Грузовой лифт, в кабине которого допускается транспортирование пассажиров без сопровождающего персонала.
3.14 машинное помещение: Отдельное помещение для размещения оборудования лифта (гидроагрегат или лебедка, а также связанные с ними механические и электрические устройства).
3.15 персонал: Физические лица, имеющие профессиональную подготовку по техническому обслуживанию, ремонту, монтажу, диспетчерскому контролю, осмотрам, управлению лифтом и по освобождению и эвакуации пассажиров из остановившейся кабины.
3.16 приямок шахты: Часть шахты лифта, расположенная ниже уровня крайней нижней этажной площадки.
3.17 полезная площадь кабины: Площадь кабины лифта, измеренная при закрытых дверях на высоте 1 м от уровня пола кабины, которая используется для размещения транспортируемых пассажиров и/или грузов.
3.18 скорость лифта номинальная: Скорость движения кабины, на которую рассчитан лифт.
3.19 шахта лифта: Пространство, в котором перемещается кабина и (при наличии) противовес и/или уравновешивающее устройство кабины.
3.20 Внутренние размеры кабины, шахты машинного помещения (см. рисунки 1 - 3):
3.20.1 ширина кабины b1: Горизонтальное расстояние между внутренними поверхностями стен кабины лифта, измеренное параллельно передней стенке входа в кабину. При наличии декоративных или защитных панелей, поручней они должны находиться внутри этого размера.
3.20.2 глубина кабины d1: Горизонтальное расстояние между внутренними поверхностями передней и задней стен кабины лифта, измеренное перпендикулярно к ширине кабины. При наличии декоративных и защитных панелей, поручней они должны находиться внутри этого размера.
3.20.3 высота кабины h4: Вертикальное расстояние между полом и конструктивным потолком кабины. Устройства освещения кабины и декоративные потолки должны находиться внутри этого размера.
3.20.4 ширина дверного проема b2: Ширина входа в свету', измеренная при полностью открытых дверях кабины и шахты.
3.20.5 высота дверного проема h3: Высота входа в свету', измеренная при полностью открытых дверях кабины и шахты.
3.20.6 ширина шахты b3: Расстояние по горизонтали между внутренними поверхностями боковых стен шахты, измеренное параллельно ширине кабины.
3.20.7 глубина шахты d2: Расстояние по горизонтали между внутренними поверхностями передней и задней стен шахты, измеренное перпендикулярно к ширине шахты.
3.20.8 глубина приямка d3: Расстояние по вертикали от уровня пола крайней нижней этажной площадки до пола шахты, измеренное параллельно направляющим.
3.20.9 высота шахты от верхней этажной площадки h1: Расстояние от уровня пола верхней этажной площадки до нижней части перекрытия шахты, измеренное параллельно направляющим.
3.20.10 ширина машинного помещения b4: Расстояние по горизонтали между внутренними поверхностями стен машинного помещения, измеренное параллельно ширине кабины.
3.20.11 глубина машинного помещения d4: Расстояние по горизонтали между внутренними поверхностями стен машинного помещения, измеренное перпендикулярно к ширине машинного помещения.
3.20.12 высота машинного помещения h2: Расстояние по вертикали между уровнем пола машинного помещения, на котором размещена лебедка (гидроагрегат) лифта, и потолком машинного помещения.
3.21. система управления лифта: Совокупность устройств управления, обеспечивающих работу лифта в соответствии с заданной программой.
3.22. система управления лифта внутренняя: Вид управления, при котором команда управления на пуск лифта подается только из кабины лифта.
3.23. система управления лифта наружная: Вид управления, при котором команда управления на пуск лифта подается только с погрузочных площадок.
3.24. система управления лифта смешанная: Вид управления, при котором команда управления на пуск лифта подается как из кабины, так и с погрузочных площадок.
3.25. буфер: Устройство безопасности лифта, предназначенное для замедления и остановки движущейся кабины (противовеса) при переходе крайнего рабочего положения.
3.26. ловитель: Устройство безопасности лифта, предназначенное для остановки и удержания кабины (противовеса) на направляющих при превышении скорости движения кабины (противовеса) на установленное значение или при обрыве тяговых элементов.
Числовые значения грузоподъемностей грузовых лифтов выбирают из ряда чисел, близкого к ряду предпочтительных чисел по ГОСТ 8032:
- для номинальной грузоподъемности лифтов категории А:
лифты с горизонтально-раздвижными дверями: 630; 1000; 1600; 2000; 2500; 3200; 3500; 5000,
лифты с горизонтально-раздвижными дверями кабины и распашными дверями шахты: 3200,
лифты с вертикально-раздвижными дверями: 1600; 2000; 2500; 3500; 5000;
- для номинальной грузоподъемности лифтов категории В:
лифты с вертикально или горизонтально раздвижными дверями: 2000; 2500; 3200; 3500; 5000,
лифты с горизонтально-раздвижными дверями кабины и распашными дверями шахты: 500; 1000; 2000; 3200; 5000.
Числовые значения номинальных скоростей движения кабины грузовых лифтов выбирают из ряда чисел, близких к ряду предпочтительных чисел R5 по ГОСТ 8032:
- для грузовых лифтов категории А номинальная скорость м/с: 0,25; 0,40; 0,50; 0,63; 1,0;
- для грузовых лифтов категории В номинальная скорость м/с: 0,25; 0,40; 0,50; 0,63; 1,0; 1,60; 1,75; 2,5.
Полезная площадь кабины грузовых лифтов категории А для номинальных грузоподъемностей, предусмотренных настоящим стандартом, должна соответствовать таблице 1. Ограничение полезной площади имеет целью предотвратить перегрузку пассажирами кабины лифта.
Таблица 1 - Соотношение номинальной грузоподъемности и площади кабины
|
Номинальная грузоподъемность грузового лифта, кг |
Максимальная полезная площадь кабины, м2 |
|
500 |
1,4 |
|
630 |
1,66 |
|
1000 |
2,40 |
|
1600 |
3,56 |
|
2000 |
4,20 |
|
2500 |
5,00 |
|
3200 |
6,12 |
|
3500 |
6,60 |
|
5000 |
9,00 |
У грузовых лифтов самостоятельного пользования категории В должны быть предусмотрены:
a) исключение возможности пуска лифта из кабины или с погрузочной площадки при нахождении в кабине груза, масса которого превышает номинальную грузоподъемность лифта на 10%, но менее чем на 75 кг;
b) оборудование кабины сигнальным устройством о перегрузке (световое и звуковое);
c) применение средств, препятствующих опусканию кабины за нижнюю границу зоны отпирания дверей при нахождении в ней груза, масса которого равна полуторной грузоподъемности лифта, определенной по фактической полезной площади кабины;
d) обеспечение прочности элементов лифта при размещении в неподвижной кабине равномерно распределенного по площади ее пола груза, масса которого равна полуторной грузоподъемности, определенной по фактической полезной площади кабины;
e) обеспечение прочности элементов лифта при посадке на буферы и ловители кабины с грузом, масса которого равна грузоподъемности, определенной по фактической полезной площади кабины.
У грузовых лифтов (несамостоятельного пользования) категории В должны быть предусмотрены:
a) исключение возможности пуска лифта из кабины или с погрузочной площадки при нахождении в кабине груза, масса которого превышает номинальную грузоподъемность лифта на 10%, но менее чем на 75 кг;
b) оборудование кабины сигнальным устройством о перегрузке (световое и звуковое);
c) загрузка лифтов должна проводиться под контролем обученного и аттестованного персонала.
Ширина, глубина и высота грузового лифта определяются с учетом размеров грузов, для транспортирования которых он предназначен, включая размеры контейнеров, поддонов, а также средств напольного транспорта, используемых при загрузке и транспортировании грузов.
Расстояние от пола кабины до декоративного потолка (при его наличии) должно быть не менее 2000 мм на грузовых лифтах, в которые возможен вход людей и их транспортирование.
Размеры кабины грузовых лифтов приведены в таблицах 2, 3, 5 и 6 и на рисунках 4, 6 и 7.
Размеры дверного проема грузового лифта должны обеспечивать безопасную загрузку и выгрузку транспортируемых грузов, а также безопасный вход в кабину и выход из нее людей (пассажиров и персонала).
Ширина в свету' дверного проема двери шахты должна быть не более ширины в свету дверного проема дверей кабины.
Высота в свету проема дверей шахты и дверей кабины, в которую возможен вход людей, должна быть не менее 2000 мм.
Размеры дверного проема грузовых лифтов приведены в таблицах 3, 5 и 6 и на рисунке 1.
Внутренние размеры шахты лифта должны обеспечивать безопасность и работоспособность размещаемого в ней лифтового оборудования.
Рабочие зоны для обслуживания оборудования в шахте должны иметь размеры, достаточные для безопасного выполнения работ персонала.
5.3.1 Ширина и глубина шахты лифта
Глубина шахты лифта должна обеспечивать безопасное горизонтальное расстояние между порогами погрузочной площадки и кабины для входа людей в кабину и выхода из нее, для въезда в кабину средств напольного транспорта.
Расстояние между элементами конструкции кабины и шахты лифта должно исключать возможность проникновения человека в шахту при открытых дверях шахты и/или кабины при нахождении кабины в зоне погрузочной площадки.
При оборудовании противовеса ловителями ширина или глубина шахты должны быть увеличены.
5.3.2 Высота шахты лифта
Высота шахты лифта, оборудованного лебедкой с канатоведущим шкивом или барабаном трения должна быть такой, чтобы при противовесе (кабине), находящемся(ейся) на полностью сжатых буферах, одновременно обеспечивались:
a) возможность перемещения кабины (противовеса) по направляющим без взаимодействия элементов лифта с нижней частью перекрытия шахты на расстояние не менее 0,1 + 0,035 V2, предусмотренных [1], пункт 3.11.1 а;
b) зазор между уровнем предназначенной для размещения обслуживающего персонала площадки на крыше кабины и расположенной в проекции кабины нижней частью перекрытия шахты, включая балки и размещенные под перекрытием элементы конструкции не менее 1,0 + 0,0035 V2, м, предусмотренных [1], пункт 3.11.1 б;
c) свободное пространство над кабиной, достаточное для размещения параллелепипеда размерами не менее 0,5×0,6×0,8 м, лежащего на одной из своих граней, предусмотренных [1], пункт 3.11.1 г.
При оборудовании крыши кабины лифта перилами высота шахты должна определяться с учетом высоты перил.
5.3.3 Глубина приямка шахты лифта
При нахождении кабины лифта на полностью сжатых буферах должно обеспечиваться:
a) свободное пространство в приямке, достаточное для размещения прямоугольного параллелепипеда размерами не менее 0,5×0,6×1,0 м, лежащего на одной из своих граней;
b) зазор от пола приямка до нижних частей кабины не менее 0,5 м.
Высота в свету' зон обслуживания оборудования в машинном помещении должна быть не менее 2,0 м, предусмотренных [1], пункт 4.3.9.1.
Высота в свету' прохода к зонам обслуживания оборудования должна быть не менее 1,8 м, а ширина проходов - не менее 0,5 м.
Перед расположенными в машинном помещении устройствами управления должна быть предусмотрена зона обслуживания (свободная площадка) размерами:
a) глубина, измеренная от наружной поверхности шкафов или панелей, не менее 0,75 м;
b) ширина, равная полной ширине шкафа или панели, но не менее 0,5 м.
Для обслуживания подвижных частей механического оборудования, расположенного в машинном помещении, должна быть предусмотрена зона обслуживания (свободная площадка) размерами не менее 0,5×0,6 м.
В настоящем стандарте предусмотрено размещение машинного помещения электрических лифтов над шахтой лифта (см. рисунок 3).
Машинные помещения гидравлических лифтов должны быть расположены сбоку или сзади шахты в нижней части здания, в котором установлены лифты (см. рисунок 3).
Размеры машинного помещения грузовых лифтов приведены в таблице 4 и на рисунках 2 и 3.
Таблица 2 - Вертикальные размеры кабины и шахты грузовых лифтов категории А с горизонтально раздвижными дверями типов 1, 2, 3 и Р
Размеры в миллиметрах
|
Параметр |
Номинальная скорость V, м/с |
Номинальная грузоподъемность, кг |
||||||||
|
500 |
630 |
1000 |
1600 |
2000 |
2500 |
3200* |
3500 |
5000 |
||
|
Высота кабины h4 |
- |
2000* |
2100 |
2500 |
2200* |
2500 |
||||
|
Высота дверного проема кабины и шахты h3 |
- |
2000* |
2100 |
2500 |
2200* |
2500 |
||||
|
Глубина приямка d3 |
0,25 |
- |
1400 |
1600 |
- |
1600 |
||||
|
0,40 |
||||||||||
|
0,50 |
1300* |
1300 |
||||||||
|
0,63 |
- |
- |
||||||||
|
1,00 |
||||||||||
|
Расстояние от уровня верхней остановки кабины до перекрытия шахты h1 |
0,25 |
- |
3700 |
4200 |
4600 |
- |
4600 |
|||
|
0,40 |
||||||||||
|
0,50 |
3300* |
3600 |
||||||||
|
0,63 |
- |
- |
||||||||
|
1,00 |
||||||||||
|
* Размеры для дверей типа Р. |
||||||||||
Таблица 3 - Вертикальные размеры кабины и шахты лифтов категории А с вертикально-раздвижными дверями
Размеры в миллиметрах
|
Параметр |
Номинальная скорость V, м/с |
Номинальная грузоподъемность, кг |
||||
|
1600 |
2000 |
2500 |
3500 |
5000 |
||
|
Высота кабины h4 |
- |
2100 |
2500 |
|||
|
Высота дверного проема кабины и шахты h3 |
- |
2100 |
2500 |
|||
|
Глубина приямка d3 |
0,25 |
1600 |
||||
|
0,40 |
||||||
|
0,50 |
||||||
|
0,63 |
||||||
|
1,00 |
||||||
|
Расстояние от уровня верхней остановки кабины до перекрытия шахты h1 |
0,25 |
4200 |
4600 |
|||
|
0,40 |
||||||
|
0,50 |
||||||
|
0.63 |
||||||
|
1,00 |
||||||
|
Примечание - Минимальное допустимое расстояние между остановками определяется изготовителем с учетом применяемого типа вертикально-раздвижных дверей. |
||||||
Таблица 4 - Размеры машинных помещений лифтов категории А с вертикально- и горизонтально-раздвижными дверями
Размеры в миллиметрах
|
Параметр |
Номинальная грузоподъемность, кг |
||||||||
|
500 |
630 |
1000 |
1600 |
2000 |
2500 |
3200 |
3500 |
5000 |
|
|
Машинное помещение для электрических лифтов b4·d4, не менее |
3150×3700 |
2500×3700 |
3200×4900 |
3000×5000 |
|||||
|
3550×4700* |
|||||||||
|
3700×3200* |
|||||||||
|
Машинное помещение для гидравлических лифтов b4·d4**, не менее |
Ширина или глубина шахты ×2000 |
||||||||
|
* Размеры для лифтов грузоподъемностью 3200 кг и дверей типа Р. ** Размер машинного помещения гидравлических лифтов с вертикально-раздвижными дверями грузоподъемностью 2500; 3200; 3500 и 5000 кг определяется изготовителем. |
|||||||||
Таблица 5 - Вертикальные размеры кабины и шахты лифтов категории В с горизонтально-раздвижными дверями типов 1, 2, 3 и Р
|
Параметр |
Номинальная скорость V, м/с |
Номинальная грузоподъемность, кг |
||||||||
|
500 |
1000 |
2000 |
2500 |
3200 |
3500 |
5000 |
||||
|
Высота кабины h4 |
- |
2000 |
2000/2200 |
2200 |
2500/3000 |
2500/3000 |
2200 |
2500/3000 |
2400 |
2500/3000 |
|
Высота дверного проема кабины и шахты h3 |
- |
2000 |
2000/2200 |
2200 |
2100**/2700*** |
2100*/2700*** |
2200 |
2100/2700 |
2400 |
2100/2700 |
|
Глубина приямка d3 |
0,25 |
1300 |
1300 |
1400 |
1400 |
1300/1700 |
1400 |
1300 |
1400 |
|
|
0,4 |
||||||||||
|
0,5 |
||||||||||
|
0,63 |
||||||||||
|
1,0 |
- |
- |
- |
- |
1800 |
- |
1800 |
- |
1800 |
|
|
1,6* |
||||||||||
|
1,75* |
||||||||||
|
2,50* |
- |
- |
- |
- |
2400 |
2400 |
2400 |
|||
|
Расстояние от уровня верхней остановки до перекрытия шахты h1 |
0,25 |
3300 |
3600 |
3600 |
4500**/5000*** |
4500*/5000*** |
3600 |
4500*/5000*** |
4000 |
4500*/5000*** |
|
0,4 |
||||||||||
|
0,5 |
||||||||||
|
0,63 |
||||||||||
|
1,0 |
- |
5000**/5500*** |
- |
5000*/5500*** |
- |
5000*/5500*** |
||||
|
1,6* |
5100*/5600*** |
5100*/5600*** |
5100*/5600*** |
|||||||
|
1,75* |
5200**/5700*** |
5200*/5700*** |
5200*/5700*** |
|||||||
|
2,50* |
5650**/6150*** |
5650*/6150*** |
5650*/6150*** |
|||||||
|
* Скорость только для электрических лифтов. ** Высота кабины 2500 мм. *** Высота кабины 3000 мм. Примечание - Размеры, выделенные курсивом, распространяются на лифты с дверями типов 3 и Р. |
||||||||||
Таблица 6 - Вертикальные размеры кабины и шахты лифтов категории В с вертикально-раздвижными дверями
Размеры в миллиметрах
|
Параметр |
Номинал скорость V, м/c |
Номинальная грузоподъемность, кг |
|||
|
2000 |
2500 |
3500 |
5000 |
||
|
Высота кабины h4 |
- |
2500/3000 |
|||
|
Высота дверного проема кабины и шахты h3 |
- |
2500**/3000*** |
|||
|
Глубина приямка d3 |
0,25 |
1400**/1850*** |
|||
|
0,40 |
|||||
|
0,50 |
|||||
|
0,63 |
|||||
|
1,00; |
1800 |
||||
|
1,60*; |
|||||
|
1,75* |
|||||
|
2,50* |
2400 |
||||
|
Расстояние от уровня верхней остановки кабины до перекрытия шахты h1 |
0,25 |
4500**/5250*** |
|||
|
0,40 |
|||||
|
0,50 |
|||||
|
0,63 |
|||||
|
1,00; |
5100**/5600*** |
||||
|
1,60* |
|||||
|
1,75* |
5200**/5700*** |
||||
|
2,50* |
5650**/6150*** |
||||
|
* Скорость только для электрических лифтов. ** Высота кабины 2500 мм. *** Высота кабины 3000 мм. Примечание - Минимальное допустимое расстояние между остановками определяется изготовителем с учетом применяемого типа вертикально-раздвижных дверей. |
|||||
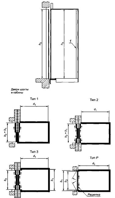
Примечание - типы дверей:
тип 1 - горизонтально-раздвижная телескопическая дверь одностороннего открывания;
тип 2 - горизонтально-раздвижная телескопическая дверь центрального открывания;
тип 3 - горизонтально-раздвижная телескопическая дверь центрального открывания.
Ширина дверного проема меньше ширины кабины;
тип Р - распашные двери шахты и горизонтально-раздвижные решетчатые двери кабины центрального открывания
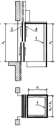
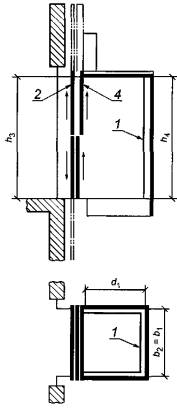
1 - элементы защиты купе кабины; b1 - ширина кабины; b2 - ширина дверного проема; d1 - глубина кабины; h1 - высота дверного проема; h4 - высота кабины
Рисунок 1 - Грузовые лифты. Обозначения размеров кабины и дверного проема, лист 1
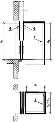
|
Тип 4 Двери шахты: вертикально-раздвижные центрального открывания. Двери кабины: вертикально-раздвижные телескопические, открывание вверх |
Тип 5 Двери шахты: вертикально- раздвижные центрального открывания. Двери кабины: вертикально-раздвижные телескопические, открывание вверх |
Тип 6 Двери шахты: вертикально- раздвижные телескопические открывание вверх. Двери кабины: вертикально-раздвижные телескопические, открывание вверх |
|
|
|
|
b1 - ширина кабины; b2 - ширина дверного проема; d1 - глубина кабины; h3 - высота дверного проема; h4 - высота кабины; 1 - элементы защиты купе кабины; 2 - вертикально-раздвижные двери центрального открывания; 3 - вертикально-раздвижные двери центрального открывания; 4 - вертикально-раздвижные телескопические двери; открывание вверх
Рисунок 1, лист 2
b3 - ширина шахты; b6 - ширина машинного помещения; d2 - глубина шахты; d3 - глубина приямка; d4 - глубина машинного помещения; h1 - расстояние от уровня верхней остановки; h2 - высота машинного помещения; а - двери шахты в соответствии с рисунком 1; b - дверь в машинное помещение (не показана); 1 - машинное помещение; 2 - люк; 3 - верхняя остановка; 4 - нижняя остановка
Рисунок 2 - Электрические грузовые лифты. Обозначения размеров шахты и машинного помещения
b3 - ширина шахты; b4 - ширина машинного помещения; d2 - глубина шахты; d3 - глубина приямка; d4 - глубина машинного помещения; h1 - расстояние от уровня верхней остановки; h2 - высота машинного помещения; а - двери шахты в соответствии с рисунком 1; дверь в машинное помещение (не показана); 1 - машинное помещение; 2 - верхняя остановка; 3 - нижняя остановка
Рисунок 3 - Гидравлические грузовые лифты. Обозначения размеров шахты и машинного помещения
Рисунок 4 - Грузовые лифты категории А с дверями типов 1; 2 и Р (проходные и непроходные кабины), лист 1

Примечания
1 В скобках указаны размеры шахты для проходных кабин.
2 Могут быть применены двери других конструкций. В этом случае размеры шахт могут отличаться от указанных на рисунке.
Рисунок 4, лист 2
* Размеры только для вертикально-раздвижных телескопических дверей типа 6.
Примечания
В скобках указаны размеры шахты для проходных кабин.
Могут быть применены двери других конструкций; в этом случае размеры шахт могут быть другими.
Рисунок 5 - Грузовые лифты категории А с вертикально-раздвижными дверями типов 4, 5, 6 (проходные и непроходные кабины)
* Размеры для лифтов с канатоведущим приводом и гидравлических лифтов непрямого действия.
** Размеры для гидравлических лифтов прямого действия.
*** Размеры для проходной кабины.
Примечания
1 Могут быть применены двери других конструкций; в этом случае размеры шахт могут отличаться от указанных на рисунке.
2 Лифты с дверями типа Р - электрические.
Рисунок 6 - Грузовые лифты категории В с дверями типов 3 и Р, лист 1

* Размеры для лифтов с канатоведущим приводом и гидравлических лифтов непрямого действия.
** Размеры для гидравлических лифтов прямого действия.
*** Размеры для проходной кабины.
Примечания
1 Могут быть применены двери других конструкций; в этом случае размеры шахт могут отличаться от указанных на рисунке.
2 Лифты с дверями типа Р - электрические.
Рисунок 6, лист 2
* Размеры для лифтов с канатоведущим приводом и гидравлических лифтов непрямого действия.
** Размеры для гидравлических лифтов прямого действия.
*** Размеры только для вертикально-раздвижных телескопических дверей типа 6.
Примечание - Могут быть применены двери других конструкций; в этом случае размеры шахт могут быть другими.
Рисунок 7 - Грузовые лифты категории В с вертикально-раздвижными дверями типов 4, 5, 6
[1] ПБ 10-558-2003 Правила устройства и безопасной эксплуатации лифтов
Ключевые слова: грузовые лифты, здания и сооружения различного назначения, основные параметры и размеры