Госстрой СССР
Центральный научно-исследовательский и проектно-экспериментальный институт организации, механизации и технической помощи строительству
УПЛОТНЕНИЕ ГРУНТОВ ОБРАТНЫХ ЗАСЫПОК В СТЕСНЕННЫХ УСЛОВИЯХ СТРОИТЕЛЬСТВА
|
|
МОСКВА СТРОЙИЗДАТ 1981 |
Содержание
Приведены данные по организации, технологии и механизации уплотнения грунтов обратных засыпок, изложены технико-экономические показатели применяемых средств механизации. Рассмотрены вопросы контроля качества уплотнения грунтов. Предложены пути дальнейшего совершенствования и повышения эффективности работы грунтоуплотняющих машин.
Книга предназначена для инженерно-технических работников строительных и проектных организаций.
В "Основных направлениях развития народного хозяйства СССР на 1976-1980 годы", утвержденных ХХV съездом КПСС, поставлена задача - повысить качество строительства и уровень организации строительного производства, увеличить производительность труда на 29-32%, обеспечить существенное сокращение сроков строительства, поднять уровень механизации основных видов работ в строительстве и ускорить внедрение научных достижений в народное хозяйство.
Настоящее справочное пособие призвано помочь в работе тем подразделениям, чья деятельность направлена на реализацию поставленных задач в области уплотнения грунтов обратных засыпок в стесненных условиях промышленного и гражданского строительства. Объем грунта обратных засыпок в стесненных условиях строительства (в пазухах фундаментов, трубопроводов, коллекторов, смотровых колодцев, оснований под полы, в пересечениях различного рода коммуникаций и т.д.) с каждым годом увеличивается, общее же количество и номенклатура грунтоуплотняющих средств весьма ограничены.
Минстройдормаш СССР изготавливает только ручные электротрамбовки. Некоторые типы уплотняющих машин изготавливаются строительными министерствами. Кроме того, в ГДР закупаются в небольшом количестве самопередвигающиеся вибрационные плиты, предназначенные для уплотнения несвязных грунтов.
В связи с этим на большинстве строек, особенно там, где идет круглогодичное строительство с большим объемом земляных работ и где используются связные грунты, уплотнение в стесненных условиях не всегда выполняется качественно. В результате неуплотнения имеют место большие просадки грунтов, вызывающие разрушение искусственных сооружений. Просевшие из-за недоуплотнения грунта участки приходится повторно засыпать (иногда слоем до метра высотой) щебнем, гравием, песком, бетоном и другими дорогостоящими материалами. При этом ремонт не исключает повторения просадок, так как полная стабилизации осадки неуплотненного грунта наступает лишь через многие годы. Не случайно поэтому во всех новых жилых районах можно наблюдать провалы покрытий в местах пересечений дорог с коммуникациями, вокруг смотровых колодцев, пешеходных дорожек, тротуаров, отмосток и пр.
Ежегодные затраты на исправление этих дефектов составляют многие миллионы рублей. Например, только в г. Алма-Ате затрачивается на ремонт свыше 500 тыс. руб. в год.
Другой причиной неуплотнения грунтов обратных засыпок в стесненных условиях строительства является отсутствие разработанной технологии производства этого вида работ (технологических карт и схем), а также какого-либо справочного пособия по этому вопросу.
В нашей стране многие отраслевые научно-исследовательские и учебные институты ведут в настоящее время работы в области механизации, технологии и контроля качества уплотнения грунтов в строительстве.
В работе над книгой приняли участие: канд. техн. наук Л.М. Бобылев, инженеры Т.Е. Власова, Ю.Б. Каневский, Л.Н. Горелов, Н.В. Ларионова, В.П. Горбанев, Л.М. Баненсон (ЦНИИОМТП); канд. техн. наук А.И. До - нонко (МАДИ); кандидаты техн. наук Ю.М. Васильев, М.Н. Костелев, В.И. Иевлев (Ленфилиал Союздорнии); кандидаты техн. наук С.А. Варганов, П.И. Марков (ВНИИстройдормаш); кандидаты техн. наук Н.И, Никишин, А.И. Куликов (ВНИИСМИ); инж. Ю.В. Манжелей, канд. техн. наук А.С. Торбанов (Донецкий Пром - стройниипроект); канд. техн. наук В.А. Шилков, д - р техн. наук В.В. Чепелев (ВИКИ им. А.Ф. Можайского); канд. техн. наук М. М. Журавлев (Союздорнии); канд. техн. наук Ю.П. Кузнецов (РИСИ); кандидаты техн. наук А.С. Фишман, инж.Н.И. Мирошник (ДИСИ): техн. наук А.С. Фишман, инж. Н.И. Мирошник (ДИСИ); канд. техн. наук Б.А. Кулагин (МИСИ); инж. Л.Н. Юдин.
Работа по написанию отдельных пунктов выполнилась: Л.М. Бобылевым написаны предисловие, пп.. 1, 4, 7, 15, 28, 30, 33, 34, 35, 36 и совместно с Ю.М. Васильевым, М.П. Костельевым - п. 2, 3; А.И. Доценко, С.А. Варгановым, П.И. Марковым - пп. 8, 9, 10, 12, 13, 14; Ю.В. Манжелеем - пп. 17, 18, 19, 21; В.В. Чепелевым, Ю.В. Манжелеем - п. 22; М.М. Журавлевым п. 23; А.И. Доценко, Ю.В. Манжелеем, A.С. Горбановым пп. 27, 32; А.И. Доценко - п. 37.
Ю.М. Васильевым, М.П. Костелевым, В.М. Иевлевым написаны пп. 5, 6, 29; Ю.М. Манжелеем - п. 16; Н.И. Никишиным, А.И. Куликовым - п. 11; В.А. Шишковым - п. 38; В.А. Шилковым, Ю.П Кузнецовым - п. 39; Б.А. Кулагиным, Л.Н. Юдиным - п. 24; А.С. Фишманом, Н.И. Мирошниковым, Ю.В. Манжелеем - п. 20; B.П. Горбаневым - пп. 25, 26; А.А. Морозовым - п. 31.
Кроме того, в написании п. 2 участвовал Л.В. Гриншпун, п. 10 - В.П. Горбанев пп. 18, 19, 21, 22, 23 - Т.Е. Власова, Ю.Б. Каневский, Л.Н. Горелов, Н.В. Ларионова, Л.М. Бененсон, С.С. Малышев, Л.А. Зуева, З.Д. Комарова (ЦНИИОМТП); п. 13 - А.П. Перменов (СПИ).
Книга написана под общей редакцией канд. техн. наук Л.М. Бобылева.
Уплотнение грунтов в стесненных условиях во многом определяется технологической спецификой строительных работ: ограниченностью фронта работ, особенностями геометрических элементов земляного сооружения, что практически затрудняет, а иногда и вообще исключает возможность использования обычных машин, применяемых при линейных работах (самосвалы и бульдозеры для обратной засыпки, бульдозеры и грейдеры для послойного разравнивания грунта, катки трамбующие и вибрационные машины для уплотнения грунта).
Уплотнение грунта усложняется наличием в котлованах и траншеях различного рода труб, подземных коммуникаций и сборных элементов, что не позволяет на определенных участках засыпки развивать достаточные усилия, необходимые для достижения требуемой плотности.
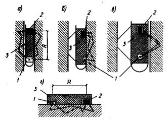
Из общего объема грунта, подлежащего уплотнению в стесненных местах, большая часть приходится на промышленное и гражданское строительство. Здесь большой объем грунта подлежит уплотнению в пазухах фундаментов, трубопроводов, коллекторов, смотровых колодцев, оснований под полы внутри зданий, в пересечениях различного рода коммуникаций и т.д. (рис. 1).
Недостаточное уплотнение грунтов в этих местах приводит к разрушению конструкций строительных сооружений.

Рис. 1. Характерные схемы стесненных мест в строительстве
1 - пазухи между стенками котлованов и фундаментами под колонны; 2 -
пазухи между стенками фундаментов под технологическое оборудование; 3 - пазухи
между стенками котлованов и подпорными стенками; 4 - пазухи между стенками
траншей и трубопроводами; 5 - пазухи между трубами и стенками траншей; 6 -
пазухи между стенками узких траншей (с креплениями и без креплений) под
трубопроводы; 7 - пазухи между стенками траншей и коллекторами; 8 - пазухи
между стенками траншей и смотровыми колодцами; 9 - пазухи под трубопроводами;
10 - засыпка грунта внутри зданий под полы; 11 - пазухи между стенками скважин
котлованов и опорами линий передач; 12 - пазухи между откосами земляного
полотна дорог и опорами мостов и конусов под мостами
На рис. 2 показан характерный пример разрушения отмосток жилых домов вследствие просадки недоуплотненного грунта в пазухах фундаментов.
В транспортном строительстве наиболее характерными стесненными местами являются, сопряжения земляного полотна дорог с мостами и трубами. В этих местах, как правило, наблюдаются просадки покрытий, которые в среднем составляют 0,7-1,5% высоты земляного полотна.

Рис. 2. Разрушение отмостков жилых домов
Наличие просадок дорожных покрытий приводит к снижению скорости и безопасности движения автомобилей, вызывает перерасход топлива и увеличивает себестоимость перевозок.
Для ликвидации просадок у мостов и над трубами эксплуатационные организации ежегодно затрачивают значительные средства на ремонт покрытий. Ровность покрытий восстанавливают выравнивающей асфальтобетонной смесью. В некоторых случаях толщина асфальтобетона в местах просадок вследствие периодических ремонтов покрытия превышает 1 м [1].
Одной из главных причин просадок покрытий у мостов и над трубами является недоброкачественное уплотнение грунта и щебня,
В соответствии со СНиП П-15-74 грунты классифицируются на три основные группы: насыпные (рис. 3), скальные (рис. 4) и нескальные (рис. 5).

Рис. 3. Классификация насыпных грунтов

Рис. 4. Классификация скальных грунтов

Рис. 5. Классификация нескальных грунтов
Обозначения к классификации грунтов показаны на рис. 6.

Рис. 6. Обозначения к классификации грунтов
В зависимости от вида конструкций строительных сооружений (фундаменты, трубопроводы, коллекторы и пр.) в качестве обратных засыпок допускается применять насыпные, скальные и нескальные грунты.
Устойчивость обратных засыпок должна обеспечиваться как в строительный период, так и во время эксплуатации сооружений, путем соблюдения определенных требований, предъявляемых к виду и состоянию применяемых в засыпках грунтов.
Эти требования изложены в общих правилах производства земляных работ для гражданского, промышленного и дорожного строительства (СНиП III-8-76; СНиП III-9-74; СНиП III-10-75; СНиП III-30-74; СНиП III-38-75; СНиП 01-43-75), а также в указаниях и инструкциях, выпущенных Госстроем СССР и строительными министерствами (СН 449-72 и др.).
В соответствии с этими документами, в зависимости от вида и назначения сооружений разрешается использовать для засыпок различные виды грунтов, в том числе содержащие водорастворимые соли в количестве менее 0,3-0,5% по весу и гуммус (не более 5%). При засыпке трубопроводов разрешается использовать грунты, содержащие различные химические стабилизирующие добавки, когда они не являются коррозионными по отношению к материалу трубопровода.
Для обеспечения совместной работы засыпок с земляным сооружением они должны преимущественно выполняться из того же грунта, что и само земляное сооружение. Использование в засыпках привозных грунтов допускается только в том случае, когда их физико-механические свойства близки к свойствам местного грунта и когда это обосновано технико-экономической целесообразностью. При этом учитываются те свойства, которые характеризуют определяющий для этого сооружения вид деформаций грунта в зависимости от условий строительства и погодно-климатических факторов.
Для районов со значительным сезонным промерзанием (I и II, частично III климатические районы по СНиП II-А.6-72) определяющим видом деформации грунта является морозное пучение. Поэтому здесь обоснованием применения привозного грунта для засыпки может служить относительная деформация морозного пучения. Траншеи на городских дорогах можно засыпать грунтом, морозное пучение которого будет близким к морозному пучению грунта земляного полотна.
Для районов с более теплым климатом (III и IV климатические районы) и избыточным увлажнением определяющим видом деформации будет набухание грунта при его водонасыщении. Поэтому привозной грунт можно применять для засыпки траншей в том случае, если относительная деформация набухания этого грунта аналогична величине набухания грунта основного земляного сооружения. Склонность грунта к набуханию оценивают по данным лабораторных испытаний. Ориентировочно она может быть установлена по величине удельной поверхности минеральной составляющей. Последняя определяется в лабораторных условиях различными способами, в частности по адсорбции воздуха.
Во всех случаях запрещается использовать в засыпках грунты, разнородные с грунтом земляного сооружения, без достаточного на то обоснования.
Исключение составляют засыпки конусов и участков сопряжения насыпей с мостами, которые всегда должны выполняться из дренирующего грунта (см. п. 23): гравия, щебня и песка (за исключением пылеватого).
Влажность грунта обратной засыпки должна обеспечивать возможность достижения требуемой плотности и быть такой, при которой требуемая плотность достигается при наименьших затратах труда. Последнее особенно важно при уплотнении грунта обратных засыпок траншей с наличием различного рода трубопроводов и около фундаментов сооружений.
Грунты в зависимости от их влажности (W), определяющей возможность уплотнения, подразделяются на четыре группы:
сухие, W < 0,8¸0,9:Wо, где: Wо - оптимальная влажность по методу стандартного уплотнения (см. п. 29);
оптимально влажные, W = Wо ± 0,1Wо;
повышенной влажности, Wо ± 0,1Wо < W < Wдоп;
переувлажненные, W > Wдоп.
Значение влажности Wдоп определяет ту границу влажности грунтов, до которой они еще могут быть уплотнены до требуемой плотности (табл. 1).
Таблица 1. Допустимые значения влажности грунтов при уплотнении
|
Грунты |
Допускаемая влажность (W/Wо) при коэффициенте уплотнения (см. п. 3) |
|
|
К > 0,98 |
К = 0,95 |
|
|
Пески непылеватые |
Не ограничивается |
|
|
Пески пылеватые, супеси легкие крупные |
1,35 |
1,6 |
|
Супеси легкие и пылеватые |
1,25 |
1,35 |
|
Супеси тяжелые пылеватые суглинки легкие и легкие пылеватые |
1,15 |
1,3 |
|
Суглинки тяжелые и тяжелые пылеватые глины |
1,1 |
1,2 |
Для обеспечения качественного уплотнения следует преимущественно применять оптимально влажные грунты. Применение грунтов повышенной влажности допускается в тех случаях, когда может быть достигнута требуемая плотность. Грунты сухие и особенно переувлажненные (кроме непылеватых песков) для обратных засыпок не допускаются.
Сухие грунты должны быть искусственно доувлажнены, а переувлажненные - высушены.
Плотность грунтов обратных засыпок которые воспринимают нагрузки, должна быть не меньше, чем у грунта в естественном залегании. Недоуплотнение грунта является причиной значительной послепостроечной осадки засыпки, вызывает деформирование и разрушение возведенных на ней инженерных конструкций.
Требуемая плотность грунта, выражаемая объемной массой скелета грунта или коэффициентом уплотнения (К), устанавливается проектом на основании исследований грунта методом стандартного уплотнения (см. п. 29). Под коэффициентом уплотнения грунта понимается отношение требуемой плотности грунта (g) к максимальной стандартной плотности (gмакс):
К = g/gмакс (1)
Максимальная стандартная плотность (gмакс) определяется уплотнением грунта в приборе стандартного уплотнения.
Грунт, засыпаемый в траншеи, расположенные в пределах проезжей части городских дорог, должен уплотняться в соответствии с нормами, разработанными для грунтов земляного полотна магистральных автомобильных дорог (табл. 2). Обратная засыпка траншей, на которые не передаются дополнительные нагрузки (кроме собственной массы), может выполняться без уплотнения грунта, но с отсыпкой валика по трассе траншеи, высота которого должна учитывать последующую возможную естественную осадку грунта засыпки.
Таблица 2. Значение минимального требуемого коэффициента уплотнения К грунтов автомобильных дорог
|
Виды земляного сооружения |
Часть земляного полотна |
Глубина расположения слоя от поверхности покрытия, м |
Усовершенствованные покрытия капитального типа |
Покрытия усовершенствованные, облегченные и переходного типа |
||
|
Дорожно-климатические зоны |
||||||
|
II-III |
IV-V |
II-III |
IV-V |
|||
|
Насыпи |
Верхняя |
До 1,5 |
1-0,98 |
0,98-0,95 |
0,98-0,95 |
0,95 |
|
Нижняя неподтапливаемая |
1,5-6 более 6* |
0,95 0,98 |
0,95 |
0,95 |
0,95-0,9 |
|
|
Нижняя подтапливаемая |
1,5-6 более 6 |
0,98 0,98-0,95 0,98 |
0, 95 0,98 |
0, 95 |
0, 95 |
|
|
Выемки, нулевые места и естественные основания под низкие насыпи |
В зоне промерзания |
До 1,2** |
1-0,98 |
0,98-0,95 |
0,98-0,95 |
0,95 |
|
Ниже зоны промерзания |
До 1,2** |
0,95 |
0,95-0,92 |
0,95-0,92 |
0,9 |
|
*Большие значения коэффициента уплотнения принимаются при цементобетонных и цементогрунтовых покрытиях и основаниях, а также при усовершенствованных облегченных покрытиях.
**В IV-V зонах глубина расположения слоя принимается равной 0,8 м.
В случае одноразмерных песков требуемый коэффициент уплотнения снижается на 0,02-0,03.
Учитывая, что возможность достижения необходимого уплотнения грунта в узких и глубоких траншеях и в других наиболее стесненных местах строительства затруднена, допускается в порядке исключения применять несколько пониженные нормы плотности (табл. 3). Такое незначительное снижение требований к плотности грунтов хотя и несколько повысит деформативность засыпки, но нарушения сплошности покрытия не произойдет, так как асфальтобетонное покрытие допускает некоторый изгиб одежды без остаточных деформаций и трещинообразования.
Таблица 3. Значение минимального требуемого коэффициента уплотнения грунтов К в наиболее стесненных местах автодорожного строительства (узкие траншеи, вблизи трубопроводов, стенок водопроводных труб и др.)
|
Часть земляного полотна |
Глубина расположения слоя от поверхности, м |
Усовершенствованные капитальные покрытия |
Покрытия усовершенствованные, облегченные переходного типа |
|||
|
Дорожно-климатические зоны |
||||||
|
II-III |
IV-V |
II-III |
IV-V |
|||
|
Верхняя |
|
До 1,5 |
0,98-0,95 |
0,95 |
0,95 |
0,95 |
|
Нижняя |
Неподтапливаемая |
|
0,95-0,92 |
0,92 |
0,92 |
0,92-0,9 |
|
|
Подтапливаемая |
Более 1,5 |
0,95 |
0,95 |
0,95 |
0,95 |
Требуемая плотность грунтов в насыпях железных дорог приведена в табл. 4.
Таблица 4. Минимальный коэффициент уплотнения грунтов К насыпей железных дорог
|
Часть насыпи |
Общая толщина уплотняемых слоев для линий, м |
Коэффициент К для линий |
||
|
I,II категорий и вторых путей |
III категории |
I категории и вторых путей |
II,III категорий |
|
|
Верхняя |
1 |
0,5 |
0,98; 0,95* |
0,95; 0,92* |
|
Нижняя |
Зависит от высоты насыпи |
0,95; 0,92* |
0,95; 0,9* |
|
* Для насыпей из одноразмерных песков.
Для обеспечения норм плотностей грунтов в обратных засыпках траншей на городских дорогах рекомендуется уплотнять связные грунты при влажности 0,9-1,1% (Wо), связные и малосвязные грунты при 0,8-1,2% (Wо) среднезернистые и крупные пески при влажности 6-8%. При больших отклонениях влажности уплотнение грунтов становится затруднительным и их следует либо доувлажнять, либо высушивать.
Плотность грунта в теле подушек оснований и фундаментов должна соответствовать объему и массе в плотном сложении: для песков крупных и средней крупности gск ³ 1,65 т/м3, для песков мелких, супесей и суглинков gск ³ 1,6 т/м3 и для шлаков gск ³ 1,5-1,7 т/м3 (см. СН 360-66. М. 1967).
При устройстве подушек в обратных засыпках, служащих основанием фундаментов под оборудование и под полы, плотность должна быть не менее 1,6 т/м3.
Обратные засыпки траншей и фундаментов, на которые, кроме их собственного веса, не передаются дополнительные нагрузки, допускается возводить с плотностью грунта не менее 1,55 т/м3.
Для насыпей подъездных приобъектных путей и обратных засыпок пазух и траншей, являющихся основанием для усовершенствованных дорог и отмосток, плотность грунта должна составлять К = 0,95. Для обратных засыпок пазух и траншей, не являющихся основанием для усовершенствованных дорог и отмосток, К = 0,90.
Методы механического уплотнения грунтов характеризуются принципом воздействия грунтоуплотняющих машин на уплотняемый грунт [2].
Существуют пять основных методов механического уплотнения грунтов: укаткой, вибрированием, вибротрамбованием, трамбованием и комбинированным воздействием.
Метод уплотнения грунта укаткой основан на передаче статического давления от вальцов (или колес) на уплотняемый грунт. Этот метод не нашел применения для уплотнения грунтов обратных засыпок в стесненных условиях строительства по той причине, что статические катки, работающие по этому методу, обладают малой маневренностью и большими габаритами.
Метод уплотнения грунта вибрированием основан на передаче механических гармонических колебаний от рабочих органов (вальца, колеса, плиты, вибробулавы) на уплотняемый грунт. Метод вибрирования подразделяется на поверхностный и глубинный.
Метод поверхностного виброуплотнения грунта характеризуется тем, что во время работы уплотняющий рабочий орган расположен на поверхности грунта и, совершая колебательные движения, воздействует на него.
При глубинном методе уплотняющий рабочий орган во время работы находится внутри грунта.
Поверхностный вибрационный метод нашел применение при уплотнении несвязных и малосвязных грунтов обратных засыпок. Глубинный вибрационный метод можно эффективно использовать при уплотнении песчаных грунтов, особенно находящихся в водонасыщенном состоянии.
В зависимости от основных параметров вибрации которыми являются частота и амплитуда колебаний, вибрационные машины для поверхностного уплотнения грунта могут работать также в виброударном режиме. Амплитуда их колебаний значительно больше, а частота колебаний меньше, чем у вибрационных машин, В этом случае вибрационные машины называются вибротрамбующими, а метод уплотнения вибротрамбованием.
Метод уплотнения грунтов вибротрамбованием нашел применение в строительстве при уплотнении обратных засыпок в стесненных местах.
Метод уплотнения грунта трамбованием основан на передаче уплотняемому грунту ударных нагрузок. В отличие от вибрационного и вибротрамбующего методов этот метод обладает значительно большей энергией удара за счет высокой скорости приложения нагрузки в момент соударения рабочего органа с грунтом, благодаря чему этот метод обеспечивает уплотнение связных и несвязных грунтов слоями большой толщины (практически до 2 м).
Метод уплотнения грунта трамбованием нашел наиболее широкое применение в промышленном строительстве при устройстве грунтовых подушек под основание фундаментов зданий и сооружений, технологическое оборудование и полы. Этот метод применяется также для вытрамбовывания котлованов в просадочных грунтах при устройстве столбчатых фундаментов. Комбинированный метод уплотнения грунтов основан на использовании различного сочетания воздействия на грунт статических, вибрационных, вибротрамбующих и трамбующих нагрузок. Этот метод позволяет уплотнять все виды грунтов и применяется, главным образом, при широком фронте работ.
Основной целью уплотнения грунта является создание компактной и прочной структуры, способной в дальнейшем активно сопротивляться погодно-климатическим воздействиям, которые имеют место во время эксплуатации земляных сооружений. Уплотнение грунта происходит за счет более плотной укладки минеральных частиц и их агрегатов в результате вытеснения воздуха из пор грунта при его деформировании под нагрузкой.
Эффективность уплотнения прежде всего зависит от величины контактного давления рабочего органа уплотняющей машины. При малых контактных давлениях не происходит нужного деформирования и уплотнения грунта. При чрезмерно больших давлениях наблюдается его выпирание из-под рабочего органа без уплотнения. Следовательно, наиболее выгодным с точки зрения максимальной реализации механической энергии будет такое уплотнение, когда контактные давления приближаются к пределу прочности грунта sр, но не превосходят его.
Предел прочности грунта зависит от его вида и состояния, а также от некоторых параметров машин. Наибольшей прочностью обладают грунты, содержащие 10-12% глинистых частиц, т.е. грунты, близкие по своему составу к оптимальным смесям. Предел прочности связных грунтов с уменьшением влажности непрерывно возрастает.
Повышение плотности связных грунтов gмакс 0,8 до 1 ведет к увеличению предела прочности в 2-3 раза и более.
Определенное влияние на пределы прочности оказывают размеры уплотняющего органа, но поскольку эта зависимость носит затухающий характер в тех пределах, которые имеют место для реальных уплотняющих машин, этим влиянием можно пренебречь.
Скорость нагружения также влияет на пределы прочности грунтов, в связи с чем их значения для случая требования выше, чем при укатке.
Для ориентировочного определения продела прочности грунта при уплотнении той или иной машиной можно воспользоваться табл. 5.
Таблица 5. Пределы прочности грунтов при ударном и виброударном нагружении жестким штампом диаметром 0,2-1,2 м
|
Грунт |
Предел прочности грунтов при оптимальной влажности и при плотности (в полях от максимальной стандартной), кН/м2 |
|||||
|
85 |
90 |
92-93 |
95 |
98 |
100 |
|
|
Малосвязный (песчаный, супесчаный, пылеватый) |
150-200 |
250-300 |
350-400 |
450-500 |
600-700 |
800-1000 |
|
Средней связности (суглинистый) |
300-400 |
600-700 |
800-900 |
1000-1100 |
13 00-1400 |
1600-1700 |
|
Высокой степени связности (тяжелосуглинистый) |
400-600 |
900-1100 |
1200-1300 |
1500-1600 |
1800-2000 |
2500-2700 |
|
Весьма связный (глинистый) |
700-800 |
1300-1500 |
1700-1800 |
2000-2200 |
2600-2800 |
3000-3500 |
Примечание. Под пределом прочности грунта понимается такое контактное давление штампа, при котором заканчивается развитие деформации грунта за счет изменения объема и начинается ее развитие без изменения последнего, т.е. в основном за счет пластических сдвигов.
Контактные давления рабочих органов уплотняющих машин обычно принимают такими, чтобы не превышать пределов прочности уплотняемого грунта.
Если контактные давления рабочих органов машин будут ниже 0,9sр, недостаток в напряжении в некоторой степени может быть компенсирован увеличением времени приложения нагрузки либо циклов нагружений.
Однако величина такой компенсации незначительна, и каждому значению контактного давления соответствует определенное предельное значение плотности грунта в активной зоне. Эти продельные значения плотностей следующие:
коэффициент уплотнения 0,9 0,95 0,98 1
максимальное давление в долях от sр 0,2-0,3 0,3-0,4 0,6-0,7 0,8-0,9
Наиболее выгодным является уплотнение грунта в режиме, когда контактные давления близки к пределу прочности грунта и составляют (0,9-1)sр. При этом обеспечивается наилучшая равномерность уплотнения по всей глубине слоя и предельное упрочнение структуры грунта.
В некоторых случаях послойное уплотнение рыхлого грунта лучше вести двумя уплотняющими машинами: сначала легкой, а затем более тяжелой. Кроме повышения степени уплотнения, подобное мероприятие дает и чисто экономический эффект. В связи со снижением потребного числа проходов уплотняющих машин стоимость единицы объема уплотненного грунта будет на 20-30% меньше.
При применении для уплотнения рыхлого грунта сразу тяжелых машин могут происходить периодические разрушения его структуры с волнообразованием при укатке и выпором грунта в стороны при трамбовании. Предварительного уплотнения грунта не требуется, если его начальная плотность превышает 0,9gмакс что имеет место при отсыпке грунта скреперами и тяжелыми автосамосвалами по специально разработанной схеме.
Предельная глубина уплотняющего действия нагрузки составляет (3-3,5)dш, где dш - диаметр штампа, передающего нагрузку [3]. При уплотнении рыхлого грунта толщина отсыпаемого слоя всегда должна быть меньше этой величины. Поскольку грунт отсыпается на уже уплотненное основание, его жесткость влияет на уплотняемость рыхлого слоя, и тем в большей степени, чем меньше его толщина. Наличие жесткого нижнего слоя вызывает выравнивание напряжений по высоте слоя и, при определенной его толщине, напряжения на поверхности и по подошве слоя от рабочей нагрузки практически становятся одинаковыми (рис. 7). В этом случае весь слой грунта будет находиться в зоне равномерного уплотнения.

Рис. 7. Распределение
напряжений в грунте по глубине от нагрузки:
1 - в полупространстве; 2, 3 - в уплотняемом слое
При деформировании грунтового полупространства зона равномерного уплотнения на 10-20% меньше. Зона равномерного уплотнения грунта от рабочей нагрузки обычно называется активной, а ее величина - глубиной активной зоны. В активной зоне реализуется до 80-90% всей необратимой деформации грунта. Величина активной зоны близка к 2dш [3]. При прочих равных факторах глубина активной зоны зависит от величины контактных давлений (рис. 8), влажности и вида грунта. Так, в связных грунтах величина активной зоны на 20-25% ниже, чем в несвязных.

Рис. 8. Зависимость контактного давления от глубины активной зоны
Расчет глубины активной зоны можно вести по формуле Н.Я. Хархуты:
(2)
где Вmin - минимальный поперечный размер поверхности контакта рабочего органа с грунтом;
so, sр - соответственно контактное давление и предел прочности грунта;
a, b - безразмерные постоянные.
Коэффициент a принимается равным 1,7-2 при укатке и 1-1,1 при трамбовании. Показатель степени b зависит от вида грунта, для связных грунтов принимается равным 3,7. Формула справедлива при s £ sр и W £ Wo. Эта зависимость обычно используется для расчета оптимальной толщины слоя при уплотнении грунта различными механизмами. Оптимальной толщиной слоя грунта при его уплотнении считается та величина, при которой требуемая плотность грунта достигается при минимальной затрате механической работы, а производительность машины максимальная и определяется глубиной активной зоны. В этом случае, когда требуемая плотность грунта не превышает 0,95gмакс, оптимальная толщина слоя может быть принята равной глубине активной зоны.
Более высокая плотность грунта (0,98-1gмакс) может быть достигнута обычными уплотняющими средствами только при влажности, близкой к оптимальной. При этом необходимо сделать либо в три раза больше проходов, чем при уплотнении грунта до 0,95gмакс, либо уменьшить толщину отсыпаемого слоя. Наиболее целесообразно принимать ее в 1,5-2 раза меньше глубины активной зоны, так как необходимое число проходов при этом увеличивается только на 20-30%.
Уменьшать толщину отсыпаемого слоя целесообразно также при пониженной влажности грунта.
В табл. 6 приведены предельные плотности грунтов с пониженными влажностями, которые могут быть достигнуты путем повышения контактного давления уплотняющих машин.
Таблица 6. Предельные плотности грунтов с пониженными влажностями
|
Влажность грунта |
Предельно достигаемая плотность К = g/gмакс |
Контактное давление |
|
|
для достижения предельной плотности |
для достижения плотности gмакс |
||
|
1 |
1 |
1 |
1 |
|
0,95 |
1,04 |
2 |
1,2 |
|
0,85 |
1,09 |
5 |
1,5 |
|
0,83 |
1,1 |
5,5 |
1,6 |
|
0,8 |
1,12 |
7 |
1,8 |
|
0,77 |
1,13 |
7,5 |
1,9 |
Примечание. За единицу контактных давлений принят соответствующий оптимальной влажности предел прочности грунта sр.
Уплотнение сухих грунтов до высоких значений плотности наиболее целесообразно вести в южных районах нашей страны, где глубина сезонного промерзания незначительна, а условия увлажнения земляного сооружения благоприятны. В этом случае плотность и высокая прочность грунта остаются стабильными на долгий период и земляное сооружение является хорошим основанием для тяжелых инженерных конструкций, возведенных на нем.
Определенное влияние на структурные свойства грунта оказывает скорость движения уплотняющих механизмов. Так, с повышением скорости укатки с 1,5 до 8 км/ч на 20-30% снижается модуль деформации грунта, в то время как плотность его существенно не меняется, Отсюда для повышения качества уплотнения следует первый и два последних прохода катка делать на малой скорости (до 3 км/ч), а промежуточные проходы - на большой скорости (до 12-15 км/ч).
Накопление пластической деформации грунта связано с числом приложений нагрузки следующей зависимостью (рис. 9):
eн = e1(кlnn + 1), (3)
где e1 - необратимая деформация, развивающаяся при первом нагружении;
к - коэффициент интенсивности накопления деформаций;
п - число нагружении.

Рис. 9. Изменение деформации грунта в зависимости от числа приложений нагрузки
Отсюда по начальной и требуемой плотности можно определить необходимое число нагружений. Но в связи с неопределенностью и чувствительностью расчетного метода его необходимо проверять пробным уплотнением грунта в полевых условиях.
При уплотнении грунтов в стесненных местах наиболее широко используются средства ударного, частоударного и вибрационного воздействия. Метод статической укатки применяется редко вследствие отсутствия надлежащего фронта работ и других технологических ограничений.
Деформация уплотнения грунта при ударном и частоударном приложении нагрузки является функцией не только величины напряжения, но и времени его действия, т.е. уплотнение пропорционально удельному импульсу силы (импульсу напряжения).
Н.Я. Хархутой установлены наиболее эффективные значения предельных удельных импульсов для уплотнения насыпных грунтов до плотности 0,95 от максимальной стандартной [4] , кНс/см2:
грунты малосвязные (песчаные)............................... 0,5-0,7
грунты средней связности (суглинистые)................ 0,7-1,2
грунты высокосвязные (тяжелосуглинистые)......... 1,2-2,0
грунты весьма связные (глинистые)......................... 2,0-2,7
При уплотнении связных грунтов ненарушенной структуры (естестве иного сложения) ударные и частоударные нагрузки должны быть повышены примерно в 1,5 раза, т.е. значения предельных импульсов для таких грунтов должны быть равны 0,5-3,5 кНс/см2.
Все эти величины удельных импульсов определены для грунтов оптимальной влажности. Для недоувлажненных грунтов рекомендуемые импульсы практически недостаточны. В частности, для грунта, имеющего влажность 80-85% оптимальной, рекомендуемые нагрузки нужно увеличить примерно в полтора раза.
Таким образом, для эффективного уплотнения необходимо выбирать значение ударной и частоударной нагрузки, а следовательно, и машины сообразно виду и состоянию грунта.
Как установлено экспериментальным путем, толщина уплотняемого слоя грунта зависит от размера основания рабочего органа в плане. Под толщиной или глубиной уплотнения подразумевается такая глубина, на которой достигается требуемая плотность.
По исследованиям и практическим данным оптимальная глубина ударного уплотнения для глинистых насыпных грунтов равна 1-1,2dш, суглинистых - 1,2-1,4dш и для песчаных - 1,4-1,7dш.
Ввиду того, что в различных областях строительства приняты различные нормы плотности (наиболее высокие в дорожном строительстве), меньшие значения относятся к коэффициенту уплотнения 0,97-0,98, большие - к 0,95. Для грунтов естественного сложения глубина уплотнения будет ниже на 20-30%, чем для насыпных.
Однако толщина уплотнения, заданная размерами основания рабочего органа машины, может быть реализована лишь в том случае, если уплотняющие ударная или частоударная нагрузки соответствуют требуемой. При снижении нагрузки глубина уплотнения уменьшается.
Совершенно очевидно, что один и тот же по величине удельный импульс может характеризоваться незначительным напряжением и длительным временем действия или, наоборот, большой амплитудой напряжения и малой продолжительностью действия.
Как первое, так и второе не может не отразиться на результатах уплотнения. Правда, степень влияния самого напряжения и времени его действия на величину деформации грунта, по-видимому, неравноценна. Основная роль принадлежит напряжению, а влияние фактора времени в одних случаях (несвязные грунты) будет второстепенным, а в других случаях (связные грунты) будет довольно значительным. Это следует из реологических свойств грунтов.
Иными словами, для развития необходимой деформации уплотнения грунта напряжение от внешней нагрузки и время его действия не должны быть меньше каких-то пределов, которые возрастают с повышением связности грунта. Эти пределы будут вполне определенными, если требуемое ударное воздействие задавать не одной величиной удельного импульса силы, а двумя величинами одновременно - минимальным значением удельного импульса и необходимой амплитудой напряжения.
Общее напряженное состояние и затухание по глубине максимальных контактных напряжений обусловливают развитие и степень проникания в глубь грунтового массива деформации уплотнения. Вследствие этого плотность грунта на какой-то глубине будет определяться соотношением между возникающими и требуемыми напряжениями.
По результатам многочисленных исследований и практического опыта установлено, что для обеспечения качественного уплотнения грунта ударным, частоударным и виброударным способом на заданную глубину до требуемой плотности необходимо соблюдать следующие условия:
возникающее на поверхности максимальное напряжение sо не должно быть ниже 90% и выше 100% предела прочности грунта sр, т.е. 09sр £ sо £ sр;
внешний удельный импульс удара i не должен быть меньше предельного iр для данного вида грунта, т.е. i ³ iр;
на заданной глубине вертикальное сжимающее напряжение от внешней нагрузки sz не должно быть меньше величины [sz], обеспечивающей требуемую плотность грунта: по практическим данным sz может быть выражено в долях от предела прочности грунта sр. Для плотности 0,9: 0,95: 0,98 и 1 можно принять соответственно равным 0,1-0,12; 0,15-0,25; 0,4-0,5 и 0,6-0,7, т.е. sz ³ сsр.
Несоблюдение одного из условий повлечет за собой уменьшение как деформации и плотности грунта, так и глубины уплотнения. Попытка компенсировать это несоблюдение за счет числа циклов нагружений (ударов) может в одних случаях (если отклонения от условий незначительные) потребовать экономически невыгодной продолжительности производства работ, а в других случаях (когда отклонения существенны) требуемое уплотнение грунта вообще не будет достигнуто.
Удовлетворение этих условий не представит затруднений, если известны величины внешней ударной или часто ударной нагрузки (удельный импульс силы), возникающие на поверхности грунта напряжения, и закономерность их затухания по глубине уплотняемого грунта. Величина удельного импульса обычно задается через параметры рабочего органа (массу или вес, ударную скорость и площадь контакта с грунтом).
Максимальное контактное давление ударного или частоударного уплотняющего механизма зависит не только от величины удельного импульса и деформативной реакции грунта, учитываемой через время удара, но также и от "остроты" или "агрессивности" ударного воздействия (качественной характеристики импульса), которая определяется соотношением между его основными параметрами.
Такими параметрами являются скорость удара vУА , удельное
статическое давление qCT
и размеры основания рабочего органа a или
, где F
- площадь основания. Оценивается характер импульса при расчете максимальных
контактных напряжений безразмерным коэффициентом а, входящим в выражение
(4)
где sо - максимальное напряжение на контакте рабочего органа с грунтом, кН/м2;
t - время удара, с;
- удельный
импульс силы удара, кНс/м2;
g - ускорение свободного падения, м/с2;
qCT - удельное статическое давление рабочего органа, кН/м2;
vУД - скорость удара, м/с.
Многочисленные экспериментальные данные по ударному и частоударному уплотнению показывают, что распределение напряжений по глубине уплотнимого слоя в относительных единицах подчиняется кривой вида
(5)
где sz=0 - напряжение на поверхности (на контакте рабочего органа с грунтом);
sz - вертикальное сжимающее напряжение в точке грунта;
k - коэффициент интенсивности затухания напряжений по глубине.
Интенсивность затухания напряжений по глубине определяется той же качественной характеристикой нагружения vУД/qCT, с возрастанием которой интенсивность или степень затухания увеличивается, т.е. чем более "острый" импульс воздействует на поверхность грунта, тем больший перепад напряжений на глубине и выше коэффициент k (рис. 10).

Рис. 10. Зависимость коэффициента затухания напряжений в грунте по глубине от параметров ударной нагрузки
Число ударов или нагружений по одному следу ударного рабочего органа можно найти по формуле
(6)
где z - толщина уплотняемого слоя;
zo - оптимальная толщина слоя, т.е. толщина, при которой требуемая плотность достигается при минимальной затрате механической работы;
i и iр - значения действительного и предельного импульсов напряжения;
b - коэффициент, зависящий от требуемой плотности грунта К = g/gмaкc :
|
Требуемая плотность грунта |
Грунт |
|
|
связный |
несвязный |
|
|
0,95 |
4 |
2 |
|
0,98 |
7 |
4 |
|
1 |
14 |
10 |
При вибрационном методе уплотнения грунтов обратных засыпок в стесненных местах чаше всего используются виброплиты. Характер и амплитуда колебаний виброплиты зависят от отношения амплитудного (максимального) значения возмущающей силы Р к ее силе тяжести Q.
При определенном соотношении P/Q = aк, которое иногда называют критическим, колебания виброплиты качественно изменяются. Они сопровождаются отрывом плиты от поверхности грунта с последующими ее ударами о грунт. Такие отрывы и удары наблюдаются, как правило, при a > aк. Однако они могут иметь место и при a < aк вследствие запаздывания в развитии деформации грунта, но если отрыв незначителен, он не оказывает заметного влияния на характер движения вибромашины
Поэтому при a < aк машины принято относить к вибрационным, а при a > aк к вибротрамбующим.
Следует заметить, что большая часть вибромашин для уплотнения грунта работает в вибротрамбующем режиме и характеризуется отношением Р/Q.
Критическое отношение P/Q зависит от частоты вибратора [3]:
Частота колебаний, Гц 12-25 25-30 50-85
Значение P/Q 0,7-1 1-1,4 1,4-2,3
При вибротрамбующем режиме работы машины уплотнение грунта происходит как за счет развивающихся при ударе напряжений, так и за счет колебательных движений частиц грунта. Отличают эти вибромашины от ударных и частоударных уплотнителей небольшие импульсы ударов и высокая их частота.
Анализ испытаний реальных вибромашин и результаты многочисленных экспериментов дали возможность установить величины минимальных статических давлений qСТ виброплит, при которых по всей толщине заданного слоя грунта zупл достигается максимальная стандартная плотность. Значения qСТ кг/см3:
Переувлажненный песок..................................................... 0,03-0,05;
Песок оптимальной влажности........................................... 0,08-0,12;
Слабосвязный грунт оптимальной влажности.................. 0,15-0,25;
Среднесвязный грунт оптимальной влажности................. 0,3-0,4,
Аналогичным путем установлены минимальные значения a = P/Q для разных удельных статических давлений виброплит (кг/см2), относящиеся к частоте колебаний 40-50 Гц:
|
Удельное статическое давление, кг/см |
Минимальное значение a при толщине уплотняемого слоя |
|
|
0,5Вmin |
1Вmin |
|
|
0,04 |
10 |
- |
|
0,05 |
7 |
- |
|
0,06 |
4 |
- |
|
0,15 |
2 |
- |
|
0,2 |
- |
10 |
|
0,24 |
- |
7 |
|
0,4 |
- |
5 |
Здесь Bmin - минимальный поперечный размер контакта основания вибратора с грунтом.
Максимальное контактное давление рабочего органа вибромашины на поверхность грунта можно найти по формуле [4].
(7)
где F - площадь контакта вибромашины с грунтом;
bпр - коэффициент, определяемый по опытным данным, отображает увеличение контактного давления за счет динамики вибромашины.
Эта зависимость затухания максимальных контактных давлений по глубине грунта может быть распространена как на ударные, так и на частоударные и виброударные нагрузки.
Частоты колебаний виброплит назначаются в зависимости от их массы. Посредством статической обработки параметров более чем ста моделей отечественных и зарубежных виброплит В.Н. Владимировым построен график зависимости частоты колебаний от массы виброплиты, который и может быть использован для назначения этого параметра (рис. 11).

Рис. 11. Изменение частоты вынужденных колебаний в зависимости от массы вибрационной плиты
С точки зрения обеспечения качественного уплотнения грунта важным является правильный выбор скорости перемещения и необходимое число проходов виброплиты по одному и тому же следу. Эти два показателя взаимосвязаны, так как для реализации требуемой плотности грунт необходимо подвергать вибрированию вполне определенное время или приложить к нему заданное количество циклов нагрузки. Время вибрирования (или количество циклов нагружений) зависит от вида и состояния грунта, а также от параметров виброплиты и прежде всего от тех контактных давлений, которые виброплита развивает.
В процессе уплотнения грунта следует обеспечивать требуемое число циклов нагружений [3] .
Необходимую продолжительность вибрирования tвиб можно определить по формуле
(8)
где с - требуемое число циклов нагружений;
f - частота колебаний, Гц.
Число проходов виброплиты по одному следу можно найти из выражения
(9)
где v - скорость перемещения виброплиты;
В - размер опорной плиты вибромашины в направлении ее перемещения.
Опыт эксплуатации виброплит показывает, что скорость перемещения виброплиты следует назначить такой, чтобы при п = 2-3 обеспечивалось требуемое tвиб или c.
Для уплотнения грунтов в стесненных условиях строительства в отечественной и зарубежной практике применяются (рис. 12):
малогабаритные самоходные виброкатки;
самопередвигающиеся виброплиты и вибротрамбовки;
подвесные на: кране виброплиты и вибротрамбовки;
управляемые вручную механические трамбовки;
взрывтрамбовки;
сменное навесное грунтоуплотняющее оборудование к гидроэкскаваторам;
подвесные на экскаваторах и кранах трамбовки со свободным падением;
трамбующие машины на самоходном шасси;
глубинные вибраторы.

Рис. 12. Классификация машин для уплощения грунта в стесненных условиях строительства
Используя эти машины или применяя их в различном сочетании, можно обеспечить механизацию уплотнения грунтов в стесненных условиях строительства и требуемую производительность труда.
По виду воздействия на уплотняемый материал грунтоуплотняющие машины для стесненных условий подразделяются на машины ударного, вибрационного и виброударного действия.
По способу передвижения они подразделяются на:
самородные (виброкатки и трамбовочные машины на самоходном шасси) и самопередвигающиеся (управляемые вручную виброплиты, вибротрамбовки, трамбовки и взрывтрамбовки);
переставляемые с одной позиции на другую (подвесные на кране виброплиты, вибротрамбовки, трамбовки со свободным падением и сменное навесное к гидроэкскаваторам грунтоуплотняющее оборудование).
Из всех грунтоуплотняющих средств для стесненных условий самоходные вибрационные катки и самопередвигающиеся виброплиты являются наиболее высокопроизводительными машинами, а по части стоимости машино-смены - наиболее дешевыми. Однако эти машины особо требовательны к качеству планировки грунта, которую в стесненных условиях строительства проводить весьма затруднительно.
В некоторых случаях, например при уплотнении грунта в узких траншеях и в местах сложных по конфигурации котлованов, когда применение виброкатков и виброплит становится практически невозможным, уплотнение производится преимущественно управляемыми вручную трамбовками.
Практика показала, что работа с управляемыми вручную трамбовками приводит к быстрой утомляемости оператора, вследствие чего снижается его производительность труда. Поэтому в этих случаях эффективнее применять подвесные на экскаваторах и кранах трамбовки со свободным падением груза или подвесные вибротрамбовки с электрическим приводом или от двигателя внутреннего сгорания.
Широкое распространение за последние годы экскаваторов с гидравлическим приводом позволило успешно применять для уплотнения грунта в особо труднодоступных местах сменное грунтоуплотняющее оборудование к ним. Некоторые модели этих машин позволяют уплотнять также и наклонные поверхности грунта в значительном (на величину вылета стрелы) удалении от экскаватора.
Малогабаритные самоходные виброкатки с гладкими металлическими вальцами предназначены для уплотнения грунта вблизи стен, фундаментов, трубопроводов, в траншеях и других стесненных местах. Кроме того, они нашли широкое применение для уплотнения асфальто-бетонных, гравийно-щебеночных и других материалов при выполнении мелких строительных и ремонтных работ.
Поэтому эти катки должны обладать высокой маневренностью и иметь небольшие габаритные размеры. Малогабаритные виброкатки для уплотнения грунта изготавливаются одновальцовые с поддерживающим роликом и двухвальцовые двойного действия.
Одновальцовые виброкатки с ручным управлением, с приводом, в основном от двигателя внутреннего сгорания, установленного на раме катка.
Одновальцовый каток состоит из вибровальца, рамы, с поддерживающим роликом дышла, трансмиссии, рычагов управления, системы упругой подвески (рис. 13). Каток оборудован устройствами для смачивания и очистки рабочей поверхности вальца от налипшего уплотняемого материала.

Рис. 13. Одновальцевый виброкаток
1 - валец: 2 - рама: 3 - опорный ролик: 4 - дышло
Валец сварной конструкции. Внутри вальца установлен дебалансный возбудитель колебаний. Привод катка и вибровозбудителя осуществляется от двигателя внутреннего сгорания. На катке установлена двухскоростная коробка передач. На дышле расположены рычаги управления катком, переключения реверса, включения вибратора, управления тормозом, выключатель зажигания.
Одновальцовый виброкаток обладает высокой маневренностью и может быть использован при уплотнении материалов в траншеях и других узких местах, где применение других машин затруднено. Для перевозки катка с объекта на объект предусмотрена транспортная тележка, представляющая одноосный прицеп на пневматических шинах. Каток можно перевозить в прицепе к любому грузовому автомобилю или другому тягачу. Подобные средства для транспортировки катков особенно необходимы при сравнительно небольших объемах работ, расположенных на больших расстояниях друг от друга.
Техническая характеристика одновальцового виброкатка Д-684
|
Масса катка, кг: |
|
|
с балластом |
683 |
|
без балласта |
600 |
|
Мощность двигателя, Вт |
10,9 |
|
Вынуждающая сила, Н |
16200 |
|
Частота колебаний, Гц |
66 |
|
Амплитуда колебаний, мм |
0,4 |
|
Диаметр вальцов, м |
0,62 |
|
Скорость движения, км/ч: |
|
|
1 передача |
1,4 |
|
2 передача |
2,8 |
|
Габаритные размеры, м.: |
|
|
длина |
2,8 |
|
ширина |
0,74 |
|
высота |
1,02 |
Самоходные одновальцовые и двухвальцовые виброкатки получили широкое распространение за рубежом. Особенно большое распространение они получили в ФРГ. За рубежом выпускаются самоходные одновальцовые виброкатки с ручным управлением массой от 250 до 2000 кг.
Обычно на виброкатках устанавливаются дизельные двигатели с воздушным охлаждением и с отбором мощности с обеих сторон коленчатого вала, что значительно упрощает кинематическую схему. С одного конца коленчатого вала осуществляется отбор мощности для привода вибратора, а с другой - для привода катка. Трансмиссии малогабаритных самоходных виброкатков изготавливаются в основном механические. Рулевое управление виброкатков ввиду их небольшой массы преимущественно механическое.
Частота колебаний вибровальцов составляет 20-75 Гц. На многих катках частоту колебаний можно изменять за счет изменения числа оборотов двигателя, а также путем применения специальных вариаторов.
При проектировании виброкатков следует принимать рабочие скорости движения в интервале от 1 до 4 км/ч. Наибольшая производительность виброкатков достигается при скорости движения около 1,5 км/ч, частоте колебаний в пределах 50-60 Гц и амплитуде колебаний 0,4-0,8 мм.
За последние годы за рубежом получили распространение самоходные виброкатки со сдвоенными вибровальцами. На одной охватывающей раме установлены параллельно друг другу два вальца.
На рис. 14 показана работа сдвоенного двухвальцового виброкатка. В каждый валец вмонтирован возбудитель с круговыми колебаниями, представляющий собой вал с дебалансами.

Рис. 14. Принцип работы виброкатка со сдвоенными вибровальцами
Дебалансы одного вальца смешены относительно другого на 180°.
Валы с дебалансами вращаются навстречу друг другу таким образом, что вальцы попеременно воздействуют на уплотняемый материал. При этом горизонтальные усилия вибровозбудителей уравновешены. Поэтому уплотняемой поверхности передаются только вертикальные колебания. Вращение дебалансных валов синхронизировано при помощи плоскозубчатой передачи.
Вибровозбудители приводятся одним двигателем, установленным сверху вальцов на специальной раме, опирающейся на основную раму. Подвеска вибровальцов к раме выполнена на резинометаллических амортизаторах.
Управление катками осуществляется с помощью дышла или штурвала.
Некоторые зарубежные фирмы выпускают специальные катки для уплотнения грунта в траншеях с автоматическим управлением. Движение катка осуществляется по направлению каната, натянутого вдоль траншеи, и в конце траншеи автоматически переключается на обратное. Управление может быть легко заменено на ручное путем быстрого монтажа дышла. Двигатель катка установлен между вальцами, что обеспечивает малую габаритную высоту и возможность проезда под элементами конструкций траншей.
Отрывка траншеи часто ведется в условиях повышенной влажности от притока грунтовых вод и действия атмосферных осадков. В этих условиях наблюдается буксование гладких металлических вальцов катка. Многие фирмы выпускают для этих условий траншейные катки повышенной проходимости. Это обеспечивается приваркой на поверхности вальца двух рядов диагональных ребер под углом друг другу. Наличие ребер повышает преодолеваемый подъем с 25 до 35% с вибрацией и с 45 до 55% без вибрации.
Уплотнение грунта в траншее ведется челночным способом.
При большой ширине траншеи работу выполняют в направлении от ее края к середине. После уплотнения полосы у одного края траншеи уплотнитель переводят на другой край. Движение уплотнителя выполняется таким образом, чтобы следы от каждого прохода перекрывались. С целью равномерного уплотнения слой грунта при обратной засыпке должен разравниваться.
По своей конструкции виброплиты обычно состоят из уплотняющей плиты с жесткозакрепленным вибровозбудителем, подмоторной рамы с двигателем, на которой закреплена рукоять управления или крановая подвеска, амортизационная пружина и системы привода вибратора (рис. 15).

Рис. 15. Самопередвигающаяся виброплита
1 - уплотняющая плита; 2 - вибратор; 3 - подмоторная рама; 4 - двигатель; 5 -
рукоять управления
Все конструкции виброплит имеют двухмассовую систему. Двигатель, передача и подмоторная плита образуют верхнюю массу, а уплотняющая плита и возбудитель колебаний - нижнюю. Обе массы между собой соединены посредством пружин, которые одновременно защищают узлы и детали верхней массы от действия вибрации.
Направляющая рукоятка установлена в специальных амортизаторах, благодаря чему она не подвержена вибрации.
Двухмассовые вибраторы изготавливают в двух модификациях - с центральным расположением возбудителя колебаний и внецентренным. Последний находится в передней части плиты. Вибраторы с центрально установленным возбудителем колебаний используются для виброплит; имеющих реверсивность хода (вперед, назад), а внецентренные вибраторы работают только в одном направлении (вперед). У виброплит с внецентренным возбудителем амплитуда колебаний в передней части больше и постепенно уменьшается в задней ее части. Более высокая амплитуда в передней части виброплиты является выгодным для преодоления неровностей грунта при ее перемещении. В вибраторах с реверсивностью хода установлены два противофазных дебаланса в качестве возбудителей, создающих направленные колебания. Перемещение виброплиты вперед происходит тогда, когда равнодействующая сила направлена под углом 45° вверх, а уплотнение, когда сила направлена под углом 45° вниз.
В современных вибрационных плитах широкое использование получил дебалансный вибрационный привод. Основные схемы дебалансных вибровозбудителей, встречающихся в машинах для уплотнения грунта, приведены на рис. 16.

Рис. 16. Основные схемы дебалансных
возбудителей колебаний в виброплитах:
а) одновальный с одним небалансом; б) одновальный с двумя дебалансами; в)
двухвальный с двумя дебалансами; г) одновальный направленного действия; д)
маятниковый; е) одновальный специального типа; ж) двухвальный направленного
действия
Вибровозбудители, возбуждающие круговые колебания (рис. 16,а), состоят из вала с закрепленным на нем дебалансом и корпуса, который крепится к уплотняющей плите. Вынуждающая сила в этом случае, сохраняя свою величину, за каждый оборот вала периодически меняет направление на 360°, а величина ее вертикальной составляющей изменяется по синусоидальному закону.
При необходимости изменять величину вынуждающей силы на одном валу вибровозбудителя закрепляются два одинаковых дебаланса (рис. 16,б), причем угол между ними можно регулировать в пределах 0-180°. Вынуждающая сила в этом случае равна геометрической сумме центробежных сил дебалансов, и при изменении угла от 0 до 180° вынуждающая сила меняет свою величину от максимального значения до минимального.
Широкое распространение имеет схема двухвального вибровозбудителя направленного действия (рис. 16,в). По этой схеме дебалансные валы связаны между собой шестеренной передачей и вращаются в противоположные стороны с одинаковым числом оборотов. В этом случае вынуждающая сила, равная геометрической сумме центробежных сил дебалансов, всегда направлена в определенном направлении (в данном случае, как показано на рис. 16,в, в вертикальном направлении, так как горизонтальные составляющие центробежных сил дебалансов взаимно уравновешиваются). По этой схеме были выполнены отечественные самопередвигающиеся виброплиты Д-604, Д-605 и Д-639.
На рис. 16,г представлена схема одновального вибровозбудителя направленного действия. Здесь дебалансы вращаются в разные стороны с одинаковой абсолютной угловой скоростью. В этом случае геометрическая сумма центробежных сил дебалансов, равная вынуждающей силе, направлена в одном направлении. Эти вибровозбудители более компактны по конструкции (хотя и сложнее) и меньше по габаритам, чем двухвальные вибровозбудители направленного действия. Вибровозбудитель маятникового типа (рис. 16,д) при определенных условиях также создает направленные колебания. Он представляет собой одновальный вибровозбудитель, шарнирно прикрепляемый к опорной плите в виде маятника. Маятник, установленный под некоторым углом к вертикали, при колебаниях передает опорной плите составляющую вынуждающей силы, неизменно направленную под тем же углом. Если маятник подвешен в центре качания, в шарнире не возникает поперечной реакции.
В некоторых виброплитах источником направленных колебаний служит одновальный вибровозбудитель специального типа (рис. 16,е). Средние дебалансы, свободно посаженные на вал на подшипниках благодаря зубчатому дифференциалу, вращаются в направлении, противоположном направлению вращения крайних дебалансов, закрепленных жестко на валу. Таким путем достигается направленность действия вынуждающей силы. Эта конструкция вибровозбудителя позволяет оператору на ходу изменять положение средних дебалансов относительно наружных дебалансов поворотом сателлитов с помощью червячных передач. Последние через карданные валы управляются штурвалом. Такая конструкция обеспечивает возможность передвижения машины вперед, назад и позволяет осуществлять повороты в любую сторону в зависимости от желания оператора. По этой схеме выполнен вибровозбудитель на виброплите, разработанный ВНИИстройдормашем.
На рис. 16,ж схематически показано устройство для самопередвижения. В этом случае вибровозбудитель направленных колебаний (или два вибровозбудителя, каждый в своем корпусе) крепится к опорной плите так, чтобы он мог наклоняться под некоторым углом к ее поверхности. При вертикальном положении оси корпуса вибровозбудителя вынуждающая сила будет направлена по вертикали и виброплита не будет передвигаться в горизонтальном направлении. При наклоне оси вибровозбудителя на некоторый угол появится горизонтальная составляющая вынуждающей силы, которая и заставит виброплиту передвигаться.
В случае установки на опорной плите двух вибровозбудителей при наклоне их корпусов в разные стороны, горизонтальные составляющие вынуждающих сил образуют пару сил в горизонтальной плоскости, в результате чего виброплита начнет поворачиваться в соответствующую сторону.
Виброплиты с круговыми колебаниями по своей конструкции проще, но в силу некоторых недостатков (малая маневренность, отсутствие реверсивности движения, ручное управление) уступают виброплитам с направленными колебаниями.
Для привода вибровозбудителя обычно используются двигатели внутреннего сгорания с воздушным охлаждением, однако в некоторых случаях, когда это экономически целесообразно, возможно и использование электродвигателей. Многие зарубежные фирмы с целью унификации отдельных сборочных единиц машин используют одни и те же двигатели на разных типах виброплит.
Для транспортировки на строительном объекте или на небольшие расстояния на виброплитах предусматриваются быстросъемные пневмоколеса.
Виброплиты с направленными колебаниями имеют возможность реверсивного движения, а при соединении их в ряд по 2-3 шт. в один агрегат они могут разворачиваться в разные стороны, без усилий оператора за счет момента сил от горизонтальных составляющих возмущающей силы.
В связи с рекомендациями, принятыми органами СЭВ, в Советском Союзе, виброплиты в настоящее время серийно не выпускаются. На производстве виброплит специализируются ГДР, НРБ, ПНР, СРР, которые экспортируют эти машины и в СССР.
Практикой установлено, что при вибрационном воздействии на грунт, создаваемом виброплитами, эффективнее уплотняются несвязные и малосвязные грунты. Эффективность виброплит при уплотнении связных грунтов значительно снижается.
Дальнейшее совершенствование конструкции виброплит в направлении увеличения их уплотняющей способности за счет перехода от вибрационного режима к виброударному привело к появлению виброударных машин. За последние годы в Советском Союзе для уплотнения связных грунтов были разработаны уплотнители виброударного действия, как, например, вибротрамбовка ВУТ-3 (рис. 17), ВУТ-4, ВУТ-5.

Рис. 17. Вибротрамбовка ВУТ-3
1 - вибровозбудитель; 2 - кнопка пуска; 3 - пульт управления; 4,5 - кабель
Вибротрамбовки ВУТ представляют собой разновидность виброплиты и предназначены для уплотнения связных грунтов в стесненных условиях промышленного, гражданского и гидротехнического строительства.
Вибротрамбовка состоит из центробежного вибровозбудителя направленного действия, установленного на корытообразной плите, электрокабеля, пульта управления и кнопки пуска. Электрический вибровозбудитель включает в себя два встроенных электродвигателя, на оси которых установлены дебалансы.
Вибровозбудитель устанавливается на плите под углом 18° к горизонту вдоль продольной оси вибротрамбовки. При одновременном включении двух электродвигателей горизонтальная составляющая вынуждающей силы будет направлена вдоль продольной оси вибротрамбовки и осуществит ее перемещение по прямой с продольным уклоном уплотняемой поверхности 12-15°. Поворот вибротрамбовки в ту или другую сторону осуществляется выключением соответствующего электродвигателя (например, поворот налево за счет выключения левого электродвигателя). Так как горизонтальная составляющая вынуждающей силы приложена эксцентрично по отношению продольной оси вибротрамбовки, создается момент сил, осуществляющий ее поворот.
Кнопка пуска обеспечивает дистанционное управление вибротрамбовкой при работе и представляет собой ртутный переключатель, замыкающий контакты магнитных пускателей, установленных в пульте управления. Последний при помощи кабеля соединен с электродвигателями вибротрамбовки.
Техническая характеристика ВУТ-3
|
Энергия удара, Дж |
500 |
|
Частота колебаний, Гц |
24 |
|
Вынуждающая сила, Н |
32000 |
|
Мощность электродвигателя, кВт |
5,6 |
|
Число электродвигателей, шт. |
2 |
|
Глубина уплотнения связных грунтов, м |
0,25-0,3 |
|
Производительность, м3/смена |
80-100 |
|
Габаритные размеры трамбовки, мм: |
|
|
длина |
930 |
|
ширина |
550 |
|
высота |
640 |
|
Масса трамбовки, кг |
310 |
|
Завод - изготовитель |
ЦРМЗ Волгоградгидрострой |
Шведская фирма "Дюнапак" изготавливает специальные виброплиты для уплотнения грунта в траншеях под трубопроводы. Одновременное уплотнение грунта с двух сторон трубопровода устраняет его сдвижку.
Задача механизации уплотнения грунта в глубоких траншеях и котлованах расширяется путем, применения виброплит и вибротрамбовок, навешиваемых при помощи каната на стреле крана.
Оригинальная конструкция подвесной вибротрамбовки ПВТ-3 массой 2600 кг разработана институтом ЦНИИОМТП (рис. 18).

Рис. 18. Общий вид подвесной вибротрамбовки ПВТ-3
В отличие от традиционных схем дебалансных вибровозбудителей, применяемых в виброплитах, на вибротрамбовке ПВТ-3 применена кинематическая система возбуждения колебаний,
Вибротрамбовка ПВТ-3 подставляет собой массивный корпус, в расточках которого установлены подшипники двух эксцентриковых валов (рис. 19). Трамбующая плита площадью 0,64 м2 имеет по сравнению с корпусом незначительную массу и приводится в движение от эксцентриковых валов, оснащенных катками, обкатывающимися по поверхности плиты.

Рис. 19. Схема подвесной вибротрамбовки ПВТ-3
1 - корпус; 2 - вал эксцентриковый; 3 - плита трамбующая; 4 - электродвигатель;
5 - кожух; 6 - шкаф управления
Привод вращающихся в противоположные стороны эксцентриковых валив осуществлен от двух электродвигателей общей мощностью 11 кВт через клиноременную передачу. Питание электродвигателей осуществляется от внешней сети при помощи кабеля. Полость между корпусом и плитой защищена от попадания грязи кожухом с резиновой прокладкой. Жестко связанные с плитой вертикальные направляющие обеспечивают прямолинейное движение плиты.
Наличие гибкой связи - каната в подвеске надежно защищает базовый край от вибрации во время работы трамбовки, которая свободно опускается на грунт. При подъеме трамбовки специальное устройство отключает электродвигатели и вибрация прекращается.
Управление вибротрамбовкой осуществляется с помощью шкафа управления, установленного в кабине экскаватора или крана.
Техническая характеристика вибротрамбовки ПВТ-3
|
Масса, кг |
2300 |
|
Частота колебаний, Гц |
6 |
|
Мощность двигателя, кВт |
11 |
|
Площадь уплотняющей плиты, м |
0,64 |
|
Габариты, мм: |
|
|
длина |
1000 |
|
ширина |
1000 |
|
высота |
1190 |
|
Толщина уплотняемого слоя грунта, м: |
|
|
связного |
0,6 |
|
несвязного |
0,8 |
|
Производительность, м3/ч |
50-80 |
|
Завод - изготовитель |
завод опытных конструкций и оборудования (ЗОКИО) ЦНИИСК им. Кучеренко |
Для уплотнения песчаных грунтов обратных засыпок пазух подпорных стенок набережных речных портов нашли применение подвесные (к кранам) виброплиты, оснащенные вибраторами типа ВПП-2А, (рис. 20) ВПП-4, ВПП-5 и ВПП-6.
Технические характеристики вибраторов
|
Тип |
ВПП-2 |
ВПП-3 |
ВПП-5 |
ВПП-6 |
|
Длина и ширина, мм |
2500´1800 |
2000´1500 |
1800´1300 |
1500´1200 |
|
Высота с вибратором, мм |
1450 |
1300 |
1050 |
1180 |
|
Общая масса, кг |
2650 |
1500 |
1,5 |
0,95 |
|
Частота вибрации, Гц |
25 |
25 |
25 |
20 |
|
Максимальная возмущающая сила, кН |
250000 |
140000 |
88000 |
62000 |

Рис. 20. Подвесная виброплита ВПП-2А
В СССР подвесные на кране виброплиты и вибротрамбовки серийно не изготавливаются.
К недостаткам крановых виброуплотнителей следует отнести тот факт, что эти машины могут быть использованы только на уплотнении горизонтальных поверхностей грунта и требуют надлежащей планировки грунта перед уплотнением.
Кроме того, стесненные условия строительства не во всех случаях позволяют применять кран в качестве базовой машины, например в помещениях с низким перекрытием.
В мировой практике широко известны, например, крановые виброплиты, выпущенные фирмой "Лозенгаузен" (ФРГ) модели RVT-2000 массой 2500 кг и модели KR-20000 массой 7200 кг.
На этих машинах использован двухвальный дебалансный вибровозбудитель с вертикально направленными колебаниями.
Вибровозбудитель жестко связан с уплотняющей плитой, а его привод осуществляется от двигателя внутреннего сгорания с воздушным охлаждением посредством клиноременной передачи через центробежную муфту. Для зашиты двигателя от действия вибрации его подмоторная рама установлена на виброплите при помощи четырех пакетов пружин. К верхней части пружин подведена охватывающая двигатель крановая подвеска.
Уплотнение поверхности грунта виброплитами ведется за счет их перестановки краном.
Крановый вибратор KR-20000 при мощности двигателя, равной 55 кВт, и частоте колебаний, изменяемой от 8,3 до 33,3 Гц, обеспечивает глубину уплотнения до 1,5-2 м с производительностью до 200 м3/ч.
В настоящее время выпускается целый ряд механических трамбовок, которые имеют различные конструктивные схемы привода, ударного механизма и системы управления.
Однако, несмотря на большое разнообразие трамбовок, их можно классифицировать на пружинные, пружинно-воздушные, компрессионно-вакуумные и взрывного действия. Эти трамбовки обеспечивают линейную и нелинейную связь рабочего органа с приводом машины [6].
Трамбовки с пружинно-воздушным механизмом. С целью снижения уровня вибрации корпуса трамбовки, уменьшения усилий, действующих на основные звенья ударного и преобразовательного механизма, во ВНИИСМИ разработан новый вид ударных механизмов пружинно-воздушных, в которых связь рабочего органа с приводом осуществлена посредством спиральных пружин и воздушной подушки, работающих последовательно. Такая конструкция ударного механизма позволила существенно уменьшить суммарную плоскость промежуточного элемента, связывающего трамбующий башмак с приводом, и снизить тем самым усилие отдачи.
На рис. 21 показана трамбовка с пружинно-воздушным ударным механизмом. Трамбовка включает привод с кривошипно-шатунным механизмом и ползуном, корпус, в котором размешены трамбующий башмак, промежуточный поршень, рабочая и вспомогательная пружины, причем рабочая пружина установлена между ползуном и промежуточным поршнем, а вспомогательная пружина расположена между штоком трамбующего башмака и шатуном кривошипно-шатунного механизма. Между промежуточным поршнем и трамбующим башмаком образована воздушная камера. Перепуск воздуха осуществляется через каналы. При вращении кривошипно-шатунного механизма ползун, соединенный с промежуточным поршнем, совершает возвратно-поступательное движение, последовательно деформируя рабочую пружину и воздушную подушку, которые через промежуточный поршень передают движение трамбующему башмаку. Последний в конце хода наносит удар по грунту, производя его уплотнение. Компенсация воздушной камеры осуществляется посредством каналов, выполненных на наружной поверхности штока. При подъеме корпуса шток трамбующего башмака выходит из отверстия промежуточного поршня и трамбовка переходит на холостой ход. Для перехода трамбовки на рабочий режим достаточно опустить корпус, оседанию которого ниже рабочего уровня препятствует вспомогательная пружина.

Рис. 21. Трамбовка с пружинно-воздушным механизмом
1 - кривошипно-шатунный механизм; 2 - ползун; 3 - корпус; 4 - башмак; 5 -
поршень промежуточный; 6 - пружина рабочая; 7 - пружина вспомогательная; 8 -
шток; 9 - воздушная подушка; 10 - канал для компенсации воздуха
Наличие в ударном механизме пружины дает возможность использовать сравнительно небольшие начальные длины воздушных подушек без существенного увеличения при этом пика усилий, действующих на привод и башмак машины. Небольшие начальные длины воздушных подушек позволяют применять в трамбовках сравнительно тяжелые башмаки, что способствует увеличению производительности трамбовки. Кроме того, наличие пружины в ударном механизме предохраняет поршень преобразовательного механизма и башмак от жестких соударений в случае чрезмерной утечки воздуха или повышенной степени сжатия воздушной подушки, что положительно отражается на надежности машины.
К недостаткам пружинно-воздушного механизма следует отнести сложность конструкции. Общим недостатком трамбовок с воздушной и пружинно-воздушной связью преобразовательного механизма и трамбующего башмака является возможность оседания корпуса трамбовки в процессе ее эксплуатации (вследствие утечек воздуха из воздушной подушки) и необходимость в связи с этим поддерживать трамбовки во время ее работы.
Легкие трамбовки с массой до 20 кг могут управляться вручную, но при этом должны быть снабжены приспособлением для переключения трамбовки на холостой ход. В такой трамбовке между ползуном кривошипно-шатунного преобразовательного механизма и трамбующим башмаком помешена дополнительная пружина, которая предотвращает оседание корпуса трамбовки.
Пружинно-воздушные механизмы широко используются в отечественных конструкциях ручных машин ударного действия.
Все выше рассматриваемые типы трамбовок имеют линейную (пружинную) связь рабочего органа.
За границей наибольшее распространение получили трамбовки с линейной связью рабочего органа. Они эффективны в эксплуатации, но в то же время обладают рядом существенных недостатков, к числу которых следует отнести тяжелый режим работы пружин ударного механизма, вызывающий их поломку, потерю стабильности работы ударного механизма при нажатии на рукоятки управления и повышенную вибрацию управления трамбовкой.
На рис. 22 показана конструктивная схема новых трамбовок ИЭ-4502 и ИЭ-4504, разработанных во ВНИИСМИ с нелинейной связью рабочего органа.

Рис. 22. Конструктивная схема трамбовок
ИЭ-4502 и ИЭ-4504
1 - трамбующий башмак; 2 - редуктор; 3 - кривошипно-шатунный механизм; 4 -
ползун; 5 - ступенчатый шток; 6 - пружина; 7 - цилиндр; 8 - корпус; 9 -
неуравновешенная масса; 10 - рукоятка управления
Трамбовки, выполненные по данной схеме, имеют массу 80 и 160 кг.
Трамбовка имеет трамбующий башмак, на котором закреплены два цилиндра. Эти цилиндры служат направляющими для оправок, между которыми установлены с предварительным натяжением пружины. В оправках имеются отверстия, через которые пропущены ступенчатые штоки кривошипно-шатунного механизма. На кривошипных валах закреплены массы, взаимно уравновешенные в горизонтальной плоскости, суммарная центробежная сила которых гасит вибрацию корпуса. Валы приводятся во вращение от электродвигателя. При этом вращающиеся массы расположены под определенным углом к кривошипу. Вращение их синхронизировано при помощи двух шестерен, закрепленных на кривошипных валах и находящихся в зацеплении между собой, паразитной шестерней и с шестерней, установленной на валу электродвигателя.
При вращении вала электродвигателя приводятся в движение валы кривошипно-шатунных механизмов, которые сообщают трамбующему башмаку возвратно-поступательные движения посредством ступенчатых штоков, ползунов и пружин. При движении ступенчатых" штоков вверх перемешаются нижние оправки, которые деформируют пружину снизу и увлекают за собой трамбующий башмак. После перехода кривошипом верхней мертвой точки ступенчатые штоки движутся вниз, давят на верхние оправки и направляют движение трамбующего башмака вниз, который в конце хода наносит удар по грунту.
Для предохранения деталей ударного механизма трамбовки от перегрузок между подвижными упорами и ступенчатыми штоками установлены амортизаторы.
Управление трамбовкой осуществляется при помощи рукоятки.
Установка пружин в один ярус с предварительным натяжением, согласно схеме на рис. 22, и соединение направляющих цилиндров с трамбующим башмаком снизили центр тяжести машины, повысили ее устойчивость, предотвратили оседание корпуса трамбовки во время ее эксплуатации и тем самым способствовали стабилизации энергии удара трамбующего башмака.
Для гашения вибрации корпуса в трамбовках конструкции ВНИИСМИ применяются центробежные динамические гасители, которые действуют довольно эффективно. Одномассные гасители колебаний состоят из массивного дебаланса, установленного на валу кривошипно-шатунного механизма под определенным углом к кривошипу с таким расчетом, чтобы центробежная сила вращающейся массы по возможности была направлена в сторону действия реакции ударного механизма. Данный вид динамического гасителя колебаний использован в новой конструкции электротрамбовки ИЭ-4505 массой 28 кг.
Двухмассный гаситель колебаний состоит из двух шестерен, находящихся в зацеплении и двух вращающихся в противоположные стороны масс, установленных под определенным углом к кривошипу. Центробежные силы масс уравновешены в горизонтальной плоскости и суммируются при действии их в направлении реакции ударного механизма, приложенной к корпусу машины.
Положительной особенностью этих гасителей колебаний является то, что они не создают дополнительную вибрацию корпуса трамбовки в горизонтальной плоскости. К недостаткам ее следует отнести увеличение габаритов и массы привода трамбовки. Данный вид гасителя колебаний применен в электротрамбовках массой 80 и 160 кг (см. рис. 22).
Динамические гасители колебаний, использованные в новых трамбовках, позволили более чем в 2,5 раза уменьшить размах колебаний корпуса трамбовки и обеспечить вибробезопасность трамбовок.
Снижение уровня вибрации корпуса дало возможность установить на трамбовках более тяжелые трамбующие башмаки, что способствовало повышению эффективности работы трамбовок.
Наряду с крупными самопередвигающимися трамбовками типа ИЭ-4502 и ИЭ-4504, которые эффективны при уплотнении связных грунтов, освоен серийный выпуск и более легких трамбовок массой 28 кг с однопружинным ударным механизмом. Эти трамбовки также снабжены виброгасящими устройствами, и вибрация рукояток их управления соответствует современным санитарно-техническим нормам. Управление новыми трамбовками не представляет трудности. Трамбовки массой 80 и 160 кг самопередвигающиеся и не требуют усилия оператора. Оператор лишь задает трамбовке направление движения.
При работе трамбовки происходит смешение центра тяжести, способствующее передвижению ее в сторону корпуса трамбовки.
Трамбовки массой 18 и 28 кг не являются самопередвигающимися, и для их перемещения требуется усилие оператора, однако усилие это незначительно, так как перемещение трамбовки происходит в момент отрыва трамбующего башмака от грунта.
Техническая характеристика отечественных трамбовок
|
Тип |
ИЭ-4506 |
ИЭ-4505 |
ИЭ-4502 |
ИЭ-4504 |
|
Масса, кг |
18 |
28 |
80 |
180 |
|
Толщина уплотняемого слоя, м: |
|
|
|
|
|
грунт несвязный |
0,15 |
0,2 |
0,4 |
0,5 |
|
грунт связный |
- |
- |
0,3 |
0,4 |
|
Производительность, м3/ч: |
|
|
|
|
|
грунт несвязный |
4,3 |
7 |
22 |
32 |
|
грунт связный |
- |
- |
15 |
22 |
|
Частота ударов, мин-1 |
560 |
560 |
560 |
560 |
|
Мощность электродвигателя, Вт |
270 |
600 |
1500 |
3000 |
|
Размах колебаний трамбующего башмака, м |
0,035 |
0,035 |
0,03 |
0,03 |
Трамбовки с компрессионно-вакуумным ударным механизмом. В трамбовках связь трамбующего башмака с приводом осуществляется посредством воздушной подушки, расположенной между верхним торцом поршня - башмака и днищем подвижного цилиндра (рис.23). Трамбовка работает следующим образом: при вращении кривошипа цилиндр, в котором размешен поршень, жестко связанный с башмаком, движется возвратно-поступательно. При перемещении вверх над головкой поршня-башмака создается разрежение. Под действием разности атмосферного и остаточного давлений поршень-башмак тоже перемешается вверх.

Рис. 23. Трамбовка с компрессионно-вакуумным ударным механизмом
1 - привод; 2 - корпус; 3 - кривошип; 4 - подвижный цилиндр; 5 - воздушная
подушка; 6 - поршень-башмак; 7 - ствол
Пройдя верхнюю мертвую точку, цилиндр начинает двигаться вниз, а поршень-башмак, вследствие сжатия воздушной подушки, постепенно теряет скорость, останавливается и затем, устремляясь вниз, ударяет по грунту. Далее цикл повторяется. Трамбовки с компрессионно-вакуумным ударным механизмом компактны и надежны в работе. Использование вместо пружин воздуха повышает их долговечность. Недостатком таких трамбовок является возможность оседания корпуса и необходимость в связи с этим поддерживать трамбовку во время ее работы на определенном уровне от поверхности грунта. Для нормальной работы компрессионно-вакуумных ударных механизмов необходимо восполнение утечки воздуха в течение рабочего цикла.
Компрессионно-вакуумные ударные механизмы в настоящее время в основном используются в отбойных молотках, бетоноломах, перфораторах, а также в малогабаритных трамбовках - насадках, созданных на базе отбойных молотков и бетоноломов.
Трамбовки с пружинным ударным механизмом. Пружинные ударные механизмы, обеспечивающие линейную связь рабочего органа с приводом трамбовки, получили широкое применение за рубежом. Они выпускаются многими иностранными фирмами: "Ваккер" (ФРГ), "Аллам" (Англия), народным предприятием "Баумеханик Халле-Ост" (ГДР), и многими другими.
Фирма "Ваккер" (ФРГ) выпускает трамбовки, основными узлами которой являются привод, ударный механизм, ствол, трамбующий башмак и рукоятка управления.
Преобразовательный механизм этих трамбовок кривошипно-шатунного типа. Нижняя головка шатуна шарнирно связана с подвижным цилиндром, в котором размещены два пакета пружин, кинематически связанных со штоком. На нижней части штока закреплен трамбующий башмак. Пружины имеют предварительное сжатие, обеспечивающее постоянное соприкосновение концевых витков с верхней головкой штока и днищами подвижного цилиндра (во время работы ударного механизма).
При вращении кривошипа связанный с ним цилиндр при помощи шатуна движется возвратно-поступательно. При перемещении цилиндра вверх сжимается нижний пакет пружины, а при перемещении вниз подвергаются сжатию пружины верхнего пакета.
За рубежом многие фирмы выпускают трамбовки, в которых можно заменять электрический двигатель на двигатель внутреннего сгорания. Используемые для привода двухтактные двигатели выдерживают сильные ударные и переменные нагрузки.
Известные трамбовки фирмы "Ваккер". Они отличаются высокой надежностью и безопасностью. Гарантийный ресурс работы трамбовок с двигателем внутреннего сгорания составляет 400 ч. Конструкция трамбовок обеспечивает быстрый и легкий монтаж и демонтаж двигателя.
При использовании трамбовок в глубоких траншеях или закрытых помещениях в целях защиты рабочих от вредных отработанных газов двигателя внутреннего сгорания применяются газоотводящие шланги.
Отечественная промышленность трамбовки с двигателем внутреннего сгорания не изготавливает по причине отсутствия специальных двигателей.
В отличие от механических трамбовок взрывтрамбовки обеспечивают большую энергию удара за счет большой величины подскока. По этой причине они применяются для уплотнения больших толщин слоев связного грунта. Среди зарубежных машин этого типа широко известны взрывтрамбовки фирмы "Delmfg", "Bosch" (ФРГ), "Warson", "Pegson" (Англия).
Принцип работы взрывтрамбовки состоит в следующем. В исходном положении камера сгорания заполнена горючей смесью, обогащенной воздухом. В этом положении впускной клапан закрыт, а поршень упирается на поршневую штангу, тем самым герметизируя камеру сгорания. В этот момент рычаг приводит в действие магнето и на свече возникает искра, которая воспламеняет смесь. Взрыв смеси подбрасывает вверх корпус трамбовки. При движении вверх открывается отверстие и сгораемые газы удаляются поршнем. При этом пружины сжимаются и подбрасывают поршень вверх.
При подъеме поршня штангой открывается вентиль и газы удаляются через боковое окно.
За счет сжатой пружины поршень обгоняет движение корпуса трамбовки. Одновременно поднимается также поршневая штанга с трамбующей плитой и с помощью силы натяжения пружин подбрасывается вверх с ускорением.
В момент максимального взлета трамбовки подъем поршня заканчивается его ударом о крышку цилиндра, при этом поршневая штанга вместе с трамбующей плитой притянута к корпусу трамбовки. Затем трамбовка падает вниз, нанося по грунту удар. После удара поршень с закрытым вентилем движется вниз до тех пор, пока он не ударится о поршневую штангу трамбовки. В результате этого в камере возникает необходимое разрежение, которое открывает впускной и смесительный клапаны. В этот момент происходит всасывание топлива из бака и воздуха через канал в камере сгорания, после чего цикл повторяется.
В Советском Союзе взрывтрамбовки не изготавливаются.
В настоящее время в СССР ведутся большие работы по созданию гидромолотов и их использованию в качестве сменного оборудования к гидравлическим экскаваторам для разрыхления мерзлых и скальных грунтов, а также уплотнения грунтов.
ВНИИстройдормашем создан гидравлический молот общей массой 670 кг с энергией удара, равной 3000 Дж при частоте ударов 130 мин-1. Молот первоначально предназначался для забивки свай, разрушения твердых пород и мерзлых грунтов. Оборудованный круглой уплотняющей плитой диаметром 0,4 м, этот гидромолот используется также для уплотнения грунтов в стесненных условиях. В качестве базовой машины используется гидравлический экскаватор Э-1514 с ковшом вместимостью 0,15 м3.
ВНИИстройдормашем разработана также другая конструкция сменного уплотняющего навесного оборудования к гидроэкскаватору ЭО-2621.
Навесное оборудование состоит из не сушей рамы с кольцевой опорой, вибратора с уплотняющей плитой, упругой рычажной подвески и гидромеханического привода вибратора, включающего гидродвигатель и клиноременную передачу. Двухвальный дебалансный вибратор направленных колебаний приподнят над уплотняющей плитой при помощи трубчатой штанги. На штанге закреплены кронштейны крепления упругой рычажной подвески. Рычажная подвеска состоит из системы горизонтально расположенных жестких рычагов, по концам которых установлены резинометаллические амортизаторы сдвига. Один конец каждого рычага соединен через амортизатор со штангой вибратора, а другой - с несущей рамой.
Рычаги расположены попарно и диаметрально противоположны со смещением по высоте. Четыре спаренных и располагаемых диаметрально рычага, включающие восемь амортизаторов, образуют один поле связи. Два пояса связи допускают только направляемые движения вибратора и плиты и служат направляющими. Такая конструкция подвески позволяет уплотнять наклонные поверхности грунта. При общей массе навесного оборудования, равной 310 кг, масса ударной части составляет 200 кг. Площадь уплотняющей плиты 500´500 мм. При частоте колебаний вибратора 16,6-20 Гц и амплитуде до 8-10 мм оборудование обеспечивает уплотнение слабосвязных грунтов на глубину 0,4-0,5 м.
В Саратовском политехническом институте разработано и изготовлено новое сменное рабочее оборудование к гидравлическому экскаватору ЭО-2621 (рис. 24).

Рис. 24. Сменное грунтоуплотняющее оборудование к экскаватору ЭО-2621
Рабочее оборудование состоит из уплотняющего органа, представляющего собой круглый штамп с конической рабочей поверхностью, в котором расположен подшипниковый узел (радиально-упорный и упорный подшипник); в последний с возможностью свободного вращения помешен шпиндель, другой конец которого жестко закреплен в наклонном глухом отверстии ступицы, связанной через фланцевое соединение с вертикальным валом, приводимым во вращение от гидромотора и закрепленным в подшипниковом узле (радиально-упорный и упорный подшипники), расположенном на раме, рис. 25.

Рис. 25. Схема уплотняющего рабочего органа
1 - штамп; 2-3 - подшипники; 4 - шпиндель; 5 - ступица; 6 - фланец; 7 - вал; 8
- гидромотор; 9-10 - подшипники; 11 - рама
Оборудование навешивается на рукоять экскаватора ЭО-2621 взамен ковша.
Машина работает следующим образом. Опусканием стрелы штамп устанавливается на грунт. Включается привод (гидромотор, включенный в гидросистему экскаватора) вращения вертикального вала. Испытывая торможение о грунт, штамп не имеет возможности вращаться вокруг своей оси, вследствие чего его коническая поверхность перекатывается (без скольжения) по поверхности грунта, уплотняя его.
Усилия, возникающие от напора, передаются через подшипниковый узел на раму, закрепленную в рукояти экскаватора.
В СССР сменное навесное грунтоуплотняющее оборудование к гидравлическим экскаваторам серийно не изготавливается.
За последние годы рядом зарубежных фирм США, ФРГ, Англии, Японии и других стран в числе сменного оборудования к гидравлическим экскаваторам освоен также выпуск различного вида трамбовок для уплотнения грунта в стесненных условиях.
Эти трамбовки выпускаются в виде сменных плит на базе гидромолотов, навешиваемых на стреловое оборудование к гидравлическим экскаваторам; в виде специальных поверхностных виброуплотнителей с гидроприводом.
Наличие управляемой стрелы и рукоятки дает возможность выносить грунтоуплотняющее оборудование на значительную величину от экскаватора, опускать или поднимать его, а также поворачивать.
Это позволяет с одной стоянки экскаватора приспосабливать грунтоуплотняющее оборудование к различным условиям работы.
Фирмой "Крупп" (ФРГ) на базе гидромолота выпущена, в числе других видов сменного оборудования, трамбовка массой 400 кг с энергией удара 400 Дж и частотой ударов до 530 мин-1. Масса ударной части трамбовки составляет 25 кг.
Аналогичное оборудование под названием "Ковш Динамит" выпущено также Швейцарской фирмой "Хьюмас". Взамен ковша на стреле экскаватора монтируется ковш "Динамит", оборудованный гидромолотом с трамбующей плитой, используемой для уплотнения грунта в стесненных условиях. Фирма выпускает два типоразмера этого оборудования - тип ДI и тип ДII с энергией удара 200 и 400 Дж и частотой ударов соответственно 480 и 580 мин-1.
Некоторые зарубежные фирмы (в Англии и Японии, стремясь получить наибольшую энергию удара, в качестве сменного оборудования к гидравлическим экскаваторам используют пневмомолоты двойного действия. Эти молоты развивают энергию удара до 1500 Дж при частоте ударов 300 мин-1.
Однако вследствие значительного расхода воздуха (до 9 м3/мин), низкого КПД и необходимости иметь дополнительно компрессорную установку для привода молота, а также по причине относительной конструктивной сложности и громоздкости это оборудование широкого распространения не получило.
Наибольшее распространение в качестве навесного уплотняющего оборудования получили гидромолоты.
Сменное грунтоуплотняющее оборудование к гидроэкскаваторам выпущено рядом фирм США, Англии, ФРГ и др.
Это оборудование монтируется на рукояти экскаватора взамен ковша и приводится в действие от гидросистемы экскаватора. Оно состоит из несущей рамы, присоединяемой к рукояти в местах крепления ковша, виброударной части - поверхностного вибратора, упругой подвески вибратора к несущей раме и гидродвигателей.
По принципу возбуждения колебаний виброударная часть изготавливается в виде:
дебалансных вибраторов с круговыми или направленными колебаниями и гидромеханическим приводом;
механических трамбовок с приводом от гидродвигателя;
специальных гидровибраторов;
вибраторов с кинематическим возбуждением колебаний.
В конструкции подвески виброударной уплотняющей части в качестве упругого виброизолирующего элемента используются:
пружины сжатия с параллельными направляющими;
пружины сжатия, своими осями сходящиеся в центре удара и без направляющих;
пакет пневмобаллонов с параллельными направляющими;
резинометаллические амортизаторы сдвига без направляющих;
упруго-рычажная система без направляющих.
В некоторых конструкциях грунтоуплотняющего оборудования несущая рама снабжается специальной опорой, которая воспринимает усилие от стрелового оборудования, разгружая тем самым подвеску вибратора.
Такая конструкция обеспечивает стабильный режим работы вибратора.
Английская фирма "Pearson" широко рекламирует сменное грунтоуплотняющее оборудование к гидроэкскаватору, относящееся к типу поверхностных виброуплотнителей с пружинной подвеской.
Масса оборудования составляет 362 кг. В качестве возбудителя колебаний использован одновальный дебалансный вибратор с круговыми колебаниями. Размер уплотняющей плиты 806´577 мм. Вибратор приводится в действие от гидродвигателя, установленного внутри закрытого кожуха, жестко закрепленного на уплотняющей плите.
Виброуплотнитель монтируется на стреле экскаватора вместо ковша посредством несущей промежуточной рамы. Промежуточная рама охватывает корпус виброуплотнителя при помощи четырех расходящихся к низу трубчатых кронштейнов, образующих места крепления для расходящихся кверху четырех пружин подвески. Такая конструкция подвески, по сообщению фирмы, не требует применения направляющих пружин и обеспечивает плоско-параллельное движение уплотняющей плиты.
Аналогичное по принципу действия грунтоуплотняющее оборудование выпущено американской фирмой "Jngersoll-Rand-Company" модели ВН-14 и модели ВН-24. Это оборудование подключается к гидросистеме экскаватора и легко монтируется на его стреле вместо ковша.
Масса оборудования модели ВН-14 составляет 315 кг, размер уплотняющей плиты 350´625 мм. Установленный на уплотняющей плите и закрытый кожухом дебалансный вибратор развивает возмущающую силу 29250 кН при частоте колебаний 36 Гц.
Максимальная глубина уплотнения на несвязных грунтах составляет около 0,9 м.
Время демонтажа и монтажа оборудования не более 5 мин. В качестве виброизолирующего элемента в подвеске виброуплотнителя на модели ВН-14 применены резинометаллические амортизаторы сдвига, что придает известную простоту и компактность ее конструкции.
Одна из первых моделей сменного навесного грунтоуплотняющего оборудования к гидроэкскаватору выпущена фирмой "Rex-Racine" (США). Масса оборудования составляет 355 кг. Размер уплотняющей плиты 400´750 мм.
В конструкции подвески, привода и виброуплотнителя использованы широко известные конструктивные решения, которые оригинальностью не отличаются. Использованный на виброуплотнителе двухвальный дебалансный вибратор с направленными колебаниями создает возмущающую силу до 32650 кН. Частота колебаний изменяется от 900 до 2300 мин-1. Привод дебалансных валов осуществляется при помощи клиноременной передачи от гидродвигателя, установленного внутри корпуса уплотняющей плиты. Упругая подвеска выполнена при помощи четырех пружин, сжатия с направляющими, расположенными в направляющих стаканах. Оборудование обеспечивает уплотнение несвязных грунтов на глубину до 0,65 метра.
Фирма "Fred Hesius" (ФРГ) выпустила навесное грунтоуплотняющее оборудование типа НО-РАС модели 8000. Оборудование подключается к гидросистеме экскаватора с рабочим давлением 10,6-17,3 МПа.
Масса оборудования составляет от 350 до 400 кг и по желанию заказчика изготавливается трех типоразмеров: с уплотняющей плитой 800´580, 120´630 и 850´560 мм.
Виброуплотнитель приводится в движение при помощи одновального дебалансного вибратора, связанного гибкой передачей с гидродвигателем. Вибратор и гидродвигатель размешены на уплотняющей плите и закрыты кожухом.
Вибратор создает возмущающую силу до 28000 кН при частоте круговых колебаний, равной 2100 мин-1. Расход жидкости составляет от 1,08×10-3 до 3,1×10-3 м3/с.
Оборудование успешно применяется не только для уплотнения грунтов в стесненных условиях, но и для забивки шпунта.
Американская фирма "Vibro-Plus Production" выпустила сменное навесное грунтоуплотняющее оборудование модели CQ=4 к колесному гидроэкскаватору. Масса оборудования составляет 380 кг.
На грунтоуплотняющей плите оборудования установлен вибратор дебалансного типа с приводом от гидродвигателя, подключенного к гидросистеме экскаватора. В качестве виброизолирующего элемента подвески использованы четыре параллельно расположенные цилиндрические пружины, неподвижно закрепленные по концам. Оборудование обеспечивает уплотнение песчаных и гравелистых грунтов на глубину, по данным фирмы, до 1,5 м, а связных грунтов до 0,6 м (данные по-видимому явно завышены).
На сменном грунтоуплотняющем оборудовании модели СВ-2 английской фирмы "Constraction Technology", в отличие от традиционных дебалансовых вибраторов, использован вибратор с кинематическим возбуждением колебаний.
Уплотнитель состоит из развитого по высоте корпуса с грунтоуплотняющей плитой и пневмобаллонный подвески. Плита состоит из двух секций. Каждая из секций жестко соединена с вертикальным шатуном, верхняя часть которого несет подшипник, и установлена на горизонтальном эксцентриковом приводном валу.
Эксцентриковый вал размешен внутри корпуса и приводится во вращательное движение гидродвигателем, также расположенным внутри корпуса. Гидродвигатель подключен к гидрораспределителю базового экскаватора. Эксцентрики приводного вала обеспечивают движение обеих секций уплотняющей плиты в противофазе. При трамбовании корпус с подвижными секциями плиты прижимается к грунту под действием стрелового оборудования через упругую пневмобаллонную подвеску. Уплотняющий эффект создается колебательными движениями корпуса уплотнителя и статическим пригрузом, создаваемым стреловым оборудованием экскаватора. При подъеме оборудования уплотняющие плиты отрываются от грунтами колебания корпуса прекращаются. Перемещения плит относительно корпуса взаимно уравновешиваются. Такая конструкция вибратора и подвески создает предпосылки хорошей защиты экскаватора от действия вибрации, особенно при перестановках грунтоуплотняющего оборудования.
Многие и другие зарубежные фирмы выпускают большое число конструкций сменного навесного уплотняющего оборудования к гидроэкскаваторам.
На принципе свободно падающего груза некоторыми зарубежными фирмами США и Англии выпущены различные модели навесного оборудования для уплотнения грунтов в стесненных условиях на базе колесного шасси (трактора, автомобиля и специальной машины). Привод свободно падающего рабочего органа в этих машинах осуществлен преимущественно при помощи гидравлического канатного механизма с автоматическим управлением процесса подъема и сброса. Движение падающего груза совершается в жестких направляющих, навешиваемых на базовое шасси. Гидроцилиндр механизма подъема питается от гидросистемы базового шасси.
Американская фирма "Rex" изготавливает оборудование на базе автомобиля. В этом оборудовании падающий груз перемещается в трубчатых направляющих.
Для уплотнения грунта в глубоких траншеях к падающему грузу крепится специальная штанга со штампом.
Американская фирма "Henry Manufacturing" выпустила колесную машину, предназначенную преимущественно для разрушения старых покрытий и мерзлых грунтов. Сменное рабочее оборудование с падающим грузом позволяет успешно применять эту машину для уплотнения грунтов в стесненных условиях. Базой машины служит пневмоколесный трактор, который оснащен рамой с направляющими, в которых движется падающий груз. На нижней части груза в зависимости от вида выполняемых работ монтируются различные рабочие органы. Оборудование обеспечивает энергию удара до 10,8 кДж при частоте ударов 35 мин-1.
Английская фирма "Arrow Construction" выпустила навесное грунтоуплотняющее оборудование для стесненных условий строительства модели Д-500 на базе колесного шасси мощностью 44 кВт. Свободнопадающая трамбовка этой машины при массе 612 кг развивает энергию единичного удара до 15 кДж при частоте ударов 60 мин-1. Размер трамбовки в плане составляет 300´300 мм. Это оборудование обеспечивает производительность до 90 м3/ч уплотненного грунта с глубиной уплотнения до 0,8 м. Большая энергия единичного удара позволяет применять это оборудование также для разрушения мерзлых грунтов и старых дорожных покрытий. В этом случае падающий груз оснащается специальным клином.
Фирма "Motor Roll" (Англия) выпустила навесное оборудование на базе автомобиля типа Ford D.
В этом оборудовании падающий груз массой 450 или 675 кг перемешается в трубчатых направляющих, которые шарнирно закреплены на раме базовой машины. Направляющие могут быть повернуты относительно рамы при помощи специального гидроцилиндра. Падающий груз развивает энергию удара до 10 кДж при частоте ударов 60 мин-1.
Отличительная особенность грунтоуплотняющего оборудования со свободнопадающим грузом состоит в том, что оно, как правило, позволяет получить большие (более 10 кДж) величины энергии единичного удара. Причем величина энергии удара в нем определяется массой падающего груза и его максимальным ходом в направляющих и ограничивается мощностью и несущей способностью базового шасси.
Уплотняющий орган в этих машинах не приспособлен для уплотнения грунтов на значительном удалении его от базовой машины или ниже уровня ее стоянки, как это требуется, например, в случае уплотнения грунта в узких траншеях или котлованах. По этой причине этот тип оборудования имеет ограниченное применение для уплотнения грунтов в стесненных условиях.
В СССР машины со свободно падающим рабочим органом не изготавливаются.
В Советском Союзе разработана установка ВУПП, которая предназначена для глубинного уплотнения водонасыщенных средне- и мелкозернистых песков на глубину 4-6 м. Этот способ основан на виброударном воздействии по всей высоте уплотняемого слоя песка.
Глубинный вибратор ВУПП (рис. 26) состоит из погружаемого в грунт виброуплотнителя и вибропогружателя. Виброуплотнитель представляет собой вертикальную металлическую трубу диаметром 150-180 мм с приваренными к ней через 300 мм по высоте горизонтальными ребрами.
Погружение виброуплотнителя в водонасыщенный песок осуществляется вибропогружателем ВПП-2.
Создаваемое виброустановкой ВУПП пространственное динамическое воздействие увеличивает напряженное состояние всего уплотняемого объема песка. Уплотнение песка при этом происходит эффективно и равномерно на значительные площади (диаметром 4-5 м). Объем уплотненного песка при одном погружении виброустановки на глубину до 6 м составляет 70-80 м3, время одного погружения и извлечения 8-10 мин, а расстояние между точками погружения виброуплотнителя 4 м.

Рис. 26. Глубинный вибратор
1 - вибропогружатель ВПП-2; 2 - электродвигатель; 3 - патрубок; 4 - ствол: 5 -
ребро; 6 - наконечник ствола; 7 - резиновый шланг; 8 - патрубок
Техническая характеристика виброуплотнителя ВУПП
|
Производительность, м /ч |
300 |
|
Мощность электродвигателя, Вт |
40 |
|
Частота колебаний, Гц |
25 |
|
Масса вибратора ВПП-2, кг |
2200 |
|
Масса всей установки, кг |
3150 |
|
Грузоподъемность крана, работающего с установкой, т |
4-5 |
Днепропетровский инженерно-строительный институт создал оригинальную установку для глубинного уплотнения связных и несвязных грунтов на базе ямобура Б-8 (рис. 27).

Рис. 27. Установка для глубинного уплотнения
грунта
1 - базовая машина; 2 - штанга; 3 - наконечник; 4 - вал; 5 - режущий элемент; 6
- перка; 7 - лопасть; 8 - диск; 9 - лопатка
К базовой машине крепится вращающаяся буровая штанга со сменным буровым наконечником, состоящим из вала, режущих элементов, перки, вантовой лопасти и цилиндрического диска, расположенного над винтовой лопастью перпендикулярно к валу и связанного с лопатками, которые устанавливаются в наконечнике перпендикулярно к винтовой лопасти. Лопатки могут быть выполнены криволинейными, причем выпуклой частью они устанавливаются по направлению вращения наконечника.
Торец лопатки опирается на вал, а другой торец располагается от оси вала на расстоянии, равном радиусу скважины. Форма лопаток определяется в зависимости от вида грунта и скорости вращения наконечника и выбирается таким образом, чтобы грунт при бурении не налипал на поверхность лопаток, благодаря чему обеспечивается скольжение грунта по металлической поверхности лопаток.
Вращаемый и перемещаемый по вертикали вниз штангой буровой наконечник врезается в грунт. Перка разрыхляет грунт в центре скважины и центрирует вал бура, затем режущие элементы подрезают грунт, который попадает на винтовые лопасти и в результате активного подпора нижних слоев грунта принудительно заполняет пространство между винтовой лопастью, цилиндрическим диском и вертикальными уплотняющими лопатками. По мере движения по направляющим винтовой лопасти грунт заклинивается между стенкой скважины и криволинейной поверхностью лопаток. Возникающие при вращении бурового наконечника силы трения находящегося между винтовой лопастью, лопатками и диском грунта о стенки скважины способствуют уплотнению грунта и затем внедрению образовавшегося грунтового клина в стенки скважины. Этот процесс происходит непрерывно по мере вращения и заглубления бурового наконечника, благодаря чему образуется скважина со стенками, уплотненными вытесненным грунтом.
Бурение скважин ведется наконечником диаметром 600 мм. В образовавшиеся скважины с помощью бульдозера засыпается грунт, в который аналогично погружается наконечник диаметром 250 мм, образуя дополнительные скважины. При этом грунт уплотняется по всей высоте скважины. Затем скважины диаметром 250 мм заполняют вручную грунтом и трамбуют его электротрамбовками с длинной рукояткой.
Для глубинного уплотнения широко применяют станки ударно-канатного бурения БС-1М, обеспечивающие пробивку скважины в рыхло-отсыпанном связном грунте с помощью ударного снаряда и уплотнение окружающего скважину грунта в радиусе до 0,6 м.
Грунт, уплотненный в стенках скважины, обеспечивает достаточную устойчивость ее стенок.
Пробитая в грунте скважина затем заполняется местным связным грунтом слоями 2,5-3,5 м и уплотняется тем же снарядом.
С помощью станка БС-1М при сетке скважин 1,2´1,2 м достигается объемная масса скелета грунта, равная 0,95 от максимальной стандартной.
Способ глубинного уплотнения с применением станка ударно-канатного бурения БС-1М широко использовался на строительстве КАМаза.
За рубежом широкое применение нашел глубинный способ уплотнения грунтов с помощью гидровиброуплотнения.
Глубинный вибратор, подвешенный к стреле экскаватора, применяется для уплотнения гранулированного грунта, в основном песчаного, на заданную глубину. При этом сочетаются два типа воздействия на грунт: вибрация и водонасыщение. За счет этого достигается высокая несущая способность основания под несущие конструкции.
Масса оборудования 2,5 т, диаметр глубинного вибратора » 40 см, длина » 183 см. Длину глубинного вибратора можно изменять в зависимости от глубины уплотнения.
Основания, уплотненные данным оборудованием, сохраняют устойчивость грунтов даже при воздействии на конструкции вибрационных нагрузок.
Процесс уплотнения грунта глубинным вибратором можно разделить на четыре этапа (рис. 28):
I этап - открывается нижний жиклер в вибраторе для подачи воды;
II этап - вода под большим давлением размывает грунт и таким образом мгновенно создаются условия для погружения наконечника вибратора под собственным весом на необходимую глубину;
III этап - вода из нижнего жиклера вибратора поступает вверх и попадает в верхний жиклер, в результате чего давление вокруг вибратора понижается, уменьшается объем грунта в скважине. Грунт проседает, вокруг вибратора образуется свободное пространство;
IV этап - после уплотнения грунта осуществляется подъем вибратора с периодическими его остановками и подачей песка в образовавшееся пространство вокруг вибратора. Вибратор находится в определенном положении до тех пор, пока не достигается необходимая плотность грунта вокруг его нижней части. Таким образом, грунт равномерно уплотняется на полную глубину.

Рис. 28. Технология глубинного уплотнения грунта
После окончания процесса уплотнения образуются две зоны уплотненного грунта. Диаметр внутренней зоны равен 90 см. Диаметр внешней зоны уплотненного грунта равен 244-305 см.
Данное оборудование является экономичным и эффективным. Один глубинный вибратор уплотняет в сутки от 3000 до 6000 м3 песка.
Фирма ²Лозенгаузен и Келлер² (ФРГ) изготавливает подвесные на кранах вибраторы массой 7,5 т для поверхностного уплотнения скальных грунтов. Они изготавливаются двух типов: с горизонтальными и вертикальными колебаниями. Вибраторы состоят из отдельных разборных секций коробчатой или круглой формы, вертикального вала и электродвигателя мощностью 41-81 кВт. В центре вибратора смонтирован полый цилиндр, в котором размещен вертикальный вал. Двигатель приводит во вращение неуравновешенный вал, смонтированный в полом цилиндре. Конец вала размешен в уплотняющей плите. Колебания от вала передаются на уплотняющую плиту и через нее на грунт.
Для повышения эффективности уплотнения вибратор имеет пригруз, подвешенный на тросах к подвеске.
Благодаря пригрузу масса вибратора может быть увеличена до 18 т.
Пригруз, так же как и двигатель, не испытывает горизонтальных колебаний. Частота колебаний вибратора составляет 50 Гц. Поверхностный вибратор может уплотнять грунт на глубину до 0,6 м. Его производительность составляет от 40 до 100 м3/ч. Продолжительность вибрирования на одном месте 1-2 мин.
Описываемые вибраторы применяются также для глубинного уплотнения. Для этого вместо уплотняющей плиты монтируется специальный штамп круглой формы с заостренным концом, выполненный в виде сваи диаметром 0,7 м и длиной 5 м.
Масса глубинного вибратора без пригруза составляет 6 т, а с пригрузом - 17-21 т. Мощность двигателя 42,6 кВт.
Вибратор обеспечивает глубину уплотнения до 4 м за 10 мин. В процессе погружения наконечника происходит вытеснение грунта в стороны, за счет чего и происходит его уплотнение. Отверстия, образующиеся от внедрения наконечника, после его извлечения засыпаются тем же грунтом.
Выбор средств механизации работ производится при составлении технического проекта в разделе организации строительства и уточняется при разработке проекта производства работ.
Выбор средств механизации следует производить с учетом необходимости выполнения заданных объемов работ в установленные сроки и надлежащего качества при минимальных затратах трудовых и денежных ресурсов.
Машины для выполнения комплекса работ по обратным засыпкам грунта выбираются на основе следующих исходных данных: назначения сооружения и его размеров, вида уплотняемых грунтов, проектной объемной массы скелета грунта, объема работ, сроков выполнения, условий производства работ, а также технико-экономических характеристик средств механизации.
При выборе необходимо ориентироваться на грунтоуплотняющие средства, изготавливаемые нашей промышленностью серийно, мелкими партиями и по отдельным заказам, а также на технику, поставляемую в СССР из-за рубежа и имеющуюся в строительных организациям
С учетом указанных данных выбирают способ уплотнения грунтов обратных засыпок.
К способам механического уплотнения грунта относятся: укатка, трамбование, поверхностное (послойное) виброуплотнение, глубинное виброуплотнение, вибротрамбование, глубинное уплотнение грунтовыми сваями и комбинированные способы.
Укатка и трамбование применяются для уплотнения связных и несвязных грунтов. Поверхностное и глубинное виброуплотнение - для уплотнения несвязных и малосвязных грунтов. Глубинное уплотнение грунтовыми сваями - для связных грунтов. Комбинированные способы - для связных и несвязных грунтов. По перечню грунтоуплотнителей, имеющихся в наличии, а также с учетом приобретаемых к началу выполнения работ уплотняющих машин, определяют, какие из них могут уплотнять предусмотренные проектом грунты до заданной объемной массы скелета.
При этом для использования навесных средств обязательным условием является наличие подъезда и места для рабочих стоянок базовых машин.
Вибротрамбовки с электроприводом могут быть использованы только в условиях площадки, обеспеченной источником электроэнергии напряжением 380/220 В или передвижными электростанциями соответствующей мощности.
Для современного промышленного строительства характерны высокие темпы производства, что обусловливает необходимость выполнения обратных засыпок в короткие сроки. Поэтому при подборе комплекта машин следует ориентироваться на более производительные машины.
Грунтоуплотнители, предназначенные для работы в особо стесненных условиях, малопроизводительны и должны использоваться только по прямому назначению. Как показывает анализ, объем обратных засыпок в особо стесненных условиях (размеры полости менее 0,7 м) составляет в среднем 2-3% общего объема обратных засыпок при возведении промышленного объекта. Из этого расчета в комплект следует включать средства для уплотнения грунта в наиболее стесненных местах (ручные электротрамбовки, самопередвигающиеся электротрамбовки ВУТ-3, ВУТ-4, ВУТ-5 и др.).
Для осуществления уплотнительных работ в намеченные календарным графиком сроки подбирают грунтоуплотнители по производительности, включая в комплект при необходимости одну-две или несколько единиц оборудования.
Число машин в комплекте должно быть минимальным, поэтому при выборе следует отдавать предпочтение высокопроизводительным универсальным машинам, уплотняющим разные виды грунтов и в различных условиях слоями большой толщины.
Работы по выполнению обратных засыпок следует механизировать комплексно: разработку грунта в резерве, транспортировку, подачу его на рабочую карту, разравнивание и уплотнение, увязывая оборудование по параметрам и производительности. При этом для полного использования производительности экскаватора (ведущая машина в комплекте), разрабатывающего грунт в резерве, производительность комплектующих машин, в том числе и грунтоуплотнителей, принимается на 10-15% выше производительности ведущей машины.
Если в результате произведенного выбора оказалось, что предъявляемым требованиям отвечают несколько типов грунтоуплотнителей, из которых необходимо выявить оптимальный, следует произвести технико-экономическое сравнение вариантов механизации, пользуясь показателями: себестоимость и трудоемкость работ.
На основе сравнения вариантов механизации по себестоимости и трудоемкости единицы продукции (1 м3 уплотненного грунта) выбирают рациональный вариант, в наибольшей степени отвечающий производственным требованиям.
Для уплотнения связных грунтов в узких щелях шириной от 0,6 до 2 м и глубиной до 10 м при возможности подъезда к месту работ крупногабаритной базовой машины может быть использован способ глубинного уплотнения грунтовыми сваями. При этом способе обратная засыпка щелей грунтом ведется на всю глубину без послойного уплотнения.
Обратные засыпки грунта при заполнении котлована после возведения подземной части сооружения выполняются либо без уплотнения, либо с уплотнением в зависимости от их функционального назначения.
Обратные засыпки, служащие основанием для возводимых на них сооружений и конструкций (фундаментов различного назначения, подземных конструкций, дорожных покрытий, полов, железнодорожных путей, отмосток и т.д.), выполняются с обязательным уплотнением, обеспечивающим их несущую способность (прочность - устойчивость), принятую проектом, и беспросадочность. При разработке технологии уплотнения грунтов обратных засыпок необходимо руководствоваться основными нормативными руководящими материалами (СНиП III-8-76, СНиП III-30-74, СНиП III-38-75, СНиП III-43-75, СНиП III-10-75, СНиП III-9-74).
В соответствии со СНиП III-8-76 необходимая степень уплотнения грунта устанавливается проектом и выражается объемной массой скелета грунта или коэффициентом уплотнения - параметром, легко контролируемым в процессе производства работ.
Заданные проектом свойства обратных засыпок могут быть обеспечены при условии соблюдения в процессе производства работ определенных технологических правил.
Непременным условием осуществления качественных обратных засыпок при минимальных затратах труда и средств является использование пригодных для этих целей местных грунтов, имеющих оптимальную влажность.
Естественная влажность грунта в определенное время года близка к оптимальным ее значениям. Поэтому выполнение работ по обратным засыпкам необходимо по возможности приурочивать к такому периоду. В районах с влажным климатом эти работы рекомендуется производить во второй половине лета и начале осени, а в засушливых - в конце весны и в первой половине лета.
Переувлажненный грунт не поддается уплотнению, поэтому перед укладкой его он должен быть подсушен до оптимальной влажности.
Подсушивание грунта ведут естественным путем: разрыхление плугами, дисковыми боронами или тракторными рыхлителями. Разрыхленный грунт толщиной 30-40 см в жаркую погоду подсушивается в течение 2-3 дней. При подсушивании грунта в карьере или в резервах учитывают потери влаги при транспортировании и укладке с таким расчетом, чтобы влажность превышала на 2-3% оптимальную.
При необходимости уплотнения сильно увлажненного и деформированного транспортными средствами грунта рекомендуется:
при возможности смещения этого грунта бульдозером убрать его с рабочей карты на небольшое расстояние и завезти грунт с оптимальной влажностью; при наличии резерва сухого грунта (лучше песчаного) с влажностью меньшей, чем оптимальная, подсыпать его и перемешать с переувлажненным грунтом дисковыми боронами до получения смеси с оптимальной влажностью;
укреплять переувлажненный грунт на глубину разжижения, используя в качестве стабилизирующей добавки известь. При этом известь равномерно распределяют по поверхности обрабатываемой площади и перепахивают дисковыми боронами до получения однородной смеси. На следующий день после боронования смесь уплотняют.
Для стабилизации переувлажненного грунта с влажностью, превышающей оптимальную на 6-10%, расход извести составляет примерно 4% (по весу смеси).
Известь действует на грунт как активный реагент, изменяя его свойства. При этом значение оптимальной влажности смеси повышается и может быть определено по эмпирической формуле
Wо.см = Wо.гр +1,5 + 0,2Д, (i°)
где Wо.гр - оптимальная влажность стабилизирующего грунта, определенная по методу стандартного уплотнения, %;
Д - дозировка извести, %.
Стоимость 1 м3 грунтоизвестковой смеси составляет 2-3 руб. и зависит от качества извести и установленной дозировки.
При уплотнении грунта, имеющего влажность ниже оптимальной, проектная объемная масса скелета может быть достигнута увеличением числа проходов (ударов) по одному следу или использованием тяжелых грунтоуплотняющих средств.
Если влажность связного грунта ниже оптимальной более чем на 3% (абсолютное значение), его целесообразно увлажнять. Увлажнение грунта, как правило, производят в карьерах (резервах) заблаговременно перед началом производства обратных засыпок. Норма полива определяется по СНиП III-8-76.
Увлажнение лёссовидных грунтов ведут в условиях естественного залегания, так как в разрыхленном состоянии он увлажнению не поддается.
Увлажнение грунта на рабочей карте в процессе ведения обратных засыпок выполняется при значительных перерывах в работе, когда уложенный слой грунта пересушен.
Грунт в процессе его укладки поливают машинами или с помощью разбрызгивателей из рукавов, подсоединенных к водопроводной сети.
Высокое качество обратных засыпок обеспечивается послойным уплотнением грунта при условии отсыпки его слоями одинаковой толщины. Каждый отсыпанный слой грунта уплотняют одинаковым числом проходов (ударов) по одному следу.
Толщина уплотняемого слоя должна соответствовать возможностям грунтоуплотнителя, что устанавливается опытным уплотнением. Отсыпку грунта необходимо вести слоями такой толщины, которая после уплотнения грунта до проектной объемной массы скелета обеспечила бы требуемую толщину уплотняемого слоя.
Уплотнение каждого слоя грунта машинами ведут так, чтобы последующие проходы по одному следу были по всей поверхности рабочей карты.
Во избежание пропусков при уплотнении все последующие проходы должны перекрывать предыдущие следы на 0,1-0,15 м.
В процессе уплотнения грунта в стесненных местах соблюдаются меры предосторожности против повреждения подземных конструкций, коммуникаций и гидроизоляции.
Опытное уплотнение грунтов обратных засыпок в производственных условиях ведется с целью уточнения толщины уплотняемого слоя для имеющихся в наличии грунтоуплотняющих машин, числа проходов этих машин по одному следу, оптимальной влажности грунта и отработки выбранного метода контроля плотности обратных засыпок.
Опытное уплотнение грунта ведут непосредственно на строительной площадке перед началом работ по обратной засыпке. Если обратные засыпки устраиваются из различных грунтов, то опытное уплотнение ведут для каждой разновидности грунта.
Грунт на опытной площадке уплотняется до объемной массы скелета, предусмотренной проектом. При этом необходимо обеспечивать одинаковую толщину отсыпки рыхлого грунта в слое по всей площади опытной площадки. Влажность уплотняемого грунта должна соответствовать его оптимальной влажности. В связи с этим перед началом опытного уплотнения необходимо провести контрольное уплотнение грунта методом стандартного уплотнения в лабораторных условиях и уточнить оптимальную влажность грунта. В случае отсутствия возможности испытания грунта методом стандартного уплотнения ориентировочную величину оптимальной влажности принимают для связных грунтов равной их влажности на границе раскатывания, а для песчаных грунтов - 6-8%. В процессе опытного уплотнения эта величина влажности корректируется в соответствии с фактически достигаемой плотностью грунта.
Возможны случаи устройства обратных засыпок из крупнообломочных грунтов (скальные породы, шлаки, горелые породы терриконов), уплотнение которых ведут тяжелыми трамбовками, подвешенными на экскаваторах. В этом случае ведут опытное уплотнение тяжелыми трамбовками с целью определения величины понижения поверхности слоя от каждого удара и уточнения величины отказа, указанного в проекте, а также с целью установления необходимого числа ударов для уплотнения грунта до отказа в зависимости от массы и высоты падения трамбовки.
Ширина котлована для опытного уплотнения должна быть не менее двух диаметров, а длина - не менее четырех диаметров рабочей поверхности трамбовки. Для наблюдения за изменением отметки дна опытного котлована забиваются металлические штыри - марки диаметром 20-25 мм и длиной 250-400 мм заподлицо с поверхностью дна котлована. После забивки штырей делают их нивелирование относительно репера. Трамбование ведется до момента, когда понижение головок штырей по данным нивелирования от последних ударов будет оставаться практически неизменным, т.е. до получения отказа. В процессе трамбования нивелирование штырей-марок ведется через один-два удара по всей трамбуемой площади.
После окончания опытного уплотнения отрывается контрольный шурф размером 1´2 м и глубиной не менее 2 м, из которого через каждые 0,25 м по глубине берут пробы для определения объемной массы скелета грунта (плотности).
Условия выполнения обратных засыпок пазух фундаментов и в особенности при возведении промышленных объектов с развитым подземным хозяйством отличаются чрезвычайным разнообразием. Наружные пазухи котлованов, имеющие большей частью клиновидную форму, сочетаясь с пазухами между подземными конструкциями и фундаментами внутри зданий и сооружений, образуют подчас сложную систему замкнутых полостей и коридоров с ограниченными размерами в свету, представляющими серьезную трудность при выполнении обратных засыпок.
Под обратную засыпку мелкие объекты сдают целиком, а крупные частями (цех, отделение цеха и т.п.) после полного окончания работ по подземным конструкциям или после выполнения работ по выделенному ярусу. При этом предъявляемые участки могут отличаться характерными особенностями, которые учитываются исполнителями работ при решении вопросов технологии производства обратных засыпок.
При шаге колонны 6 м и более, когда установленные фундаменты не препятствуют движению автотранспорта, отсыпка грунта производится с дальней точки рабочей карты "на себя". При этом автосамосвалы перемешаются по основанию, на которое производится укладка слоя грунта.
Схема разгрузки автосамосвалов устанавливается в зависимости от расстояния между осями. Отсыпку грунта нужно вести полосами вдоль пролетов между колоннами с целью сокращения трудоемкости послойного разравнивания грунта.
При 6-метровом шаге колонн и расположении фундаментов, препятствующем движению автосамосвалов, отсыпка грунта в нижние слои обратной засыпки ведется "головным способом" с ездой автосамосвалов по отсыпаемому грунту, покрывающему выступающие части фундаментов слоем толщиной не менее 0,3 м во избежание их повреждения.
Автосамосвал выбирают с учетом ширины отвала бульдозера, принятого для разравнивания грунта, и условий маневрирования на рабочей площадке.
Послойное разравнивание грунта выполняется бульдозерами Д-449, Д-159Б, Д-271М, а в менее доступных местах - малогабаритным бульдозером на базе трактора Т-54В и микробульдозером МБ-4.
При ширине просвета между фундаментами колонн менее 0,8 м, там где невозможно использование бульдозеров, разравнивание грунта ведут вручную.
Перед началом грунтоуплотнительных работ в обязательном порядке проводить опытное уплотнение для учета местных особенностей грунта и определения оптимальных режимов его уплотнения. После этого приступают к уплотнению грунтов на объекте.
Работы ведутся в два этапа: I этап - уплотнение грунта между фундаментами колонн; II этап - уплотнение грунта над фундаментами колонн.
Уплотнение грунта между фундаментами колонн ведется в более стесненных условиях, чем над фундаментами, и требует особых мер против повреждения конструкций. Уплотнение грунта тяжелыми трамбовками, оказывающими на уплотняемый грунт сильное динамическое воздействие в данном случае не допускается во избежание горизонтального смешения колонн. Как показывает практика, уплотнение грунта в непосредственной близости от фундаментов колонн (на расстоянии 0,3-0,5 м от вертикальной грани) трамбующей плитой массой 3 т, сбрасываемой с высоты 4 м, может привести к горизонтальному смешению фундамента массой до 40 т.
Для уплотнения грунта в зоне, прилегающей к отдельно стоящим фундаментам или другим подземным конструкциям рекомендуется укатка, вибротрамбование, вибрирование или комбинированное воздействие на грунт (виброукатка, виброуплотнение с пригрузом). Для этого в зависимости от степени стесненности условий производства работ могут быть использованы;
самоходные катки с гладкими вальцами с кулачковыми бандажами на них - для связных грунтов;
виброкатки - для несвязных грунтов;
гидромеханические виброуплотнители - для связных и несвязных грунтов;
электрические самопередвигающиеся вибротрамбовки ВУТ-3, ВУТ-4, ВУТ-5, СВТ-3МП - для несвязных и малосвязных грунтов;
электротрамбовки ИЭ-4502, ИЭ-4504 - для уплотнения связных и несвязных грунтов;
самопередвигающиеся виброплиты, поставляемые из ГДР - для несвязных грунтов.
В первую очередь проходки грунтоуплотнителей следует вести в непосредственной близости от фундаментов, затем в зоне между фундаментами.
При использовании катков уплотнение следует выполнять параллельными проходками в пределах всей рабочей карты, сначала вдоль пролетов сооружений, затем в поперечном направлении.
Уплотнение грунта самопередвигающимися вибротрамбовками с электроприводом ведут параллельными проходками длиной по 10-15 м, сначала вдоль пролетов сооружения, потом поперек сооружения в промежутках между продольными уплотненными полосами. При этом каждой проходкой уплотняют всю площадь рабочей карты. Такой способ хотя и сопряжен с некоторыми дополнительными трудозатратами, связанными с неоднократной переноской электрокабеля, обеспечивает равномерное по всей площади карты уплотнение грунта и стабильность работы грунтоуплотнителя.
При уплотнении грунта самопередвигающейся виброплитой с двигателем внутреннего сгорания рекомендуется схема движения вокруг фундаментов по спирали.
При уплотнении грунта обязательно обеспечивается оптимальное число проходов грунтоуплотнителя по одному следу, определенное опытным уплотнением в зависимости от вида грунта, проектной объемной массы скелета и типа грунтоуплотнителя.
В процессе уплотнения грунта в непосредственной близости от вертикальных граней фундаментов принимаются меры против повреждения гидроизоляции.
После засыпки грунтом фундаментов колонн, когда над верхним урезом фундамента находится слой грунта не менее 0,3 м, приступают к выполнению работ II этапа - засыпке грунта над фундаментами колонн.

Рис. 29. Технология уплотнения грунтов в траншее под фундаменты
колонн
1 - экскаватор - планировщик; 2 - бульдозер; 3 - автосамосвал; 4 -
электротрамбовка; 5 - виброплита
В качестве примера на рис. 29 показана технология производства работ по уплотнению обратной засыпки в траншее с рядом отдельно стоящих фундаментов марки ФА-69, установленных с шагом 12 м [16].
Грунт обратной засыпки может быть связный и несвязный, но влажность его должна быть оптимальной.
До начала засыпки траншеи грунтом должны быть выполнены следующие работы:
полностью закончено устройство фундаментов и проверено их проектное положение;
сделана и проверена гидроизоляция фундаментов;
удалены из траншеи все вспомогательные материалы, оборудование, механизмы;
составлены акты на скрытые работы и получено
разрешение заказчика на обратную засыпку.
Засыпка, разравнивание и уплотнение грунта ведется последовательно по слоям, толщина которых принимается в зависимости от вида грунта и применяемой уплотняющей машины.
Обратная засыпка осуществляется привозным грунтом, который транспортируется к месту работ автосамосвалами.
Автосамосвалы для разгрузки грунта следует подавать на расстояние не ближе 1 м от бровки траншеи.
Засыпка и разравнивание грунта, за исключением последнего слоя, выполняются экскаватором-планировщиком, снабженным удлинителем стрелы и оборудованным погрузочным ковшом. Экскаватор-планировщик передвигается по верхней бровке вдоль траншеи. Расстояние от бровки обусловлено призмой обрушения грунта основания, а расстояние между стоянками определяется максимальным вылетом стрелы и параметрами траншеи.
Зоны шириной 40 см вокруг фундаментов и подколонников, а также "мертвые зоны", недоступные для разравнивания экскаватором-планировщиком, разравниваются вручную землекопом.
Последний слой засыпается и разравнивается бульдозером, оборудованным поворотным отвалом. В процессе разравнивания бульдозер не должен подходить к сторонам подколонников ближе чем на 40 см.
Уплотнение связного грунта предусмотрено ручными электрическими трамбовками ИЭ-4501, ИЭ-4502, ИЭ-4503, ИЭ-4504.
Уплотнение несвязного грунта предусмотрено вести самоходными виброплитами SVP-12,5; SVP-25; SVP-31,5; SVP-63,1 производства ГДР. Причем нижние слои уплотняются виброплитами меньших размеров, а верхние - больших размеров.
Уплотнение грунта необходимо начинать с зон вокруг фундаментов (подколонников), а затем уплотнять грунт в зоне между фундаментами (подколонниками). Каждый последующий проход уплотняющей машины должен перекрывать след предыдущего слоя на 0,1-0,2 м. Толщина слоев в зависимости от вида грунта и применяемой уплотняющей машины приведена в табл. 7.
Таблица 7. Толщина уплотняемого слоя в зависимости от вида грунта и применяемой уплотняющей машины
|
Уплотняющие машины |
Вид грунта |
Толщина слоя, см |
|
|
при К=0,95 |
рыхлого грунта |
||
|
Электротрамбовки: |
Связный |
|
|
|
ИЭ-4501 |
20 |
25 |
|
|
ИЭ-4502 |
40 |
50 |
|
|
ИЭ-4503 |
15 |
19 |
|
|
ИЭ-4504 |
50 |
62 |
|
|
Вибрационные плиты: |
Несвязный |
|
|
|
SVP-12,5 |
30 |
35 |
|
|
SVP-25 |
40 |
46 |
|
|
SVP-31,5 |
50 |
58 |
|
|
SVP-63,1 |
60 |
69 |
|
При возведении объектов со сложными фундаментами и подземными конструкциями, образующими в плане систему замкнутых полостей, тупиков и узких проходов, исключающих перемещение по ним крупногабаритных машин, обратные засыпки грунта необходимо выполнять сразу же после возведения подземной части здания или сооружения (распалубливания и гидроизоляции поверхностей подземных конструкций) перед началом работ по надземной части.
В этом случае создаются более благоприятные условия для механизации работ, поскольку конструкции надземной части объекта не препятствуют работе крупногабаритных машин, установленных на бровке котлована.
Для выполнения обратных засыпок в данном случае может быть использована принципиальная схема производства работ, приведенная на рис. 30

Рис. 30. Схема уплотнения грунтов в котлованах со сложными
фундаментами и подземными конструкциями
1 - отсыпанный слой грунта; 2, 3 - экскаватор; 4 - вибротрамбовка; 5 -
виброплита; 6 - направление движения виброплиты; 7 - зона уплотнения грунта
вибротрамбовкой; 8 - направление движения экскаватора
Грунт из отвала, размешенного на бровке котлована или доставляемый из резерва автосамосвалами, с помощью экскаватора, оборудованного грейфером или системой транспортеров, подается на рабочую карту в пределах участка, ограниченного подземными конструкциями.
В зависимости от характера и размеров пазухи разравнивание грунта осуществляется малогабаритным бульдозером типа УЗБТ-54В (на базе трактора Т-54В) или микробульдозером МБ-4. При засыпке замкнутых полостей предпочтение следует отдавать микробульдозеру.
Уплотнение грунта осуществляется электротрамбовками ИЭ-4502, ИЭ-4504 или подвесной вибротрамбовкой ПВТ-3. Для этой цели могут использоваться свайные вибропогружатели ВП-1 или ВПП-1, установленные на металлический поддон.
Для уплотнения грунта в замкнутых полостях более удобными являются подвесные к крану грунтоуплотнители, а при работе в пазухах, связанных между собой проходами, применяют самопередвигающиеся виброплиты и ручные трамбовки.
Если грунт из карьера доставляется автосамосвалами, для подачи его на рабочую карту можно использовать бетоноукладчик конструкции ЦНИИОМТП, предварительно увеличив диаметр "хобота" до 0,4 м. При помощи бетоноукладчика грунт можно уложить достаточно ровным слоем без последующего разравнивания, в связи с чем отпадает необходимость в малогабаритном бульдозере.
Для засыпки пазух, сообщающихся между собой, применяется поточный метод выполнения работ. При этом машины, выполняющие послойную укладку грунта, после отсыпки слоя грунта в зоне действия подающего агрегата (грейфера, бетоноукладчика) перемещаются на следующую рабочую карту, а их место занимают грунтоуплотняющие машины. Расстояние между стоянками агрегата, подающего грунт, должно быть равным 1/2 наибольшего рабочего вылета стрелы машины,
При засыпке пазух фундаментов с различной глубиной заложения в первую очередь выполняют работы в пределах участка с пониженными отметками до достижения общего уровня, затем работы ведут по всему котловану.
Для выполнения работ на отдельных участках ведут засыпку котлованов в пределах зоны действия агрегатов, затем устанавливают их на выполненных засыпках и продолжают работу на отдаленных участках. Для переезда через выступающие конструкции устраивают деревянные мостики из щитов.
При засыпке замкнутых пазух с помощью самопередвигающихся малогабаритных средств (микробульдозер, виброплита) во избежание частых их перестановок работы выполняются до проектной отметки в одной пазухе, затем в другой, если конструкции, оконтуривающие их, выдерживают одностороннюю нагрузку от грунта.
При тонкостенных конструкциях во избежание их повреждения или смешения распором уплотняемого грунта работы ведутся параллельно в соседних пазухах.
Уплотнение грунта подвесными вибротрамбовками ведут с помощью крана, устанавливаемого на бровке котлована. Уплотняют грунт концентрическими полосами в пределах зоны действия крана с одной стоянки. Расстояние между стоянками крана принимают равным 1/2 наибольшего рабочего вылета стрелы.
В пределах полосы первым проходом посредством кратковременных (10-15 с) воздействий на грунт ведут предварительное уплотнение грунта, а вторым проходом - окончательное. Длительность воздействия при втором проходе в зависимости от вида грунта и проектной объемной массы скелета определяется пробным уплотнением.
Для уменьшения динамического воздействия на подземные конструкции при уплотнении грунта соблюдают правило: сначала уплотняют грунт в непосредственной близости от вертикальных граней подземных конструкций (но не ближе 0,1 м), затем остальной грунт.
Во избежание пропусков уплотняют грунт с перекрытием следов на 0,05-0,1 м.
Перед уплотнением грунта самопередвигающимися виброплитами и ручными трамбовками в связи с их высокой чувствительностью к микрорельефу и уклону уплотняемой поверхности слои грунта необходимо тщательно разравнивать, не допуская уклонов, превышающих 5%.
Необходимо тщательно выдерживать толщину отсыпаемых слоев, так как ее завышение может привести к уменьшению достигаемой объемной массы скелета грунта, а также к зарыванию уплотняющих механизмов и потере способности к самопередвижению.
Уплотняют грунт параллельными проходками вдоль засыпаемой пазухи. При уплотнении очень рыхлых грунтов во избежание сильного заглубления уплотняющего рабочего органа оператор слегка подталкивает его.
В производственных условиях очень часто возникает необходимость засыпки пазух при сложных в плане фундаментах после возведения надземной части здания или сооружения, что значительно затрудняет комплексную механизацию работ.
В этом случае для подачи грунта на рабочую карту могут быть использованы бетоноукладчик или система передвижных транспортеров. Если в возведенном здании имеется мостовой кран, подача грунта в труднодоступные пазухи может быть осуществлена бадьями.
Уплотняется грунт самопередвигающимися виброплитами или ручными трамбовками.
В качестве примера на рис. 31 показана технология производства работ по обратной засыпке, разравниванию и уплотнению грунтов в котлованах со сложными фундаментами под технологическое оборудование в промышленном здании с шагом колонн 12 м [16].

Рис. 31. Технология уплотнения грунтов в пазухах под
технологическое оборудование
1 - экскаватор с грейферным ковшом; 2 - бульдозер; 3 - автосамосвал; 4 -
виброплита; 5,6,7 - узлы щели между фундаментами
Обратная засыпка, разравнивание и уплотнение грунтов ведутся послойно. Толщина слоя принимается в зависимости от применяемой уплотняющей машины, в соответствии с данными табл. 7.
Грунт для обратной засыпки транспортируется автосамосвалами ЗИЛ-ММЗ-555 грузоподъемностью 4,5 т и вместимостью кузова 3 м3.
Для обратной засыпки используется экскаватор Э-10011Д, оборудованный грейферным ковшом емкостью 1 м3.
При глубине котлована 4 м разравнивание грунта до отметки 2 м ведется вручную. С отметки 2 м до отметки ±0,0 м грунт разравнивается бульдозером Д3-14А (на схеме заштрихованная зона), а в труднодоступных местах - вручную. Вручную грунт разравнивается также вокруг конструкций в радиусе 40 см от них.
Уплотнение грунта следует начинать с зон вокруг конструкций. Каждый последующий проход уплотняющей машины должен перекрывать предыдущий на 0,1-0,2 м.
Пазухи между фундаментами засыпаются песком и поливаются водой до полного насыщения.
Уплотнение несвязного грунта I группы ведется виброплитами типа SVP, а связного грунта II группы - электротрамбовками типа ИЭ.
При производстве земляных работ необходимо выполнять правила по технике безопасности в соответствии со СНиП III-А.11-70.
Узкими условно следует считать пазухи шириной менее 1,4 м (предельный размер пазухи, допускающий работу малогабаритного бульдозера). Следует выделить пазухи шириной от 0,7 до 1,4 м, в которых человек может работать, и пазухи шириной менее 0,7 м, в которых доступ рабочего невозможен.
Засыпка наружных пазух, образуемых подземными конструкциями и крутыми откосами котлована, может вестись в соответствии с принципиальной схемой, приведенной на рис. 32 [16].

Рис. 32. Технология уплотнения грунтов в узких и глубоких пазухах:
1 - экскаватор; 2, 3 - бульдозер; 4 - вибротрамбовка; 5 - стенка траншеи; 6 -
колонна
Грунт, поставляемый к месту работ автосамосвалами, в объеме, необходимом для укладки уплотняемого слоя, отсыпают yа бровке котлована и затем сталкивают бульдозером в пазуху. Сталкивать грунт надо рассредоточено с целью уменьшения объема работ по разравниванию и перемещению грунта на дне пазухи.
Разравнивают грунт слоями заданной толщины с использованием в нижней части пазухи микробульдозера МВ-4, который подают в пазуху краном, затем по мере расширения пазухи (более 1,4 м) используют малогабаритный бульдозер на базе трактора Т-54В.
Толщина уплотняемых слоев грунта, заданная проектом производства работ, отмечается рисками на поверхности подземных конструкций.
При послойной укладке грунта следует учитывать, что при уплотнении подвесными виброуплотнителями и необходимо производить его разравнивание.
Послойное уплотнение грунта выполняют подвесными вибротрамбующими плитами ПВТ-3, ВТМ-2 или свайными вибропогружателями на металлических поддонах, подвешиваемыми к крану, установленными на бровке котлована.
Грунт уплотняется концентрическими полосами без перекрытия следов проходок. Время воздействия на грунт устанавливается расчетом и пробным уплотнением. В верхней части пазухи, где позволяет ее ширина, грунт уплотняют катками.
В случае использования для засыпки наружных пазух дренирующего материала (песка, шлака и др.) в верхней части пазух во избежание скопления в них атмосферных вод следует устраивать замок из глинистого грунта толщиной 1 м.
Практикуемые иногда строителями неуплотняемые засыпки наружных пазух приводят к разрушению укладываемых на них отмосток и необходимости неоднократного в течение ряда лет их восстановления. Стоимость восстановительных работ, как правило, в 1,5-2 раза превосходит затраты, связанные с уплотнением грунта.
Засыпку узких пазух (от 0,7 до 1,4 м), образуемых близко расположенными друг от друга подземными конструкциями, ведут одновременно с засыпкой открытых участков котлована, к которым они примыкают.
Грунт, доставляемый автосамосвалами (или другими средствами), разгружают у въезда в пазуху и распределяют его послойно малогабаритным бульдозером (ширина 1,4 м) или микробульдозером МВ-4 (ширина 0,8¸1,4 м), или вручную (ширина 0,7-0,8 м), тщательно планируя поверхность.
Для уплотнения связных и несвязных грунтов в узких пазухах используют самопередвигающиеся электротрамбовки или виброплиты.
При уплотнении грунта в тупиковых пазухах шириной 0,7-1 м, в которых уплотняющие механизмы нельзя развернуть для движения в обратном направлении, предусматривается их вытаскивание канатом с помощью бульдозера, разравнивающего грунт на открытом участке. Во время укладки очередного слоя грунта в пазухе электротрамбовка используется для уплотнения грунта в пристенной зоне открытого участка.
Чтобы не допустить перегрева электродвигателя трамбовки, необходимо каждый час работы чередовать с 10-15-минутным перерывом.
Если пазуха изолирована, в первую очередь выполняют засыпку соседних с ней открытых участков котлована до отметок, позволяющих использовать уплотненную поверхность грунта для установки средств механизации работ при засыпке пазухи.
Предпочтение следует отдавать методу уплотнения грунта с помощью подвесных вибротрамбующих плит. Разравнивать грунт, подаваемый в пазуху, необходимо микробульдозером МБ-4.
Работу следует выполнять двумя захватками: на одной укладывать и разравнивать грунт, на другой - уплотнять его.
Если смонтированные конструкции надземной части здания или сооружения препятствуют установке крана, микробульдозер МБ-4 подают в пазуху с помощью ручной тали, а грунт уплотняют ручными электротрамбовками ИЭ-4501, ИЭ-4503.
Толщину уплотняемых слоев принимают равной 0,1-0,2 м, уплотняют грунт несколькими проходами, число которых определяется опытным уплотнением. Для нормальной работы ручной электротрамбовки поверхность уплотняемого слоя прикатывается легким ручным катком.
Существующие в настоящее время средства механизации не позволяют уплотнять связные грунты в глубоких пазухах шириной менее 0,7 м, поскольку в таких пазухах не может работать человек.
Очень узкие пазухи и стесненные места, насыщенные коммуникациями, когда исключается возможность применения средств механизации для послойного уплотнения, следует засыпать песчаным грунтом.
Засыпку песком ведут с сопутствующим обильным поливом водой, создающим эффект гидронамыва. Полив необходимо осуществлять сильной струей воды 300-600 кПа с расходом 0,005-0,008 м3/с.
Этот способ приемлем также для засыпки стесненных мест, когда песок является местным грунтом, а выполненные подземные конструкции допускают сильное увлажнение. В этом случае необходимо тщательное выполнение стыковых соединений подземных конструкций во избежание затопления помещений водой и выноса в них песчаного грунта.
Нельзя допускать засыпки пазух песком на всю глубину с последующей поливкой поверхности засыпки, поскольку в этом случае уплотнение не будет достигнуто.
Следует учитывать также, что этот способ не применим в зимних условиях и при возведении сооружений на просадочных грунтах, поэтому выполнение засыпок с помощью полива нужно планировать на период с плюсовыми температурами.
Для уплотнения обратных засыпок из лессовидного суглинка в пазухах фундаментов, толщинами более 2 м, может применяться глубинный способ.
Глубинный способ уплотнения основан на погружении штампов, которые образуют скважины с вытеснением грунта радиально в стороны; при этом осуществляется уплотнение грунта вокруг скважины.
Погружение штампа обычно осуществляется проколом, забивкой, вибрированием.
При погружении штампа указанными способами с одновременным вращением его можно уменьшить усилие, необходимое для образования скважин.
С этой целью в Днепропетровском инженерно-строительном институте были проведены опыты, которые показали, что при погружении штампа с одновременным вращением сопротивление погружению наконечника уменьшается на 45%.
Для создания напора с одновременным вращением наконечника был применен ямобур.
Технология уплотнения состоит в следующем: в пазухи фундаментов с помощью бульдозера засыпается предварительно увлажненный лессовидный суглинок; глубина засыпки до 3 м; увлажнение грунта в пределах 18-21%;
после засыпки тем же бульдозером производится засыпка неровностей сухим местным грунтом и разравнивание его;
на поверхности грунта делается разбивка будущих скважин. Расстояние между скважинами и ряд тми определяется расчетом;
бурятся скважины диаметром 600-700 мм (рис. 33) с помощью ямобура (см. рис. 27) и присоединенным к нему специальным наконечником. Наконечник погружается под действием напорного и вращательного воздействия ямобура; при этом часть грунта вытесняется радиально в стороны, без извлечения его на поверхность. Грунт обратной засыпки уплотняется на всю глубину погружения наконечника;
в образовавшиеся скважины с помощью бульдозера засыпается грунт, увлажненный в пределах 18-21%, в который погружается наконечник диаметром 250-300 мм, образуя дополнительные скважины. При этом грунт уплотняется по всей высоте в пределах основных скважин;
скважины диаметром 250-300 мм заполняют вручную увлажненным грунтом и трамбуют его электротрамбовками, снабженными длинной рукояткой;

Рис. 33. Сетка точек бурения скважин
конечным этапом является планировка поверхности бульдозером и уплотнение ее укаткой.
Уплотнение грунта при засыпке трубопроводов и коллекторов ведется в случае, когда они прокладываются в пределах промышленной площадки, жилого массива, под дорогами и т.п.
Грунт для обратной засыпки находится, как правило, в отвалах, расположенных вдоль траншеи по одну или обе стороны от нее, что зависит от типа землеройной машины, глубины траншеи и требований проекта производства работ.
Для засыпки траншей с откосами при диаметре труб более 350 мм отвалы грунта рекомендуется размешать с обеих сторон: с одной стороны основной, а с другой только для засыпки пазухи трубопровода.
Обратную засыпку траншеи следует вести сразу же после укладки труб с тем, чтобы исключить обрушение стенок траншеи, заиливание труб в результате атмосферных осадков и пересушивание (или переувлажнение) грунта в отвалах.
Обратная засыпка траншей, заполненных грунтовыми (или атмосферными) водами, допускается только после предварительной откачки воды и осушения траншеи. При наличии в траншее креплений их следует разбирать в процессе выполнения обратной засыпки, за исключением случаев, когда их разборка может повлечь повреждение рядом расположенных зданий или сооружений.
Засыпку грунта в траншеи рекомендуется выполнять бульдозерами Д-159Б, Д-271М и Д-449.
Предварительно уменьшают крутизну откоса размещенного вдоль траншеи отвала грунта косыми проходами бульдозера, который при этом смещает грунт к траншее. Эту работу сочетают с подачей грунта в первый слой засыпки. Грунт в траншею подается в объеме, обеспечивающем заданную толщину отсыпаемого слоя, в соответствии с темпами его разравнивания и уплотнения.
Обратная засыпка трубопроводов местным связным грунтом в траншеях с откосами может выполняться в соответствии с приведенной на рис. 34 принципиальной схемой производства работ [16].

Рис. 34. Технология уплотнения грунтов в траншеях при прокладке
трубопроводов:
1,2 - бульдозер; 3 - кулачковый каток; 4 - вибротрамбовка
Разравнивание первого и нескольких последующих слоев грунта в траншеях с трубопроводами диаметром до 0,2 м включительно осуществляется двумя микробульдозерами МБ-4, а в верхней части при ширине ее, равной 1,4 м и более, - двумя малогабаритными бульдозерами на базе трактора Т-54В, один из которых ведет черновое распределение грунта, а второй, идущий следом, тщательно планирует поверхность каждого слоя.
Нижние слои обратной засыпки траншеи с трубопроводами диаметром 0,25 м и более разравниваются вручную. Для уменьшения объема работ, выполняемых вручную, кроме основного отвала грунта, размещаемого с одной стороны траншеи, предусматривается дополнительный отвал грунта с другой стороны в объеме, достаточном для засыпки пазухи между уложенным трубопроводом и стенками траншеи. Грунт в пазухи подается бульдозером рассредоточение косыми проходами с целью уменьшения объема перекидки при его разравнивании.
Во избежание повреждения трубопроводов или их гидроизоляции при разравнивании грунта бульдозерами необходимо следить, чтобы над шелыгой трубы был слой грунта не менее 0,25 м. Обсыпка трубопроводов скальным грунтом не допускается. Если траншея отрыта в скальном грунте, обсыпку трубопровода необходимо выполнять привозным песком или суглинком.
Нижние слои засыпки уплотняются самопередвигающимися электротрамбовками ИЭ-4504 или ВУТ-5В параллельными проходками вдоль оси трубопровода.
Толщина уплотняемых слоев и число проходов по одному следу выполняются в соответствии с данными, полученными в процессе опытного уплотнения.
Слой грунта над трубопроводом уплотняется после тщательного уплотнения его в пазухах между трубопроводом и стенками траншей с целью достижения достаточного обжатия трубопровода и устранения его сдвижки.
Для уплотнения вышележащих слоев засыпок может быть использована электротрамбовка ИЭ-4504, а при ширине траншеи 1,8 м и более уплотнение выполняется кулачковыми катками (при толщине слоя грунта над шелыгой трубы не менее 0,7 м).
При наличии в районе строительства песчаного карьера траншеи с трубопроводами диаметром до 0,9 м с целью устранения ручных операций по разравниванию грунта засыпаются местным связным грунтом с использованием песчаного слоя. При этом первый слой засыпки осуществляется привозным песком, который отсыпается слоем толщиной 0,75-0,8 м одновременно с обеих сторон трубопровода во избежание его смешения.
Разравнивание грунта при ширине рабочей полосы 0,7-1,4 м осуществляется микробульдозером, а при ширине 1,4 м и более - малогабаритным бульдозером. Песчаный слой и нижние слои засыпки местным связным грунтом уплотняются электротрамбовкой ИЭ-4504, а верхние слои - кулачковым катком. Уплотнение песчаного слоя выполняется продольными проходками электротрамбовки в первую очередь вдоль стенок траншеи, затем в средней части над трубопроводом. Слои связного грунта уплотняют параллельными проходками с перекрытием смежных следов на 0,1 м.
Обильная поливка песчаного слоя водой после работы электротрамбовки (если допускают конструктивные решения и грунтовые условия) обеспечивает дополнительное его уплотнение.
При засыпке траншей местным песчаным грунтом уплотнение его осуществляется электротрамбовками ИЭ-4502, ИЭ-4504 или самопередвигающимися виброплитами.
При наличии дешевого источника воды и соответствующих грунтовых условий песчаная обратная засыпка траншей может быть уплотнена обильным поливом, создающим эффект гидронамыва. Песок укладывается слоями 0,2-0,5 м в зависимости от интенсивности полива.
Засыпка траншей с вертикальными стенками сопряжена с необходимостью выполнения работ в очень стесненных условиях.
Наименьшая ширина траншей с вертикальными стенками согласно СНиП III-8-76 равна 0,7 м, а наибольшая допустимая глубина траншеи без креплений в глинах и суглинках равна 1,5 м, а в особо плотных нескальных грунтах - 2 м.
Траншеи большей глубины устраиваются с обязательным креплением.
Засыпка пазух между трубопроводом и стенками траншеи местным связным грунтом, подаваемым с бровки бульдозером, выполняется вручную слоями толщиной 0,1 м и уплотняется ручными электротрамбовками ИЭ-4501, ИЭ-4503, ИЭ-4505.
После засыпки пазух до шелыги трубы разравнивание последующих слоев грунта выполняется микробульдозером МБ-4, а уплотнение - электротрамбовкой ИЭ-4504 слоями 0,3 м при числе проходов, определяемом опытным уплотнением в зависимости от объемной массы скелета грунта, предусмотренной проектом.
При засыпке глубоких траншей крепления разбираются снизу вверх по мере засыпки траншеи участками длиной не более 5-7 м, на высоту от уровня уплотняемого грунта не более 1,5-2 м в зависимости от состояния стенок траншеи. Работы при этом выполняются в предельно короткие сроки.
При засыпке траншей с вертикальными стенками местным связным грунтом может быть также применен способ с использованием песчаного слоя, который, несмотря на некоторое удорожание работ позволяет избежать применения ручного труда по разравниванию грунта.
Рассмотрим в качестве примера уплотнение грунта в траншее [16] глубиной не менее 2 м с одним уложенным трубопроводом (рис. 35).

Рис. 35. Технология уплотнения грунтов в траншеях при прокладке
трубопроводов
1 - экскаватор - планировщик: 2 - автосамосвал: 3 - бульдозер: 4 - виброплита:
5 - трамбовка
До начала обратной засыпки траншеи грунтом должны быть выполнены следующие работы:
полностью закончена прокладка трубопровода;
выполнена и проверена гидроизоляция трубопровода;
удалены из траншеи все вспомогательные материалы, оборудование и механизмы;
составлены акты на скрытые работы и получено разрешение заказчика на обратную засыпку.
Грунт обратной засыпки может быть связным и несвязным. Влажность грунта должна быть оптимальной. Засыпка, разравнивание и уплотнение грунта ведется последовательно по слоям, толщина которых определяется в зависимости от вида грунта и применяемой уплотняющей машины.
Обратная засыпка в данном случае осуществляется привозным грунтом, который транспортируется к месту работ самосвалами. Самосвалы для разгрузки грунта следует подавать на расстояние не ближе 1 м от бровки траншеи. Первый слой засыпается одновременно с двух сторон трубы рыхлым грунтом с последующей подбивкой и разравниванием его вручную.
В последующих слоях до отметки, где размеры траншеи позволяют применять бульдозеры, засыпка и разравнивание грунта ведутся послойно экскаватором-планировщиком, снабженным удлинителем стрелы и оборудованным погрузочным ковшом. Экскаватор-планировщик передвигается по верхней бровке вдоль траншеи. Расстояние между стоянками обусловлено максимальным вылетом ковша и параметрами траншеи, а расстояние от верхней бровки - призмой обрушения грунта.
Затем засыпку и разравнивание грунта осуществляет бульдозер.
В стесненных условиях уплотнение связного грунта предусмотрено выполнять ручными электрическими трамбовками ИЭ-4501, ИЭ-4502, ИЭ-4503, ИЭ-4504, а несвязного грунта - самопередвигающимися виброплитами SVP-12,5; SVP-25; SVP-63,1.
Уплотнение первого слоя ведется двумя электротрамбовками одновременно с двух сторон.
При уплотнении каждый последующий проход трамбовки должен перекрывать след предыдущего на 0,1-0,2 м.
При широком фронте работ для уплотнения связного грунта применяются прицепные кулачковые катки, серийно выпускаемые нашей промышленностью, а несвязного грунта - прицепные вибрационные катки производства ГДР (поставляются в СССР).
При уплотнении грунта катками каждый последующий проход должен перекрывать след предыдущего на 0,2-0,3 м.
Обратные засыпки, служащие основанием под полы различного назначения, должны выполняться с тщательным уплотнением, обеспечивающим заданную проектом объемную массу скелета грунта.
Особенно чувствительны к качеству основания полы на жестком подстилающем слое (бетонной подготовке) и полы, несущие значительные нагрузки (160-200 кПа и более).
Одним из показателей, характеризующих качество основания под полы, является изменчивость сжимаемости грунта от нагрузки, которая оценивается величиной a, равной отношению максимального модуля деформации Еmax к минимальному модулю деформации, Еmin, полученных в пределах подготавливаемой площади основания под полы: a = Еmax/Еmin. (24).
Модуль деформации грунта обратной засыпки вычисляется по данным испытаний грунта штампом.
В пределах контура здания или сооружения должно быть проведено не менее трех штамповых испытаний.
Обратные засыпки могут быть использованы в качестве оснований под полы, если изменчивость их по сжимаемости находится в пределах:
при Еср = 75 кг/см2 ![]()
Еср =
150 кг/см2 ![]()
Еср =
300 кг/см2 ![]()
В пределах одного помещения основанием под полы могут быть участки грунта естественного сложения, чередующиеся с засыпками и подземными конструкциями, или обратные засыпки, толщина которых колеблется в значительных пределах: от 0,5 м до 14 м и более.
Допустимая изменчивость грунтов основания по сжимаемости в данном случае может быть обеспечена при условии установления проектом такой объемной массы скелета грунта обратных засыпок, которая обусловит одинаковую с грунтом естественного сложения сжимаемость под действием нагрузок. С другой стороны, заданная проектом объемная масса скелета грунта должна быть обеспечена при производстве работ по обратным засыпкам.
Для обеспечения надежных насыпных оснований необходимо выполнение следующих требований:
применять однородный грунт для выполнения засыпок в пределах одного помещения (цеха, пролета и т.д.);
в первую очередь заполнять грунтом участки с более низкими отметками, а после достижения общего уровня вести работы по всей площади, выдерживая одинаковый режим уплотнения;
строго соблюдать технологические правила уплотнения грунта и требования по подготовке грунта для засыпок;
при наличии в пределах одного помещения участков насыпного грунта и естественного сложения точно обеспечивать заданную проектом объемную массу скелета грунта, так как недоуплотнение, так же как и переуплотнение, приведет к разной сжимаемости грунта насыпного и естественного сложения;
насыпные основания выполнять непосредственно перед устройством конструкций пола, поскольку длительное воздействие на уплотненный грунт атмосферных осадков приводит к разуплотнению верхнего слоя грунта.
При насыпных грунтах в пределах всего помещения для получения надлежащих деформативных характеристик основания под полы грунты необходимо уплотнять до объема массы скелета не менее 0,98 от максимальной стандартной при оптимальной влажности.
Практика показывает, что достижение указанной степени уплотнения суглинков и песчаных грунтов обеспечивается существующими средствами уплотнения при соблюдении требований технологии производства работ.
Высокая степень уплотнения оснований, под полы обеспечивает не только беспросадочность, но и стойкость их к пучению при сезонном промерзании, что особенно важно для неотапливаемых зданий и сооружений типа складов готовой продукции, материалов и др. Это объясняется уменьшением водопроницаемости и влагоемкости грунта в результате тщательного уплотнения.
Под полами промышленных объектов нередко размещены подземные конструкции (проходные, аэрационные, технологические тоннели, подземные камеры и др.).
Обратные засыпки в этом случае выполняются в два этапа. В первую очередь делается основание под конструкции, затем засыпаются пазухи между подземными конструкциями и, если необходимо, выполняется засыпка над ними.
В случае устройства полов на бетонной подготовке засыпка между тоннелями должна быть практически несжимаемой, т.е. иметь относительную объемную массу скелета грунта, равную (0,99-1)gск.max. Это достигается тщательным уплотнением грунта слоями толщиной, уменьшенной против оптимальной в 1,5-2 раза. Производительность грунтоуплотнителя при этом соответственно снижается, но такая технология уплотнения экономически оправдана, так как гарантирует конструкцию пола от разрушений.
Засыпка над подземными конструкциями уплотняется до объемной массы скелета грунта, равной 0,98 от максимальной стандартной.
Уплотнение выполняется с учетом необходимых мер предосторожности, исключающих повреждение подземных конструкций.
При уплотнении грунта над тоннелями и другими пустотелыми конструкциями с небольшим пролетом в общем случае необходимо руководствоваться следующим.
Слои грунта непосредственно над подземными конструкциями могут уплотняться легкими самопередвигающимися виброплитами или электротрамбовками массой до 500 кг.
Слой грунта над подземными конструкциями толщиной 1 м гарантирует их от повреждения при работе грунтоуплотнителей статического и вибрационного действия массой до 5 т. При слое грунта более 1 м уплотнение может осуществляться катками статического и виорационного действия массой до 20 т и трамбующими машинами Д-471Б.
Для уплотнения грунта над подземными сооружениями значительных в плане размеров выбор грунтоуплотнителя обосновывается расчетом, учитывающим несущую способность перекрытия.
Для этого в проекте должно быть указано, на какую временную нагрузку в процессе уплотнения грунта рассчитано перекрытие подземного сооружения.
В промышленном помещении с установленными колоннами обратные засыпки над фундаментами могут осуществляться крупногабаритными машинами по технологии, обеспечивающей равномерное по всей площади уплотнение до требуемой проектом степени уплотнения грунта.
Уплотнение песчаных грунтов может быть выполнено тяжелыми самопередвигающимися вибротрамбующими плитами или самоходными виброкатками. Для уплотнения связных грунтов наиболее приемлемым в данном случае является полуприцепной каток на пневмоколесном ходу Д-551В (ДУ-16В).
При наличии над верхним урезом фундаментов уплотненного слоя грунта, равного 0,3 м, последующие слои грунта могут уплотняться катками на пневмоходу массой до 20 т.
Схема движения грунтоуплотнителей при уплотнении грунта должна обеспечивать возможность соблюдения скоростного режима, простоту контроля числа проходов и минимальную площадь пересечения проходов.
Уплотнение грунта машинами реверсивного действия ведется параллельными проходами вдоль пролетов между колоннами.
Использование для засыпания под полы отвальных доменных шлаков допускается при технико-экономическом обосновании. К использованию пригодны шлаки, не подверженные силикатному распаду или с закончившимся процессом распада в результате длительного (не менее 2-3 лет) атмосферного воздействия или искусственной гидратации свободной окиси кальция, содержащейся в шлаке. Следует учитывать, что внутри шлаковых отвалов большой мощности, пролежавших десятки лет, могут содержаться не подвергавшиеся атмосферному воздействию шлаки, способные к пробуждению при увлажнении. В процессе пробуждения за счет гидратации свободной извести и других физико-химических процессов уложенные в дело шлаки увеличиваются в объеме и разрушают прилегающие к ним конструкции. В связи с этим шлаки, отбираемые из нижних слоев отвалов, если они подвержены силикатному распаду, перед укладкой должны быть подвергнуты испытанию.
В качестве примера на рис. 36 показана технология производства работ по уплотнению грунтов оснований под полы прессового корпуса автозавода им. Ленинского комсомола [16].

Рис.36. Технология уплотнения грунтов оснований под полы
1 - автосамосвал; 2 - бульдозер; 3 - кран; 4 - вибротрамбовка; 5 - уплотняемые
слои грунта
Все работы по обратной засыпке, разравниванию и уплотнению грунтов предусмотрено выполнять в две смены.
До начала обратной засыпки котлована грунтом должны быть выполнены следующие работы:
полностью закончены работы по устройству фундаментов;
выполнена и проверена гидроизоляция фундаментов;
удалены из котлована все вспомогательные материалы, мусор, оборудование и механизмы;
закончено устройство съездов в котлован;
составлены акты на скрытые работы и получено разрешение заказчика на обратную засыпку.
Обратная засыпка грунтов ведется автосамосвалами ЗИЛ-555 грузоподъемностью 3,5 т и вместимостью 2,2 м3.
Грунт разравнивается бульдозером УЗВТ-54В на базе трактора Т-54В с двумя отвалами, шириной 1460 мм. Изготовитель - Янгиюльский РМЗ Минстроя УзССР.
Для уплотнения грунта используется вибротрамбовка ПВТ-3, подвешенная к стреле крана МКА-16.
Обратная засыпка, разравнивание и уплотнение грунта ведутся последовательно по слоям. Толщина слоя принимается 80 см. Уплотнение грунта начинают с зон вокруг фундаментов.
При уплотнении грунта кажцый последующий проход трамбовки должен перекрывать след предыдущего на 0,1-0,2 м.
Уплотнение связных грунтов (оснований под полы) естественной или нарушенной структуры, находящихся в переувлажненном состоянии, т.е. когда их влажность выше оптимальной, может быть достигнута комплексными способами, включающими в себя электрообработку с последующим воздействием на осушенный грунт внешней нагрузкой.
Электрообработка заключается в том, что через закрепляемый объем грунта пропускается определенное количество электричества от источника постоянного тока, под воздействием которого происходит улучшение физико-механических свойств связных грунтов (тяжелых суглинков и глин). Передача электроэнергии от источника тока в грунт осуществляется с помощью стальных, круглых электродов, погружаемых в закрепляемый грунт в определенном порядке. При этом одна часть электродов соединяется с положительным полюсом источника тока (анодом), а другая с отрицательным (катодом). В процессе обработки грунта током наряду с упрочнением (до 250-400 кПа) происходит его осушение за счет перемещения грунтовой воды от анодов к катодам (т.е. происходит явление электроосмоса). Для сбора и удаления воды катоды выполняются трубчатой формы с перфорированной боковой поверхностью.
Расход электроэнергии на осушение 1 м3 грунта до влажности 10-13% составляет от 60 до 200 кВт×ч.
В зависимости от толщины насыпного грунта применяются такие комплексные способы, при которых уплотнение злектроосушенного грунта осуществляется механическими средствами (механоэлектрический способ), пневмо-, гидроуплотнителями, обжимными сваями или скважинными взрывами.
Сущность механоэлектрического способа заключается в следующем. Сначала осуществляется электрообработка грунта на всю глубину уплотняемого слоя, В процессе электрообработки и после ее окончания грунт уплотняется (в наиболее осушенных к этому времени зонах межэлектронного пространства) с помощью механических средств (трамбующих, вибротрамбующих и др.). Этот способ применяется для уплотнения грунта на глубину менее 2 м.
Уплотнение переувлажненных связных грунтов толщиной свыше 2 м практически не эффективно с применением механических средств. Эта задача может быть решена сочетанием электрообработки с воздействием на осушенный грунт пневмо-, гидроуплотнителями, обжимными связями или скважинными взрывами.
Суть способа заключается в том, что в межэлектродном пространстве по всей площади захватки устраиваются специальные скважины диаметром 100-150 мм, в которые погружаются пневмо-, гидроуплотнители, представляющие собой удлиненные цилиндрические резиновые баллоны. В уплотнители под давлением, на 10-20% превышающим сопротивление электроосушенного до оптимальной влажности грунта уплотнению, нагнетается воздух (или вода). В процессе электрообработки грунта благодаря его осушению будет происходить постепенное уплотнение прилежащего к уплотнителю массива грунта. На площади захватки, приходящейся на пару разнополярных электродов, размешается один-два уплотнителя.
Уплотнение злектроосушенного грунта толщиной до 6 м может производиться путем погружения в грунт, равномерно по площади межэлектродного пространства, обжимных свай диаметром 200-300 мм.
Уплотнение в данном случае достигается за счет вытеснения грунта в объеме, соответствующем объему погруженной части сваи. После погружения обжимная свая извлекается, а образовавшаяся скважина заполняется песком, грунтощебеночной смесью или грунто-цементом с послойным трамбованием.
Образовавшиеся таким образом песчаные или грунтоцементные сваи дополнительно повышают несущую способность грунта.
Уплотнение грунта возможно также взрывоэлектрическим способом.
Сущность взрывоэлектрического способа уплотнения грунтов заключается в следующем. Сначала ведется электрообработка слоя переувлажненного грунта в пределах захватки. После снижения его влажности на требуемую величину (при которой может быть достигнута заданная плотность) электроды извлекаются, а в скважины погружаются удлиненные скважинные заряды. В результате одновременного взрывания скважинных зарядов на всей захватке достигается уплотнение грунта до заданной величины.
Кроме того, образующиеся скважины, будучи заполненными песком или тощим бетоном, обеспечивают дополнительную несущую способность основания.
Как уже отмечалось, электрообработка переувлажненного связного грунта ведется с целью снижения его влажности от исходной до оптимальной, соответствующей виду уплотняющей нагрузки и ее величине.
В процессе проектирования электроосушения грунтов определяются: схема размещения электродов и расстояния между ними; глубина обработки и размеры захватки; параметры постоянного электрического тока; потребное количество электричества; продолжительность электрообработки; размеры и число уплотнителей; элементы электрической сети.
Работы по уплотнению водонасыщенных связных грунтов комплексными способами включают в себя: уточнение гидрогеологических условий; определение электрических и электроосмотических характеристик уплотняемого грунта; подготовку электродов; устройство скважин под рабочие электроды; погружение электродов; монтаж водоотводящей и электрической сетей; электрообработку грунта; уплотнение осушенного грунта; извлечение электродов; заделку электродных скважин.
Гидрогеологические условия уточняются путем отбора и анализа проб грунта из уплотняемого горизонта с целью определения фактических характеристик. Одновременно с уточнением гидрогеологических условий залегания слабого грунта определяются его фактическое удельное электрическое сопротивление и объемный коэффициент электроосмоса, в соответствии с которыми уточняются расчетные данные. Эти характеристики определяются в строительной лаборатории.
Скважины под рабочие электроды устраиваются с помощью малогабаритной буровой установки типа УПБ-25 или другого бурового инструмента.
Диаметр скважин под трубчатые электроды должен быть на 10-15 мм меньше диаметра под рабочие электроды. Глубина электродных скважин должна быть больше глубины осушения грунта на 30-50 см. В процессе бурения скважин отбираются пробы грунта с целью уточнения гидрогеологии участка и внесения коррективов в проект производства работ.
Трубчатые электроды погружаются с помощью вибропогружателей, копровых устройств легкого типа, пневмомолотками или вручную.
В слабых оплывающих грунтах скважин не устраивают, а электроды на всю глубину погружаются перечисленными способами. После погружения электродов их промывают водой и продувают сжатым воздухом. Электроды промываются насосом типа БКФ-2 через рукав со стальным наконечником способом восходящего потока.
Монтаж водоотводящей сети осуществляется из стальных труб диаметром 1/2 - 3/4 или из вакуумных резиновых рукавов. Соединение секций выполняется на муфтах, стальных или резиновых патрубках.
При небольших размерах захваток (до 50 м2) водоотводящая сеть не устраивается, а удаление воды осуществляется периодически с помощью ручных насосов типа СКФ и БКФ.
Монтаж электрической сети включает в себя прокладку на поверхности грунта или площадки магистрального двухжильного кабеля расчетного сечения и его соединение с электродами одножильным проводом марки ПР-500 или ПРГ.
Провода соединяются на клеммах или на болтах с тщательной изоляцией мест соединения. При прокладке электрической сети особое внимание обращается на принятие мер, обеспечивающих ее защиту от случайных механических повреждений. Защита на рабочих участках, где имеет место движение транспорта, достигается путем прокладки кабеля в грунте или стальных трубах, а на участках, где нет движения транспорта и людей, кабели закрепляются на козлах или маяках высотой 10-15 см над поверхностью земли. После окончания монтажных работ замеряют общее сопротивление электрической цепи с целью уточнения расчетных параметров.
При уплотнении грунта механическими средствами электрообработка должна вестись в два или три этапа с интервалами времени, необходимыми на уплотнение грунта.
Грунт уплотняется либо с применением механических средств, пневматических или гидравлических, либо с помощью обжимных свай (рис.37).

Рис. 37. Технология уплотнения связных переувлажненных грунтов:
1 - вибротрамбовка; 2 - электрод; 3,4 - кабель; 5,8 - пневмогидромагистраль; 6
- пневматический или гидравлический уплотнитель; 7,11 - скважина заполненная
песком; 9,10 - свая; 12 - уплотненная зона; 13 - вибропогружатель I, II, III - зоны уплотнения
Первый этап уплотнения ведется в анодной зоне через 1/3 расчетного периода электрообработки; второй этап (в анодной и средней зонах) - через 2/3 этого периода и последний этап уплотнения осуществляется после окончании электрообработки по всей площади захватки. Тип уплотняющих средств определяется соответствующим проектом или техническими условиями в зависимости от требуемой толщины уплотнения. При отсутствии расчетных данных общая продолжительность периода электрообработки при механо- электрическом способе принимается равной 40-60 ч.
При использовании в качестве уплотняющих средств пневмо-, гидроуплотнителей последние погружаются в специальные скважины, размещаемые в межэлектродном пространстве.
Подводки к каждому уплотнителю должны быть снабжены вентильными кранами.
После создания в пневмоуплотнителях рабочего давления сеть отключается от компрессора и по падению давления в манометрах, установленных на уплотнителях, оценивают характер и величину уплотнения грунта на различных участках межэлектродного пространства, а также степень расширения уплотнителей.
Если начального давления оказалось недостаточно для достижения расчетного диаметра уплотнительных скважин, то пневмосеть вновь подключается к компрессору до момента создания в ней рабочего давления.
При уплотнении электрообработанного грунта путем погружения в него (в пределах межэлактроцного пространства) уплотнительных свай работы выполняются в общем порядке.
Уплотнительные сваи погружаются сваебойным оборудованием или вибропогружателями.
Уплотнительные сваи должны извлекаться подъемным краном и вибропогружателем, работающим в режиме выдергивания.
После каждого извлечения сваи образовавшаяся скважина должна заполняться сухим песком, грунтощебеночной смесью или грунтоцементом с послойным трамбованием.
При уплотнении электрообработанного грунта скважинными взрывами заряды размешаются либо в специальных скважинах, располагаемых в межэлектродном пространстве, либо в электродных скважинах после извлечения трубчатых электродов.
Удлиненные заряды готовятся специализированным эвеном взрывников согласно указаниям на производстве буро-взрывных работ и исходя из имеющегося вида ВВ.
В целях уточнения погонного веса заряда, при котором образуется расчетная величина радиуса зоны вытеснения, должен производиться один или несколько одиночных взрывов скважин, расположенных на краю захватки.
После уточнения веса зарядов и установки их в скважины последние заполняются глиняным раствором.
При глубине скважин до 3 м работы по уплотнению грунтов взрывом должны проводиться с поверхности без предварительного снятия растительного слоя грунта. При этом следует учитывать, что в результате воронкообразования у устьев скважин происходит разрыхление верхнего слоя грунта толщиной 0,5-1 м.
Толщина слоя глиняного раствора над верхним патроном скважинного заряда должна быть не менее 1-1,5 м.
При уплотнении слоя грунта, залегающего на глубине свыше 3 м, заряд должен располагаться только в пределах уплотняемого горизонта, а толщина слоя глиняного раствора над зарядом также не должна быть менее 1 м.
После монтажа электрической взрывной сети взрывают заряды. При уплотнении грунта на глубине до 3 м взрывы должны вестись в 2-4 залпа, а при глубине более 3 м - все одновременно. Число скважинных зарядов, включаемых в один залп, уточняется при проведении контрольных взрывов с тем, чтобы исключить образование воронки или сплошного разрыхления верхних горизонтов.
После взрыва необходимо соблюдать повышенную осторожность, ибо в скважинах могут содержаться взрывоопасные (огнеопасные) ядовитые газы. В случае необходимости образовавшиеся скважины расчищаются и заполняются песком, грунтопесчаной или грунтощебеночной смесью, тощим бетоном или другим материалом с целью использования их в качестве набивных свай.
Скважины могут также заполняться глиняным грунтом, имеющим влажность, близкую к оптимальной. При этом должно вестись послойное уплотнение грунта ручными электротрамбовками, снабженными специальными наконечниками.
Рассмотрим два наиболее распространенных случая сопряжения земляного полотна автомобильных дорог: с мостами на стоечных опорах (рис. 38) и с мостами на свайных опорах (рис. 39).

Рис. 38. Технология уплотнения грунтов в сопряжениях земляного
полотна дорог с мостами на стоечных опорах
1 - зона работы экскаватора-планировщика; 2,3 - зоны обратной за сыпки грунта
автосамосвалами и разравнивания грунта бульдозером

Рис. 39. Технология уплотнения грунтов в сопряжениях земляного полотна дорог с мостами на свайных опорах
До начала обратной засыпки грунта должны быть выполнены следующие работы [16]:
закончены подготовительные работы: расчистка зоны сопряжения от деревьев и кустарников, разбивочные работы и т.п.;
возведены береговые опоры и установлены пролетные строения;
закончена и проверена гидроизоляция конструкций моста;
удалены из зоны сопряжения все вспомогательные материалы, оборудование и механизмы;
составлены акты на скрытые работы, получено разрешение заказчика на обратную засыпку.
Вся зона сопряжений разбита на три участка (см. рис. 38):
I участок - зона работы экскаватора-планировщика. Размеры его определяются допуском приближения тяжелых машин к конструкциям (не менее 2 м);
II и III участки - зона обратной засыпки грунта самосвалами и разравнивания его бульдозером.
I участок по высоте разбит на две части. Первая часть идет снизу до отметки, где заканчивается возведение экскаватором-планировщиком насыпи из дренирующего грунта. Вторая часть - начиная с этой отметки и до отметки земляного полотна.
Обратная засыпка и разравнивание грунта в первой части I участка ведется в три этапа. I этап - экскаватор-планировщик засыпает и разравнивает половину первого участка. На II этапе экскаватор-планировщик засыпает и разравнивает вторую половину первого участка. Одновременно на втором участке ведется обратная засыпка грунта самосвалами и разравнивание его бульдозером. На III этапе экскаватор-планировщик, перейдя на противоположную от оси опор моста сторону, ведет обратную засыпку и разравнивание следующего слоя I участка. Одновременно на III участке ведется обратная засыпка грунта самосвалами и разравнивание его бульдозером.
Вторая часть I участка - обратная засыпка и разравнивание грунта осуществляется экскаватором-планировщиком, на II участке - обратная засыпка осуществляется самосвалами, а разравнивание бульдозером. На III участке работы закончены.
Под пролетными строениями моста работа ведется в два приема. Сначала экскаватор-профилировщик поднимает грунт на уже возведенную насыпь, а землекоп, стоя на бровке этой насыпи, перебрасывает грунт вручную и разравнивает его. Расстояние от верха возведенной насыпи до низа пролета моста 2,15 м.
Грунт между опорами и на расстоянии 40 см от их поверхности разравнивается вручную, чтобы избежать возможных повреждений гидроизоляции опор.
Засыпка, разравнивание и уплотнение грунта ведется последовательно по слоям. Толщина слоя принимается в зависимости от применяемой уплотняющей машины.
Уплотнение необходимо начинать с зон вокруг конструкций опор моста, а затем уплотнять грунт от краев насыпи к середине. Каждый последующий проход уплотняющей машины должен перекрывать след предыдущего на 0,1-0,2 м. В данном случае грунт уплотняют ручными электротрамбовками ИЭ-4504.
Под пролетными строениями моста грунт уплотняется путем поливки водой до полного его насыщения. Особое внимание необходимо обратить на уплотнение щебеночной подушки под лежень и щебеночного основания под плиты.
Для обеспечения уплотнения грунтов при устройстве конусов последние отсыпаются увеличенных размеров по отношению к проектному очертанию на 1 м. После годичной выстойки пригрузочный слой удаляется и укрепляются конусы по их проектному очертанию. Контроль качества (плотность и влажность) уплотнения грунта выполняется систематически полевыми лабораториями строительных организаций.
После годичной выстойки, в течение которой сооружение временно эксплуатируется, необходимо произвести работы по устройству постоянного покрытия, для чего бульдозером необходимо удалить верхний загрязненный слой временного покрытия, срезать экскаватором-планировщиком слой до проектного очертания конуса, уложить лежень, переходные и промежуточные плиты, выполнить постоянное покрытие с устройством на нем водоотводных лотков.
Работы по устройству сопряжения земляного полотна с мостами на свайных опорах выполняются в два этапа (см. рис. 39).
На первом этапе обратная засыпка грунта ведется самосвалами, а разравнивание - бульдозером.
Выполнение второго этапа начинается после возведения конструкций моста.
Зона сопряжения на этом этапе разделена на два участка.
I участок - зона работы экскаватора-планировщика, который засыпает и разравнивает грунт. В непосредственной близости от конструкций грунт разравнивается вручную (зоны шириной 40 см от конструкций моста). Размеры этого участка определяются допуском приближения к конструкциям тяжелых машин (не менее 2,0 м).
II участок - обратная засыпка грунта ведется самосвалами, а разравнивание его бульдозеров.
Обратная засыпка, разравнивание и уплотнение грунтов ведутся последовательно по слоям. Толщина слоя принимается в зависимости от применяемой уплотняющей машины. Уплотнение грунта в данном случае предусмотрено ручной электротрамбовкой ИЭ-4504.
Насыпь уплотняется от краев к середине. После забивки свай и установки конструкций мостов (II этап) уплотнение начинается с зон вокруг конструкций. Каждый последующий проход уплотняющей машины должен перекрывать след предыдущего на 0,1-0,2 м.
Под пролетными строениями моста грунт (песок) насыпи, возведенной на II этапе, уплотняется путем поливки водой до полного его насыщения.
Дальнейшая технология производства работ аналогична той, которая описана при строительстве сопряжения земляного полотна с мостами на стоечных опорах.
Обратные засыпки пазух подпорных стенок набережных являются одной из главных составных частей портовых причальных сооружений. Они воспринимают и распределяют полезную нагрузку на стенку и основание. На грунте обратных засыпок устанавливаются все эксплуатационные сооружения порта, а внутри их укладываются все основные коммуникации. Для обеспечения долговечности и эксплуатационной надежности набережных необходимо обеспечивать качественное уплотнение грунта обратной засыпки.
Опытом строительства причалов ряда портов, а также натурными исследованиями установлено, что в морских и речных условиях механическое уплотнение засыпок пазух набережных и портовых территорий имеет ряд особенностей, без учета которых могут возникнуть значительные затруднения при доведении плотности грунта засыпок до требуемой проектом величины, что в свою очередь вызывает неоправданные дополнительные затраты.
Главным требованием при устройстве засыпок следует считать прежде всего строгое соблюдение технологической последовательности производства работ по укладке и уплотнению грунтов в течение всего периода возведения набережной любой конструкции.
Конструктивные особенности причальных сооружений определяют область распространения ниже приведенной технологии производства работ к двум наиболее распространенным типам набережных: к уголковым стенкам и железобетонным или металлическим больверкам. Однако ряд основных положений приведенной технологии вполне применим и для других типов речных и морских причальных набережных.
Укладку и уплотнение обратных засыпок причальных набережных необходимо рассматривать при проектировании и строительстве как единый производственный процесс, так как выполнение обеих операций с разрывом во времени в итоге оказывается менее рациональным и не может полностью гарантировать быстрое удовлетворение технических требований к сооружению.
Особо строго следует соблюдать требования при выполнении подводной части засыпок, если набережная возводится при строительстве "в воду", так как в противном случае, т.е. при устройстве засыпки сразу на всю высоту, могут возникнуть весьма значительные трудности в подборе уплотняющих механизмов, а также возникнут чисто технические трудности при использовании любых средств уплотнения. Например, сложность уплотнения пространства грунта между анкерными тягами и под ними может вообще исключить возможность качественного уплотнения всей толщи засыпки.
При определенных условиях естественного режима и особенностях конструктивного характера набережной каждому способу укладки грунта обратных засыпок должен соответствовать определенный способ уплотнения. Совокупность последних должна гарантировать удовлетворение требований по плотности и наименьшие трудозатраты, а в итоге минимальную стоимость работ по устройству обратных засыпок.
Для несвязных (песчаных) грунтов наиболее эффективными способами уплотнения являются вибрационные и гидромеханические, которые предусматривают нарушение первоначальной рыхлой структуры грунта и связей между частицами, обусловленных капиллярной водой и молекулярным сцеплением.
Из числа таких способов рекомендуются следующие:
способ уплотнения, использующий вибраторы с вертикально направленной вибрацией;
способ уплотнения, использующий вибраторы с горизонтально направленной вибрацией;
способ намыва песка гидромониторами, объединяющий операции по укладке и уплотнению засыпки.
Гидромеханический способ, часто используемый при устройстве обратных засыпок, является, без сомнения, вполне индустриальным и эффективным по производительности, однако его следует рассматривать как способ укладки, но не как способ эффективного уплотнения.
Гидромеханический способ укладки песка в подводную часть пазухи засыпки набережной может не требовать последующего механического уплотнения, однако опыт показывает, что в этом случае не может быть гарантирована требуемая плотность.
При выборе рекомендуемых способов уплотнения следует учитывать возможность изготовления механизмов в мастерских строительных управлений, а также использование механизмов и машин, наиболее часто применяющихся при строительстве гидротехнических сооружений (вибраторов различных типов).
Способ глубинного уплотнения, использующий виброустановки ВУУП, при искусственном замачивании грунта, имеющего первоначальную влажность в пределах от 3 до 15%, следует считать основным для работ по уплотнению верхней части засыпки пазух набережных.
При глубинном уплотнении маловлажных песков ВУУПами после предварительного замачивания с поверхности целесообразно проводить замачивание с помощью подмывной трубы, устанавливаемой параллельно стволу ВУУПа или через внутреннее сечение его ствола.
Определение количества воды, необходимой для подмыва и замачивания, имеет решающее значение для качества виброуплотнения. Эффективного уплотнения можно добиться только при насыщении песка до степени G ³ 0,8.
Расчет следует начинать с выбора сетки и частоты точек погружений ВУУПа на карте уплотняемой толщины засыпки.
Из числа механизмов с вертикально направленной вибрацией, предназначенных для послойного уплотнения песчаных грунтов для рассматриваемых условий маловлажных грунтов рекомендуется применять тяжелые крановые виброплиты.
Эффективного уплотнения песка на большую глубину виброплитами указанного типа можно достичь только в случае интенсивного замачивания грунта водой с поверхности. При этом насыщать грунт водой следует непрерывно до степени увлажнения G ³ 0,7 на глубину действия плиты.
Виброплиты рекомендуемой конструкции могут перемещаться тракторами или кранами в зависимости от величины уплотняемой площадки и места, где ведется уплотнение.
Из числа виброплит серийного изготовления для рассматриваемых условий рекомендуются плиты: SVP-12,5; SVP-25; SVP-31,5; SVP-63,1, достоинством которых является их автономность.

Рис. 40. Установка для глубинного уплотнения грунта
1 - амортизационные связи; 2 - труба; 3 - вибратор С-826; 4 - переносной
электрощит; 5 - насосная установка; 6 - преобразователь тока; 7 - стрела
автокрана АК-3 2
Для уплотнения обратных засыпок рекомендуются также глубинные вибраторы для бетона (С-825, С-826 или И-50). Для виброуплотнения песчаного грунта можно рекомендовать установки типа 3С-825, 5С-825, 3С-826, 5С-826. Они представляют собой комплект из пяти вибраторов, объединенных штангами, верхней пластиной и амортизационными связями внизу (рис. 40). Установка снабжена центральной подмывной трубой и подвеской к крану.
Для эффективной работы установки необходимо обеспечить интенсивную подачу воды в зону действия вибраторов в грунте.
Технические характеристики установок для виброуплотнения
|
Марки |
3С-825 |
5С-825 |
3С-82 6 |
5С-826 |
|
Число вибраторов |
3 |
5 |
3 |
5 |
|
Частота вибрации, Гц |
97 |
97 |
97 |
97 |
|
Суммарная мощность двигателей, кВт |
1,8 |
3 |
3,3 |
5,5 |
|
Амплитуда колебаний, мм |
0,4 |
0,9 |
0,9 |
0,9 |
|
Масса установки, кг |
100 |
150 |
140 |
200 |
При разработке проекта производства работ рекомендуется иметь в виду следующие схемы разбивки толщи засыпки на зоны в зависимости от гидрогеологических условий и конструктивных особенностей набережной.
Зона I (рис. 41) имеет почти во всех случаях одну и ту же мощность, равную 4 м, определяемую глубиной у причала в межень. Она характерна тем, что грунт засыпки должен укладываться под воду и уплотняться, будучи в водонасыщенном состоянии. В этой зоне для данной конструкции определенные трудности имеются при уплотнении грунта вблизи анкеров.

Рис. 41. Схема уплотнения грунта в зоне I
1 - плавучий кран Р/П16; 2 - вибрационная установка ВУУП; 3 - кабель; 4 -
магнитный пускатель МП-5
Зона II (рис. 42) имеет относительно небольшую мощность - 1-2 м, определяемую амплитудой суточных колебаний уровня в межень. Зона характерна тем, что в ней в течение 7-8 мес грунт благодаря частым колебаниям уровня воды в реке уплотняется весьма значительно.

Рис. 42. Схема уплотнения грунта в зоне II
Зона III (рис. 43) является участком зоны II. Она характерна стесненными условиями из-за наличия шарниров анкерных тяг.
Зона - IV (см. рис. 43) имеет мощность, изменяющуюся в достаточно широких пределах, в зависимости от высоты стенки от 3 до 8 м, что составляет основной объем засыпки (до 50%). Грунт в этой зоне имеет относительно малую влажность: от 20% в самых низких слоях до 2-5% в верхних.

Рис. 43. Схема уплотнения грунта в зоне III и IV
1 - плавучий кран Р/П-16; 2 - магнитный пускатель МП-5; 3 - насос с заборным
клапаном; 4 - вибрационная установка ВУУП; 5 - шланг; 6 - кабель
Зона V имеет небольшую мощность - до 1,2 м, определяемую высотой подкрановых балок. Она характерна тем, что грунт этого слоя может быть уложен и уплотнен только после укладки балок.
Если не принимать во внимание относительно небольшие по объему зоны II и III, то для дайной конструкции способы производства работ по уплотнению грунта пазухи будут определяться особенностями трех основных зон I, IV, V.
Поэтому для уплотнения всей толщи засыпки по указанной схеме можно рекомендовать любые способы укладки грунта, наиболее удобные в данный момент времени года и в данной конкретной обстановке, но с обязательным уплотнением каждой из зон вслед за окончанием работ по укладке.
Общие принципиальные схемы производства работ по уплотнению грунта засыпки за уголковую стенку, строящуюся "в воду", изображены на рис. 41, 42, 43 и рекомендуются как типовые.
Операции по указанной схеме рекомендуется выполнять в следующем порядке:
1. Укладка грунта любым способом (намыв, укладка краном с грейферным захватом, надвижка бульдозером из резерва) с последующим контролем плотности после укладки.
2. Грубая планировка поверхности грунта и разбивка на ней сетки погружений.
3. Расстановка механизмов на рабочем месте и опробование действия уплотняющей установки на максимальном вылете стрелы крана.
4. Уплотнение грунта в соответствии с заранее разработанным графиком режима работы установки.
5. Контроль плотности после уплотнения.
Состав основного звена - 3 чел: крановщик, электрик-механик и оператор.
При четко налаженной работе всех машин средняя производительность может быть не менее 1500 м3/смен.
Необходимые машины, обслуживающие уплотнительные работы: виброуплотняющая установка (ВУУП), усовершенствованная ЦНИИС; насос с двумя магнитными пускателями (МП-5) и рукава; плавучий или сухопутный кран (на гусеничном ходу); виброплита типа ВП-450; трактор и бульдозер.
Уплотнение при отрицательной температуре воздуха возможно, если отсыпка будет вестись не переувлажненными талыми грунтами с количеством мерзлоты, не превышающим допускаемых значений. Работы в этом случае должны вестись на суженном фронте, при максимальном насыщении его механизированными средствами, с минимальными перерывами и такой интенсивностью, чтобы уложенный слой грунта не замерзал до его уплотнения.
Для производства работ в зимнее время следует выбирать объекты, сосредоточенные в одном месте или на нескольких участках, при условии, что переброска машин с одного из них на другой не связана с перевозкой по железной дороге и не сопряжена с большими трудностями.
При прекращении работ по укладке грунта необходимо предупредить нарушение плотности и монолитности уложенного и уплотненного грунта в связи с возможным его замерзанием, а затем оттаиванием. Для этого необходимо последние два-три слоя грунта укладывать в насыпь с влажностью, не превышающей 0,8-0,9 границы раскатывания, после чего отсыпать еще один слой грунта, но без уплотнения.
Весной следует проверить состояние грунта и, в случае обнаружения деформаций, переработать грунт и уплотнить его заново.
Песчаные подушки под фундаментами здания должны устраиваться как правило, в теплое время года. В зимних условиях песчаные подушки можно выполнять только при соответствующем технико-экономическом обосновании. При устройстве подушек в зимнее время не допускается наличия смерзшихся комьев грунта, льда и снега.
В зимнее время допускается без ограничения производить отсыпку из предварительно разрыхленных скальных грунтов, гравия, щебня, крупного и средней крупности песка.
Несвязные грунты укладываются и уплотняются так же, как в летнее время, причем не допускается их дополнительного увлажнения.
Глинистые грунты допускаются для обратных засыпок при условии, если влажность их не превышает границы раскатывания. Допускаются также мелкие и пылеватые пески.
Отсыпка из жирных глин, меловых, тальковых и трепальных грунтов запрещается.
Однако при выборе объектов для зимних работ следует ориентироваться на отсыпку несвязных и малосвязных грунтов (грунтов, содержащих глинистые частицы от 3 до 12%), которые по сравнению со связными грунтами легко уплотняются и после оттаивания дают меньше осадки.
Грунт, подлежащий использованию для обратной засыпки котлованов и траншей с последующим его уплотнением, должен укладываться в отвал с применением мер против его промерзания.
Транспортировать грунт желательно в автосамосвалах с обогреваемыми кузовами, которые можно оборудовать силами строительных организаций (кузов обшивают с наружной стороны листовой сталью и в образующиеся пространства подводят выхлопные газы).
Температура талого грунта в момент окончания уплотнения должна быть не ниже 2°С.
При выпадении снега последний подлежит удалению из возводимого земляного сооружения. Укладка грунта и его уплотнение во время сильных снегопадов и метелей должны прекращаться.
Обеспечение требуемой по проекту плотности грунта в зимнее время связано с большими трудностями, чем в летнее время. Поэтому работы по уплотнению грунта надо выполнять особенно тщательно и вместе с тем в более короткие сроки, чем летом.
Зависимость времени выемки грунта и его уплотнения от температуры наружного воздуха
|
Время, ч |
Температура, °С |
|
2 - 3 |
минус 2 - 10 |
|
1 - 2 |
минус 10 - 20 |
|
Менее 1 |
минус 20 - 30 |
Лучшим способом уплотнения грунтов в зимнее время является трамбование, при котором возможно вести отсыпку грунта наиболее толстыми слоями и допускать в насыпь более крупные куски мерзлого грунта. Поэтому в качестве основных средств уплотнения свежеотсыпаемого грунта в зимних условиях следует применять трамбующие машины. Трамбовочные плиты позволяют производить работы на узком фронте и при значительной толщине уплотняемого слоя грунта.
Катки с гладкими металлическими вальцами и кулачковые катки практически малопригодны для уплотнения грунта в зимнее время ввиду незначительной толщины уплотняемого слоя и в связи с тем, что они требуют большого фронта работ, что ведет к быстрому охлаждению грунта и к возможности его промерзания. В связи с тем, что применение прицепных катков требует большого фронта работ, а это трудно осуществить в условиях быстрого промерзания грунта, особенно при тонкослойной отсыпке насыпи, необходимо при их рекомендации давать соответствующее технико-экономическое обоснование.
При производстве работ по уплотнению грунтов необходимо руководствоваться основными положениями СНиП III-А.11-70.
Перед допуском к работе машинисты грунтоуплотняющих машин и рабочие, применяющие ручной механизированный инструмент, независимо от наличия у них документов об окончании курсов и других видов обучения, должны пройти вводный инструктаж по технике безопасности.
Грунтоуплотняющая машина должна быть оборудована звуковыми сигнальными приборами, за исправностью которых должен следить машинист.
Работать при неисправных звуковых сигнальных приборах или без них запрещается.
Перед началом движения машины или при торможении и остановках машинист должен подавать предупредительные сигналы.
Перед работой машинист должен осмотреть машину и проверить действие пусковых, тормозных устройств и системы управления; топливной и маслопроводной системы; состояние ходовых частей навесного оборудования; болтовых и сварных соединений; состояние и крепление канатов, блоков, барабанов, тормозов лебедки и сцепных устройств механизмов. Также необходимо проверить исправность защитных ограждений.
При работе на грунтоуплотняющей машине необходимо строго руководствоваться проектом производства работ и технологической картой или схемой, определяющими последовательность и порядок уплотнения грунта, размещение и порядок следования машин и др. [16].
Во время работы машинист не должен чем-либо отвлекаться и обязан внимательно следить за направлением движения машины и состоянием уплотняющих рабочих органов, подавая при необходимости работающим водителям других машин и рабочим звуковые сигналы.
Запрещается вести работу по уплотнению грунта в вечернее и ночное время при отсутствии освещения или при недостаточной видимости фронта работ.
При получении электрифицированной трамбовки следует проверить ее исправность путем наружного осмотра. Питающий кабель должен быть исправным, изоляция не должна быть нарушена.
Перед включением трамбовок необходимо проверить соответствие напряжению сети, при котором должен работать инструмент.
Запрещается работать с электротрамбовкой, у которой обнаружены какие-либо неисправности, например поврежден выключатель, штепсельная вилка, оголен провод (кабель), отсутствует заземление и т.п.
У места работы допускается проводить лишь внешний осмотр электротрамбовки. При этом подтяжку болтов, гаек, смазку ударного механизма и т.п. следует осуществлять при отключенном от сети питающем кабеле.
Разборка электротрамбовки, ремонт и испытание ее на месте работ запрещается. Эти работы должны выполняться в специальной мастерской. Во время работы необходимо следить за нагревом электротрамбовки. Перегрев электротрамбовки запрещается.
Во время работы необходимо следить и не допускать натяжения кабеля и ослабления концов контактов в штепсельном соединении во избежание короткого замыкания. Не допускается петление и перекручивание кабеля.
Не разрешается прокладывать питающий кабель через автодороги, а также в местах складирования материалов и т.п.
В этих случаях, при необходимости прокладки (по указанию механика или мастера), кабель должен быть надежно защищен от повреждения, либо подвешен, либо огражден специальной защитой. При перерыве в работе электротрамбовка должна быть отключена от питающей электросети. Работать с электротрамбовкой без резиновых перчаток запрещается.
При выполнении земляных работ грунт уплотняют в сооружении до плотности, которая принята в проекте. При использовании типовых проектов необходимую плотность грунта устанавливают на месте, при привязке проекта к местным условиям.
Достигнутое уплотнение грунта оценивают коэффициентом уплотнения.
При устройстве грунтовых подсыпок под полы, обратных засыпок котлованов и траншей, возведении насыпей с нормируемой плотностью постоянно проверяют соответствие производимых работ проекту и требованиям СНиП, а также качество подготовки оснований и грунта, степень его уплотнения и влажность.
Контроль плотности грунтов обратных засыпок осуществляется грунтовыми полевыми и стационарными лабораториями и их контрольными постами. Грунтовые лаборатории организовываются в составе стационарных строительных лабораторий.
На строительных объектах с суточным объемом укладки грунта менее 3500 м3 контроль осуществляется контрольными постами, организуемыми на месте производства работ, а при суточном объеме укладки обратных засыпок более 3500 м3 грунта - полевыми лабораториями, обслуживающими, один или несколько объектов строительства. При этом одна полевая лаборатория обслуживает суточный объем укладки обратных засыпок не более 20 тыс.м3.
Штат контрольного поста при двухсменной работе определяется ориентировочно следующим числом работников: руководитель контрольного поста (инженер или техник) - 1; старший лаборант - 1.
Число лаборантов определяется из расчета один лаборант на 1000 м3 обратных засыпок в смену. При производстве работ в нескольких пунктах число лаборантов увеличивается исходя из конкретных условий.
Полевые лаборатории и контрольные посты размешают в специально оборудованных помещениях, которые должны быть снабжены электроэнергией, водой, телефоном. Лабораторное оборудование устанавливают на специальных столах и стеллажах.
В зависимости от условий строительства и объема выполняемых работ контрольный пост может быть размешен в передвижных вагончиках.
Перед началом производства работ по укладке обратных засыпок полевые лаборатории и контрольные посты участвуют в подготовке участка опытного уплотнения для отработки рационального режима работы имеющихся грунтоуплотняющих средств, оптимальной толщины отсыпаемых слоев уплотняемого грунта, и определяют оптимальную влажность грунта. В ходе указанных работ ведется тарировка приборов и устройств для контроля качества уплотнения грунтов.
Контрольный пост и полевая лаборатория на строительном объекте во время укладки обратных засыпок следят за соответствием состава грунта и его влажности перед уплотнением проектным, толщиной уплотняемого слоя для данного грунтоуплотняющего механизма, числом его проходов (ударов) по одному следу. После отсыпки очередного слоя определяют объемную массу скелета и влажность грунта и сопоставляют эти данные с проектными. В случае несоответствия фактических данных проектным сообщают об этом руководству строительной организации. При приемке работ представители полевых лабораторий и контрольных постов участвуют в подписании актов на скрытые работы.
Контролировать качество уплотнения грунтов можно либо после окончания уплотнения машинами (после прохода машины), либо в процессе их работы.
На рис. 44 приведена классификация методов контроля.

Рис. 44. Классификация методов контроля качества уплотнения грунта
Наибольшее распространение получили следующие традиционные циклические методы контроля: стандартный, режущими кольцами, радиоизотопный, зондированием, вдавливанием штампа, парафинированием, метод лунок. Они позволяют определить плотность грунта только в отдельных выборочных точках уплотняемого массива, что не всегда может служить объективным критерием суждения о равномерности уплотнения по всей площади.
Более перспективным способом контроля следует считать непрерывный, который обеспечивает контроль в процессе работы грунтоуплотняющих машин.
В этом случае средствами контроля обеспечены рабочие, занятые управлением грунтоуплотняющих машин. Ниже рассматривается более подробно каждый метод.
В результате уплотнения в стандартном приборе Союздорнии образца грунта, из которого возводится земляное сооружение, определяется: оптимальная влажность (Wо) и максимальная стандартная плотность (gск.макс), которые являются основными параметрами, характеризующими уплотняемость тех или иных грунтов. На основании данных параметров оценивают качество работ по уплотнению грунта, определяют уплотняющую способность грунтоуплотняющих машин и назначают рациональный режим их работы.
Стандартный прибор (рис. 45) состоит из разъемного цилиндра диаметром 100 мм - 0,1 мм и высотой 127 мм (объем цилиндра 1000 см3); подстаканника, верхнего стакана и уплотнителя, состоящего из площадки, стойки с ограничительным кольцом и гири массой 2,5 кг. Масса уплотнителя (без гири) - составляет 1,3-1,4 кг. Высота падения гири 300 мм. Прибор Союздорнии применяют для испытания преимущественно мелкозернистых грунтов (песчаных и глинистых) с содержанием до 5% частиц размером более 5 мм. Допускается производить стандартное уплотнение грунтов, содержащих частицы крупнее 5 мм до 30%.

Рис. 45. Прибор Союздорнии для стандартного
уплотнения
1 - подстаканник; 2 - разъемный цилиндр; 3 - верхний стакан; 4 - стойка; 5 -
груз; 6 - ограничительное кольцо; 7 - зажимное кольцо; 8 - зажимной винт
Образец исследуемого грунта в приборе уплотняют в три слоя*.
* Уплотняют вручную. Допускается применение механизированных ударников, обеспечивающих свободное сбрасывание гири массой 2,5 кг с высоты 300 мм.
Каждый слой грунта в зависимости от его вида уплотняют различным числом ударов:
песок и супесь ......................................................................... 25
тяжелые и пылеватые супеси, суглинки и глины................. 40
жирные глины.......................................................................... 50
Каждый образец уплотняют не менее 5-6 раз, постепенно увеличивая влажность грунта. В случае связных грунтов уплотнение следует начинать при влажности несколько большей, чем влажность грунта в воздушно-сухом состоянии, но начальная влажность должна быть меньше оптимальной на 8-10%. Ориентировочно оптимальная влажность следующая, %:
песка....................... 8-12
супеси..................... 9-15
суглинка................. 12-22
глины...................... 16-26
Кроме того, оптимальная влажность может быть определена по влажности на границе раскатывания Wp или по влажности на границе текучести WТ
Wо = Wp - a, (12)
Wо = aWТ, (13)
где a - поправочный коэффициент, равный 1-2 для суглинков и 2-3 для глин;
a - переходный коэффициент, равный 0,75-0,7 для песков и супесей; 0,6-0,55 для суглинков и 0,5-0,45 для глин.
Количество воды Q, необходимое для получения требуемой влажности грунта при каждом цикле уплотнения, определяют по формуле
(13)
где Р - масса грунта образца, г;
WТР , WН - влажность, соответственно требуемая и начальная, %.
Стандартное уплотнение мелкозернистых грунтов (частиц крупнее 5 мм не более 5%). Образец грунта массой 3,5 кг в воздушно-сухом состоянии измельчают и просеивают через сито с отверстием 5 мм; 2,5-3 кг грунта прошедшего через сито, помещают в чашку. При необходимости увлажняют грунт до влажности на 8-10% меньшую, чем оптимальная, и тщательно перемешивают смесь. Приготовленный грунт насыпают в прибор примерно на 1/2 высоты разъемного цилиндра и уплотняют последовательными ударами гири, числом ударов, указанных выше. Затем уплотняют второй слой. При этом рыхлый грунт насыпают примерно на 2-3 см ниже кромки разъемного цилиндра. При уплотнении слоя третьего (верхнего) слоя на разъемный цилиндр надевают верхний стакан, рыхлый грунт насыпают до уровня примерно на 4 см ниже верхней кромки стакана и уплотняют последовательными ударами гири.
После окончания уплотнения верхний стакан осторожно снимают, а выступающий грунт срезают по верхней кромке разъемного цилиндра. Испытание следует полагать выполненным качественно, если высота выступающей части грунта не превышает 5-7 мм. Если поверхность грунта оказалась ниже верхней кромки разъемного цилиндра, испытание следует повторить (категорически не допускается в данном случае досыпать рыхлый грунт после испытания и доуплотнять его на образце грунта).
Разъемный цилиндр с подстаканником, зажимным кольцом и образцом грунта взвешивают с точностью до 1 г и определяют плотность влажного грунта по формуле
(15)
где Р1 - масса разъемного цилиндра с подстаканником, зажимным кольцом и грунтом, г;
Р2 - масса разъемного цилиндра с подстаканником и зажимным кольцом, г;
V - объем разъемного цилиндра, равный 1000 см3.
После взвешивания грунт изымают из цилиндра. Одновременно из верхней, средней и нижней частей отбирают 15-20 г грунта для определения влажности (2 бюкса). Если грунт удалить из цилиндра затруднительно, следует отвернуть зажимные винты и сняв подстаканник и зажимное кольцо, разъединить части цилиндра.
Затем грунт размельчают до состояния, при котором в смеси не будет заметного количества частиц и их агрегатов размером больше 3-5 мм, и доливают воду в таком количестве, чтобы увеличить его влажность на 2-3% (практически добавляют 50-70 см3 воды). Грунт тщательно перемешивают. Для более равномерного распределения влажности увлажненную смесь (связный и особенно высокосвязный грунт) следует выдерживать в закрытом сосуде 20-30 мин. Затем грунт снова уплотняют вышеуказанным способом, но уже при более высокой влажности. Испытание повторяют до тех пор, пока плотность влажного грунта не станет уменьшаться при увеличении его влажности. Для обеспечения необходимой достоверности испытания необходимо, чтобы после максимальной плотности было получено не менее двух значений пониженной плотности.
После завершения испытаний образца грунта и определения влажности W по плотности влажного грунта g находят плотность скелета (сухого) грунта по формуле
(16)
На основании данных, полученных в результате испытаний, вычерчивают кривую зависимости плотности грунта от его влажности (рис. 46). За оптимальную влажность Wо принимают влажность, при которой получилась максимальная плотность скелета (сухого) грунта.

Рис. 46. Зависимость объемной массы скелета грунта от влажности при стандартном уплотнении
Один и тот же образец грунта подвергают стандартному уплотнению не менее двух раз. При этом расхождение в значениях максимальной плотности скелета (сухого) грунта не должно быть более 0,04 г/см3. При большем расхождении требуется дополнительное испытание. За расчетное значение максимальной стандартной плотности принимают наибольшее из значений, полученных при двух параллельных испытаниях, имеющих допустимую сходимость.
Стандартное уплотнение песков (непылеватых), и особенно одноразмерных, имеет определенные особенности (под одноразмерными понимают пески, практически до 90% состоящие из одной фракции, коэффициент неоднородности которых менее 3). В ряде случаев после достижения определенной влажности отмечается практически постоянная плотность влажного грунта, несмотря на повышение влажности смеси до проведения испытаний. В этих случаях после двухкратной повторности достижения постоянной плотности влажного грунта испытания следует закончить.
Плотность одноразмерного песка мало зависит от влажности, поэтому для такого грунта испытание по методу стандартного уплотнения допускается провести однократное при влажности 10-12%, принимая полученную при этом плотность скелета (сухого) грунта за максимальную стандартную.
Для проведения стандартного уплотнения грунтов, содержащих до 30% частиц каменных пород крупнее 5 мм образец грунта в воздушно-сухом состоянии массой не менее 4,5-5 кг измельчают (без разрушения крупных частиц) и просеивают через сито 5 мм.
Таким образом определяют содержание (%) в грунте частиц крупнее 5 мм. Берут 2,5-3 кг просеянного грунта и проводят испытание указанным выше способом.
Значения максимальной плотности грунта c учетом включения крупных частиц (крупнее 5 мм) gск.макс и оптимальной влажности Wо в общем случае определяют по формулам
(17)
(18)
где gск - плотность скелета каменных частиц (агрегатов) крупнее 5 мм, г/см3;
gск.макс - плотность скелета (сухого) грунта отсеянного от частиц крупнее 5 мм, г/см3;
Wо - оптимальная влажность грунта, отсеянного от частиц крупнее 5 мм, %;
Р - содержание частиц крупнее 5 мм, %.
Плотность скелета gск частиц крупнее 5 мм прочных кристаллических каменных пород (гранит, полевой шпат и др.) можно определять гидростатическим взвешиванием или по объему вытесненной жидкости в мерном сосуде. Плотность скелета осадочных каменных пород (известняки, сланцы и др.) и других пористых пород (туфы, ракушечники, и др.) может быть определена методом парафинирования, на образцах материала ненарушенной структуры.
Ориентировочные значения плотности некоторых каменных пород следующие, г/м3:
гранит........................................... 2,6-2,8
известняки.................................... 2-2,4
сланцы и песчаники..................... 1,8-2,5
ракушечники, туфы и др. ............ 1,2-2
Значения максимальной стандартной плотности и оптимальной влажности для грунтов с включениями частиц крупнее 5 мм плотных каменных пород, плотность которых составляет 2,5-2,8 г/см3, может быть определена по формулам
(19)
(20)
где kg и kw - поправочные коэффициенты.
Значения поправочных коэффициентов при содержании частиц крупнее 5 мм (%) следующие:
|
|
kg |
kw |
|
>5 |
1,02 |
0,95 |
|
10 |
1,04 |
0,9 |
|
15 |
1,06 |
0,85 |
|
20 |
1,08 |
0,8 |
|
25 |
1,1 |
0,75 |
|
30 |
1,13 |
0,7 |
Стандартное уплотнение слабых каменных материалов. Плотность слабых каменных материалов, имеющих прочность ниже 4-го класса и легко разрушающихся под действием нагрузки и воды, также определяют методом стандартного уплотнения, который является основным методом оценки их уплотняемости. Для этого грунт дробят до размеров менее 5 мм и испытывают по описанному выше способу.
Ускоренные методы определения оптимальной влажности и максимальной стандартной плотности. Основным методом определения максимальной стандартной плотности и оптимальной влажности мелкозернистых грунтов, содержащих включения частиц крупнее 5 мм в количестве до 30% и слабых каменных материалов, является испытание образцов грунта в стандартном приборе Союздорнии объемом 1000 см3.
Для ускоренного определения параметров уплотнения грунтов, а также для ориентировочного определения параметров уплотнения небольших объемов грунтов (до 100-1500 м3), содержащих менее 5% частиц мельче 2 мм, могут быть использованы приборы ЦНИИСа (объем образца 200 см3) и малый прибор Союздорнии (объем образца 100 см3). Грунт уплотняют в один слой 20 ударами гири в приборе ЦНИИСа и 12-15 ударами в малом приборе Союздорнии [8].
Метод режущих колец для определения объемной массы скелета грунтов обратных засыпок основан на определении объемной массы влажного грунта в объеме металлического кольца, задавленного в уплотненный слой, и влажности этого грунта весовым методом.
Для определения объемной массы грунта в уплотненном слое методом режущих колец необходимо иметь следующее оборудование: режущие кольца; приспособление для задавливания колец в грунт; нож для зачистки грунта; весы технические для взвешивания колец с грунтом.
Задавливается кольцо при помощи домкрата, упирающегося в винтовой анкер, предварительно ввинчиваемый в грунт у места задавливания кольца в грунт.
Пробы отбираются следующим образом. На уплотненном грунте лопатой снимают верхний слой толщиной 4-5 см и выравнивают площадку. Затем завинчивают в грунт упорный анкер, устанавливают грунтоотборное устройство (рис. 47) с размещенным внутри режущим кольцом и при помощи рычага его задавливают в грунт. После этого режущее кольцо постепенно со всех сторон подкапывают ножом с таким расчетом, чтобы кольцо с грунтом извлечь с избытком грунта на его торцах. Затем кольцо с грунтом зачищают ножом, срезая грунт вровень с краями кольца. В одном месте отбирают не менее двух колец. Кольцо с грунтом взвешивают на весах с точностью 0,01 г. Из массы кольца с грунтом отнимают массу кольца и получают массу грунта в заранее известном объеме кольца.

Рис. 47. Кольцо для отбора проб грунта
Объемную массу влажного грунта определяют по формуле
(21)
где Р1 - масса влажного грунта с кольцом, г;
Р2 - масса пустого кольца, г;
V - объем грунта, равный внутреннему объему кольца, см3.
Вычисление объемного веса грунта ведется с точностью до 0,01 г/см3. За величину объемного веса грунта принимается среднее арифметическое из двух параллельных определений.
Расхождение в параллельных определениях для грунта обратных засыпок допускается не более 0,05 г/см3.
Для определения плотности (объемной массы скелета) при известной объемной массе влажного грунта необходимо знать его влажность. Поэтому после взвешивания кольца с грунтом последний выдавливается из кольца и часть его помещают в алюминиевые бюксы для определения влажности. Бюксы должны быть предварительно взвешены. Грунт в бюксах взвешивается и ставится в сушильный шкаф, где высушивается до постоянного веса при температуре 100-105°С. Продолжительность сушки принимается для песчаных грунтов не менее 2 ч, для глинистых - 6-8 ч.
После сушки бюксы с грунтом извлекают из сушильного шкафа, закрывают крышкой и оставляют для охлаждения их до комнатной температуры. Охлажденные бюксы с грунтом взвешивают на технических весах с точностью 0,01 г. Затем бюксы ставят снова в сушильный шкаф для повторного высушивания. Если разница между предыдущим и последующим взвешиванием будет более 0,02 г, то сушку вновь повторяют и взвешивают не ранее чем через 2-3 ч. Влажность вычисляют по формуле
(22)
где g1 - масса бюкса с крышкой и влажным грунтом, г;
g2 - масса бюкса с крышкой и высушенным грунтом, г;
g - масса пустого бюкса с крышкой, г.
Для каждого места отбора грунта ведут два определения влажности. За расчетную влажность принимают среднее арифметическое из двух определений.
Объемную массу скелета (плотность) обратной засыпки вычисляют по формуле
(23)
где gо - объемная масса влажного грунта, г;
W - влажность грунта, %.
На практике для отбора проб грунта наибольшее распространение в СССР получило режущее кольцо объемом 500 см3, диаметром 100 мм и высотой 63,7 мм (см. рис 47). Кольцо внедряется в грунт с помощью падающей грани, так же, как и в приборе стандартного уплотнения (см. рис. 45).
Применение радиоизотопных методов и приборов в контрольно-измерительной технике обычно базируется на использовании следующих основных видов взаимодействия ядерных излучений, испускаемых радиоактивными изотопами и источниками ионизирующих излучений, с веществом: поглощение излучения веществом (материалом), рассеяние излучения веществом; ионизация вещества излучением, иниципирование ядерных реакций или рентгеновского излучения.
Наибольшее распространение в строительной практике в настоящее время получили приборы, в которых используется поглощение и рассеяние гамма-излучения и нейтронов.
Гамма-излучение - электромагнитное излучение высокой энергии, распространяющееся со скоростью света и обладающее большой проникающей способностью, изменяющейся в довольно широких пределах в зависимости от его энергии. Обычно энергия гамма-излучения лежит в диапазоне от тысячных долей килоджоуля до одного килоджоуля или от нескольких кило-электрон-вольт (Кэв) до нескольких мега-электрон-вольт (Мэв) 1 Мэв = 1,602×10-13 Дж = 0,1602 пДж.
Нейтронное излучение - поток нейтральных частиц (нейтронов), которые также обладают большей проникающей способностью.
Основными элементами любого радиоизотопного прибора является источник ядерного излучения, первичный преобразователь излучения (приемник, детектор), регистратор (электронный блок) и вторичный измерительный прибор (аналоговый, цифровой, самопишущий, печатающий, показывающий и т.д.) или совокупность измерительных приборов.
Определение значений контролируемой величины производится по изменению интенсивности или характера энергетического спектра излучения после взаимодействия его с исследуемым веществом.
Вид излучения и активность источника выбирают в зависимости от решаемой задачи в каждом конкретном случае.
Для регистрации излучения применяют ионизационные камеры, газоразрядные счетчики и полупроводниковые детекторы.
В первичном преобразователе энергия ионизирующего излучения преобразуется в электрическую: ионизационные камеры выдают сигнал аналоговой формы, остальные детекторы - сигнал дискретной (импульсной) формы. В связи с этим регистраторы также делятся на две группы: аналоговые и дискретные. Аналоговый регистратор - усилитель постоянного тока, в частности к таким регистраторам относится усилитель напряжения интегрирующей цепи. Дискретный регистратор - пересчетный прибор, обеспечивающий счет импульсов за определенный промежуток времени. От регистратора электрический сигнал поступает на вторичный измерительный прибор, показания которого пропорциональны интенсивности излучения, попадающего в первичный преобразователь.
Основой применения радиоизотопных методов является тот факт, что качество уплотнения грунтов главным образом определяется:
1. Сравнением фактически полученных значений плотности скелета грунта gск.ф со значением требуемой (проектной) плотности скелета грунта gск.тр (gск.ф ³ gск.тр).
2. Сравнением фактического коэффициента относительного уплотнения Кф со значением требуемого (проектного) коэффициента относительного уплотнения Ктр (Кф ³ Ктр).
В первом случае задача сводится к определению значения плотности скелета грунта по результатам измерений радиоизотопными приборами, которое определяют по формуле
(24)
где gвл.гр - плотность влажного грунта, определяемая радиоизотопным плотномером, г/см3;
Wоб - объемная влажность грунта, определяемая радиоизотопным влагомером, %;
gв - плотность воды, г/см3.
Во втором случае контроль качества уплотнения производится сравнением плотности скелета грунта в уплотненной насыпи и карьере (резерве, выемке) в естественном залегании. При сохранении в уложенном грунте влажности естественного залегания контроль качества существенно упрощается, так как оценка уплотнения сводится к сравнению данных по плотности грунта, полученных в результате измерений только радиоизотопными приборами и в уплотненной насыпи и карьере (резерве, выемке).
При необходимости вычисления значений влажности, при контроле оптимальной влажности, используют формулу
(25)
Для определения плотности грунта обычно используются методы, основанные на просвечивании (гамма-скопический) или рассеянии гамма-излучения.
Гамма-скопический метод используется для послойного определения плотности до глубины 1,5 м в лабораторных и полевых условиях. Метод основан на ослаблении интенсивности пучка гамма - квантов при прохождении его через, слой вещества в зависимости от его плотности. При прохождении через вещество гамма - кванты в основном взаимодействуют с электронами, передавая им всю или часть своей энергии. При взаимодействии гамма-квантов с энергией 0,05-0,5 пДж основное значение имеют два процесса: фотоэлектрическое поглощение (фотоэффект) и комптоновское рассеяние (комптон-эффект). При фотоэффекте происходит полное поглощение гамма-кванта атомом. При комптоновском рассеянии гамма-квант не исчезает, а только передает часть своей энергии электрону.
Измерение плотности грунта методом просвечивания имеет две разновидности, которые различаются по принципу регистрации узкого или широкого пучка гамма-квантов. При использовании узкого пучка регистрируются только гамма-кванты, не взаимодействовавшие со средой при прохождении их от источника до детектора (рис. 48). При схеме широкого пучка детектор регистрирует гамма-кванты как непровзаимодействовавшие со средой, так и испытавшие комптоновское рассеяние (рис. 49).

Рис. 48. Схема измерения плотности грунта по принципу узкого пучка

Рис. 49. Схема измерения плотности грунта по принципу широкого пучка
При проведении измерений гамма-скопическим методом обычно применяют три схемы (рис. 50):
а - измеряют плотность грунтов на глубину до 1,5 м путем параллельного опускания или поднятия источника и детектора по высоте исследуемого слоя;
б - применяется при определении слоев мощностью 20-60 см;
в - обычно используется при лабораторных определениях плотности образцов грунта.

Рис. 50. Схема измерения пучком j-квантов
а) источник и детектор, находящиеся в исследуемой среде; б) источник или
детектор, находящиеся на поверхности среды и в среде; в) источник и детектор,
находящиеся между исследуемой средой;
1 - исследуемая среда; 2 - источник j-излучения; 3 - детектор; 4 - рассеянное излучение
Измерения в узком пучке ведут путем коллимации гамма-квантов. Коллимация осуществляется в основном двумя способами: применением свинцовых коллиматоров или осцинтиляционного детектора, способного различать регистрируемое излучение по энергиям. Применение коллимации значительно уменьшает эффективность использования источника гамма-квантов. Этот способ обычно используется при необходимости тщательной дифференциации изучаемого образца (монолита) по высоте.
При использовании гамма-скопического метода плотность определяют по формуле
(26)
где по и п - регистрируемая скорость счета соответственно при отсутствии грунта (поглощающей среды) и наличии его;
a - толщина просвечиваемого слоя;
- массовый
коэффициент ослабления гамма-излучения в грунте, зависящий от энергии излучения
и химического состава среды;
mл - линейный коэффициент поглощения;
h - коэффициент, учитывающий регистрацию рассеянного излучения (h < 1).
Коэффициент h получают экспериментально путем непосредственного измерения на средах с заранее известным значением плотности. Величина этого коэффициента зависит от характера регистрируемого гамма-спектра, который в свою очередь зависит от расположения в среде источника по отношению к детектору, состава и физико-механических свойств среды, конструкции прибора, геометрии измерений и толщины поглощаемого слоя Т = gd.
Особенно существенное изменение значения коэффициента происходит при малых значениях Т < 30-40 г/см2. При Т > 60-70 г/см2 - этот коэффициент остается практически постоянным. Определение коэффициента h следует производить для конкретной конструкции прибора при нескольких значениях Т (не менее 5-6 раз).
В большинстве применяемых в настоящее время приборов используются радиоактивные источники: цезий-137 (0,106 пДж), кобальт-60 (0,187 и 0,213 пДж) и радий-226 (0,128 пДж).
Теоретические значения коэффициентов ослабления гамма-излучения в грунте для источников Cs137 и Со60 соответственно равны 0,0562 и 0,0773 см2/г.
Коэффициент m для воды примерно на 11% больше, чем для скелета грунта, так как электронная плотность водорода в два раза больше, чем для, других элементов, входящих в состав грунта.
Для определения плотности грунта с большой точностью необходимо учитывать его влажность. Для широкого пучка рекомендуемая зависимость имеет вид:
(27)
Метод рассеянного гамма-излучении используется для измерения плотности грунтов в естественном залегании и плотности насыпных грунтов (до глубины 20-30 м); проведения режимных измерений; определения плотности поверхностных слоев (5-15 см) без внедрения датчика в исследуемый массив.
Данный метод определения плотности грунтов основан на регистрации интенсивности рассеянных средой гамма-квантов. Измерение плотности грунта по этому методу производится радиоизотопными приборами, в которых источник и детектор гамма-квантов разделены свинцовым экраном, предотвращающим прямое попадание гамма-квантов на детектор. Детектор в этом случае регистрирует в основном излучение, рассеянное средой, контактирующей с прибором (рис. 51).

Рис. 51. Принципиальная схема измерений
гамма-плотномерами по методу регистрации рассеянного гамма-излучения
а) измерение в скважине глубинным зондом; б) измерение в скважине с прижимным
гамма-плотномером (без коллимации гамма-излучения); в) измерение в скважине с
прижимным гамма-плотномером ( с коллимацией гамма-излучения); г) поверхностное
измерение гамма-плотномером;
1 - источник излучения; 2 - детектор излучения; 3 - разделительный экран; R -
длина (база) датчика
При проведении измерений плотности грунта методом рассеянного гамма-излучения пользуются зависимостью (рис. 52) между регистрируемой интенсивностью гамма-излучения и плотностью среды g.

Рис. 52. Градуировочная зависимость интенсивности излучения от плотности грунта
Положение максимума зависит от базы датчика прибора, т.е. расстояния между серединой детектора и источника, энергия гамма-излучения источника и конструкции самого датчика. Ориентировочный максимум можно оценить по формуле
(28)
где b - коэффициент, равный 0,6-0,8.
Зависимость п = f(g) обычно получают экспериментально для конкретной аппаратуры, конструкции радиоизотопного плотномера и технологии проведения измерений, так как теоретическим способом сложно одновременно учесть все факторы (аппаратурные, скважинные, контактные, грунтовые), которые влияют на изменение зависимости регистрируемой интенсивности гамма-излучения от плотности грунта.
По условиям применения датчики делятся на глубинные и поверхностные (см. рис. 51). Датчики (зонды) типа а используются для изучения свойств грунтов и пород в скважинах малого диаметра (20-70 мм). Диаметры корпуса датчика, в котором размещены все элементы, и свинцового экрана не должны превышать диаметр скважины более чем на 30 мм. Датчики типа б, в используются при измерениях в скважинах большого диаметра (90-120 мм). Измерение плотности поверхностных слоев (5-15 см) выполняется датчиком типа г .
Нейтронный метод определения влажности используется для измерения влажности грунтов в естественном залегании и насыпных грунтов, контроля замачивания грунта, изучения режима миграции влажности грунта и т.д.
Данный метод основан на том, что быстрые нейтроны, испускаемые источником в окружающую среду, испытывают соударения с ядрами химических элементов и рассеиваются, передавая им часть своей энергии. В результате многократных столкновений нейтроны замедляются до скорости теплового движения.
В настоящее время наибольшее применение нашли следующие источники быстрых нейтронов: плутоний-бериллиевые (Ри + Ве), полоний-бериллиевые (Ро + Ве), радий-бериллиевые (Ra + Ве), америций-бериллиевые (Am + Be) активностью 0,2-2,0´105 к/с.
Из всех элементов, входящих в состав грунтов и горных пород, наиболее сильным замедлителем является водород. Для замедления быстрых нейтронов до тепловых на атоме водорода требуется 19 столкновений в то время, как на ядрах других элементов значительно больше. Тепловые нейтроны диффундируют в среде и затем захватываются ядрами химических элементов среды, что в ряде случаев сопровождается испусканием гамма-излучения. В результате замедления и диффузии вокруг источника образуется поле тепловых нейтронов. Чем выше влажность среды, тем меньше линейные размеры этого поля и тем больше его плотность.
Для определения влажности грунта пользуются функциональной связью между его водородосодержанием, которое в основном зависит от влажности, и регистрируемой плотностью потока тепловых нейтронов и захватного гамма-излучения.
Измерение влажности нейтронным методом ведется радиоизотопными приборами, датчики которых содержат источник быстрых нейтронов и детектор, регистрирующий тепловые нейтроны (нейтронный метод) или захватное гамма-излучение (нейтронный гамма-метод), либо то и другое вместе (комбинированный метод).
В зависимости от назначения нейтронного влагомера и используемого способа определения влажности применяется (см. рис. 50):
соосное (торцовое) расположение источника и детектора;
боковое расположение;
схема просвечивании.
Во влагомерах, основанных на комбинированном и нейтронном гамма-методе, между: источником и детектором располагается разделительный экран. Экран выполняется из материала с большим атомным номером (свинец, вольфрам, висмут) и предназначен для защиты детектора от прямого попадания собственного гамма-излучения нейтронного источника. В датчиках, основанных на комбинированном методе, обычно используется кадмиевый экран, который окружает детектор. Экран (толщиной 0,5-0,8 мм) практически полностью поглощает тепловые нейтроны с образованием гамма-излучения, которое регистрируется детектором.
Радиоизотопные плотномеры и влагомеры подвергаются систематической градуировке.
Градуировкой называется экспериментальное установление функциональной связи между плотностью (влажностью) среды и интенсивностью регистрируемого радиоактивного излучения, выполненное для конкретных условий измерений, аппаратуры и конструкции радиоизотопного прибора.
Такие ограничения при градуировке вызваны тем, что на характеристики приборов оказывает влияние большое число различного рода факторов. Создание радиоизотопных приборов, строго идентичных по своим конструкциям и эффективности регистрируемой схеме, практически маловероятно. Однако при проведении градуировки конкретного прибора, предусматривающего определенную методику измерений, большинство указанных факторов остается неизменным и не влияет на качество градуировки. Этому необходимо уделять должное внимание, так как от измерения влияющих факторов зависит точность измерения плотности и влажности исследуемой среды.
Наиболее качественная градуировка получается при проведении ее на средах, тождественных по своим физическим и минералогическим характеристикам объектам, где намечается измерение плотности и влажности. Это положение обычно трудно выполнимо, и градуировку производят на средах, приближенно тождественных предполагаемым объектам измерений.
Градуировку радиоизотопных приборов обычно проводят в натурных стационарных (лабораторных) условиях. Оба эти способа обладают своими недостатками. В первом случае не всегда удается найти объекты со значениями плотности и влажности в широком диапазоне, необходимом для качественной градуировки приборов; кроме того, определение плотности и влажности термо- и объемно-весовыми способами часто производят с погрешностями, значения которых зависят от квалификации оператора. Во втором случае можно уменьшить влияние указанных недостатков благодаря возможности получения сред в большем диапазоне плотности и влажности и осуществления более тщательного контроля за плотностью и влажностью приготовляемых эталонных сред.
Однако в этом случае грунтовые условия обычно значительно больше отличаются от тех, в которых предполагается проведение измерений. Целесообразно проводить комбинированную градуировку этими двумя способами. Особенно она необходима в грунтах, содержащих большое количество аномальных поглотителей и химически связанной воды.
При градуировке глубинного плотномера и влагомера в натурных условиях производят выбор объектов с различными значениями плотности и влажности (не менее 4-5 объектов). Для построения зависимости п = f(Wоб) нейтронного влагомера необходимы объекты со значениями объемной влажности 3-5; 10-15; 20-30; 40-50%. Для построения зависимости п = f(g) значения плотности 1,5-1,6; 1,7-1,9; 2,0-2,2 г/см3.
В месте проведения градуировки грунт должен быть однородным в пределах сферы, в которой снимается информация.
Для плотномеров (источник Со60) и влагомеров (доинверсионных) радиус этих сфер равен
(29)
(30)
При проведении градуировки должны соблюдаться следующие условия: измерения проводятся в обсадных трубах (одинаковые диаметр, материал и толщина стенок), погруженных одним и тем же способом; наличие зазоров между стенкой обсадной трубы и грунтом недопустимо; стабильность работы приборов проверяют в контрольно-калибровочном устройстве (обычно рабочий контейнер, установленный в строго определенном месте) до и после каждого проведенного измерения; предварительно должен быть снят отсчет на воде, который является абсолютным контролем эффективности регистрирующей схемы и параметров данного прибора.
Методика проведения градуировки в натурных условиях следующая. На выбранной грунтовой площадке делают скважины глубиной 1 м (при влажности более 10%) или 1,3 м (при влажности меньше 10%). При градуировке плотномеров достаточна глубина скважины 1 м при любых значениях плотности грунта. Далее после проведения измерений на контрольно-калибровочном устройстве определяют скорости счета в скважине при расположении середины базы прибора на глубине 55,6 и 65 см (для скважин 1,2 м) и 45, 50 и 55 см (для скважин 1м). Из шурфа отбирают пробы для определения плотности и влажности грунта термо- и объемно-весовыми способами. Пробы грунта отбирают по трем горизонтам, расположенным на расстоянии 10 см от верхнего края детектора, на середине базы прибора и на расстоянии 10-15 см ниже конца источника излучения; с каждого горизонта отбирается по 5-8 проб. Для плотномеров пробы отбираются с горизонтов, проходящих через верхний край детектора, середину базы прибора и нижний край источника излучения. Пробы отбираются для влагомеров на расстоянии 15-30 см от стенки скважины. По полученным средним значениям скоростей счета и плотности (влажности) строят градуированную зависимость (рис. 52) п = f(Wоб) или п = f(g). Рекомендуется для плотномеров вместо значений средней скорости счета откладывать отношение к ее средней скорости счета в контрольно-калибровочном устройстве. Реперной точкой является отношение скорости счета в контрольно-калибровочном устройстве и воде.
При градуировке поверхностного влагомера и плотномера поверхность грунта выравнивают. Измерения производят на подготовленной площадке при отсутствии зазора между подошвой датчика и поверхностью грунта. Затем повторяют измерения после поворота датчика на 90° и 180°. После определения скоростей счета берут пробы на плотность и влажность для плотномеров по двум горизонтам на глубине 5 и 10 см, а для влагомера по трем горизонтам на глубине 5; 15 и 25 см. В том и другом случае отбирают по 4 - 5 проб с каждого горизонта.
Градуировка поверхностных плотномеров и влагомеров должна быть произведена на 6-8 площадках с различными значениями плотности и влажности.
В лабораторных условиях проведение градуировки глубинного влагомера значительно более трудоемко, нежели градуировка плотномера, так как в последнем случае объем приготовляемой эталонной смеси составляет примерно 1,7 м3. Ниже прилагается методика приготовления грунтовой смеси различной влажности и определения средней скорости счета. На дне емкости размером 120´120´120 см3 закладывают перфорированные трубы (2-3 шт.), обтянутые сеткой. Желательно с наружной стороны установить пьезометрическую трубку. Приготовление грунтовой смеси различной влажности ведут обычным растворосмесителем на 50-100 л. Для этих целей используют песчаный грунт с начальной весовой влажностью не более 1-2%. Далее путем добавления воды (количество воды определяется расчетом) получают нужные значения влажности грунта. Грунт достигает равномерной влажности после перемешивания в течение 3 мин. Укладку грунта в тарировочную емкость необходимо вести слоями толщиной не более 15 см с тщательным трамбованием. Засыпаемые порции грунта взвешивается. Из каждого третьего замеса (после укладки) отбирают по 3-4 пробы для определения плотности и влажности.
Определение средней скорости счета целесообразно проводить не только в центре емкости, но и по диагонали. Такое измерение позволяет уточнить объемы, с которых снимается информация, и получить усредненное значение скорости по всей емкости.
Поверхностные плотномеры и влагомеры в лабораторных условиях тарируются в емкостях размером 60´60 см2 и глубиной 40 см. Методика градуировки этих приборов такая же, как при натурной градуировке.
В СССР разработаны несколько экспериментальных и опытных образцов радиоизотопных приборов для контроля плотности и влажности грунта: "Технолог-С", "Технолог-К", ПГП-2М, РИП, ГГП-2, НИВ-2, РВГ-36, РПГ-36, СНМ-17 и др. [9, 10, 11] .
Некоторые из этих приборов нашли практическое применение в строительстве.
Метод статического и динамического зондирования как один из видов контроля степени уплотнения грунтов обратных засыпок является наиболее оперативным и простым из всех существующих методов контроля.
Метод статического зондирования основан на измерении глубины погружения зонда в грунт данной плотности при известном усилии его погружения (задавливания). С целью наглядной сопоставимости результатов испытаний весьма удобно при уплотнении данного вида грунта контроль плотности производить при постоянном усилии задавливания зонда. Тогда при Р = const глубина погружения зонда будет непосредственно зависеть от плотности грунта. Чем грунт плотнее, тем на меньшую глубину погружается зонд.
В настоящее время разработано большое число различных конструкций приборов для статического и динамического зондирования грунтов. В качестве примере на рис. 53 показан прибор для статического зондирования грунта ГП-2, разработанный Донецким Промстройниипроектом.

Рис. 53. Прибор для статического зондирования грунта
1 - основание; 2 - наконечник; 3 - зонд; 4 - корпус; 5 - баллон; 6 - манжета; 7
- плунжер; 8 - ниппель; 9 - винт; 10 - планка; 11 - рукоятка; 12 - манометр; 13
- винт; 14 - линейка; 15 - гайка; 16 - бобышка; 17 - пробка
Прибор ГП-2 состоит из следующих основных частей. Цилиндрический полый корпус имеет в нижней части основание. Внутри корпуса размещен гидравлический баллон с горизонтально ввинченным в него манометром типа 12 МТ-1 с пределом измерения 600-1000 кПа. Баллон жестко соединен с зондом, имеющим конусный наконечник. В баллон упирается нажимной винт, вращающийся в гайке, ввинченной в верхней части корпуса.
Работа с прибором ведется следующим образом.
Оператор, опираясь ногами на основание прибора, вращает винт до тех пор, пока манометр не покажет принятое для данного грунта усилие задавливания зонда. После чего глубина погружения зонда фиксируется с помощью линейки, закрепленной на корпусе прибора.
Принцип действия прибора основан на получении тарировочного графика зависимости глубины погружения зонда от плотности грунта при заданном постоянном давлении. Прибор тарируется с использованием метода режущих колец. Для этого на участке опытного уплотнения при уточнении толщины уплотняемого слоя и числа проходов грунтоуплотняющих машин в контролируемой точке ведут задавливание зонда и одновременный отбор проб грунта кольцом для определения объемной массы скелета грунта в этом месте. Различное число проходок уплотняющего механизма обеспечивает тарировку прибора в широком диапазоне плотностей. По результатам тарировки строится график зависимости глубины погружения зонда от величины объемной массы скелета грунта. В процессе производства работ степень уплотнения грунта контролируется только по глубине погружения зонда при постоянном давлении 300-400 кПа, фиксируемом по манометру, а соответствующая этой глубине погружения плотность устанавливается по тарировочному графику.
Техническая характеристика прибора ГП-2
|
Число замеров в 1 час |
20-30 |
|
Максимальная глубина зондирования, мм |
300 |
|
Время погружения зонда, мин |
2 |
|
Конусность наконечников зонда, град |
30-45 |
|
Пределы измерения манометра МТ-1, кПа |
до 1000 |
|
Масса прибора, кг |
3,50 |
Метод динамического зондирования основан на измерении глубины погружения зонда в грунт при заданном числе ударов груза, падающего с постоянной высоты.
Для контроля плотности грунтов обратных засыпок с толщиной уплотняемых слоев до 0,5 м может быть рекомендован прибор конструкции Днепропетровского института инженеров железнодорожного транспорта (рис. 54). Это устройство состоит из трубы диаметром 12 мм, конусного наконечника с углом заострения 60°, шабота, приваренного к трубе, цилиндрического груза массой 3,2 кг и ограничителя подъема груза. Общая масса устройства, около 5 кг.
Нижняя часть трубчатой штанги, представляющая собой зонд с конусным наконечником, забивается в грунт серией ударов груза по шаботу, падающего с высоты 50 см. Зондовая часть штанги имеет кольцевые насечки через 1 см для отсчета глубины погружения зонда при заданном постоянном количестве ударов, принятого для данного грунта.

Рис. 54. Прибор для
динамического зондирования грунта
1 - наконечник; 2 - труба; 3 - ограничитель; 4 - груз; 5 - ограничитель;
6 - шабот
Тарировка устройства для динамического зондирования производится аналогично описанному выше способу для метода статического зондирования с получением графика
h = f(gск) (31)
Метод вдавливания штампа применяется для определения прочности грунтовых оснований. В частности, этот метод широко применяется для контроля качества уплотнения грунтов оснований под полы промышленных зданий (см. п. 22). Поскольку плотность грунта является важнейшим фактором, определяющим прочность грунтового основания и его деформативную способность при дальнейшей работе, качество уплотнения оснований под полы можно оценивать величиной модуля деформации грунта.
Для его определения на грунт устанавливается круглый штамп, загружаемый с помощью гидравлического домкрата, упором для которого служит обычно рама автомобиля, воспринимающая нагрузку.
Между рамой и гидравлическим домкратом находится указатель нагрузки, который позволяет точно измерять нагрузку на штамп. Для измерения осадки штампа в грунт на него опирается стержень индикатора.
Штамп загружают сериями постоянных нагрузок.
Нагрузку прикладывают каждый раз на определенное время. Затем снимают нагрузку и повторяют это не менее трех раз. Осадку штампа отмечают по индикатору каждую минуту, чтобы получить полную запись осадки.
Модуль деформации грунта определяется по формуле
(32)
где Р - удельное давление на поверхности грунта над штампом;
dш - диаметр штампа;
S - полная осадка штампа.
Для ускорения и упрощения проведения испытаний по определению прочностных свойств грунтов применяют также динамические штамповые испытания с помощью специальных установок (рис. 55).

Рис. 55. Устройство для динамического вдавливания штампа в грунт
1 - рукоятка; 2 - стержень; 3 - груз; 4 - ограничитель; 5 - пружина; 6 - датчик;
7 - пружина; 8 - ограничитель; 9 - штамп; 10 - индикатор
Нагрузку на штамп создают с помощью падающего груза через систему тарируемых пружин. Усилие фиксируется с помощью динамометра, а осадка штампа индикатором.
Для ускорения определения плотности песчаных грунтов, супесей и суглинков в практике строительства широко применяется плотномер-влагомер конструкции Н.П. Ковалева (рис. 56). В этом приборе применен принцип гидростатического взвешивания.
Основные части прибора - поплавок и сосуд, вспомогательные - режущие стальной цилиндр с внутренним объемом 200 см3 и массой 123 г, стальная насадка для погружения режущего цилиндра в грунт и ведро-футляр с крышкой.
Поплавок предназначен для взвешивания испытуемой пробы грунта в водной среде. В крышку поплавка помешается режущий цилиндр с грунтом. При этом цилиндр устанавливают так, чтобы режущий край его был сверху, а незаточенный край с надетой на него крышкой - снизу. Сверху на цилиндр надевается поплавок так, чтобы его край вошел в паз крышки поплавка, где имеется резиновая прокладка. Замки на поплавке и крючки на крышке совмещаются и герметически закрывают поплавок.

Рис. 56. Плотномер-влагомер конструкции Ковалева
1 - крышка с ручкой; 2 - футляр; 3 - насадка; 4 - нож; 5 - поплавок; 6 - замок;
7 - сосуд; 8 - трубка; 9 - крышка; 10, 13, 14 - замки; 11 - грунтонос; 12 -
тарировочный груз
Между дном крышки поплавка и крышкой цилиндра помешается тарировочный груз, представляющий собой металлические пластинки разной величины.
На трубке поплавка нанесены четыре шкалы показателей объёмной массы грунтов. Шкала ВЛ служит для определения объемной массы скелета чернозема, песчаных и глинистых грунтов в диапазонах 1-2,2 г/см3. Каждое деление шкалы соответствует 0,01 г/см3.
При определении объемной массы скелета грунта поплавок с режущим цилиндром и грунтом соединяется с сосудом с помощью специального замка. Между соединенными поплавком и сосудом имеется зазор шириной 1-2 мм, через который при погружении в воду из сосуда свободно выходит воздух и поступает вода.
Перед началом работы прибора проверяют:
массу режущего цилиндра, которая должна быть равна 123 г ±1;
массу сосуда - 272 г ±1 (в воде 240 г);
герметичность поплавка;
уровень погружения поплавка (с присоединенным к нему сосудом и вложенным внутрь его режущим цилиндром без грунта). Поплавок должен погружаться до риски начала шкалы ВЛ и шкалы Ч, нанесенных на трубке.
Если указанные условия соблюдаются, то прибор готов к работе. Незначительные отклонения уровня воды от этой риски регулируются снятием (если уровень выше риски) или добавлением (если уровень воды ниже риски) тарировочного груза, находящегося в крышке поплавка.
В процессе работы с прибором производят периодическое контрольное определение объемной массы влажного грунта и влажности плотномером-влагомером и весовым методом не реже 1-2 раза в месяц.
Определение плотности грунта обратной засыпки плотномером-влагомером производят следующим образом. На поверхности уплотненного слоя выравнивается площадка и на нее острым краем ставится режущий цилиндр, который залавливается в грунт при помощи специальной направляющей насадки и рычага, упирающегося в завинчиваемый в грунт анкер. Верхний край режущего цилиндра должен быть погружен на 4-5 мм ниже поверхности грунта. Цилиндр с грунтом откапывают ножом и грунт зачищают вровень с кромками цилиндра. Затем цилиндр с грунтом и надетой на него крышкой помещают в крышку поплавка. На крышку сверху надевают поплавок и закрывают замки, после чего поплавок опускают в воду, налитую в ведро-футляр. Против уровня воды по шкале ВЛ берется отсчет объемной массы влажного грунта gвл.
После определения объемной массы влажного грунта производят определение объемной массы скелета. Для этого грунт из режущего цилиндра помещают в сосуд и заливают водой приблизительно на 1/2 вместимости сосуда и тщательно перемешивают его с водой. После того, как в зоне не останется комков грунта, в сосуд доливают воды до 1/2 - 3/4 его объема. Затем к сосуду присоединяют поплавок и погружают их в воду. Вода через зазор между поплавком и сосудом заполняет оставшееся пространство сосуда. По шкале Ч, П и Г соответственно типу испытываемого грунта отсчитывается объемная масса скелета грунта gск.
Если удельная масса грунта более 2,72 г/см3, то gск находят по шкале Г, если удельная масса менее 2,59 г/см3, то показания берутся по шкале Ч и полученный результат пересчитывается по формуле
(33)
где
- объемная масса скелета, найденная по шкале
прибора, г/см3;
gу - удельная масса грунта, г/см3.
Влажность грунта рассчитывается по ранее определенной объемной массе влажного грунта gвл и объемной массе скелета gск по формуле
(34)
Следует отметить, что плотномер-влагомер эффективен при определении плотности песчаных грунтов. Для глинистых грунтов он малоэффективен, так как затрачивается много времени на размешивание грунта в воде.
Метод парафинирования применяют преимущественно при контроле за уплотнением грунта в зимних условиях. Из уплотненного слоя вырубают монолит грунта объемом не менее 300 см3, взвешивают его и определяют массу q.
Затем проводят парафинирование образца, взвешивают его и определяют массу q1.
Взвешенный образец погружают в мерный цилиндр с водой и определяют объем вытесненной воды, равный объему запарафинированного образца грунта V1.
Если запарафинированный образец грунта значительных размеров, его объем определяется следующим образом. Батарейный стакан или банку устанавливают в фарфоровую чашку и наполняют водой вровень с краями. Затем образец, подвязанный на нитке, погружают в батарейный стакан с водой.
При этом часть воды, равная объему образца, будет вытеснена и выльется через край стакана в чашку.
Измерив объем вытесненной воды мерным цилиндром, определяют объем запарафинированного образца V1.
Более точно объем запарафинированного образца может быть определен по величине потери веса при погружении образца в воду. Образец взвешивают на воздухе и в воде на обычных технических весах. Вычитая из массы образца в воздухе массу его в воде, получают объем образца с парафином V1.
По разности между массой запарафинированного образца q1 и массой образца q определяют массу парафина q2, израсходованного на парафинирование образца:
q2 = q1 - q (35)
Принимая удельную массу парафина gп = 0,9 г/см3 и массу парафина q2, определяют объем парафина V2, использованного на парафинирование образца:
(36)
Затем определяют объем образца V без парафина, см3
V = V1 - V2 (37)
и объемную массу влажного грунта gоб, г/см3:
(38)
Определив влажность монолита методом высушивания до постоянной массы, определяют объемную массу скелета грунта по формуле
(39)
Определение плотности методом лунок применяется в случае укладки обратных засыпок из щебенистых крупнообломочных грунтов или из грунта с мерзлыми комьями. В этом случае контроль плотности обратных засыпок может быть осуществлен засыпкой лунок в грунте сухим песком.
Для определения объемной массы грунта методом лунок необходимо иметь следующее оборудование:
весы с пределом взвешивания до 10 кг;
двойную жестяную воронку с диаметром основания не менее 20 см;
мерные стеклянные цилиндры емкостью в пределах 0,1-1 л;
сухой песок массой 3-5 кг.
Используют сухой песок с гранулометрическим составом 0,5-1 мм или 1-2 мм. Песок не должен содержать пылеватых или глинистых частиц.
Определение объемной массы скелета грунта обратной засыпки методом лунок ведут следующим образом. На уплотненном слое грунта выравнивают небольшую площадку (0,5´0,5 м) и выкапывают лунку глубиной 10-15 см и диаметром поверху 15-20 см (объемом 3-5 л). Вынутый из лунки грунт тщательно собирают и взвешивают на весах, определяя массу Р в г.
Объем лунки определяют следующим образом. Над лункой устанавливают двойную жестяную воронку (рис. 57). В лунку через воронку насыпают сухой песок, измеряя количество засыпанного песка мерным цилиндром с точностью до 5 см3. Песок в цилиндр насыпают через обычную воронку без встряхивания. Засыпанный в лунку песок выравнивается с краем лунок линейкой. Объем песка будет равен объему лунки V, см3.

Рис. 57. Устройство для определения плотности грунта методом лунок
1 - цилиндр; 2 - песок; 3 - затвор; 4 - конус; 5 - лист; 6 - грунт; 7 - воронка
Объемная масса влажного грунта вычисляется по формуле
(40)
Для определения влажности грунта, вынутого из лунки, берут среднюю пробу для двух параллельных определений. При невозможности определения влажности всего грунта из лунки обломки грунта крупнее 5 мм удаляют. В этом случае в полученное значение влажности вводят поправку на содержание частиц крупнее 5 мм, вычисляемую по формуле
(41)
где Wо - оптимальная влажность для отсеянного грунта менее 5 мм, %;
А - содержание частиц крупнее 5 мм, %.
Объемную массу скелета (плотность) грунта вычисляют по формуле
(42)
где W - влажность грунта, %.
В случаях, когда обратная засыпка устраивается из крупнообломочных шлаков, скальных или полускальных пород с обломками крупнее 10 см, плотность засыпки может быть определена следующим образом. В месте контрольного определения плотности выравнивается поверхность засыпки. На выровненную поверхность укладывается рама (желательно круглой формы) из дерева или металла размером около 1,2´1,2 м. По габаритам рамы выкапывается шурф объемом 1-2 м3 и весь вынутый крупнообломочный грунт взвешивается на товарных весах, в результате получают массу Р.
Объем шурфа определяется путем наполнения его измеряемым объемом воды. Для этого дно и стенки шурфа предварительно покрываются полиэтиленовой пленкой. При заполнении шурфа водой уложенная в него пленка принимает форму шурфа и благодаря этому объем воды достаточно хорошо фиксирует объем шурфа Vш.
В зависимости от глубины шурфа hш можно использовать полиэтиленовые пленки следующей толщины d:
при hш = 0,5 м .................... d = 0,05 мм
при hш = 0,5-1 м ................ d = 0,08-0,1 мм
при hш - 1-3 м .................... d = 0,15-0,2 мм
Для предупреждения возможной утечки воды из шурфа в случае пореза пленки острыми выступами обломков их острые грани обиваются молотком. В целости пленки убеждаются по положению горизонта воды в наполненном шурфе. Если снижения уровня воды не наблюдается, то пленка порезов не имеет и произведенный замер объема шурфа будет правильным.
Объемная масса обратной засыпки определяется по формуле
(43)
В строительстве для уплотнения грунтов и различных дорожно-строительных материалов (щебня, гравия, стабилизированных грунтов, асфальтобетона, шлака и др.) все большее применение находят машины вибрационного, виброударного и ударного действия.
Все вибрационные машины, независимо от их конструктивного исполнения, имеют дебалансный возбудитель колебаний. Возмущающая сила, возникающая от вращения дебалансов, передается на валец или уплотняющую плиту. Основная колеблющаяся масса машины сконцентрирована в вальце или уплотняющей плите (рис. 58).

Рис. 58. Принципиальная схема вибрационных дебалансных машин
а) виброкаток; б) виброплита; тв - возмущающая масса; тк
- колеблющаяся масса
Дебалансные машины наряду с положительными качествами обладают и рядом существенных недостатков, основными из которых являются малая эффективность их в работе и повышенная энергоемкость.
Невысокая эффективность дебалансных машин объясняется недостаточной энергией единичных ударов, а также сравнительно малым временем воздействия на грунт рабочего органа за каждый цикл.
Повышенной энергией единичного удара характеризуется низкочастотный режим работы вибрационных машин. Однако для его осуществления требуется постановка дебалансов большого статического момента, что связано со значительными затратами мощности двигателя при запуске. Известно, что энергию единичных ударов можно повышать также и путем увеличения массы всей машины. В этом случае, в результате возрастания времени воздействия рабочего органа, энергия машины за каждый цикл используется более рационально. Однако в дебалансных машинах при увеличении их массы соответственно возрастает и возмущающая сила, необходимая для получения заданного режима колебаний, что, в свою очередь, повышает долю мощности, затрачиваемую на внутренние потери в самой машине. В связи с этим представляют практический интерес вибромашины с кривошипно-шатунным возбудителем колебаний (рис. 59), которые впервые были разработаны Б.А. Белостоцким [17]. Эти машины имеют существенные преимущества в сравнении с дебалансными.

Рис. 59. Принципиальная схема виброударных кривошипно-шатунных
машин.
Обозначения те же, что и на рис. 58
Отличительной особенностью вибрационных машин с кривошипно-шатунным возбудителем колебаний является то, что возмущающая и колеблющаяся массы поменялись местами. Если в де балансном вибраторе возмущающей массой является неуравновешенная масса вращающегося дебаланса, а колеблющейся - вся остальная масса, то в машинах с кривошипно-шатунным возбудителем колебаний, возмущающей массой стал монолитный корпус, в котором сосредоточена основная масса машины, а колеблющейся массой стала рабочая часть (плита, валец), выполненная возможно меньшего веса и обеспечивающая только прочность и жесткость конструкции (см. рис. 59).
Экспериментальные и теоретические исследования машин вибрационного и виброударного действия показали, что на эффективность протекания рабочего процесса в первую очередь оказывает влияние значение отношения величины возмущающей массы к массе всей машины. Путем анализа параметров установлено, что соотношение возмущающей и полной массы у вибромашин с дебалансным возбудителем колебаний находится в пределе 0,2-0,35, а у машин с кривошипно-шатунным возбудителем колебаний - 0,7-0,9. Установлено, что при постоянных значениях статического давления (q), угловой скорости вращения возбудителя колебаний (w) и полной массы машины (М) с увеличением возмущающей массы (тв) амплитуда вертикальных перемещений рабочего органа возрастает (рис. 60)*.
* График построен для следующих параметров: q = 83 МПа; w = 81,7 рад/с; М = 9,3 кг×с2/м.

Рис. 60. Зависимость амплитуды вертикальных перемещений рабочего органа от соотношения возмущающей и полной массы машины
Как видно из графика, для машин с кривошипно-шатунным возбудителем колебаний, где тв/M = 0,7-0,9, амплитуда колебаний рабочего органа (А) приблизительно в 10 раз больше, чем у машин с дебалансным возбудителем, у которых тв/M = 0,2-0,35. В сравнении с дебалансными вибромашинами эффективность машин с кривошипно-шатунным возбудителем существенно повышается также и за счет увеличения в среднем в 1,5-2 раза времени воздействия рабочего органа на грунт за каждый цикл. Ниже приведены значения времени напряженного состояния грунта (плотность 0,95 от стандартной) в процессе уплотнения:
для дебалансного возбудителя колебаний 0,008-0,012 с;
для кривошипно-шатунного возбудителя колебаний 0,01-0,032 с.
Существенным преимуществом машин с кривошипно-шатунным возбудителем колебаний является также то, что они позволяют увеличивать энергию единичных ударов и время воздействия при одновременном снижении установочной мощности двигателя.
На рис. 61 показано изменение потребляемой мощности вибромашинами с дебалансным и кривошипно-шатунным возбудителями колебаний в зависимости от соотношения их основных параметров (полной массы машины М, возмущающей массы тв, эксцентриситета r и угловой скорости вращения w). Кривые построены при значениях параметров вибромашин, равных: q = 87 МПа; w = 81,7 рад/с; М = 93 Нс2/м.

Рис. 61. Зависимость потребляемой мощности машин от соотношения
1 - центробежный возбудитель колебаний; 2 - кинематический возбудитель
колебаний
Из представленного графика видно, что при одинаковом характере изменения для дебалансных вибромашин мощностные затраты составляют в 2-3 раза большие величины, чем для вибромашин с кривошипно-шатунным возбудителем колебаний. Превышение в дебалансных машинах потребляемой мощности объясняется в основном необходимостью затрачивать большую энергию на отрыв массивного корпуса от поверхности грунта.
В настоящее время кривошипно-шатунный возбудитель колебаний положен в основу многих создаваемых в разных организациях строительных машин. Так, Ленинградским филиалом института Оргэнергострой сконструирована грунтоуплотняющая машина виброударного действия ВТМ-2 массой 2000 кг (рис. 62,а). Сейчас более 100 таких машин успешно эксплуатируются на различных строительных объектах.

Рис. 62. Конструктивные схемы новых виброударных
кривошипно-шатунных машин:
а, б - вибротрамбующие машины ВИКИ им. А.Ф. Можайского; в, г вибротрамбующие
машины ЦНИИОМТП
1 - корпус; 2 - уплотняющая плита; 3 - эксцентриковый вал; 4 - привод; 5 -
поршень; 6 - дебаланс; 7 - маховик; 8 - трос; 9 - валец; 10 - зубчатая
передача; 11 - направляющая; 12 - опорный каток; 13 - наковальня
Этим же институтом разработаны с кривошипно-шатунным возбудителем колебаний молот ИМК-2,6 к агрегату ВВПС-20/11 и молот ИМК-3,2 к агрегату ВВПС-32/19, которые в эксплуатации показали себя более эффективными и долговечными по сравнению с дебалансными вибромолотами, используемыми ранее на тех же агрегатах. Интересные конструкции молотов массой 4500 и 750 кг созданы и испытаны в производственных условиях также в тресте Ленинградстрой.
ЦНИИОМТП для уплотнения грунта в стесненных условиях строительства предложена подвесная вибротрамбовка ПВТ-3 (рис. 62,в) массой 2600 кг. В настоящее время на разных стройках их работает более 100 шт. Этой же организацией совместно с ВИКИ им. А.Ф. Можайского разработана и испытана грунтоуплотняющая машина, имеющая регулируемый импульс удара (рис. 62,б). В ЦНИИОМТП закончено также проектирование новой вибромашины для уплотнения откосов земляных сооружений (рис. 62,г) и двух вибротрамбовок, навешиваемых на бульдозеры Д-606 и Д-687, в основе которых лежит аналогичный предыдущим машинам кривошипно-шатунный возбудитель колебаний.
Главными узлами этих виброударных машин являются корпус, уплотняющая плита, привод и кривошипно-шатунный вал (может быть два вала).
Принцип действия машин состоит в следующем: крутящий момент от двигателя через клиноременную передачу передается на кривошипно-шатунный вал, который приводит в колебание уплотняющую плиту.
При каждом обороте вала легкая уплотняющая плита отталкивается от массивного корпуса. Таким образом возникают вертикально направленные удары плиты о грунт. Частота ударов определяется скоростью вращения валов, а амплитуда колебаний - величиной эксцентриситета вала, или радиуса кривошипа.
Опыт эксплуатации новых машин с кривошипно-шатунным возбудителем колебаний показал их положительные качества: высокую эффективность, простоту конструкции и надежность в эксплуатации. Предусмотренная (возможная только для данного класса машин) статическая и динамическая их уравновешенность позволила избежать вибрации на ее корпусе, а следовательно, улучшить условия работы оператора и свести до минимума разрушающее воздействие динамических нагрузок на базовые машины.
Накопленный опыт эксплуатации машин с кривошипно-шатунным возбудителем колебаний показывает их положительные качества, а именно, высокую эффективность, малую энергоемкость и достаточную надежность в эксплуатации. Это позволяет сделать вывод о том, что одним из наиболее перспективных направлений развития вибрационной и виброударной техники в строительстве являются машины с кривошипно-шатунным возбудителем колебаний [17], которые рекомендуются к серийному освоению нашей промышленностью.
Что касается уплотняющих рабочих органов ударного действия, то наиболее перспективными следует считать трамбовки с расталкивающим импульсом.
Исследованиями установлено, что при оценке эффективности ударных механизмов необходимо считаться с характеристикой энергии удара [18]. Теоретические исследования показали, что рабочие органы с расталкивающим импульсом обладают лучшей характеристикой энергии удара, а следовательно, они более эффективны. В качестве примера на рис. 63 показана принципиальная схема трамбовки с расталкивающим импульсом удара. Трамбовка состоит из гидродвигателя, вертикального квадратного вала, корпуса, ударника и уплотняющей плиты.

Рис. 63. Принципиальная схема трамбовки с расталкивающим импульсом
удара
1 - гидродвигатель; 2 - муфта; 3 - вал; 4 - корпус; 5 - ударник; 6 - верхняя
кулачковая полумуфта; 7 - нижняя кулачковая полу муфта; 8 - конус; 9 -
уплотняющая плита
Нижняя часть ударника выполнена с механизмом подброса, состоящего из двух кулачковых полумуфт, соединенных друг с другом пружиной сжатия. Нижняя полумуфта выполнена с наружным конусом, входящим во внутренний конус шабота. Шабот во время удара объединяется за счет сил трения в конусе с нижней полумуфтой механизма подброса, что обеспечивает срабатывание кулачковой пары и подброс ударника, т.е. в момент удара происходит расталкивание ударника от уплотняющей плиты.
Принцип действия трамбовки следующий. При вращении гидродвигателем вала происходит проворачивание ударника, который подбрасывается вверх в момент удара кулачками неподвижной полумуфты с помощью конуса, фрикционно соединенного с конусом шабота. Движущийся вверх ударник через пружину сжатия увлекает за собой нижнюю полумуфту, расцепляя последнюю с конической поверхностью шабота. Вниз ударник падает под действием силы тяжести. Как только происходит фрикционное соединение конуса нижней полумуфты с конусом шабота, снова срабатывают кулачки полумуфты и цикл повторяется.
Испытание трамбовки, выполненной как навесное уплотняющее оборудование к гидравлическому экскаватору ЭО-2621 (рис. 64), созданной в ЦНИИОМТП, подтвердили теоретические исследования и показали возможность получения удвоенного импульса удара по сравнению с традиционными трамбовками.

Рис. 64. Навесная на экскаватор ЭО-2621 трамбовка с расталкивающим импульсом удара
В настоящее время в ЦНИИОМТП совместно с ВИКИ им. А.Ф. Можайского разработаны уплотняющие рабочие органы, основанные на гидравлическом расталкивании ударника от шабота. Испытание их планируется в 1981 г.
Весьма перспективным направлением в развитии грунтоуплотняющих машин является применение способа глубинного уплотнения грунтов. Этот способ по сравнению с поверхностным способом уплотнения состоит в том, что он позволяет ликвидировать трудоемкие операции послойной засыпки грунта, его разравнивание и уплотнение. Использование этого способа дает возможность уплотнить грунт сразу на всю глубину засыпки.
В ЦНИИОМТП разработана техническая документация на навесное на экскаватор ЭО-3322А оборудование для глубинного уплотнения связных грунтов (до 4 метров). В качестве рабочих органов использованы серийно выпускаемые пневмопробойники. Навесное оборудование позволит пробивать скважины в любых грунтах (в насыпных и материковых), которые затем засыпаются местным грунтом с его уплотнением теми же пневмопробойниками. Полученные таким образом грунтовые сваи могут нести большие нагрузки.
Наличие у навесного оборудования управляемой стрелы и рукоятки даст возможность выносить уплотняющий орган на значительное расстояние от экскаватора. Практически экскаватор, стоя на одном месте, может устанавливать рабочий орган в любую точку (стесненное место). Испытание оборудования планируется провести в 1981 г.
Отечественная и зарубежная практика показывает, что эффективность уплотняющей техники (глубина уплотняемого слоя, производительность и степень уплотнения) зависит от режима их работы.
Обеспечение оптимального режима работы грунтоуплотняющих машин достигается с помощью специальных автоматических систем, устанавливаемых на машины.
В статических пневмошинных катках автоматизация режима их работы осуществляется путем регулирования давления воздуха в шинах и продолжительности их воздействия на грунт в зависимости от вида уплотняемого грунта.
Для жестковальцовых катков это осуществляется за счет регулирования скорости движения. По мере роста плотности целесообразно повышать скорость катка от прохода к проходу.
Наибольшую сложность представляет автоматизация режима работы машин ударно-вибрационного действия.
Применяемые в строительстве ударно-вибрационные машины отличаются как по конструктивному исполнению, так и по назначению. Однако общей характерной чертой динамики этих машин являются периодические колебания рабочих органов, сопровождающиеся ударами об ограничители, которые могут быть специальными конструктивными элементами или непосредственно обрабатываемой средой.
Опыт эксплуатации машин ударно-вибрационного действия, предназначенных для уплотнения грунта, показывает, что эффективность их использования, как и вообще всех машин рассматриваемого принципа действия, существенно зависит от правильности настройки на требуемый режим работы [6, 7]. Настройка должна быть разной для различных условий работы, ибо имеется вполне определенная связь между сопротивлением грунта воздействию рабочего органа и параметрами машины, соответствующая оптимальному режиму работы в каждом конкретном случае. Вследствие значительных изменений физико-механических свойств грунтов при изменении их влажности и степени уплотнения рассматриваемые ударно-вибрационные машины либо вообще не работают на режиме, оптимальном для данных грунтовых условий, либо выходят из оптимального режима, если даже в какой-то момент их удается настроить на оптимум. Кроме того, при изменяющихся внешних условиях они вообще могут выйти из устойчивого ударного режима работы, если при этом параметры машины остаются неизменными, что приводит к еще большему снижению эффективности. Например, в процессе уплотнения грунта способом поверхностного вибротрамбования изменение физико-механических свойств грунта под воздействием рабочего органа приводит к систематическому изменению коэффициента восстановления скорости при ударе R, что в свою очередь влияет на режим работы машины.
В первой стадии уплотнения имеют место сравнительно небольшие лобовые сопротивления и максимальные пластические деформации. Это обусловливает малую величину R, в связи с чем ударная часть вибротрамбовки подскакивает незначительно. По мере уплотнения грунта величина пластических деформаций уменьшается при сохранении (или даже некотором увеличении) упругости грунта и рабочей плиты. Это приводит к увеличению R, а значит, и к увеличению высоты подскока. Вызванное этим обстоятельством изменение времени ударного цикла обусловливает необходимость в соответствующем изменении параметров вибротрамбовки с целью обеспечения устойчивого ударного режима и достижения максимальной ударной скорости (максимального ударно-вибрационного воздействия) во всем диапазоне изменения грунтовых условий.
Использование систем для автоматической настройки вибротрамбовок на оптимальный режим работы в процессе изменения грунтовых условий позволяет довести эффективность применения этих машин до максимума и обеспечить более широкий диапазон их применения.
Производительность ударно-вибрационных машин определяется, главным образом, интенсивностью и частотой наносимых ударов. Величина ударного импульса может существенно зависеть от факторов, которые способны изменяться во время работы машины.
К таким факторам можно отнести расстояние до ограничителя, по которому наносятся удары, сила статического нажатия на рабочий орган, механические свойства обрабатываемой среды, характер взаимодействия между ограничителем и внешней средой, скорость вращения рабочего вала и т.п.
Ввиду практической невозможности получения информации о сопротивлении, оказываемом грунтом воздействующему на него рабочему органу в процессе производства работ путем непосредственного измерения самого сопротивления, целесообразно использовать различные косвенные показатели, состояния ударно-вибрационной системы "вибротрамбовка - грунт", характеризующие настройку вибромашины на оптимальный режим работы.
В результате проведенных в ВИКИ им. А.Ф. Можайского и во ВНИИСтройдормаше теоретических и экспериментальных исследований [6, 7] было установлено, что достаточно полно может характеризовать интенсивность работы машин ударно-вибрационного действия с кривошипно-шатунным (эксцентриковым) или дебалансным возбудителями колебаний угловое положение (в момент удара рабочего органа об ограничитель) кривошипа (эксцентрика) или дебаланса, называемое в дальнейшем фазовым углом удара aуд. Наиболее сильные удары при любых внешних условиях достигаются лишь при определенном постоянном значении фазового угла удара aуд, равном 250-255° для дебалансных молотов и 80-85° для машин с кривошипно-шатунным возбудителем колебаний. При отклонении фазового угла удара от его оптимального значения снижается ударная скорость, а вместе с тем и эффективность воздействия на уплотняющую среду. Таким образом, наиболее простым принципом оптимизации работы машин ударно-вибрационного действия является поддержание в процессе работы фазового угла удара вблизи от его оптимального значения.
Отсюда следует, что наиболее простыми и приемлемыми системами, обеспечивающими автоматическую настройку рассматриваемых машин на режим наиболее сильных ударов при меняющихся условиях работы, являются автоматические системы, выполненные по принципу стабилизации регулируемой величины - фазового угла удара.
Необходимо отметить, что по принципу работы объекта регулирования информация о положений регулируемой величины относительно заданного значения может быть получена лишь один раз за рабочий цикл - в момент удара рабочего органа об ограничитель. Поэтому любые системы, выполненные по способу стабилизации фазового угла, будут всегда дискретными, а следовательно, и нелинейными.
В общем виде такие системы могут состоять из объекта регулирования, чувствительных элементов - датчика момента удара и датчика углового положения кривошипа (эксцентрика) или небаланса, логического и усилительно-преобразовательных устройств и исполнительного устройства, осуществляемого требуемое регулирующее воздействие на объект (рис. 65).

Рис. 65. Система автоматической настройки виброударных машин на режим наиболее сильных ударов
Логическое устройство на основании воспринимаемой от чувствительных элементов информации сопоставляет фактический фазовый угол удара с заданным значением и вырабатывает сигналы для управления режимом работы виброударной машины, соответствующие результатам сравнения с предыдущей информацией. В зависимости от принятых функциональных схем логических устройств регуляторы могут иметь различное исполнение. В частности, при выполнении автоматической системы по разработанной во ВНИИСтройдормаше [6] схеме на вход логического устройства подаются импульсы в момент прохождения дебалансом положения, соответствующего оптимальному значению aуд в момент удара. В качестве датчика момента удара используется акселерометр. Задача регулятора сводится к оценке величины, к определению направления рассогласования импульсов и к воздействию на какой-либо параметр вибромолота до тех пор, пока не будет обеспечено совпадение импульсов с заданной точностью.
Для фиксации угла поворота дебаланса на вибромолоте устанавливаются два бесконтактных датчика.
Один из них (основной) устанавливается так, чтобы в оптимальном режиме его импульс совпадал с моментом удара. Второй датчик (вспомогательный) устанавливается под углом 180° к основному датчику.
Импульсные датчики поворота состоят из текстолитового ротора, на поверхности которого закреплен флажок, и двух магнитных систем с катушками, закрепленных на крышке дебалансов. Ротор ориентируется таким образом, чтобы при угле поворота дебаланса, равном 255° от направленной вверх вертикали, флажок ротора замыкал магнитную цепь основного датчика и индуцировал при этом в обмотке импульс тока.
Вспомогательный датчик работает также, но его сигнал сдвинут на 180° относительно первого.
Большинство дебалансных ударно-вибрационных машин приводятся асинхронными электродвигателями, и поэтому регулирование режимов работы их целесообразно осуществлять путем одновременного изменения жесткости упругой подвески и зазора. Для этих двух целей ВНИИСтройдормаш рекомендует часть упругой подвески выполнять с регулируемой жесткостью и использовать хорошо зарекомендовавшую себя замкнутую пневматическую упругую систему, выполненную на резинокордных пневмобаллонах.
Система автоматического регулирования состоит из двух самостоятельных блоков: блока включения и блока реверса (рис. 66).

Рис. 66. Система автоматического регулирования режимов работы виброударных машин
Блоки системы работают следующим образом.
Блок включения. Импульс датчика оптимального угла поворота дебалансов (ФС1) поступает на вход кип-реле КРС, где он формируется в П-образный импульс заданной длительности. С выхода кип-реле сформированный импульс отрицательной полярности подается на вход логического элемента И4 и положительной полярности от инвертора НЕ на вход с логического элемента И3. Одновременно на входы логических элементов И3 и И4 от датчика фазы перемещения (ДФП) подается сформированный кип-реле КРП импульс удара отрицательной полярности. Длительность последнего импульса во много раз меньше длительности П-образного импульса. В оптимальном режиме работы вибромолота должно происходить совпадение импульсов удара и оптимального угла поворота дебалансов, т.е. импульсов, подаваемых на входы д и к логического элемента И4.
При совпадении импульсов на выходе логического элемента И4 появляется сигнал, подаваемый на вход Н триггера Тг3 и сбрасывающий его. На выходе же логического элемента И3 при этом сигнала нет. При несовпадении импульсов, наоборот, сигнал появляется на выходе логического элемента И3 и подается на вход О триггера Тг3, а на выходе логического элемента И4 сигнал отсутствует.
Таким образом, при несовпадении импульсов удара и угла поворота дебалансов триггер Тг3 находится в первом устойчивом положении, при котором реле РА2, управляющее электродвигателями нажимных устройств, включает их в работу. При совпадении импульсов триггер Тг3 находится во втором устойчивом положении, при котором реле РА2, а следовательно, и электродвигатели нажимных устройств включены.
Изменяя с помощью кип-реле КРС длительность П-образного импульса оптимального угла поворота дебаланса, подаваемого на схемы сравнения, можно регулировать величину зоны нечувствительности, в которой нажимные устройства включены. Таким образом, достигается регулирование допустимого рассогласования момента удара и момента прохождения дебалансом оптимального угла поворота, а следовательно, допустимого отклонения ударной скорости от ее максимума.
Блок реверса работает следующим образом: при несовпадении управляющих импульсов фазочувствительная схема реверса определяет знак разности фаз оптимального угла поворота дебаланса и момент удара и в соответствии со знаком разности задает направление вращения электродвигателей нажимных устройств, т.е. задает понижение или повышение давления в пневмосистеме или обеспечивает иное регулирующее воздействие.
Достигается это следующим образом: на входы а и б триггера Тг1 подаются импульсы датчиков поворота дебаланса. Один из них (ФС1) соответствует оптимальному положению угла поворота дебаланса, второй (ФС2) - вспомогательный - сдвинут по отношению к первому на 180° и служит лишь для обратного переброса триггера Тг1. Импульс ФС1 перебрасывает триггер Тг1 в первое устойчивое положение, а ФС2 - во второе.
Таким образом, пока дебаланс движется в I и II четвертях на выходе г - нулевое напряжение, а на выходе в имеется постоянное выходное напряжение.
При движении дебаланса в III и IV четвертях постоянное выходное напряжение имеется на выходе г, а на выходе в - нулевое. Сигнал с выхода в триггера Тг1 подается на вход е схемы совпадения И1, а сигнал с выхода г подается на вход ж схемы совпадения И2.
На входы и схем И1 и И2 подаются от инвертора НЕ сформированные импульсы угла поворота дебаланса (зоны чувствительности) положительной полярности, а на входы б - сформированный импульс удара. Следовательно, если импульс удара опережает импульс ФС1 и появляется тогда, когда дебаланс находится в IV четверти, на выходе схемы И2 формируется импульс, который подается на вход м триггера Тг2 и перебрасывает его во второе устойчивое состояние.
Если импульс удара отстает от импульса ФС1 и формируется тогда, когда дебаланс находится в I четверти, на выходе схемы И1 появляется импульс, который подается на вход л триггера Тг2 и перебрасывает его в первое устойчивое положение.
В первом устойчивом положении триггера Тг2 реле РА1 включено и задает вращение электродвигателям нажимных устройств в сторону повышения давления в пневмосистеме. Во втором устойчивом положении триггера Тг2 реле PA1 выключено и при этом задается противоположное направление вращения нажимных устройств.
Весь блок автоматики выполнен из стандартных логических элементов единой серии ЭТ. Блок автоматики, блок питания и блок ручного управления вибромолотом смонтированы в одном пылевлагонепроницаемом корпусе.
Достаточно высокая чувствительность рассматриваемых ударно-вибрационных систем к различным возмущениям (например, изменениям параметров вибромашины, технологической нагрузки или привода) и ограничение зоны допустимых отклонений узким диапазоном значений, обусловливает необходимость проектирования систем автоматики с повышенным быстродействием, способных в то же время обеспечивать заданную точность регулирования.
Задача обеспечения высокой точности регулирования определяется тем, что при выходе регулируемой величины из зоны допустимых отклонений немедленно нарушается устойчивость работы вибромашины в энергетически наиболее выгодном режиме. Как показали исследования, для поддержания оптимального значения фазового угла удара при настройке вибротрамбовки на оптимальный режим работы наиболее целесообразно производить регулирование скорости вращения рабочего вала в зависимости от изменения внешних (грунтовых) условий [7]. При этом достаточное быстродействие может быть обеспечено лишь при применении релейного привода. В связи с тем, что системы с релейным приводом являются автоколебательными, управляющее воздействие на входе исполнительного устройства должно выбираться из условия получения допустимой (исходя из требуемой точности регулирования) амплитуды колебания регулируемой величины. Имеющие место в процессе работы значительные изменения внешних условий требуют для обеспечения хорошего качества регулирования осуществлять перенастройку параметров регуляторов по мере уплотнения грунта, что обусловливает необходимость разработки адаптивной самонастраивающейся системы.
Основная идея построения описываемой ниже, системы состоит в том, что управляющее воздействие на входе объекта регулирование формируется в виде двух составляющих из расчета обеспечения максимально возможного быстродействия и точности. Одна из них включается дискретно (релейно), а другая постоянно, причем между ними величина соотношения устанавливается автоматически по мере изменения внешних возмущений (грунтовых условий). Она также выполнена по принципу стабилизации фазового угла удара относительно его заданного значения и состоит из объекта регулирования, чувствительных элементов - датчика момента удара и четырех датчиков углового положения кривошипа (эксцентрика) или дебаланса, логического и усилительно-преобразовательного устройства и исполнительного устройства, осуществляющего требуемое регулирующее воздействие на объект.
Функциональная схема системы в общем виде приведена на рис. 67.

Рис. 67. Функциональная схема системы автоматического регулирования режимов работы виброударных машин
Установленные на объекте регулирования ОР датчики Д-1 - Д-4 предназначены для формирования сигналов, определяющих положение кривошипа (или дебаланса) относительно заданного значения и зоны допустимых отклонений, равной 2Da. Датчик ДУ формирует импульс в момент удара рабочего органа об ограничитель. Схемы совпадения И1-И4 выдают сигнал на соответствующие входы спусковых устройств (триггеров) Тг1 - Тг3 при совпадении сигналов датчика удара и одного из датчиков положения кривошипа. В зависимости от положения кривошипа относительно заданного значения aзад в момент удара срабатывает соответствующий триггер. Так при срабатывании триггеров Тг1 - Тг3 включается интегратор ИУ для соответствующего изменения плавной составляющей управляющего воздействия.
Одновременно через вентили В1 и В2, триггер Тг4, сумматор С и схему совпадения И5 соответственно подключается или отключается релейная составляющая управляющего воздействия. Сумматор С устанавливает необходимое отношение плавной и релейной составляющих, обеспечивающее требуемое качество регулирования. Регулирующее воздействие на объект производится через усилительно-преобразовательную часть УП. При нахождении регулируемой величины в пределах зоны допустимых отклонений интегрирующее устройство прекращает изменять плавную составляющую, а релейная составляющая подключается лишь при соответствующем устойчивом состоянии триггера Тг4, т.е. при наличии сигнала на выходе схемы совпадения И2.
Рассмотренный принцип построения системы использован при создании реальной САР, устройство и работа которой рассматривается ниже. Принципиальная электрическая схема разработанной системы представлена на рис. 68 и включает датчик момента удара (ДМУ), распределитель импульсов, являющийся одновременно датчиком положения кривошипа и частью логического устройства, логические элементы, управляющие режимом работы силового двигателя. В схеме в качестве логических элементов приняты поляризованные реле типа РП-5(Р1) и РП-4(Р2). В принципе могут быть использованы любые другие устройства, позволяющие осуществить требуемую логику работы.

Рис. 68. Принципиальная электрическая схема системы автоматического регулирования режимов работы виброударных машин
Разрезное кольцо распределителя импульсов состоит из четырех секторов А, Б, В и Г, причем длины секторов В и Г назначаются по расчету из условия обеспечения фактических углов удара aуд относительно заданного значения в допустимых пределах Ddдоп.
Требуемая величина заданного угла удара достигается установкой распределителя импульсов на корпусе машины таким образом, чтобы осевая линия I-I, проходящая через середину промежутка между секторами В и Г, находилась в требуемом угловом положении относительно линии, проходящей через точки положения оси кривошипа в крайнем верхнем и нижнем положениях. Положение кривошипа в любой момент времени характеризует положение вращающегося совместно с ним скользящего контакта, связывающего сплошное кольцо распределителя импульсов с соответствующими секторами разрезного кольца. С секторами В и Г соединены концы последовательно соединенных обмоток двухпозиционного реле Р2. К секторам аналогичным образом подключены обмотки трехпозиционного поляризованного реле Р1. К обмоткам этих реле в точке а и в подключается датчик момента удара ДМУ. Датчик момента удара, функцией которого является выработка одиночного сигнала определенной мощности и длительности в момент начала удара, является одним из элементов, от которого в значительной степени зависит качество работы автоматической системы.
В процессе работы на виброударный механизм действуют ускорения (свыше 50g), отличающиеся как по знаку и величине, так и по форме, однако в момент ударов всегда имеют место однонаправленные пиковые (максимальные) ускорения. Надежное использование существующих в настоящее время максимальных акселерометров ограничивается медленно изменяющимися однонаправленными ускорениями. Кроме того, в связи с большим разнообразием существующих типов грунтов и изменением сопротивления, оказываемого воздействию рабочего органа машины каждым из типов грунта по мере уплотнения, необходимо осуществлять для каждых конкретных условий дистанционную настройку чувствительного элемента датчика момента на определенный порог срабатывания без остановки машины. Необходимо также обеспечивать затухание переходных процессов в датчике в промежутках времени между ударными воздействиями.
В настоящее время разработан, изготовлен и испытан экспериментальный образец датчика момента начала удара, отвечающий вышеизложенным требованиям (рис. 69).

Рис. 69. Схема датчика для фиксирования момента начала удара
Чувствительная (инерционная) часть датчика, в которой используется магнитный подвес инерционной массы, состоит из постоянного магнита, инерционной массы (якоря), являющейся одновременно подвижным контактом датчика, управляющих обмоток и верхнего (ВК) и нижнего (НК) неподвижных контактов. Датчик устанавливается на корпусе (ударной части) машины таким образом, чтобы его нейтраль 0-0 была перпендикулярна направлению движения ударной части. В исходном состоянии подвижный контакт замкнут с контактом ВК, к которому он прижимается под действием результирующей силы притяжения, создаваемой магнитным потоком.
В момент удара рабочего органа виброударного механизма инерционный элемент, обладающий массой, оторвется от контакта ВК, если таlo ³ Flя, где а - ускорение корпуса машины (а вместе с тем и инерционного элемента) при ударе; F - результирующая сила притяжения инерционного элемента (якоря) к контакту ВК; lo - расстояние от оси вращения до центра тяжести якоря; lя - длина якоря от оси вращения до середины полюса.
Датчик позволяет дистанционно изменять его чувствительность и устанавливать строго заданный (тарированный) порог срабатывания путем регулирования силы притяжения инерционного элемента изменением силы тока в обмотке управления. Для облегчения возврата якоря в исходное положение контакт НК может устанавливаться выше нейтрали 0-0, т.е. чувствительный элемент настраивается с преобладанием к контакту ВК.
Для обеспечения затухания переходных процессов в датчике в промежутке между ударными воздействиями катушка электромагнита подключена параллельно резистору R1 через конденсатор С1.
В исходном положении ток протекает между положительным и отрицательным полюсами источника питания, связанными между собой через неподвижный контакт ВК, подвижный контакт (якорь) и резистор R1. При этом конденсатор С1 заряжен.
В момент удара по достижении ускорений, превышающих заданное предельное ускорение аз, якорь отрывается от контакта ВК, происходит разряд конденсатора через обмотку электромагнита и резистор R1. Обмотка подключается так, что по ней проходит ток, который индуктирует магнитный поток, создающий в свою очередь силу Fу, направленную в сторону нижнего контакта НК, т.е. направленную против силы Fз притяжения инерционного элемента к верхнему контакту ВК. Эта сила, действующая в течение времени разряда конденсатора (при соответствующих величинах силы тока разряда) С1 превосходящая силу Fз по величине, помогает якорю преодолеть силу притяжения к верхнему контакту, что позволяет удержать его некоторое время в замкнутом состоянии с нижним контактом НК. Такое прижатие инерционной массы с НК на период существования максимальных ускорений во время ударно-вибрационного воздействия дает возможность избегать повторных касаний якорем контакта НК при срабатывании датчика, т.е. исключается возможный дребезг.
Схема работает следующим образом. По мере разрядки С1 ток в обмотке уменьшается, а следовательно, уменьшается и величина Fу. Когда становится Fу £ Fз, якорь датчика вновь притягивается к верхнему контакту ВК, т.е. возвращается в исходное положение.
В момент замыкания якоря с контактом ВК начинается заряд конденсатора С1. Протекающий при этом по обмоткам ток (в противоположном направлении по сравнению с направлением движения тока при срабатывании ДМУ) индуктирует силу Fу, совпадающую по направлению с Fз, эта сила позволяет исключить возможный дребезг и быстро успокоить инерционный элемент у контакта ВК.
При замыкании якоря с контактом НК цепь замыкается и через нагрузку Rн и диод Д1, пропускающий ток в этом направлении, проходит пикообразный импульс, заряжающий конденсатор С2.
Длительность этого импульса t @ RнС2 может регулироваться изменением емкости переменного конденсатора С2.
С целью подготовки емкости С2 для формирования следующего импульса параллельно ей включен резистор через диод Д2, что дает возможность пропускать ток разряда конденсатора С2 при разрыве цепи "подвижный контакт - HK" минуя нагрузку Rн. Вход нагрузки соединен с точкой Д1R2 .
Для надежного срабатывания реле, а также исходя из требуемой точности работы системы длительность импульса, выдаваемого датчиком момента удара, должна быть вполне определенной величины и подбираться при настройке системы. Секторы А и Г, а также Б и В соединены между собой соответственно диодами Д1 в точках с и a и Д2 - в точках е и f (см. рис. 68), что позволяет пропускать сигнал с датчиком момента удара только в направлении "сектор А - сектор Г" или "сектор Б - сектор В".
Система работает следующим образом. Если в момент удара рабочего органа машины об ограничитель кривошип будет находиться в зоне сектора А, т.е. фазовый угол удара будет меньше заданного значения aзад, то ошибка определяется как разность Da = (aзад - aуд) > Daдоп. Так как при этом подвижный контакт соединяет сектор А со сплошным кольцом распределителя импульсов, то поступивший с датчика момента удара импульс пройдет от плюса источника и по цепи: сплошное кольцо, подвижный контакт, обмотка сектор А, обмотка реле P1, а также диод Д1, обмотка Р2. В этом случае оба реле срабатывают и средними контактами замыкают соответствующие неподвижные контакты, обеспечивая включение устройства для плавного изменения величин управляющих воздействий U1 и U2. В сумме релейная и плавная составляющие дают номинальное управляющее воздействие, что обеспечивает включение силового двигателя на полную мощность. Изменение плавной и релейной U2 составляющих осуществляется изменением переменных резисторов R1 и R2, включенных в цепь питания обмоток управления W1 и W2 дросселя насыщения, используемого в данном случае для регулирования скорости вращения асинхронного двигателя.
Следует отметить, что способы изменения скорости вращения двигателя могут быть применены различные, но в любом случае их выбор должен основываться исходя из типа двигателя, его мощности и требуемого диапазона изменения скорости.
Ввиду дискретного поступления сигнала с датчика момента удара (один импульс за ударный цикл) для удержания подвижного контакта реле Р1 до следующего сигнала в замкнутом положении с контактом 2Р1 или 1Р1 предусматривается временная задержка реле на отпускание. Она достигается за счет включения параллельно с обмотками I и II этого реле соответственно емкостей С1, С2 и последовательно обмоткам реле Р1 диодов Д3 и Д4, пропускающих ток только со стороны секторов А и Б. На схеме эти конденсаторы и диоды показаны пунктиром. До тех пор, пока подвижный контакт будет находиться в зоне сектора А, средние контакты реле Р1 и Р2 будут находиться в замкнутом положении соответственно с контактами 2Р1 и 2Р2. При этом будут включены обе составляющие управляющего воздействия U1 и U2, вследствие чего дроссель насыщения обеспечив включение двигателя Д1 на полную мощность, и, следовательно, обороты его будут возрастать, вызывая уменьшение ошибки. При уменьшении ошибки до допустимого предела, т.е. когда подвижный контакт окажется в зоне сектора Г, (или В), произойдет размыкание контакта 2Р1, вследствие чего двигатель Д остановится, фиксируя текущее положение ползунов - резисторов R1 и R2, а вместе с тем и величины U1 и U2.Очевидно, что при положении подвижного контакта в зоне сектора Г и В будет производиться регулирование оборотов двигателя Д1 только посредством подключения или отключения величины U1 = const относительно постоянно приложенного управляющего воздействия U2, т.е. система будет работать в релейном режиме. Так как суммарное напряжение U3 = U1 + U2 остается всегда постоянным и равным номинальному значению, то и в этом случае система обеспечивает максимальное быстродействие включением двигателя Д1 на полную мощность.
В случае, когда импульс с ДМУ поступит на вход системы при положении подвижного контакта в зоне сектора Б, он пройдет через обмотку II реле Р1 и обмотку II реле Р2, вызывая срабатывание этих реле. При их срабатывании происходит замыкание 1Р1 (чем осуществляется реверс двигателя Д) и замыкание контакта 1Р2 в результате чего разрывается цепь управляющего сигнала U1. Вследствие этого дроссель насыщения подмагничивается только за счет управляющего воздействия U2, величина которого уменьшается во времени. Из сказанного следует, что и в этом случае обеспечивается максимально возможное быстродействие при обеспечении наименьшей ошибки регулирования. Изменение составляющей V2 во всех случаях будет происходить до обеспечения ошибки не более допустимой (в пределах зоны секторов Г и В). В этом смысле сама автоматическая система будет оптимальной.
Испытания опытных образцов [7] показали значительные технико-экономические преимущества автоматизированных машин по сравнению с неавтоматизированными вариантами. В частности, система автоматического управления позволяет повысить производительность вибротрамбующей машины на 17% при одновременном увеличении степени уплотнения и глубины проработки. Наиболее эффективные режимы работы автоматизированных вибротрамбовок были получены при поддержании в процессе уплотнения aуд вблизи от aзад = 80°. При этом достигалась плотность грунта, соответствующая коэффициенту стандартного уплотнения КСТ = 0,98-1,08.
Опыт, накопленный в процессе исследования, показывает, что автоматическое регулирование режима работы вибротрамбовок экономически целесообразно и технически выполнимо. При этом принцип поддержания фазового угла удара у заданного значения нельзя считать единственным и исчерпывающим.
Создание самопередвигающихся виброударных трамбовок с дистанционным управлением (например, такие, как ВУТ-3, ВУТ-4 и ВУТ-5, разработанные отделом новых машин Волгоградского филиала института Гидропроект им. С.Я. Жука и изготовленные Волжским ЦРМЗ) позволяет решить и такую сложную задачу, как автоматическое регулирование скорости перемещения вибротрамбующих машин по уплотняемым участкам в зависимости от достигаемого качества уплотнения.
Первой попыткой создания методов и средств непрерывного контроля качества уплотнения грунтов и других материалов применительно к каткам явились разработки Харьковского автодорожного института, выполненные в 1937 г. Был предложен метод оценки достигнутой плотности материалов производить по измерению коэффициента сопротивления перекатыванию катка при его движении по уплотняемому слою [12].
Для целей измерения были сконструированы приборы в механическом и гидравлическом вариантах.
Основной принцип работы прибора заключался в измерении крутящего момента, передаваемого от венцовой шестерни к ведущему барабану через систему пружин, предварительно оттарированных в лаборатории. Пружины, деформируясь, через поводок передавали движение зубчатой рейке, которая, в свою очередь, через другую шестерню передавала вращательное движение стрелке прибора. Стрелка, отклоняясь, показывала на циферблате изменения величины крутящего момента.
При этом было отмечено, что окончание укатки соответствует стабилизации коэффициента сопротивления перекатыванию катка, плотности грунта и приращения остаточных деформаций.
Помимо описанного прибора, на прицепных катках были применены динамометры системы академика В.П. Горячкина. Их работа также дала положительные результаты.
В конструкции прибора, разработанной инженером Ю.А. Ходулиным, передача крутящего момента от венцовой шестерни к ведущему вальцу осуществлялась через мессдозу. Это дало возможность разместить регистрирующий механизм (манометр) не на вальце катка, а непосредственно на приборном щитке катка. С этим прибором проводилась укатка грунта при разных толщинах слоя и различной его влажности.
Дальнейшее совершенствование этого метода и средств контроля нашло свое отражение в работах Союздорнии [13].
В 1962 г. был создан и опробован прибор, в котором для фиксации изменения сопротивления перекатыванию был использован ротационный зубчатый динамометр с цилиндрическими шестернями и электрическая мессдоза типа МН-65. Динамометр был установлен на катке Д-317Б вместо цепной компенсационной муфты между механизмом реверса и коробкой перемены передач. Под действием крутящего момента на валу в зубчатых зацеплениях возникает реактивный момент, стремящийся повернуть корпус динамометра. От поворота корпус удерживается электрической мессдозой МН-65, сигналы которой передаются стрелочному прибору, установленному на приборном щитке катка. Таким образом, усилия, воспринимаемые мессдозой, характеризовали величину крутящего момента, а следовательно, и величину коэффициента сопротивления перекатыванию катка.
По показаниям стрелочного прибора (микроамперметра) водитель катка может судить о достигнутой степени уплотнения в процессе укатки.
Способ определения величины изменения силы тяги катка или коэффициента сопротивления перекатыванию позволяет применить приборы различной чувствительности в широком диапазоне и повышать при этом точность замера величин.
Силу тяги катка можно определять и другими способами - механическими или гидравлическими мессдозами.
При помощи переоборудованного катка были проведены опыты по укатке суглинистого грунта при толщине слоя 15; 20; 25 см и слоя щебня толщиной 15 см при различных скоростях укатки. На рис. 70 приведены графики изменения осадок D, плотности d, крутящего момента М и коэффициента сопротивления перекатыванию f в зависимости от числа проводов катка N, полученные при укатке суглинистого грунта толщиной 25 см при скорости укатки 0,9 км/ч.

Рис. 70. Зависимость изменения осадка D, плотности d, крутящего момента М и коэффициента сопротивления перекатыванию f от числа проходов катка N
Из этих данных следует, что сопротивление перекатыванию изменялось пропорционально изменению плотности, а момент стабилизации коэффициента сопротивления перекатыванию соответствует моменту стабилизации плотности грунта.
Пользование установленным на катке индикатором укатки доступно любому квалифицированному мотористу. Как только индикатор укатки будет показывать, что величина сопротивления перекатыванию стабилизировалась, дальнейшая укатка слоя должна быть прекращена, и если при этом плотность слоя еще не достигла заданной, дальнейшую укатку необходимо производить более тяжелым катком.
Известен также способ непрерывного контроля степени уплотнения грунта, основанный на принципе остаточных деформаций слоя.
При перекатывании катка по рыхлому или недостаточно уплотненному слою грунта в последнем наблюдаются деформации трех видов: остаточная h1, упругая h2 , "волна" h3.
Полную деформацию слоя грунта следует рассматривать как сумму этих трех видов деформаций:
hn = h1 + h2 + h3. (44)
Величина каждого слагаемого зависит от физико-механических свойств грунта и параметров катка и изменяется в процессе укатки с изменением плотности слоя грунта.
В начальной стадии уплотнения наряду с относительно большой "волной" сравнительно велика величина остаточных деформаций и незначительна величина упругих деформаций. Рост остаточных деформаций идет за счет повышения плотности слоя.
В конце укатки, наоборот, возрастает величина упругих деформаций, а приращение остаточных деформаций по мере увеличения числа проходов катка стремится к нулю.
Параллельно проведенные измерения плотности грунта (методом режущих колец) и осадок слоя показали, что приращение плотности идет пропорционально приращению осадок слоя грунта и момент стабилизации плотности совпадает с моментом стабилизации осадок слоя грунта.
Исключение наблюдается только в случае сильно переувлажненного грунта, когда изменение осадок слоя происходит не за счет более компактного расположения частиц, а за счет выжимания грунта из под вальца катка.
Установленные закономерности изменения осадок и плотности укатываемого слоя грунта послужили основанием для создания прибора, фиксирующего изменение остаточных деформаций слоя, коррелятивно связанных с изменением плотности слоя грунта.
Принципиальная схема работы такого прибора заключается в следующем. На оси вальца катка (рис. 71) на подшипниках посажены два диска, к которым жестко прикреплены коромысла. На концах коромысел укреплены небольшие катки (валки), один из которых движется впереди вальца, а другой сзади. Длина коромысел должна быть такой, чтобы на валики не сказывалось влияние упругих деформаций и "волны" уплотняемого слоя грунта.

Рис. 71. Схема прибора для непрерывного контроля за степенью
уплотнения грунтов при укатке
1 - валец (колесо катка); 2 - валки; 3 - диски; 4 - коромысла; 5 - переменное
сопротивление; 6 - рычажок подвижного контакта переменного сопротивления
В процессе уплотнения грунта валки движутся на разных по высоте уровнях. Разность отметок горизонтов движения свидетельствует о величине остаточной деформации. По мере уплотнения слоя грунта эта разность становится все меньше и меньше, стремясь к нулю.
В конце укатки, когда практически не происходит остаточных деформаций, оба валка располагаются на одном уровне. Этот момент соответствует стабилизации плотности слоя грунта.
Величина разности в уровне опирания валков на слой грунта регистрируется электрическим сигналом, подаваемым на миллиамперметр в результате перемещения подвижного контакта переменного сопротивления, включенного в электрическую цепь.
Перемещение подвижного контакта переменного сопротивления осуществляется рычажком, укрепленным на одном из дисков, в то время как корпус самого сопротивления крепится на другом диске.
Прибор является универсальным, так как может быть установлен на различных моделях катков и использован при уплотнении не только грунта, но и различных материалов (щебень, шлак, асфальтобетон и др.).
В Карагандинском политехническом институте проводились исследования и разработка новых способов и средств непрерывного контроля за равномерностью и степенью уплотнения насыпных грунтов при укатке, основанного на принципе измерения контактных напряжений. В результате проведенных работ был разработан новый способ непрерывного контроля за равномерностью и степенью уплотнения грунтов, по изменению величины - контактных напряжений [13].
Индикатор для замера контактных напряжений, выполненный в виде гидродатчика с упругой мембраной, монтировался в ободе вальца катка. Изменения напряжений, возникающих на границе между уплотняемым слоем грунта и рабочим органом катка, передавались от гидродатчика в виде электрических сигналов на стрелочный прибор, установленный на приборном щитке катка. Во время лабораторных испытаний эти сигналы параллельно записывались на ленту осциллографа.
Для пневмоколесных катков использовалось копирующее работу пневмокатка специальное приспособление, состоящее из прицепной тележки с резиновыми колесами (рис. 72), пригруза, преобразователя контактных давлений в электрические сигналы, самопишущего прибора и стрелочного прибора для визуального наблюдения. Внутренняя полость колес прицепного устройства была заполнена жидкостью под определенным давлением.

Рис. 72. Принципиальная кинематическая и электрическая схема
прибора для непрерывного контроля за степенью уплотнения грунтов в процессе
укатки
1 - гидроколесо; 2 - ось тележки; 3 - вращающееся устройство; 4 - датчик
давления типа ЭДМУ-3
Весьма важным условием объективности показаний устройства, копирующего работу рабочего органа катка является равенство контактных напряжений, развиваемых колесом катки и колесом копирующего устройства. Если контактные напряжения копирующего устройства будут меньше напряжений, возникающих между рабочим органом и уплотняемым слоем, то прибор для контроля перестанет "чувствовать" изменения плотности при последних проходах катка, когда нарастание плотности еще происходит, т.е. прибор дает сигнал об окончании укатки раньше момента наступления стабилизации плотности слоя.
В случае, если контактные напряжения копирующего устройства будут выше, чем у рабочего органа катка, то прибор подает сигнал об окончании укатки позже того момента, когда процесс укатки будет окончен. В этом случае колесо копирующего органа будет прорезать уплотняемый слой грунта.
В связи с тем, что шины катка и копирующего устройства имеют различные размеры, разный характер рисунка, разную жесткость и первоначальное давление в своих полостях, подбор величины пригруза на копирующем устройстве проводился по результатам опытного замера контактных напряжений как под катком, так и под копирующим устройством. Для этой цели сначала определялись контактные напряжения под катком, для чего колесо катка располагалось на жестком основании, и по площади отпечатка вычислялась средняя величина контактного напряжения. Затем на то же основание ставилось гидроколесо копирующего органа и путем изменения величины пригруза доводили среднюю величину контактных напряжений копирующего устройства до величины, соответствующей величине контактного напряжения под колесом катка.
Взаимодействие отдельных узлов копирующего устройства осуществлялось следующим образом. Давление жидкости в шине через вращающееся устройство передавалось на мембрану датчика ЭДМУ, деформации которой затем преобразовывались в электрические сигналы, подаваемые на стрелочный прибор.
Электрическая схема прибора позволяет оператору катка визуально следить за процессом нарастания плотности в период укатки и по мере необходимости увеличивать или уменьшать количество проходов на отдельных участках уплотняемого массива и добиваться равномерности уплотнения по всей площади.
На рис. 73 приведены результаты полевых испытаний копирующего "устройства" при укатке суглинистого грунта. При проведении этих испытаний параллельно с регистрацией показаний "устройства" производились отборы проб грунта режущими кольцами и замерялись осадки уплотняемого слоя геодезическим способом.

Рис, 73. График зависимости осадки D, плотности d и показаний прибора Ма от числа проходов катка
Как видно из графиков, изменения осадок и показаний прибора (устройства) пропорциональны изменению степени уплотнения грунта, причем момент стабилизации показаний прибора соответствовал моменту стабилизации плотности и осадки уплотняемого слоя грунта. Прибор показывал момент окончания эффективной укатки данным типом катка. Таким образом, проведенные испытания подтвердили эффективность нового способа и средства непрерывного контроля.
Большие исследования в области автоматизации контроля качества уплотнения грунтов были проведены в ВИКИ им. А.Ф. Можайского.
Ниже дается описание устройства автоматического контроля, степени уплотнения грунта под рабочим органом или в зоне действия вибрационной или ударно-вибрационной машины. Это устройство основано на установлении зависимости некоторых параметров динамической системы "вибромашина - уплотненный материал" от физико-механических свойств уплотняемой среды. Изменение численных значений таких параметров в процессе уплотнения можно использовать в качестве рабочей информации о текущих значениях плотности материала, взаимодействующего с рабочим органом вибромашины. Сравнение текущих значений контролируемых параметров с заданными (эталонными) значениями позволяет не только осуществлять с достаточной достоверностью непрерывный контроль степени уплотнения уплотняемого материала без отбора проб, но и обеспечить при достижении требуемой плотности либо автоматическую остановку рабочего органа, либо формировать сигнал о необходимости перестановки уплотнителя на другое место или же о необходимости изменения скорости поступательного движения вибромашины по уплотняемому участку с целью обеспечения максимальной производительности.
В качестве косвенных показателей достигнутой степени уплотнения могут быть использованы такие параметры динамической системы "вибромашина - уплотняемый материал", как скорость вращения вала возбудителя колебаний, амплитуда колебаний рабочей плиты или высота подскока ударной частоты (для ударно-вибрационной машины), потребляемая мощность и т.п. В случаях, когда вибромашина снабжена системой для автоматической настройки на оптимальный режим работы, критерием оценки достигнутой степени уплотнения может служить любой из параметров автоматической системы, регулируемый в процессе уплотнения.
При достижении максимальной для каждой конкретной вибромашины степени уплотнения или при перемещении ее с постоянной скоростью по уплотняемому участку, имеющему одинаковую начальную плотность и толщину слоя на всем пути движения, изменение средней величины указанных выше параметров не наблюдается.
Таким образом, в результате контрольных уплотнений могут быть установлены численные значения тех или иных параметров, характеризующих достижение требуемой степени уплотнения, например грунта, которые и могут быть использованы в качестве заданных значений в системе автоматического контроля.
На рис. 74 приведен пример реализации описанного способа. С помощью датчика измеряют параметр, характеризующий состояние динамической системы "вибромашина - уплотняемый материал". Сигналы с датчика поступают в усилитель-преобразователь, который преобразует эти сигналы, например, в постоянное напряжение. Выходной сигнал с усилителя-преобразователя подается для сравнения с эталонным на вход порогового устройства (логического элемента) с регулируемым порогом срабатывания. В тех случаях, когда в результате сопоставления текущих значений измеряемой величины с заданным значением оказывается, что сигнал с усилителя-преобразователя превосходит заданное значение, с выхода порогового устройства на вход реле выдержки времени поступает сигнал, запускающий это реле. Если за установленное для срабатывания реле время t не произойдет исчезновения сигнала с блока (что будет свидетельствовать об установившемся, а не случайном изменении численного значения измеряемого параметра), на вход исполнительного механизма поступает управляющий сигнал, по которому последний (в зависимости от принятой схемы), либо выключит привод рабочего органа, либо осуществит требуемую корректировку скорости поступательного движения вибромашины.
![]()
Рис. 74. Принципиальная схема автоматического контроля качества уплотнения грунта
Когда уплотнение грунта ведется без перемещения грунтоуплотняющей машины} устройство для осуществления автоматического отключения рабочего органа при достижении максимальной степени уплотнения уплотняемого материала, которую она способна обеспечить, может быть выполнено по схеме, показанной на рис. 75.

Рис. 75. Принципиальная схема устройства для автоматической остановки виброударной машины при достижении максимальной степени уплотнения грунта
При этом отпадает необходимость в проведении контрольных уплотнений для получения предварительной информации, необходимой для нормального функционирования устройства. Одновременно значительно расширяется диапазон применения устройства рассматриваемого назначения.
Устройство состоит из датчика скорости вращения рабочего вала вибротрамбующей машины, выдающего на входы (соединенных с ним симметричного триггера со счетным запуском и генератора линейно изменяющегося напряжения) прямоугольные или биполярные сигналы, частота и длительность которых соответствует скорости вращения вала; временных селекторов, выполненных в виде эмиттерных повторителей; накопителей энергии, выполненных в виде элементарных интегралов, у которых постоянная времени зарядки конденсатора много меньше постоянной времени его разряда (последнее достигается благодаря тому, что заряд происходит через малое выходное сопротивление эмиттерного повторителя, а разряд - через имеющий большой сопротивление резистор, включенный параллельно конденсатору); сравнивающего устройства выполненного в виде симметричного усилителя (напряжение на выходах которого становится равным лишь тогда, когда равны напряжения на выходах связанных с ним накопителей энергии) и исполнительного устройства, выполненного в виде реле времени Р, обмотка которого включена между выходами дифференциального усилителя.
Устройство работает следующим образом. При поступлении с выхода датчика
импульсов Uq,
несущих информацию о скорости вращения w вала машины, триггер
со счетным запуском опрокидывается каждым очередным положительным перепадом
входного напряжения Uq.
Поэтому на его выходах напряжения поочередно изменяют свои значения, выдавая
таким образом (также поочередно) отпирающие напряжения
на входе временных
селекторов.
Положительными сигналами, поступающими с датчика, одновременно
запускается генератор линейно-изменяющегося напряжения, формирующий на своем
выходе отрицательные сигналы И3, амплитуда которых пропорциональна
длительности управляющих импульсов. Таким образом, в устройство преобразования
сигналов информация о частоте вращения вала машины подается в виде
последовательности амплитудно-модулированных импульсов. При уменьшении скорости
вращения вала амплитуда этих импульсов возрастает. Указанная последовательность
импульсов о выходе схемы 3 поступает на сигнальные входы временных селекторов,
выполненных в виде эмиттерных повторителей. Поскольку управляющие селекторами
напряжения
поступают с
разных плеч триггера напряжения И4 и И5 на выходах схем также
появляются поочередно: если, например, на выходе схемы 4 появляются нечетные
импульсы последовательности (во время t1, t2, t3 и
т.д.), то на выходе схемы 5 - четные импульсы последовательности (в моменты
времени t2,
t4,
t6
- и т.д.). Действительно, если на управляющий вход селектора поступает
напряжение с находящегося в насыщении транзистора триггера, то эмиттерный
повторитель пилообразный сигнал схемы 3 не пропускает, поскольку в этом случае
транзистор эмиттерного повторителя заперт источником положительного смешения,
включенного в его боковую цепь. Но когда произойдет опрокидывание триггера, в
базу транзистора связанного с ним эмиттерного повторителя поступит отпирающий
сигнал, рабочая точка этого транзистора выйдет в активную зону области вольт-амперных
характеристик и напряжение с выхода схемы 3 поступит в соответствующий
накопитель энергии (интегратор). Поскольку, как уже указывалось, транзисторы
триггера переходят из отсечки в насыщение и обратно поочередно, в накопители
энергии импульсы поступают в аналогичной последовательности. Благодаря этому
при монотонном уменьшении скорости w вращения вала машины,
что имеет место по мере уплотнения грунта, сигналы на выходе одного из
селекторов оказываются выше, чем на выходе другого (сумма энергии нечетных импульсов
меньше суммы , энергии четных). При достижении же этой скоростью некоторого
постоянного уровня w = w0 (что
свидетельствует о прекращении процесса уплотнения грунта) сигналы на выходах
селекторов выравниваются (И4 =И5). Поступая в накопители
энергии, интеграторы, амплитудно-модулированные импульсы вырабатывают на
выходах этих накопителей приращения напряжений, пропорциональные приращениям
амплитуд импульсов. Постоянные времени разряда конденсаторов интеграторов
должны выбираться заметно большими по сравнению с периодом повторения сигналов
на выходе датчика, ибо в этом случае в паузах между поступающими на входы
соседними пилообразными импульсами напряжения на выходах интеграторов будут
изменяться незначительно, что дает возможность производить их сравнение в
устройстве 8.
При равенстве напряжений (И6 = И7) на входах сравнивающего устройства (дифференциального усилителя), которое будет иметь место при достижении уплотняющей машиной максимальной степени уплотнения, И9 = 0, устройство переходит в исходное состояние, осуществляя при этом через заданное время задержки t и остановку рабочего органа или формируя сигнал о необходимости перестановки машины.
1. Бобылев Л.М. Уплотнение грунтов и щебня в местах сопряжения земляного полотна с мостами и трубами. - Автомобильные дороги, 1974, № 1.
2. Перспективы развития машин для уплотнения грунтов. / Л.М. Бобылев, Ю.Б. Каневский, Т.Е. Самолетова, Механизация стр-ва, 1975, № 11.
3. Хархута Н.Я., Васильев И.М. Прочность, устойчивость и уплотнение грунтов земляного полотна автомобильных дорог. М., Транспорт, 1975.
4. Дорожные машины / Под ред. Н.Я. Хархуты. Л., Машиностроение, 1976.
5. Грунтоуплотняющие машины ударного действия (Обзор патентов) / Н.М. Кирюшин, Н.И. Никишин, А.И. Куликов, Ф.И. Романова. М., 1972.
6. Быховский И.И. и др. Автоматизация ударно-вибрационных машин. М., 1969.
7. Шилков В.А. Автоматизация машин виброударного действия для уплотнения грунтов и погружения свай, Л., 1971.
8. Указания по проектированию земляного полотна железных и автомобильных дорог. СН 449-72. М., Стройиздат, 1973.
9. Радиоизотопный измеритель плотности грунтов и бетонов. М., 1975.
10. Поверхностные гамма-плотномеры - эффективное средство контроля качества грунтоуплотнительных и бетоноукладочных работ в строительстве. М., Атомиздат, 1975.
11. Рекомендации по применению радиоизотопных методов в гидромелиоративных изысканиях. М., 1975.
12. Калужский Я.А. Сопротивление движению катков при уплотнении грунтов. - Труды Харьковского автодорожного института, 1950, вып. 10.
13. Чернов Т.П., Кузнецов Ю.П. Об автоматическом контроле качества уплотнения оснований и подготовок. - Пром. стр-во, 1963, № 11.
14. Руководство по техническому контролю при производстве земляных работ. М., Стройиздат, 1974.
15. Руководство по устройству обратных засыпок на строительстве предприятий металлургической промышленности, Донецк, 1974.
16. Технологические карты на уплотнение грунта обратных засыпок в стесненных условиях промышленного и гражданского строительства. Выпуск I и II. Бюро внедрения ЦНИИОМТП Госстроя СССР. Москва 1978, 1980.
17. Белостоцкий Б.А. Новые типы виброударных машин для уплотнения грунта и забивки свай и теоретическое обоснование их эффективности. Сборник докладов и сообщений на Всесоюзном совещании в г. Киеве ''Новое вибрационное оборудование и технология для специальных строительных работ". Изд. ЦБНТИ Минмонтажспецстроя СССР. 1976.
18. Трубников Н.В. Энергия удара как характеристика свайного молота. - Трансп. стр-во, 1976, № 11.