Министерство жилищно-коммунального хозяйства РСФСР
Ленинградский научно-исследовательский институт
ордена Трудового Красного Знамени
Академия коммунального хозяйства им. К.Д. Памфилова
ТЕХНОЛОГИЧЕСКАЯ КАРТА № 28
УТЕПЛЕНИЕ ПРОМЕРЗАЮЩИХ СТЕНОВЫХ ПАНЕЛЕЙ В КРУПНОПАНЕЛЬНЫХ ЖИЛЫХ ДОМАХ СЕРИИ ОД
Ленинград 1974
СОДЕРЖАНИЕ
|
II. Организация и технология ремонтного процесса III. Организация и методы труда рабочих IV. Материально-технические ресурсы
|
|
ТЕХНОЛОГИЧЕСКАЯ КАРТА № 28 |
Утепление промерзающих стеновых панелей в крупнопанельных жилых домах серии ОД |
ВНИИ АКХ |
1. Настоящая технологическая карта разработана на утепление промерзающих трехслойных стеновых панелей в рядовых секциях крупнопанельных живых домов серии ОД, находящихся в эксплуатации.
2. Работы по утеплению промерзающих участков стеновых панелей в домах серии ОД производятся со стороны живых помещений.
Конструкции стеновой панели:
снаружи - железобетонная скорлупа толщиной 30 мм;
в середине утеплитель - два слоя минераловатных плит на фенольной связке толщиной 140 мм;
внутренний слой - армированная штукатурка толщиной 20 мм.
Общая толщина стеновой панели - 190 мм.
3. До начала работ в доме необходимо произвести осмотр всех квартир и выявить квартиры, в которых имеются промерзания наружных стеновых панелей.
4. Характерными признаками промерзания являются пятна сырости и плесени на внутренних поверхностях наружных стен.
|
Разработана |
Утверждена 1 апреля 1970 г. |
Срок введения |
5. Причинами промерзания стеновых панелей являются их недостаточные теплозащитные качества вследствие:
а) уменьшения толщины слоя утеплителя (при изготовлении стеновых панелей), увлажнения и просадки его (в процессе эксплуатации);
б) попадания воды в толщу панели из-за некачественной герметизации стыков между стеновыми панелями, также через неплотности оконных заполнений.
в) неорганизованного водосброса с крыши и отсутствия водоотводящих устройств на фараде здания;
г) нарушения эксплуатационного режима: недостаточного проветривания жилых помещений, установки громоздкой мебели вплотную к наружным стенам, применения кухонных газовых плит для обогрева помещения и т.п.;
д) разрушения фенольной связки минераловатного утеплителя при длительном постоянном увлажнении стеновых панелей в период эксплуатации дома:
6. Сведения о подлежащих утеплению ограждающих конструкциях фиксируется в специальном журнале.
Форма журнала приводится (табл. 1).
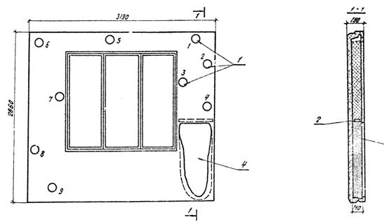
7. Подлежащие ремонту стеновые панели отмечаются в специальных бланках - развертках фасадов (рис. 1), на панелях которых проставляются номера квартир.
8. При осмотре следует выявить причины промерзания, в зависимости от которых и установить комплекс работ, исполняемых с целью их устранения.
9. При промерзании вертикальных и горизонтальных стыков между панелями следует предварительно произвести утепление стыков, как указано в технологической карте № 26.
10. При всех случаях промерзания наружных стеновых панелей необходимо загерметизировать стыки тиоколовой мастикой (типа ГС-1) или полиизобутиленовой (типа УМС-50), как указано в технологической карте № 4.
11. При наличии протечек через оконные заполнения следует их предварительно устранить, как указано в технологической карте № 17.
12. В настоящей технологической карте дается один из возможных способов устранения промерзания участков наружных стен - замена слоя намокшего или просевшего утеплителя. Рекомендуется производить утепление всей стеновой панели в комнате. Это предотвратит распространение сырости за границы утепленных зон.


Рис. 1. Развертка фасадов дома серии ОД.
а
- главный фасад
б - фасад со стороны лестничных клеток
Примечание: На фасадах отмечаются стыки панелей, подлежащие утеплению, и проставляются номера квартир
|
ЖУРНАЛ наблюдения за работами по устранению дефектов крупнопанельных жилых домов Город ………….. район ЖЭК № ………… ул. …………. дом № ……………. Вид ремонта: |
|
Задание на ремонт |
Выполнение ремонта |
Примечание |
|||||||
|
№ квартиры |
Этаж |
Наименование работ (в соответствии с технологической картой) |
Объемы |
Дата |
Наименование работ |
Объемы |
|||
|
.един. изм. |
к-во |
един. изм. |
к-во |
||||||
|
|
|
|
|
|
|
|
|
|
|
|
Задание выдал: Гл. инженер ЖЭК № … " " ………….. 19…….г. |
|
Работы выполнил: Производитель работ " " ……….. 19…….г. |
|||||||
13. Работы по утеплению стен производятся в такой последовательности:
- отбить штукатурный слой в местах, где имеются пятна сырости или следы промерзания. Отбиваемая поверхность должна превышать отсыревшую зону на 10 - 15 см в каждую сторону (рис. 3). Штукатурку следует отбивать скарпелью и молотком. При вскрытии армированного штукатурного слоя торцевые грани ребер панелей не должны быть обрублены (разрушены);
- удалить отсыревший утеплитель (минеральную вату) на всю глубину панели до железобетонной скорлупы при помощи специального крючка (рис. 4).
Предварительно следует установить сверх заменяемого участка деревянные заглушки для предотвращения проседания утеплителя, расположенного выше участка промерзания (рис. 2).
Следует проверить наличие и состояние утеплителя на всей поверхности стеновой панели путем отбора проб утеплителя (с последующей заделкой отверстий раствором) в различных точках поверхности панели (последовательность проверки показана на рис. 2):
- просушить расчищенную полость в местах, где удален утеплитель. Для сушки могут быть применены электроотражатели или же инфракрасные горелки конструкции ЦНИИ АКХ;
- очищенную и просушенную полость плотно заделать пакетами из минеральной ваты толщиной 140 мм, обернутыми полимерной пленкой для защиты от увлажнения,
- на отепляемом участке закрепить металлическую сетку с размером ячеек 10×10 мм, закрепив ее к выпускам арматуры штукатурного слоя стеновой панели;

Рис. 2. Утепление промерзающих участков стен в домах серии "ОД"
1 - отверстия для проверки наличия и состояния утеплителя, 2 - деревянная заглушка, 3 - заменяемый участок утеплителя, 4 - участок промерзания

Рис. 3. Утепление промерзающих участков стен в домах серии "ОД"
1 - железобетонная скорлупа; 2 - деревянная заглушка (концами должна упираться в ребра ж.б. скорлупы), 3 - участки промерзания, 4 - зоны замены утеплителя, 5 - удаляемый штукатурный слой, 6 - заменяемый минераловатный утеплитель

Рис. 4. Крючок для удаления утеплителя
- нанести по металлической сетке штукатурный слой толщиной до 20 мм из известково-цементного раствора γ - 1000 кг/м3;
- после высыхания штукатурного слоя стену оклеить обоями.
При невозможности подобрать обои по рисунку переклеить обои по всей комнате.
14. Приготовление раствора должно производиться в централизованном порядке на растворном узле. Ручное приготовление раствора на объекте допускается только при незначительном объеме выполняемых работ.
Подъем материалов к местy работы следует осуществлять при помощи переносного консольно-балочного крана "Малыш", устанавливаемого в оконном проеме лестничной клетки (рис. 5), или устанавливаемой на земле электролебедкой типа П-0,125, подъемный блок которой подвешивается на консольной банке, закрепляемой на пологоскатной крыше.
При этом подача материалов производится в окно: минераловатные плиты - в специальных контейнерах, раствор - в бачках или ящиках. Подъем материалов вручную допускается как исключение при малых объемах работ. Работы на высоте более 1,7 м выполняются с инвентарных подмостей.
15. В процессе производства работ мастер должен осуществлять пооперационный контроль за ходом их выполнения, фиксируя последовательность и качество выполняемых работ в специальном журнале (табл. 1).

|
Грузоподъемность 50 кг Полезный вылет стрелы 0,8 м Скорость подъема груза 25 м/мин Диаметр троса 2,5 мм, Канатоемкость барабана 30 м Мощность электродвигателя (однофазная эл. дрель типа И-28-А) 0,6 кВт Вес подъемника: Каретка с электродвигателем 15 кг Ригеля с раздвижными стойками 8 кг Стрелы 5 кг Общий 28 кг Производительность при 20 циклах в час до 1 т/час Время установки подъемника 4÷5 мин |
16. Перед началом работы необходимо провести производственный инструктаж по технике безопасности со всеми рабочими, выполняющими данный процесс работы.
17. Все работы производить только исправными инструментами.
18. Отбивку старой штукатурки следует выполнять легкими ударами молотка на длинной рукоятке или при помощи скарпели и молотка. При этом рабочие должны находиться, если это возможно, выше отбиваемого участка.
19. Работы на высоте должны выполняться с прочных инвентарных подмостей.
20. Удаление и укладку минеральной ваты и отбиваемую штукатурку следует выполнять в комбинезоне, рукавицах, шлеме, респираторе и предохранительных очках.
21. Стальные канаты для подъема грузов должны быть испытаны на двойную статическую нагрузку путем равномерного подъема, опускания и остановке и динамическую нагрузку с грузом, превышающем рабочий на 10%.
22. Опирание консольной балки на каркас не разрешается.
23. Место подъема груза должно быть ограждено; проход под поднимаемый грузом запрещается.
24. Электролебедка, устанавливаемая на земле, должна иметь пригруз весом не менее двойного тягового усиления.
25. Все наружные вращающиеся части лебедки должны быть ограждены.
26. Минимальное расстояние лебедки до места подъема груза должно составлять (для 5-этажного здания) не менее 7 метров. Электропроводка должна быть проложена в трубах, а корпус электродвигателя и станина лебедки заземлены.
27. В помещении, где производятся работы по утеплению стеновых панелей, не допускается присутствие жильцов. Следует также обеспечить защиту мебели от повреждения.
28. При уходе с рабочего места электромеханизмы должны быть отключены.
29. Так как работы выполняются без переселения жильцов, последние не должны находиться в зоне производства ремонтных работ.
30. Работы по утеплению промерзания стеновых панелей выполняются звеном рабочих, состоящим из двух человек: штукатура IV разряда и штукатура II разряда, обученных работе с переносными подъемными механизмами (краном "Малыш).
Перечень работ, подлежащих выполнению при утеплении трехслойных наружных стеновых панелей, трудовые затраты на их производство и стоимости этих работ приведены в калькуляции трудовых затрат.
Продолжительность работ по утеплению стеновой панели при работе одним звеном - 14,39 чел.час (с ручным подъемом груза).
Предполагается использование приборов для искусственной сушки участков стен без постоянного присутствия рабочих, Перерывы во времени, необходимые для набора прочности штукатурным слоем и высыхания поверхности, следует использовать для производства работ в других дефектных квартирах.
Работы по разборке и восстановлению паркетного пола должны выполняться квалифицированным паркетчиком, специально вызываемым на объект.
Таблица 2
КАЛЬКУЛЯЦИЯ ТРУДОВЫХ ЗАТРАТ
на производство работ по утеплению участков стен в крупнопанельных жилых домах
серии ОД (составлена на одну стеновую панель из расчета промерзания 25%
поверхности всей панели)
|
№№ пп |
Основание к принятым нормам |
Наименование работ |
Единица измерения |
Объем работ |
Нормы времени на единицу измерения в чел.час |
Затраты труда на весь объем работ в чел.час |
Расценка на единицу измерения в руб.коп. |
Стоимость затрат труда на весь объем, руб.коп. |
|
1 |
2 |
3 |
4 |
5 |
6 |
7 |
8 |
9 |
|
|
|
Подготовительные работы |
|
|
|
|
|
|
|
1 |
ЕНиР 1969 г. п. 2а, д, 11-14, п.2б |
Погрузка и разгрузка строительных материалов с автомашины с отноской на 10 м |
т |
0,1 |
1,44 |
0,15 |
0-63 |
0-06 |
|
|
|
Основные работы |
|
|
|
|
|
|
|
2 |
ЕНиР, 1969 г. I-14, п.2а, б 1-8, т. 2 п. 21а, б |
Подъем материалов на высоту 10 м вручную (числитель), краном "Малыш" (знаменатель) |
т |
0,1 |
3,64 0,49 |
0,36 0,05 |
1-59 0-24 |
0-16 0-024 |
|
3 |
ЕНиР, 1969 г. 20-1-142 примеч. |
.Пробивка контрольных отверстий Ø 60 мм в штукатурном слое стеновой панели и проверка состояния утеплителя с последующей заделкой их раствором |
шт. |
9 |
0,09 |
0,81 |
0-044 |
0-40 |
|
4 |
ЕНиР, 1969 г. 20-1-120, 1a К=1,7 |
Отбивка штукатурного слоя в местах, где имеются пятна сырости или следы промерзания с установкой заглушки |
м2 |
1,25 |
0,20 |
0,25 |
0-10 |
0-13 |
|
5 |
ЕНиР, 1969 г. 11-70, п. 4 |
Удаление старого утеплителя (минеральной ваты) в местах отбитой штукатурки |
|
2 |
0,14 |
0,28 |
0-069 |
0-14 |
|
6 |
По тарифу 2 разряда |
Сушка, полости панели в местах удаленного утеплителя |
ч. ч. |
0,5 |
1,0 |
0,5 |
0-49,3 |
0-25 |
|
7 |
ЕНиР, г. Минск 1956 г., 7-3 К=0,835 |
Укладка нового утеплителя (минеральной ваты) |
м2 |
2 |
0,28 |
0,56 |
0-15 |
0-30 |
|
Б |
ЕНиР, 1969 г. 8-5, т. 3, 1-а |
Натягивание тканой металлической сетки с креплением ее к выпускам арматуры |
- |
1,25 |
0,50 |
0-63 |
0,262 |
0-33 |
|
9 |
ЕНиР, 1969 г. 20-1-115, 2б |
Оштукатуривание по тканой металлической сетке |
- |
1,25 |
1,00 |
1,25 |
0-63,7 |
0-54 |
|
10 |
ЕНиР, 1969 г. 20-1-131, п.1 |
Смена обоев в комнатe |
- |
30 |
0,32 |
9,6 |
0-17,9 |
5-37 |
|
|
|
Итого с механизированным подъемом |
руб. |
|
|
14,08 |
|
7-54 |
|
|
|
С подъемом груза вручную |
|
|
|
14,19 |
|
7-68 |
1. Материалы на производство работ по утеплению трехслойных стеновых панелей в крупнопанельных жилых домах серии ОД. Из расчета на одну панель при промерзании 25% от площади всей панели.
|
№№ пп |
Наименование материалов |
Един. изм. |
Потребное количество |
ГОСТ, ТУ |
|
1 |
Полужесткие минераловатные щиты на фенольной связке |
м3 |
0,28 |
ГОСТ 9573-66 |
|
2 |
Тканая металлическая сетка с квадратными ячейками 10×10 мм |
м2 |
1,35 |
ГОСТ 12184-66 |
|
3 |
Цементно-песчаный раствор |
м3 |
0,010 |
- |
|
4 |
Обои простые |
м2 |
32,5 |
|
|
5 |
Деревянные заглушки размером 600×140×20 мм |
шт. |
2 |
- |
|
6 |
Kлeй обойный |
кг |
2,8 |
- |
2. Инструменты и приспособления
используемые при производстве работ по утеплению участков трехслойных стеновых панелей в домах серии ОД
|
№№ пп |
Наименование инструмента |
ГОСТ, ОСТ, нормаль или организация калькодержaтель |
Потребное количество на звено |
|
1 |
2 |
3 |
4 |
|
1 |
Скарпели ручные твердосплавные типа CТP-30-5, СТР-40-6 |
НИИ синтетических сверхтвердых материалов и инструмента Госплана УССР |
2 |
|
2 |
Молоток-кулачок стальной строительный |
2 |
|
|
3 |
Ножницы для резки металла 320 |
ГОСТ 7210-54 |
1 |
|
4 |
Острогубцы (кусачки) 175 |
ГОСТ 7282-54 |
1 |
|
5 |
Кельма для штукатурных работ типа КШ |
1 |
|
|
6 |
Сокол дюралюминиевый |
ВНИИСМИ Минстройкоммунмаш черт. 13100000 |
1 |
|
7 |
Полутерок |
Оргстрой Минстроя Эст. ССР |
1 |
|
8 |
Правило окованное для штукатурных работ |
Трест Мосоргстрой Главмосстроя при Мосгорисполкоме |
1 |
|
9 |
Кисть-макловица типа КМА-2 |
2 |
|
|
10 |
Ножницы обойные |
НИИ СП Госстроя УССР |
1 |
|
11 |
Крючок для удаления минеральной ваты |
ВНИИ АКХ |
1 |
|
12 |
Подмости инвентарные |
|
1 |
|
13 |
Кран "Малыш" |
Латвийский республиканский институт научно-технической информации и пропаганды |
1 |
|
14 |
Подмости инвентарные - трубчато-раздвижные |
Альбом машин, приспособлений, инструментов для капремонта жилых домов, МКХ РСФСР ЦНИИ АКХ, 1962 г. |
1 |
|
15 |
Ящик (металлический или деревянный) раствора емк. 0,06 м3 |
- |
I |