ОРДЕНА ТРУДОВОГО КРАСНОГО
ЗНАМЕНИ НАУЧНО-ИССЛЕДОВАТЕЛЬСКИЙ
ИНСТИТУТ ОСНОВАНИИ И ПОДЗЕМНЫХ СООРУЖЕНИЙ ИМ. Н.М. ГЕРСЕВАНОВА
ГОССТРОЯ СССР (НИИОСП)
РУКОВОДСТВО ПО ОПРЕДЕЛЕНИЮ ПРОЧНОСТИ ИЛОВ
И ЗАТОРФОВАННЫХ ГРУНТОВ
|
|
Москва |
Содержание
В Руководстве изложены методы определения прочности глинистых грунтов в условиях трехосного сжатия и кручением под гидростатическим давлением, разработанные применительно к грунтам малой степени литификации (илы, морские, озерные, пойменные отложения, заторфованные грунты).
Приведены неконсолидированно-недренированные испытания для оценки прочности грунта к началу строительного периода и консолидированно-дренированные испытания для оценки прочности с учетом явлений ползучести в процессе эксплуатации сооружения.
Руководство предназначено для инженерно-технических работников стационарных производственных и научно-исследовательских грунтовых лабораторий.
Широкое развитие строительства на слабых грунтах, к которым следует относить грунты малой степени литификации: илы, заторфованные, аллювиальные, морские, озерные, пойменные отложения текуче-мягкопластичной консистенции, обусловливает необходимость совершенствования методов определения для них нормативных характеристик прочности.
Разрабатываемые нормативные строительные документы, например по основаниям гидротехнических сооружений, в ряде случаев требуют учитывать фактор времени или порог ползучести при назначении прочностных характеристик.
Достоверность расчета устойчивости оснований сооружений в значительной степени зависит от правильности определения нормативных характеристик.
Для получения достоверной величины порога ползучести грунта необходимо сохранение определенного напряженного состояния образца в процессе всего опыта. Это возможно только при проведении исследования на консолидированных образцах грунта при сохранении постоянства среднего нормального напряжения.
В НИИОСП впервые разработана методика для исследования прочности с учетом ползучести грунтов малой степени литификации, позволяющая сохранить определенное напряженное состояние грунта в процессе опыта. Применительно к предложенным методам исследований создана и усовершенствована аппаратура для подготовки и испытания грунтов.
В результате анализа проведенных исследований в Руководстве даны научно обоснованные рекомендации по методике и технике определения прочности глинистых грунтов малой степени литификации в условиях трехосного сжатия и кручением под гидростатическим давлением.
Руководство составлено лабораторией методов исследования грунтов НИИОСП (канд. техн. наук Г.В. Сорокиной при участии инженеров И.В. Пчелиной и Н.А. Смирновой).
1.1. Руководство предназначено для научно-исследовательских и производственных стационарных грунтовых лабораторий, производящих исследование грунтов при устройстве оснований гражданских, промышленных, гидротехнических и дорожных сооружений.
1.2. Руководство распространяется на определение характеристик прочности глинистых грунтов малой степени литификации в лаборатории в условиях сложного напряженного состояния, т.е. под всесторонним гидростатическим давлением. К грунтам малой степени литификации относятся осадочные грунты в начальной стадии формирования (илы, аллювиальные, морские, озерные и пойменные отложения, заторфованные грунты).
1.3. Илами в соответствии с главой СНиП по проектированию оснований зданий и сооружений следует называть глинистые грунты в начальной стадии своего формирования, образовавшиеся как структурный осадок в воде при наличии микробиологических процессов и обладающие в природном сложении влажностью, превышающей влажность на границе текучести, и коэффициентом пористости е > 0,9 для супесий, е > 1 для суглинков и е > 1,5 для глин.
1.4. Заторфованными называют грунты с содержанием растительных остатков от 10 до 60%.
1.5. Глинистые грунты малой степени литификации характеризуются полным водонасыщением (условно G ³ 0,85), текучей, текуче-пластичной или мягкопластичной консистенцией JL, способностью непрерывно менять под нагрузкой характеристики деформируемости, фильтрации и прочности, медленным протеканием осадок во времени под постоянной нагрузкой (коэффициент консолидации Сv £ 1×107 см2/год), анизотропией, тиксотропией и ползучестью.
Ползучесть - свойство материала (грунта) деформироваться во времени при постоянных напряжениях. Ползучесть грунтов разделяют на сдвиговую (собственно ползучесть), характеризуемую развитием во времени интенсивности деформаций сдвига, и объемную, характеризуемую развитием во времени среднего удлинения (объемной деформации). Объемная деформация водонасыщенных грунтов обусловливается двумя процессами - фильтрационной консолидацией (первичная консолидация) и ползучестью скелета грунта (вторичная консолидация). Фильтрационная консолидация сопровождается изменением порового давления, собственно ползучесть происходит при неизменном поровом давлении.
1.6. Испытания под влиянием всестороннего гидростатического давления и касательного напряжения в трехосных приборах следует проводить в два этапа: уплотнение под гидростатическим давлением и разрушение при приложении касательного напряжения.
В соответствии с имеющимися в продолжение каждого этапа условиями дренирования трехосные испытания подразделяют на;
а) недренированное испытание - дренирование отсутствует как в процессе приложения всестороннего гидростатического давления, так и в процессе приложения касательных напряжений;
б) консолидированно-недренированное испытание - в процессе приложения всестороннего давления допускается дренирование и образец полностью уплотняется; в процессе приложения касательных напряжений дренирование отсутствует;
в) дренированное испытание - дренирование допускается в течение всего испытания, под гидростатическим давлением образец уплотняется до полной консолидации. При приложении касательного напряжения не должно возникать избыточного порового давления.
1.7. При выборе метода определения прочности глинистых грунтов малой степени литификации следует, согласно рекомендации главы СНиП II-15-74, учитывать возможность возникновения в результате действия нагрузки нестабилизированного состояния грунтов основания, сложенного глинистыми водонасыщенными грунтами (G ³ 0,85), медленно уплотняющимися (коэффициент консолидации Сv £ 1×107 см2/год), илами и заторфованными грунтами вследствие уменьшения касательного напряжения t по площадке скольжения за счет образования избыточного давления и в поровой воде:
t = (s - и)tgj + c, (1)
где s - нормальное напряжение на площадке скольжения;
j - угол внутреннего трения грунта;
с - значение удельного сцепления.
1.8. При выборе метода определения прочности грунтов следует учитывать возможность снижения их прочности под нагрузкой во времени вследствие явлений ползучести.
1.9. Для установления условий испытания грунта на прочность следует учитывать физическое состояние, которое он имеет в природном залегании и может приобрести в строительный и эксплуатационный периоды.
1.10. Для определения прочности грунтов в нестабилизированном состоянии рекомендуется схема недренированного испытания.
При полностью нестабилизированном состоянии грунта (и = s, j = 0) формула (1) принимает вид
t = с. (2)
Давление в поровой воде, как правило, в данном случае не определяется.
1.11. Для оценки прочности грунтов при возможности дренирования и уплотнения под нагрузкой от сооружения (конец строительного периода и период эксплуатации сооружения) следует проводить дренированные испытания и параметры сдвига определять по эффективным напряжениям.
Угол внутреннего трения для различной степени консолидации грунта под сооружением может быть определен по формуле (1) путем учета замеренного в данный период времени порового давления или в зависимости от плотности - влажности грунта (консолидированно-недренированное испытание). Образцы грунта уплотняют заданными давлениями и испытывают на прочность по закрытой схеме.
1.12. Для определения параметров прочности для каждого однородного слоя грунта должны быть проведены испытания в соответствии с прил. 3 (ГОСТ 20522-75) при средних нормальных напряжениях (гидростатических давлениях), изменяющихся по величине в интервале от давления, соответствующего природной плотности грунта Рэ, до давления, равного предполагаемой проектной нагрузке.
Давление Рэ рекомендуется называть «давлением, эквивалентным природному давлению». Значение Рэ может быть установлено по компрессионной кривой способом, изложенным в прил. 1.
1.13. Различают случаи предварительного уплотнения грунта давлением:
равным тому, при котором будут производить разрушение;
большим, чем то, при котором будут производить разрушение;
меньшим, чем то, при котором будут производить разрушение.
1.14. Излагаемые в Руководстве методы позволяют учитывать влияние фактора времени на прочность: быстрые, медленные испытания и испытания в условиях ползучести.
1.15. Прочность в условиях ползучести возможно определить только при однородном напряженно-деформированном состоянии образца, что достигается путем сохранения стабилизированного состояния грунта в течение всего опыта.
1.16. Рекомендуется определять прочность в условиях ползучести для заданной плотности (влажности) при средних нормальных напряжениях sср, равных напряжениям, испытываемым грунтом в природном залегании Рэ или от сооружения.
Среднее нормальное напряжение, соответствующее всестороннему давлению, определяется по формуле
![]()
1.17. Для грунтов оснований характеристики прочности следует определять на образцах с ненарушенной структурой, а для грунтов насыпей, тела плотин - на образцах нарушенной структуры.
1.18. Метод определения прочности глинистых грунтов, залегающих в основании сооружений, устанавливается в каждом конкретном случае главным специалистом отдела изысканий и проектировщиками.
1.19. В Руководстве рассматриваются методы определения прочности грунтов малой степени литификации в условиях сложного напряженного состояния, т.е. в трехосных приборах под гидростатическим давлением путем разрушения осевым сжатием цилиндрических образцов (трехосное сжатие) или кручением образцов в форме трубы.

Рис. 1. Схема трехосного сжатия

Рис. 2. Схема кручения полого образца под гидростатическим давлением
Напряженное состояние цилиндрического образца в рассматриваемых условиях трехосного испытания (рис. 1) может быть представлено выражениями
![]()
где Рг - всестороннее гидростатическое давление;
N - осевая нагрузка;
F - площадь поперечного сечения образца.
Если прочность грунта выражается в терминах октаэдрических напряжений1, то инварианты напряженно-деформированного состояния образца при условии sср = Рг, eср = 0 должны определяться по формулам:
(4)
где Рг - всестороннее гидростатическое давление, при котором производилось уплотнение образца грунта;
sz = s1 - суммарное вертикальное напряжение от осевой нагрузки и давления Рг;
ez - относительная деформация;
si, ei - интенсивность касательных напряжений, интенсивность деформаций сдвига.
1 При испытании грунтов на трехосное сжатие различие
между
и максимальными
касательными напряжениями
составляет не более
15%.
1.20. Напряженное состояние полого цилиндрического образца при заданных значениях внутреннего и внешнего гидростатического давления Рг, осевого сжатия Р1 и касательного напряжения t, вызванного крутящим моментом Мкр (рис. 2), может быть представлено:
средним нормальным напряжением
(5)
интенсивностью касательных напряжений
(6)
при Р1 = Р3 si = t.
Значение касательного напряжения должно вычисляться по формуле теории пластичности
где Мкр - крутящий момент;
r1 - наружный радиус образца, мм;
r2 - внутренний радиус образца, мм.
Относительная деформация грунта в условиях кручения должна вычисляться по формуле
где q - угол закручивания, град;
0,0174 - коэффициент для перевода угла в радианы;
h - высота образца, мм.
1.21. По значениям
интенсивности касательных напряжений на пределе разрушения
при разных средних нормальных
напряжениях могут быть получены параметры прочности по Губеру-Шлейхеру1:
(9)
где y - угол внутреннего трения;
с1 - сцепление.
1 Для определения прочности глинистых грунтов вопрос использования той или иной теории прочности не имеет большого значения.
1.22. При массовых определениях характеристик прочности грунтов в производственных грунтовых лабораториях рекомендуется пользоваться наиболее простым методом разрушения образца в условиях трехосного сжатия.
Для установления параметров прочности (угла внутреннего трения j и сцепления с) рекомендуется использовать условие прочности Кулона-Мора, выраженное через значения наибольшего σ1 и наименьшего σ3 главных напряжений в момент разрушения образца:
(10)
Графически зависимость между главными, нормальными и касательными напряжениями, действующими по площадкам, проходящим через данную точку, представляется с помощью кругов напряжений (кругов Мора). Для построения круга напряжений на оси абсцисс откладывают значения главных напряжений σ1 и σ3 и на их разности, как на диаметре, строят окружность (рис. 3). Ординаты и абсциссы точек, лежащих на этой окружности, соответствуют значениям нормальных и касательных напряжений для различно направленных площадок в данной точке. Для площадки nn1 наклоненной под углом α к главной площадке, по которой действует большее главное напряжение, значения касательных τα и нормальных σα напряжений равны соответственно ординате и абсциссе точки N. Эта точка лежит на пересечении окружности и радиуса, составляющего угол 2α с осью абсцисс.

Рис. 3. Круг напряжений Мора
По результатам испытания серии образцов одного и того же грунта строят ряд предельных кругов (рис. 4), соответствующих различным значениям σ3 и σ1. Огибающая (касательная) к этим кругам должна удовлетворять уравнению условия прочности
τ = σtgφ + c. (11)

Рис. 4. Огибающая кругов напряжений
1.23. Метод кручения полых цилиндрических образцов под гидростатическим давлением на современном уровне исследований, по-видимому, может быть применен только в научно-исследовательских целях, в частности параллельно с трехосным сжатием с целью установления условий прочности грунта. Эксперименты, которые могут ответить на этот вопрос, должны быть проведены с одним и тем же грунтом, но при различных значениях параметра Лодэ (μ0), определяемого по формуле
(12)
Для условий кручения при σ1 = σ2 = σ3 μ0 = 0; при трехосном сжатии, если σ2 = σ3, μ0 = -1; при трехосном сжатии, если σ2 = σ1 μ0 = +1.
Подготовка образцов
2.1. Для определения прочности глинистых грунтов ненарушенного сложения образцы должны отбираться из скважин с уровня зачищенного забоя грунтоносами, желательно обуривающими, обеспечивающими ненарушенное сложение и сохранение природной влажности образцов или из открытых выработок в виде монолита 20´20´20 см, а для илов, не сохраняющих формы без жесткой тары, методом режущего кольца по ГОСТ 5182-64. Диаметр образцов должен быть не менее 90-100 мм* при высоте не более двух диаметров.
* При диаметре образца 100 мм можно на одном уровне вырезать три образца диаметром 38 мм. При меньшем диаметре отобранного образца это исключается.
2.2. Для определения прочности грунтов нарушенного сложения для обеспечения однородности образцов рекомендуется готовить грунт заданной плотности в лотке размером 15´15´15 см для испытания серии образцов диаметром 38 мм. В лоток следует закладывать грунт природной влажности текучей или текучепластичной консистенции и доводить его до заданной плотности по методике, изложенной в прил. 2.
2.3. Для определения прочности в трехосных приборах образцы грунтов должны иметь форму правильных цилиндров для разрушения осевым сжатием и полых цилиндров для разрушения кручением с отношением диаметра к высоте 1:2; 1:2,2. Рекомендуется применять образцы диаметром 38 мм, высотой 76-80 мм для однородных грунтов без включений размером более 2 мм; диаметром 100-80 мм, высотой 200-100 мм для неоднородных грунтов с включениями размером более 2 мм. При кручении полых цилиндров толщина стенки цилиндра должна составлять не более 1/5 его внешнего диаметра.
2.4. Для получения образцов в виде сплошного цилиндра диаметром 100, 92, 38 мм из грунтов рекомендуется применять прибор, снабженный заменяемой многозубой полой фрезой. Описание прибора дано в прил. 3.
Монолит грунта помещают на стол прибора, закрепляют через жесткие стенки в тисках и с помощью механизма. подъема стола подводят к основанию полой фрезы. Затем включают электродвигатель в электросеть. Фреза начинает вращаться, врезается в монолит и выбуривает образец. Когда верхняя плоскость фрезы совместится с поверхностью монолита, стол с монолитом постепенно опускают механизмом до упора. Электродвигатель выключают из электросети. Фрезу с образцом отвинчивают от верхней крышки, и образец выдавливают штампом снизу вверх.
Вырезать цилиндрические образцы диаметром 38 мм также допускается тонкостенным металлическим стаканом с тонким режущим краем.
2.5. Для получения образца из грунтов в виде полого цилиндра рекомендуется применять указанный в п. 2.4 прибор или тонкостенные металлические трубки (рис. 5).

Рис. 5. Трубки для изготовления образцов грунта в форме цилиндра
Подготовку образца на приборе следует начинать с выбуривания цилиндрического отверстия в монолите двухперовым сверлом. Затем сверло заменяют на фрезу и при сохранении того же положения монолита на столе производят выбуривание из него образца.
Выбуривание отверстия следует начинать от центра образца, заключенного в цилиндрическую разъемную обойму, трубкой диаметром 4 мм, затем трубками больших диаметров и, наконец, трубкой диаметром, равным заданному внутреннему диаметру образца. Подготовленный образец в форме трубы (полый цилиндр) показан на рис. 6.

Рис. 6. Образец ила в форме трубы для определения прочности кручением
2.6. Для каждого образца исследуемо-то грунта должна быть определена плотность γ (ГОСТ 5182-64) до консолидации, после консолидации и после испытания на прочность и влажность. Для полностью водонасыщенных грунтов после испытания на прочность можно ограничиться только определением влажности из трех сечений образца.
2.7. Для каждого исследуемого на прочность грунта должны быть определены: пределы пластичности Wl и WP (ГОСТ 5183-64, ГОСТ 5184-64), плотность твердых частиц γr (ГОСТ 5181-64), структурная связность методом расплющивания («Инструкция по определению структурной связности пластичных глинистых грунтов». М., Машстройиздат, 1950), количество органических остатков и гумуса (Е.В. Аринушкина. «Руководство по химическому анализу почв»).
Аппаратура
2.8. Для испытания прочности глинистых грунтов в условиях сложного напряженного состояния осевым сжатием может быть использован (рис. 7) трехосный прибор типа А любой конструкции, допускающей испытание образцов с отношением высоты к диаметру от 2 до 3, свободное боковое расширение образца, постоянство в течение длительного времени всестороннего гидростатического давления и специальное нагрузочное устройство рычажного типа, обеспечивающее плавность приложения нагрузки и постоянство вертикального давления на образец в течение опыта.

Рис. 7. Схема прибора для трехосных испытаний
1 - вентиль для выпуска воздуха; 2 - нагрузочный шток; 3 - верхний штамп; 4 -
пористый диск; 5 - гибкая трубка; 6 - образец, заключенный в резиновую
оболочку; 7 - уплотняющее кольцо; 8 - трубки для дренирования или измерения
порового давления; 9 - резиновое кольцо; 10 - вода; 11 - механический манометр;
12 - трубка для заполнения камеры и контроля давления в камере
2.9. Всестороннее гидростатическое давление на образец следует передавать посредством давления жидкости (вода или глицерин), которое создается сжатым воздухом, подаваемым из баллона через ресивер и систему соединительных трубок компрессором или автомобильным насосом.
Прибор должен обеспечивать максимальное гидростатическое давление не менее 0,4 МПа, измеряемое по шкале манометра с точностью до 0,003-0,005 МПа.
2.10. Осевая нагрузка на образец может передаваться методами принудительного нагружения или принудительного деформирования.
Для передачи осевой нагрузки методом принудительного нагружения рекомендуется пользоваться рычажными прессами типа пресса системы В.М. Веселовского (см. прил. 4).
Для проведения испытаний грунтов на прочность принудительным деформированием рекомендуются прессы с автоматическим непрерывным увеличением нагрузки, вызывающей постоянную заданную скорость деформирования образца, устанавливаемую с помощью коробки скоростей. В коробке скоростей должны быть предусмотрены скорости 4; 2; 1; 0,5; 0,25; 0,1; 0,05; 0,01 мм/мин.
При автоматической передаче нагрузки с помощью мотора конструкция прибора должна обеспечивать отсутствие вибраций основания камеры трехосного прибора.
2.11. Осевую деформацию образца грунта следует определять по перемещению штока, а измерение осевой деформации производить самописцем или индикатором часового типа (мессура) с точностью до 0,01 мм. Индикаторы должны иметь паспорт, подтверждающий точность измерений и прохождение государственной поверки.
2.12. Измерение объемных деформаций для полностью водонасыщенных грунтов допускается осуществлять волюмометром (измерительная трубка типа бюретки) с точностью измерения 0,1 см3. Волюмометр должен подключаться к трехосному прибору для дренирования образца, как показано на рис. 8.

Рис. 8. Камера для трехосных испытаний с
подключенным волюмометром
1 - камера; 2 - кран; 3 - волюмометр; пунктиром обозначен начальный уровень
жидкости в волюмометре
Контроль состояния консолидации грунта можно также производить путем измерения порового давления в грунте поропьезометрами, принцип действия которых основан на компенсации давления.
2.13. При передаче осевой нагрузки на образец посредством пресса следует провести тарировку для определения коэффициента трения рычажного пресса
f1 =N'/Q, (13)
где f1 - коэффициент трения рычажного пресса;
N' - усилие, передаваемое на шток рычажным прессом;
Q - задаваемая нагрузка.
Метод тарировки пресса описан в прил. 5.
2.14. Прибор для определения прочности грунтов методом кручения под гидростатическим давлением (рис. 9) должен состоять из камеры трехосного сжатия, в которую помещают образец, неподвижно закрепленный между верхним и нижним штампами, штока, шкива, установленного на штоке и передающего крутящий момент, блоков и нагрузочного устройства.

Рис. 9. Схема прибора для определения прочности
грунтов методом кручения под гидростатическим давлением
1 - шкив, закрепленный на штоке и передающий крутящий момент; 2 - блоки; 3 -
репер, укрепленный на штоке; 4 - лимб; 5 - шток; 6 - стойки, на которых
укреплены блоки; 7 - верхний штамп, закрепленный на штоке; 8 - образец грунта;
9 - резиновая оболочка; 10 - нижний штамп, закрепленный на основании прибора;
11 - трос; 12 - плита из текстолита на которой монтируется прибор; 13 -
траверса; 14 - подвеска для груза; 15 - камера трехосного сжатия с прозрачным
колпаком
Штампы (верхний и нижний) должны иметь сегментные ножи (рис. 10, а) для лучшего соединения с торцами образца. Нижний штамп помещают в насадку (рис. 10, б) для неподвижного соединения с нижним основанием камеры. Верхний штамп помещают в головку (рис. 10, в), соединяемую со штоком. Гидростатическое давление на образец должно передаваться в соответствии с п. 2.9.

Рис. 10. Детали к прибору для определения прочности грунтов
кручением под гидростатическим давлением
а - штамп с сегментными ножами; б - насадка для неподвижного соединения штампа
и образца с нижним основанием камеры; в - головка для неподвижного соединения
верхнего штампа и образца со штоком
2.15. Деформация кручения должна измеряться по неподвижно закрепленному лимбу со шкалой, проградуированной в градусах, с помощью указателя, закрепленного на подвижном штоке. Для повышения точности измерения деформации при ползучести рекомендуется применять устройство, основанное на отражении светового луча от зеркала на измерительную шкалу (в градусах и минутах), расположенную на расстоянии от прибора. Зеркало закреплено на верхней поверхности шкива и вращается вместе с верхней, подвижной частью образца.
2.16. Прибор для определения прочности кручением полых образцов должен тарироваться для установления трения в подшипниках и сопротивления резиновых оболочек. Метод тарировки прибора приведен в прил. 6.
Установка в прибор образца, вырезанного из грунта
2.17. Для определения прочности грунта осевым сжатием под гидростатическим давлением на образец в виде цилиндра, вырезанный в соответствии с п. 2.4, надевают резиновую оболочку с помощью тонкостенной латунной трубы-расширителя (рис. 11) диаметром на 7-10 мм больше диаметра образца, а высотой на 10-14 мм больше высоты образца.

Рис. 11. Расширитель для образцов диаметром 38 мм
1 - нагрузочная головка; 2 - резиновая оболочка; 3 - образец диаметром 38 мм: 4
- запаянный шов; 5 - гибкая трубка
Заключают образец в резиновую оболочку следующим образом. Резиновую оболочку вводят в трубу-расширитель и ее концы загибают наружу; воздух, находящийся между оболочкой и трубой, отсасывают резиновой грушей, при этом резиновая оболочка прилегает к внутренним стенкам трубы. Торцы образца покрывают бумажными фильтрами и ставят образец на штамп. На верхнюю плоскость образца кладут верхний штамп. Трубу-расширитель надевают на образец грунта, концы оболочки снимают с трубы, при этом оболочка соскользнет на образец грунта.
Резиновая оболочка на штампах должна быть закреплена резиновыми кольцами круглого сечения. Резиновые кольца следует натянуть на концы трубы-расширителя, а затем переместить пальцами на нижний и верхний штампы, обтянутые резиновой оболочкой. Толщина резиновой оболочки не должна превышать 0,15-0,2 мм. Для образца диаметром 38 мм при толщине резиновой оболочки 0,15-0,2 мм и деформации образца на 10-15% поправка на сопротивление резины составляет 0,003-0,004 МПа. Для образца диаметром 102 мм при толщине резиновой оболочки 0,25 мм поправка на сопротивление резины при изменении осевой деформации от 5 до 20% будет составлять 0,0007-0,0023 МПа. До установки образца в прибор (см. рис. 7) система трубок, подводящих воду к штампам, и поры в штампах заполняются водой (дистиллированной прокипяченной) до появления ее на поверхности штампов. В системе не должно быть пузырьков воздуха. После установки образца грунта в резиновой оболочке на основание камеры прибора необходимо произвести следующие операции:
в гнездо верхнего штампа поместить шарик из нержавеющей стали;
проверить вертикальность оси образца;
поднять до предельного верхнего положения шток в верхней части камеры (колпак); колпак ставят на основание камеры;
закрепить верхнюю часть камеры (колпак) винтами на основании; открыть вентиль 1 (см. рис. 7) для выпуска воздуха и через трубку 12 из резервуара наполнить камеру дистиллированной прокипяченной водой до момента, когда вода начнет вытекать из отверстия трубки вентиля;
вентиль закрыть и давление в камере довести до заданного значения.
2.18. Для установки образца в форме трубы, подготовленного в соответствии с п. 2.5, в прибор для испытания на кручение следует произвести следующие операции:
продеть в выбуренное отверстие резиновую оболочку, на нижний и верхний торцы образца поместить штампы с сегментными ножами; ножи вдавить в образец на 1,5-2 мм; образец на торцах в местах соединения со штампом залить замазкой (воск с канифолью);
закрепить на штампах внутреннюю и внешнюю резиновые оболочки (рис. 12);
надеть головку и привинтить винтами к верхнему штампу;
вставить образец в нижнюю насадку прибора (рис. 13);

Рис. 12. Образец в форме трубы в резиновой оболочке и с укрепленными на торцах штампами с сегментными ножами

Рис. 13. Образец в форме трубы, подготовленный для установки в прибор на кручение
нижнюю насадку с образцом надеть на основание прибора и закрепить;
головку соединить со штоком;
поставить колпак камеры на ее основание и закрепить винтами;
заполнить камеру жидкостью и передать на жидкость заданное гидростатическое давление одновременно с внешней и внутренней стороны образца.
Уплотнение грунта под гидростатическим давлением
3.1. Образец грунта, установленный в прибор, уплотняют под заданным гидростатическим давлением для приведения его плотности к природной или к заданной. Образец грунта должен выдерживаться под заданным гидростатическим давлением до условной стабилизации объемной деформации, равной 0,1 см3 за 12 ч. Объемные деформации измеряются волюмометром. Температура воды в лабораторном помещении в течение суток не должна изменяться больше чем на 1°С.
3.2. Образец грунта, доведенный под гидростатическим давлением до заданной плотности, вынимают из камеры прибора (см. рис. 8) и определяют его плотность. Для этого производят следующие операции:
сбрасывают гидростатическое давление в камере прибора;
открывают на крышке камеры кран и спускают воду;
вынимают образец грунта из камеры прибора;
взвешивают образец на технических весах;
измеряют высоту и диаметр образца.
3.3. Точность взвешивания для образцов с начальным диаметром 38 мм должна быть не меньше чем 0,5 г, а для образцов с диаметром 100 мм - не меньше 1 г; соответственно точность измерения размеров образцов по оси должны составлять 0,1 и 0,5 мм. Объемный вес грунта вычисляют по ГОСТ 5182-64.
Недренированное определение прочности грунта в условиях трехосного сжатия
3.4. Недренированное испытание грунта проводят для оценки прочности основания в неконсолидированном состоянии. Образец грунта, приведенный к природной плотности всесторонним гидростатическим давлением, равным Рэ (по п. 3.1), после определения плотности вновь устанавливают в камеру трехосного прибора и восстанавливают гидростатическое давление, равное Рэ. Затем увеличивают гидростатическое давление до заданного и прикладывают осевую нагрузку.
3.5. Недренированное определение прочности нужно проводить при быстром приложении осевой нагрузки. Испытание можно проводить при прямом принудительном загружении или при принудительном деформировании образца с постоянной скоростью.
При принудительном загружении рекомендуется ступенчатое приложение осевой нагрузки с интервалом 5-10 с. Величина каждой ступени нагрузки должна составлять 10% среднего нормального напряжения σcp = σ3 =Рг.
При принудительном деформировании следует проводить испытание со скоростью от 2 до 4 мм/мин при высоте образца 76 мм.
3.6. Деформацию грунта при осевом сжатии рекомендуется фиксировать самописцем (диаграмма напряжение-деформация) или индикатором часового типа (мессура).
Деформацию по мессуре рекомендуется записывать:
при принудительном нагружении после каждой ступени нагрузки;
при принудительном деформировании через каждые 10-15 с.
3.7. Результаты наблюдений за деформацией образца под нагрузкой записывают в журнал (формы 1 и 2). Пример заполнения журнала дан в форме 2.
Журнал определения прочности грунта осевым сжатием под гидростатическим давлением при загружении на рычажном прессе
|
Система и номер прибора |
Высота образца h, см |
|
Лабораторный номер образца |
Площадь образца F, см2 |
|
Номенклатурный вид грунта |
Объем образца V, см3 |
|
Сложение |
Масса образца, г |
|
Условия испытания |
Плотность грунта γ, г/см3 |
|
Диаметр образца d, см |
Влажность грунта W, доли единицы |
|
Дата испытания |
Время от начала опыта |
Нагрузка на рычаг N, Н |
Давление от
рычага |
Полное напряжение на образец σ1, МПа |
Девиатор напряжений σ1 – σ3, МПа |
Деформация образца Δh, мм |
Относительная
деформация образца |
|
|
1 |
2 |
3 |
4 |
5 |
6 |
7 |
8 |
9 |
|
|
|
|
|
|
|
|
|
|
Журнал определения прочности грунта осевым сжатием под гидростатическим давлением при постоянной скорости деформирования
|
Система и номер прибора: трехосный прибор «Фарнелл» № 1 |
|
Диаметр образца d, см: 3,8 |
|
Лабораторный номер образца: 288 |
|
Высота образца h, см: 7,6 |
|
Номенклатурный вид грунта: глина мягкопластичная |
|
Площадь образца F, см2: 11,33 |
|
Сложение грунта: ненарушенное |
|
Объем образца V, см3: 86,11 |
|
Условия испытания: неконсолидированное испытание. Скорость деформирования 2 мм/мин. Образцы приведены к природной плотности давлением Рэ = 0,032 МПа. Гидростатическое давление Рг = σ3 = 0,1 МПа |
|
Масса образца, г: 151,6 |
|
|
Плотность грунта у, г/см3: 1,76 |
|
|
|
Влажность грунта W, доли единицы: 0,413 |
|
Дата испытания |
Время от начала опыта |
Напряжение по динамометру q, МПа |
Деформация образца Δh, мм |
Относительная
деформация образца |
|
|
σ1 = q + σ3Кш, МПа |
σ1 – σ3, МПа |
|
1 |
2 |
3 |
4 |
5 |
6 |
7 |
8 |
9 |
|
15/Х 1974 |
0 |
0 |
0 |
0 |
|
|
|
|
|
|
15 с |
0,02 |
0,5 |
0,0065 |
11,4 |
0,02 |
0,11 |
0,01 |
|
|
30 с |
0,027 |
1,01 |
0,013 |
11,48 |
0,027 |
0,117 |
0,017 |
|
|
45 с |
0,03 |
1,5 |
0,019 |
11,55 |
0,029 |
0,119 |
0,019 |
|
|
1 мин |
0,035 |
2 |
0,026 |
11,63 |
0,034 |
0,124 |
0,024 |
|
|
1 мин 15 с |
0,038 |
2,5 |
0,033 |
11,71 |
0,037 |
0,127 |
0,027 |
|
|
.... |
.... |
.... |
.... |
.... |
.... |
.... |
.... |
|
|
3 мин |
0,052 |
6 |
0,078 |
12,29 |
0,048 |
0,138 |
0,038 |
|
|
3 мин 15с |
0,054 |
6,5 |
0,086 |
12.4 |
0,049 |
0,139 |
0,039 |
|
|
3 мин 30 с |
0,057 |
7,03 |
0,092 |
12,48 |
0,052 |
0,142 |
0,042 |
|
|
3 мин 45 с |
0,059 |
7,5 |
0,099 |
12,69 |
0,053 |
0,143 |
0,043 |
|
|
4 мин |
0,059 |
8 |
0,1052 |
12,66 |
0,053 |
0,143 |
0,043 |
Недренированное определение прочности грунта в условиях трехосного сжатия
3.8. Дренированное испытание проводят для оценки прочности грунта в консолидированном состоянии. Образец грунта, уплотненный под заданным гидростатическим давлением в соответствии с п. 3.1, после определения плотности вновь устанавливают в камеру трехосного прибора и прикладывают осевую нагрузку.
Среднее нормальное напряжение σcp при разрушении должно быть равно (или меньше) гидростатическому давлению при уплотнении образца. Если испытание требуется провести при среднем нормальном напряжении, равном давлению уплотнения в камере, то при приложении осевой нагрузки увеличится среднее нормальное напряжение и возникнет избыточное давление в поровой воде, т.е. возникнет нестабилизированное состояние. Для сохранения среднего нормального напряжения постоянным рекомендуется одновременно с приложением осевой нагрузки уменьшать действующее гидростатическое давление на величину
Δσ = N/3F. (14)
3.9. Дренированные определения прочности рекомендуется проводить при медленном и быстром приложении осевой нагрузки, а также в условиях ползучести (см. раздел 4). Испытание можно проводить, при прямом (принудительном) загружении или при принудительном деформировании с постоянной скоростью.
При медленном приложении осевой нагрузки при принудительном ступенчатом загружении рекомендуется каждую ступень нагрузки прикладывать после стабилизации деформации. За стабилизацию деформации принимают деформацию £ 0,01 мм/мин. Величина каждой ступени нагрузки должна составлять 5% среднего нормального напряжения.
При принудительном деформировании рекомендуется проводить испытание со скоростью 0,1 мм/мин (при высоте 76 мм).
3.10. Деформацию грунта при осевом сжатии рекомендуется фиксировать самописцем (диаграмма напряжение-деформация) или брать по индикатору (мессуре). Деформацию по мессуре следует записывать через 1-5 мин.
При быстром приложении нагрузки испытание ведут в соответствии с пп. 3.5 и 3.6.
3.11. Результаты наблюдений за деформацией образца под нагрузкой записывают в журнал по форме 1 или 2.
3.12. Опыт продолжают до возникновения непрерывного пластического течения без приращения нагрузки.
Обработка результатов определения прочности грунта в условиях трехосного сжатия
3.13. Для определения касательного напряжения на пределе разрушения (прочность) при трехосном испытании грунта рекомендуется строить диаграмму зависимости относительной деформации от девиатора напряжений σ1 – σ3 (рис. 14) по данным граф форм 1 и 2.

Рис. 14. График зависимости относительной деформации грунта от девиатора напряжений
Если применяется самописец, то критерий разрушения устанавливается непосредственно по диаграмме, снятой самописцем. Осевое напряжение вычисляют по формуле
(15)
где N - осевая нагрузка, Н;
F - площадь поперечного сечения образца, см2;
Fш - площадь поперечного сечения штока, см2.
Напряжение q=N/F при больших осевых деформациях образца под нагрузкой следует определять с учетом изменения площади поперечного сечения в процессе опыта. Площадь поперечного сечения образца Fi для любого момента деформирования может быть приближенно определена из условия постоянства объема материала по формуле
(16)
где F - площадь поперечного сечения образца в начале опыта, см2;
- относительная деформация
образца.
Для образца грунта с начальным диаметром 38 мм площадь поперечного сечения в процессе деформирования может быть определена по прил. 7.
3.14. За критерий разрушения грунта следует принимать касательное напряжение, соответствующее значению девиатора напряжений, за которым происходит непрерывное пластическое течение грунта без приращения давления.
Касательное напряжение t, соответствующее пределу разрушения при j = 0, может быть вычислено по формуле
(17)
где s1 - наибольшее главное напряжение в момент разрушения грунта, МПа;
с - сцепление, МПа.
3.15. Результаты определения прочности образца или грунта одного инженерно-геологического элемента записываются в журнал по форме 3.
Результаты определения прочности грунта
|
Лабораторный номер образца: 288 |
|
Условия проведения испытания: недренированное испытание в условиях трехосного сжатия. Скорость деформирования 2 мм/мин. Образцы приведены к природной плотности давлением Рэ = 0,032 МПа. |
|
Номенклатурный вид грунта: глина мягкопластичная |
|
|
|
Сложение: ненарушенное |
|
|
|
Место отбора образца грунта: объект U |
|
|
|
Наименование и номер выработки: скважина № 27 |
|
|
|
Глубина отбора образца от поверхности земли: 16,7-17 м |
|
Система прибора: трехосный прибор «Фарнелл» |
9. Характеристика образцов грунта до испытания
|
Пластичность, доли единицы |
Влажность W, доли единицы |
Плотность g, г/см3 |
Плотность твердых частиц gs, г/см3 |
Коэффициент пористости е |
Степень влажности G |
Показатель консистенции JL |
Структурная связность 1-b |
||
|
WL |
WP |
JP |
|||||||
|
0,49 |
0,26 |
0,23 |
0,443 |
1,77 |
2,67 |
1,181 |
1 |
0,79 |
0,108 |
10. Характеристика образцов грунта после испытания и данные прочности
|
Порядковый номер образца |
Коэффициент пористости е |
Степень влажности G |
Показатель консистенции JL |
Среднее нормальное напряжение scp, МПа |
s3, МПа |
Осевое напряжение на пределе разрушения s1, МПа |
Девиатор напряжений s1-s3, МПа |
|
1 |
1,097 |
|
0,64 |
0,05 |
0,05 |
0,09 |
0,04 |
|
2 |
1,103 |
|
0,65 |
0,05 |
0,05 |
0,09 |
0,04 |
|
3 |
1,103 |
|
0,65 |
0,1 |
0,1 |
0,142 |
0,042 |
|
4 |
1,065 |
|
0,61 |
0,1 |
0,1 |
0,142 |
0,042 |
|
5 |
1,142 |
|
0,71 |
0,15 |
0,15 |
0,192 |
0 042 |
|
6 |
1,103 |
|
0,65 |
0,15 |
0,15 |
0,193 |
0,043 |
|
Среднее |
1,102 |
1 |
0,65 |
- |
- |
- |
- |
Примечание. Определения прочности проведены для нестабилизированного состояния грунта и практически при одной и той же плотности и консистенции.
Руководитель лаборатории_____________
Испытания произвел _________
«___» _______ 197___г.
3.16. Нормативные значения параметров прочности в соответствии с ГОСТ 20522-75 вычисляют по методу наименьших квадратов для всей совокупности опытных значений t в инженерно-геологическом элементе в предположении наличия линейной огибающей кругов напряжений.
Нормативные значения сн и jн вычисляются следующим образом. Из формулы
где

находим
По методу наименьших квадратов вероятные значения:


где n - число опытов, включенных в совместное решение.
Квадратичные ошибки найденных вероятных значений:


где
- сумма квадратов отклонений значений, вычисленных по
формуле (18), после подстановки в нее
вероятных значений а и b от найденных опытом значении σ1;


Значения неизвестных:
Относительные квадратичные ошибки для ав и bв:
![]()
Среднее квадратичное отклонение величины с:
(21)
Среднее квадратичное отклонение величины j:
(22)
Пример вычисления сн
и jн. Для вычисления нормативных значений сн
и jн выписываем из журнала по форме 3 частные значения σ1 и σ3 в таблицу и определяем
суммы ![]()
|
№ опыта |
σ1 |
σ3 |
σ1σ3 |
|
При аb =1,02 и bb = 0,0395 |
||
|
σ'1 |
e |
e2 |
|||||
|
1 |
0,09 |
0,05 |
0,45×10-2 |
0,25×10-2 |
9,05×10-2 |
-5×10-4 |
2,5×10-7 |
|
2 |
0,09 |
0,05 |
0,45×10-2 |
0,25×10-2 |
9,05×10-2 |
-5×10-4 |
2,6×10-7 |
|
3 |
0,142 |
0,1 |
1,42×10-2 |
1×10-2 |
14,15×10-2 |
5×10-4 |
2,5×10-7 |
|
4 |
0,142 |
0,1 |
1,42×10-2 |
1×10-2 |
14,15×10-2 |
5×10-4 |
2,5×10-7 |
|
5 |
0,192 |
0,15 |
2,88×10-2 |
2,25×10-2 |
19,25×10-2 |
-5×10-4 |
2,5×10-7 |
|
6 |
0,193 |
0,15 |
2,89×10-2 |
2,25×10-2 |
19,25×10-2 |
5×10-4 |
2,5×10-7 |
|
S |
0,849 |
0,6 |
9,5×10-2 |
7×10-2 |
- |
- |
15×10-7 |
Вычисляем значения ав и bв:
![]()
![]()
Подставляем значения ав и bв в формулу (18) и вычисляем значения σ'1. Определяем отклонение опытных значений
от найденных по формуле (18) значений σ'1. Находим
Вычисляем
квадратичные ошибки найденных вероятных значений а и b:
![]()
![]()


Значения неизвестных по формулам (20):
а = 1,02 ± 0,6×10-2;
b = 0,0395 ± 0,066×10-2.
Определяем по формуле (19) нормативные значения сн = 0,0195 МПа, jн = 1°. Проводим касательную к кругам Мора по полученным нормативным значениям (рис. 15) сн и jн.

Рис. 15. Нормативные значения параметров прочности для нестабилтированного состояния мягкопластичной глины
3.17. Расчетные значения удельного сцепления и угла внутреннего трения в соответствии с ГОСТ 20522-75 вычисляют по формуле
(23)
где r - показатель точности оценки среднего значения характеристики.
Показатель r вычисляют, используя метод доверительного интервала, по формуле
r = taV.
где V - коэффициент вариации;
ta - коэффициент, принимаемый по табл. 2, прил. 1 ГОСТ 20522-75;
![]()
где D - среднее квадратичное отклонение;
А - среднее значение характеристики.
Для рассматриваемого примера определения прочности в условиях неконсолидированного испытания (образец 288) получены значения Vc = 2%; Vj = 2,4%; rс = 0,0426; rj = 0,0751 при доверительной вероятности 95%. Расчетные значения: с = 0,0187 МПа; j = 0°45'.
Определение прочности грунта кручением под гидростатическим давлением
3.18. Метод определения прочности грунта кручением образца в форме трубы под гидростатическим давлением рекомендуется применять для консолидированного грунта при необходимости обеспечения стабилизированного состояния образца в процессе всего опыта. Для этого достаточно выдержать образец под гидростатическим давлением до практически полной стабилизации объемных деформаций, т.е. до исчезновения избыточного давления в поровой воде, и разрушить его методом кручения при том же или меньшем гидростатическом давлении.
3.19. Для определения прочности консолидированных образцов методом кручения полых Цилиндров рекомендуется сначала уплотнить цилиндрический образец под заданным гидростатическим давлением и определить его плотность. После этого образец в резиновой оболочке следует заключить в разъемную цилиндрическую обойму и выбурить его центральную часть по методу, предложенному в п. 2.5.
Можно сначала подготовить образец в форме полого цилиндра, а затем уплотнить его под гидростатическим давлением в приборе на кручение через нижний штамп. После уплотнения необходимо закрепить образец в нижней насадке прибора (см. п. 2.18).
3.20. После установки консолидированного образца в прибор к образцу прикладывают крутящий момент путем ступенчатого загружения или принудительного деформирования в соответствии с пп. 3.5 и 3.9. При медленном загружении очередную ступень нагрузки прикладывают в том случае, если деформация не превышает 1°.
3.21. Деформация кручения фиксируется в градусах по лимбу, расположенному на верхней неподвижной крышке камеры прибора (см. рис. 9), иглой, перемещающейся при повороте штока 5.
3.22. При испытании записывают в журнал по форме 4 вес груза, положенного на подвеску, и угол поворота иглы q. Показания деформации записывают:
при быстром загружении - при каждой ступени нагрузки;
при медленном загружении - через 1-5 мин.
Журнал определения прочности грунта кручением под гидростатическим давлением
|
Лабораторный номер грунта |
|
Высота образца h, см |
|
Номенклатурный вид грунта |
|
Площадь образца F, см2 |
|
Сложение |
|
Объем образца V, см3 |
|
Условия испытания |
|
Масса образца, г |
|
Диаметр образца d, см |
|
Плотность грунта g, г/см3 |
|
|
|
Влажность грунта W, доли единицы |
|
Дата испытания |
Время от начала опыта |
Среднее нормальное напряжение s, МПа |
Нагрузка на подвеску N, Н |
Крутящий момент Мкр, Н×см |
Касательное напряжение t, МПа |
Угол поворота q, град |
|
1 |
2 |
3 |
4 |
5 |
6 |
7 |
|
|
|
|
|
|
|
|
3.23. Испытание продолжают до непрерывного движения стрелки по лимбу, указывающего на пластическое течение грунта, или до появления волосных трещин. Характер разрушения ила показан на рис. 16.

Рис. 16. Образец ила, разрушенный кручением под гидростатическим давлением
3.24. Для определения нормативных значений параметров прочности сн, jн проводят серию опытов при разных значениях среднего нормального напряжения в соответствии с рекомендациями пп. 1.12; 1.13. Число опытов для инженерно-геологического элемента устанавливают по прил. 3 ГОСТ 20522-75.
Обработка результатов определения прочности грунта кручением под гидростатическим давлением
3.25. Для определения прочности вычисляют величину крутящего момента Mкр по формуле
Mкр = NR, (24)
где N - нагрузка;
R - плечо рычага (радиус шкива).
Результаты записывают в журнал по форме 4.
3.26. Для определения касательного напряжения на пределе разрушения для каждого испытания строят график зависимости угла закручивания от приложенного крутящего момента (рис. 17). За критерий разрушения принимают точку перегиба А. По формуле (7) вычисляют касательное напряжение t, соответствующее пределу разрушения образца.

Рис. 17. График зависимости угла закручивания от крутящего момента
3.27. Для определения нормативных значений сн и jн обработку результатов опытов проводят в соответствии с ГОСТ 20522-75 вычислением по методу наименьших квадратов прямолинейной зависимости вида Кулона для всей совокупности опытных величин t в инженерно-геологическом элементе.
Основные принципы определения прочности грунтов с учетом явлений ползучести
4.1. При определении прочности глинистых грунтов с учетом явлений ползучести предлагается исходить из теории течения вязко-пластических тел Шведова-Бингама.
Закон течения Шведова-Бингама выражается механическим уравнением состояния
(25)
где si - интенсивность касательных напряжений;
- интенсивность касательных напряжений,
соответствующая предельному напряжению сдвига, или порогу ползучести;
h - пластическая вязкость;
- интенсивность скоростей деформаций сдвига.
Графическая зависимость
между
и si для среды Шведова-Бингама показана
на рис. 18. Закон течения Шведова-Бингама относится к случаю чистого сдвига или
одноосного сжатия.
Для учета совместного воздействия сдвигающего и нормального напряжений, впервые выполненного Н.Н. Масловым, при описании процесса ползучести грунтов рекомендуется использовать условие пластичности Ренкина-Прандтля (Кулона).

Рис. 18. Графическое изображение закона Шведова-Бингама
Порог ползучести в формуле Шведова-Бингама примет вид
где сс - структурное сцепление, являющееся частью общего сцепления;
j - угол внутреннего трения;
sср - среднее нормальное напряжение.
Прямолинейная зависимость между
и si в соответствии с законом
Шведова-Бингама может быть получена для грунтов только в определенном интервале
скорости деформирования. Полная реологическая кривая характеризуется
несколькими прямолинейными участками (рис. 19). В соответствии с этим может
быть получено несколько предельных значений касательных напряжений:
1)
- совпадающее условно
с пределом упругости;
2)
- течение практически
отсутствует;
3)
- развивается
медленное течение с наибольшей вязкостью в условиях практически неразрушенной
структуры (участок АБ, рис.
19).

Рис. 19. Реологическая кривая для мягкопластичноа глины
Течение на участке АБ (точки для касательных напряжений ниже точки Б) обычно заканчивается затуханием деформаций, и разрушения грунта не наступает. Далее происходит течение с интенсивным разрушением структуры, переменной вязкостью и нелинейной зависимостью между касательными напряжениями и скоростью течения. Точки для этой части кривой (участок БВ) сняты с кривых, характеризующихся незатухающей ползучестью (рис. 20).
4.2. Для построения
реологической кривой следует испытывать на ползучесть 6-7 образцов одного
инженерно-геологического элемента при различных значениях касательных
напряжений
и постоянном заданном среднем нормальном напряжении sср. Для этого строят кривые ползучести в координатах, время t - интенсивности деформации ei (см. рис. 20).

Рис. 20. Кривые ползучести глинистого грунта (схема)
Кривые ползучести в
зависимости от значения приложенного касательного напряжения могут иметь
затухающий
или незатухающий
характер. Каждая кривая при
незатухающей ползучести характеризуется тремя стадиями: неустановившейся
стадией ползучести с уменьшающейся скоростью деформирования (см. рис. 20,
участок АБ), установившейся
стадией ползучести, или стадией пластично-вязкого течения с постоянной
скоростью деформирования (участок БВ), и стадией прогрессирующего течения с возрастающей скоростью
(участок ВГ), которая
заканчивается разрушением.
При затухающей ползучести последняя стадия характеризуется уменьшающейся скоростью течения, в результате чего образец не разрушается.
По участкам БВ установившегося течения на кривых
ползучести определяют интенсивность скорости деформации
по углу наклона из
отношения
для каждого испытания
серии при одном и том же среднем нормальном напряжении. Затем строят
реологическую кривую в координатах
(рис. 21) и продолжают
нижний участок кривой до оси касательных напряжений.

Рис. 21. Реологическая кривая мягкопластичной глины
Участок ОВ принимают за порог прочности
, являющийся показателем прочности в условиях ползучести при
заданном среднем нормальном напряжении.
4.3. Порог прочности в соответствии с п. 1.15 следует определять для консолидированного состояния грунта после уплотнения его под гидростатическим давлением Рг, равным в соответствии с п. 1.12 давлению Рэ или любому заданному давлению в зависимости от предполагаемой проектной нагрузки или степени консолидации грунта под сооружением.
4.4.
Для оценки параметров прочности грунтов в условиях ползучести к началу
строительного периода (j » 0) достаточно определить порог
прочности при среднем нормальном напряжении, равном Рэ, и
полученное значение
считать равным сцеплению. Для оценки
параметров прочности в условиях ползучести грунтов в период эксплуатации
сооружения следует провести три серии испытаний на ползучесть при трех средних
нормальных напряжениях. В зависимости от условий работы сооружения
рекомендуется определять порог прочности при среднем нормальном напряжении,
равном давлению уплотнения Рг, или при средних нормальных напряжениях, меньших давления
уплотнения.
4.5. Рекомендуется
оценивать падение прочности в условиях ползучести по отношению к
условно-мгновенной прочности
и по отношению к стандартной
прочности, определяемой при медленном приложении нагрузки
.
Определение прочности грунтов в условиях ползучести при трехосном сжатии
4.6. Для определения прочности грунтов в условиях ползучести следует уплотнить каждый образец серии под заданным гидростатическим давлением, определить их плотность и вновь установить в камеру трехосного прибора. Восстановить в камере заданное гидростатическое давление.
4.7. Для определения
влияния на прочность грунтов фактора времени (ползучести) рекомендуется для
каждой серии образцов в первую очередь провести опыт при быстром приложении
нагрузки и установить значение условно-мгновенной прочности
.
Ориентируясь на
полученное значение
, проводят 6-7 опытов на ползучесть при касательных
напряжениях (интенсивности касательных напряжений si), меньших
. Рекомендуется
сначала прикладывать касательные напряжения at, составляющие 60 и 90% от
, и затем в зависимости от характера кривых ползучести
задаваться промежуточными значениями si, при которых наиболее вероятна незатухающая
ползучесть.
Осевая нагрузка N на рычаг, соответствующая одному из
заданных значений касательного напряжения, должна прикладываться плавно.
Нагрузка N вычисляется на основании заданных значений
по уравнению
(27)
где
- поправочный
коэффициент на площадь штока;
- соответствующее заданной интенсивности
касательного напряжения; вычисляется по формуле (3) из соотношения
(28)
где 0,578 - постоянная величина.
4.8. Постоянство среднего нормального напряжения обеспечивается с помощью приема, рекомендуемого в п. 3.8, или посредством применения воздушного ресивера.
Для обеспечения постоянства осевой нагрузки можно использовать специальную конструкцию рычага или вводить условную поправку к осевой нагрузке, учитывающую изменение площади поперечного течения образца F в процессе испытания (см. прил. 7). Осевая нагрузка N в процессе опыта должна увеличиваться пропорционально изменению площади образца при каждом увеличении площади поперечного сечения на 1%.
4.9. Деформация образца во времени фиксируется самописцем или записывается по мессуре в журнале по форме 5 в течение первого часа через 1, 2, 3, 4, 5, 10, 15, 30, 45, 60 мин, далее через 30 мин в течение дня и затем 2 раза в сутки.
Форма 5
Журнал определения прочности грунта в условиях ползучести при трехосном сжатии
|
Система прибора |
|
Диаметр образца d, см |
|
Лабораторный номер образца |
|
Высота образца h, см |
|
Номенклатурный вид грунта |
|
Площадь образца F, см2 |
|
Сложение грунта |
|
Объем образца V, см3 |
|
Условия испытания |
|
Масса образца, г |
|
Гидростатическое давление Рг = sэ |
|
Плотность грунта g, г/см3 |
|
|
|
Влажность грунта W, доли единицы |
|
Дата испытания |
Суточное время |
Время от начала опыта |
Заданная интенсивность касательных напряжений si |
Нагрузка на
рычаг |
|
|
% |
МПа |
||||
|
1 |
2 |
3 |
4 |
5 |
6 |
|
|
|
|
|
|
|
Продолжение
|
Давление на
образец от рычага |
Полное напряжение на образец s1, МПа |
Девиатор напряжения s1 - s3, МПа |
Деформация образца Dh, мм |
Относительная
деформация |
|
Интенсивность
деформаций |
|
7 |
8 |
9 |
10 |
11 |
12 |
13 |
|
|
|
|
|
|
|
|
4.10.
Образец грунта при испытании на ползучесть нужно выдержать под нагрузкой до разрушения
(прогрессирующее течение
на рис. 20) или затухания
деформаций (
, рис. 20).
4.11. Обработку результатов опытов на ползучесть проводят в соответствии с п. 4.2.
По журналу 5 строят семейство кривых ползучести в координатах «интенсивность деформации ei - время t» (см. рис. 20).
При построении кривых ползучести для грунтов малой степени литификации рекомендуется время на координатных осях откладывать в часах и сутках, как показано на рис. 22.

Рис. 22. Кривые ползучести в условиях кручения
для уплотненного ила под гидростатическим давлением Рг =
sср
= 0,025 МПа
1 - при si = 0,013 МПа; 2 - при si
= 0,015 МПа; 3 - при si
= 0,016 МПа; 4 – при si
= 0,017 МПа; 5 - при si
= 0,018 МПа; 6 - при si
= 0,020 МПа
По участку
установившейся ползучести БВ (см.
рис. 20)
определяют для каждой кривой при заданной интенсивности касательных напряжений
интенсивность скорости деформации соответственно
и т.д. По полученным
значениям интенсивности скорости деформации
в координатных осях
строят реологическую
кривую и определяют на оси
порог прочности.
Определение прочности грунтов в условиях ползучести кручением под гидростатическим давлением
4.12. Для определения прочности грунтов в условиях ползучести методом кручения готовят образец в форме трубы, уплотняют его заданным гидростатическим давлением, определяют плотность и устанавливают в прибор для кручения.
Первый образец испытывают при быстром загружении, испытание ведут в соответствии с пп. 3.20-3.23 и определяют условно-мгновенную прочность при кручении tмг по точке перегиба А кривой зависимости угла закручивания q от крутящего момента Мкр (см. рис. 17).
Испытывают 6-7 образцов в условиях ползучести кручением при касательных напряжениях, меньших, чем tмг.
Значения касательных напряжений для испытания грунта в условиях ползучести рекомендуется устанавливать в таких же интервалах, как и при испытании в условиях трехосного сжатия.
При кручении консолидированных полых образцов гидростатическим давлением Рг, равным среднему нормальному напряжению sср, не возникает дополнительного порового давления в течение всего опыта на ползучесть, т.е. испытание происходит при однородном напряженно-деформированном состоянии. Плотность образца не меняется.
4.13. Для определения прочности в условиях ползучести на подвеску прибора на кручение (см. рис. 9) плавно кладут груз N, соответствующий заданному касательному напряжению t. Величина груза определяется из выражения
![]()
где R - плечо рычага (радиус шкива).
Крутящий момент Мкр, соответствующий заданному касательному напряжению, вычисляется в соответствии с формулой (7) по выражению
![]()
4.14. Деформация образца во времени фиксируется самописцем или записывается по лимбу и измерительной шкале в журнал по форме 6 через те же интервалы времени, что и при осевом сжатии (см. п. 4.9).
4.15. Образец грунта выдерживается под нагрузкой до разрушения или затухания деформаций.
4.16. Обработку результатов опытов на ползучесть при кручении проводят, в соответствии с п. 4.2.
По формуле (8) и углу закручивания q вычисляют относительную деформацию образца. Результаты вычисления записывают в графу 8 журнала (см. форму 6) и строят кривые ползучести в координатах «относительная деформация (интенсивность деформации) - касательные напряжения» (см. рис. 22).
Форма 6
Журнал определения прочности грунта кручением под гидростатическим давлением в условиях ползучести
|
Лабораторный номер грунта |
|
Высота образца h, см |
|
Номенклатурный вид грунта |
|
Площадь образца F, см2 |
|
Сложение |
|
Объем образца V, см3 |
|
Условия испытания |
|
Масса образца, г |
|
Гидростатическое давление Рг = s3 |
|
Плотность грунта g, г/см3 |
|
Диаметр образца d, см |
|
Влажность грунта W, доли единицы |
|
Дата испытания |
Суточное время |
Время от начала опыта |
Нагрузка на подвеску N, Н |
Крутящий момент Мкр, Н×см |
Угол поворота q, град |
Деформация образца l, мм |
Относительная деформация l’ |
Интенсивность деформаций ei |
|
1 |
2 |
3 |
4 |
5 |
6 |
7 |
8 |
9 |
|
|
|
|
|
|
|
|
|
|
Для участков установившейся ползучести, кривых определяют скорость деформации, затем строят реологическую кривую, как показано на рис. 21, и определяют порог прочности tпр.
Определение порога прочности грунтов при трехосном сжатии и кручении под гидростатическим давлением по одному образцу
4.17. Порог прочности неоднородных грунтов допускается определять путем ступенчатого загружения одного образца. При этих испытаниях требуется особенно строго соблюдать стабилизированное состояние грунта в течение всего опыта.
4.18. Образец грунта, подготовленный в соответствии с п. 2.3 или 2.5, уплотненный гидростатическим давлением Рг, равным среднему нормальному напряжению scp, взвешивают, определяют плотность и устанавливают в трехосный прибор или в прибор для кручения. Прикладывают касательное напряжение, составляющее 60% от условно-мгновенной прочности. Образец выдерживают под нагрузкой до условной стабилизации деформации. За условную стабилизацию деформации принимают 0,01 мм за 12 ч.
После стабилизации
деформации увеличивают касательное напряжение ступенями, равными 10%
. Каждую ступень выдерживают до принятой условной стабилизации
деформации.
Опыт продолжают до разрушения грунта. За порог прочности принимают касательное напряжение, соответствующее точке А (рис. 23).

Рис. 23. Зависимость интенсивности деформации ила от времени при ступенчатом загружении в условиях ползучести
Определение прочности грунтов при трехосном сжатии по кинематической схеме (при различных скоростях деформации)
4.19. Разрушение серии образцов по кинематической схеме позволяет установить влияние фактора времени на прочность и определить порог прочности ускоренным методом.
4.20. Для определения порога, прочности ускоренным методом подготавливают 6-7 цилиндрических образцов одного инженерно-геологического элемента. Каждый образец устанавливают в камеру трехосного прибора, уплотняют под заданным гидростатическим давлением. Затем образец вынимают из камеры, определяют плотность и вновь помещают в камеру трехосного прибора, позволяющего проводить испытания при разных скоростях деформирования (см. п. 2.10).
4.21. Каждый образец серии разрушают под гидростатическим давлением, равным давлению уплотнения, осевой нагрузкой при постоянной скорости деформирования. Каждую серию образцов рекомендуется испытывать при скоростях деформирования в интервале от 4 до 0,1 мм/мин. Ориентировочно рекомендуется принимать скорости деформирования 4; 2; 1; 0,5; 0,25; 0,1 мм/мин.
Деформацию грунта по мессуре рекомендуется записывать в следующие интервалы времени, зависящие от скорости деформации:
при скорости деформации от 4 до 1 мм/мин ..... через 15 с
то же, от 0,5 до 0,25 мм/мин................................ » 1 мин
» 0,1 мм/мин............................................. » 1-5 »
» <0,1 »................................................. » 5-30 »
Опыт следует продолжать до непрерывного пластического течения грунта без приращения нагрузки.
4.22. Обработка результатов опытов для определения порога прочности должна проводиться в следующей последовательности.
Для каждого испытания напряжение по динамометру и деформацию по мессурам записывают в журнал по форме 3. Вычисляют относительную деформацию образца. Строят график зависимости относительной деформации от девиатора напряжений (см. рис. 14).
При расчете осевого напряжения s1 следует вносить поправку на изменение площади поперечного сечения образца в процессе деформирования. Площадь образца в зависимости от относительной деформации (для образца с начальной площадью 11,33 см2) можно приближенно установить по прил. 7. Девиатор напряжений на пределе разрушения устанавливают по точке перегиба А на кривой (см. рис. 14).
По формуле (3) вычисляют интенсивность касательных
напряжений на пределе разрушения
или касательное
напряжение из соотношения
и интенсивность скорости
деформирования или градиент скорости деформирования (отношение скорости
деформирования к высоте образца). Строят зависимость
(реологическая
кривая) для испытанной серии образцов. Характерные типы реологических
зависимостей для грунтов малой степени литификации приведены на рис. 24.
4.23. Для определения параметров прочности в условиях ползучести в соответствии с п. 4.4 следует провести три серии испытаний при трех средних нормальных напряжениях, которые могут быть равны значению уплотняющего гидростатического давления или меньше этого значения.

Рис. 24. Зависимость интенсивности касательных напряжений
на
пределе разрушения от интенсивности скорости деформирования ![]()
1 - для текучепластичной глины при JL = 0,84; Рг = scp = 0,075 МПа; 2 -
для илов при JL
= 1,4; 3 - то же, при JL
= l,18; Рг
= scp = 0,025 МПа
Обработка результатов опытов определения прочности с учетом ползучести
4.24. Результаты определения прочности грунтов с учетом явлений ползучести представляются в виде графиков ползучести (см. рис. 20, 22) и реологических кривых (см. рис. 21, 23), которые используются для определения порога прочности.
Средние физические
характеристики исследованного инженерно-геологического элемента грунтов,
условия испытания и величины порога прочности в зависимости от среднего
нормального напряжения заносят в таблицу, аналогичную форме 3. Для
определенного состояния плотности (влажности) грунта рекомендуется показывать
падение прочности при испытаниях в условиях ползучести
по сравнению с
и
.
4.25. Результаты определения прочности грунтов малой степени литификации обязательно должны сопровождаться указанием метода испытания, ориентации образца к дневной поверхности земли и направления испытания прочности по отношению к оси образца.
4.26. Для
определения нормативных значений параметров прочности в условиях ползучести
обработку результатов опытов следует проводить вычислением по методу наименьших
квадратов прямолинейной зависимости вида (26)
для всей совокупности опытных величин
в
инженерно-геологическом элементе в соответствии с п. 3.2 ГОСТ
20522-75.
4.27. Расчетные значения параметров прочности в условиях ползучести определяют в соответствии с п. 3.5 ГОСТ 20522-75.
4.28. Выбор расчетных значений характеристик прочности и типа фундамента на грунтах малой степени литификации следует производить на основе общего анализа результатов комплексных исследований, учета инженерно-геологической обстановки, тиксотропии грунта и порядка производства работ.
4.29. При выборе
метода испытания прочности в условиях ползучести
следует иметь в виду,
что способ принудительного (регулируемого) нагружения и определения
на основании серии
опытов, проведенных под постоянными нагрузками, в большей степени соответствуют
напряженному состоянию грунта в натурных условиях, чем испытания с регулируемой
деформацией. Однако длительность исследований в первом случае может ограничить
применение методики в производственных лабораториях. Сопоставительные
исследования результатов прочности, полученных обоими методами, показали
допустимость применения ускоренного метода путем деформирования. Отклонения в
значениях
полученных по методу
деформирования, всегда идут в запас прочности. Ускоренный метод позволяет в 10
раз сократить время проведения опытов.
Определение порога прочности по испытанию одного образца требует длительного выдерживания грунта под нагрузкой и строгого сохранения стабилизированного состояния грунта в течение опыта. Метод целесообразно применять при исследовании неоднородных образцов и при ограниченном количестве грунта,
Давление, эквивалентное природному давлению на образец грунта, рекомендуется определять по кривой сжимаемости (компрессионной кривой), построенной по данным испытания грунта ненарушенного сложения в подводном состоянии в одометре при осевом фильтрационном потоке без возможности набухания (под арретиром).

Рис. 25. Кривая сжимаемости ила, полученная по данным испытания в компрессионном приборе
Давление на образец передают ступенями, равными 0,001 МПа, до начала деформации грунта. Начало деформации грунта фиксируется по отклонению стрелки мессуры на величину, превышающую тарировочную поправку прибора. После определения давления Рстр, от которого начинается деформация грунта, груз снимают и прикладывают первую ступень нагрузки в 2 раза больше Рстр, выдерживая ее до стабилизации деформации. Опыт на компрессию продолжают по обычной методике.
Для исследуемого образца грунта вычисляют начальный коэффициент пористости и степень насыщения. Если степень насыщения грунта меньше 1, то определяют величину набухания образца грунта при подъеме его на поверхность по формуле В.Г. Булычева:
![]()
где h - высота образца, мм;
е0 - начальный коэффициент пористости;
G - степень влажности.
Затем вычисляют относительную деформацию набухания и строят кривую зависимости относительной деформации от давления (рис. 25). На кривой отмечают точку Dhн и соединяют ее пунктиром с осью давления. Получают давление Рэ, эквивалентное природному. Если степень насыщения равна единице, то за эквивалентное давление принимают давление, соответствующее, горизонтальному участку аб на компрессионной кривой.
Для обеспечения, однородности образцов нарушенной структуры при испытании на прочность с учетом явлений ползучести рекомендуется готовить образцы всей серии в одном лотке.
При подготовке образцов диаметром 38 мм удобно применять разъемные лотки из плексигласа размером 15´15´15 см с дренажной трубкой в нижней части боковой стенки.

Рис. 26. Схема расположения в грунте песчаных дрен
1 - образец; 2 - дрена
В лоток на слой песка помещается грунт природной влажности (текучей, текучепластичной консистенции) слоями по 5 см. Для устранения пузырьков воздуха рекомендуется постукивать по стенкам лотка пестиком с резиновым наконечником. Грунт уплотняют заданной нагрузкой до условной стабилизации деформаций. За стабилизацию принимают деформацию £ 0,01 мм за 12 ч. Для обеспечения одинаковых условий дренирования при консолидации всех образцов рекомендуются песчаные дрены, расположенные для образцов диаметром 38 мм через 5 см. План расположения дрен и места вырезаемых между ними образцов показаны на рис. 26.
После укладки грунта в лоток на его поверхность кладут металлический штамп и груз из расчета 0,001 МПа. Нагрузку выдерживают в течение нескольких дней, затем груз и штамп снимают и выбуривают в грунте тонкостенной латунной трубкой дренажные отверстия диаметром 6 мм до нижнего слоя песка. В отверстия засыпают крупнозернистый песок, на поверхность образца также насыпают крупнозернистый песок слоем 10-15 мм. На песок помещают штамп. Лоток ставят под пресс, постепенно увеличивая нагрузку до заданной величины. По индикатору (мессуре) ведут наблюдения за деформациями. Образец выдерживают под нагрузкой до стабилизации деформаций.
Образцы из грунта могут быть выбурены фрезой на приборе (см. прил. 3) или тонкостенным стаканом. В последнем случае необходимо предварительно снять одну из стенок лотка.
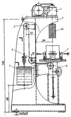
Прибор (рис. 27) предназначен для подготовки из монолитов образцов в виде сплошного или полого цилиндра в лабораториях, исследующих грунты в строительных целях. Прибор имеет следующие параметры: высота станины 1660 мм, длина 830 мм, ширина 840 мм, масса 302 кг. Диаметр заменяемой многозубой полой фрезы для выбуривания сплошного цилиндра 100 мм (92; 38 мм), высота 200 мм (180; 76 мм). Диаметр заменяемого двухперового сверла с однозаходным отводящим стружку шнеком для подготовки полого цилиндра 51 мм (29; 20 мм), высота 200 мм (76 мм).
Мощность электродвигателя типа АОЛ 22-4 для вращения режущих инструментов 0,4 кВт, скорость вращения 1500 об/мин, скорость вращения шпинделя 30 об/мин. Ход стола подачи монолита 300 мм. Максимально допустимые размеры обрабатываемого монолита 200´200´200 мм.

Рис. 27. Прибор для подготовки образцов из глинистых грунтов и
торфа для испытания в стабилометре и кручением
1 - электродвигатель; 2 - станина; 3 - двухперовое сверло для выбуривания
центральной части образца; 4 - многозубая полая фреза; 5 - тиски для
закрепления монолитов; 6 - механизм подъема стола; 7 - платформа для
уравновешивающих стол грузов; 8, 9 - системы блоков
Прибор состоит из станины, электродвигателя, механизма подъема стола, системы блоков и платформы для уравновешивающих стол грузов, тисков для закрепления монолитов, сменных режущих инструментов - двухперового сверла для выбуривания центральной части образцов и многозубой полой фрезы для обуривания образца грунта. Многозубая полая фреза снабжена системой спиральных канавок по высоте, внутренний диаметр фрезы по зубьям меньше диаметра ее полой части.
Прибор исключает нарушение структуры грунта при вырезывании и ускоряет процесс их подготовки к исследованию в 5-10 раз по сравнению с ручным вырезыванием образцов.
Прибор разработан НИИОСП совместно с ЭКБ ЦНИИСК, изготовлен на экспериментальном заводе ЦНИИСК Госстроя СССР и успешно применяется в лабораториях. Чертежи прибора могут быть получены в НИИОСП по адресу: Москва, Ж-389, 2-я Институтская ул., д. 6.
Пресс (рис. 28) рекомендуется для передачи осевой нагрузки на образец грунта, испытываемый в камере трехосного прибора. Пресс имеет четыре рабочих места, т.е. одновременно возможно вести испытания в четырех камерах трехосных приборов.
Давление на шток трехосного прибора передается через плунжер посредством двойных рычагов. Общее отношение плеч рычагов равно 1:20.

Рис. 28. Рычажный пресс системы В.М. Веселовского
1 - рычаг верхний; 2 - стойка столика; 3 - плунжер; 4 - верхняя стяжка; 5 -
крышка столика; 6 - стойка рычагов; 7 - рычаг нижний; 8 - подвеска; 9 - нижняя
стяжка; 10 - балка
Для тарировки пресса производят следующие операции. Между верхним и нижним штампами устанавливают металлическую болванку, имеющую диаметр и высоту, равные диаметру и высоте образца. В камеру вводят шток до упора с верхним штампом, затем камеру устанавливают под прессом. Между штоком камеры и плунжером пресса помещают образцовый динамометр, снабженный индикатором.
С помощью плунжера выбирают зазор между динамометром и плунжером, и индикатор динамометра приводят к нулевому отсчету. На подвеску рычажного пресса кладут груз ступенями по 1 Н до 10 Н, а затем по 10 Н до 100 Н; далее величину ступени увеличивают до 50 Н. На каждой ступени нагрузки фиксируют усилие N', передаваемое рычажным прессом на динамометр.
По полученным данным строят график зависимости между усилием N', передаваемым на шток рычажным прессом, и нагрузкой на рычаг Q (рис. 29). По графику определяют коэффициент трения рычажного пресса.
Рис. 29. График тарировки рычажного пресса
При тарировке прибора следует определить трение подшипников и штока при кручении, а также сопротивление резиновых оболочек. Для этого резиновые оболочки (внутренняя и внешняя) закрепляют на верхнем и нижнем штампах и соединяют с головкой и насадкой. Насадку закрепляют на основании прибора, а головку соединяют со штоком. Камеру заполняют жидкостью, на которую передается гидростатическое давление.
Ступенями по 2 г прикладывают нагрузку и фиксируют движение указателя по лимбу. Затем определяют крутящий момент, необходимый для преодоления сопротивления резиновых оболочек и трения частей прибора, и вычисляют значение сопротивления резиновых оболочек.

Рис. 30. График тарировки прибора на кручение
1 - в глицерине; 2 - в воде
На рис. 30 показана зависимость полученного сопротивления от гидростатического давления при толщине резиновых оболочек 0,15-0,2 мм. Тарировка проведена в воде и глицерине.
|
Относительная деформация
|
Площадь образца F, см2 |
Относительная деформация
|
Площадь образца F, см2 |
Относительная деформация
|
Площадь образца F, см2 |
Относительная деформация
|
Площадь образца F, см2 |
|
0 |
11,33 |
3,2 |
11,7 |
6,8 |
12,16 |
10,4 |
12,65 |
|
0,2 |
11 ,35 |
3,4 |
11,73 |
7 |
12, 18 |
10,6 |
12,67 |
|
0,4 |
11,37 |
3,6 |
11,75 |
7,2 |
12,21 |
10,8 |
12,7 |
|
0,6 |
11,39 |
3,8 |
11,78 |
7,4 |
12,23 |
11 |
12,73 |
|
0,8 |
11,42 |
4 |
11,8 |
7,6 |
12,26 |
11,2 |
12,76 |
|
|
|
4,2 |
11,83 |
7,8 |
12,29 |
11,4 |
12,79 |
|
1 |
11,44 |
4,4 |
11,85 |
8 |
12,31 |
11,6 |
12,82 |
|
1,2 |
11,47 |
4,6 |
11,88 |
8,2 |
12,34 |
11,8 |
12,84 |
|
1,4 |
11,49 |
4,8 |
11,9 |
8,4 |
12,37 |
12 |
12,87 |
|
1,6 |
1151 |
5 |
11,93 |
8,6 |
12,4 |
12,2 |
12,9 |
|
1,8 |
11,54 |
5,2 |
11,95 |
8,8 |
12,42 |
12,4 |
12,93 |
|
|
|
5,4 |
11,98 |
9 |
12,45 |
12,6 |
12,96 |
|
2 |
11,56 |
5,6 |
12 |
9,2 |
12,48 |
12,8 |
12,99 |
|
2,2 |
11,58 |
5,8 |
12,03 |
9,4 |
12,50 |
13 |
13,02 |
|
2,4 |
11,61 |
6 |
12,05 |
9,6 |
12,53 |
13,2 |
13,05 |
|
2,6 |
11,63 |
6,2 |
12,08 |
9,8 |
12,56 |
13,4 |
13,08 |
|
2,8 |
11,66 |
6,4 |
12, 1 |
10 |
12,59 |
13,6 |
13,11 |
|
3 |
11,68 |
6,6 |
12, 13 |
10,2 |
12,63 |
13,8 |
13, 14 |
Примечание. Таблица составлена на основе формулы (16). Условно принято, что поперечное расширение происходит равномерно по всей высоте образца.
|
Термины |
Условные обозначения |
Единицы измерения |
Сокращенное обозначение |
|
Влажность природная |
W |
доли единицы |
- |
|
Влажность на границе текучести |
Wl |
то же |
- |
|
То же раскатывания |
WP |
» |
- |
|
Всестороннее гидростатическое давление |
Рг |
мегапаскаль |
МПа |
|
Главные напряжения |
s1, s2 = s3 |
мегапаскаль |
МПа |
|
Девиатор напряжения |
s1 - s3 |
» |
МПа |
|
Интенсивность касательных напряжений |
si |
» |
МПа |
|
Интенсивность деформации |
ei |
доли единицы |
|
|
Интенсивность скорости деформации |
|
единица на минуту |
1/мин |
|
Избыточное давление в поровой воде |
и |
мегапаскаль |
МПа |
|
Касательное напряжение на площадке скольжения |
t |
» |
МПа |
|
Момент силы |
Мкр |
ньютон-сантиметр |
Н×см |
|
Нормальное напряжение на площадке скольжения |
s |
мегапаскаль |
МПа |
|
Объемная деформация |
DV |
кубический сантиметр |
см3 |
|
Плотность |
g |
грамм на кубический сантиметр |
г/см3 |
|
Относительная деформация при сжатии |
ez |
доли единицы |
- |
|
Осевая нагрузка |
N |
ньютон |
Н |
|
Относительная деформация при кручении |
l' |
доли единицы |
- |
|
Относительная объемная деформация |
|
то же |
- |
|
Пластическая вязкость |
h |
мегапаскаль-секунда |
МПа.с |
|
Плотность твердых частиц |
gs |
грамм на кубический сантиметр |
г/см3 |
|
Показатель консистенции |
|
доли единицы |
- |
|
Ползучесть |
ei |
то же |
- |
|
Предельное напряжение сдвига |
|
мегапаскаль |
МПа |
|
Прочность |
|
» |
» |
|
Среднее нормальное напряжение |
scp |
» |
МПа |
|
Степень влажности (доли заполнения объема пор грунта водой) |
G |
доли единицы |
- |
|
Степень заторфованности |
q |
то же |
- |
|
Структурная связность |
1 - b |
» |
- |
|
Сцепление |
с |
мегапаскаль |
МПа |
|
Суммарное вертикальное напряжение |
sz |
» |
» |
|
Угол внутреннего трения |
j; y |
градус |
- |
|
Угол закручивания |
q |
» |
- |
|
Число пластичности |
JP |
доли единицы |
- |
|
Величина |
Единица |
Соотношение единиц |
||
|
метрическая система |
СИ |
|||
|
наименование |
обозначение |
|||
|
Сила, нагрузка, вес |
кгс |
ньютон |
Н |
1 кгс = 9,8 Н = 10 Н |
|
Поверхностная нагрузка |
кгс/см2 |
ньютон на квадратный метр |
Н/м2 |
1 кгс/2 = 10 Н/м2 |
|
Давление |
кгс/см2 |
паскаль |
Па |
1 кгс/см2 = 9,8×104 Па » 0,1 МПа |
|
Механическое напряжение |
кгс/см2 |
паскаль |
Па |
1 кгс/см2 = 9,8×104 Па » 0,1 МПа |
|
Момент силы |
кгс×м |
ньютон-метр |
Нм |
1 кгс×м = 9,8 Н×м » 10 Н×м |
|
Вязкость |
кгс×с/см2 |
паскаль-секунда |
Па-с |
1 кгс×с/см2 » 106 Па×с » 0,1 МПа×с |