ФЕДЕРАЛЬНОЕ АГЕНТСТВО
ПО ТЕХНИЧЕСКОМУ РЕГУЛИРОВАНИЮ И МЕТРОЛОГИИ

НАЦИОНАЛЬНЫЙ
СТАНДАРТ
РОССИЙСКОЙ
ФЕДЕРАЦИИ

ГОСТ Р
53277-
2009

Техника пожарная

ОБОРУДОВАНИЕ ПО ОБСЛУЖИВАНИЮ ПОЖАРНЫХ РУКАВОВ

Общие технические требования.
Методы испытаний

Москва
Стандартинформ
2009

Предисловие

Цели и принципы стандартизации в Российской Федерации установлены Федеральным законом от 27 декабря 2002 г. № 184-ФЗ «О техническом регулировании», а правила применения национальных стандартов Российской Федерации - ГОСТ Р 1.0-2004 «Стандартизация в Российской Федерации. Основные положения»

Сведения о стандарте

1 РАЗРАБОТАН ФГУ ВНИИПО МЧС России

2 ВНЕСЕН Техническим комитетом по стандартизации ТК 274 «Пожарная безопасность»

3 УТВЕРЖДЕН И ВВЕДЕН В ДЕЙСТВИЕ Приказом Федерального агентства по техническому регулированию и метрологии от 18 февраля 2009 г. № 49-ст

4 ВВЕДЕН ВПЕРВЫЕ

Информация об изменениях к настоящему стандарту публикуется в ежегодно издаваемом информационном указателе «Национальные стандарты», а текст изменений и поправок - в ежемесячно издаваемых информационных указателях «Национальные стандарты». В случае пересмотра (замены) или отмены настоящего стандарта соответствующее уведомление будет опубликовано в ежемесячно издаваемом информационном указателе «Национальные стандарты». Соответствующая информация, уведомление и тексты размещаются также в информационной системе общего пользования - на официальном сайте Федерального агентства по техническому регулированию и метрологии в сети Интернет

Содержание

1 Область применения

2 Нормативные ссылки

3 Термины и определения

4 Классификация оборудования

5 Общие технические требования

6 Требования безопасности

7 Правила приемки

8 Методы испытаний

Приложение А (обязательное) Общие требования к содержанию эксплуатационной документации в части обеспечения безопасности

НАЦИОНАЛЬНЫЙ СТАНДАРТ РОССИЙСКОЙ ФЕДЕРАЦИИ

Техника пожарная

ОБОРУДОВАНИЕ ПО ОБСЛУЖИВАНИЮ ПОЖАРНЫХ РУКАВОВ

Общие технические требования.
Методы испытаний

Fire equipment. Equipment for maintenance of fire hoses.
General technical requirements. Methods of testing

Дата введения - 2010-01-01
с правом досрочного применения

1 Область применения

Настоящий стандарт распространяется на оборудование, предназначенное для технического обслуживания напорных, всасывающих и напорно-всасывающих пожарных рукавов.

2 Нормативные ссылки

В настоящем стандарте использованы нормативные ссылки на следующие стандарты:

ГОСТ Р 1.0-2004 Стандартизация в Российской Федерации. Основные положения

ГОСТ Р 15.201-2000 Система разработки и постановки продукции на производство. Продукция производственно-технического назначения. Порядок разработки и постановки продукции на производство

ГОСТ Р 52720-2007 Арматура трубопроводная. Термины и определения

ГОСТ 2.601-2006 Единая система конструкторской документации. Эксплуатационные документы

ГОСТ 12.1.003-83 Система стандартов безопасности труда. Шум. Общие требования безопасности

ГОСТ 12.2.003-91 Система стандартов безопасности труда. Оборудование производственное. Общие требования безопасности

ГОСТ 12.2.007.0-75 Система стандартов безопасности труда. Изделия электротехнические. Общие требования безопасности

ГОСТ 12.2.047-86 Система стандартов безопасности труда. Пожарная техника. Термины и определения

ГОСТ Р 15.309-98 Система разработки и постановки продукции на производство. Испытания и приемка выпускаемой продукции. Основные положения

ГОСТ 27.002-89 Надежность в технике. Основные понятия. Термины и определения

ГОСТ 166-89 (ИСО 3599-76) Штангенциркули. Технические условия

ГОСТ 356-80 Арматура трубопроводная. Давления условные, пробные и рабочие. Ряды

ГОСТ 15150-69* Машины, приборы и другие технические изделия. Исполнения для различных климатических районов. Категории, условия эксплуатации, хранения и транспортирования в части воздействия климатических факторов внешней среды

ГОСТ 28338-89 Соединения трубопроводов и арматура. Проходы условные (размеры номинальные). Ряды

ГОСТ 29329-92 Весы для статического взвешивания. Общие технические требования

Примечание - При пользовании настоящим стандартом целесообразно проверить действие ссылочных стандартов в информационной системе общего пользования - на официальном сайте Федерального агентства по техническому регулированию и метрологии в сети Интернет или по ежегодно издаваемому информационному указателю «Национальные стандарты», который опубликован по состоянию на 1 января текущего года, и по соответствующим ежемесячно издаваемым информационным указателям, опубликованным в текущем году. Если ссылочный стандарт заменен (изменен), то при пользовании настоящим стандартом следует руководствоваться заменяющим (измененным) стандартом. Если ссылочный стандарт отменен без замены, то положение, в котором дана ссылка на него, применяется в части, не затрагивающей эту ссылку.

3 Термины и определения

В настоящем стандарте использованы следующие термины с соответствующими определениями и обозначениями:

3.1 пожарное оборудование: Оборудование, входящее в состав коммуникаций пожаротушения, а также средства технического обслуживания этого оборудования.

3.2 пожарный рукав: Гибкий трубопровод для транспортирования огнетушащих веществ и оборудованный при эксплуатации в боевом расчете пожарной машины, а также в составе пожарного крана рукавными пожарными соединительными головками.

3.3 напорный пожарный рукав: Пожарный рукав, предназначенный для транспортирования огнетушащих веществ под избыточным давлением.

3.4 всасывающий пожарный рукав: Пожарный рукав жесткой конструкции, предназначенный для забора воды из водоисточника с помощью пожарного насоса и транспортирования ее для пожаротушения.

3.5 напорно-всасывающий пожарный рукав: Пожарный рукав жесткой конструкции, предназначенный для забора воды из водоисточника с помощью пожарного насоса или из системы противопожарного водоснабжения и транспортирования ее для пожаротушения.

3.6 рукавная пожарная соединительная головка: Пожарная соединительная головка с ниппелем для крепления пожарного рукава.

3.7 условный проход (номинальный диаметр); DN: Параметр, применяемый для трубопроводных систем в качестве характеристики присоединяемых частей, соединений трубопроводов, фитингов и арматуры. Условный проход не имеет единицы измерения и приблизительно равен внутреннему диаметру присоединяемого трубопровода, выраженному в миллиметрах.

3.8 рабочее давление (номинальное давление); PN: Наибольшее избыточное рабочее давление, при котором обеспечивается заданный срок службы (ресурс) корпусных деталей арматуры, имеющих определенные размеры, обоснованные расчетом на прочность при выбранных материалах и характеристиках прочности их при температуре рабочей среды 293 К (20 °С).

3.9 работоспособное состояние (работоспособность): Состояние пожарного оборудования, при котором значения всех параметров, характеризующих способность выполнять заданные функции, соответствуют требованиям нормативно-технической и (или) конструкторской документации (КД).

4 Классификация оборудования

4.1 Оборудование подразделяется по функциональному назначению и включает в себя установки, машины, агрегаты, обеспечивающие выполнение:

- мойки и чистки пожарных рукавов;

- испытания пожарных рукавов на герметичность избыточным гидравлическим давлением;

- испытания всасывающих и напорно-всасывающих пожарных рукавов вакуумметрическим давлением;

- сушки пожарных рукавов;

- талькирования пожарных рукавов;

- скатки напорных пожарных рукавов;

- перекатки напорных пожарных рукавов на новое ребро;

- крепления пожарных рукавов с рукавными пожарными соединительными головками.

4.2 Оборудование может быть предназначено для выполнения как одного вида работ, так и быть универсальным, обеспечивающим выполнение нескольких видов работ, указанных в 4.1.

5 Общие технические требования

5.1 Оборудование должно быть оснащено электроприводом.

Допускается оборудование для испытания пожарных рукавов на герметичность избыточным гидравлическим давлением, для скатки и перекатки (на новое ребро) напорных пожарных рукавов и для крепления пожарных рукавов с рукавными пожарными соединительными головками изготовлять без электропривода.

5.2 Основные показатели оборудования по обслуживанию пожарных рукавов должны соответствовать значениям, приведенным в таблице 1.

Таблица 1

Наименование показателя

Норма

Условный проход пожарного рукава или условные проходы пожарных рукавов, обслуживаемых на оборудовании

25, 40, 50, 65, 80, 100, 125, 150

Длина обслуживаемых одного и более напорных пожарных рукавов, м, не менее

20

Длина всасывающего или напорно-всасывающего пожарного рукава, м, не менее

4

Работоспособность оборудования в диапазоне температур окружающей среды

От 5 °С до 45 °С

Усилия на органах управления на всех режимах работы, Н, не более

150

Назначенный срок службы оборудования, лет, не менее

10

5.3 Контрольно-измерительные приборы и устройства управления, функциональное назначение которых требует пояснения, должны иметь маркировку с соответствующими надписями или (и) обозначениями рабочих (регулирующих) положений.

5.4 Время мойки и чистки пожарных рукавов устанавливают в КД изготовителя. Время мойки и чистки напорного пожарного рукава с условным проходом 50 и длиной 20 м не должно быть более 4 мин.

5.5 Основные показатели оборудования для испытаний пожарных рукавов на герметичность при избыточном гидравлическом давлении должны соответствовать значениям, приведенным в таблице 2.

Таблица 2

Наименование показателя

Норма

Рабочее гидравлическое давление оборудования, МПа, не менее

2,0

Скорость повышения давления в образце пожарного рукава, МПа/с, не более

0,3

5.6 Основные показатели оборудования для испытаний всасывающих и напорно-всасывающих пожарных рукавов на герметичность вакуумметрическим рабочим давлением должны соответствовать значениям, приведенным в таблице 3.

Таблица 3

Наименование показателя

Норма

Вакуумметрическое рабочее давление, МПа, не более

0,08

Производительность, дм3/с, не менее

0,40

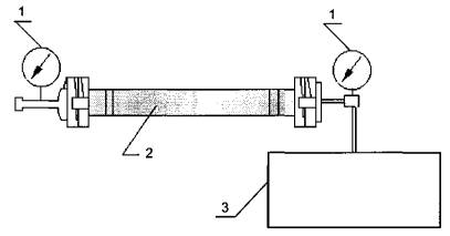
Принципиальная схема оборудования должна соответствовать схеме, приведенной на рисунке 1. Для измерения вакуум метрического рабочего давления допускается использовать вакуумметр.

5.7 Основные показатели оборудования для сушки пожарных рукавов должны соответствовать значениям, приведенным в таблице 4.

Таблица 4

Наименование показателя

Норма

Температура сушки, °С

50 ± 5

Стабильность поддержания температуры сушки в течение, ч, не менее

1,0

1 - мановакуумметр; 2 - всасывающий или напорно-всасывающий пожарный рукав; 3 - вакуумный насос

Рисунок 1

5.8 Основные показатели оборудования для крепления пожарных рукавов с рукавными пожарными соединительными головками вязальной проволокой должны соответствовать значениям, приведенным в таблице 5.

Таблица 5

Наименование показателя

Норма

Усилие натяжения вязальной проволоки, Н (кгс)

400 ± 30 (40 ± 3)

или

600 ± 40 (60 ± 4)

Регулировка усилия натяжения вязальной проволоки, Н (кгс)

От 300 (30) до 400 (40)

или

от 300 (30) до 600 (60)

Диаметр проволоки, мм

1,6 - 2,0

5.9 Комплектность, маркировка, упаковка

5.9.1 В комплект поставки должны входить:

- оборудование;

- эксплуатационная документация в соответствии с ГОСТ 2.601.

5.9.2 Маркировка должна содержать:

- товарный знак или наименование предприятия-изготовителя;

- условное обозначение;

- обозначение технических условий предприятия-изготовителя;

- год выпуска оборудования.

5.9.3 Маркировка должна быть четкой, понятной и сохраняться в течение всего срока эксплуатации оборудования.

5.9.4 Упаковка должна обеспечивать сохранность оборудования при его транспортировании и хранении.

6 Требования безопасности

6.1 Оборудование должно соответствовать требованиям безопасности, указанным в ГОСТ 12.2.003, и обеспечивать безопасность работающих при монтаже (демонтаже), вводе в эксплуатацию и при эксплуатации как в случае автономного использования, так и в составе технологических комплексов при соблюдении требований (условий, правил), предусмотренных документами по эксплуатации.

6.2 Оборудование должно быть укомплектовано эксплуатационной документацией, содержащей требования (правила), которые предотвращают возникновение опасных ситуаций. Общие требования к содержанию эксплуатационной документации в части обеспечения безопасности указаны в приложении А.

6.3 Для оборудования, имеющего контакт с водой, все электрические соединения должны быть защищены от воздействия влаги и коротких замыканий.

6.4 Заземление оборудования должно соответствовать требованиям ГОСТ 12.2.007.0, класс защиты 1.

6.5 Движущиеся части привода оборудования должны иметь ограждения.

6.6 Уровень звуковой мощности в соответствии с ГОСТ 12.1.003 не должен превышать 95 дБ.

6.7 Оборудование для мойки и чистки пожарных рукавов должно обеспечивать использование проточной воды и иметь систему слива использованной воды в канализацию либо систему очистки воды замкнутого типа.

7 Правила приемки

7.1 Для оценки и контроля качества оборудования в процессе разработки и производства проводят следующие испытания:

- предварительные;

- приемочные;

- квалификационные;

- приемо-сдаточные;

- периодические;

- типовые.

7.2 Предварительные, приемочные и квалификационные испытания проводят в соответствии с ГОСТ Р 15.201.

7.3 Испытания и приемка выпускаемого оборудования должны проводиться в соответствии с ГОСТ Р 15.309.

Типовые испытания проводят при изменении конструкции и технологии изготовления или при замене сырья, полуфабрикатов, изделий. Испытания должны быть проведены по программе и методике, согласованной и утвержденной в установленном порядке, в соответствии с ГОСТ Р 15.309 (приложение А).

8 Методы испытаний

8.1 Общие положения

8.1.1 Все испытания проводят в нормальных климатических условиях в соответствии ГОСТ 15150.

8.1.2 При проведении испытаний используют средства измерений и контроля, обеспечивающие необходимую точность измерений, поверенные и аттестованные в установленном порядке.

На испытания представляют по одному комплекту оборудования.

8.1.3 Оборудование перед проведением испытаний должно быть выдержано в нормальных климатических условиях в соответствии с ГОСТ 15150 в течение 24 ч.

8.2 Условный проход пожарного рукава или условные проходы и длины обслуживаемых пожарных рукавов (см. таблицу 1) проверяют проведением всех процедур обслуживания на оборудовании в соответствии с эксплуатационной документацией. Для испытаний представляют пожарные рукава, отвечающие требованиям пожарной безопасности. Оборудование должно обеспечивать размещение пожарных рукавов и не препятствовать выполнению процедур обслуживания.

8.3 Работоспособность оборудования в диапазоне температур окружающей среды (см. таблицу 1) проверяют в соответствии с КД производителя.

8.4 Проверка усилия на органы управления

8.4.1 Усилие, прилагаемое на органы управления (кнопки, рычаги, маховики и др.) (см. таблицу 1), измеряют динамометром или другими средствами измерения силы с погрешностью не более ± 5 %.

8.4.2 Проведение испытаний

Усилие для клапанов, кранов органов управления прилагают в точке, находящейся на маховике, максимально удаленной от его оси. Усилие для включения (выключения) кнопок прилагают вдоль оси кнопок. Усилие для включения (выключения) рычагов прилагают к концу рычагов в направлении их движения. Результат испытаний считают положительным, если усилие, необходимое для включения (выключения) органов управления, не превышает 150 Н.

8.5 Назначенный срок службы оборудования (см. таблицу 1) проверяют по КД.

8.6 Маркировку с соответствующими надписями или (и) обозначениями контрольно-измерительных приборов и устройств управления проверяют внешним осмотром и сличением с КД.

8.7 Проверка времени мойки и чистки пожарного рукава (см. 5.4)

Пожарный рукав заправляют в оборудование для мойки и чистки в соответствии с эксплуатационной документацией. Мойку и чистку пожарного рукава производят в одном из режимов для данного оборудования. Время t фиксируют секундомером от начала до окончания мойки и чистки пожарного рукава. При одновременной заправке нескольких пожарных рукавов время обслуживания одного рукава Г определяют по формуле

                                                                                                                        (1)

где п - количество одновременно заправляемых рукавов.

8.8 Проверка рабочего гидравлического давления

Оборудование для испытаний пожарных рукавов на герметичность проверяют на соответствие показателю рабочего гидравлического давления оборудования (см. таблицу 2). Для этого заглушают все выходные патрубки, оборудованные пожарными соединительными головками, затем вытесняют воздух из трубопроводов оборудования. Повышают гидравлическое давление до рабочего давления в соответствии с эксплуатационной документацией, при этом проверяют работу всех органов и устройств управления. При воздействии рабочего гидравлического давления не менее 2 мин оборудование должно сохранять герметичность и прочность всех трубопроводных систем, средств измерений и работоспособность органов управления. Гидравлическое давление измеряют манометром по ГОСТ 2405 с погрешностью не более 0,06 МПа. Время выдержки под давлением измеряют секундомером с погрешностью не более 0,2 с.

8.9 Проверка скорости повышения давления

Скорость повышения давления проверяют при проведении испытаний по показателю «рабочее гидравлическое давление». Время повышения гидравлического давления t регистрируют по секундомеру, который выключают при достижении рабочего гидравлического давления. По манометру регистрируют гидравлическое давление Р0 во время включения секундомера и рабочее давление PN в момент выключения секундомера.

Скорость повышения давления v определяют по формуле

                                                                                                                                                   (2)

8.10 Проверка вакуумметрического рабочего давления на оборудовании для испытаний всасывающих пожарных рукавов на герметичность вакуум метрическим давлением

Оборудование подготавливают к работе в соответствии с эксплуатационной документацией и схемой, приведенной на рисунке 1. Выходные патрубки закрывают заглушками, входящими в комплект оборудования. Вакуумметр должен обеспечивать измерение с точностью до 0,001 МПа.

Включают оборудование и создают разрежение (0,08-0,01) МПа. Падение вакуума не должно превышать 0,003 МПа в течение не менее 5 мин. Закрывают вакуумный кран. Падение вакуума не должно превышать 0,013 МПа в течение 5 мин.

8.11 Проверка производительности оборудования для испытаний всасывающих пожарных рукавов на герметичность вакуумметрическим давлением

Для испытания отбирают всасывающий пожарный рукав (напорно-всасывающий пожарный рукав) или специальную емкость определенного объема с присоединительными патрубками к оборудованию. Рассчитывают объем V всасывающего пожарного рукава (напорно-всасывающего пожарного рукава) по формуле

                                                                                                                  (3)

где p = 3,141593;

d - внутренний диаметр всасывающего рукава, мм;

l - длина рукава, мм.

Специальную емкость или всасывающий пожарный рукав (напорно-всасывающий пожарный рукав) подсоединяют к оборудованию. Одновременно включают оборудование и секундомер. Доводят разрежение до рабочего давления, после чего выключают оборудование и секундомер, по которому определяют время t.

Производительность W определяют по формуле

                                                                                                                                                              (4)

8.12 Проверка температуры сушки

Температуру измеряют контрольным термометром или другим измерительным прибором, поверенным в установленном порядке. После выхода оборудования на установленный режим работы проводят измерение температуры на расстоянии от 50 до 100 мм от отверстия для выхода нагретого потока воздуха. Температура сушки должна соответствовать значению (50 ± 5) °С.

8.13 Проверка стабильности поддержания температуры сушки

Температуру измеряют контрольным термометром или другим измерительным прибором, поверенным в установленном порядке. Измерение температуры проводят при включенном оборудовании и установленном режиме сушки с температурой 45 °С на расстоянии от 50 до 100 мм от отверстия для выхода нагретого потока воздуха. Температуру измеряют после выхода оборудования на установленный режим работы через каждые 15 мин работы оборудования.

Оборудование должно обеспечивать поддержание температуры сушки в пределах от 40 °С до 50 °С в течение 1,0+0,1 ч.

8.14 Проверка усилия и регулировки натяжения вязальной проволоки на оборудовании для крепления пожарных рукавов с рукавными пожарными соединительными головками

Регулируют натяжение проволоки на оборудовании в соответствии к эксплуатационной документацией. Проволоку присоединяют к динамометру и прикладывают усилие в направлении ее вытягивания при навязке рукава. Усилие натяжения и регулировка усилия натяжения вязальной проволоки должны соответствовать показателям, приведенным в таблице 5.

Диаметр проволоки для крепления пожарных рукавов (см. таблицу 5) проверяют штангенциркулем в соответствии с ГОСТ 166.

8.15 Оснащение оборудования электроприводом (см. 5.1), комплектность, маркировку, упаковку (см. 5.9), содержание разделов паспорта (см. 5.9.1 и 6.2), проверяют внешним осмотром и сличением с КД.

Приложение А
(обязательное)

Общие требования к содержанию эксплуатационной документации в части обеспечения безопасности

Эксплуатационная документация должна содержать:

1)спецификацию оснастки, инструмента и приспособлений, обеспечивающих безопасное выполнение всех предусмотренных работ по монтажу (демонтажу), вводу в эксплуатацию и эксплуатации;

2) правила монтажа (демонтажа) и способы предупреждения возможных ошибок, которые приводят к созданию опасных ситуаций, порядок ввода в эксплуатацию;

3) требования к размещению оборудования в помещениях, обеспечивающих безопасность при использовании его по назначению, техническом обслуживании и ремонте, а также требования по оснащению помещений;

4) правила управления оборудованием на всех предусмотренных режимах работы и действия обслуживающего персонала при возникновении опасных ситуаций;

5) правила использования средств индивидуальной защиты;

6) способы своевременного обнаружения отказов в работе оборудования и действия обслуживающего персонала в этих случаях;

7) правила обеспечения электробезопасности оборудования.

Ключевые слова: оборудование по обслуживанию пожарных рукавов, пожарное оборудование, пожарный рукав, пожарная арматура, общие технические требования, методы испытаний