|
ФЕДЕРАЛЬНОЕ АГЕНТСТВО |
||
|
|
НАЦИОНАЛЬНЫЙ |
ГОСТ Р |
Техника пожарная
РУКАВА СПАСАТЕЛЬНЫЕ ПОЖАРНЫЕ
Общие технические требования.
Методы испытаний
Москва
Стандартинформ
2009
Предисловие
Цели и принципы стандартизации в Российской Федерации установлены Федеральным законом от 27 декабря
Сведения о стандарте
1 РАЗРАБОТАН ФГУ ВНИИПО МЧС России
2 ВНЕСЕН Техническим комитетом по стандартизации ТК 274 «Пожарная безопасность»
3
УТВЕРЖДЕН И ВВЕДЕН В ДЕЙСТВИЕ Приказом Федерального агентства по техническому
регулированию и метрологии от 18 февраля
4 ВВЕДЕН ВПЕРВЫЕ
Информация об изменениях к настоящему стандарту публикуется в ежегодно издаваемом информационном указателе «Национальные стандарты», а текст изменений и поправок - в ежемесячно издаваемых информационных указателях «Национальные стандарты». В случае пересмотра (замены) или отмены настоящего стандарта соответствующее уведомление будет опубликовано в ежемесячно издаваемом информационном указателе «Национальные стандарты». Соответствующая информация, уведомление и тексты размещаются также в информационной системе общего пользования - на официальном сайте Федерального агентства по техническому регулированию и метрологии в сети Интернет
Содержание
НАЦИОНАЛЬНЫЙ СТАНДАРТ РОССИЙСКОЙ ФЕДЕРАЦИИ
|
Техника пожарная РУКАВА СПАСАТЕЛЬНЫЕ ПОЖАРНЫЕ Общие технические требования. Методы испытаний Fire equipment. Fire escape chute. General technical requirements. Test methods |
Дата введения - 2010-01-01
с правом досрочного применения
1.1 Настоящий стандарт распространяется на рукава спасательные пожарные (далее - спасательные рукава) всех типов и устанавливает классификацию, общие технические требования и методы испытаний.
1.2 Настоящий стандарт может применяться на стадиях разработки, изготовления и других видах испытаний спасательных рукавов, а также при их сертификации.
В настоящем стандарте использованы нормативные ссылки на следующие стандарты:
ГОСТ Р 1.0-2004 Стандартизация в Российской Федерации. Основные положения
ГОСТ Р 15.201-2000 Система разработки и постановки продукции на производство. Продукция производственно-технического назначения. Порядок разработки и постановки продукции на производство
ГОСТ Р 15.309-98 Система разработки и постановки продукции на производство. Испытания и приемка выпускаемой продукции. Основные положения
ГОСТ Р 50810-95 Пожарная безопасность текстильных материалов. Ткани декоративные. Метод испытания на воспламеняемость и классификация
ГОСТ 2.103-68 Единая система конструкторской документации. Стадии разработки
ГОСТ 2.601-2006 Единая система конструкторской документации. Эксплуатационные документы
ГОСТ 12.2.047-86 Система стандартов безопасности труда. Пожарная техника. Термины и определения
ГОСТ 12.2.049-80 Система стандартов безопасности труда. Оборудование производственное. Общие эргономические требования
ГОСТ 27.002-89 Надежность в технике. Основные понятия. Термины и определения
ГОСТ 8844-75 Полотна трикотажные. Правила приемки и метод отбора проб
ГОСТ 8847-85 Полотна трикотажные. Методы определения разрывных характеристик и растяжимости при нагрузках меньше разрывных
ГОСТ 14192-96 (СТ СЭВ 257-80, СТ СЭВ 258-81) Маркировка грузов
ГОСТ 15150-69* Машины, приборы и другие технические изделия. Исполнения для различных климатических районов. Категории, условия эксплуатации, хранения и транспортирования в части воздействия климатических факторов внешней среды
ГОСТ 16504-81 Система государственных испытаний продукции. Испытания и контроль качества продукции. Основные термины и определения
ГОСТ 18321-73* Качество продукции. Статистические методы управления. Правила отбора единиц продукции в выборку
ГОСТ 29104.1-91 Ткани технические. Методы определения линейных размеров, линейной и поверхностной плотностей
ГОСТ 29104.4-91 Ткани технические. Методы определения разрывной нагрузки и удлинения при разрыве
ГОСТ 30157.0-95 Полотна текстильные. Методы определения изменения размеров после мокрых обработок или химической чистки. Общие положения
ГОСТ 30157.1-95 Полотна текстильные. Методы определения изменения размеров после мокрых обработок или химической чистки. Режимы обработок
ИСО 6942-81 Одежда для защиты от воздействия тепла и пламени. Методика оценки поведения материалов и выполненных на их основе композиций под воздействием теплового излучения
Примечание - При пользовании настоящим стандартом целесообразно проверить действие ссылочных стандартов в информационной системе общего пользования - на официальном сайте Федерального агентства по техническому регулированию и метрологии в сети Интернет или по ежегодно издаваемому информационному указателю «Национальные стандарты», который опубликован по состоянию на 1 января текущего года, и по соответствующим ежемесячно издаваемым информационным указателям, опубликованным в текущем году. Если ссылочный стандарт заменен (изменен), то при пользовании настоящим стандартом следует руководствоваться заменяющим (измененным) стандартом. Если ссылочный стандарт отменен без замены, то положение, в котором дана ссылка на него, применяется в части, не затрагивающей эту ссылку.
В настоящем стандарте использованы следующие термины с соответствующими определениями:
3.1 спасательный рукав: Пожарное спасательное устройство из ткани для скользящего спуска спасаемых, предназначенное для спасания людей с высотных уровней при пожарах или в других чрезвычайных ситуациях в зданиях, сооружениях и на других объектах.
3.2 секционный спасательный рукав: Рукав, состоящий из секций спасательного рукава установленной длины, соединенных между собой разъемными элементами крепления (карабинами, пряжками и т.п.).
3.3 спиральный рукав: Пожарное спасательное устройство для скользящего спуска спасаемых по наклонной (винтовой) поверхности, заключенной внутри замкнутой оболочки.
3.4 эластичный рукав: Оболочка спасательного рукава, обладающая эластичными свойствами в поперечном направлении и предназначенная для создания силы сопротивления при спуске людей в спасательном рукаве.
3.5 теплоотражательный рукав: Наружная оболочка спасательного рукава, предназначенная для его защиты от внешнего воздействия открытого пламени и теплового излучения.
3.6 силовой каркас (рукав): Элементы спасательного рукава, которые воспринимают осевую нагрузку, возникающую при спуске людей, и предназначены для обеспечения прочностных свойств спасательного рукава.
3.7 работоспособность (работоспособное состояние): Состояние рукава, при котором значения всех параметров, характеризующих способность выполнять заданные функции, соответствует требованиям нормативно-технической и конструкторской документации.
3.8 предельно допустимая нагрузка: Максимальная эксплуатационная нагрузка на рукав, допустимая конструкторской документацией.
3.9 рабочий цикл: Периодически повторяющаяся в процессе эксплуатации определенная последовательность действий, необходимая для спуска одного человека.
3.10 назначенный ресурс: Суммарная наработка, при достижении которой эксплуатация рукава должна быть прекращена независимо от его технического состояния.
4.1 Конструкция рукава должна обеспечивать беспрепятственный и безопасный спуск с высоты людей различного телосложения, антропометрические характеристики которых соответствуют группе Б по ГОСТ 12.2.049.
4.2 Конструкция рукава должна обеспечивать групповое спасение с производительностью не менее 5 чел/мин.
4.3 Назначенный ресурс рукава не должен составлять менее 100 рабочих циклов со спуском одного человека.
4.4 Относительное разрывное удлинение материала силового каркаса (рукава) не должно превышать 30 %.
4.5 По конструктивному исполнению рукава классифицируют на:
- спиральные;
- эластичные.
5.1 Процесс использования (приведения) спасательного рукава в рабочее состояние должен быть прост (интуитивен) и не должен требовать дополнительного обучения, кроме ознакомления с руководством по эксплуатации.
5.2 Усадка материалов, применяемых для изготовления рукава, и люминесцентных материалов (при наличии таковых) после намокания и высушивания должна составлять не более 5 %.
5.3 Материалы, применяемые для изготовления верхнего слоя рукава, должны быть яркого цвета.
5.4 Периметр входного отверстия в рукав должен быть не менее
5.5 Масса переносного рукава не должна превышать
5.6 Остаточная деформация эластичного рукава в поперечном направлении не должна превышать 15 %.
5.7 Материал теплоотражательного рукава должен быть устойчив к воздействию открытого пламени в течение не менее 15 с.
5.8 Коэффициент ослабления инфракрасного излучения материала теплоотражательного рукава не должен составлять менее 70 % при плотности падающего теплового потока 14 кВт/м2.
5.9 Ширина (полупериметр) силового каркаса (рукава) не должна быть менее
5.10 Ширина (полупериметр) огнезащитного рукава не должна превышать ширину силового каркаса (рукава) менее чем на
В комплект поставки должны входить:
- рукав (комплект секций секционного спасательного рукава с разъемными элементами крепления);
- укладочная сумка или контейнер для рукава (для мобильных и переносных спасательных рукавов);
- паспорт и руководство по эксплуатации в соответствии с ГОСТ 2.601.
5.12.1 Каждый рукав должен иметь маркировку, содержащую следующие данные:
- товарный знак или наименование предприятия-изготовителя;
- условное обозначение устройства;
- порядковый номер по системе нумерации предприятия-изготовителя;
- длину рукава (каждой секции), м;
- дату изготовления (месяц, год).
5.12.2 Маркировка должна быть выполнена способом, обеспечивающим четкость и сохранность надписей в течение всего срока эксплуатации рукава.
5.12.3 Транспортная маркировка должна соответствовать ГОСТ 14192.
5.12.4 На укладочной сумке или контейнере для спасательного рукава могут быть нанесены рисунки (пиктограммы), поясняющие порядок работы с рукавом.
5.13 Упаковка
Рукав следует хранить в специальной упаковке (контейнере), обеспечивающей его сохранность в течение гарантийного срока.
Транспортная упаковка должна обеспечивать сохранность рукава при перевозках и складировании.
5.14 Транспортирование и хранение
Для транспортирования и хранения рукава следует использовать укладочную сумку с ремнями для переноски.
Транспортирование рукавов следует производить в укладочной сумке в кабине или отсеке пожарного автомобиля.
Хранение рукавов должно осуществляться в соответствии с группой условий хранения 2 по ГОСТ 15150.
6.1 Для контроля качества рукавов в процессе разработки и производства проводят следующие испытания:
- приемочные;
- квалификационные;
- приемо-сдаточные;
- периодические;
- типовые;
- сертификационные.
Приемочные и квалификационные испытания проводят в соответствии с ГОСТ Р 15.201.
Приемо-сдаточные и периодические испытания проводят в соответствии с ГОСТ Р 15.309.
Типовые испытания проводят при изменении конструкции рукава, материала, технологии изготовления или замене сырья и покупных полуфабрикатов, изделий. Типовые испытания проводят по специально разработанной программе.
Технические показатели и номера пунктов (подпунктов), в которых изложены технические требования и методы испытаний рукавов, приведены в таблице 1.
Таблица 1
|
Вид проверки технического показателя |
Пункты (подпункты) настоящего стандарта |
|
|
технические требования |
методы испытаний |
|
|
Проверка работоспособности рукава |
||
|
Проверка производительности |
||
|
Проверка линейных размеров рукава |
||
|
Проверка массы рукава |
||
|
Проверка назначенного ресурса рукава |
||
|
Проверка относительного разрывного удлинения материала силового каркаса (рукава) |
||
|
Проверка коэффициента ослабления инфракрасного излучения |
||
|
Проверка устойчивости материала огнезащитной оболочки к воздействию открытого пламени |
||
|
Проверка остаточной деформации эластичного рукава |
||
|
Проверка усадки материалов рукава после намокания и высушивания |
||
|
Проверка цвета материалов верхнего слоя, комплектности и маркировки рукава |
||
6.2 Срок гарантии с начала эксплуатации спасательного рукава должен быть не менее 12 месяцев.
7.1 Общие требования к проведению испытаний
7.1.1 Спасательные рукава испытывают в состоянии, в котором они предлагаются потребителю.
7.1.2 Все испытания должны проводиться в нормальных климатических условиях в соответствии ГОСТ 15150.
7.1.3 Отбор образцов для испытаний проводится в соответствии с ГОСТ 18321. Число образцов - в соответствии с объемом испытаний, при условии обеспечения достоверности полученных результатов.
7.1.4 Перед испытаниями образцы выдерживают в нормальных климатических условиях в течение 24 ч, если не оговорено другое требование.
7.1.5 Приборы и устройства, применяемые при испытаниях, должны быть поверены и иметь технические паспорта. Допускается использование других приборов и устройств, обеспечивающих заданную точность измерений.
7.2 Проверка работоспособности рукава
Рукав устанавливают на объекте или испытательном стенде и приводят в рабочее положение.
Производят поочередные одиночные спуски (в соответствии с требованиями руководства по эксплуатации) испытателей, имеющих различную массу и телосложение, близких к антропометрическим значениям людей группы Б по ГОСТ 12.2.049. Число спусков должно быть не менее 15.
Результат испытаний считают положительным, если:
а) не произошел ни один неконтролируемый спуск испытателей;
б) не произошла ни одна вынужденная (не предусмотренная штатным режимом спуска) остановка испытателей;
в) не произошел ни один случай зацепления испытателей в узлах стыковки секций секционного спасательного рукава;
г) процесс спуска не вызвал у испытателей никаких затруднений (необходимости применения специальных навыков).
7.3 Проверка производительности рукава
Рукав устанавливают на объекте или испытательном стенде в соответствии с руководством по эксплуатации.
Производят спуски испытателей в среднем темпе в течение 1 мин (в соответствии с требованиями руководства по эксплуатации). Время измеряют секундомером с точностью ± 1 с.
Результат испытаний считают положительным, если при групповом спуске испытателей были выполнены требования, указанные в 5.1, и производительность соответствует значению, приведенному в 4.2.
7.4 Проверка линейных размеров рукава
Периметр входного отверстия в рукав измеряют с погрешностью не более ±
Ширину (полупериметр) силового каркаса и теплоотражательного рукава измеряют в соответствии с ГОСТ 29104.1.
Результат испытаний считают положительным, если:
-
ширина (полупериметр) силового каркаса (рукава) составляет не менее
-
ширина (полупериметр) теплоотражательного рукава не менее чем на
Массу переносного спасательного рукава, находящегося в укладочной сумке или контейнере
для транспортирования, проверяют путем взвешивания; погрешность измерения не должна
быть более ±
7.6 Проверка назначенного ресурса рукава
7.6.1 Испытаниям подвергают один образец рукава.
7.6.2 Испытания проводят по методу, изложенному в 7.3, в объеме не менее 100 рабочих циклов путем спусков испытателей с применением всех тактических приемов спасения людей в соответствии с требованиями руководства по эксплуатации.
7.7 Проверка относительного разрывного удлинения материала силового каркаса (рукава)
Подготовку и испытания образцов, материала силового каркаса (рукава), а также оценку изделия проводят в соответствии с ГОСТ 29104.4.
7.8 Проверка коэффициента ослабления инфракрасного излучения
Проверке подвергают не менее трех образцов, взятых от теплоотражательного рукава, в соответствии с ГОСТ 8844. В качестве образца используют отрезок рукава размерами (230 ± 5) мм´(70 ± 5) мм.
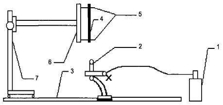
Испытания проводят в помещении без циркуляции воздуха на установке (см. рисунок 1) в соответствии с ИСО 6942.
Закрепляют испытываемый образец 6 на рабочей поверхности датчика теплового потока 5; поднимают заслонку 3 и выдерживают образец в течение 300 с под воздействием падающего теплового потока, плотность которого должна соответствовать значению, приведенному в 5.8. В течение указанного времени проводят измерение плотности теплового потока за образцом. Погрешность измерения времени не должна быть более ± 1 с.
При определении падающего на испытываемый образец теплового потока и его значении за образцом погрешность измерения должна составлять не более ±1,5 кВт/м2.

1 - радиационная панель; 2 - система охлаждения; 3 - заслонка; 4 - экран; 5 - рабочая поверхность датчика теплового потока; 6 - образец; 7 - зажим; 8 - нить; 9 - груз; 10 - датчик теплового потока; 11 - окно экрана
Рисунок 1 - Схема установки для определения коэффициента теплопередачи текстильных материалов
Коэффициент ослабления инфракрасного излучения определяют по формуле
|
|
(1) |
где Косл - коэффициент ослабления инфракрасного излучения испытываемого образца, %;
Qо - плотность теплового потока, падающего на образец, кВт/м2;
Qп - плотность теплового потока за образцом, кВт/м2.
Результат испытаний считают положительным, если коэффициент ослабления инфракрасного излучения каждого образца соответствует значению, приведенному в 5.8.
7.9 Проверка материала огнезащитной оболочки на устойчивость к воздействию открытого пламени
7.9.1 Проверке подвергают не менее трех образцов, взятых от теплоотражательного рукава, в соответствии с ГОСТ 8844. В качестве образца используют отрезок рукава размерами (60 + 5) мм´(140+ 5) мм.
7.9.2 Испытания проводят на установке (см. рисунок 2) в соответствии с ГОСТ Р 50810.

1 - газовый баллон; 2 - горелка; 3 - основание; 4 - образец; 5 - установочные шпильки; 6 - рамка; 7 - штатив
Рисунок 2 - Схема установки для испытания текстильных материалов на устойчивость к воздействию открытого пламени
7.9.3 Испытания проводят в следующем порядке:
а) закрепляют испытываемый образец 4 на установочных шпильках 5 рамки 6 и помещают его нижний край в желтый конус пламени горелки 2; высота желтого конуса пламени должна быть (40 ± 2) мм;
б) образец убирают из пламени через 15 с и измеряют время остаточного горения и тления.
7.9.4 Погрешность измерения линейных размеров при подготовке образцов и регулировке пламени горелки должна быть не более ±
7.10 Проверка остаточной деформации эластичного рукава
7.10.1 Проверке подвергают не менее трех образцов, взятых в соответствии с ГОСТ 8844. В качестве образца используют кольцевой отрезок эластичного рукава шириной (200 ± 5) мм.
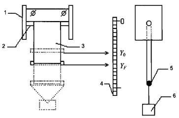
7.10.2 Испытания проводят в соответствии с ГОСТ 8847 на установке (см. рисунок 3).

1 - кронштейн; 2 - неподвижный стержень; 3 - образец рукава; 4 - линейка; 5 - подвижный стержень; 6 - груз
Рисунок 3 - Установка для определения растяжения образца эластичного рукава
7.10.3 В образец 3 вставляют неподвижный стержень 2 диаметром (20,0 ± 0,5) мм и закрепляют его в кронштейне 1; затем вставляют в образец подвижный стержень 5 того же диаметра массой (0,10 ± 0,01) кг и проводят предварительное растяжение образца грузом 6 массой (1,00 ± 0,05) кг в течение 60 с. Через (60 ± 5) с после снятия предварительной нагрузки отмечают на линейке 4 положение нижнего стержня у0.
7.10.4 Проводят нагружение образца контрольным грузом массой (10,0 ± 0,1) кг и выдерживают образец под нагрузкой в течение 60 с. Через (60 ± 5) с после снятия контрольного груза отмечают на линейке 4 положение нижнего стержня уF.
7.10.5
Погрешность измерения линейных размеров не должна быть более ±
7.10.6 Остаточную деформацию эластичного рукава определяют по формуле
|
|
(2) |
где ∆ - остаточная деформация испытываемого образца, %;
у0 - координата положения нижнего края испытываемого образца после снятия предварительной нагрузки, мм;
уF - координата положения нижнего края испытываемого образца после снятия контрольного груза, мм.
Результат испытаний считают положительным, если остаточная деформация каждого из образцов рукава не превышает 15 %.
7.11 Проверка усадки материалов рукава после намокания и высушивания
Усадку материалов рукава после намокания и высушивания проверяют в соответствии с ГОСТ 30157.0 и ГОСТ 30157.1. Результат испытаний считают положительным, если усадка материалов рукава после намокания и высушивания составила не более 5 %.
7.12 Проверка цвета материалов верхнего слоя, комплектности и маркировки рукава
Проверку цвета материалов верхнего слоя, комплектности и маркировки рукава проводят визуально. Рукав считают выдержавшим проверку, если внешний вид, маркировка и комплектность образца соответствуют требованиям 5.3, 5.11 и 5.12 настоящего стандарта.
Ключевые слова: пожарная техника, спасательный рукав, эластичный рукав, конструкция и классификация рукавов, общие технические требования, методы испытаний