|
ФЕДЕРАЛЬНОЕ АГЕНТСТВО |
||
|
|
НАЦИОНАЛЬНЫЙ |
ГОСТ Р |
СТВОЛЫ МУСОРОПРОВОДОВ.
Метод испытаний на огнестойкость
Москва
Стандартинформ
2009
Цели и принципы стандартизации в Российской Федерации установлены Федеральным законом от 27 декабря 2002 г. № 184-ФЗ «О техническом регулировании», а правила применения национальных стандартов Российской Федерации - ГОСТ Р 1.0-2004 «Стандартизация в Российской Федерации. Основные положения».
Сведения о стандарте
1. РАЗРАБОТАН ФГУ ВНИИПО МЧС России
2. ВНЕСЕН Техническим комитетом по стандартизации ТК 274 «Пожарная безопасность»
3. УТВЕРЖДЕН И ВВЕДЕН В ДЕЙСТВИЕ Приказом Федерального агентства по техническому регулированию и метрологии от 18 февраля 2009 г. № 80-ст
4 ВВЕДЕН ВПЕРВЫЕ
Информация об изменениях к настоящему стандарту публикуется в ежегодно издаваемом информационном указателе «Национальные стандарты», а текст изменений и поправок - в ежемесячно издаваемых информационных указателях «Национальные стандарты». В случае пересмотра (замены) или отмены настоящего стандарта соответствующее уведомление будет опубликовано в ежемесячно издаваемом информационном указателе «Национальные стандарты». Соответствующая информация, уведомление и тексты размещаются также в информационной системе общего пользования - на официальном сайте Федерального агентства по техническому регулированию и метрологии в сети Интернет.
Содержание
|
4 Сущность метода и режимы испытания 5 Испытательное оборудование и средства измерений 7 Последовательность проведения испытания 8 Обработка результатов измерений 9 Оценка результатов испытания
|
ГОСТ Р 53304-2009
НАЦИОНАЛЬНЫЙ СТАНДАРТ РОССИЙСКОЙ ФЕДЕРАЦИИ
СТВОЛЫ МУСОРОПРОВОДОВ.
Метод испытаний на огнестойкость
Trunks of refuse chutes.
The test method on fire resistance
Дата введения - 2010-01-01
с правом досрочного применения
1.1 Настоящий стандарт устанавливает метод испытаний на огнестойкость сборных конструкций стволов с загрузочными клапанами (далее - стволы) систем мусороудаления жилых и общественных зданий.
1.2 Требования данного стандарта не распространяются на стволы, выполненные в полостях строительных конструкций или используемые в составе объединенных (централизованных) систем мусороудаления.
В настоящем стандарте использованы ссылки на следующие нормативные документы:
ГОСТ Р 50431-92 Термопары. Номинальные статические характеристики преобразования.
ГОСТ 30247.0-94 Конструкции строительные. Методы испытаний на огнестойкость. Общие требования.
ГОСТ 12.2.003-91 Оборудование производственное. Общие требования безопасности.
ГОСТ 12.1.019-79* Электробезопасность. Общие требования и номенклатура видов защиты.
СП 31-108-2002 Мусоропроводы жилых и общественных зданий и сооружений.
Примечание - При пользовании настоящим стандартом целесообразно проверить действие ссылочных стандартов и классификаторов в информационной системе общего пользования - на официальном сайте Федерального агентства по техническому регулированию и метрологии в сети Интернет или по ежегодно издаваемому информационному указателю «Национальные стандарты», который опубликован по состоянию на 1 января текущего года, и по соответствующим ежемесячно издаваемым информационным указателям, опубликованным в текущем году. Если ссылочный документ заменен (изменен), то при пользовании настоящим стандартом следует руководствоваться замененным (измененным) документом. Если ссылочный документ отменен без замены, то положение, в котором дана ссылка на него, принимается в части, не затрагивающей эту ссылку.
3.1 Предельным состоянием конструкций стволов систем мусороудаления по огнестойкости является потеря плотности (Е). Обозначение предела огнестойкости конструкции ствола систем мусороудаления состоит из условного обозначения нормируемого предельного состояния и численного значения, соответствующего времени его достижения в минутах, например: Е 60 - предел огнестойкости 60 минут по признаку потери плотности.
3.2 Потеря плотности конструкций стволов систем мусороудаления характеризуется превышением предельно допустимых величин утечек газа через неплотности этих конструкций.
Предельно допустимая величина утечек через неплотности конструкций стволов и загрузочных клапанов систем мусороудаления Qnp, м3/ч, приведенная к температуре 20 °С, не должна быть более 170 м3/ч.
4.1 Сущность метода заключается в определении времени, по истечении которого наступает предельное состояние конструкции ствола системы мусороудаления (по 3.1, 3.2) при ее обогреве с одновременным созданием перепада давления между внутренней полостью ствола и коллектором испытательного стенда.
4.2 Температура газовой среды во входном сечении испытываемой конструкции в процессе испытаний должна изменяться в соответствии с соотношением
Т - Т0 = 115lg(5t + 1), (1)
где Т - температура газовой среды во входном сечении испытываемой конструкции, °С;
Т0 - начальная температура окружающей среды, °С;
t - время от начала нагрева, мин.
4.3 Изменение значения величины Т - Т0 во времени при испытаниях и допустимые отклонения значений среднеарифметической (по показаниям термоэлектрических преобразователей) температуры во входном сечении испытываемой конструкции приведены в таблице 1.
4.4 Перепад давления на испытываемом образце обеспечивается путем создания разрежения в коллекторе испытательного стенда. Величина перепада давления в процессе испытаний должна составлять (70 ± 5) Па.
Таблица 1
|
t, мин |
Т - Т0, °С |
Допустимые отклонения, % |
|
2 5 10 |
120 163 196 |
15 |
|
15 20 25 30 |
216 230 242 251 |
10 |
|
45 |
271 |
5 |
5.1 Стенд для проведения испытаний конструкций стволов систем мусороудаления (приложение А) состоит из печи с внутренними размерами не менее (2,0´2,0´2,5) м, вентилятора, дросселирующего устройства, воздуховодов обвязки вентилятора. Печь должна быть оборудована форсунками, работающими на жидком топливе по 5.2.5 ГОСТ 30247.0, и обеспечивать требуемый тепловой режим по 4.2, 4.3. Дросселирующее устройство должно обеспечивать возможность регулирования подачи и давления вентилятора для поддержания перепада давления по 4.4.
5.2 Испытательный стенд должен быть оснащен средствами измерения температуры, интервалов времени, расхода газов и давления.
5.3 Для измерения температуры в сечении установки расходомерного устройства (приложение А) следует применять термоэлектрические преобразователи (ТЭП) с диаметром электродов не более 0,7 мм.
5.4 Для измерения температуры во входном сечении испытываемой конструкции следует применять ТЭП с диаметром электродов от 1,2 до 3,0 мм.
5.5 ТЭП в сечении установки расходомерного устройства (приложение А) должен располагаться на расстоянии не более 0,2d от оси мерного участка воздуховода и от расходомерного устройства.
5.6 Для регистрации измеряемых температур следует применять приборы класса точности не ниже 1,0.
5.7 Для регистрации давления газовой среды следует применять приборы (манометры, микроманометры и т.п.) класса точности не ниже 1,0.
5.8 Для измерения расхода газов следует применять расходомерные устройства, позволяющие измерять величины расходов, составляющие не менее чем 15 % от Qnp по 3.2.
5.9 Для измерения интервалов времени должны использоваться приборы класса точности не ниже 2,0.
5.10 Расположение ТЭП а также места отбора давления и установки расходомерного устройства должны соответствовать схемам, приведенным в приложении А.
5.11 Номинальные статические характеристики и пределы допускаемых отклонений термоэлектродвижущей силы (т.э.д.с.) ТЭП по 5.3-5.4 должны соответствовать ГОСТ Р 50431 или индивидуальным градуировкам.
6.1 Испытанию на огнестойкость подлежат образцы загрузочных клапанов и фрагменты конструкций стволов систем мусороудаления, поставляемые в сборе, включая предусмотренные конструкторской документацией узлы крепления и уплотнения клапанов, сочленения звеньев ствола и опоры. Материалы и детали образцов, подлежащих испытанию, должны соответствовать технической документации на их изготовление и применение.
6.2 Образцы загрузочных клапанов, представленные на испытания, должны комплектоваться фрагментом ствола системы мусороудаления с приемным отверстием.
6.3 Фрагменты стволов систем мусороудаления, представленные на испытания, должны состоять из трех звеньев, сочленение которых выполнено в соответствии с конструкторской документацией. Фрагменты стволов систем мусороудаления, представленные на испытания или поставленные в комплекте с загрузочными клапанами, должны быть заглушены сверху и комплектоваться фрагментом плиты перекрытия с опорным узлом.
6.4 Размеры испытываемых образцов должны соответствовать схемам, приведенным в приложении Б.
6.5 Подлежащие испытаниям образцы загрузочных клапанов и фрагменты конструкций стволов систем мусороудаления должны соответствовать конструкторской документации, представляемой вместе с образцами. Степень соответствия устанавливается входным контролем и фиксируется в отчете об испытаниях.
6.6 Для проведения испытаний образец (фрагмент ствола системы мусороудаления со смонтированным на нем загрузочным клапаном) устанавливается на стенде вертикально (приложения А, Б) и закрывается коллектором. Плотность вентиляционного канала, присоединяемого к коллектору, по величине утечек и подсосов воздуха должна быть определена предварительно и составлять не более 15 % предельно допустимого расхода газов по 3.2.
7.1 Испытания должны проводиться при температуре окружающей среды от 5 °С до 40 °С.
7.2 Разрежение в коллекторе испытательного стенда создается путем его подключения через мерный участок вентиляционного канала к всасывающему патрубку вентилятора. Регулирование величины разрежения осуществляется дросселированием вентилятора посредством заслонок.
7.3 Начало испытаний соответствует моменту включения форсунок печи, непосредственно перед которым включается вентилятор и регулируется величина разрежения в коллекторе.
7.4 Во время испытаний регистрируют:
- температуру во входном сечении образца;
- разрежение и расход газового потока в вентиляционной системе стенда;
- температуру газа в сечении установки расходомерного устройства.
7.5 Измерения температур, расходов, скорости и давлений должны проводиться в интервалах не более 2 мин.
7.6 Испытания должны проводиться до наступления предельного состояния образца по огнестойкости согласно 3.1, 3.2, или, если предельное состояние конструкции не достигнуто, в течение времени, указанного в технической документации на изделие.
8.1 Фактические значения подсосов (утечек) через неплотности конструкций образца в i-м измерении Qinp, м3/с, приведенные к температуре 20 °С, определяются по соотношению
(2)
где Qi - фактические утечки через образец по результатам i-го измерения, м3/с;
ti - температура газа, измеренная в сечении установки расходомерного устройства, °С.
9.1 Фактический предел огнестойкости испытываемой конструкции ствола системы мусороудаления определяется интервалом времени до наступления предельного состояния по 3.1, 3.2.
9.2 По результатам испытания конструкции ствола системы мусороудаления присваивается классификационное обозначение в соответствии с 3.1: «E t», где t - одно из значений временного ряда: 15, 20, 30, 45, 60, 90, 120, 180, 240, 360 мин., меньшее или равное установленному фактическому пределу огнестойкости конструкции.
10.1 Отчет об испытании, составленный по рекомендуемой форме, должен содержать следующие данные:
1) наименование организации, проводящей испытания;
2) наименование и адрес завода-изготовителя;
3) характеристику объекта испытаний;
4) ссылку на метод испытания;
5) процедуру испытания;
6) перечень испытательного оборудования и средств измерений;
7) результаты испытаний;
8) оценку результатов испытаний.
11.1 При испытаниях стволов систем мусороудаления на огнестойкость должны соблюдаться требования безопасности и производственной санитарии согласно ГОСТ 12.2.003 и ГОСТ 12.1.019.
11.2 Лица, допущенные в установленном порядке к испытанию, должны быть ознакомлены с техническим описанием и инструкцией по эксплуатации испытательного оборудования.
11.3 Все быстро движущиеся и вращающиеся части стендовой установки должны иметь ограждения.

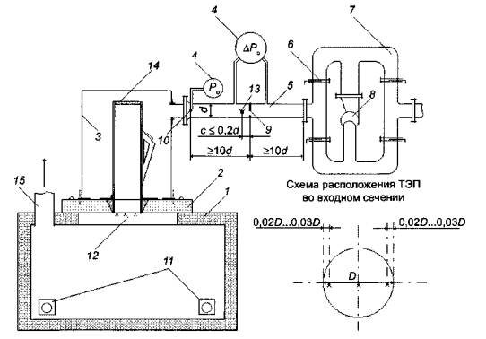
1 - печь; 2 - фрагмент плиты перекрытия с узлом опоры и испытываемым образцом; 3 - коллектор; 4 - микроманометр; 5 - мерный участок; 6 - регулирующая заслонка; 7 - воздуховоды обвязки вентилятора; 8 - вентилятор; 9 - расходомерная диафрагма; 10 - точка отбора давления в полости испытываемого образца; 11 - форсунки; 12 - ТЭП, установленные во входном сечении образца; 13 - ТЭП, установленный в сечении установки расходомерного устройства; 14 - заглушённый торец образца; 15 – дымоход
Рис. А.1 - Схема стендового оборудования и размещения образцов для испытания на огнестойкость конструкций стволов систем мусороудаления

1 - фрагмент плиты перекрытия; 2 - узел опоры ствола; 3 - монтажные петли; 4 - фрагмент ствола; 5 - заглушённый торец ствола; 6 - узел сочленения звеньев ствола; 7 - загрузочный клапан
Рис. Б.1 - Схемы образцов для испытания на огнестойкость конструкций стволов систем мусороудаления (а) с загрузочными клапанами (б)
Ключевые слова: ствол мусоропровода, загрузочный клапан, метод испытания.