|
ФЕДЕРАЛЬНОЕ АГЕНТСТВО |
||
|
|
НАЦИОНАЛЬНЫЙ |
ГОСТ Р |
ТЕХНИКА ПОЖАРНАЯ.
САМОСПАСАТЕЛИ ИЗОЛИРУЮЩИЕ С ХИМИЧЕСКИ СВЯЗАННЫМ
КИСЛОРОДОМ ДЛЯ ЗАЩИТЫ ЛЮДЕЙ ОТ ТОКСИЧНЫХ ПРОДУКТОВ ГОРЕНИЯ
ПРИ ЭВАКУАЦИИ ИЗ ЗАДЫМЛЕННЫХ ПОМЕЩЕНИЙ ВО ВРЕМЯ ПОЖАРА.
Общие технические требования.
Методы испытаний
Москва
Стандартинформ
2007
Предисловие
Цели и принципы стандартизации в Российской Федерации установлены Федеральным законом
от 27 декабря
Сведения о стандарте
1 РАЗРАБОТАН Федеральным государственным учреждением «Всероссийский ордена «Знак Почета» научно-исследовательский институт противопожарной обороны» Министерства Российской Федерации по делам гражданской обороны, чрезвычайным ситуациям и ликвидации последствий стихийных бедствий (ФГУ ВНИИПО МЧС России)
2 ВНЕСЕН Техническим комитетом по стандартизации ТК 274 «Пожарная безопасность»
3 УТВЕРЖДЕН И ВВЕДЕН В ДЕЙСТВИЕ Приказом Федерального агентства по техническому
регулированию и метрологии от 18 февраля
В настоящем стандарте учтены требования регионального стандарта EN 13794 Автономные дыхательные устройства. Автономные дыхательные аппараты замкнутого цикла для самоспасения. Требования. Испытания. Маркировка, ГОСТ Р 12.4.220-2001 ССБТ. Средства индивидуальной защиты. Аппараты изолирующие с химически связанным кислородом (самоспасатели). Общие технические требования. Методы испытаний
4 ВВЕДЕН ВПЕРВЫЕ
Информация об изменениях к настоящему стандарту публикуется в ежегодно издаваемом информационном указателе «Национальные стандарты», а текст изменений и поправок - в ежемесячно издаваемых информационных указателях «Национальные стандарты». В случае пересмотра (замены) или отмены настоящего стандарта соответствующее уведомление будет опубликовано в ежемесячно издаваемом информационном указателе «Национальные стандарты». Соответствующая информация, уведомление и тексты размещаются также в информационной системе общего пользования - на официальном сайте Федерального агентства по техническому регулированию и метрологии в сети Интернет.
Содержание
НАЦИОНАЛЬНЫЙ СТАНДАРТ РОССИЙСКОЙ ФЕДЕРАЦИИ
|
ТЕХНИКА ПОЖАРНАЯ. САМОСПАСАТЕЛИ ИЗОЛИРУЮЩИЕ С ХИМИЧЕСКИ Общие технические требования. Fire Equipment. Self-contained escape with
chemical oxygen for protection |
Дата введения - 2009-05-01
Настоящий стандарт распространяется на самоспасатели изолирующие с химически связанным кислородом (далее - самоспасатели) для индивидуальной защиты органов дыхания и зрения людей от токсичных продуктов горения при эвакуации из помещений во время пожара.
Настоящий стандарт устанавливает общие технические требования и методы испытаний.
Стандарт может быть рекомендован для целей сертификации.
В настоящем стандарте использованы нормативные ссылки на следующие стандарты:
ГОСТ Р 12.4.220-2001 ССБТ. Средства индивидуальной защиты. Аппараты изолирующие с химически связанным кислородом (самоспасатели). Общие технические требования. Методы испытаний
ГОСТ Р 15.201-2000 Система разработки и постановки продукции на производство. Продукция производственно-технического назначения. Порядок разработки и постановки продукции на производство
ГОСТ 2.103-68 Единая система конструкторской документации. Стадии разработки
ГОСТ 2.601-95 ЕСКД. Эксплуатационные документы
ГОСТ 12.4.005-85 ССБТ. Средства индивидуальной защиты органов дыхания. Метод определения величины сопротивления дыханию
ГОСТ 12.4.026-2001 ССБТ. Цвета сигнальные, знаки безопасности и разметка сигнальная. Назначение и правила применения. Общие технические требования и характеристики. Методы испытаний
ГОСТ 12.4.061-88 ССБТ. Метод определения работоспособности человека в средствах индивидуальной защиты
ГОСТ 12.4.157-75 ССБТ. Противогазы и респираторы промышленные фильтрующие. Нефелометрические методы определения коэффициента подсоса масляного тумана под лицевую часть
ГОСТ 12.4.189-99 ССБТ. Средства индивидуальной защиты органов дыхания. Маски. Общие технические условия
ГОСТ 27.410-87 Надежность в технике. Методы контроля показателей надежности и планы контрольных испытаний на надежность
ГОСТ 6616-94 Преобразователи термоэлектрические. Общие технические условия
ГОСТ 15150-69 Машины, приборы и другие технические изделия. Исполнения для различных климатических районов. Категории, условия эксплуатации, хранения и транспортирования в части воздействия климатических факторов внешней среды
Примечание - При пользовании настоящим стандартом целесообразно проверить действия ссылочных стандартов и классификаторов в информационной системе общего пользования - на официальном сайте национального органа Российской Федерации по стандартизации в сети Интернет или по ежегодно издаваемому информационному указателю «Национальные стандарты», который опубликован по состоянию на 1 января текущего года, и по соответствующим ежемесячно издаваемым информационным указателям, опубликованным в текущем году. Если ссылочный документ заменен (изменен), то при пользовании настоящим стандартом следует руководствоваться замененным (измененным) документом. Если ссылочный документ отменен без замены, то положение, в котором дана ссылка на него, применяется в части, не затрагивающей эту ссылку.
В настоящем стандарте применены следующие термины с соответствующими определениями и сокращениями:
3.1 самоспасатель: Средство индивидуальной защиты органов дыхания и зрения человека от токсичных продуктов горения, в течение заявленного времени защитного действия, при эвакуации из производственных, административных и жилых зданий, помещений во время пожара.
3.2 самоспасатель с химически связанным кислородом: Средство индивидуальной защиты органов дыхания и зрения человека, действие которого основано на регенерации газовой дыхательной смеси в контуре самоспасателя за счет поглощения химическим веществом диоксида углерода и влаги и добавления в газовую дыхательную смесь кислорода. Предназначенный для дыхания кислород содержится в химически связанном состоянии.
3.3 номинальное время защитного действия (номинальное ВЗД): Период, в течение которого сохраняется защитная способность самоспасателя при испытании на стенде-имитаторе внешнего дыхания человека в режиме выполнения работы средней тяжести (легочная вентиляция 35 дм3/мин) при температуре окружающей среды (25 ± 2)°С.
3.4 фактическое время защитного действия (фактическое ВЗД): Период, в течение которого сохраняется защитная способность самоспасателя при испытании на стенде-имитаторе внешнего дыхания человека, в режиме выполнения средней и тяжелой работы, при температуре окружающей среды от минус 10°С до 60°С (кроме 25°С).
3.5 газовая дыхательная смесь (ГДС): Смесь газов и паров воды, заполняющая внутренний объем самоспасателя и используемая для дыхания.
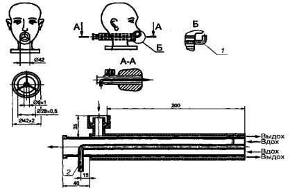
3.6 воздуховодная система: Система самоспасателя, в которой циркулирует выдыхаемая и вдыхаемая газовая дыхательная смесь; включает капюшон (лицевую часть), дыхательный мешок, регенеративный патрон и систему шлангов.
3.7 дыхательный режим: Совокупность взаимосвязанных значений следующих параметров: потребления кислорода в единицу времени, выделения диоксида углерода, легочной вентиляции.
3.8 легочная вентиляция: Объем ГДС, прошедший при дыхании через легкие человека или через стенд-имитатор дыхания за одну минуту.
3.9 дыхательный объем: Объем одного вдоха (выдоха).
Самоспасатели в зависимости от назначения должны подразделяться на:
- самоспасатели, предназначенные для применения людьми, которые самостоятельно эвакуируются из зданий и помещений во время пожара (далее - самоспасатели общего назначения);
- самоспасатели, предназначенные для применения персоналом, ответственным за организацию эвакуации людей из зданий и помещений во время пожара постоянного проживания и круглосуточного (временного) пребывания людей (гостиницы, общежития, спальные корпуса санаториев и домов отдыха общего типа, кемпинги, мотели и пансионаты, специализированные дома престарелых и инвалидов), а также для оснащения объектовых пунктов пожаротушения и постов безопасности зданий и сооружений (далее - самоспасатели специального назначения).
5.1.1 В комплект самоспасателя должны входить:
- рабочая часть;
- герметичная упаковка;
- руководство по эксплуатации;
- паспорт;
- сумка (футляр, коробка).
Проверку следует проводить в соответствии с положениями 8.2.
5.1.2 В рабочую часть самоспасателя должны входить:
- капюшон (лицевая часть);
- система шлангов;
- регенеративный патрон с кислородосодержащим продуктом;
- дыхательный мешок.
Проверку следует проводить в соответствии с положениями 8.2.
5.1.3 Номинальное время защитного действия самоспасателя общего назначения должно быть не менее 15 мин.
Испытания следует проводить в соответствии с положениями 8.12.
5.1.4 Номинальное время защитного действия самоспасателя специального назначения должно быть не менее 25 мин.
Испытания следует проводить в соответствии с положениями 8.12.
5.1.5 Коэффициент подсоса аэрозоля стандартного масляного тумана Кмт в подмасочное пространство капюшона (лицевой части) с учетом подсоса через полосу обтюрации должен быть:
- не более 0,05 % - для людей старше 12 лет или имеющих размер шеи более 3,0 дм;
- не более 2 % - для категории людей, имеющих бороду, длинные волосы (объемную прическу).
Испытания следует проводить в соответствии с положениями 8.16.
5.1.6 Сопротивление дыханию на вдохе и выдохе самоспасателя общего назначения при легочной вентиляции 35 дм3/мин не должно превышать 800 Па.
Испытания следует проводить в соответствии с положениями 8.12.
5.1.7 Сопротивление дыханию на вдохе и выдохе самоспасателя специального назначения при легочной вентиляции 35 дм3/мин не должно превышать 750 Па.
Испытания следует проводить в соответствии с положениями 8.12.
5.1.8 Сопротивление дыханию на вдохе и выдохе при легочной вентиляции 70 дм3/мин не должно превышать 1800 Па.
Испытания следует проводить в соответствии с положениями 8.12.
5.1.9 Объемная доля диоксида углерода на вдохе и в дыхательном мешке не должна превышать 3,0 % (об.).
Испытания следует проводить в соответствии с положениями 8.12 и 8.15.
5.1.10 Объемная доля кислорода во вдыхаемой ГДС должна быть не менее 20 %.
Примечание - Допускается снижение объемной доли кислорода до 17 % в течение первых 2 минут после включения.
Испытания следует проводить в соответствии с положениями 8.12.
5.1.11 Температура вдыхаемой из самоспасателя ГДС при температуре окружающей среды (25 ± 2)°С не должна превышать 50°С.
Испытания следует проводить в соответствии с положениями 8.12.
5.1.12 Температура поверхности самоспасателя, обращенной к телу пользователя, должна быть переносимой для пользователя, одетого в хлопчатобумажную рабочую одежду.
Проверку следует проводить в соответствии с положениями 8.15 и 8.16.
5.1.13 Время надевания и приведения самоспасателя в действие должно быть не более 60 с.
Испытания следует проводить в соответствии с положениями 8.16.
5.1.14 Масса рабочей части самоспасателя общего назначения должна быть не более
5.1.15 Масса рабочей части самоспасателя специального назначения должна быть не более
5.1.16 Фактическое ВЗД самоспасателя в зависимости от температуры окружающей среды и степени тяжести выполняемой работы должно соответствовать значениям, указанным в таблице 1.
Таблица 1
|
Температура окружающего воздуха |
Отношение фактического ВЗД к номинальному ВЗД, %, не менее |
|
|
легочная вентиляция, дм3/мин |
||
|
35 |
70 |
|
|
минус (10 ± 2)°С |
80 |
- |
|
(25 ± 2)°С |
100 |
30 |
|
(60 ± 2)°С |
80 |
- |
Испытания следует проводить в соответствии с положениями 8.12.
5.1.17 Герметичность рабочей части самоспасателя должна быть такой, чтобы после создания в рабочей части избыточного и вакуумметрического давления (1000 ± 20) Па изменение давления не превышало 150 Па в мин.
Испытания следует проводить в соответствии с положениями 8.4.
5.1.18 Пыль регенеративного продукта самоспасателя не должна попадать в дыхательные пути пользователя, слюна и конденсат не должны препятствовать работе самоспасателя и оказывать негативного воздействия на пользователя.
Испытания следует проводить в соответствии с положениями 8.11; 8.15 и 8.16.
5.2.1 Вероятность сохранения исправности самоспасателя за время нахождения его в состоянии ожидания применения в течение 5 лет должна быть не менее 0,98.
Испытания следует проводить в соответствии с положениями 8.13.1.
5.2.2 Вероятность безотказной работы самоспасателя за время защитного действия должна быть не менее 0,98.
Испытания следует проводить в соответствии с положениями 8.13.2.
5.3.1 Самоспасатель по виду климатического исполнения должен быть рассчитан на применение при температуре окружающей среды от минус 10°С до 60°С и относительной влажности до 95 % (при температуре 25°С).
Проверку следует проводить в соответствии с положениями 8.1.
5.3.2 Самоспасатель должен сохранять работоспособность после воздействия на него вибронагрузки с перегрузкой
Испытания следует проводить в соответствии с положениями 8.6.1.
5.3.3 Самоспасатель должен сохранять работоспособность после падения в футляре (сумке) с
высоты
Испытания следует проводить в соответствии с положениями 8.6.2.
5.3.4 Самоспасатель должен сохранять работоспособность после воздействия климатических факторов:
- температуры (50 ± 3)°С в течение (24 ± 1) ч;
- температуры минус (60 ± 3)°С в течение (4 ± 0,1) ч;
- температуры (35 ± 2)°С при относительной влажности (90 ± 5) % в течение (24 ± 1) ч. Испытания следует проводить в соответствии с положениями 8.6.3.
5.3.5 Самоспасатель должен сохранять работоспособность после пребывания в среде с температурой 200°С в течение (60 ± 5) с.
Испытания следует проводить в соответствии с положениями 8.7.
5.3.6 Самоспасатель должен сохранять работоспособность после воздействия открытого пламени с температурой (800 ± 50)°С в течение (5,0 ± 0,2) с.
Испытания следует проводить в соответствии с положениями 8.8.
5.3.7 Самоспасатель должен сохранять работоспособность после воздействия теплового потока плотностью (8,5 ± 0,5) кВт/м2 в течение 3 мин.
Испытания следует проводить в соответствии с положениями 8.9.
5.4.1. Капюшон должен полностью закрывать голову человека.
Проверку следует проводить в соответствии с положениями 8.16.
5.4.2 Лицевая часть должна закрывать нос, рот, глаза и подбородок человека.
Проверку следует проводить в соответствии с положениями 8.16.
5.4.3 Капюшон (лицевая часть) должен иметь только один размер.
Проверку следует проводить в соответствии с положениями 8.1.
5.4.4 Капюшон (лицевая часть) должен быть удобным и комфортным для ношения, не вызывать болевых ощущений и наминов в мягких тканях лица, шеи и головы человека в течение времени защитного действия самоспасателя.
Испытания следует проводить в соответствии с положениями 8.15.
5.4.5 Капюшон (лицевая часть) не должен ограничивать подвижность головы, шеи, рук и туловища человека при использовании самоспасателя.
Испытания следует проводить в соответствии с положениями 8.15.
5.4.6 Капюшон (лицевая часть) должен позволять ведение переговоров между людьми, использующими самоспасатели.
Испытания следует проводить в соответствии с положениями 8.16.
5.4.7 Конструкция смотрового окна капюшона должна препятствовать его запотеванию, затрудняющему обзор человеку в самоспасателе.
Испытания следует проводить в соответствии с положениями 8.15.
5.4.8 Смотровое окно капюшона (лицевой части) должно обеспечивать площадь поля зрения не менее 70 % от площади поля зрения без капюшона (лицевой части).
Испытания следует проводить в соответствии с положениями 8.17.
5.4.9 Материалы, применяемые для изготовления самоспасателя и непосредственно соприкасающиеся с кожей пользователя и вдыхаемым воздухом, не должны оказывать раздражающего или иного вредного влияния на человека. Эти материалы должны иметь санитарно-эпидемиологическое заключение на их применение.
Проверку следует проводить в соответствии с положениями 8.1.
5.5.1 Все органы управления самоспасателя (рычаги, кнопки и др.) должны быть легко доступны и удобны для приведения их в действие и надежно защищены от механических повреждений и от случайного срабатывания.
Испытание следует проводить в соответствии с положениями 8.15 и 8.16.
5.5.2 Органы управления должны срабатывать при усилии не более 80 Н.
Испытания следует проводить в соответствии с положениями 8.5.
5.6.1 На сумке (футляре, коробке) должны быть нанесены пиктограммы по правилам приведения в действие самоспасателя.
Проверку следует проводить в соответствии с положениями 8.2.
5.6.2 Конструкции герметичной упаковки и замка сумки (футляра, коробки) должны позволять человеку проводить быстрое открытие его руками, но препятствовать случайному его открытию при ношении.
Проверку следует проводить в соответствии с положениями 8.15 и 8.16.
5.6.3 Усилие вскрытия замка сумки (футляра, коробки) не должно превышать 100 Н.
Испытания следует проводить в соответствии с положениями 8.10.
5.6.4 Сумка (футляр, коробка) должна быть опечатана (опломбирована) для предотвращения несанкционированного вскрытия.
Проверку следует проводить в соответствии с положениями 8.2.
Самоспасатель должен быть помещен в герметичную упаковку, уложенную в сумку (футляр, коробку).
На герметичной упаковке и сумке (футляре, коробке) самоспасателя должна быть указана информация о назначении самоспасателя, а также нанесены следующие данные:
- наименование или условное обозначение изделия;
- номер технических условий и (или) номер стандарта;
- наименование предприятия-изготовителя (фирмы) или его товарный знак;
- страна-изготовитель;
- серийный номер изделия;
- дата изготовления (год и месяц) и срок хранения или дата истечения срока хранения (дата ближайшей проверки).
- информация о недопущении несанкционированного применения самоспасателя.
Проверку следует проводить в соответствии с положениями 8.2.
На рабочей части самоспасателя должны быть нанесены следующие данные:
- наименование или условное обозначение изделия;
- серийный номер изделия;
- дата изготовления (год и месяц).
Эксплуатационная документация на самоспасатель должна быть на русском языке и оформлена по ГОСТ 2.601.
В руководстве по эксплуатации должны содержаться следующие сведения:
- тип самоспасателя;
- наименование предприятия (изготовителя);
- область применения;
- комплектность;
- основные технические характеристики (время защитного действия, масса, защитные свойства);
- возраст людей или размеры шеи, для которых предназначен самоспасатель;
- информация о недопущении несанкционированного применения самоспасателя;
- правила подгонки и включения;
- техническое обслуживание;
- правила хранения;
- правила утилизации;
- требования безопасности.
Проверку следует проводить в соответствии с положениями 8.1.
В паспорте на самоспасатель должны содержаться следующие сведения:
- сведения об изготовителе (юридический адрес, телефон, факс, E-mail);
- комплектность;
- основные технические характеристики самоспасателя;
- дата изготовления;
- отметка о приемке;
- печать предприятия-изготовителя;
- сведения об организации-продавце;
- печать организации-продавца;
- срок годности;
- гарантии изготовителя;
- сведения об ответственности предприятия-изготовителя и организации-продавца.
Примечание - Допускается совмещать руководство по эксплуатации и паспорт в одном документе. Проверку следует проводить в соответствии с положениями 8.1.
6.1 Требования безопасности к самоспасателю должны быть изложены в соответствующих разделах руководства по эксплуатации самоспасателя.
6.2 Все надписи на самоспасателе, касающиеся техники безопасности, должны быть на русском языке.
6.3 Самоспасатель является изделием одноразового применения. Не допускается включаться в ранее использовавшийся самоспасатель.
6.4 Материалы, применяемые для изготовления самоспасателей, не должны при хранении выделять в атмосферу вредные вещества в концентрациях, превышающих их предельно допустимые значения.
Самоспасатель должен пройти все стадии и этапы разработки, предусмотренные ГОСТ Р 15.201 и ГОСТ 2.103.
Правила приемки должны быть установлены в нормативно-технической документации на самоспасатель.
Испытания проводят при нормальных климатических условиях по ГОСТ 15150; относится ко всем пунктам методов, за исключением специально оговоренных.
Во всех видах испытаний (за исключением специально оговоренных) используют 3 комплекта самоспасателя.
Результат проверки считают положительным, если при рассмотрении нормативно-технической документации установлено соответствие ее содержания требованиям 5.3.1; 5.4.3; 5.4.9 и 5.8.
Результат проверки считают положительным, если при визуальном осмотре самоспасателя установлено его соответствие требованиям 5.1.1; 5.1.2; 5.4.1; 5.4.2; 5.6.1; 5.6.4 и 5.7.
8.3.1 Средства измерения:
- весы с погрешностью не более ± 3 %.
8.3.2 Порядок проведения испытаний
Измеряют массу рабочей части самоспасателя, без герметичной упаковки и футляра (сумки), с
погрешностью не более
Результат испытания считают положительным, если выполняются требования 5.1.14 и 5.1.15.
8.4.1 Средства измерения:
- насос и мановакуумметр с диапазоном измерений от минус 1200 Па до 1200 Па с погрешностью не более ± 20 Па;
- секундомер с погрешностью не более ± 0,2 с.
8.4.2 Порядок проведения испытаний
Капюшон (лицевую часть) самоспасателя надевают на муляж головы человека. К муляжу присоединяют насос и мановакуумметр и создают им в рабочей части самоспасателя вакуумметрическое давление (1000 ± 20) Па. Делают выдержку 1 мин для стабилизации системы. Включают секундомер и через (1,0 ± 0,1) мин регистрируют изменение давления в рабочей части самоспасателя.
По той же схеме проверки, заглушив клапан выдоха (избыточный клапан), создают в рабочей части избыточное давление 1000 Па. Делают выдержку 1 мин для стабилизации системы. Включают секундомер и через 1 мин регистрируют изменение давления в рабочей части самоспасателя.
Результат проверки считают положительным, если выполняются требования 5.1.17.
При испытании органов ручного управления самоспасателя (кнопки, рычаги и др.) определяют усилие, которое необходимо приложить к ним для включения (выключения) соответствующих устройств.
Усилие создают и измеряют оборудованием с погрешностью не более ± 5 %.
Усилие для включения (выключения) кнопок прикладывают вдоль оси кнопок. Усилие для включения (выключения) рычагов прикладывают в направлении их движения.
Результат проверки считают положительным, если значение усилия, необходимого для включения (выключения) органов ручного управления самоспасателя, не превышает 80 Н.
В испытаниях используют 1 комплект самоспасателя.
Проверка заключается в том, что самоспасатель последовательно подвергают внешним воздействиям по 8.6.1 - 8.6.3 и после каждого вида воздействия визуально определяют отсутствие механических повреждений самоспасателя, влияющих на его работоспособность, а после завершения всех воздействий по 8.6.1 - 8.6.3 определяют соответствие самоспасателя требованиям 5.1.3; 5.1.4; 5.1.6; 5.1.7; 5.1.9 (при легочной вентиляции 35 дм3 /мин) и 5.1.17.
Испытания проводят на вибростенде, обеспечивающем поддержание требуемых параметров, установленных в 5.3.2.
Самоспасатель в транспортной упаковке в снаряженном состоянии жестко крепят в центре
платформы стенда в положении, определяемом надписью или условным знаком «Верх» на упаковке. Испытания проводят с перегрузкой
Количество самоспасателей в транспортной упаковке определяется нормативно-технической документацией на самоспасатель.
Самоспасатель 1 раз роняют с высоты (1,5 ± 0,1) м на ровную бетонную поверхность, обеспечивая свободное падение самоспасателя (начальная скорость равна 0, без отклонения от вертикали).
Испытания самоспасателя проводят при нахождении его в сумке (футляре, коробке).
Испытания проводят в климатической камере, обеспечивающей поддержание заданных параметров, установленных в 5.3.4.
Испытания проводят в такой последовательности:
- самоспасатель выдерживают в климатической камере при температуре (50 ± 3)°С в течение (24 ± 1) ч. После этого самоспасатель выдерживают при температуре окружающего воздуха (25 ± 5)°С в течение (4,0 ± 0,1) ч;
- самоспасатель выдерживают в климатической камере при температуре минус (50 ± 3)°С в течение (4,0 ± 0,1) ч. После этого самоспасатель выдерживают при температуре окружающего воздуха (25 ± 5)°С в течение (4,0 ± 0,1) ч;
- самоспасатель выдерживают в камере тепла и влаги при температуре (35 ± 2)°С и относительной влажности (90 ± 5) % в течение (24 ± 1) ч. После этого самоспасатель выдерживают при температуре окружающего воздуха (25 ± 5)°С в течение (4,0 ± 0,1) ч.
8.7.1 Оборудование:
- камера тепла, обеспечивающая поддержание температуры до 220°С с погрешностью не более ±5°С.
8.7.2 Порядок проведения испытаний
Самоспасатель (без герметичной упаковки и футляра) помещают в камеру тепла с температурой (200 ± 20)°С. Время выдержки самоспасателя в камере должно составлять (60 ± 5) с.
Результат проверки считают положительным, если после ее окончания выполняются требования 5.1.17.
8.8.1 Оборудование и средства измерения:
- металлический муляж головы человека;
- баллон с пропаном;
- горелка с форсунками, площадью (450 ± 20) см2;
- прибор для измерения давления газа с верхним пределом измерений до 5 кПа, с погрешностью ± 0,2 кПа;
- термоэлектрический преобразователь ХА, класс допуска 2 по ГОСТ 6616-94;
- прибор для измерения температуры пламени с погрешностью ± 10°С;
- стойка с кронштейном для подвода самоспасателя к пламени;
- секундомер с погрешностью не более ± 0,1 с.
8.8.2 Подготовка к испытаниям
Капюшон (лицевую часть) самоспасателя надевают на металлический муляж головы человека, закрепленный на поворотной стойке (рисунок 1).
Включают прибор для измерения температуры пламени. Открывают запорный вентиль баллона с пропаном. Подносят запальное устройство к горелке с целью воспламенения газа.
Устанавливают с помощью вентиля рабочее давление газа перед горелкой (2,4 ± 0,2) кПа. Проводят замеры температуры пламени, определяют зону над горелкой, в которой температура пламени составляет (800 ± 50)°С.
8.8.3 Порядок проведения испытаний
Включают огневую установку. Подводят капюшон (лицевую часть) самоспасателя в зону открытого пламени и замеряют время по секундомеру. Время выдержки капюшона (лицевой части) в зоне пламени должно составлять (5,0 ± 0,2) с.
В течение этого времени самоспасатель однократно поворачивают над пламенем на 180°. Через (5,0 ± 0,2) с капюшон (лицевую часть) выводят из зоны пламени и проверяют состояние капюшона (лицевой части). Капюшон (лицевая часть) не должен поддерживать горение или тление более (5,0 ±0,2) с.
Результат испытания считают положительным, если после его окончания капюшон (лицевая часть) не поддерживает горение или тление более (5,0 ± 0,2) с, отсутствует разрушение материалов самоспасателя, а также выполняются требования 5.1.17.

1 - стойка с ложементом для подвода самоспасателя в зону пламени; 2 - горелка с форсунками; 3 - металлический муляж головы человека; 4 - капюшон самоспасателя; 5, 8 - вентили; 6 - прибор для измерения давления газа; 7 - редуктор; 9 - баллон с пропаном
Рисунок 1 - Схема огневой установки по определению устойчивости самоспасателя к воздействию открытого пламени
8.9.1 Оборудование и средства измерения:
- металлический муляж головы человека;
- секундомер с погрешностью не более ± 0,1 с;
- насос «искусственные легкие», имитирующий вентиляционную функцию легких человека и создающий легочную вентиляцию 35 дм3/мин (20 циклов в минуту по 1,75 дм3 за 1 цикл);
- датчик для измерения плотности теплового потока, диапазон измерений от 2 до 20 кВт/м2 с погрешностью не более ± 5 %;
- вольтметр, предел измерений от 0 до 100 мВ, класс точности не ниже 0,5;
- мановакуумметр с диапазоном измерений от минус 1000 до 1000 Па с погрешностью не более ±20 Па.
8.9.2 Подготовка к испытаниям
Надевают капюшон (лицевую часть) на металлический муляж головы человека. Соединяют муляж с насосом «искусственные легкие» (рисунок 2).
Включают источник теплового потока и с помощью датчика теплового потока определяют место, в котором плотность теплового потока составляет (8,5 ± 0,5) кВт/м2, и отмечают данное место на подставке. Устанавливают на подставку разделительный экран. На отмеченное место ставят металлический муляж головы человека с надетым капюшоном (лицевой частью). Включают насос «искусственные легкие».
8.9.3 Проведение испытания
Убирают разделительный экран. Испытание проводят в течение 3 мин. В процессе испытания контролируют сопротивление дыханию на вдохе и выдохе в самоспасателе при легочной вентиляции 35 дм3/мин.

1 - металлический муляж головы человека; 2 - капюшон; 3 - регенеративный патрон; 4 - патрубок для подключения насоса «искусственные легкие»; 5 - источник теплового излучения; 6 - рефлектор
Рисунок 2 - Схема установки по определению устойчивости самоспасателя к воздействию теплового потока
Результат проверки считают положительным, если после окончания отсутствуют разрушения материалов самоспасателя и выполняются требования 5.1.17.
Усилие вскрытия замка футляра (сумки) определяют с использованием динамометра, с погрешностью не более ± 5 %.
Футляр (сумку) со самоспасателем жестко крепят на столе. Одним концом динамометр зацепляют за замок футляра (сумки). Динамометром в осевом направлении плавно создают растягивающее усилие до момента вскрытия замка.
Результат проверки считают положительным, если выполняются требования 5.6.3.
Проверку проводят в соответствии с методом, изложенным в 7.13.4 ГОСТ Р 12.4.220-2001.
8.12.1 Оборудование:
- стенд-имитатор внешнего дыхания человека, описание которого приведено в приложении А.
8.12.2 Подготовка к испытаниям
При подготовке самоспасателя к испытанию допускается вмешательство в его конструкцию, необходимое для определения некоторых параметров при условии, что это не нарушит нормальной работы самоспасателя. Допускается присоединение к капюшону (лицевой части) приспособления для отбора проб газовоздушной смеси и контроля температуры газовоздушной смеси под капюшоном (лицевой частью).
Вносят в протокол испытания в соответствии с приложением Б заданные значения показателей работы стенда по Б.2.1 - Б.2.8.
Стенд настраивают на дыхательный режим, соответствующий условиям конкретного испытания, и фиксируют в разделе 2 протокола испытаний полученные фактические значения.
Значения показателей режимов работы стенда во время испытаний должны соответствовать значениям, приведенным в таблице 2 с учетом допусков, приведенных в приложении А.
Самоспасатель при каждом испытании помещают в климатическую камеру в рабочем положении, капюшон (лицевую часть) надевают на муляж головы человека (рисунок 3) или приспособление, герметично подключенные к стенду, и закрывают камеру.
Таблица 2
|
Наименование показателя |
Работа |
|
|
средней тяжести |
тяжелая |
|
|
Выделение диоксида углерода, дм3/мин |
1,4 |
2,8 |
|
Потребление кислорода, дм3/мин |
1,4 |
2,8 |
|
Объемная доля диоксида углерода на выдохе, % |
4,0 |
4,0 |
|
Легочная вентиляция, дм3/мин |
35 |
70 |
|
Дыхательный объем, дм3 |
1,75 |
2,33 |
|
Частота дыхания, мин-1 |
20 |
30 |
|
Примечание - Показатели приведены при температуре 37°С |
||

1 - патрубок для измерения сопротивления дыхания; 2 - патрубок для измерения СO2
Рисунок 3 - Муляж головы человека (голова Шеффилда)
8.12.3 Порядок проведения испытаний
Испытания проводят при различных условиях дыхания и значениях температуры воздуха в климатической камере.
Испытания самоспасателей проводят при режиме, характеризующемся совокупностью показателей, приведенных в таблице 2.
Объем испытаний для каждого режима, определяемого совокупностью дыхательного режима и значения температуры, приведен в таблице 3.
Таблица 3
|
Температура в климатической камере, °С |
Легочная вентиляция, дм3/мин |
|
|
35 |
70 |
|
|
минус (10 ± 2) |
+ |
- |
|
(25 ± 2) |
+ |
+ |
|
(60 ± 2) |
+ |
- |
Перед испытанием самоспасатель выдерживают в климатической камере при соответствующей температуре (кроме температуры минус 10°С и плюс 60°С) в течение 30 мин.
После выдержки самоспасатель подсоединяют к стенду, приводят в действие пусковое устройство, а затем через равные промежутки времени, но не реже чем через 5 мин регистрируют в протоколе испытаний следующие параметры работы испытываемого самоспасателя:
- сопротивление дыханию;
- показания индикатора отработки (при наличии индикатора в самоспасателе);
- объемную долю диоксида углерода на вдохе и в дыхательном мешке;
- объемную долю кислорода во вдыхаемой ГДС;
- температуру вдыхаемого воздуха при температуре окружающей среды (25 ± 2)°С.
По окончании испытания в протоколе регистрируется:
- номинальное и фактическое время защитного действия самоспасателя.
Испытания проводятся до исчерпания защитной способности самоспасателя, которая определяется наступлением одного из нижеперечисленных событий:
- превышение значений сопротивления дыханию (5.1.6 - 5.1.8);
- увеличение объемной доли диоксида углерода на вдохе и в дыхательном мешке свыше 3,0 % (об.);
- несоответствие значений по объемной доле кислорода (5.1.10);
- превышение значений температуры вдыхаемого воздуха (5.1.11).
8.12.4 Обработка результатов
Определяют и фиксируют в протоколе испытаний максимальные и минимальные значения показателей.
Рассчитывают средние значения показателей и фиксируют их в протоколе.
При проведении проверки проводятся испытания:
- на воздействие повышенной температуры t = (50 ± 1)°С;
- на воздействие высокой относительной влажности воздуха φ = (95 - 100) %, t = (35 ± 1)°С.
Один цикл испытаний на воздействие повышенной температуры и высокой относительной влажности воздуха составляет 72 часа при температуре (50 ± 1)°С и 72 часа при температуре (35 ± 1)°С и относительной влажности воздуха от 95 % до 100 %.
Один такой цикл соответствует одному году ожидания применения самоспасателя.
8.13.1.1 Порядок проведения испытаний
Самоспасатели в количестве 80 шт. вначале подвергают испытаниям, эквивалентным 5 годам ожидания применения, что включает в себя испытания на воздействие повышенной температуры и высокой относительной влажности в количестве 5 циклов.
После этого самоспасатели в количестве 80 шт. подвергают испытаниям, имитирующим применение по прямому назначению. Каждый самоспасатель подвергается одному циклу испытаний по применению.
Цикл испытания по применению самоспасателя должен включать в себя следующие операции:
- надевание капюшона на муляж головы человека;
- включение самоспасателя в работу;
- наработку самоспасателя на стенде-имитаторе внешнего дыхания человека в течение не менее 15 или 25 мин (в зависимости от назначения самоспасателя);
- снятие капюшона с муляжа головы человека.
К отказам самоспасателя (за время защитного действия) при проведении испытаний относятся:
- превышение значений сопротивления дыханию (5.1.6 - 5.1.8);
- увеличение объемной доли диоксида углерода в ГДС свыше 3,0 % (об.);
- несоответствие значений по объемной доле кислорода (5.1.10);
- превышение значений температуры вдыхаемого воздуха (5.1.11).
Результат проверки считают положительным, если при выполнении полного комплекса испытаний не произошло ни одного отказа.
Вероятность безотказной работы самоспасателя подтверждается всем комплексом испытаний.
Проверку проводят по ГОСТ 27.410.
Исходными данными для проверки являются:
- браковочный уровень вероятности работы Rβ(t) = 0,98;
- приемочный уровень вероятности работы Rα(t) = 0,998;
- риск поставщика (изготовителя) (α = 0,2);
- риск потребителя (заказчика) (β = 0,2).
Для подтверждения заданного показателя вероятности безотказной работы самоспасателя за время защитного действия необходимо провести не менее 80 проверок.
Допускается засчитывать результаты аналогичных испытаний самоспасателя по 8.13.1.
Отказы при проведении испытаний самоспасателя с участием людей определяет работающий в самоспасателе. К ним относятся, например, значительное, но все же переносимое повышенное сопротивление дыханию, увеличение объемной доли диоксида углерода во вдыхаемой смеси свыше 3,0 % (об.).
Общим признаком отказов при испытаниях с участием людей является потеря способности самоспасателя защищать органы дыхания и зрения человека и отсутствие возможности человеком продолжать дальнейшую работу.
Результат проверки считают положительным, если при проведении 80 проверок самоспасателей продолжительностью не менее 15 или 25 мин каждая (в зависимости от назначения самоспасателя) не произошло ни одного отказа.
Испытания проводят в соответствии с ГОСТ 12.4.061.
Испытания самоспасателя с участием испытателей-добровольцев дополняют основную оценку самоспасателя, полученную при испытаниях на стенде-имитаторе внешнего дыхания человека.
Испытания проводят с целью определения:
- защитных свойств самоспасателя;
- условий дыхания в самоспасателе;
- физиологических реакций людей на работу в самоспасателе;
- особенности работы составных частей и систем самоспасателя;
- удобства пользования самоспасателем.
Испытания должны проводиться под руководством лица, ответственного за испытания.
Ответственный за испытания самоспасателей привлекает для участия в экспериментах испытателей, а также врача или физиолога.
Испытатели должны получить полную информацию о характере и объеме испытаний, допуск к которым осуществляет ответственный за испытания.
Испытания проводят в эргометрическом зале, климатической камере, камере масляного тумана.
8.15.1 Помещения, оборудование и средства измерения:
-
эргометрический зал площадью не менее
- климатическая камера с диапазоном температур от минус 10°С до 60°С с погрешностью не более ± 3°С;
- помост площадью (9,0 ± 1,5) дм2 и высотой (3,0 ± 0,1) дм;
- термометр для измерения температуры тела с погрешностью не более ± 0,1°С;
-
тонометр медицинский манометрический с погрешностью не более ±
- газоанализатор для измерения концентрации диоксида углерода в диапазоне от 0 до 5 % (об.);
- секундомер с погрешностью не более ±0,1 с.
8.15.2 Подготовка к испытаниям
Капюшон (лицевую часть) самоспасателя оборудуют штуцером для определения сопротивления дыханию в соответствии с ГОСТ 12.4.005. Дыхательный мешок оборудуют штуцером для замера в нем объемных долей диоксида углерода и кислорода.
8.15.3 Условия проведения испытаний
Для проведения экспериментов привлекаются испытатели-добровольцы - мужчины и женщины в возрасте от 17 до 50 лет, с размером шеи от 3,0 дм, в том числе имеющие усы, бороду, объемную прическу, носящие очки.
Количество испытателей - не менее 10 человек.
Испытания проводят путем выполнения испытателями дозированной физической работы, соответствующей реальной нагрузке людей при эвакуации из помещений во время пожара.
Комплекс упражнений выполняется в лабораторных условиях.
Испытания самоспасателя с участием испытателей-добровольцев проводят при следующих условиях окружающей среды:
- температуре окружающей среды минус (10 ± 2)°С;
- температуре окружающей среды (25 ± 2)°С;
- температуре окружающей среды (40 ± 2)°С.
Испытатели должны быть одеты в повседневную одежду и обувь, соответствующую климатическим условиям.
8.15.4 Проведение испытаний
Перед началом испытаний и после их завершения измеряют и фиксируют массу тела, жизненную емкость легких, частоту пульса, артериальное давление, температуру тела (аксилярную) испытателя и фиксируют данные в соответствии с приложением В.
При выполнении испытателем комплекса упражнений в лабораторных условиях контролируют сопротивление дыханию, параметры самоспасателя по 5.1.9; 5.4.4; 5.4.5; 5.4.7 и 5.5.1.
Продолжительность и последовательность выполнения упражнений представлены в таблице 4.
Таблица 4
|
Наименование упражнений |
Продолжительность выполнения упражнения и отдыха, мин |
||
|
Температура окружающей среды, °С |
|||
|
минус 10 |
25 |
40 |
|
|
1 Ходьба со скоростью 140 шагов в минуту |
5/-* |
5/- |
3/1 |
|
2 Чтение вслух смыслового значения указательных знаков безопасности |
3/-** |
||
|
3 Подъем на помост высотой (3,0 ± 0,1) дм и спуск с него в темпе 20 раз в минуту |
5/1 |
5/1 |
3/1 |
|
4 Ходьба со скоростью 140 шагов в минуту |
до завершения ВЗД самоспасателя |
||
|
* В числителе указана продолжительность выполнения упражнения, а в знаменателе продолжительность отдыха после выполнения упражнения. ** При комнатной температуре |
|||
Перед испытанием самоспасатель выдерживают при заданной температуре (кроме минус 10°С) в течение (30 ± 1) мин.
Все упражнения выполняются каждым испытателем последовательно, без выключения из самоспасателя, как во время работы, так и во время отдыха.
Испытатели осуществляют вслух чтение смыслового значения не менее 10 предложенных указательных знаков безопасности размером 100
Во время ходьбы испытатели должны разговаривать, подавать и выполнять команды.
Во время испытаний проводится непрерывный контроль сопротивления дыханию, объемной доли диоксида углерода в дыхательном мешке, а также частоты пульса испытателя.
Испытания проводятся до завершения ВЗД самоспасателя, установленного в технической документации на изделие.
По окончании комплекса упражнений испытатель сообщает о самочувствии, степени усталости и дает субъективную оценку испытуемого самоспасателя.
Испытания самоспасателя проводят до наступления одного из событий:
- достижения частоты пульса 150 мин-1;
- увеличения объемной доли диоксида углерода в дыхательном мешке более 3,0 %;
- уменьшения объемной доли кислорода в дыхательном мешке менее 17,0 %.
- невозможности испытателем продолжать дальнейшую работу.
После испытаний рассчитывают процентное отношение правильно прочтенных знаков безопасности по отношению к общему количеству знаков безопасности (должно быть не менее 80 %), на основании мнения испытателя оценивают удобство пользования самоспасателем и условий дыхания в соответствии с требованиями 5.4.4; 5.4.5; 5.4.7 и 5.5.1, а врач или физиолог при осмотре испытателя определяет наличие и степень наминов в мягких тканях лица и головы.
8.16.1 Оборудование, аппаратура и материалы:
- комплект аппаратуры и материалов в соответствии с ГОСТ 12.4.157 (2.1);
-
движущаяся беговая дорожка, расположенная внутри камеры масляного тумана, обеспечивающая движение по ней со скоростью
- секундомер с погрешностью не более ±0,1 с;
- грузы массой (5 ± 0,1) кг.
Примечание - Допускается проведение испытаний без использования беговой дорожки путем выполнения различных упражнений (ходьба, наклоны и повороты головы, глубокие вдохи, разговор и т.п.), имитирующих выполнения тяжелой работы.
8.16.2 Подготовка к испытаниям
В подмасочном пространстве капюшона (в зоне дыхания) устанавливают штуцер для отбора пробы ГДС.
8.16.3 Условия проведения испытаний
В испытаниях должно участвовать не менее 10 человек, изучивших правила применения самоспасателя, из них:
- не менее 7 человек - мужчины и женщины в возрасте от 17 до 50 лет с различными антропометрическими размерами головы (по вертикальному обхвату - длины круговой линии, проходящей
по подбородку и щекам через высшую точку головы (макушки) - от 610 до
- 1 человек, имеющий размер шеи 3,0 дм;
- 1 человек, имеющий бороду;
- 1 человек, имеющий длинные, распущенные по шее волосы или объемную прическу.
8.16.4 Проведение испытания
Испытания проводят в соответствии с ГОСТ 12.4.157 (разделы 2 и 3).
По команде руководителя испытаний каждый испытатель на время самостоятельно изучает пиктограммы, нанесенные на сумке (футляре) или герметичной упаковке, открывает ее, надевает самоспасатель и приводит его в рабочее состояние. Оценивают удобство открытия сумки (футляра), герметичной упаковки и определяют время, затраченное каждым испытателем для включения в самоспасатель. По окончании испытаний определяют среднее значение времени надевания и приведения в действие самоспасателя.
Испытатели, включенные в самоспасатель, по очереди заходят в камеру масляного тумана и выполняют упражнения.
Продолжительность и последовательность выполнения упражнений представлены в таблице 5.
При ходьбе испытатель выполняет повороты головы из стороны в сторону (не менее 15 раз), как бы осматривая стены камеры масляного тумана, а также поднимает и опускает голову (приблизительно 15 раз), как бы осматривая пол и потолок.
Во время испытаний проводится непрерывный контроль объемной доли диоксида углерода в дыхательном мешке, коэффициента подсоса масляного тумана Кмт в подмасочном пространстве капюшона (в зоне дыхания).
Во время отдыха испытатель читает вслух специальный текст, а также выполняет команды руководителя испытаний.
После завершения упражнений оценивают разборчивость речи и рассчитывают процентное отношение правильно выполненных испытателем команд к общему количеству команд. Оценку разборчивости речи дает руководитель испытаний.
Рассчитывают среднее значение коэффициента подсоса в подмасочное пространство капюшона (лицевой части) в зоне дыхания, в том числе отдельно для категории людей, в которую входят люди, имеющие бороду и длинные волосы.
На основании мнения испытателя оценивают удобство пользования самоспасателем и условий дыхания в нем.
Таблица 5
|
Наименование упражнений |
Продолжительность выполнения упражнений и отдыха, мин |
|
1 Ходьба по горизонтальной движущейся дорожке со скоростью (6,0 ±0,1) км/ч с грузами по (5,0 ± 0,1) кг в обеих руках |
3/1* |
|
2 Подъем на помост высотой (3,0 ± 0,1) дм и спуск с него в темпе 20 раз в минуту |
3/1 |
|
3 Подъем двумя руками грузов массой (5,0 ± 0,1) кг на высоту (1,0 ± 0,1) м, темп 20 раз в минуту |
3/1 |
|
4 Ходьба по горизонтальной движущейся дорожке со скоростью (6,0 ±0,1) км/ч с грузами по (5,0 ± 0,1) кг в обеих руках |
до завершения ВЗД самоспасателя |
|
* В числителе указана продолжительность выполнения упражнения, а в знаменателе продолжительность отдыха после выполнения упражнения. |
|
Результат проверки считают положительным, если правильно выполненные команды составляют не менее 80 % от общего количества команд, выполняются требования 5.1.5; 5.1.13; 5.4.6 и 5.5.1.
Испытания проводятся в соответствии с методом, изложенным в 7.18 ГОСТ Р 12.4.189-99.
Результат проверки считают положительным, если значение площади поля зрения удовлетворяет требованиям 5.4.8.
Стенд-имитатор внешнего дыхания человека предназначен для объективной оценки самоспасателя при работе с различной дыхательной нагрузкой и в различных внешних микроклиматических условиях.
Принципиальная схема стенда показана на рисунке А.1.
При испытании самоспасателя на стенде определяют время защитного действия, условия дыхания в нем.
Стенд имитирует вентиляционную функцию легких и легочный газообмен. Для имитации вентиляционной функции легких стенд создает пульсирующий поток газа с изменением объемного расхода, близким к синусоидальному, и равной продолжительностью фаз вдоха и выдоха.
Стенд имитирует температурно-влажностный режим выдоха путем нагревания и увлажнения выдыхаемой ГДС.
Объем дыхательного цикла должен быть от 1,5 до 3,0 дм3, частота дыхания должна быть от 20 до 30 мин-1.
Температура и относительная влажность газовоздушной смеси на выдохе из муляжа должны соответствовать (36,5 ± 0,5)°С и (95 ± 3) %.
В состав стенда должна входить климатическая камера, где поддерживается температура в пределах от минус 10°С до 60°С с отклонением от заданной величины не более ± 2°С.
Стенд должен быть укомплектован контрольно-измерительными приборами и устройствами, позволяющими устанавливать и контролировать параметры дыхательной нагрузки и регистрировать:
- сопротивление дыханию в самоспасателе в диапазоне от минус 2000 до 2000 Па с погрешностью не более ± 20 Па;
- объемную долю диоксида углерода вдыхаемой ГДС в диапазоне от 0 % до 5 % с погрешностью не более ± 0,1 %;
- объемную долю кислорода вдыхаемой ГДС в диапазоне от 0 % до 100 % с погрешностью не более ±0,1 %;
- температуру вдыхаемой ГДС от 0°С до 100°С с погрешностью измерений не более ± 1°С.

1 - дозатор диоксида углерода; 2 - термостат с увлажнителем; 3 - анализатор диоксида углерода; 4 - датчики температуры и влажности; 5 - «Шеффилдский» муляж головы человека; 6 - климатическая камера; 7 - односторонний клапан; 8 - прибор для измерения сопротивления дыханию; 9 - насос «искусственные легкие»; 10 - клапанная коробка с клапанами вдоха и выдоха; 11 - поглотитель диоксида углерода; 12 - насос для отбора проб; 13 - анализатор диоксида углерода
Рисунок А.1 - Принципиальная схема стенда-имитатора внешнего дыхания человека
|
_____________________________________________________________________________ (наименование организации, проводившей испытания, подразделение) _____________________________________________________________________________ (место проведения испытания, организация, подразделение, город, дата) Б.1 Общие сведения о самоспасателе Б.1.1 Наименование самоспасателя и его обозначение________________________________ Б.1.2 Изготовитель_____________________________________________________________ Б.1.3 Обозначение нормативного документа, в соответствии с которым Б.1.4 Номер самоспасателя______________________________________________________ Б.1.5 Дата изготовления_________________________________________________________ Б.2 Условия испытаний
Б.3 Запись наблюдений в процессе испытания
Дополнительные данные________________________________________________________ Условное время защитного действия самоспасателя, мин_____________________________ Фактическое время защитного действия самоспасателя, мин__________________________ Б.4 Замечания Ответственный за испытание ____________________________________________________ (подпись), (Ф.И.О.) |
|||||||||||||||||||||||||||||||||||||||||||||||||||||||||||||||||||||||||
|
_____________________________________________________________________________ (наименование организации, проводившей испытания, подразделение) _____________________________________________________________________________ (место проведения испытания, организация, подразделение, город, дата) 8.1 Общие сведения о самоспасателе 8.1.1 Наименование самоспасателя и его обозначение________________________________ 8.1.2 Изготовитель_____________________________________________________________ 8.1.3
Обозначение нормативного документа, в соответствии с которым изготовлен 8.1.4 Номер самоспасателя_______________________________________________________ 8.1.5 Дата изготовления_________________________________________________________ 8.2 Условия испытаний 8.2.1 Температура окружающей среды, °С_________________________________________ 8.2.2 Относительная влажность, %________________________________________________ 8.3 Данные об испытателе-добровольце 8.3.1 Фамилия, имя, отчество____________________________________________________ 8.3.2 Возраст, лет______________________________________________________________ 8.3.3 Рост_____________________________________________________________________
В.4 Запись наблюдений в процессе испытания
Время надевания и приведения самоспасателя в действие __________с. Замечания испытателя:__________________________________________________________ Замечания ведущего испытания:__________________________________________________ Испытатель ___________________________________________________________________ (подпись), (Ф.И.О.) Ответственный за испытание ____________________________________________________ (подпись), (Ф.И.О.) |
|||||||||||||||||||||||||||||||||||||||||||||
Ключевые слова: самоспасатель изолирующий, сопротивление дыханию, время защитного действия, газовая дыхательная смесь, легочная вентиляция, общие технические требования, методы испытаний.