ИЗМЕНЕНИЕ № 2
к СТО ЦКТИ 10.003-2007 Трубопроводы пара и горячей
воды тепловых
станций. Общие технические требования к изготовлению
Утверждено и введено в действие Приказом генерального директора ОАО «НПО ЦКТИ» от 25.08.2009 № 246.
Согласованию с Ростехнадзором не подлежит (письмо Ростехнадзора от 02.03.2009 № 09-02-49/234)
Дата введения 2009-10-01
Приложение В изложить в новой редакции:
В.1. Конструктивные элементы подготовленных под сварку кромок и выполненных сварных швов должны соответствовать, указанным на рисунках В.1-В.7 и в таблицах В.1 и В.2.
В.2. Значение внутренней расточки dp, подготовленных под сварку кромок, определяется по таблице В.2.
В.3. Длина цилиндрической части lр расточки принята в соответствии с требованиями РД 34.17.302 (ОП501ЦД)».
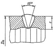
В.4. Переход от поверхности внутренней расточки к необработанной поверхности труб должен быть плавным под углом не более 15°.
Допускается выполнять переход под углом не более 27°, включительно, а длину расточки lр = 12+3 мм для деталей литых, кованных, штампованных и штампосварных; деталей, изготавливаемых из труб с увеличенной толщиной стенки (отводов гнутых, переходов и др.), отводов гнутых с прямыми участками менее наружного диаметра изгибаемой трубы, а также для арматуры.
В.5. Плавный переход по внутренней поверхности в месте стыка труб между собой или трубными деталями допускается обеспечивать методом раздачи (рисунок В.2а), конусной расточки деталей с меньшим внутренним диаметром (рисунки В.2б) под углом не более 15°.
В.6. Расточка на размер dp может не производиться, если внутренние диаметры стыкуемых труб и деталей обеспечивают соблюдение требований по смещению обработанных кромок под сварку.
Необработанная поверхность должна быть зачищена до металлического блеска на длине не менее 20 мм.
В.7. Допускается изготовление деталей с разделкой под сварку С4 и С5 согласно рисункам В.4 и В.5.
В.8. При сварке с трубами литых, кованых, штампованных и штампосварных деталей и арматуры плавный переход от одного сечения к другому должен обеспечиваться комбинированно: за счет утонения стенки конца элемента с большей толщиной стенки до расчетного значения на кромке и за счет наклонного расположения поверхности сварного шва со стороны раскрытия кромок (рисунок В.6).
В.9. Обточка по наружной поверхности должна выполняться на выход. При длине обточки более 50 мм допускается выход обточки под углом 45° (рисунки В.6 и В.7).
В.10. Сварные соединения труб с арматурой, фасонными и трубными деталями допускается выполнять с комбинированной разделкой кромок: со скосом кромок со стороны трубы по типу шва, установленного настоящим стандартом, а со стороны арматуры или фасонной детали по типу С4 и С5 (рисунок В.7).
В.11. Указанные требования к сварным соединениям удовлетворяют EN 29692 (ИСО 9692) и EN 25817 (ИСО 5817). Термины, используемые в таблице В.1, соответствуют ИСО 2553. Ссылочные номера сварочных процессов соответствуют ИСО 857 и ГОСТ 29297 (ЕН 24063).
Таблица В.1
|
Условное обозначение шва сварного соединения |
Характер выполненного шва и форма подготовленных кромок |
Тип сварки |
Форма поперечного сечения выполненного шва и подготовленных кромок |
Размеры свариваемых труб, мм |
|
|
наружный диаметр, Da |
толщина стенки, s |
||||
С1 |
Односторонний со скосом двух кромок без расточки |
(111) 131 135 141 |
|
До 16 вкл. |
До 4,0 вкл. |
|
С2 |
|
В соответствии с таблицей В.2 |
|||
|
Односторонний со скосом двух кромок и расточкой |
|
||||
|
С3 |
Односторонний с криволинейным скосом двух кромок и расточкой |
(111) 131 135 141 |
|
Свыше 89 |
Свыше 7 |
|
С4 |
Односторонний со скосом двух кромок и расточкой |
Вид сварки |
|
108 и выше |
Свыше 16 |
|
С5 |
|
108 и выше |
До 16 вкл. |
||
|
Примечания 1 Для швов С3 при толщине стенки свыше 16 мм допускается уменьшение угла разделки кромок до 20°. 2 Для швов С4 допускается увеличение угла разделки кромок до 30°. 3 Для швов С4 и С5 допускается автоматическая или ручная дуговая и аргонодуговая сварка. |
|||||

Рисунок В.1 - Шов С1 односторонний со скосом двух кромок без расточки
Примечание - для шва С2 угол скоса кромок - 35+2-5.

|
Рисунок В.2а |
Рисунок В.2б |
Примечание - Разность толщин труб не должна превышать:
15% - для труб с толщиной стенки до 12 мм и
30% - для труб с толщиной стенки более 12 мм, но не более 5 мм.

Рисунок В.3 - Шов С3 односторонний с криволинейным скосом двух кромок и расточкой

Рисунок В.4 - Шов С4 односторонний со скосом двух кромок и расточкой

Рисунок В.5 - Шов С5 односторонний со скосом двух кромок и расточкой

Рисунок В.6 - Шов с комбинированной расточкой элемента с большей толщиной стенки

Рисунок В.7 - Шов с комбинированной разделкой кромок
Таблица В.2
Размеры в миллиметрах
|
Размеры труб |
Размеры швов и теоретическая масса наплавленного металла |
|||||||||||||||||
|
Проход условный |
Da×S |
dp |
Sk не менее |
lp÷5 |
h |
С1 |
С2 |
С3 |
С4 |
С5 |
||||||||
|
Номин. |
Пред. откл |
Детали |
После зачистки сварного шва |
Вид сварки |
b |
масса, кг |
b |
масса, кг |
b |
масса, кг |
b |
|||||||
|
Ручная |
Автоматическая |
Не менее |
Не менее |
Не менее |
Не менее |
|||||||||||||
|
Номин. |
Пред. откл. |
Номин. |
Пред. откл. |
|||||||||||||||
|
р = 25,01 МПа, t = 545 °C |
||||||||||||||||||
|
10 |
16×3,5 |
- |
- |
- |
- |
- |
1,0 |
±0,5 |
1,0 |
±0,5 |
11 |
0,008 |
- |
- |
- |
- |
- |
- |
|
10 |
16×4 |
- |
- |
- |
- |
- |
1,0 |
±0,5 |
1,0 |
±0,5 |
12 |
0,009 |
- |
- |
- |
- |
- |
- |
|
15 |
28×6 |
- |
- |
- |
- |
- |
1,5 |
±0,5 |
1,5 |
±0,5 |
- |
- |
13 |
0,03 |
- |
- |
- |
- |
|
15 |
28×7 |
- |
- |
- |
- |
- |
1,5 |
±0,5 |
1.5 |
±0,5 |
- |
- |
14 |
0,03 |
- |
- |
- |
- |
|
32 |
57×12 |
- |
- |
- |
- |
- |
1,5 |
±0,5 |
1,5 |
±0,5 |
- |
- |
21 |
0,16 |
- |
- |
- |
- |
|
50 |
76×15 |
- |
- |
- |
- |
- |
1,5 |
±0,5 |
1,5 |
±0,5 |
- |
- |
25 |
0,32 |
- |
- |
- |
- |
|
50 |
76×16 |
- |
- |
- |
- |
- |
1,5 |
±0,5 |
1,5 |
±0,5 |
- |
- |
27 |
0,36 |
- |
- |
- |
- |
|
50 |
89×l7 |
57 |
÷0,46 |
15,0 |
14,5 |
60 |
1,5 |
±0,5 |
1,5 |
±0,5 |
- |
- |
26 |
0,42 |
- |
- |
- |
- |
|
50 |
89×18 |
56 |
÷0,46 |
16,1 |
15,6 |
65 |
1,5 |
±0,5 |
1,5 |
±0,5 |
- |
- |
27 |
0,45 |
- |
- |
- |
- |
|
65 |
108×22 |
67 |
÷0,46 |
18,7 |
18,2 |
60 |
1,0 |
+3,0 |
2,5 |
+2,5 -1,5 |
- |
- |
- |
- |
26 |
0,84 |
17 |
- |
|
65 |
108×24 |
63 |
÷0,46 |
20,1 |
19,6 |
60 |
1,0 |
+3,0 |
2,5 |
+2,5 -1,5 |
- |
- |
- |
- |
26 |
0,94 |
18 |
- |
|
80 |
133×26 |
83 |
÷0,54 |
22,5 |
22,0 |
65 |
1,0 |
+3,0 |
2,5 |
+2,5 -1,5 |
- |
- |
- |
- |
28 |
1,35 |
18 |
- |
|
80 |
133×28 |
79 |
÷0,46 |
24,5 |
24,0 |
65 |
1,0 |
+3,0 |
2,5 |
+2,5 -1,5 |
- |
- |
- |
- |
30 |
1,49 |
19 |
- |
|
100 |
155×32 |
97 |
÷0,54 |
27,0 |
26,5 |
70 |
1,0 |
+4,0 |
2,5 |
+2,5 -1,5 |
- |
- |
- |
- |
32 |
2,20 |
20 |
- |
|
100 |
159×34 |
93 |
÷0,54 |
29,4 |
28,9 |
75 |
1,0 |
+4,0 |
2,5 |
+2,5 -1,5 |
- |
- |
- |
- |
33 |
2,41 |
21 |
- |
|
125 |
194×38 |
120 |
÷0,54 |
33,0 |
32,5 |
80 |
1,0 |
+4,0 |
3,0 |
+3,0 -2,0 |
- |
- |
- |
- |
35 |
3,50 |
2,2 |
- |
|
125 |
194×40 |
116 |
÷0,54 |
35,4 |
34,9 |
80 |
1,0 |
+4,0 |
3,0 |
+3,0 -2,0 |
- |
- |
- |
- |
36 |
3,75 |
22 |
- |
|
150 |
219×40 |
141 |
÷0,63 |
36,2 |
35,7 |
80 |
1,0 |
+4,0 |
3,0 |
+3,0 -2,0 |
- |
- |
- |
- |
36 |
4,30 |
22 |
- |
|
150 |
219×45 |
131 |
÷0,63 |
39,5 |
39,4 |
80 |
1,0 |
+4,0 |
3,0 |
+3,0 -2,0 |
- |
- |
- |
- |
39 |
5,07 |
23 |
- |
|
150 |
245×48 |
151 |
÷0,63 |
42,0 |
41,5 |
85 |
1,0 |
+4,0 |
3,0 |
+3,0 -2,0 |
- |
- |
- |
- |
39 |
6,30 |
24 |
- |
|
150 |
245×50 |
147 |
÷0,63 |
44,6 |
44,1 |
85 |
1,0 |
+4,0 |
3,0 |
+3,0 -2,0 |
- |
- |
- |
- |
42 |
6,68 |
25 |
- |
|
175 |
273×50 |
175 |
÷0,63 |
46,0 |
45,0 |
85 |
1,0 |
+4,0 |
3,0 |
+3,0 -2,0 |
- |
- |
- |
- |
42 |
7,65 |
25 |
- |
|
175 |
273×56 |
163 |
÷0,63 |
49,7 |
49,2 |
95 |
1,0 |
+4,0 |
3,0 |
+3,0 -2,0 |
- |
- |
- |
- |
46 |
8,89 |
26 |
- |
|
200 |
325×60 |
208 |
÷0,72 |
54,0 |
53,5 |
100 |
1,0 |
+4,0 |
3,0 |
+3,0 -2,0 |
- |
- |
- |
- |
48 |
11,83 |
27 |
- |
|
225 |
377×70 |
240 |
÷0,72 |
63,0 |
62,5 |
110 |
1,0 |
+4,0 |
3,0 |
+3,0 -2,0 |
- |
- |
- |
- |
53 |
17,64 |
30 |
- |
|
250 |
426×80 |
270 |
÷0,81 |
73,0 |
72,5 |
50 |
1,0 |
+4,0 |
3,0 |
+3,0 -2,0 |
- |
- |
- |
- |
59 |
24,62 |
33 |
- |
|
300 |
465×80 |
308 |
÷0,81 |
74,5 |
74,0 |
50 |
1,0 |
+4,0 |
3,0 |
+3,0 -2,0 |
- |
- |
- |
- |
59 |
27,42 |
33 |
- |
|
р = 13,73 МПа, t = 560 °C |
||||||||||||||||||
|
10 |
16×3 |
- |
- |
- |
- |
- |
1,0 |
±0,5 |
1,0 |
±0,5 |
10 |
0,006 |
- |
- |
- |
- |
- |
- |
|
20 |
28×4,5 |
- |
- |
- |
- |
- |
1,5 |
±0,5 |
1,5 |
±0,5 |
- |
- |
10 |
0,02 |
- |
- |
- |
- |
|
15 |
28×6 |
- |
- |
- |
- |
- |
1,5 |
±0,5 |
1,5 |
±0,5 |
- |
- |
13 |
0,03 |
- |
- |
- |
- |
|
40 |
57×10 |
- |
- |
- |
- |
- |
1,5 |
±0,5 |
1,5 |
±0,5 |
- |
- |
18 |
0,12 |
- |
- |
- |
- |
|
50 |
76×13 |
- |
- |
- |
- |
- |
1,5 |
±0,5 |
1,5 |
±0,5 |
- |
- |
22 |
0,25 |
- |
- |
- |
- |
|
65 |
89×15 |
61 |
÷0,46 |
11,8 |
11,3 |
50 |
1,5 |
±0,5 |
1,5 |
±0,5 |
- |
- |
24 |
0,36 |
- |
- |
- |
- |
|
65 |
108×20 |
70 |
÷0,46 |
13,5 |
13,0 |
70 |
1,0 |
+3,0 |
2,5 |
+2,0 -1,5 |
- |
- |
- |
- |
25 |
0,76 |
17 |
|
|
100 |
133×20 |
94 |
÷0,54 |
17,3 |
16,8 |
70 |
1,0 |
+3,0 |
2,5 |
+2,0 -1,5 |
- |
- |
- |
- |
25 |
0,99 |
17 |
- |
|
100 |
159×28 |
105 |
÷0,54 |
21,3 |
20,8 |
65 |
1,0 |
+4,0 |
2,5 |
+2,0 -1,5 |
- |
- |
- |
- |
30 |
1.86 |
19 |
- |
|
125 |
194×26 |
144 |
÷0,63 |
22,2 |
21,7 |
65 |
1,0 |
+4,0 |
2,5 |
+2,0 -1,5 |
- |
- |
- |
- |
28 |
2,09 |
19 |
- |
|
125 |
194×32 |
132 |
÷0,63 |
25,4 |
24,9 |
70 |
1,0 |
+4,0 |
2,5 |
2,5 -1,5 |
- |
- |
- |
- |
32 |
2,77 |
20 |
- |
|
150 |
219×32 |
156 |
÷0,63 |
28,0 |
27,5 |
70 |
1,0 |
+4,0 |
2,5 |
2,5 -1,5 |
- |
- |
- |
- |
32 |
3,22 |
20 |
- |
|
150 |
219×36 |
149 |
÷0,63 |
31,2 |
30,7 |
75 |
1,0 |
+4,0 |
2,5 |
2,5 -1,5 |
- |
- |
- |
- |
34 |
3,71 |
21 |
- |
|
175 |
245×34 |
180 |
÷0,72 |
29,9 |
29,4 |
75 |
1,0 |
+4,0 |
2,5 |
2,5 -1,5 |
- |
- |
- |
- |
33 |
3.79 |
21 |
- |
|
175 |
245×38 |
172 |
÷0,63 |
33,6 |
33,1 |
80 |
1,0 |
+4,0 |
3,0 |
+3,0 -2,0 |
- |
- |
- |
- |
35 |
4,44 |
22 |
- |
|
200 |
273×42 |
191 |
÷0,72 |
37,4 |
36,9 |
80 |
1,0 |
+4,0 |
3,0 |
+3,5 -2,5 |
- |
- |
- |
- |
38 |
5,87 |
23 |
- |
|
250 |
325×45 |
238 |
÷0,72 |
41,9 |
41,4 |
80 |
1,0 |
+4,0 |
3,0 |
+3,0 -2,0 |
- |
- |
- |
- |
39 |
7,71 |
23 |
- |
|
300 |
377×50 |
281 |
÷0,81 |
44,3 |
43,8 |
85 |
1,0 |
+4,0 |
3,0 |
+3,0 -2,0 |
- |
- |
- |
- |
42 |
10,43 |
25 |
- |
|
250 |
377×60 |
260 |
÷0,81 |
52,5 |
52,0 |
100 |
1,0 |
+4,0 |
3,0 |
+3,0 -2,0 |
- |
- |
- |
- |
48 |
13,94 |
27 |
- |
|
300 |
426×56 |
318 |
÷0,89 |
51,4 |
49,9 |
95 |
1,0 |
+4,0 |
3,0 |
+3,0 -2,0 |
- |
- |
- |
- |
45 |
14,15 |
25 |
|
|
350 |
465×65 |
339 |
÷0,89 |
57,5 |
57,0 |
105 |
1,0 |
+4,0 |
3,0 |
+3,0 -2,0 |
- |
- |
- |
- |
50 |
19,60 |
29 |
- |
|
р = 13,73 МПа, t = 560 °С; р = 13,73 МПа, t = 545 °С |
||||||||||||||||||
|
40 |
57×9 |
- |
- |
- |
- |
- |
1,5 |
±0,5 |
1,5 |
±0,5 |
- |
- |
17 |
0,10 |
- |
- |
- |
- |
|
65 |
89×13 |
65 |
÷0,46 |
10,7 |
10,2 |
50 |
1,5 |
±0,5 |
1,5 |
±0,5 |
- |
- |
21 |
0,27 |
- |
- |
- |
- |
|
80 |
108×16 |
78 |
÷0,46 |
12,8 |
12,3 |
60 |
1,0 |
+3,0 |
2,5 |
+2,5 -1,5 |
- |
- |
- |
- |
23 |
0,57 |
- |
23 |
|
125 |
159×22 |
117 |
÷0,54 |
19,8 |
19,3 |
60 |
1,0 |
+3,0 |
2,5 |
+2,5 -1,5 |
- |
- |
- |
- |
26 |
1,35 |
17 |
- |
|
200 |
273×36 |
203 |
÷0,72 |
31,5 |
31,0 |
75 |
1,0 |
+4,0 |
2,5 |
+2,5 -1,5 |
- |
- |
- |
- |
34 |
4,71 |
21 |
- |
|
р = 13,73 МПа, t = 545 °С |
||||||||||||||||||
|
10 |
16×2,5 |
- |
- |
- |
- |
- |
1,0 |
±0,5 |
1,0 |
±0,5 |
9 |
0,005 |
- |
- |
- |
- |
- |
- |
|
10 |
16×3,5 |
- |
- |
- |
- |
- |
1,0 |
±0,5 |
1,0 |
±0,5 |
11 |
0,008 |
- |
- |
- |
- |
- |
- |
|
20 |
28×5 |
- |
- |
- |
- |
- |
1,5 |
±0,5 |
1,5 |
±0,5 |
- |
- |
11 |
0,02 |
- |
- |
- |
- |
|
40 |
57×7,5 |
- |
- |
- |
- |
- |
1,5 |
±0,5 |
1,5 |
±0,5 |
- |
- |
15 |
0,08 |
- |
- |
- |
- |
|
50 |
76×10 |
- |
- |
- |
- |
- |
1,5 |
±0,5 |
1,5 |
±0,5 |
- |
- |
18 |
0,17 |
- |
- |
- |
- |
|
50 |
76×11 |
- |
- |
- |
- |
- |
1,5 |
±0,5 |
1,5 |
±0,5 |
- |
- |
20 |
0,19 |
- |
- |
- |
- |
|
65 |
89×11 |
69 |
÷0,46 |
8,9 |
8,4 |
50 |
1,5 |
±0,5 |
1,5 |
±0,5 |
- |
- |
17 |
0,18 |
- |
- |
- |
- |
|
80 |
108×14 |
82 |
÷0,54 |
11,3 |
10,8 |
50 |
1,0 |
+3,0 |
2,5 |
+2,5 -1,5 |
- |
- |
- |
- |
21 |
0,46 |
- |
20 |
|
100 |
133×18 |
99 |
÷0,54 |
15,0 |
14,5 |
65 |
1,0 |
+3,0 |
2,5 |
+2,5 -1,5 |
- |
- |
- |
- |
24 |
0,86 |
- |
26 |
|
100 |
133×19 |
91 |
÷0,54 |
15,3 |
14,8 |
65 |
1,0 |
+3,0 |
2,5 |
+2,5 -1,5 |
- |
- |
- |
- |
25 |
0,93 |
- |
27 |
|
125 |
159×20 |
121 |
÷0,63 |
16,4 |
15,9 |
70 |
1,0 |
+3,0 |
2,5 |
+2,5 -1,5 |
- |
- |
- |
- |
25 |
1,20 |
17 |
- |
|
150 |
194×22 |
152 |
÷0,63 |
19,3 |
18,8 |
60 |
1,0 |
+3,0 |
2,5 |
+2,5 -1,5 |
- |
- |
- |
- |
26 |
1,62 |
18 |
- |
|
150 |
194×25 |
146 |
÷0,63 |
21,5 |
21,0 |
60 |
1,0 |
+3,0 |
2,5 |
+2,5 -1,5 |
- |
- |
- |
- |
29 |
1,93 |
18 |
- |
|
175 |
219×26 |
169 |
÷0,63 |
22,1 |
21,6 |
65 |
1,0 |
+3,0 |
2,5 |
+2,5 -1,5 |
- |
- |
- |
- |
29 |
2.38 |
19 |
- |
|
175 |
219×28 |
164 |
÷0,63 |
24,0 |
23,5 |
65 |
1,0 |
+4,0 |
2,5 |
+2,5 -1,5 |
- |
- |
- |
- |
30 |
2,69 |
19 |
- |
|
200 |
245×28 |
192 |
÷0,72 |
24,3 |
23,8 |
65 |
1,0 |
+4,0 |
2,5 |
+2,5 -1,5 |
- |
- |
- |
- |
29 |
2,69 |
19 |
- |
|
200 |
245×32 |
184 |
÷0,72 |
27,0 |
26,5 |
70 |
1,0 |
+4,0 |
2,5 |
+2,5 -1,5 |
- |
- |
- |
- |
32 |
3,48 |
20 |
- |
|
200 |
273×32 |
211 |
÷0,72 |
27,3 |
26,8 |
70 |
1,0 |
+4,0 |
2,5 |
+2,5 -1,5 |
- |
- |
- |
- |
32 |
3,99 |
20 |
- |
|
250 |
325×38 |
251 |
÷0,81 |
323 |
31,8 |
80 |
1,0 |
+4,0 |
3,0 |
+3,0 -2,0 |
- |
- |
- |
- |
35 |
6,14 |
22 |
- |
|
250 |
325×42 |
245 |
÷0,72 |
36,4 |
35,9 |
80 |
1,0 |
+4,0 |
3,0 |
+3,0 -2,0 |
- |
- |
- |
- |
37 |
6,85 |
23 |
- |
|
300 |
377×42 |
296 |
÷0,81 |
37,0 |
36,5 |
80 |
1,0 |
+4,0 |
3,0 |
+3,0 -2,0 |
- |
- |
- |
- |
37 |
8,16 |
23 |
- |
|
300 |
377×48 |
284 |
÷0,81 |
41,2 |
40,7 |
85 |
1,0 |
+4,0 |
3,0 |
+3,0 -2,0 |
- |
- |
- |
- |
41 |
9,65 |
24 |
- |
|
350 |
426×48 |
334 |
÷0,89 |
41,8 |
41,3 |
85 |
1,0 |
+4,0 |
3,0 |
+3,0 -2,0 |
- |
- |
- |
- |
40 |
11,17 |
24 |
- |
|
350 |
426×53 |
324 |
÷0,89 |
46,3 |
45,8 |
90 |
1,0 |
+4,0 |
3,0 |
+3,0 -2,0 |
- |
- |
- |
- |
43 |
13,00 |
25 |
- |
|
350 |
465×56 |
357 |
÷0,89 |
46,4 |
45,9 |
95 |
1,0 |
+4,0 |
3,0 |
+3,0 -2,0 |
- |
- |
- |
- |
45 |
15,54 |
26 |
- |
|
350 |
465×58 |
353 |
÷0,89 |
50,5 |
50,0 |
100 |
1,0 |
+4,0 |
3,0 |
+3,0 -2,0 |
- |
- |
- |
- |
46 |
16,41 |
26 |
- |
|
р = 13,73 МПа, t,= 515 °С; р = 4,02 МПа, t = 545 °С |
||||||||||||||||||
|
10 |
16×2,5 |
- |
- |
- |
- |
- |
1,0 |
±0,5 |
1,0 |
±0,5 |
9 |
0,005 |
- |
- |
- |
- |
- |
- |
|
20 |
28×3 |
- |
- |
- |
- |
- |
1,5 |
+0,5 |
1,5 |
±0,5 |
- |
- |
8 |
0,01 |
- |
- |
- |
- |
|
р = 13,73 МПа, t = 515°С |
||||||||||||||||||
|
65 |
76×9 |
- |
- |
- |
- |
- |
1,5 |
±0,5 |
1,5 |
±0,5 |
- |
- |
17 |
0,14 |
- |
- |
- |
- |
|
100 |
133×14 |
106 |
÷0,54 |
11,5 |
11,0 |
50 |
1,0 |
+3,0 |
2,5 |
+2,5 -1,5 |
- |
- |
- |
- |
22 |
0,63 |
- |
22 |
|
125 |
159×16 |
128 |
÷0,63 |
13,4 |
12,9 |
60 |
1,0 |
+3,0 |
2,5 |
+2,5 -1,5 |
- |
- |
- |
- |
23 |
0,90 |
- |
24 |
|
150 |
194×20 |
156 |
÷0,63 |
16,5 |
16,0 |
70 |
1,0 |
+3,0 |
2,5 |
+2,5 -1,5 |
- |
- |
- |
- |
25 |
1,43 |
17 |
- |
|
175 |
219×22 |
176 |
÷0,63 |
18,5 |
18,0 |
60 |
1,0 |
+3,0 |
2,5 |
+2,5 -1,5 |
- |
- |
- |
- |
26 |
1,90 |
18 |
- |
|
225 |
273×26 |
222 |
÷0,73 |
22,5 |
22,0 |
65 |
1,0 |
+4,0 |
2,5 |
+2,5 -1,5 |
- |
- |
- |
- |
29 |
3,08 |
19 |
- |
|
250 |
325×32 |
263 |
÷0,81 |
27,0 |
26,5 |
70 |
1,0 |
+4,0 |
2,5 |
+2,5 -1,5 |
- |
- |
- |
- |
32 |
4,80 |
20 |
- |
|
350 |
426×38 |
354 |
÷0,89 |
31,6 |
31,1 |
80 |
1,0 |
+4,0 |
3,0 |
+3,0 -2,0 |
- |
- |
- |
- |
35 |
7,86 |
21 |
- |
|
р = 4,02 Мпa, t = 545 °С |
||||||||||||||||||
|
50 |
57×4,5 |
- |
- |
- |
- |
- |
1,5 |
±0,5 |
1,5 |
±0,5 |
- |
- |
10 |
0,04 |
- |
- |
- |
- |
|
65 |
76×5 |
- |
- |
- |
- |
- |
1,5 |
±0,5 |
1,5 |
±0,5 |
|
- |
11 |
0,06 |
- |
- |
- |
- |
|
80 |
89×6 |
- |
- |
- |
- |
- |
1,5 |
±0,5 |
1,5 |
±0,5 |
- |
- |
13 |
0,09 |
- |
- |
- |
- |
|
100 |
108×7 |
96 |
÷0,54 |
4,6 |
4,1 |
40 |
1,0 |
+2,0 |
2,5 |
+2,5 -1,5 |
|
- |
13 |
0,15 |
- |
- |
- |
14 |
|
125 |
133×8 |
119 |
÷0,54 |
5,5 |
5,0 |
45 |
1,0 |
+2,0 |
2,5 |
+2,5 -1,5 |
- |
- |
- |
- |
18 |
0,29 |
- |
15 |
|
150 |
159×9 |
142 |
÷0,63 |
7,2 |
6,7 |
45 |
1,0 |
+2,0 |
2,5 |
+2,5 -1,5 |
- |
- |
- |
- |
19 |
0,40 |
- |
16 |
|
175 |
194×10 |
176 |
÷0,63 |
6,4 |
5,9 |
45 |
1,0 |
+2,0 |
2,5 |
+2,5 -1,5 |
- |
- |
- |
- |
20 |
0,57 |
- |
17 |
|
200 |
219×11 |
199 |
÷0,72 |
7,5 |
7,0 |
50 |
1,0 |
+2,0 |
2,5 |
+2,5 -1,5 |
- |
- |
- |
- |
20 |
0,73 |
- |
18 |
|
225 |
245×12 |
223 |
÷0,72 |
9,3 |
8,8 |
50 |
1,0 |
+3,0 |
2,5 |
+2,5 -1,5 |
- |
- |
- |
- |
21 |
0,97 |
- |
19 |
|
250 |
273×13 |
248 |
÷0,72 |
9,9 |
9,4 |
50 |
1,0 |
+3,0 |
2,5 |
+2,5 -1,5 |
- |
- |
- |
- |
21 |
1,20 |
- |
20 |
|
300 |
325×15 |
297 |
÷0,81 |
12,1 |
11.6 |
50 |
1,0 |
+3,0 |
2,5 |
+2,5 -1,5 |
- |
- |
- |
- |
27 |
1,65 |
- |
22 |
|
350 |
377×18 |
343 |
÷0,89 |
13,8 |
13,3 |
65 |
1,0 |
+3,0 |
2,5 |
+2,5 -1,5 |
- |
- |
- |
- |
24 |
2,45 |
16 |
- |
|
400 |
426×20 |
388 |
÷0,89 |
15,5 |
15,0 |
70 |
1,0 |
+3,0 |
2,5 |
+2,5 -1,5 |
- |
- |
- |
- |
25 |
3,21 |
17 |
- |
|
400 |
465×22 |
424 |
÷0,97 |
16,3 |
15,8 |
60 |
1,0 |
+3,0 |
2,5 |
+2,5 -1,5 |
- |
- |
- |
- |
26 |
3,88 |
17 |
- |
|
500 |
530×25 |
484 |
÷0,97 |
17,0 |
16,5 |
60 |
1,0 |
+3,0 |
2,5 |
+2,5 -1,5 |
- |
- |
- |
- |
27 |
5,18 |
18 |
- |
|
600 |
630×28 |
576 |
÷1,00 |
21,5 |
21,0 |
65 |
1,0 |
4,0 |
2,5 |
+2,5 -1,5 |
- |
- |
- |
- |
30 |
7,52 |
19 |
- |
|
700 |
720×25 |
672 |
÷1,00 |
21,8 |
21,3 |
60 |
1,0 |
4,0 |
2,5 |
+2,5 -1,5 |
- |
- |
- |
- |
28 |
7,31 |
18 |
- |
|
900 |
920×32 |
858 |
÷1,00 |
29,5 |
29,0 |
70 |
1,0 |
4,0 |
2,5 |
+2,5 -1,5 |
- |
- |
- |
- |
32 |
13,49 |
20 |
- |
|
р = 37,27 МПа, t = 280 °С |
||||||||||||||||||
|
10 |
16×4 |
- |
- |
- |
- |
- |
1,0 |
±0,5 |
1,0 |
±0,5 |
12 |
0,01 |
- |
|
- |
- |
- |
- |
|
20 |
28×5 |
- |
- |
- |
- |
- |
1,5 |
±0,5 |
1,5 |
±0,5 |
- |
- |
11 |
0,02 |
- |
- |
- |
- |
|
40 |
57×9 |
- |
- |
- |
- |
- |
1,5 |
±0,5 |
1,5 |
±0,5 |
- |
- |
17 |
0,10 |
- |
- |
- |
- |
|
50 |
76×12 |
- |
- |
- |
- |
- |
1,5 |
±0,5 |
1,5 |
±0,5 |
- |
- |
22 |
0,22 |
- |
- |
- |
- |
|
80 |
108×16 |
78 |
÷0,46 |
12,6 |
12,1 |
60 |
1,0 |
+3,0 |
2,5 |
+2,5 -1,5 |
- |
- |
- |
- |
23 |
0,60 |
17 |
- |
|
100 |
133×18 |
98 |
÷0,54 |
15,0 |
14,5 |
65 |
1,0 |
+3,0 |
2,5 |
+2,5 -1,5 |
- |
- |
- |
- |
24 |
0,86 |
17 |
- |
|
125 |
159×22 |
117 |
÷0,54 |
19,7 |
19,2 |
60 |
1,0 |
+3,0 |
2,5 |
+2,5 -1,5 |
- |
- |
- |
- |
26 |
1,31 |
18 |
- |
|
150 |
194×26 |
144 |
÷0,63 |
22,5 |
22,0 |
65 |
1,0 |
+4,0 |
2,5 |
+2,5 -1,5 |
- |
- |
- |
- |
28 |
2,09 |
19 |
- |
|
150 |
219×32 |
156 |
÷0,63 |
28,0 |
27,5 |
70 |
1,0 |
+4,0 |
2,5 |
+2,5 -1,5 |
- |
- |
- |
- |
32 |
3,22 |
20 |
- |
|
200 |
273×36 |
203 |
÷0,72 |
32,8 |
32,3 |
75 |
1,0 |
+4,0 |
2,5 |
+2,5 -1,5 |
- |
- |
- |
- |
34 |
4,71 |
21 |
- |
|
250 |
325×42 |
245 |
÷0,72 |
36,4 |
35,9 |
80 |
1,0 |
+4,0 |
3,0 |
+3,0 -2,0 |
- |
- |
- |
- |
37 |
6,85 |
23 |
- |
|
300 |
377×50 |
281 |
÷0,81 |
44,0 |
43,5 |
85 |
1,0 |
+4,0 |
3,0 |
+3,0 -2,0 |
- |
- |
- |
- |
42 |
10,43 |
25 |
- |
|
300 |
426×56 |
318 |
÷0,89 |
46,6 |
46,1 |
95 |
1,0 |
+4,0 |
3,0 |
+3,0 -2,0 |
- |
- |
- |
- |
44 |
13,38 |
26 |
- |
|
350 |
465×60 |
349 |
÷0,89 |
51,3 |
50,8 |
100 |
1,0 |
+4,0 |
3,0 |
+3,0 -2,0 |
- |
- |
- |
- |
47 |
17,3 |
27 |
- |
|
400 |
530×65 |
406 |
÷0,97 |
58,2 |
57,7 |
105 |
1,0 |
+4,0 |
3,0 |
+3,0 -2,0 |
- |
- |
- |
- |
50 |
22,03 |
28 |
- |
|
р = 23,54 Мпa, = 250 °С; р = 23,54 МПа, t = 215 °С; р = 18,14 МПа, t = 215°С |
||||||||||||||||||
|
10 |
16×3 |
- |
- |
- |
- |
- |
1,0 |
±0,5 |
1,0 |
±0,5 |
10 |
0,01 |
- |
- |
- |
- |
- |
- |
|
40 |
57×6 |
- |
- |
- |
- |
- |
1,5 |
±0,5 |
1,5 |
±0,5 |
- |
- |
13 |
0,10 |
|
|
- |
- |
|
р = 23,54 МПа, t = 250 °С; р = 23,54 МПа, t = 215 °C |
||||||||||||||||||
|
20 |
28×4 |
- |
- |
- |
- |
- |
1,5 |
±0,5 |
1,5 |
±0,5 |
- |
- |
10 |
0,02 |
- |
- |
- |
- |
|
65 |
76×9 |
- |
- |
- |
- |
- |
1,5 |
±0,5 |
1,5 |
±0,5 |
- |
- |
17 |
0,14 |
- |
- |
- |
- |
|
80 |
89×10 |
- |
- |
- |
- |
- |
1,5 |
±0,5 |
1,5 |
±0,5 |
- |
- |
18 |
0,20 |
- |
- |
- |
- |
|
80 |
108×11 |
88 |
÷0,54 |
8,4 |
7,9 |
50 |
1,0 |
+2,0 |
2,5 |
+2,5 -1,5 |
- |
- |
- |
- |
20 |
0,35 |
- |
18 |
|
100 |
133×13 |
109 |
÷0,54 |
10,7 |
10,2 |
50 |
1,0 |
+3,0 |
2,5 |
+2,5 -1,5 |
- |
- |
- |
- |
21 |
0,55 |
- |
20 |
|
125 |
159×14 |
133 |
÷0,63 |
11,7 |
11,2 |
50 |
1,0 |
+3,0 |
2,5 |
+2,5 -1,5 |
- |
- |
- |
- |
22 |
0,76 |
- |
22 |
|
150 |
194×17 |
162 |
÷0,63 |
14,8 |
14,3 |
60 |
1,0 |
+3,0 |
2,5 |
+2,5 -1,5 |
- |
- |
- |
- |
24 |
1,19 |
16 |
- |
|
175 |
219×19 |
183 |
÷0,72 |
16,5 |
16,0 |
65 |
1,0 |
+3,0 |
2,5 |
+2,5 -1,5 |
- |
- |
- |
- |
25 |
1,56 |
17 |
- |
|
225 |
273×24 |
227 |
÷0,72 |
20,2 |
19,7 |
60 |
1,0 |
+3,0 |
2,5 |
+2,5 -1,5 |
- |
- |
- |
|
28 |
2,69 |
18 |
- |
|
250 |
325×28 |
271 |
÷0,81 |
23,8 |
23,3 |
65 |
1,0 |
+4,0 |
2,5 |
+2,5 -1,5 |
- |
- |
- |
- |
30 |
3,98 |
19 |
- |
|
300 |
377×32 |
316 |
÷0,89 |
27,3 |
26,8 |
70 |
1,0 |
+4,0 |
2,5 |
+2,5 -1,5 |
- |
- |
- |
- |
32 |
5,49 |
20 |
- |
|
350 |
426×36 |
358 |
÷0,89 |
30,5 |
30,0 |
75 |
1,0 |
+4,0 |
2,5 |
+2,5 -1,5 |
- |
- |
- |
- |
34 |
7,25 |
21 |
- |
|
400 |
465×40 |
388 |
÷0,89 |
35,0 |
34,5 |
80 |
1,0 |
+4,0 |
2,5 |
+2,5 -1,5 |
- |
- |
- |
- |
36 |
9,48 |
22 |
- |
|
р = 18,14 МПа, t = 215 °C |
||||||||||||||||||
|
65 |
76×7 |
- |
- |
- |
- |
- |
1,5 |
±0,5 |
1,5 |
±0,5 |
- |
- |
14 |
0,095 |
- |
- |
- |
- |
|
80 |
89×8 |
- |
- |
- |
- |
- |
1,5 |
±0,5 |
1,5 |
±0,5 |
- |
- |
15 |
0,14 |
- |
- |
- |
- |
|
100 |
108×10 |
90 |
÷0,54 |
5,2 |
4,7 |
45 |
1,0 |
+2,0 |
2,5 |
-2,5 -1,5 |
- |
- |
- |
- |
20 |
0,31 |
- |
17 |
|
125 |
159×13 |
135 |
÷0,63 |
10,8 |
10,3 |
50 |
1,0 |
+3,0 |
2,5 |
-2,5 -1,5 |
- |
- |
- |
- |
21 |
0,69 |
- |
20 |
|
150 |
194×15 |
166 |
÷0,63 |
11,9 |
11,4 |
50 |
1,0 |
+3,0 |
2,5 |
-2,5 -1,5 |
- |
- |
- |
- |
22 |
0,97 |
- |
22 |
|
175 |
219×16 |
188 |
÷0,72 |
13,2 |
12,7 |
60 |
1,0 |
+3,0 |
2,5 |
-2,5 -1,5 |
- |
- |
- |
- |
23 |
1,25 |
- |
24 |
|
225 |
273×20 |
236 |
÷0,72 |
16,0 |
15,5 |
70 |
1,0 |
+3,0 |
2,5 |
-2,5 -1,5 |
- |
- |
- |
- |
25 |
1,96 |
17 |
- |
|
250 |
325×22 |
283 |
÷0,81 |
18,7 |
18,2 |
60 |
1,0 |
+3,0 |
2,5 |
-2,5 -1,5 |
- |
- |
- |
- |
26 |
2,78 |
18 |
- |
|
300 |
377×26 |
327 |
÷0,89 |
21,4 |
20,9 |
65 |
1,0 |
+4,0 |
2,5 |
-2,5 -1,5 |
- |
- |
- |
- |
28 |
4,19 |
19 |
- |
|
350 |
426×30 |
368 |
÷0,89 |
25,9 |
25,4 |
70 |
1,0 |
+4,0 |
2,5 |
-2,5 -1,5 |
- |
- |
- |
- |
31 |
5,81 |
20 |
- |
|
400 |
465×32 |
404 |
÷0,97 |
27,7 |
27,2 |
70 |
1,0 |
+4,0 |
2,5 |
-2,5 -1,5 |
- |
- |
- |
- |
32 |
6,82 |
20 |
- |
|
р = 18,14 Мпa, t = 215 °С; р = 7,45 МПа, t = 145 °С; р = 3,92 МПа, t = 450 °С; р = 4,31 МПа, t = 340 °С; р = 3,92 МПа, t = 200 °С |
||||||||||||||||||
|
20 |
28×3 |
- |
- |
- |
- |
- |
1,5 |
±0,5 |
1,5 |
±0,5 |
- |
- |
8 |
0,012 |
- |
- |
- |
- |
|
р = 3,92 МПа, t = 450 °С; p = 7,45 МПа, t = 145 °С; р = 4,31 МПа, t = 340 °С; p = 3,92 МПа, t = 200 °C |
||||||||||||||||||
|
10 |
16×2 |
- |
- |
- |
- |
- |
1,0 |
±0,5 |
1,0 |
±0,5 |
8 |
0,004 |
- |
- |
- |
- |
- |
- |
|
25 |
32×3 |
- |
- |
- |
- |
- |
1,5 |
±0,5 |
1,5 |
±0,5 |
- |
- |
8 |
0,01 |
- |
- |
- |
- |
|
32 |
38×3 |
- |
- |
- |
- |
- |
1,5 |
±0,5 |
1,5 |
±0,5 |
- |
- |
8 |
0,02 |
- |
- |
- |
- |
|
50 |
57×4 |
- |
- |
- |
- |
- |
1,5 |
±0,5 |
1,5 |
±0,5 |
- |
- |
10 |
0,03 |
- |
- |
- |
- |
|
65 |
76×5 |
- |
- |
- |
- |
- |
1,5 |
±0,5 |
1,5 |
±0,5 |
- |
- |
11 |
0,06 |
- |
- |
- |
- |
|
80 |
89×6 |
- |
- |
- |
- |
- |
1,5 |
±0,5 |
1,5 |
±0,5 |
- |
- |
13 |
0,09 |
- |
- |
- |
- |
|
р = 3,92 МПа, t = 450 °С; р = 7,45 МПа, t = 145 °С |
||||||||||||||||||
|
100 |
108×8 |
93 |
÷0,54 |
5,4 |
4,9 |
45 |
1,0 |
+2,0 |
2,5 |
+2,5 -1,5 |
- |
- |
- |
- |
18 |
0,23 |
- |
15 |
|
125 |
133×8 |
118 |
÷0,54 |
5,8 |
5,3 |
45 |
1,0 |
+2,0 |
2,5 |
+2,5 -1,5 |
- |
- |
- |
- |
18 |
0,29 |
- |
15 |
|
150 |
159×9 |
142 |
÷0,63 |
7,2 |
6,7 |
45 |
1,0 |
+2,0 |
2,5 |
+2,5 -1,5 |
- |
- |
- |
- |
19 |
0,40 |
- |
16 |
|
175 |
194×10 |
175 |
÷0,63 |
7,9 |
7,4 |
45 |
1,0 |
+2,0 |
2,5 |
+2,5 -1,5 |
- |
- |
- |
- |
20 |
0,57 |
- |
17 |
|
200 |
219×13 |
195 |
÷0,72 |
9,5 |
9,0 |
50 |
1,0 |
+3,0 |
2,5 |
+2,5 -1,5 |
- |
- |
- |
- |
21 |
0,95 |
- |
20 |
|
250 |
273×16 |
244 |
÷0,72 |
11,5 |
11,0 |
60 |
1,0 |
+3,0 |
2,5 |
+2,5 -1,5 |
- |
- |
- |
- |
22 |
1,50 |
- |
23 |
|
300 |
325×19 |
290 |
÷0,81 |
13,5 |
13,0 |
65 |
1,0 |
+3,0 |
2,5 |
+2,5 -1,5 |
- |
- |
- |
- |
24 |
2,26 |
17 |
- |
|
350 |
377×20 |
339 |
÷0,89 |
15,1 |
14,6 |
70 |
1,0 |
+3,0 |
2,5 |
+2,5 -1,5 |
- |
- |
- |
- |
25 |
2,93 |
17 |
- |
|
400 |
426×22 |
384 |
÷0,89 |
16,9 |
16,4 |
60 |
1,0 |
+3,0 |
2,5 |
+2,5 -1,5 |
- |
- |
- |
- |
26 |
3,77 |
18 |
- |
|
400 |
465×24 |
420 |
÷0,97 |
18,3 |
17,8 |
60 |
1,0 |
+3,0 |
2,5 |
+2,5 -1,5 |
- |
- |
- |
- |
27 |
4,52 |
18 |
- |
|
р = 4,31 МПа, t = 340 °С; р = 3,92 МПа, t = 200 °С |
||||||||||||||||||
|
65 |
76×4 |
- |
- |
- |
- |
- |
1,5 |
±0,5 |
1,5 |
±0,5 |
- |
- |
10 |
0,05 |
- |
- |
- |
- |
|
80 |
89×4,5 |
- |
- |
- |
- |
- |
1,5 |
±0,5 |
1,5 |
±0,5 |
- |
- |
10 |
0,06 |
- |
- |
- |
- |
|
100 |
108×5 |
100 |
÷0,54 |
2,7 |
2,2 |
30 |
1,5 |
±0,5 |
1,5 |
±0,5 |
- |
- |
10 |
0,066 |
- |
- |
- |
11 |
|
125 |
133×5 |
124 |
÷0,63 |
3,2 |
2,7 |
30 |
1,0 |
+2,0 |
2,5 |
+2,5 -1,5 |
- |
- |
10 |
0,11 |
- |
- |
- |
11 |
|
150 |
159×7 |
147 |
÷0,63 |
4,4 |
3,9 |
40 |
1,0 |
+2,0 |
2,5 |
+2,5 -1,5 |
- |
- |
- |
- |
18 |
0,26 |
- |
13 |
|
175 |
194×8 |
180 |
÷0,63 |
5,0 |
4,5 |
45 |
1,0 |
+2,0 |
2,5 |
+2,5 -1,5 |
- |
- |
- |
- |
IS |
0,42 |
- |
15 |
|
200 |
219×9 |
203 |
÷0,72 |
5,6 |
5,1 |
45 |
1,0 |
+2,0 |
2,5 |
+2,5 -1,5 |
- |
- |
- |
- |
19 |
0,52 |
- |
15 |
|
250 |
273×10 |
254 |
÷0,81 |
6,6 |
6,1 |
45 |
1,0 |
+2,0 |
2,5 |
+2,5 -1,5 |
- |
- |
- |
- |
20 |
0,80 |
- |
17 |
|
300 |
325×13 |
303 |
÷0,81 |
7,6 |
7,1 |
50 |
1,0 |
+3,0 |
2,5 |
+2,5 -1,5 |
- |
- |
- |
- |
20 |
1,22 |
- |
19 |
|
350 |
377×13 |
354 |
÷0.89 |
8,6 |
8,1 |
50 |
1,0 |
+3,0 |
2,5 |
+2,5 -1,5 |
- |
- |
- |
- |
21 |
1,50 |
- |
19 |
|
400 |
426×14 |
401 |
÷0,89 |
9,5 |
9,0 |
50 |
1,0 |
+3,0 |
2,5 |
+2,5 -1,5 |
- |
- |
- |
- |
21 |
1,88 |
- |
20 |
|
450 |
465×16 |
437 |
÷0,97 |
10,5 |
10,0 |
60 |
1,0 |
+3,0 |
2,5 |
+2,5 -1,5 |
- |
- |
- |
- |
22 |
2,37 |
- |
22 |
|
р = 4,31 МПа, t = 340 °С |
||||||||||||||||||
|
600 |
630×17 |
598 |
÷1,00 |
12,2 |
11,7 |
60 |
1,0 |
+3,0 |
2,5 |
+2,5 -1,5 |
- |
- |
- |
- |
23 |
3,82 |
16 |
- |
|
600 |
630×25 |
598 |
÷1,00 |
12,2 |
11,7 |
60 |
1,0 |
+3,0 |
2,5 |
+2,5 -1,5 |
- |
- |
- |
- |
23 |
3,82 |
16 |
- |
|
700 |
720×22 |
678 |
÷1,00 |
16,5 |
16,0 |
60 |
1,0 |
+3,0 |
2,5 |
+2,5 -1,5 |
- |
- |
- |
- |
26 |
6,27 |
18 |
- |
|
800 |
820×22 |
778 |
÷1,00 |
19,5 |
190 |
60 |
1,0 |
+3,0 |
2,5 |
+2,5 -1,5 |
- |
- |
- |
- |
26 |
7,14 |
18 |
- |
|
Примечания 1 Усиление шва допускается удалять механическим способом до h = 0. 2 При полуавтоматической сварке в среде защитных газов размеры сварных швов должны соответствовать ручному виду сварки. 3 Уменьшение длины расточки lР до 50 мм для труб 426×80 и 465×80 мм принято при условии зачистки сварного шва заподлицо с наружной поверхностью и шероховатостью не ниже Rа 6,3 для проведения ультразвукового контроля. 4 Теоретическая масса наплавленного металла определена по средним значениям размеров швов при ручной дуговой сварке и уточняется технологическим процессом изготовителя. |
||||||||||||||||||