|
ФЕДЕРАЛЬНОЕ АГЕНТСТВО |
||
|
|
НАЦИОНАЛЬНЫЙ СТАНДАРТ российской ФЕДЕРАЦИИ |
ГОСТ Р |
Система стандартов безопасности труда
СРЕДСТВА ИНДИВИДУАЛЬНОЙ ЗАЩИТЫ ГЛАЗ
Методы испытаний оптических и неоптических параметров
|
|
Москва Стандартинформ 2008 |
Предисловие
Цели и принципы стандартизации в Российской Федерации установлены Федеральным законом
от 27 декабря
Сведения о стандарте
1 РАЗРАБОТАН Открытым акционерным обществом «ТКС-оптика» совместно с подкомитетом ПК 9 «Средства индивидуальной защиты глаз» Технического комитета ТК 320 «Средства индивидуальной защиты»
2 ВНЕСЕН Техническим комитетом по стандартизации средств индивидуальной защиты ТК 320
3
УТВЕРЖДЕН И ВВЕДЕН В ДЕЙСТВИЕ Приказом Федерального агентства по техническому регулированию и метрологии от 27 декабря
4 В настоящем стандарте учтены основные нормативные положения следующих региональных стандартов:
- ЕН 167:2002 «Индивидуальная защита глаз. Оптические методы испытаний» (MOD);
- ЕН 168:2002 «Индивидуальная защита глаз. Неоптические методы испытаний» (MOD).
Сопоставление структуры и нумерации структурных элементов (обозначений приложений) настоящего стандарта приведены в дополнительном приложении Е
5 ВВЕДЕН ВПЕРВЫЕ
Информация об изменениях к настоящему стандарту публикуется в ежегодно издаваемом информационном указателе «Национальные стандарты», а текст изменений и поправок - в ежемесячно издаваемых информационных указателях «Национальные стандарты». В случае пересмотра (замены) или отмены настоящего стандарта соответствующее уведомление будет опубликовано в ежемесячно издаваемом информационном указателе «Национальные стандарты». Соответствующая информация, уведомление и тексты размещаются также в информационной системе общего пользования - на официальном сайте Федерального агентства по техническому регулированию и метрологии в сети Интернет
Содержание
НАЦИОНАЛЬНЫЙ СТАНДАРТ РОССИЙСКОЙ ФЕДЕРАЦИИ
|
Система стандартов безопасности труда СРЕДСТВА ИНДИВИДУАЛЬНОЙ ЗАЩИТЫ ГЛАЗ Методы испытаний оптических и неоптических параметров Occupational safety standards system. Personal eye protection. Optical and non-optical parameters test methods |
Дата введения - 2008-07-01
Стандарт распространяется на все типы средств индивидуальной защиты глаз (далее - СИЗ глаз) от различных видов опасности, встречающихся в промышленности, научных лабораториях, учебных учреждениях, бытовой деятельности и т. д., которые могут повредить или ухудшить функции органов зрения.
Стандарт не распространяется на СИЗ глаз от ядерной радиации, рентгеновского излучения, излучения лазера, излучения от низкотемпературных инфракрасных источников, а также на солнцезащитные очки для общего пользования.
Стандарт устанавливает методы испытаний оптических и неоптических параметров СИЗ глаз.
Стандарт применяется совместно с ГОСТ Р 12.4.230.1.
В настоящем стандарте использованы нормативные ссылки на следующие стандарты:
ГОСТ Р 8.568-97 Государственная система обеспечения единства измерений. Аттестация испытательного оборудования. Основные положения
ГОСТ Р 12.4.230.1-2007 Система стандартов безопасности труда. Средства индивидуальной защиты. Индивидуальная защита глаз. Общие технические требования
ГОСТ Р 51004-97 Линзы очковые. Общие технические условия
ГОСТ Р 51568-99 (ИСО 3310-1-90) Сита лабораторные из металлической проволочной сетки. Технические условия
ГОСТ Р 51854-2001 Линзы очковые солнцезащитные. Технические требования. Методы испытаний
ГОСТ 12.4.023-84 Система стандартов безопасности труда. Щитки защитные лицевые. Общие технические требования и методы контроля
ГОСТ 12.4.035-78 Система стандартов безопасности труда. Щитки защитные лицевые для электросварщиков. Технические условия
ГОСТ 3520-92 Материалы оптические. Методы определения показателей ослабления
ГОСТ 7601-78 Физическая оптика. Термины, буквенные обозначения и определения основных величин
(Поправка. ИУС 1-2009 г.)
Примечание - При пользовании настоящим стандартом целесообразно проверить действие ссылочных стандартов и классификаторов в информационной системе общего пользования - на официальном сайте национального органа Российской Федерации по стандартизации в сети Интернет или по ежегодно издаваемому информационному указателю «Национальные стандарты», который опубликован по состоянию на 1 января текущего года, и по соответствующим ежемесячно издаваемым информационным указателям, опубликованным в текущем году. Если ссылочный стандарт заменен (изменен), то при пользовании настоящим стандартом следует руководствоваться заменяющим (измененным) стандартом. Если ссылочный стандарт отменен без замены, то положение, в котором дана ссылка на него, применяется в части, не затрагивающей эту ссылку.
В настоящем стандарте применены термины по ГОСТ Р 12.4.230.1 (раздел 3), ГОСТ 7601, а также следующие термины с соответствующими определениями:
3.1.1 калибровка: Установление соотношения между фактическими значениями требуемых параметров и заданными, например, с помощью калибровочных линз.
Примечание - Если фактическое значение какого-либо параметра лежит за пределами определенных допусков, то требуется настройка измерительного устройства.
3.1.2 калибровочные линзы: Линзы с известными параметрами, применяемые для настройки или поверки контрольно-измерительного оборудования.
Примечание - Калибровочные линзы обычно поставляют с сертификатом их испытаний.
3.1.3 конденсор: Оптический компонент, возможно более полно передающий излучение источника света и формирующий его изображение.
3.1.4 призма основанием к носу: Параметр СИЗ глаз, характеризующий отклонение пучка излучения в главном меридианальном сечении оптического компонента с призматическим действием в сторону носа.
3.1.5 призма основанием к виску: Параметр СИЗ глаз, характеризующий отклонение пучка излучения в главном меридианальном сечении оптического компонента с призматическим действием в сторону виска.
3.1.6 параметр СИЗ глаз: Параметр конкретной конструкции СИЗ глаз, задаваемый в соответствии с технической документацией на него для характеристики качества.
3.1.7 расширенная неопределенность U: Величина, определяющая интервал вокруг результата измерений, в пределах которого, как можно ожидать, находится большая часть распределения значений, которые с достаточным основанием могли бы быть приписаны измеряемой величине.
3.1.8 настройка зрительной трубы: Операция, проводимая испытателем с целью приведения зрительной трубы в соответствие со схемой испытания.
3.2 В настоящем стандарте применяют следующие сокращения:
ПММА - полиметилметакрилат;
МШТР - международная шкала твердости резины.
4.1 Общие требования
4.1.1 Испытания оптических (раздел 5) и неоптических (раздел 6) параметров СИЗ глаз заключаются в проверке базовых, специальных и дополнительных требований к ним, установленных в ГОСТ Р 12.4.230.1 и/или технических документах на конкретный тип СИЗ глаз путем измерения и/или оценки конкретного технического требования.
4.1.2 Все используемые при испытаниях СИЗ глаз средства измерений должны иметь действующие свидетельства о поверке, а испытательное оборудование должно быть аттестовано в установленном порядке в соответствии с ГОСТ Р 8.568.
4.1.3 При испытаниях по подразделам 5.3, 5.4, 6.2, 6.8, 6.11 - 6.14 в качестве испытательного оборудования применяют контрольный макет головы, требования к которому приведены в приложении А.
4.1.4 Если во время испытаний СИЗ глаз на сферическую рефракцию и астигматизм (по подразделам 5.1 и 5.2) с применением зрительной трубы наблюдается двоение и/или искажение изображения, то очковое стекло должно считаться дефектным и оно должно быть подвергнуто дополнительному испытанию по приложению Б.
4.1.5 Расширенная неопределенность измерений в процессе испытаний по разделам 5, 6, а также требования к протоколу испытаний должны соответствовать приложению В и [1].
4.1.6 Методы испытаний оптических параметров очковых стекол с корригирующим эффектом - по ГОСТ Р 51044 (раздел 7).
4.1.7 Допускается применять упрощенный метод испытания приведенного коэффициента яркости очковых стекол СИЗ глаз с корригирующим эффектом по приложению Г.
4.1.8 Все испытания по разделам 5, 6 проводят при температуре (23 ± 5)°С и относительной влажности 87 %.
4.1.9 Для испытаний неоптических параметров СИЗ глаз по разделу 6 должны использоваться только новые образцы, которые ранее не подвергались какому-либо воздействию.
4.1.10 Порядок проведения типовых испытаний СИЗ глаз, а также количество образцов для проведения испытаний по разделам 5, 6 должны соответствовать приведенным в приложении Д.
4.1.11 Методы испытаний конструктивных параметров защитных лицевых щитков по ГОСТ 12.4.023 и ГОСТ 12.4.035.
5.1.1 Требования к средствам измерения, испытательному и вспомогательному оборудованию
5.1.1.1 Испытание на сферическую рефракцию и астигматизм проводят на установке, принципиальная оптическая схема которой приведена на рисунке 1.

1 - лампа накаливания; 2 - конденсор; 3 - интерференционный фильтр; 4 - тест-объект с мирой; 5 - испытуемое очковое (покровное) стекло; 6 - объектив зрительной трубы; 7 - сетка; 8 - окуляр зрительной трубы
Рисунок 1 - Принципиальная оптическая схема для испытания на сферическую рефракцию и астигматизм очковых и покровных стекол без корригирующего эффекта
5.1.1.2
В качестве средства измерения применяют зрительную трубу, имеющую диаметр входного
зрачка не менее
5.1.1.3 В качестве вспомогательного устройства применяют тест-объект, представляющий собой черную пластину с вырезанной мирой, приведенной на рисунке 2.

Рисунок 2 - Тест-объект с мирой
Внешний диаметр большого кольца А тест-объекта составляет (23,0 ±
0,1) мм, ширина кольца - (0,6 ± 0,1) мм. Внутренний диаметр малого кольца В составляет (11,0 ±
0,1) мм, ширина кольца - (0,6 ±
0,1) мм; центральное отверстие имеет диаметр (0,6 ±
0,1) мм. Штрихи миры должны быть длиной
5.1.1.4 Позади тест-объекта помещают источник излучения. В качестве источника излучения применяют источники излучения типа А, например, лампы накаливания, цветовая температура нити Тц которых должна составлять (2856 ± 50)°К.
5.1.1.5 Допускается фокусировка увеличенного изображения источника излучения во входной зрачок зрительной трубы путем установки конденсора 2 (см. рисунок 1).
5.1.1.6 При использования источника типа А для снижения хроматической аберрации устанавливают светофильтр с максимальным коэффициентом пропускания в зеленой области спектра, например, интерференционный светофильтр с рабочей длиной волны 546 нм.
5.1.1.7 Для калибровки установки используют калибровочные линзы с положительной и отрицательной рефракциями: (0,06; 0,12; 0,25) дптр.
5.1.2 Порядок подготовки к проведению испытания
Порядок подготовки к проведению испытания заключается в проведении следующих операций:
а) зрительную трубу, источник излучения и тест-объект устанавливают вдоль оптической оси согласно оптической схеме рисунка 1. Расстояние от зрительной трубы до тест-объекта должно быть (4,6 ± 0,02) м;
б) проводя настройку установки, испытатель добивается резкого изображения сетки в окуляре зрительной трубы и путем фокусировки зрительной трубы получает резкое изображение тест-объекта. Это положение испытатель принимает за нулевую точку фокусировочной шкалы зрительной трубы;
в) испытатель проводит калибровку установки, устанавливая поочередно калибровочные линзы по 5.1.1.7 на место испытуемого очкового (покровного) стекла. Смещая окуляр зрительной трубы относительно шкалы диоптрий, добивается резкого изображения тест-объекта. Каждой калибровочной линзе соответствует определенное взаимное расположение окуляра и сетки. По результатам калибровки испытатель строит график N = f (Fv) (N - число делений шкалы, Fv - рефракция калибровочной линзы). Точность калибровки должна быть ±0,01 дптр.
Примечание - Допускается использовать любой другой равноценный метод калибровки;
г) испытатель устанавливает очковое (покровное) стекло перед объективом зрительной трубы в положении ношения или другом рабочем положении, заданном изготовителем.
В случае, когда положение ношения неизвестно или не задано изготовителем, испытуемое очковое стекло устанавливают перпендикулярно к оптической оси зрительной трубы, а измерения оптических параметров (характеристик) проводят в геометрическом центре.
5.1.3 Порядок проведения испытания
5.1.3.1 При испытании очковых и покровных стекол без астигматизма проводят следующие операции:
а) зрительную трубу фокусируют до получения четкого изображения тест-объекта;
б) снимают по шкале зрительной трубы значение рефракции.
5.1.3.2 При испытании очковых и покровных стекол с астигматизмом, перемещая тест-объект или очковое (покровное) стекло вдоль оптической оси, совмещают направления главных меридиональных сечений очкового стекла с направлениями штрихов миры:
а) фокусируют зрительную трубу на одну группу из двух штриховых мир - снимают по шкале зрительной трубы отсчет Д1;
б) фокусируют зрительную трубу на группу из двух штриховых мир, перпендикулярную к первой группе, - снимают отсчет Д2.
Значение сферической рефракции очкового или покровного стекла составляет среднеарифметическое значение отсчетов, то есть (Д1 + Д2)/2; значение астигматизма - абсолютное значение разности двух отсчетов, то есть |Д1 - Д2|.
Примечание - В процессе фокусировки зрительной трубы следует добиваться четкой фокусировки миры тест-объекта для каждого меридионального сечения.
5.1.3.3 При испытании очковых и покровных стекол на призматическое действие проводят следующие операции:
а) зрительную трубу фокусируют до получения четкого изображения тест-объекта;
б) если точка пересечения штрихов сетки окуляра зрительной трубы выходит за пределы изображения большого кольца тест-объекта, считают, что призматическое действие очкового или покровного стекла превышает значения 0,25 прдптр. Если точка пересечения штрихов сетки окуляра зрительной трубы находится внутри изображения малого кольца тест-объекта, считают, что призматическое действие не превышает значения 0,12 прдптр.
5.1.4 Правила оценки результатов испытания
5.1.4.1 Очковое стекло считают прошедшим испытания на рефракции, если допускаемые отклонения значений сферической рефракции, астигматизма и призматического действия соответствуют требованиям ГОСТ Р 12.4.230.1 (подпункт 5.2.3.2, таблица 1).
5.1.4.2 Покровное стекло считают прошедшим испытания на рефракции, если допускаемые отклонения значений сферической рефракции, астигматизма и призматического действия соответствуют требованиям ГОСТ Р 12.4.230.1 (подпункт 5.2.3.4).
5.2.1 Требования к средствам измерения, испытательному и вспомогательному оборудованию
5.2.1.1 Испытание очковых, покровных и смотровых стекол СИЗ глаз на разность значений призматического действия проводят на установке, принципиальная оптическая схема которой приведена на рисунке 3.

1 - лампа накаливания; 2 - интерференционный фильтр; 3, 8 - ахроматические объективы; 4, 7 - диафрагмы; 5, 6 - испытуемые очковые стекла; 9 - диффузно отражающий экран (плоскость изображения); 10 - заслонка
Рисунок 3 - Принципиальная оптическая схема установки для измерения разности призматического действия очковых, покровных и смотровых стекол СИЗ глаз
5.2.1.2 Требования к источнику излучения и светофильтру - по 5.1.1.4 и 5.1.1.6.
5.2.1.3
Диаметр отверстия диафрагмы 4 должен быть не более
5.2.1.4
Фокусное расстояние ахроматического объектива 3 должно быть от 20 до
5.2.1.5
Диафрагма 7 должна иметь три отверстия диаметром каждого не более
5.2.1.6 Плоскость изображения представляет собой диффузно отражающий экран с коэффициентом отражения р, равным 0,93 - 0,98, который находится на расстоянии (2000 ± 20) мм от последней поверхности ахроматического объектива 8.
5.2.1.7 Заслонка 10 должна быть изготовлена из непрозрачного материала, например черной бумаги, и использована для уточнения характера призматического действия в пространстве световых пучков.
5.2.2 Порядок подготовки к проведению испытания
5.2.2.1 Подготовка к проведению испытаний заключается в проведении следующих операций:
а) освещенную источником излучения диафрагму 4 юстируют таким образом, чтобы получить ее резкое изображение 4' на диффузно отражающем экране 9;
б) перед диафрагмой 7 перпендикулярно к оптической оси установки устанавливают испытуемые очковые стекла 5 и 6 в положении ношения. Оптические оси очковых стекол должны быть параллельны оптической оси установки.
5.2.2.2 Если призматическое действие очковых стекол 5 и 6 отсутствует, то на диффузно отражающем экране 9 изображение диафрагмы 4' не изменится.
Если имеет место призматическое действие очковых стекол 5 и 6, то на диффузно отражающем экране 9 появятся два дополнительных изображения 4'5 и 4'6 диафрагмы 4 (вид Б на рисунке 3).
5.2.3 Порядок проведения испытания
5.2.3.1 При испытании призматического действия очковых, покровных и смотровых стекол проводят следующие операции:
а) между диафрагмой 7 и объективом 8 устанавливают заслонку 10, перекрывая одно из внеосевых отверстий диафрагмы 7;
б) измеряют расстояния х и z в сантиметрах между двумя смещенными изображениями, образуемыми оптическими системами 1 - 5, 7, 8 и 1 - 4, 6, 7, 8 в плоскости диффузно отражающего экрана 9;
в) разность значений призматического действия очковых и покровных стекол в горизонтальной и вертикальной плоскостях, выражаемая в призматических диоптриях (прдптр), получают путем деления измеренных расстояний х и z пополам.
г) если световые пучки систем 1 - 5, 7, 8 и 1 - 4, 6, 7, 8 пересекаются в горизонтальной плоскости, то призматическое действие соответствует клиновидности «призма основанием к носу», если они не пересекаются - клиновидности «призма основанием к виску».
5.2.3.2 Допускается измерять расстояния по перечислению б) 5.2.3.1 с помощью любого измерительного инструмента, имеющего точность измерения не более
5.2.4 Правила оценки результатов испытания
5.2.4.1 Очковые, покровные и смотровые стекла в оправе и без оправы СИЗ глаз считают прошедшими испытания на призматическое действие, если допускаемые отклонения измеренных значений разности призматического действия соответствуют приведенным в ГОСТ Р 12.4.230.1 (подпункт 5.2.3.3, таблица 2).
5.3.1 Общие положения
5.3.1.1 Поле зрения испытывают периметром с помощью контрольного макета головы, выбираемого испытателем для СИЗ глаз конкретного типа по приложению А.
5.3.2 Требования к средствам измерения, испытательному и вспомогательному оборудованию
5.3.2.1 Испытание поля зрения проводят на установке, принципиальная схема которой приведена на рисунке 4.
5.3.2.2 В качестве источника излучения применяют гелий-неоновый лазер 1 с длиной волны излучения λ = (600 ± 70) нм. Диаметр пучка излучения составляет (1,0 ± 0,5) мм. Пучок лучей, исходящий из лазера, должен быть направлен вдоль оси С - С.
5.3.2.3 Оси вращения А - А и В - В периметра и оптическая ось С - С лазера должны пересекаться на передней поверхности одного из глаз (рисунок 4).
5.3.2.4 На расстоянии (250 ± 5) мм от поверхности глаз должен быть установлен прозрачный экран 4 по центру между двумя глазами.
5.3.2.5 На экране 4 должны быть изображены два контрольных эллипса, размеры которых приведены на рисунке 5.

1 - лазер; 2 - испытуемое СИЗ глаз; 3 - контрольный макет головы; 4 - экран; 5 - периметр
Рисунок 4 - Принципиальная схема установки для испытания поля зрения
Длина горизонтальной оси эллипса равна
Изготовителем СИЗ глаз может быть указано другое межзрачковое расстояние. Горизонтальные оси
контрольных эллипсов параллельны и расположены на

Рисунок 5 - Контрольные эллипсы для измерения поля зрения
5.3.3 Подготовка и проведение испытания, оценка результатов испытания
5.3.3.1 Лазер 1 и СИЗ глаз устанавливают таким образом, чтобы оптическая ось пучка излучения лазера проходила через центр испытуемого одного глаза на контрольном макете головы.
5.3.3.2 Элементы 2 - 5 устройства вращают вокруг осей А - А и В - В согласно рисунку 4.
Считают, что СИЗ глаз выполняет свою функцию для одного глаза, если пучок излучения лазера, проходя через контуры эллипсов, проходит через очковое стекло и не затеняется оправой или корпусом.
5.3.3.3 Перемещают контрольный макет головы в плоскости, перпендикулярной к оптической оси С - С лазера 1, и повторяют испытания по 5.3.2.1 - 5.3.2.2 для второго глаза на контрольном макете головы.
Считают, что СИЗ глаз выполняет свою функцию для второго глаза, если пучок излучения лазера, проходя через контуры эллипсов, проходит через очковое стекло и не затеняется оправой или корпусом.
5.4.1 Общие положения
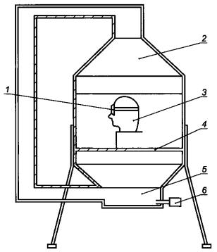
5.4.1.1 Величину области перекрытия защитных лицевых щитков оценивают за периметром с помощью контрольного макета головы, выбираемого испытателем для конкретного типа защитного лицевого щитка по приложению А, при повороте макета головы вокруг его горизонтальной и вертикальной осей.
5.4.2 Требования к средствам испытания, испытательному оборудованию и вспомогательному оборудованию
5.4.2.1 Оценку области перекрытия проводят на установке, принципиальная схема которой приведена на рисунке 6.

1 - лазер (или цилиндрическая трубка с перекрестием); 2 - макет головы; 3 - прямоугольник ABCD; 4 - поддерживающая рамка; 5 - периметр
Рисунок 6 - Принципиальная схема устройства для оценки области перекрытия щитка защитного лицевого
5.4.2.2 На контрольном макете головы должна быть начерчена область защиты глаз: прямоугольник ABCD согласно указанной на рисунке А.1 приложения А.
5.4.2.3 Поддерживающая рамка 4 позволяет осуществлять поворот макета головы вокруг горизонтальной оси А - А и вертикальной оси В - В установки.
5.4.2.4 Требования к источнику излучения - по 5.3.2.2.
Максимальный диаметр пучка излучения
лазера 1 должен быть
Примечание - Допускается использовать вместо лазера цилиндрическую трубу, оснащенную перекрестием.
5.4.3 Подготовка и проведение испытания, оценка результатов испытания
5.4.3.1 Устанавливают контрольный макет головы так, чтобы ось А - А проходила через центры зрачков макета головы, а ось В - В - через середину расстояния между зрачками головы. Оптическая ось пучка излучения лазера и оси вращения А - А и В - В должны пересекаться на поверхности головы в средней точке линии, соединяющей центры глаз.
5.4.3.2 Устанавливают лицевой щиток на макете головы в соответствии с инструкцией производителя.
5.4.3.3 Макет головы, устанавливается в следующих положениях:
- лицом вперед и наклоненным вперед на 45° ± 1° относительно горизонтальной оси А - А;
- лицом вперед и наклоненным назад на 45° ± 1° относительно горизонтальной оси А - А;
- повернутым на 90° ± 1° влево относительно вертикальной оси В - В и наклоненным назад на 45° ± 1° относительно горизонтальной оси А - А;
- повернутым на 90° ± 1° вправо относительно вертикальной оси В - В и наклоненным вперед на 45° ±1° относительно горизонтальной оси А - А;
- повернутым на 90° ± 1° вправо относительно вертикальной оси В - В и повернутым назад на 45 ± 1° относительно горизонтальной оси А - А.
5.4.3.4 Считают, что защитный лицевой щиток выполняет свою функцию, если во время контроля пучок излучения лазера задерживается защитным лицевым щитком и не происходит контакта пучка излучения с любой точкой прямоугольника ABCD.
5.5.1 Общие положения
5.5.1.1 Большинство очковых стекол СИЗ глаз имеют характеристики светорассеяния, симметричные относительно оптической оси. Для таких очковых стекол среднее значение приведенного коэффициента яркости постоянно в пределах угла, ограниченного двумя конусами, показанными на рисунке 7.
Среднее значение приведенного коэффициента яркости зависит от значений углов рассеяния α и ∆α.

1 - падающий вдоль оптической оси световой поток; 2 - световой поток, прошедший через очковое стекло (светофильтр); 3 - очковое стекло (светофильтр)
Рисунок 7 - Углы рассеяния
5.5.1.2 Метод испытания приведенного коэффициента яркости очкового стекла без корригирующего эффекта и светофильтра основан на определении его светорассеяния с последующим вычислением значения по формуле (1).
5.5.1.3 Допускается применять упрощенный метод испытания приведенного коэффициента яркости СИЗ глаз с корригирующим эффектом по приложению Г.
5.5.2 Требования к средствам измерения, испытательному и вспомогательному оборудованию
5.5.2.1 Принципиальная оптическая схема установки для испытания приведенного коэффициента яркости очковых стекол и светофильтров СИЗ глаз приведена на рисунке 8.
5.5.2.2 В качестве источника излучения 1 применяют ксеноновую лампу высокого давления типов ДКС 150, ХВО 150 или CSX 150 (мощность 150 Вт).
5.5.2.3
Сферическое вогнутое зеркало 2, имеющее фокусное расстояние
5.5.2.4
Сферическое вогнутое зеркало 7, имеющее фокусное расстояние
5.5.2.5 Диаметр отверстия круглой диафрагмы 9 должен быть (7,5 ± 0,1) мм, кольцевая диафрагма 10 имеет внешний диаметр окружности (21,0 ± 0,1) мм, внутренний диаметр окружности (15,75 ± 0,10) мм.
Примечание - Диаметры окружностей кольцевой диафрагмы 10 следует измерять любым измерительным инструментом с погрешностью не более
1 - источник излучения; 2, 4, 7 - сферическое вогнутое зеркало; 3, 9 - диафрагма; 5, 13 - ирисовая диафрагма; 6 - испытуемое очковое стекло; 8 - плоское зеркало; 10 - кольцевая диафрагма; 11 - ахроматический объектив; 12 - плоское зеркало; 14 - светорассеивающий экран (плоскость изображения); 15 - фотоумножитель
Рисунок 8 - Принципиальная оптическая схема установки испытания очковых стекол и светофильтров СИЗ глаз
5.5.2.6
Ахроматический объектив 11 с фокусным расстоянием
5.5.2.7 Изображение ирисовой диафрагмы 5, регулирующей поле измерения, формируется ирисовой диафрагмой 13, исключающей краевые эффекты от диафрагмы 5.
5.5.2.8 При испытаниях по схеме рисунка 7 среднее значение приведенного коэффициента яркости очковых стекол определяется в пределах углов рассеяния ω = 1,5° и α + ∆α = 2° относительно оптической оси установки. Чувствительность фотоумножителя 15 должна быть приведена к кривой v(λ), являющейся относительной спектральной световой эффективностью монохроматического излучения.
5.5.3 Порядок подготовки и проведение испытания
5.5.3.1 Определение приведенного коэффициента яркости очковых стекол (светофильтров) следует осуществлять в зрительном центре очкового стекла (светофильтра).
5.5.3.2 Испытуемое очковое стекло 6 помещают в параллельный поток излучения в положение I, так чтобы зрительный центр находился на оптической оси. Устанавливают круглую диафрагму 9. Измеряют направленный на светорассеивающий экран 14 фотоумножителя 15 поток излучения Ф1L лм, прошедший через исследуемое очковое стекло.
Если зрительный центр не установлен - используют геометрический центр.
5.5.3.3 Круглую диафрагму 9 заменяют кольцевой диафрагмой 10. Измеряют поток излучения Ф1R, лм, соответствующий суммарному потоку излучения, рассеянному очковым стеклом в положении I, и испытательной установкой в телесном угле ω, срад.
5.5.3.4 Испытуемое очковое стекло устанавливают в положение II. Поток излучения Ф2R, лм, падающий на светорассеивающий экран фотоумножителя 15, является потоком излучения, рассеянным только компонентами испытательной установки в том же телесном угле ω.
5.5.3.5 Разность потоков излучения Ф1R - Ф2R соответствует потоку излучения, рассеянному только очковым стеклом 6.
5.5.3.6 Среднее значение приведенного коэффициента яркости L* для телесного угла ω вычисляют по формуле
(1)
где ω - телесный угол, определяемый кольцевой диафрагмой и соответствующий углам рассеяния α и ∆α, срад;
Ф1R, Ф2R - потоки излучения, измеренные с кольцевой диафрагмой 10, лм (см. рисунок 8);
Ф1L - поток излучения, прошедший через исследуемое очковое стекло и измеренный с круглой диафрагмой 9, лм (см. рисунок 8);
5.5.4 Правила оценки результатов испытания
5.5.4.1 Очковое стекло и светофильтр считают прошедшими испытания, если максимальное значение приведенного коэффициента яркости L* соответствует значениям по ГОСТ Р 12.4.230.1 (подпункт 5.2.3.9).
5.6.1 Общие положения
5.6.1.1 Оценку качества материала и поверхностей очкового стекла и светофильтра испытатель осуществляет визуальным осмотром с помощью «светового ящика».
5.6.1.2 Допускается проводить оценку поверхности материала и поверхности очковых стекол и светофильтров СИЗ глаз с применением подсвеченной решетки, помещая очковое стекло перед решеткой, освещенной любой лампой, на различных расстояниях от глаза испытателя.
5.6.2 Требования к средствам испытания, испытательному и вспомогательному оборудованию
5.6.2.1 Принципиальная схема установки для оценки качества материала и поверхности очкового стекла и светофильтра СИЗ глаз соответствует приведенной на рисунке 9.

1 - лампа; 2 - регулируемая черная непрозрачная маска; 3 - черный матовый экран; 4 - испытуемое очковое стекло (светофильтр); 5 - глаз испытателя
Рисунок 9 - Принципиальная схема установки для оценки качества материала и поверхностей очкового стекла и светофильтра
5.6.2.2
Люминесцентная лампа 1, используемая в качестве осветителя испытуемого очкового стекла 4, устанавливается в камере на расстоянии
5.6.2.3 Экран 3 камеры должен иметь черную матовую поверхность. Размеры экрана - 200 × 360 мм2.
5.6.2.4 Освещенность экрана 3 должна регулироваться с помощью маски 2, изготовленной в виде пластины из черного непрозрачного материала, например, засвеченной фотобумаги. Экран 3 и регулируемая черная непрозрачная маска 2 образуют «световой ящик».
5.6.2.5 «Световой ящик» должен иметь выходное отверстие, удобное для глаза испытателя, находящееся в плоскости наблюдения.
5.6.3 Подготовка и проведение испытания
5.6.3.1
Испытуемое очковое стекло (светофильтр) 4 помещают между «световым ящиком» и глазом
наблюдателя на расстоянии
5.6.3.2 Перемещая испытуемое очковое стекло вверх, вниз и слегка поворачивая его вокруг оптической оси, испытатель наблюдает на экране 3 наличие дефектов испытуемого очкового стекла СИЗ глаз.
5.6.4 Правила оценки результатов испытания
5.6.4.1 Очковое стекло (светофильтр) считают прошедшим испытание, если оно соответствует требованиям ГОСТ Р 12.4.230.1 (подпункт 5.2.4.1).
5.6.4.2
В случае наличия в испытуемом очковом стекле (светофильтре) участков поверхности, ухудшающих видимость, следует провести дополнительные испытания на определение светового коэффициента пропускания по 5.7, приведенного коэффициента яркости по 5.5,
а также на сферическую рефракцию, астигматизм и призматическое действие по 5.1
- 5.2,
используя пучок излучения лазера, световой диаметр
которого равен
5.7.1 Общие положения
5.7.1.1 Отклонение коэффициента светового пропускания светофильтров определяют при падении энергетического (светового) потока по нормали к испытываемому очковому стеклу и к поверхности испытуемой оправы.
5.7.2 Порядок подготовки и проведения испытания светофильтра СИЗ глаз
5.7.2.1 Определяют положение зрительного центра светофильтра. Если положение не определено, то используют геометрический центр.
5.7.2.2 Определяют круглый участок поверхности вокруг установленного по 5.7.2.1 центра с диаметром d, размер которого выбирают следующим образом:
а) d = (40,0 ±
0,5) мм для очковых стекол с размером по вертикали более
б) d = (d'верт - 10) мм для очковых стекол с размером по вертикали менее
5.7.2.3 Измеряют световой коэффициент пропускания методом по ГОСТ 3520, раздел 2 для источника типа А или источника D65 в зависимости от области применения СИЗ глаз.
Измерения проводят при сканировании выбранного по 5.7.2.2 круглого участка поверхности очкового стекла световым пучком диаметром (5,0 ± 0,1) мм.
Примечание - Результаты измерений в краевой зоне шириной
5.7.2.4 Светофильтры, обладающие участками с разными световыми коэффициентами пропускания (градиент коэффициента пропускания), измеряют по нормали к направлению градиента по выбранным круглым участкам. Участки светофильтра с разными требованиями к световым коэффициентам пропускания приведены на рисунке 10.
5.7.2.5 Испытуемый светофильтр устанавливают так, чтобы световой поток падал по нормали к поверхности светофильтра или параллельно визирной оси.
Примечание - Если направление падения светового потока отклоняется от нормали, то при расчете отклонения светового коэффициента пропускания следует вводить поправку на толщину светофильтра по формуле (4).

1 - сканирующий световой пучок; 2 - зрительный центр; 3 - геометрический центр; 4 - круглый участок поверхности светофильтра
Рисунок 10 - Участки светофильтра с разными световыми коэффициентами пропускания
5.7.2.6 Измеряют и регистрируют значения световых коэффициентов пропускания:
τмакс - максимальное;
τмин - минимальное;
τс - в определенном согласно 5.7.2.1 центре.
5.7.2.7 Вычисляют значения отклонения светового коэффициента пропускания, %, по формулам:
(2)
(3)
5.7.2.8 Из значений ∆1 и ∆2 испытатель выбирает большее значение и оно является окончательным результатом измерения отклонения светового коэффициента пропускания светофильтра - Р1.
5.7.3 Порядок подготовки и проведения испытания очковых стекол СИЗ глаз без оправы
5.7.3.1 Операции по 5.7.2.1 - 5.7.2.7 проводят последовательно для очковых стекол левого и правого глаз.
5.7.3.2 По формулам (2) и (3) вычисляют:
∆1л и ∆2л - для очкового стекла левого глаза;
∆1п и ∆2п - для очкового стекла правого глаза.
Из значений ∆1Л и ∆2л выбирают большее и регистрируют значение отклонения светового коэффициента пропускания очкового стекла левого глаза - Р1.
Из значений ∆1п и ∆2п выбирают большее и регистрируют значение отклонения светового коэффициента пропускания очкового стекла правого глаза - Р2.
5.7.3.3 Меньшее из значений Р1 и Р2 делят на большее и регистрируют значение частного от деления - Р3 как отклонение светового коэффициента пропускания очковых стекол, %, в оправе и без нее для двух глаз.
5.7.4 Корректировка светового коэффициента пропускания с учетом разной толщины очкового стекла
5.7.4.1 Исключая многократное отражение светового луча внутри очкового стекла, соотношение между световым коэффициентом пропускания τ и толщиной t очкового стекла τ вычисляют по формуле
τ = (1 - ρ1)∙(1 - ρ2)∙е-kt, (4)
где ρ1 - коэффициент отражения передней поверхности очкового стекла;
ρ2 - коэффициент отражения задней поверхности очкового стекла;
k - коэффициент поглощения;
t - толщина очкового стекла, см.
Коэффициент поглощения k определяют по формуле
(5)
где t - толщина очкового стекла, заданная техническими условиями, см.
По формуле (4) вычисляют световой коэффициент пропускания τ для толщины ti в i-й зоне очкового стекла.
5.7.4.2 В случае, когда показатель преломления материала очкового стекла - n известен, а на поверхности очкового стекла отсутствует покрытие, коэффициенты отражения ρ1 и ρ2 определяют по формулам:
- граница воздух - стекло:
(6)
- граница стекло - воздух:
(7)
5.7.5 Правила оценки результатов испытания
5.7.5.1 Светофильтры СИЗ глаз в оправе и без нее считают прошедшими испытания в видимой области спектра на световой коэффициент пропускания, если допускаемое относительное отклонение значений светового коэффициента пропускания соответствует приведенным в ГОСТ Р 12.4.230.1 (подпункты 5.2.3.7 и 5.2.3.8).
5.8.1 Общие положения
5.8.1.1 Спектральный коэффициент отражения ρ(λ) очковых и смотровых стекол измеряют с помощью спектрофотометра в интервале длин волн от 780 до 2000 нм с относительной погрешностью измерения не более 5 % при номинальном угле падения энергетического потока 8°.
Приведенный спектральный коэффициент отражения очкового стекла в ИК-области рассчитывают по следующей формуле
(8)
где λ - длина волны, нм.
5.8.1.2 Результаты испытаний (определений) оценивают в соответствии с ГОСТ Р 12.4.230.1 (подпункт 5.4.3.1).
6.1.1 Требования к средствам испытания, испытательному и вспомогательному оборудованию
6.1.1.1 Испытание очковых стекол без оправы на повышенную прочность проводят на установке, схема которой приведена на рисунке 11.
6.1.1.2 Оправка под очковое стекло 6 представляет собой цилиндр, изготовленный из стали или жесткой пластмассы. Внутренний диаметр цилиндра - (35,0 ± 0,1) мм, наружный диаметр - (41,0 ± 0,1) мм. Цилиндр может быть вставлен или может составлять одно целое со стальной станиной 1.
6.1.1.3 Испытуемое очковое стекло должно амортизироваться силиконовым опорным кольцом, прочно прикрепленным к верхней части цилиндра. Опорное кольцо должно быть изготовлено из силиконовой резины твердостью (40 ± 5) МШТР по Шору. Внутренний диаметр опорного кольца - (35,0 ± 0,4) мм, поперечное сечение – 3 × 3 мм.
6.1.1.4
Общая масса станины должна быть не менее

1 - станина; 2 - силиконовое опорное кольцо; 3 - испытуемое очковое стекло; 4 - нагрузочное кольцо; 5 - копировальная бумага, наложенная на белую бумагу; 6 - оправка под очковое стекло
Рисунок 11 - Схема установки для испытания очковых стекол без оправы на повышенную прочность
6.1.1.5 Нагрузочное кольцо 4 имеет массу (250 ± 5) г и внутренний диаметр (35,0 ± 0,1) мм, равный внутреннему диаметру цилиндра. Наружный диаметр нагрузочного кольца может быть любого удобного для испытания размера.
6.1.1.6
В качестве средства испытания применяют стальной шарик диаметром
6.1.2 Порядок подготовки к проведению испытания
6.1.2.1 Нагрузочное кольцо 4 помещают на испытуемое очковое стекло 3. Силиконовое опорное кольцо 2 помещают между нагрузочным кольцом и испытуемым очковым стеклом.
6.1.2.2 В углубление опоры испытуемого очкового стекла на глубину
6.1.3 Порядок проведения испытания
6.1.3.1
Центрируют предусмотренные точки удара испытуемого очкового стекла на оправке. Регулируют установку таким образом, чтобы стальной шарик, падающий с высоты 1,3-
6.1.3.2 Удары наносят при следующих условиях:
а) при нагретом до температуры (55 ± 2)°С очковом стекле, выдержанном при этой температуре не менее 1 ч;
б) при охлажденном до температуры (-5 ± 2)°С очковом стекле, выдержанном при этой температуре не менее 1 ч.
Для каждого отдельного удара и для каждого температурного режима следует применять новое очковое стекло. Удар должен наноситься не позднее, чем через 30 с после выдержки при заданной температуре.
6.1.4 Правила оценки результатов испытания
6.1.4.1 Результаты испытания оценивают в соответствии с ГОСТ Р 12.4.230.1 (подпункт 5.2.6.1).
6.2.1 Требования к средствам испытания, испытательному и вспомогательному оборудованию
6.2.1.1
Приспособление, позволяющее выстрелить стальным шариком диаметром
6.2.1.2 Контрольный макет головы, выбранный испытателем в соответствии с приложением А.
6.2.2 Порядок подготовки к проведению испытания
6.2.2.1 Испытуемое СИЗ глаз помещают на контрольный макет головы в положении, соответствующем нормальной эксплуатации. Если испытанию подвергается только оправа (корпус), то в нее должны быть вставлены очковые стекла, прошедшие испытания по 6.1.
6.2.2.2 Между испытуемым СИЗ глаз и контрольным макетом головы вставляют лист копировальной бумаги поверх листа белой бумаги. Контрольный макет головы и СИЗ глаз помещают в испытательную установку.
6.2.2.3 Точки удара
В соответствии с приложением А предусмотрены четыре точки удара, которые нанесены на контрольном макете головы, выбранном испытателем по 6.2.1.2. Шарик нацеливают на эти точки удара защитного средства, установленного в нормальное положение его эксплуатации.
Точкой удара считается любая одиночная точка в пределах окружности радиусом
а) левый глаз спереди;
б) правый глаз спереди;
в) левый глаз сбоку;
г) правый глаз сбоку.
Центры удара отмечены «*» на рисунке А.1 приложения А.
При фронтальных ударах по двум центрам глаз шарик выстреливают по нормали к вертикальной оси контрольного макета головы и параллельно его оптической оси вдоль каждой линии визирования.
При боковых ударах контрольный макет головы поворачивают вокруг вертикальной оси на 90° (влево и вправо) относительно положения при фронтальном ударе.
Контрольный макет головы может перемещаться по горизонтали и вертикали для выбора любой отдельной точки удара, лежащей в пределах
Точки удара находятся в зрительном центре (центрах) очковых стекол. Для очковых стекол, закрывающих один глаз, для которых положение зрительного центра не определено, следует использовать геометрический центр.
6.2.3 Порядок проведения испытания
6.2.3.1 Шариком выстреливают в точки удара, определенные по 6.2.2.3.
Для очков без боковой защиты шарик должен ударить в заушник в пределах заданной защитной зоны на вертикальной плоскости, проходящей через зрительный центр удара.
6.2.3.2 Удары наносят при соблюдении следующих условий:
а) при нагретом до температуры (55 ± 2)°С СИЗ глаз, выдержанном при этой температуре не менее 1 ч;
б) при охлажденном до температуры (-5 ± 2)°С СИЗ глаз, выдержанном при этой температуре не менее 1 ч.
6.2.3.3 Для каждого отдельного удара и для каждого температурного режима следует применять новое СИЗ глаз. Удар должен наноситься на позднее, чем через 30 с после выдержки СИЗ глаз при заданных температурах.
6.2.4 Правила оценки результатов испытания
6.2.4.1 Результаты испытаний оценивают в соответствии с ГОСТ Р 12.4.230.1 (подпункты 5.2.6.2-5.2.6.4).
6.3.1 Требования к средствам испытания, испытательному и вспомогательному оборудованию
6.3.1.1 Испытание светофильтров и покровных стекол на минимальную прочность проводят на установке, схема которой приведена на рисунке 12.
6.3.1.2 Нагрузочное устройство
Стальной шарик 5 номинальным диаметром
Нагрузочное кольцо 6 массой (250 ± 5) г обеспечивает своим весом давление силиконового опорного стекла 2 на верхнюю поверхность испытуемого покровного стекла (светофильтра).
Общая нагрузочная масса 4 такова, что сила, действующая на покровное стекло (светофильтр), составляет (100 ± 2) Н.
6.3.1.3 Требования к оправке 9 - по 6.1.1.2.
6.3.1.4 Требования к силиконовым опорным кольцам - по 6.1.1.3.

1 - стальная опорная пластина; 2 - силиконовые опорные кольца; 3 - направляющий блок; 4 - нагрузочная масса; 5 - стальной шарик; 6 - нагрузочное кольцо; 7 - копировальная бумага, наложенная на белую бумагу; 8 - испытуемое покровное стекло (светофильтр); 9 - оправка
Рисунок 12 - Схема установки для испытания светофильтров и покровных стекол на минимальную прочность
6.3.2 Порядок подготовки к проведению испытания
6.3.2.1 Испытуемое покровное стекло (светофильтр) помещают между двумя силиконовыми опорными кольцами 2. Одно силиконовое опорное кольцо крепят к стальной оправке 9, другое - к нагрузочному кольцу 6. Проводят операции по 6.1.2.2.
6.3.3 Порядок проведения испытания
6.3.3.1 Центральную вертикальную ось нагрузочной массы совмещают с осью опоры испытуемого покровного стекла (светофильтра).
6.3.3.2 Испытуемое покровное стекло (светофильтр) устанавливают на опорном кольце «глазной стороной» вниз и помещают на него нагрузочное кольцо.
6.3.3.3 Положение испытуемого покровного стекла (светофильтра) регулируют таким образом, чтобы ось нагрузочного кольца проходила через зрительный центр испытуемого покровного стекла (светофильтра). Если зрительный центр не определен, следует использовать геометрический центр.
6.3.3.4 Опускают груз по направляющему блоку 3 на очковое стекло со скоростью, не превышающей 400 мм/мин. Усилие (100 ± 2) Н выдерживают в течение (10 ± 2) с, после чего груз удаляют.
6.3.4 Правила оценки результатов испытания
6.3.4.1 Результаты испытания оценивают в соответствии с ГОСТ Р 12.4.230.1 (подпункты 5.2.5.2, 5.2.5.3).
6.4.1 Требования к средствам испытания, испытательному и вспомогательному оборудованию
6.4.1.1 Термостат, способный поддерживать температуру (55 ± 2)°С.
6.4.2 Подготовка и проведение испытания
6.4.2.1 Испытуемое СИЗ глаз устанавливают в положение, соответствующее его нормальной эксплуатации, помещают в термостат и выдерживают в течение времени (60 ± 5) мин при температуре (55 ± 5)°С. По окончанию времени выдержки, испытуемое СИЗ глаз удаляют из термостата и оставляют при температуре (23 ± 5)°С на время, не менее 60 мин, после чего приступают к осмотру СИЗ глаз невооруженным глазом.
6.4.3 Правила оценки результатов испытания
6.4.3.1 Результаты испытания оценивают в соответствии с ГОСТ Р 12.4.230.1 (подпункт 5.2.7.2)
6.5.1 Общие положения
6.5.1.1 Метод измерения коэффициента пропускания очковых стекол в ультрафиолетовой области спектра τsuv основан на измерении спектрального коэффициента пропускания τ(λ) согласно ГОСТ Р 51854 с помощью любых типов спектрофотометров и фотометров, прошедших поверку и аттестованных в установленном порядке, с дополнениями и уточнениями, изложенными в настоящем подразделе.
6.5.1.2 Для измерения коэффициентов пропускания и проведения затемняющей экспозиции следует использовать ксеноновую лампу высокого давления с кварцевой колбой, имеющей мощность от 400 до 500 Вт. Рекомендуется применять ксеоновую лампу с мощностью 450 Вт. Коэффициент спектрального пропускания колбы лампы должен составлять не менее 30 % при длине волны излучения 200 нм.
Примечание - Рекомендуется применять лампы типов ХВО-450 W/4 и CSX-450 W/4.
6.5.1.3 Поток излучения лампы на поверхность испытуемого очкового стекла должен падать по нормали. Расстояние от оси лампы до ближайшей точки поверхности испытуемого очкового стекла должно быть равно (300 ± 10) мм. Время воздействия должно составлять (50 ± 0,2) ч при мощности лампы 450 Вт.
6.5.2 Правила оценки результатов испытания
6.5.2.1 Результаты испытания оценивают в соответствии с ГОСТ Р 12.4.230.1 (подпункт 5.2.7.3).
6.6.1 Требования к средствам испытания, испытательному и вспомогательному оборудованию
6.6.1.1
Стальной пруток длиной (300 ± 3) мм и диаметром
6.6.1.2 Нагреватель.
6.6.1.3 Термопара и индикатор температуры.
6.6.1.4 Таймер, позволяющий проводить хронометраж времени до 10 с, с погрешностью ±0,1 с.
6.6.2 Подготовка и проведение испытания
6.6.2.1
Один конец стального прутка надевают на длину не менее
6.6.2.2 Нагретый торец прутка прижимают (при вертикальном положении продольной оси прутка) к поверхности испытуемого СИЗ глаз в течение (5,0 ± 0,5) с, с силой нажатия, равной весу прутка. Убирают пруток от поверхности испытуемого СИЗ глаз.
6.6.2.3 Испытание проводят на всех доступных частях СИЗ глаз, за исключением эластичных наголовных лент и окантовки из ткани.
Во время испытания проводят визуальный осмотр, чтобы установить, воспламеняется ли испытуемое СИЗ глаз и продолжает ли оно тлеть.
6.6.3 Правила оценки результатов испытания
6.6.3.1 Результаты испытания оценивают в соответствии с ГОСТ Р 12.4.230.1 (пункт 5.2.9).
6.7.1 Подготовка и проведение испытания
6.7.1.1 Со всех металлических частей СИЗ глаз удаляют с помощью мягкого фланелевого тампона все загрязнения, особенно масло и смазку.
6.7.1.2 Погружают СИЗ глаз на (15 ± 1) мин в кипящий водный раствор хлористого натрия, составляющего по массе (10,0 ± 0,5) %.
6.7.1.3 Удаляют СИЗ глаз из кипящего раствора и немедленно погружают его на (15 ± 1) мин в водный раствор хлористого натрия при комнатной температуре.
6.7.1.4 Вынимают СИЗ глаз из раствора и, не обтирая прилипшую жидкость, оставляют на (24 ± 1) ч при температуре (23 ± 5)°С. Промывают СИЗ глаз теплой водой и оставляют до полного его высыхания перед осмотром.
6.7.2 Правила оценки результатов испытания
6.7.2.1 Результаты испытания оценивают в соответствии с ГОСТ Р 12.4.230.1 (пункт 5.2.8).
6.8.1 Требования к средствам испытания, испытательному и вспомогательному оборудованию
6.8.1.1 Контрольный макет головы человека, выбранный испытателем в соответствии с приложением А.
6.8.1.2
Устройство, которое обеспечивает стальному шарику диаметром
Примечание - Катапульта состоит из:
- ствола (трубки), имеющего длину, достаточную для обеспечения установленной скорости вылета стального шарика;
- казенной части (загрузочного механизма), обеспечивающей заданное положение шарика относительно конца ствола (трубки);
- пружины или сжатого газа для обеспечения поступательного движения.
6.8.1.3 Калибровочное устройство или средство для измерения выходной скорости шарика.
6.8.1.4 Средство измерения времени с точностью отсчета не более 10 мкс.
Примечание - Для измерения времени наиболее удобен метод с использованием электронного таймера, управляемого фотоэлементами через усилители. Расстояние между датчиками должно быть не более
6.8.1.5 Измерение скорости следует проводить как можно ближе к точке удара. Конец ствола (трубки) должен быть защищен от рикошета.
6.8.1.6 Зона, окружающая испытуемое СИЗ глаз, контрольный макет головы и ствол (трубку), должна быть закрыта кожухом.
6.8.2 Проведение испытания СИЗ глаз на устойчивость к воздействию высокоскоростных частиц
6.8.2.1 Испытуемое СИЗ глаз устанавливают на контрольный макет головы в положении, отвечающем его нормальной эксплуатации, и с натяжением наголовной ленты, если она предусмотрена изготовителем, отрегулированном в соответствии с инструкциями изготовителя.
6.8.2.2
Между защитным средством и контрольным макетом головы вставляют лист копировальной
бумаги поверх листа белой бумаги. Испытуемое СИЗ глаз, установленное на контрольном макете головы, поворачивают перед катапультой так, чтобы точка удара была удалена не более чем на
6.8.2.3 Стальной шарик выстреливают со скоростью, указанной в таблице 6 ГОСТ Р 12.4.230.1. Точки нанесения удара - по 6.2.2.3.
6.8.2.4 Каждый СИЗ глаз подвергается только одному удару.
6.8.3 Проведение испытания СИЗ глаз на устойчивость к воздействию высокоскоростных частиц при экстремальных температурах
6.8.3.1 Испытания проводят по 6.8.2 с дополнениями и уточнениями, изложенными в настоящем подразделе.
6.8.3.2 Удар стальным шариком наносят после проведения следующих операций:
а) нагревают очковое стекло до температуры (55 ± 2)°С и выдерживают при этой температуре не менее 1 ч;
б) охлаждают очковое стекло до температуры (-5 ± 2)°С и выдерживают при этой температуре не менее 1 ч.
6.8.3.3 Для каждого отдельного удара и для каждого температурного режима следует использовать новые очковые стекла. Удар наносят в течение 30 с после температурного воздействия по перечислениям а); б) 6.8.3.1.
6.8.4 Правила оценки результатов испытания
6.8.4.1 Результаты испытания оценивают в соответствии с ГОСТ Р 12.4.230.1. (пункты 5.3.2, 5.4.4).
6.9.1 Требования к средствам испытания, испытательному и вспомогательному оборудованию
6.9.1.1 Схема установки для испытания СИЗ глаз на устойчивость к адгезии расплавленных металлов приведена на рисунке 13.

1 - эжекторный цилиндр; 2 - пружинный спусковой механизм; 3 - тигель; 4 - испытуемое СИЗ глаз; 5 - прижимное кольцо; 6 - защитный корпус; 7 - прижимный груз; 8 - опорное кольцо; 9 - стационарная площадка; 10 - головка эжектора; 11 - пружина эжектора; 12 - спусковая педаль
Рисунок 13 - Схема установки для испытания на устойчивость к адгезии расплавленных металлов
6.9.1.2 Система выброса, оснащенная эжекционной головкой 10 с углублением в центре, предназначенном для размещения тигля с расплавленным металлом. Сила выброса и положение стационарной площадки 9 должны быть такими, чтобы расплавленный металл, состоящий из серого чугуна массой (100 ± 5) г, выбрасывался вверх из головки эжектора 10 на высоту (250 ± 25) мм под поверхностью испытуемого СИЗ глаз.
6.9.1.3
Стационарная площадка 9, установленная над головкой эжектора 70, имеет центральное отверстие диаметром
6.9.1.4
Металлическое опорное кольцо 8 укреплено на стационарной площадке и имеет центральное
отверстие диаметром
6.9.1.5
Металлическое прижимное кольцо 5 с отверстием диаметром
Примечание - В случае необходимости, поверхности опорного и прижимного колец выполняются по форме поверхности испытуемого СИЗ глаз.
6.9.1.6 Керамический тигель 3 вместимостью около 60 см3 имеет глубину
6.9.1.7 Применяют следующие материалы для загрузки тигля:
- серый чугун массой (100 ± 5) г;
- алюминий массой (38 ± 2) г.
6.9.1.8 Защитный корпус 6 закрывает устройство с целью обеспечения безопасности при испытании.
Примечание - При эжекции тигель и его содержимое выбрасываются на СИЗ глаз.
6.9.2 Подготовка и проведение испытания
6.9.2.1 Испытание СИЗ глаз на устойчивость к адгезии расплавленных металлов проводят путем выплескивания расплавленного металла на испытуемое СИЗ глаз.
6.9.2.2 Испытуемое СИЗ глаз устанавливают так, чтобы испытуемая область СИЗ глаз располагалась непосредственно над центральным отверстием эжекторной головки. Обеспечивают безопасность испытания прижимным кольцом и грузом.
6.9.2.3 Загружают в головку эжектора тигель, содержащий (100 ± 5) г серого чугуна, расплавленного при температуре (1450 ± 20)°С. Освобождают спусковую педаль 12, в результате чего головка эжектора движется по вертикали до тех пор, пока она не ударится в стационарную площадку и не выбросит расплавленный металл из тигля на испытуемое СИЗ глаз. Удаляют СИЗ глаз и проверяют, произошло ли налипание расплавленного металла на какой-либо его части. Повторяют испытание со вторым СИЗ глаз, используя тигель, содержащий (38 ± 2) г алюминия, расплавленного при температуре (750 ± 20)°С.
6.9.3 Правила оценки результатов испытания
6.9.3.1 Результаты испытания оценивают в соответствии с ГОСТ Р 12.4.230.1 [пункт 5.3.3, перечисления а) - г)].
6.10.1 Требования к средствам испытания, испытательному и вспомогательному оборудованию
6.10.1.1 Металлический цилиндр 2, предназначенный для опоры испытуемого СИЗ глаз.
6.10.1.2 Воронка из теплоизоляционного материала 7 для центрирования стального шарика в центре СИЗ глаз.
6.10.1.3 Источник тепла для поддержания температуры стального шарика до (900 ± 20)°С.
6.10.1.4
Стальной шарик диаметром
6.10.1.5 Таймер, позволяющий проводить хронометраж времени до 10 с, с погрешностью ±0,1 с.
6.10.2 Подготовка и проведение испытания
6.10.2.1 Испытуемое СИЗ глаз помещают на цилиндр, а воронку - поверх испытуемого СИЗ глаз.
6.10.2.2 Нагревают источником тепла стальной шарик до температуры (900 ± 20)°С.
6.10.2.3 Удаляют стальной шарик от источника тепла и моментально опускают его в воронку.
6.10.2.4 Включают таймер. Зарегистрированное таймером время падения шарика и его прохождение через СИЗ глаз фиксируют как время проникания горячего тела через испытуемое СИЗ глаз.
Примечание - На рисунке 14 приведены размеры деталей установки для испытания устойчивости СИЗ глаз к прониканию горячих тел.

Рисунок 14 - Размеры деталей установки для испытания устойчивости СИЗ глаз к прониканию горячих тел
6.10.3 Правила оценки результатов испытания
6.10.3.1 Результаты испытания оценивают в соответствии с ГОСТ Р 12.4.230.1 [пункт 5.3.3, перечисления д), е)].
6.11.1 Требования к средствам испытания, испытательному и вспомогательному оборудованию
6.11.1.1 Контрольный макет головы, выбранный испытателем в соответствии с приложением А.
6.11.1.2 Управляемый вручную распылитель для создания мелких капель жидкости. Туман не допускается.
6.11.1.3
Белая индикаторная бумага. Края бумаги должны выступать по всей границе закрытых
защитных очков не менее чем на
6.11.1.4 Раствор объемом (1,0 ± 0,1) дм3, приготовленный путем растворения (5,0 ± 0,5) г фенолфталеина в (500 ± 50) см3 этилового спирта с добавлением (500 ± 50) мл воды, при постоянном размешивании.
6.11.1.5 Поглощающая раствор хлопковая вата массой на единицу площади около 185 г/м2.
6.11.1.6 Распыляемый раствор, содержащий растворенный в воде 0,1 моль/дм3 карбонат натрия.
6.11.2 Подготовка и проведение испытания
6.11.2.1 Покрывают зону очковых (смотровых) стекол на контрольном макете головы прокладками из хлопковой ваты, затем индикаторной бумагой, предварительно опущенной в раствор, приготовленный в соответствии с 6.11.1.4.
6.11.2.2
Устанавливают испытуемые закрытые защитные очки (лицевой щиток) на контрольный макет
головы в нормальное положение его эксплуатации так, чтобы индикаторная бумага выступала по всей
границе закрытых защитных очков, не менее чем на
6.11.2.3 Регулируют нормальную степень натяжения наголовной ленты. Регулируют число ватных прокладок, необходимое для того, чтобы обеспечивать хорошее уплотнение между закрытыми защитными очками и макетом головы.
6.11.2.4
Опрыскивают установленные испытуемые закрытые защитные очки (лицевой щиток) мелкими брызгами раствора, приготовленными в соответствии с 6.11.1.4, располагая распылитель на расстоянии
около
6.11.3 Правила оценки результатов испытания
6.11.3.1 Окрашивание индикаторной бумаги в темно-красный цвет в пределах любой из двух окружностей под испытуемыми закрытыми защитными очками свидетельствует о проникании в них мелких брызг.
6.11.3.2 Результаты испытания оценивают в соответствии с ГОСТ Р 12.4.230.1 (пункт 5.3.4.1).
6.12.1 Требования к средствам испытания, испытательному и вспомогательному оборудованию
6.12.1.1 Схема установки для испытания СИЗ глаз на защиту от грубодисперсных аэрозолей (пыли) приведена на рисунке 15.
6.12.1.2 Пылевая камера 2 с фронтальным стеклом, имеющая внутренние размеры 560 × 560 × 560 мм. Дно камеры имеет форму воронки с герметично уплотненной шарнирной крышкой. Вентилятор 6 присоединяется к нижней части опрокинутой воронки, способной пропускать объем воздуха около 2,8 м3/мин при давлении 2250 Па. Непосредственно над входным отверстием вентилятора установлен завихритель воздуха, способный создать завихрения в потоке воздуха от вентилятора 6. Выходное отверстие пылевой камеры соединяется с входным отверстием вентилятора. Камера оснащена прутками 4 для поддержания контрольного макета головы. Расположение прутков должно позволять свободно циркулировать пыли в пределах камеры.

1 - испытуемое СИЗ глаз; 2 - пылевая камера; 3 - контрольный макет головы; 4 - прутки; 5 - пылесборник; 6 - вентилятор
Рисунок 15 - Схема установки для испытания СИЗ глаз на защиту от грубодисперсных аэрозолей (пыли)
6.12.1.3 Стандартный порошок пылевидного угля в количестве (1000 ±50) г помещают внутри пылевой камеры. Угольная пыль должна иметь распределение по размерам, соответствующее приведенному в таблице 1.
Таблица 1 - Распределение по размерам частиц порошка угля
|
Размеры ячеек сита, мм, по ГОСТ Р 51568 |
Минимальный процент прохождения частиц, % |
Размеры ячеек сита, мм, по ГОСТ Р 51568 |
Минимальный процент прохождения частиц, % |
|
0,300 |
95 |
0,090 |
40 |
|
0,150 |
85 |
0,040 |
3 |
6.12.1.4 Контрольный макет головы, выбранный испытателем в соответствии с приложением А, покрытый прокладками из поглощающей хлопковой ваты, приблизительная масса которых на единицу площади составляет 185 г/м2. Вата должна быть покрыта листом влажной белой индикаторной бумаги, на которой карандашом отмечены две окружности диаметром (52 ± 1) мм или (48 ± 1) мм на расстоянии по горизонтали между центрами (64 ± 1) мм или (54 ± 1) мм, представляющие межзрачковые расстояния очковых стекол на контрольном макете головы.
6.12.1.5 Фотоэлектрический рефлектометр, содержащий источник излучения 3 в видимом диапазоне, и фотоприемник 2 с максимальной чувствительностью в зеленой области спектра. Принципиальная оптическая схема фотоэлектрического рефлектометра, соответствующая требованиям настоящего стандарта, приведена на рисунке 16.

1 - контрольная бумага; 2 - фотоприемник; 3 - ртутная лампа; 4 - линза; 5 - интерференционный фильтр (λ = 546 нм)
Рисунок 16 - Принципиальная оптическая схема фотоэлектрического рефлектометра
6.12.1.6 Образец сравнения белого цвета: любой материал белого цвета, способный сохранять постоянный коэффициент отражения во время испытания, например, молочное стекло, керамическая плитка, прессованный сульфат бария, карбонат магния, несколько слоев чистой сухой белой бумаги.
6.12.2 Подготовка и проведение испытания
6.12.2.1 Смачивают индикаторную бумагу и стряхивают с нее излишки воды.
6.12.2.2 Используя фотоэлектрический рефлектометр в соответствии с 6.12.1.5, измеряют коэффициент отражения каждой из двух окружностей на смоченной индикаторной бумаге относительно образца сравнения белого цвета по 6.12.1.6; вычисляют среднее значение. Надевают испытуемое СИЗ глаз на контрольный макет головы, подготовленный по 6.12.1.4.
6.12.2.3 Подбирают число прокладок из хлопковой ваты, необходимое для того, чтобы обеспечивать хорошее уплотнение между испытуемым СИЗ глаз и контрольным макетом головы. Помещают СИЗ глаз в пылевую камеру, включают вентилятор на время (60 ± 2) с. По истечении (30 ± 2) мин открывают камеру и осторожно удаляют индикаторную бумагу с контрольного макета головы, не позволяя оседания пыли в области отмеченных окружностей.
6.12.2.4 Повторяют через 2 мин измерение коэффициента отражения на двух окружностях относительно образца сравнения белого цвета и вычисляют его среднее значение.
6.12.3 Правила оценки результатов испытания
6.12.3.1 Вычисляют отношение среднего значения коэффициента отражения после выдержки в пылевой камере (6.12.2.4) к среднему значению коэффициента отражения до выдержки (6.12.2.2) и выражают это отношение в процентах.
6.12.3.2 Результаты испытания оценивают в соответствии с ГОСТ Р 12.4.230.1 (пункт 5.3.5).
6.13.1 Требования к средствам испытания, испытательному и вспомогательному оборудованию
6.13.1.1 Контрольный макет головы, выбранный испытателем в соответствии с приложением А.
6.13.1.2 Газовая камера с внутренними размерами (560 × 560 × 560) мм3, имеющая герметичный корпус с фронтальным стеклом и плотной шарнирной крышкой. Газовая камера должна проветриваться при помощи небольшого вентилятора с типовой производительностью 1,4 м3/ мин и вентиляционной трубы, ведущей к системе удаления или утилизации.
6.13.1.3 Газообразный аммиак, подаваемый, например, путем барботажа воздуха через промывочную бутыль, содержащую концентрированный раствор аммиака с плотностью около σ = 0,9 г/см3 или путем использования баллона с аммиаком. Выходное отверстие бутылки или баллона соединяется с газовой камерой.
6.13.1.4
Индикаторная бумага, края которой выступают не менее чем на
6.13.1.5 Раствор, приготовленный по 6.11.1.4.
6.13.1.6 Поглощающая хлопковая вата по 6.11.1.5.
6.13.2 Подготовка и проведение испытания
6.13.2.1 Устанавливают испытуемое СИЗ глаз на контрольный макет головы симметрично над индикаторной бумагой, смоченной в растворе по 6.13.1.5. Индикаторная бумага должна лежать на нескольких слоях прокладки из хлопковой ваты по 6.13.1.6. Число прокладок из хлопковой ваты необходимо подбирать в количестве, необходимом для уплотнения между СИЗ глаз и макетом головы.
6.13.2.2 Контрольный макет головы с испытуемым СИЗ глаз помещают в газовую камеру с контрольной полоской индикаторной бумаги, положенной на дно камеры.
6.13.2.3 Приоткрывают газогенератор, слегка приоткрыв газоотвод, и наполняют газовую камеру газообразным аммиаком. Реакция проявляется в окрашивании контрольной полоски индикаторной бумаги. Закрывают газоотвод и оставляют испытуемый СИЗ глаз в газовой среде на время (5,0 ± 0,2) мин. По окончании этого времени проветривают камеру, при включенном вентиляторе. После того, как камера очистится от газа, вынимают и исследуют подложенную под СИЗ глаз индикаторную бумагу, отмечая ее окрашивание в красный цвет.
6.13.3 Правила оценки результатов испытания
6.13.3.1 Результаты испытания оценивают в соответствии с ГОСТ Р 12.4.230.1 (подпункт 5.3.6).
6.14.1 Требования к средствам испытания, испытательному и вспомогательному оборудованию
6.14.1.1 Контрольный макет головы, выбранный испытателем в соответствии с приложением А.
6.14.1.2
Стержень диаметром
6.14.2 Подготовка и проведение испытания
6.14.2.1 Испытуемое СИЗ глаз помещают на контрольный макет головы в соответствии с инструкциями изготовителя. Держа стержень горизонтально, необходимо коснуться передней и боковой поверхностей СИЗ глаз, стараясь достать до участков вокруг точек удара на контрольном макете головы согласно
указанным в приложении А (рисунок А.1). Эти участки, имеющие ширину
6.14.3 Правила оценки результатов испытания
6.14.3.1 Боковую защиту СИЗ глаз считают удовлетворительной, если она предотвращает касание концом стержня области удара на макете головы.
6.14.3.2 Результаты испытания оценивают в соответствии с ГОСТ Р 12.4.230.1 (подпункт 5.3.8).
6.15.1 Требования к средствам измерения, испытательному и вспомогательному оборудованию
6.15.1.1 Схема установки для обработки поверхности очковых стекол песком соответствует приведенной на рисунке 17.
6.15.1.2
Трубка подачи песка самотеком 3, изготовленная из трех отдельных жестких полихлорвиниловых трубок одинакового диаметра с двумя полиамидными ситами (2 и 4), имеющими размер ячеек

1 - контейнер; 2 - верхнее сито; 3 - трубка подачи песка самотеком; 4 - нижнее сито; 5 - испытуемое очковое стекло; 6 - держатель очкового стекла
Рисунок 17 - Схема установки для обработки поверхности очковых стекол песком
6.15.1.3 Контейнер 1 с выходным соплом, представленным на рисунке 18, имеет емкость песка не менее
6.15.1.4 Выходное сопло контейнера изготовлено из латунных перфорированных пластин, центрированных с помощью трех перемычек.
6.15.1.5 Держатель очкового стекла представляет собой пластину, вращающуюся с помощью электродвигателя. Скорость вращения пластины составляет (250 ± 10) мин-1.
Примечание - Рекомендуется предусмотреть на электродвигателе соответствующее ограждение, чтобы предотвратить проникновение песка.
6.15.1.6 Природный кварцевый песок с размером гранул не более 0,5 -
6.15.1.7 Контрольные образцы: два контрольных образца диаметром около

Рисунок 18 - Выходное сопло контейнера
Примечание - Размеры номинальные, кроме заданных с допуском.
Контрольные значения l*1 и 1*2 для материалов контрольных образцов соответствуют следующим значениям
|
- контрольное значение l*1 для В720 |
l*1 = (3,0 ±
0,3) |
|
- контрольное значение l*2 для ПММА |
l*2 = (23 ± 2) |
6.15.1.8 Образцы для испытаний: форму очковых стекол следует выбирать так, чтобы их измеряемые
части не выступали за пределы вращающейся пластины. В зависимости от размера очковых стекол на
вращающейся пластине могут быть установлено до четырех очковых стекол диаметром по
Форма поверхности образцов может быть плоской или выпуклой, различной толщины.
6.15.2 Подготовка и проведение испытания
6.15.2.1 Поверхности образцов очищают (1,0 ± 0,2) % раствором детергента в воде при температуре (27 ± 3)°С. Сначала остатки очищающего раствора удаляют проточной водой, а затем дистиллированной или обессоленной водой. После этого образцы тщательно вытирают тканью, очищенной от пыли и жира.
После чистки образцы следует держать только за края и хранить таким образом, чтобы не повредить или не испортить их поверхности.
6.15.2.2 После чистки образцы устанавливают на вращающуюся пластину таким образом, чтобы области поверхности образцов, предназначенных для измерений, не выступали за пределы вращающейся пластины. Пока пластина вращается, (3,00 ± 0,05) кг песка высыпают тонкой струйкой на образцы.
6.15.2.3 После того как песок будет высыпан на образцы, их снимают с вращающейся пластины и снова очищают, проводя операции по 6.15.2.1.
6.15.2.4 Измеряют приведенный коэффициент яркости образцов методом по 5.5.
6.15.3 Правила оценки результатов испытания
6.15.3.1 Если одно или несколько значений, измеренных для контрольных образцов, выходят за пределы допустимых отклонений по 6.15.1.7, то значения, измеренные для этих образцов, должны быть откорректированы расчетом по формуле
|
|
(9) |
где l* - приведенный коэффициент яркости образца;
- измеренное значение приведенного коэффициента яркости образца типа В720;
- измеренное значение приведенного коэффициента яркости образца ПММА;
- измеренное значение приведенного коэффициента яркости испытуемого образца.
Примечания
1 Формула (9) не применима для измеренных значений приведенного коэффициента яркости более ![]()
2 Результаты испытания должны использоваться только для классификации очковых стекол по сопротивляемости поверхности разрушению мелкими частицами, но не для оценки эксплуатационных характеристик различных материалов или качества обработки поверхности очковых стекол.
6.15.3.2 Результаты испытания оценивают в соответствии с ГОСТ Р 12.4.230.1 (подпункт 5.4.1.1).
6.16.1 Требования к средствам измерения, аппаратуре и вспомогательным устройствам
6.16.1.1 Принципиальная оптическая схема установки для испытаний устойчивости очковых стекол СИЗ глаз к запотеванию представлена на рисунке 19.
6.16.1.2
Источник света - лазер с длиной волны (600 ± 70) нм и диаметром пучка излучения -
6.16.1.3
Светоделитель 5, зеркало 1 и линзы L1, L2 с размерами, выбранными таким образом, чтобы
рассеянный свет находился в телесном угле 0,75°. Например, f1 =
6.16.1.4 В водяной бане 10 объем воздуха должен составлять не менее 4 дм3. В контейнере для водяной бани должен быть установлен вентилятор 9 для циркуляции воздуха. Водяная баня должна термостатироваться для поддержания температуры воды (50,0 ± 0,5)°С.
6.16.1.5
Опорное кольцо 2 должно иметь диаметр
6.16.2 Порядок подготовки к проведению испытания
6.16.2.1 Перед испытанием не менее четырех очковых стекол одинакового типа выдерживают в дистиллированной воде объемом не менее чем 5 см3 воды на 1 см2 поверхности очкового стекла в течение одного - двух часов при температуре (23 ± 5)°С, затем высушивают и выдерживают на воздухе не менее 12 ч при температуре (23 ± 5)°С и относительной влажности воздуха 50 %.

1 - зеркало; 2 - опорное кольцо; 3 - кольцо из мягкой резины; 4 - лазер; 5 - светоделитель; 6 - диафрагма; 7 - фотоприемник; 8 - образец; 9 - вентилятор; 10 - водяная баня; L1, L2, L3 - линзы
Рисунок 19 - Принципиальная оптическая схема установки для испытания устойчивости очковых стекол к запотеванию
6.16.2.2 Температуру водяной бани устанавливают равной (50 ± 0,5)°С. Воздух над ней перемешивают вентилятором для насыщения его водяным паром. В течение этого времени отверстие в водяной бане должно быть закрыто. Перед измерением вентилятор выключают.
6.16.3 Порядок проведения испытания
6.16.3.1 Для измерения коэффициента пропускания τr очковое стекло помещают на опорное кольцо.
Время измерения определяют с помощью фотоприемника до того момента, пока
не станет меньше
80 % начального значения этой величины и при этом испытуемое очковое стекло не запотеет.
6.16.4 Правила оценки результатов испытания
6.16.4.1 Вычисляют τr по формуле
(10)
где Фb - световой поток при наличии запотевания испытуемого очкового стекла;
Фu - световой поток до запотевания испытуемого очкового стекла.
При оценке начальное запотевание в течение 0,5 с не следует принимать во внимание.
Примечание - Так как луч света дважды проходит через образец, это измерение коэффициента
пропускания очкового стекла означает определение
.
6.16.4.2 Результаты испытания оценивают в соответствии с ГОСТ Р 12.4.230.1 (пункт 5.4.2).
А.1 При испытаниях оптических и неоптических параметров (характеристик) СИЗ глаз применяют два типоразмера контрольного макета головы человека:
а) контрольный макет головы среднего типоразмера, имеющего размеры головы 50 % взрослых мужчин;
б) контрольный макет головы малого типоразмера, имеющего размеры головы 60 % 12-летних детей.
А.2 Тип контрольного макета головы человека должен соответствовать приведенным на рисунке А.1.
Примечания
1 Размеры по горизонтали и размеры от передней до задней части контрольного макета головы параллельны от козелковой точки (ушной раковины) до подглазного пространства.
2 Пунктирными линиями показана область очкового стекла защитной маски, которую следует защищать от расплавленного металла и брызг жидкостей.
3 Точки, обозначенные знаком «*», являются центрами удара, установленными для испытаний на повышенную прочность и защиту от высокоскоростных частиц. Обозначены две точки удара, соответствующие одиночному знаку «*» на боковой проекции контрольного макета головы: одна точка удара - на правой стороне контрольного макета головы; другая - на левой стороне макета головы. Вместе с двумя точками удара (обозначенными двумя знаками «*» на передней проекции контрольного макета головы) они составляют четыре точки удара.

Рисунок А.1 -Тип контрольного макета головы человека
А.3 Конструктивные размеры типов контрольного макета головы человека
Таблица А.1 - Конструктивные размеры типов контрольного макета головы человека
|
Размеры |
Значение, мм |
Размеры |
Значение, мм |
||
|
Голова среднего типа |
Голова малого типа |
Голова среднего типа |
Голова малого типа |
||
|
а |
218 |
206 |
h |
111 |
110 |
|
b |
111 |
110 |
Радиус I |
10 |
10 |
|
с |
144 |
131 |
J |
56 |
48 |
|
d |
178 |
166 |
k |
156 |
146 |
|
е |
45 |
42 |
I |
84 |
54 |
|
f |
18 |
18 |
m |
52 |
48 |
|
g |
60 |
53 |
n |
134 |
118 |
|
o |
134 |
118 |
|||
А.3.1 Типоразмер контрольного макета головы должен выбираться в соответствии с испытываемым СИЗ глаз. В случае отсутствия специальных указаний изготовителя должен быть использован для испытаний контрольный макет головы среднего типоразмера. Правильность выбора контрольного макета головы должна быть подтверждена Испытательным центром.
А.3.2 Все испытания СИЗ глаз по данному стандарту проводят с использованием контрольного макета головы только одного типоразмера.
А.4 Контрольный макет головы может быть изготовлен из следующих материалов:
а) литой эпоксидной смолы с обозначенными зонами, подлежащими защите;
б) полностью из алюминия;
в) основная часть должна быть покрыта слоем полиуретана толщиной
Контрольный макет головы, изготовленный из литой эпоксидной смолы, рекомендуется использовать при испытаниях по 6.9.
Контрольный макет головы, изготовленный полностью из алюминия, используют при испытаниях по 6.11 - 6.13.
Контрольный макет головы, изготовленный из материала, указанного в перечислении в), должен использоваться при испытаниях по 6.2 и 6.8.
Б.1 Общие положения
Б.1.1 Метод испытания на сферическую рефракцию и астигматизм очковых стекол с применением зрительной трубы по 5.1 позволяет получить средние значения сферической рефракции и астигматизма в пределах
участка диаметром
Принципиальная схема дополнительного метода испытания на сферическую рефракцию и астигматизм на малых участках очковых стекол приведена на рисунке Б.1.

у - расстояние между параллельными световыми лучами 1 и
Рисунок Б.1 - Принципиальная схема дополнительного метода испытания на сферическую рефракции и астигматизма на малых участках очковых стекол
При прохождении через очковое стекло со сферическими поверхностями параллельных световых лучей 7 и 2 на разной высоте эти лучи пересекаются в задней фокальной плоскости очкового стекла на расстоянии f' от задней главной плоскости очкового стекла. Сферическая рефракция очкового стекла составляет значение, равное 1/f', дптр.
В очковом стекле с разной кривизной поверхности в двух взаимно перпендикулярных направлениях или при наклонном падении световых лучей на сферическую поверхность возникает астигматизм.
В случае отклонения осевого луча 1 на угол α после прохождения через очковое стекло оно будет обладать призматическим действием ∆, прдптр, вычисляемым по формуле
∆ = 100 tg α. (Б.1)
Если отклонение луча света измерять в некоторой плоскости на расстоянии S от очкового стекла, то сферическая рефракция 1/f', дптр (см. рисунок Б.1) может быть вычислена по формуле
(Б.2)
Призматическое действие (см. рисунок Б.1) вычисляют по формуле
(Б.3)
Астигматизм равен разности рефракций по двум главным меридиональным сечениям.
Б.2 Требования к средствам испытания, испытательному и вспомогательному оборудованию
Б.2.1 Блок-схема установки для испытания рефракций и астигматизма на малых участках очковых стекол приведена на рисунке Б.2.

1 - лазер; 2, 4 - линза; 3 - диафрагма; 5, 7 - плоское зеркало; 6 - испытуемое очковое стекло; 8 - фотоприемник; 9 - предварительный усилитель; 10 - двухкоординатный самописец; Сп - спираль; Нх, Нy - направляющие по осям х и у; К - каретка
Рисунок Б.2 - Блок-схема установки для испытания на рефракцию и астигматизм на малых участках очковых стекол
Б.2.1.1 В качестве источника излучения применяют гелий-неоновый лазер 1 с длиной волны излучения
λ = (600 ± 70) нм, световой диаметр пучка излучения лазера от 0,6 до
Б.2.1.2 Две линзы 2 и 4 с полевой диафрагмой 3 служат для расширения пучка излучения лазера до
Б.2.1.3 Каретка К применяется для плавного перемещения испытуемого очкового стекла по спиральной траектории в плоскости, перпендикулярной к направлению потока излучения лазера. Каретка перемещается по двум взаимно перпендикулярным направлениям, сохраняя положение оси каретки и оптической оси испытуемого очкового стекла постоянным в период измерения.
Шарнир, ведомый спиралью Сп, передает движение на каретку К. Шаг спирали -
Б.2.1.4 Пучок излучения лазера диаметром
Б.2.1.5 Для измерения отклонения пучка излучения лазера применяют позиционно-чувствительный фотодиод, принципиальная схема которого приведена на рисунке Б.3.
Примечание - В качестве фотодиода может быть применен фотодиод типа PINSC25.
В фотодиоде типа PINSC25 с помощью пяти электрических выводов реализована прямоугольная система координат (х, у), позволяющая регистрировать положение потока излучения лазера относительно очкового стекла и его отклонение.
При освещении участка, соответствующего центральному выводу 5, фототок с выводов 1-4 неодинаков. При перемещении светового пятна по светочувствительной поверхности фотодиода, после прохождения потока излучения лазера через очковое стекло фототок с выводов 1-4 изменяется в зависимости от расположения светового пятна относительно центра, соответствующего выводу 5.
Разность потенциалов на выводах по одной оси системы координат пропорциональна смещению светового пятна вдоль этой оси, а также интенсивности энергетического потока.
Размер светочувствительной поверхности фотодиода должен быть не менее 1,9 × 1,9 см2.
Фотодиод (см. рисунок Б.1) располагают на расстояниях от 50 до

1 - фотодиод; 2 - батарея; 3, 4 - двухкоординатный самописец (оси х и у соответственно); 5 - резисторы
Рисунок Б.3 - Принципиальная схема позиционно-чувствительного фотодиода
Б.3 Порядок проведения испытания
Б.3.1 В течение всего испытания испытуемое очковое стекло не должно поворачиваться относительно фотодиода.
Б.3.2 При испытании плоского очкового стекла направление выходящего пучка излучения лазера, прошедшего через него, не изменяется. Изображение на светочувствительном экране фотодиода формируется в виде точки.
При испытании неплоского очкового стекла без рефракции изображение точки может стать несколько размытым вследствие незначительного преломления очковым стеклом входящего пучка излучения лазера.
Очковое стекло с неастигматической рефракцией (стигматическая линза) имеет одинаковое фокусное расстояние во всех точках его контролируемого участка. Траектория сканирования такого очкового стекла воспроизводится без изменения формы в уменьшенном или увеличенном видах в зависимости от рефракции и шага спирали. Очковое стекло с неастигматической рефракцией дает на экране регистрирующего устройства траекторию сканирования в виде спирали с постоянным шагом. Принципиальная схема формирования изображения в плоскости измерения представлена на рисунке Б.4.

1 - испытуемое очковое стекло; 2 - плоскость измерений
Рисунок Б.4 - Принципиальная схема формирования изображения в плоскости измерения
На рисунке Б.5 приведена траектория сканирования очкового стекла с различными видами рефракции.

Рисунок Б.5 - Траектория сканирования очкового стекла с различными видами рефракции
Б.4 Правила оценки результатов испытания
Б.4.1 Результаты испытания оценивают по пунктам 5.1.4, 5.5.4, 5.7.4.
В.1 Для каждого из измерений, выполненных в процессе испытаний по данному стандарту, должна быть произведена оценка расширенной неопределенности измерений. Расширенная неопределенность измерений ∆ (при коэффициенте охвата к = 2) соответствует границам относительной погрешности при доверительной вероятности Р = 0,95 [1]. Оценка расширенной неопределенности измерений должна быть представлена при составлении протокола испытаний Испытательным центром для определения надежности полученных независимых данных.
В.2 В протоколе испытаний должны быть представлены следующие данные:
а) Если предельное значение 2 конкретного испытания по настоящему стандарту, оказывается за пределами интервала значений, рассчитанного на основании данных проведенного испытания плюс-минус погрешность U, то результат измерения следует считать принятым или отклоненным в зависимости от относительного расположения этого интервала и предельного значения 2 (см. рисунки В.1 и В.2).
б) Если предельное значение 2 конкретного испытания по настоящему стандарту находится в пределах интервала значений, рассчитанного на основании данных проведенного испытания плюс-минус погрешность U то результат измерения следует считать принятым или отклоненным, исходя из наиболее безопасных условий для пользователя СИЗ глаз (см. рисунок В.3).

1 - результат измерения; 2 - верхний предел, заданный техническими документами; 3 - интервал, допускаемый техническими документами; 4 - нижний предел, заданный техническими документами
Рисунок В.1 - Результат: Принято

1 - результат измерения; 2 - верхний предел, заданный техническими документами; 3 - интервал, допускаемый техническими документами; 4 - нижний предел, заданный техническими документами
Рисунок В.2 - Результат: Отклонено

1 - результат измерения; 2 - верхний предел, заданный техническими документами; 3 - интервал, допускаемый техническими документами; 4 - нижний предел, заданный техническими документами
Рисунок В.3 - Результат, трактуемый исходя из требований безопасных условий для пользователей СИЗ глаз
Г.1 Требования к средствам испытания, испытательному и вспомогательному оборудованию
Г.1.1 Принципиальная оптическая схема установки для испытания приведенного коэффициента яркости оптических стекол с корригирующим эффектом приведена на рисунке Г.1.

1 - гелий-неоновый лазер; 2, 4, 8 - линзы; 3, 6 - диафрагмы; 5 - исследуемое очковое стекло; 7 - кольцевая диафрагма; 9 - фотоприемник
Рисунок Г.1 - Принципиальная оптическая схема
Г.1.2 В качестве источника излучения применяют гелий-неоновый лазер, имеющий длину волны излучения
(600 ±
70) нм, мощность излучения лазера менее 1 мВт, световой диаметр пучка излучения лазера от 0,6 до
Г.1.3 Линзы 2 (фокусное расстояние
Г.1.4 Очковое стекло 5 и приемная часть установки, включающая сменные диафрагмы 6, 7, линзу 8, фотоприемник 9, должны быть установлены на шарнире и иметь возможность вращения относительно вертикальной оси О - О, проходящей через оптический центр испытуемого очкового стекла 5.
При вращении очкового стекла 5 вокруг оптической оси отклонение пучка излучения лазера является показателем призматического действия в зрительном (геометрическом) центре.
Г.1.5 Диаметр диафрагмы 3 должен быть
Линза 8 создает изображение оптического центра очкового стекла 5 на фотоприемнике 9.
Г.1.6 Диаметр окружности диафрагмы 6 должен быть равным
Г.1.7 Кольцевая диафрагма 7 и круглая диафрагма 6 являются сменными и должны быть расположены на расстоянии (400 ± 2) мм от оптического (геометрического) центра испытуемого очкового стекла.
Примечание - Диаметры окружностей кольцевой диафрагмы 7 должны измеряться любым измерительным инструментом с погрешностью не более
Г.1.8 Допускается применять линзы 2, 4, 8 с другими фокусными расстояниями в случаях, когда требуется получить более широкий пучок излучения или сформировать уменьшенное изображение испытуемого очкового стекла 5 на фотоприемнике 9.
Г.2 Порядок подготовки к проведению испытания
Г.2.1 Порядок подготовки к проведению испытания заключается в проведении следующих операций:
а) кольцевую диафрагму 7 устанавливают по рисунку Г.1 на оптической оси в отсутствие испытуемого очкового стекла на место круглой диафрагмы 6;
б) приемную часть установки 7-9 разворачивают в горизонтальном плоскости вокруг вертикальной оси О - О до тех пор, пока пучок излучения лазера 1, прошедший через линзы 2-4, не попадет в центр кольцевой диафрагмы 7;
г) измеряют поток излучения Ф1R, лм, падающий на фотоприемник 9, который соответствует рассеянному потоку излучения, создаваемому установкой;
д) вводят в ход лучей круглую диафрагму 6. Измеряют поток излучения Ф1L, лм, падающий на фотоприемник 9, который соответствует направленному потоку излучения;
е) рассчитывают приведенный коэффициент яркости установки Lу для телесного угла ω по формуле
(Г.1)
где Ф1R - рассеянный поток излучения без очкового стекла с кольцевой диафрагмой 7;
Ф1L - направленный поток излучения без очкового стекла с круглой диафрагмой 6;
ω - телесный угол, определяемый световым диаметром кольцевой диафрагмы 7.
Г.3 Порядок проведения испытания
Г.3.1 Устанавливают испытуемое очковое стекло по рисунку Г.1.
Г.3.2 Повторяют операции согласно перечислениям а)-д) Г.2.1, добиваясь такого положения испытуемого очкового стекла, при котором отклонение светового потока, вследствие призматического действия очкового стекла, направлено горизонтально, т. е. совпадает.
Г.3.3 Рассчитывают приведенный коэффициент яркости L'у для установки с очковым стеклом по формуле
(Г.2)
где Ф2R - рассеянный световой поток без очкового стекла с кольцевой диафрагмой 7;
Ф2L - направленный световой поток без очкового стекла с круглой диафрагмой 6;
ω - телесный угол, определяемый световым диаметром кольцевой диафрагмы 7.
Г.3.4 Приведенный коэффициент яркости L* очкового стекла рассчитывают по формуле
L* = L*a - L*с (Г.3)
Г.4 Оценка результатов испытаний - по ГОСТ Р 12.4.230.1 (подпункт 5.2.3.9).
Д.1 Порядок проведения типовых испытаний очковых стекол СИЗ глаз и необходимое число образцов для испытаний должны соответствовать приведенным в таблице Д.1.
Таблица Д.1 - Порядок проведения типовых испытаний очковых стекол СИЗ глаз
|
Испытуемый параметр |
Требования по ГОСТ Р 12.4.230.1 (раздел, подраздел, пункт) |
Метод испытаний по настоящему стандарту (раздел, подраздел, пункт) |
Число образцов для испытания |
|
Маркировка |
6.2 |
Визуальный контроль |
Все |
|
Информация |
9 |
Визуальный контроль |
Все |
|
Качество материала и поверхности |
5.2.4 |
6 |
|
|
Сферическая рефракция, астигматизм, призматическое действие |
5.2.3.1-5.2.3.4 |
6 |
|
|
Устойчивость к повышенной температуре |
5.2.7.1, 5.2.7.2 |
3 |
|
|
Световой коэффициент пропускания |
5.2.3.5, 5.2.3.8 |
3 |
|
|
Отклонение светового коэффициента пропускания в видимой области спектра |
5.2.3.7 |
6 |
|
|
Спектральный коэффициент отражения в ИК-области |
5.4.3 |
6 |
|
|
Приведенный коэффициент яркости |
5.2.3.9 |
6 |
|
|
Короткий электрический дуговой разряд |
5.3.7 |
- |
6 |
|
Устойчивость к УФ-излучению |
5.2.7.3 |
3 |
|
|
Минимальная прочность |
5.2.5 |
8 |
|
|
Повышенная прочность при температурах -5°С, +55°С в точках 1 и 2 |
5.2.6 |
2 |
|
|
Воспламенение |
5.2.9 |
3 |
|
|
Адгезия расплавленных металлов |
5.3.3 |
3 |
|
|
Сопротивление поверхности разрушению мелкими частицами |
5.4.1 |
4 |
|
|
Запотевание |
5.4.2 |
4 |
|
|
Примечания 1 Количество образцов для испытания соответствует положениям глаза, т.е. 6 = 3 левых +3 правых. 2 При оценке типовых испытаний не допускаются дефекты и следует учитывать погрешности измерений. 3 Очковые стекла испытуемые в оправе (см. таблицу Д.2) отдельным испытаниям не подлежат. 4 Соответствие очковых стекол испытаниям на устойчивость повышенной температуре не полностью отвечает требованиям раздела (см. таблицу Д.2). |
|||
Д.1.1 Испытания на устойчивость к повышенной температуре и к УФ-излучению следует проводить на двух образцах позиции одного глаза и на одном образце для другого глаза, например, одно левое и два правых очковых стекла.
Д.1.2 Если очковое стекло проходит испытания на повышенную прочность, испытаниям на минимальную прочность оно не подлежит.
Д.1.3 Испытания на повышенную прочность, адгезию расплавленных металлов, сопротивление поверхности разрушению мелкими частицами и запотевание должны проводиться на каждом очковом стекле и только один раз.
Д.2 Порядок проведения типовых испытаний укомплектованных СИЗ глаз и количество образцов для испытаний должны соответствовать приведенным в таблице Д.2.
Таблица Д.2 - Порядок проведения типовых испытаний укомплектованных СИЗ глаз
|
Испытуемый параметр |
Требования по ГОСТ Р 12.4.230.1 (раздел, подраздел, пункт) |
Метод испытаний по настоящему стандарту (раздел, подраздел, пункт) |
Число образцов для испытания |
|
Маркировка |
6.3, 6.4 |
Визуальный контроль |
Все |
|
Информация |
9 |
Визуальный контроль |
Все |
|
Конструкция и материалы |
4.2, 4.3, 5.2.1 |
Визуальный контроль (сертификат) |
Все |
|
Наголовная лента |
5.2.1.3-5.2.1.4 |
Измерения |
Все |
|
Качество материала и поверхности |
5.2.1.1, 5.2.4 |
3 |
|
|
Поле зрения |
5.2.2 |
3 |
|
|
Сферическая рефракция, астигматизм, призматическое действие |
5.2.3.1-5.2.3.4 |
3 |
|
|
Устойчивость к повышенной температуре |
5.2.7.1, 5.2.7.2 |
3 |
|
|
Световой коэффициент пропускания |
5.2.3.5, 5.2.3.8 |
3 |
|
|
Отклонения светового коэффициента пропускания в видимой области |
5.2.3.7 |
3 |
|
|
Приведенный коэффициент яркости |
5.2.3.9 |
3 |
|
|
Спектральный коэффициент отражения в ИК-области |
5.4.3 |
3 |
|
|
Короткий электрический дуговой разряд |
5.3.7 |
- |
3 |
|
Боковая защита |
5.3.8 |
3 |
|
|
Устойчивость к УФ-излучению |
5.2.7.3 |
3 |
|
|
Минимальная прочность |
5.2.5 |
8 |
|
|
Повышенная прочность при температурах -5°С, +55°С: в точках нанесения удара 1, 2 в точках нанесения удара 3, 4 |
5.2.6 |
2 1 |
|
|
Коррозия |
5.2.8 |
3 |
|
|
Воспламенение |
5.2.9 |
3 |
|
|
Воздействие высокоскоростных частиц: в точках нанесения удара 1, 2 в точках нанесения удара 3, 4 |
5.3.2 |
4 2 |
|
|
Воздействие высокоскоростных частиц при экстремальных температурах -5°С, +55°С: в точках нанесения удара 1, 2 в точках нанесения удара 3, 4 |
5.4.4 |
2 1 |
|
|
Адгезия и горячие тела |
5.3.3 |
3 |
|
|
Капли брызг жидкости |
5.3.4 |
3 |
|
|
Грубодисперсные аэрозоли |
5.3.5 |
3 |
|
|
Газ и мелкодисперсные аэрозоли |
5.3.6 |
3 |
|
|
Сопротивление поверхности разрушению мелкими частицами |
5.4.1 |
4 |
|
|
Запотевание |
5.4.2 |
4 |
|
|
Примечание - При оценке типовых испытаний не допускаются дефекты и следует учитывать погрешности измерений. |
|||
Д.2.1 Оправы с очковыми стеклами, отвечающие требованиям по минимальной прочности, должны испытываться только на боковой удар.
Д.2.2 Если очковые стекла прошли испытания по таблице Д.1, то они не подлежат вторичным испытаниям.
Д.3 Порядок проведения приемо-сдаточных и периодических испытаний определяется ТУ изготовителя на конкретный тип СИЗ глаз.
Е.1 Общие положения
Сопоставление структуры настоящего стандарта со структурами примененных в нем региональных стандартов представлено в таблице Е.1.
Указанное в таблице изменение структуры национального стандарта относительно примененных стандартов ЕН 167 и ЕН 168 обусловлено приведением его в соответствие с требованиями ГОСТ Р 1.5-2004 и необходимостью разработки отдельного национального стандарта «ССБТ. Средства индивидуальной защиты глаз. Общие технические требования», ссылка на который приведена в подразделах «Оценка результатов испытания». При этом дополнительные положения, включенные в текст стандарта для учета потребностей национальной экономики Российской Федерации, выделены вертикальной чертой, расположенной слева от текста стандарта.
Таблица Е.1
|
Структуры региональных стандартов |
Структура настоящего стандарта |
|
|
ЕН 167:2001 |
ЕН 168:2002 |
|
|
1 Область распространения |
1 Область распространения |
1 Область применения |
|
2 Нормативные ссылки |
2 Нормативные ссылки |
2 Нормативные ссылки |
|
- |
- |
3 Термины, определения и сокращения |
|
- |
- |
4 Методы испытаний оптических и неоптических параметров средств индивидуальной защиты глаз |
|
- |
- |
4.1 Общие требования |
|
|
- |
5 Методы испытаний оптических параметров средств индивидуальной защиты глаз |
|
3.1 Испытание очковых стекол без оправы, закрывающих один глаз |
- |
5.1 Испытание на сферическую рефракцию и астигматизм очковых и покровных стекол без корригирующего эффекта |
|
3.2 Испытание очковых стекол без оправы, закрывающих оба глаза, и очковых стекол в оправе (открытых и закрытых очков и лицевых щитков) |
- |
5.2 Испытание очковых, покровных и смотровых стекол в оправе и без оправы на разность призматического действия |
|
- |
18 Оценка поля зрения |
5.3 Испытание поля зрения средств индивидуальной защиты глаз |
|
- |
10.2 Определение области перекрытия лицевого щитка |
5.4 Определение области перекрытия защитных лицевых щитков |
|
4 Определение приведенного коэффициента яркости (4.2.1) |
- |
5.5 Испытание приведенного коэффициента яркости очковых стекол и светофильтров средств индивидуальной защиты глаз без корригирующего эффекта |
|
5 Оценка качества материала и поверхностей |
- |
5.6 Оценка качества материалов и поверхностей очковых стекол и светофильтров средств индивидуальной защиты глаз |
|
6 Определение коэффициента пропускания |
- |
- |
|
7 Определение вариаций светового коэффициента пропускания |
- |
5.7 Определение отклонения светового коэффициента пропускания светофильтров средств индивидуальной защиты глаз от заданных значений в видимой области спектра |
|
8 Определение спектрального коэффициента отражения в ИК-области спектра |
- |
5.8 Определение спектрального коэффициента отражения очковых стекол с покрытием-фильтром и смотровых стекол в инфракрасной области спектра |
|
- |
- |
6 Методы испытаний неоптических параметров средств индивидуальной защиты глаз |
|
- |
3.1 Испытание очковых стекол без оправы на повышенную прочность |
6.1 Испытание очковых стекол на повышенную прочность |
|
- |
3.2 Испытание защитных очков в оправе на повышенную прочность |
6.2 Испытание укомплектованных средств индивидуальной защиты глаз на повышенную прочность |
|
- |
4 Испытание на минимальную прочность светофильтров и покровных стекол |
6.3 Испытание покровных стекол и светофильтров на минимальную прочность |
|
- |
5 Испытание на устойчивость к повышенной температуре |
6.4 Испытание укомплектованных средств индивидуальной защиты глаз на устойчивость к повышенной температуре |
|
- |
6 Испытание на устойчивость к ультрафиолетовому излучению |
6.5 Испытание очковых стекол средств индивидуальной защиты глаз на устойчивость к ультрафиолетовому излучению |
|
- |
7 Испытание на устойчивость к воспламенению |
6.6 Испытание средств индивидуальной защиты глаз на устойчивость к воспламенению |
|
- |
8 Испытание на устойчивость к коррозии |
6.7 Испытание средств индивидуальной защиты глаз на устойчивость к коррозии |
|
- |
9 Испытание на устойчивость к воздействию высокоскоростных частиц и высокоскоростных частиц при экстремальных температурах |
6.8 Испытания средств индивидуальной защиты глаз на устойчивость к воздействиям высокоскоростных частиц и высокоскоростных частиц при экстремальных температурах |
|
- |
10 Испытание на устойчивость к адгезии расплавленных металлов |
6.9 Испытание средств индивидуальной защиты глаз на устойчивость к адгезии расплавленных металлов |
|
- |
11 Испытание на устойчивость к проникновению горячих твердых тел |
6.10 Испытание средств индивидуальной защиты глаз на устойчивость к прониканию горячих твердых тел |
|
- |
12 Испытание на защиту от капель и брызг |
6.11 Испытание закрытых защитных очков на защиту от капель и защитных лицевых щитков от брызг жидкости |
|
- |
13 Испытание на защиту от грубодисперсных аэрозолей (пыли) |
6.12 Испытание закрытых защитных очков на защиту от грубодисперсных аэрозолей (пыли) |
|
- |
14 Испытание на защиту от газов и мелкодисперсных аэрозолей |
6.13 Испытание закрытых очков на защиту от газов и мелкодисперсных аэрозолей |
|
- |
19 Оценка боковой защиты |
6.14 Испытание боковой защиты средств индивидуальной защиты глаз |
|
- |
15 Испытание на сопротивление поверхности разрушению мелкими частицами |
6.15 Испытание очковых стекол средств индивидуальной защиты глаз на сопротивление поверхности разрушению мелкодисперсными аэрозолями |
|
- |
16 Испытание на устойчивость к запотеванию |
6.16 Испытание очковых стекол средств индивидуальной защиты глаз на устойчивость к запотеванию |
|
- |
17 Макет головы |
Приложение А (обязательное) Требования к контрольному макету головы человека |
|
Приложение А (обязательное) Метод измерения рефракции и астигматизма на малых участках |
- |
Приложение Б (обязательное) Дополнительное испытание на сферическую рефракцию и астигматизм на малых участках очковых стекол без корригирующего эффекта |
|
Приложение Б (справочное) Погрешности измерений и интерпретация результатов |
Приложение А (справочное) Погрешности измерения и интерпретация результатов |
Приложение В (справочное) Расширенная неопределенность измерений и требования к протоколу испытании |
|
4.2.2 Упрощенный метод |
- |
Приложение Г (рекомендуемое) Упрощенный метод испытания приведенного коэффициента яркости очковых стекол с корригирующим эффектом средств индивидуальной защиты глаз |
|
- |
- |
Приложение Д (обязательное) Порядок проведения типовых испытаний средств индивидуальной защиты глаз и необходимое число образцов для испытаний по разделам 5, 6 настоящего стандарта |
|
- |
- |
Приложение Е (справочное) Сопоставление структуры настоящего стандарта со структурами примененных в нем региональных стандартов |
|
- |
- |
Библиография |
[1] РМГ 43-2001 Государственная система обеспечения единства измерений. Применение «Руководства по выражению неопределенности измерений»
Ключевые слова: средства индивидуальной защиты, защитные очки, лицевые щитки, очковые стекла, светофильтры, оптические параметры, неоптические параметры, методы испытаний, расширенная неопределенность измерений