Федеральный надзор России по ядерной и
радиационной безопасности
(Госатомнадзор России)
|
РУКОВОДСТВА ПО БЕЗОПАСНОСТИ |
||
|
|
|
Утверждено |
ОПРЕДЕЛЕНИЕ ИСХОДНЫХ СЕЙСМИЧЕСКИХ
КОЛЕБАНИЙ ГРУНТА ДЛЯ ПРОЕКТНЫХ ОСНОВ
РБ-06-98
Введены в действие 01.07.1999г.
МОСКВА 2000
Руководство содержит общие положения и рекомендации по определению исходных сейсмических колебаний грунта для проектных основ.
РАЗРАБОТЧИКИ: документ разработан в НТЦ ЯРБ Госатомнадзора России под руководством Калиберды И.В. коллективом авторов в составе:
Калиберда И.В., Агапова Г.А., Аптикаев Ф.Ф., Амбриашвили Ю.К., Белохин С.А., Бугаев Е.Г, Бугаевский А.Г., Гуцалов А.Т., Клоницкий М.Л., Лавров И.М., Сувилова А.В., Фихиева Л.М.
СОДЕРЖАНИЕ
ВОЗ - возможный очаг землетрясений
ДСР - детальное сейсмическое районирование
МАГАТЭ - Международное агентство по атомной энергии
МРЗ - максимальное расчетное землетрясение
ОИАЭ - объект использования атомной энергии
ПЗ - проектное землетрясение
СНиП - строительные нормы и правила
СР - сейсмическое районирование
|
Гипоцентр |
- точка очага, в которой начинается процесс движения по разлому при землетрясении; характеризуется географическими координатами и глубиной очага. |
|
Гипоцентр инструментальный |
- точка очага, в которой начинается процесс движения по разлому, определяется по данным сейсмических станций. |
|
Гипоцентр |
- точка очага, соответствующая макросейсмический максимальной плотности выделившейся сейсмической энергии; определяется по макросейсмическим наблюдениям. |
|
Землетрясение максимальное расчетное (МРЗ) |
- землетрясение, вызывающее на площадке строительства сотрясение максимальной интенсивности за период 10000 лет. |
|
Землетрясение проектное (ПЗ) |
- землетрясение, вызывающее на площадке строительства сотрясение максимальной интенсивности за период 100 лет. |
|
Интенсивность (J) сейсмическая |
- интегральная макросейсмическая мера сейсмического воздействия, определяемая по статистике повреждений эталонных зданий и сооружений, реакции предметов, реакции людей, параметрам движения грунта, параметрам очага землетрясения и расстоянию до пункта наблюдения, изменениям на дневной поверхности. |
|
Колебание сейсмическое грунта для проектных основ |
- сейсмограммы и спектры реакции
(акселерограммы |
|
Очаг |
- область внутри земной коры, где происходит процесс неупругого разрушения горных пород вследствие «мгновенной» разрядки тектонических напряжений. |
|
Параметризация сейсмического движения грунта |
- описание сейсмограммы набором числовых характеристик. Существует три независимых параметра сейсмических колебаний, каждый из которых можно масштабировать, при этом не изменяя значений других параметров. Такими параметрами являются уровень воздействий, преобладающая частота колебаний, продолжительность колебаний. Все остальные характеристики тесно коррелируются с основными параметрами. |
|
Порода коренная |
- скальные или другие породы, характеризующиеся скоростью распространения поперечных (сдвиговых) волн не менее 700 м/с. |
|
Продолжительность сейсмических колебаний |
- время, в течение которого амплитуды колебаний превышают фоновые колебания более чем на 10 %. |
|
Проектные основы |
- исходные данные и постулируемые события для проектирования ОИАЭ, изготовления его оборудования, систем и устройств, их монтажа и наладки, строительства, обеспечения его нормального функционирования на протяжении установленного срока эксплуатации. |
|
Расстояние гипоцентральное |
- расстояние от гипоцентра до пункта наблюдения. |
|
Расстояние кратчайшее до поверхности разлома |
- широко распространенная мера расстояния. Как показала практика, это дает минимальную дисперсию эмпирических данных. |
|
Расстояние эпицентральное |
- расстояние от эпицентра до пункта наблюдения. |
|
Сейсмичность рассеянная или фоновая |
- фоновыми землетрясениями считаются землетрясения невысоких магнитуд (обычно с М ≤ 4), которые трудно связать с известными сейсмогенерирующими структурами. При консервативном подходе считается, что фоновые землетрясения могут произойти в любой точке рассматриваемой территории. Повторяемость землетрясений, определенная для всей территории, в среднем в 5 раз ниже реальной. Таким образом, оценка сейсмической опасности, связанной с фоновыми землетрясениями, сводится к установлению наличия эпицентров микроземлетрясений в непосредственной близости от площадки. |
|
Синтезирование сейсмограмм |
- математическое моделирование сейсмограмм (акселерограмм, велосиграмм, дисплограмм), удовлетворяющее ожидаемым значениям основных параметров колебаний (уровню, ширине импульса) и спектру (преобладающей частоте и логарифмической ширине). |
|
Спектр реакции (ответа) |
- совокупность абсолютных значений максимальных амплитуд, соответственно, ускорений ( |
|
Спектры нормальные |
- имеют логарифмическую ширину, близкую к средней: Rs =0,5 - 0,8 и составляют 1/3 всей выборки мировых данных. |
|
Спектры узкополосные |
- имеют ширину менее Rs = 0,5 и составляют 1/3 всей выборки мировых данных. |
|
Спектры широкополосные |
- имеют ширину более Rs = 0,8 и составляют 1/3 всей выборки мировых данных. |
|
Ускорение (скорость, перемещение) грунта для проектных основ |
- пиковое ускорение (скорость, перемещение) заданной обеспеченности на свободной поверхности. |
|
Ускорение нулевого периода |
- ускорение спектра ответа в асимптотической (твердотельной) области спектра, которая обычно лежит в диапазоне частот более 33 Гц. |
|
Характеристики фазовые |
- фазовые углы (фазовые спектры), характеризующие фазовые сдвиги сейсмических колебаний для разных частот. |
|
Ширина спектра (Rs) |
- разница логарифмов частот правого и левого склонов спектра на уровне 0,5 от максимального. Логарифмическая ширина спектра слабо зависит от магнитуды землетрясения и в среднем близка к Rs = 0,65. Это свойство уменьшает погрешности экстраполяции слабых воздействий в область сильных. |
|
Эпицентр |
- проекция точки гипоцентра землетрясения на земную поверхность; характеризуется географическими координатами. |
1.1. Руководство по безопасности «Определение исходных сейсмических колебаний грунта для проектных основ» (далее - Руководство) предназначено для определения параметров сейсмических колебаний грунта для проектных основ при обосновании сейсмостойкости ОИАЭ.
1.2. Цель Руководства - изложить возможные подходы к определению исходных сейсмических колебаний грунта для проектных основ, дать оценку приемлемости и установить приоритеты использования этих подходов в приложениях к ОИАЭ различных типов и конкретным целям анализа их безопасности.
1.3. Выбор подходов, полнота используемой информации, строгость анализа - это ответственность эксплуатирующей организации. Корректность примененного подхода оценивается в привязке к конкретному объекту, размещенному в конкретных инженерно-геологических условиях.
1.4. Руководство может применяться для анализа действующих, проектируемых и сооружаемых ОИАЭ.
2.1. Сейсмические воздействия подразделяются на стандартные и локальные.
2.1.1. Стандартные воздействия (максимальные ускорения, кривые коэффициентов динамичности и соответствующие им синтезированные акселерограммы) определяются нормативно для различных типов грунтовых условий и масштабируются с учетом интенсивности или максимального ускорения колебаний грунта на площадке.
2.1.2. Локальные воздействия определяются с учетом конкретных сейсмотектонических и грунтовых условий размещения площадки с использованием эмпирических, полуэмпирических и аналитических методов.
2.2. Сейсмические колебания грунта на площадке зависят от следующих основных факторов:
• положения активных разломов и их параметров (длина, глубина заложения, направление движения, скорость движения);
• положения зон ВОЗ и их параметров (максимальная магнитуда, глубина очага, механизм очага, параметры сейсмического режима);
• удаления площадки от центра активного разлома или зоны ВОЗ;
• характеристики затухания интенсивности сейсмических волн и изменения спектрального состава колебаний на пути распространения колебаний от потенциального очага землетрясения до площадки;
• сейсмических характеристик грунтовых условий площадки (скорости распространения поперечных сейсмических волн, их коэффициентов демпфирования, плотности и мощности слоев грунта).
2.3. Для определения сейсмических воздействий допускается использовать любой из перечисленных ниже методов (подходов) или их комбинаций, которые можно объединить в три основные группы:
II. Методы, основанные на моделях разлома:
• теоретический метод (подход 3);
• полуэмпирический метод (подход 4).
III. Методы, использующие стандартные спектры:
• методы синтезирования (моделирования, генерации) расчетных акселерограмм и спектров действия с установленными оценками параметров движений грунта при расчетных воздействиях во временной или (и) спектральной форме (подход 5).
Сейсмические воздействия в зависимости от степени изученности сейсмотектонических и. грунтовых условий площадки могут быть определены любым из методов или несколькими методами одновременно: нормативным, эмпирическим, полуэмпирическим и аналитическим. Должны быть получены наиболее вероятные значения параметров сейсмических воздействий и оценка их неопределенности. Применимость каждого из использованных методов должна быть обоснована.
2.4. При выборе подходов к определению сейсмических колебаний грунта для проектных основ следует руководствоваться следующим:
(а) следует отдавать предпочтение подходу 1, использующему записи сильных движений от землетрясений на площадке максимального расчетного уровня, поскольку они наиболее удовлетворяют реальной площадке;
(б) применение полуэмпирического метода предпочтительно тогда, когда записей сильных движений нет, но имеются данные о параметрах разлома и о распределении скоростей между разломом и площадкой. Использование подхода 4 позволяет получать достаточно надежные результаты;
(в) если существуют записи движений на площадке при слабых землетрясениях, а также известны параметры разлома, генерирующего расчетное землетрясение, то можно применить подход 3. Этот подход очень полезен и практичен для оценки короткопериодных колебаний, поскольку записи слабых сотрясений несут в себе информацию не только о местных условиях площадки и неоднородностях на пути распространения волн, но и о сложном механизме разрушения в разломе;
(г) если известны только магнитуда расчетного землетрясения и расстояние до очага, применяется подход 5. В этом подходе сейсмические воздействия синтезируются по стандартному спектру реакции или спектральной плотности, продолжительности и огибающей, зависящей от времени (или фазам, определенным из записей). Эти данные определяются на основе математического анализа большого числа записей сильных движений;
(д) при использовании подхода 2 (в случае отсутствия конкретной информации о площадке) требуется корректный отбор данных. Следует следить за диапазоном периодов, в котором записи надежны. Подход не может учесть ни местных условий, ни особенностей очага, ни области распространения волн. Он рекомендуется для ограниченного применения для получения предварительных оценок.
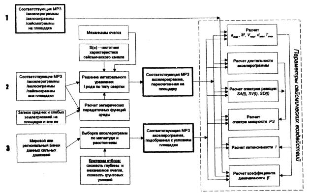
3.1. Схема алгоритма определения исходных сейсмических колебаний фунта для проектных основ приведена на рис. 1.
В справочных приложениях 1, 2, 3 к Руководству приводятся соответственно рекомендации, одноименные названиям справочных приложений:
• определение параметров исходных сейсмических колебаний грунта с использованием записей сильных движений;
• оценка и генерация расчетных сейсмических воздействий методами, основанными на модели разлома;
• оценка и генерация расчетных сейсмических воздействий методом, использующим стандартные спектры.
3.2. Задача определения колебаний грунта для проектных основ может быть разделена на два этапа:
I. Определение параметров сейсмического колебания грунта на свободной поверхности грунта (разделы 3-5 Руководства);
II. Определение параметров расчетного сейсмического колебания грунта для отметки коренной породы, перекрытой толщей относительно более слабых грунтов (раздел 6 Руководства).

Рис. 1. Схема алгоритма определения исходных сейсмических воздействий
3.3. Решение задачи I этапа предполагает определение:
1.) сейсмических колебаний грунта в свободном поле на площадке размещения объекта;
2.) частотной характеристики колебаний грунта;
3.) максимальных амплитуд (ускорение, скорость, перемещение) колебаний грунта;
4.) акселерограмм и спектров ответа.
3.4. Для решения задачи II этапа должна быть проведена оценка изменений характеристик колебаний грунта в виде параметров в толще подстилающего грунта, таких же, как и для коренной породы.
3.5. Если для целей анализа сейсмостойкости требуется использовать два уровня расчетных землетрясений ПЗ и МРЗ, то сейсмические колебания грунта определяются в каждом случае индивидуально и непосредственно для каждого уровня. В этом случае им соответствуют различные наборы колебаний.
Допускается принимать уровень сейсмических воздействий для ПЗ в два раза ниже, чем для МРЗ.
3.6. Исходные сейсмические колебания грунта для проектных основ должны быть получены для свободной поверхности и коренной породы с учетом конкретных сейсмотектонических грунтовых условий площадки.
3.7. Должны быть определены величины параметров сейсмических колебаний грунта и получены оценки их неопределенности. Спектр реакции должен быть определен для затухания 5 % .
3.8. Спектр реакции рекомендуется пересчитать для целей анализа сейсмостойкости ОИАЭ для значений затуханий 1 %, 2 % и 10 % с учетом влияния весовых и инерционных характеристик сооружения, размещенного на грунте.
3.9. Набор акселерограмм или акселерограмма для проектных основ должен быть определен в соответствии с требованиями и критериями раздела 5 Руководства.
3.10. Должны быть определены две ортогональные горизонтальные и одна вертикальная компоненты колебаний грунта.
4.1.1. Балльность площадки для естественных и техногенно измененных условий определяется макросейсмической интенсивностью. Рекомендации по ее определению даны в справочном приложении 4 к Руководству.
4.1.2. Максимальные значения параметров сейсмических колебаний грунта для проектных основ (максимальные горизонтальные и вертикальное ускорения, скорости и перемещения грунта) должны определяться в результате специальных изысканий на площадке.
4.1.3. В случае представления сейсмических колебаний грунта для проектных основ с помощью спектра ответа его форма может быть как стандартной (не зависящей от площадки), так и характерной (зависящей от площадки). Могут быть использованы как широкополосные спектры, отражающие степень неопределенности доминирующих частот исходного сейсмического колебания, так и узкополосные спектры. При использовании узкополосных спектров центральная частота должна сдвигаться (расширяться) на 10 % в обе стороны для учета неопределенности положения доминирующих частот. Узкополосные спектры могут быть рекомендованы для конкретных объектов с конкретной геологией при наличии необходимой сейсмологической информации о площадке. Широкополосные спектры следует использовать при разработке типовых проектов, которые могут привязываться к самым различным грунтовым условиям.
4.1.4. Стандартные и широкополосные спектры ответа должны задаваться для различных типов грунтов в виде семейства кривых для набора значений затухания в 1 %, 2 %, 5%, 10 %.
4.1.5. Следует определять резонансный период спектра Т0, который совпадает с видимым периодом Т, соответствующим максимальной амплитуде колебаний грунта. Он может быть вычислен согласно рекомендациям приложения 4 к Руководству.
4.1.6. Форму спектра ответа в двойном логарифмическом масштабе в первом приближении можно считать симметричной относительно резонансного периода.
4.2.1. Выбор спектра ответа (его формы) для проектных основ зависит от стадии разработки проекта (типовой проект, для конкретной площадки и т.д.) и от степени полноты сейсмологической информации, имеющейся для площадки строительства ОИАЭ. На стадии разработки типового проекта допускается использовать форму стандартных спектров ответа.
4.2.2. Стандартные спектры ответа могут быть использованы при проведении сейсмического анализа на этапе разработки проекта для конкретной площадки при условии, что требования 4.1.3. Руководства выполнены. Другие спектры ответа могут быть использованы при условии отдельного обоснования их пригодности.
4.3.1. В качестве стандартного спектра ответа горизонтальных компонент на свободной поверхности для интенсивности землетрясения 9 баллов по шкале MSK-64 допускается принимать спектр, приведенный на рис. 2, при условии обоснования его пригодности для данного случая применения.
4.3.2. Спектры ответа для обеих горизонтальных компонент в этом случае могут приниматься идентичными.
4.4.1. При максимальных амплитудах на горизонтальной составляющей менее 250 см/с2 амплитуда вертикальной составляющей в среднем вдвое меньше.

|
Частота, |
Ускорение, м/с2, |
|||
|
1 |
2 |
5 |
10 |
|
|
1 |
6,0 |
5,0 |
4,0 |
3,0 |
|
2 |
26,0 |
20,0 |
13,0 |
10,0 |
|
10 |
26,0 |
20,0 |
13,0 |
10,0 |
|
30 |
50 |
5,0 |
5,0 |
5,0 |
Рис. 2. Стандартные спектры ответа горизонтальных компонент на свободной поверхности для интенсивности землетрясения 9 баллов по MSK-64
При больших значениях амплитуд они начинают сближаться и могут быть оценены по табл. 1. Соотношение между уровнями спектров для вертикальной и горизонтальной составляющих такое же, как для соответствующих уровней колебаний грунта.
Таблица 1
Соотношение между амплитудами ускорений на
вертикальной
V и горизонтальной
Н компонентах
|
|
250 |
300 |
350 |
400 |
450 |
500 |
550 |
|
|
125 |
155 |
185 |
225 |
275 |
335 |
400 |
|
|
600 |
650 |
700 |
750 |
800 |
850 |
900 |
|
|
470 |
545 |
625 |
710 |
800 |
895 |
1000 |
Стандартный спектр ответа для вертикальной компоненты может быть получен масштабированием спектра ответа для горизонтальной компоненты с коэффициентом 2/3 во всей частотной области.
При использовании спектра ответа, характерного для площадки, его форма должна разрабатываться отдельно как для вертикальной, так и для горизонтальной компонент.
4.4.2. Отношение уровней двух горизонтальных компонент подчиняется логнормальному закону с нулевым средним значением и стандартным отклонением 0,16 ед. логарифма (если взять отношение более интенсивной ко второй горизонтальной компоненте, то отношение амплитуд в 16 % случаев не превышает 1,15, в 50 % случаев не превышает 1,65).
5.1.1. Для синтезирования акселерограмм может быть использован обобщенный спектр реакции (медианные или 84 % обеспеченности), полученный в результате статистической обработки набора аналоговых акселерограмм, подобранных для сходных сейсмотектонических и грунтовых условий.
Если расчеты проводятся только для одной синтезированной акселерограммы, то необходимо обосновать консервативность полученных результатов.
5.1.2. В случае задания сейсмического колебания грунта в виде спектра ответа акселерограммы должны удовлетворять критериям, содержащимся в разделах 5.2 и 5.3 Руководства.
5.2.1. В дополнение к другим требованиям, приведенным ниже, акселерограммы должны быть отобраны, модифицированы, либо получены численными методами таким образом, чтобы их временные параметры (длительность акселерограмм, огибающая колебаний) и амплитудные параметры (пиковое ускорение, пиковая скорость, пиковые перемещения) соответствовали тем, которые определены для площадки по ее макросейсмическим характеристикам.
5.2.2. Огибающая колебаний - сглаженная функция закономерного изменения пиковых амплитуд во времени. На рис. 3 приведена форма амплитуды огибающих колебаний.
5.2.3. Пиковые ускорения акселерограмм должны соответствовать ускорению нулевого периода спектра ответа, принятого для проектных основ.
5.2.4. Пиковое ускорение акселерограммы определяется как:
(а) максимальное значение ускорений;
(б) абсолютное значение векторной суммы 2 горизонтальных и вертикальной компонент.

Рис. 3. Форма амплитуды огибающей колебаний
|
Магнитуда |
Та/Тс |
Тb/Тс |
|
8 |
0,08 |
0.46 |
|
7 |
0,12 |
0.50 |
|
6 |
0.16 |
0.54 |
Тс = 10(0,31М-0,774)
Тс - зависящая от магнитуды длительность колебаний в секунду , при Т > Тс
амплитуда воздействия не превышает 1/10 максимальной амплитуды;
Та - время нарастания амплитуд акселерограммы;
Тb - время начала спада амплитуд акселерограммы;
М - магнитуда
Акселерограммы должны удовлетворять следующим критериям:
5.3.1. Математическое среднее ускорений нулевого периода индивидуальных акселерограмм должно быть больше или равно значению пикового ускорения; каждая последующая частота должна отстоять от предыдущей на величину интервала, равную 10 % предыдущей частоты.
5.3.2. В области частот от 0,5 до 33 Гц математическое среднее отношений значений спектра ответа (вычисленного на основе индивидуальных акселерограмм) и спектра ответа для проектных основ (отношения должны быть вычислены для всех частот, указанных в табл. 1) должно быть ≤ 1.
5.3.3. Ни одна точка математического среднего спектров ответа, вычисленных для индивидуальных акселерограмм, не должна лежать ниже 10 % проектного спектра ответа. Значения спектров ответа должны быть рассчитаны с достаточно малым шагом по частоте. Рекомендуемые частоты и интервалы приведены в табл. 2.
Значения спектра ответа должны быть вычислены для частот в указанных границах интервалов и в промежуточных точках внутри каждого интервала с соответствующим шагом приращения.
Таблица 2
Частоты, рекомендуемые для вычисления спектров ответа
|
Частотный диапазон, |
Приращение, |
|
0,5- 3,0 |
0..10 |
|
3,0- 3,6 |
0,15 |
|
3,6- 5,0 |
0,20 |
|
5,0- 8,0 |
0,25 |
|
8,0-15,0 |
0,50 |
|
15,0-18,0 |
1,0 |
|
18,0-22,0 |
2,0 |
|
22,0-34.0 |
3,0 |
5.3.4. При синтезировании трехкомпонентных акселерограмм необходимо обеспечивать их статистическую независимость. При использовании аналоговых акселерограмм не допускается использование одной акселерограммы для характеристики трехкомпонентного движения. Сдвиг времени начала в одной временной реализации не должен рассматриваться в качестве способа получения других акселерограмм.
Статистическая независимость двух акселерограмм a1(t) и a2(t) подтверждается вычислением коэффициента корреляции:
![]()
|
где Е |
- математическое ожидание, |
|
m1, m2 |
- средние значения a1(t) и a2(t), |
|
|
- стандартные отклонения. |
Две акселерограммы считаются статистически независимыми, если абсолютное значение коэффициента корреляции не превышает 0,3.
6.1. Сейсмические колебания грунта для отметки коренной породы определяются на основе анализа взаимодействия грунта и сооружения.
6.2. Расчетное сейсмическое колебание грунта, полученное для коренной породы, должно быть совместно с сейсмическим колебанием грунта на свободной поверхности грунта.
6.3. Расчетное колебание грунта для коренной породы должно определяться в зависимости от модели грунта, типа волн, распространяющихся в грунте при землетрясении, и типа границ, выбранных для модели «грунт-сооружение».
6.4. При анализе динамического поведения системы «грунт-сооружение» допускается принимать гипотезу о вертикальности распространения волн сдвига и сжатия в том случае, если при моделировании сооружения в модель вводится (случайным образом) дополнительный эксцентриситет (5 % характерного размера сооружения в плане), что позволяет провести инженерный учет эффектов усиления реакций, связанных с возможным в действительности невертикальным распространением сейсмических волн.
6.5. Вычисления, определяющие колебания на границах в соответствии с пп. 6.2 и 6.3 Руководства, должны выполняться с использованием математических моделей и процедур, совместных с используемыми при проведении анализа системы «грунт-сооружение».
6.6. В случае частично заглубленных сооружений должны быть проведены расчеты изменения амплитудного и частотного составов сейсмических колебаний по глубине расположения фундамента. Амплитуды ускорений спектра ответа, вычисленного в свободном полупространстве на глубине фундамента, не должны лежать ниже 60 % соответствующего проектного спектра ответа на поверхности грунта.
При отсутствии представительного количества экспериментальных данных о динамических параметрах колебаний грунтов при землетрясениях (для площадок перспективного строительства эти данные, как правило, отсутствуют и не могут быть получены в период проведения инженерных изысканий) возможно применение методики, позволяющей наметить пути определения для конкретной площадки сейсмического воздействия заданной вероятности превышения в условиях неполной сейсмологической
информации, не прибегая к записям сейсмоколебаний сильных землетрясений на исследуемой территории [33]. Метод описан в приложении 5 к Руководству.
В приложении 6 к Руководству приведен перечень материалов по глубинному строению земных недр, которые следует принимать во внимание при определении исходных сейсмических колебаний грунта для проектных основ.
Этот метод применяется в двух случаях (см. рис.1 Руководства):
1) когда известны записи сильных землетрясений на площадке или рядом с ней, соответствующих уровню МРЗ или ПЗ;
2) когда подходящие записи на площадке или рядом с ней отсутствуют и тогда используются другие записи сильных землетрясений с нормировкой их по пиковым значениям (аналоговые записи сильных движений грунта).
На рис. 1.1 представлена блок-схема определения параметров сейсмических колебаний грунта по записям сильных движений.
1. ИСПОЛЬЗОВАНИЕ ЗАПИСЕЙ СИЛЬНЫХ ЗЕМЛЕТРЯСЕНИЙ НА ПЛОЩАДКЕ
Если имеются записи сильных движений (землетрясений) на площадке (например, акселерограммы), соответствующие уровню МРЗ, то следует отдать предпочтение этому методу, поскольку в них (в этих записях) учтена вся информация, определяющая исходные сейсмические колебания грунта для проектных основ.
1.1. Акселерограмма паспортизирована следующими данными:
а) обозначения составляющих; б) масштаб времени; в) ускорений в виде отрезков, соответствующих по длине 1с и 0,1g; г) строчкой приводятся: балльность, дата землетрясения, эпицентральное расстояние в километрах и номер сейсмостанции (рис. 1.2).
Для обозначения трех составляющих колебаний принято, что буква В означает вертикальную составляющую, а буква Г - горизонтальную с указанием угла в градусах между направлением регистрируемого колебания и направлением к эпицентру (рис. 1.2).
Колебательный процесс является непериодическим колебанием с переменной амплитудой и периодом. Периодом считается удвоенный интервал между смежными нулевыми значениями ускорений.
1.1.1. Начальный отрезок времени обычно имеет относительно меньшие амплитуды. Он относится к продольным сейсмическим волнам. Его интервал тем длиннее, чем больше эпицентральное расстояние. При малых расстояниях от очага начальный отрезок составляет 1-3 с. Периоды колебаний в начальном участке относительно меньше.
1.1.2. Средний участок записи имеет наибольшие амплитуды ускорений. Он относится к поперечным волнам, осложненным вступлениями обменных и поверхностных волн. Периоды колебаний на среднем участке немного больше или такие же, как и на начальном участке. Переход от начального участка к среднему ясно выражен на записи.
1.1.3. Конечный участок отличается более длинными периодами. Амплитуда ускорений постепенно и нерегулярно уменьшается, так что трудно фиксировать окончание колебаний. Переход от среднего участка к конечному явно не выражен.
1.1.4. Общая продолжительность колебательного процесса не одинакова и тем больше, чем больше балльность и эпицентральное расстояние. Колебание продолжается приблизительно 10-40 с.
1.1.5. Число отклонений (амплитуд) на записи очень велико (более 100), что учитывается при спектральном анализе.


Рис. 1.2. Схема обозначения составляющих, принятая на акселерограммах
1.1.6. Вертикальная составляющая ускорения обычно имеет несколько меньшие амплитуды, чем горизонтальные (около 60-70 %).
1.1.7. Обе горизонтальные составляющие, как правило, соизмеримы и нет резкой зависимости амплитуд от угла между направлением колебания и направлением на эпицентр.
1.2. По акселерограммам можно определить:
• амплитудный уровень колебаний;
• продолжительность колебаний;
• спектральный состав колебаний.
1.2.1. Амплитудный уровень колебаний.
По акселерограммам амплитудный уровень колебаний может быть задан:
• максимальной амплитудой;
• максимальным размахом колебаний;
• среднеквадратической амплитудой колебаний, равной корню квадратному из суммы амплитуд на представительном участке записи;
• спектральным уровнем на фиксированных периодах.
Для подавляющего большинства акселерограмм
соотношение
,
где аmах - амплитуды максимального ускорения и
величина среднеквадратического
ускорения, лежит в интервале значений 2,41-2,47 [13].
Следует иметь в виду, что с инженерной точки зрения величина аmах может быть не представительна в случае единичного выброса большой амплитуды, либо когда период колебаний с максимальной амплитудой лежит вне пределов максимума частотной характеристики колебаний сооружений. Вследствие этих, а также некоторых других факторов корреляции между аmах и интенсивностью сопровождаются значительным разбросом, близким к величине среднего значения (δа→100 %). Однако в сочетании с длительностью максимальной фазы величина аmах × τ имеет более тесную корреляцию с балльностью [14]. В качестве амплитудного параметра сейсмических воздействий используются также амплитуды спектральных ускорений SA колебаний осциллятора с 5 %-ным затуханием на фиксированных периодах Т = 0,2 с и Т = 1,0 с, описывающих воздействия в коротко- и длиннопериодной областях спектра [15].
1.2.2. Продолжительность колебаний.
Параметром продолжительности (длительности) колебаний на практике используется ширина импульса τ, т.е. промежуток времени, в течение которого уровень колебаний превышает аmах /2 . Схема измерения амплитуды и ширины импульса показана на рис. 1.3. Представлены случаи простых по форме колебаний (рис. 1.3,а) и запись волновой группы, разделенной промежутком времени Δt, в течение которого a ≤ аmах/2 (рис. 1.3,б). В случае сложных колебаний типа (б) импульс считается единым при Δt ≤ 2с. Тогда t = Δt1 + Δt + Δt2 . В противном случае (Δt > 2с) рассматриваются два отдельных импульса.
1.2.3. Спектральный состав колебаний.
Параметрами сейсмических воздействий, характеризующих спектральный состав колебаний, рассматриваются:
• период, соответствующий максимальной амплитуде;
• спектр Фурье S(ω);
• спектры реакции, т.е. спектры ускорений SA(T), скорости SV(T) и смещений SD(T) осцилляторов с 5 % -ным затуханием.
Выражения для спектров Фурье записываются в виде [16]:
, (1.1)
где f(t) - колебательный процесс; ω - круговая частота; S(ω) - комплексная функция круговой частоты полностью определяется
амплитудным
и фазовым спектром ![]()
. (1.2)

Рис. 1.3. Схема измерения ширины импульса:
а - для простых колебаний; б - для колебаний сложной формы
В свою очередь амплитудный и фазовый спектры определяются через коэффициенты А(ω) и В(ω)
(1.3)
где

В инженерных оценках большая часть операций
осуществляется с использованием модуля спектра
, т.е. амплитудного спектра Фурье.
1.2.4. Спектры реакции.
Уравнение движения y(t) линейного осциллятора с одной степенью свободы и затуханием ξ при движении основания (t) выражается соотношением:
где ωi - частота собственных колебаний незатухающего осциллятора. Относительное смещение такого осциллятора у может быть записано в виде:
(1.5)
Относительная скорость у
. (1.6)
Абсолютное ускорение (
)
(1.7)
Спектром реакции является огибающая максимальных откликов осцилляторов. При малых величинах затухания ξ член (1 - ξ2)1/2 и выражение для максимального относительного смещения осциллятора у = SD могут быть записаны в виде (см. 1.5):
. (1.8)
Тогда для максимальной относительной скорости (см. 1.6)
Sv = ωiSD (1.9)
Спектры реакции строятся в двойном логарифмическом масштабе (рис. 1.4).
Они могут быть рассчитаны прямым методом решения уравнения (1.4) и пересчетом из одного спектра в другой. Например, спектр скорости, рассчитанный умножением на со спектра смещений или делением на ω спектра ускорений, называется спектром псевдоскорости. Он отличается от определенного прямым способом спектра тем меньше, чем меньше затухание. Значения затухания большинства строительных конструкций лежат в интервале ξ = 0,02 - 0,2 [17].

Рис. 1.4. Образец спектра реакции трехкоординатной сетке
Спектры реакции систем с разным затуханием, %: 0.2; 5; 10; 20. Землетрясение 5.11.71 г., Аляска
1.2.5. Коэффициент динамичности.
Динамический коэффициент равен [18]:
(1.10)
где
- амплитуда
(огибающая) записи ускорений колебаний линейного осциллятора с заданной
частотой ω0 и затуханием ξ при воздействии колебаний x(t).
В инженерных расчётах наибольший интерес
представляет максимальное значение
; которое называется коэффициентом динамичности и
характеризует эффект сейсмического воздействия на сооружение. Значение β' зависит от периода колебаний Т и затухания ξ Амплитудный уровень, т.е.
масштаб коэффициента β устанавливается делением β' на величину максимального ускорения аmах колебаний основания осциллятора (ускорения
колебаний почвы). Так же используются кривые зависимости динамического коэффициента
от периода колебаний β(Т) для фиксированных
затуханий (обычно ξ принимается равным 5 %) [4].
Значительно реже используются кривые β по скоростям и смещениям. В сочетании со спектрами реакции динамические
коэффициенты по ускорениям βa, скоростям βv, и смещениям βd определяются соотношениями:
βa = SA/amax; βv = SV/Vmax; βd = SD/dmax. (1.11)
2. ИСПОЛЬЗОВАНИЕ АНАЛОГОВЫХ ЗАПИСЕЙ СИЛЬНЫХ ДВИЖЕНИЙ ГРУНТА
В случае применения аналоговых записей землетрясений для условий площадки размещения объекта эти записи необходимо пересчитать. Методика пересчета основана на теории распространения плоских волн в горизонтально-слоистых линейно-неупругих средах [20, 21].
Расчет акселерограммы колебаний для площадки a(t) по записи u(t), полученной на расположенной вне площадки сейсмической станции, сводится к решению интегрального уравнения первого рода типа свертки [22]:
K(t - τ) a (τ)dτ = u(t), (1.12)
где ядро интеграла K(t) описывает влияние строения среды на пути «очаг - станция», «очаг - площадка», а также влияние регистрирующей аппаратуры. В спектральной области K(t) описывается соотношением:
K(ω)=FK(t)=εηS(ω) θ (ω), (1.13)
где F - оператор преобразования Фурье; S(ω) - частотная характеристика сейсмографа; θ(ω) - отношение частотных характеристик среды на путях распространения волн по трассе «очаг - станция» G1(ω) и к площадке G2(ω); ε - коэффициент, зависящий от типа регистратора, ω2 - сейсмограф; iω - велосиграф; I - акселерограф; η = Ψ1/Ψ2, где Ψ1 - направленность излучения из очага на станцию, Ψ2 - из очага на площадку. Если механизм очага известен, величина η может быть рассчитана. В противном случае величина К(ω) определяется с точностью до величины этого коэффициента. Чтобы уменьшить влияние коэффициента η, следует выбирать записи как можно ближе к площадке объекта.
Определение акселерограмм колебаний на площадке по записям на станции относится к классу некорректно поставленных задач, и поиск решения проводится в регуляризированном виде. Применяется специальная процедура регуляризации, заключающаяся в подборе коэффициентов с целью обеспечения регуляризированного решения уравнения (1.12). Математическое обеспечение в виде готовых вычислительных программ дается в работе [23]. Вопрос об отличиях в условиях распространения сейсмических волн сводится к определению значений комплексной функции θ(ω) выражения (1.11). Практический интерес представляет путь построения эмпирических передаточных функций среды с использованием землетрясений и взрывов. Эти передаточные характеристики строятся в виде отношений спектров сейсмических колебаний.
Спектры записи сейсмических колебаний в пункте с номером i могут быть приближенно представлены в виде:
Ui(ω) = φiW(a) Gi(ω) Si(ω). (1.14)
где W(ω) - спектр источника. Отношение спектров синхронных записей одного сейсмического события на двух станциях i = 1,2 будет равно:
. (1.15)
Из этого выражения видно, что значение передаточной функции среды
q1,2(t) = Re{F1[θ1,2(ω)]} (1.16)
может быть определено по записям слабых и средних по величине сейсмических событий в полосе частот, на которой U1(ω) и U2(ω) хорошо представлены.
Если в пункте
с условным номером i = 1, в котором
удалось получить запись сильного землетрясения из опасной сейсмоактивной зоны,
и в пункте i = 2 на строительной
площадке имеются синхронные записи
нескольких более слабых сейсмических событий
(n = 1,2,…N) из той же очаговой
зоны, то формально связь между соответствующими записями может быть выражена в
виде системы уравнений
, (1.17)
где спектр ядер R12(ω) имеет вид (1.15). Решение каждого из уравнений системы (1.17) относительно q12(t) можно осуществить таким же образом, как и решение уравнения (1.12), т.е. получить его в виде:
, (1.18)
где
- регуляризирующая
функция. Учитывая, что
![]()
и принимая М(ω)
= ω2ρ, можно,
выбрав конкретное значение параметра ρ,
построить регуляризирующую функцию
.
Отклонения
в положениях гипоцентров землетрясений, следовательно, и некоторые различия в
путях распространения сейсмических колебаний, эффекты нелинейности и другие
причины могут приводить к тому, что отдельные значения
будут несколько
отличаться друг от друга. Результирующее значение передаточной функции будет
определяться как среднее значение всех реализаций
. (1.19)
При использовании записей инженерно-сейсмометрических станций иногда бывает трудно осуществить их точную
привязку по времени. В таких случаях, как показано в [24],
выполнять усреднение следует после смещений функций
на отрезки времени τ(m), при которых наступают
максимумы функции взаимной корреляции для каждой из
реализаций
относительно одной из них.
Описанный выше способ построения передаточных функций накладывает на них ряд ограничений. Функции могут быть определены только в классе абсолютно интегрируемых и будут описывать только воздействия деталей среды, сравниваемых по линейным размерам с длинами волн из частотного диапазона, в котором с достаточной точностью и детальностью удается получить спектры синхронных записей землетрясений из интересующей нас сейсмоактивной зоны. Точность описания воздействий различных деталей строения среды будет зависеть от того, насколько уровень полезного сигнала на соответствующих частотах будет превышать уровень помехи. Детально описанный выше алгоритм и пример его использования представлены в работе [21].
Близкая методика, основанная на тех же входных данных и позволяющая производить пересчет акселерограмм, полученных в одних грунтовых условиях, на площадки с другим близ поверхностным разрезом, описана в работе [20].
Задача заключается в восстановлении сигнала, подходящего к подошве слоистой пачки, и получении акселерограмм на свободной поверхности площадки. Для этого необходимо знать спектр колебаний на свободной поверхности в районе станции (опорная точка) Fv(ω) и спектральные характеристики изучаемых слоистых пачек xv(ω) в районе станции и yv(ω) на площадке. Входной сигнал вычисляется по формуле:
. (1.20)
Соответствующая акселерограмма на площадке будет иметь вид:
. (1.21)
Спектральные характеристики среды рассчитываются по модифицированным формулам Томсона-Хаскелла для линейно-неупругой горизонтально-слоистой модели [25].
Методика пересчета акселерограмм на другие грунтовые условия может применяться только после тщательного анализа экспериментальных акселерограмм, разделения и идентификации зарегистрированных волн и использования только объемно-волновой части записи. С особой осторожностью следует относиться к такому пересчету, когда площадки расположены в существенно различных азимутах относительно эпицентров возможных землетрясений.
Метод особенно эффективен для определения сейсмических колебаний на отметке коренной породы, если имеются в наличии аналоговые записи, полученные в сходных сейсмотектонических условиях на рыхлых грунтах. Полученные акселерограммы целесообразно использовать для получения обобщенного спектра реакции заданной обеспеченности и последующего синтезирования исходной акселерограммы.
3. ПОДБОР АНАЛОГОВЫХ ЗАПИСЕЙ СИЛЬНЫХ ДВИЖЕНИЙ
Для платформенных территорий подбор аналоговых записей сильных движений - это основной метод получения исходных сейсмических воздействий (обобщенные спектры реакции грунта различной обеспеченности) в условиях неполной сейсмологической информации.
Для характеристики исходных сейсмических воздействий из банка данных подбирается набор аналоговых акселерограмм, зарегистрированных в сходных сейсмотектонических и грунтовых условиях.
Аналоговые акселерограммы используются для получения аналоговых спектров реакции, которые в дальнейшем статистически обрабатываются.
На основании статистической обработки аналоговых спектров реакции вычисляются медианные и 84 % -ной обеспеченности обобщенные спектры реакции грунта, которые соответствуют конкретным сейсмотектоническим и грунтовым условиям площадки размещения ОИАЭ. Кроме того, вычисляются наиболее вероятные максимальные ускорения и длительности, и оценивается степень их неопределенности.
На основании сведений о максимальных ускорениях, обобщенных спектрах реакции грунта заданной обеспеченности и длительности колебаний синтезируются акселерограммы, соответствующие конкретным сейсмотектоническим и грунтовым условиям.
Достоинством данного подхода является его сходство с подходом, используемым для определения стандартных сейсмических воздействий.
При оценке и генерации расчетных сейсмических воздействий (решение прямой задачи) необходимо:
Смоделировать процесс разрушения в разломе («модель разлома»).
Смоделировать излучение сейсмических волн в объем земной коры («функции Грина»).
3. Учесть локальные инженерно-геологические условия.
Задача может быть решена двумя методами: первый чисто теоретический, где все явления описываются математически; второй - полуэмпирический, где отдельные части теории заменены экспериментальными данными.
1. ТЕОРЕТИЧЕСКОЕ МОДЕЛИРОВАНИЕ
При теоретических расчетах используются два подхода.
Первый, детерминистский, требует задания в источнике пространственного и временного распределения подвижки, а также пространственного распределения свойств среды (геометрия, физико-механические параметры) (рис. 2.1). В этом случае применяется ряд методов расчета «функций Грина», которые позволяют оценить смещение в точке наблюдения. При этом для расчетов высокочастотных колебаний в ближней зоне и в гетерогенной среде используются лучевые методы. Однако рассмотрение моделей однородного распределения подвижки не дает хороших результатов при расчетах высокочастотных колебаний, так как коротковолновые движения (высокочастотные колебания) определяются неоднородным распределением подвижки и локальными значениями очаговых параметров. Так как предсказать детальное пространственно-временное распределение подвижек в очагах будущих землетрясений практически невозможно, применяются стохастические очаговые модели.

Рис. 2.1. Блок-схема определения параметров сейсмических колебаний груша методами, основанными на модели разлома"
Для расчетов короткопериодных движений грунта используются два вида стохастических моделей - барьерная модель А. Папагеоргиу и К. Аки и модель ω2 Т. Хэнкса и Р. Мак-Гуайра (рис. 2.1).
В рамках барьерной модели очаг рассматривается в виде прямоугольной площадки, покрытой трещинами круговой формы одинакового диаметра, разделенными ненарушенным материалом. Трещины размещены независимо и случайно, излучение сейсмических волн таким источником описывается выражениями Т. Сато и Т. Хиросава. Спектр Фурье результирующего движения имеет случайную фазу, что позволяет отнести барьерную модель к разновидностям стохастических моделей.
Барьерная модель описывается пятью основными параметрами: длиной и шириной площадки (очага), максимальной подвижкой, скоростью вспарывания и барьерным интервалом. В этой модели значение высокочастотного края спектра Fm зависит от размеров источника и других его параметров.
В модели ω2 значение fm определяется эффектом
затухания колебаний в приповерхностных отложениях. В ω2-модели ускорения колебаний моделируются белым
шумом в частотном интервале f0 - fm (где/0- угловая частота
спектра и форма спектра по Дж. Бруну). Модель
характеризуется величинами момента М0, сброшенного
напряжения Δσ и fm. С помощью этой модели было получено
хорошее соответствие экспериментальных и теоретических
значений аmах и
в интервале магнитуд 4,0-7,7. Д. Бур
развил обе расчетные модели и применил метод случайных
колебаний, расширив диапазон магнитуд от 1,0 до 7,0. Использование ω2 - модели для расчетов колебаний от очагов с М > 7,0 становится некорректным вследствие
нарушения подобия, т.е. заметного увеличения коэффициента формы Kv = L/W в области больших магнитуд.
Для расчетов колебаний от очагов в виде барьерной модели и ω2 - модели применяются два метода расчетов - метод Монте-Карло и метод случайных колебаний.
При использовании обоих методов спектр колебаний R(f) рассматривается в зависимости от следующих факторов:
R(f) = CS(f)A(f)D(f)I(f), (2.1)
где С - масштабный коэффициент; S - спектр в источнике; D - затухание; I - реакция прибора в точке наблюдения;
, (2.2)
где Rθj - функция направленности;
F - эффект влияния свободной
поверхности; v - часть энергии,
приходящейся на горизонтальные колебания; ρo
и vso - плотность и скорость
распространения поперечных волн в очаговой области, R - геометрическое расхождение волн. Обычно принимается F = 2 и v =
. На расстояниях до
![]()
Для барьерной модели выражение для очагового спектра S(f) [26]:
, (2.3)
где Soi(f) - спектр индивидуального субисточника (круговая трещина), N - общее число субисточников, Т - продолжительность вспарывания всего разлома,
, (2,4)
где moi - сейсмический момент субисточника.
Для ω2 - модели:
![]()
f0 = 4,9·106 vso (Δσ/М0)1/3, (2.5)
Δσ - в барах, f0 - в Гц, vso - в км/с и М0 - в дин. см.
Учитывая нарушение принципа подобия для больших землетрясений, необходимо использовать следующие соотношения для спектра источника [27]:
(2.6)
где
. (2.7)
Здесь moc - критическая величина момента, начиная с которой нарушается подобие. Следует отметить, что в области сохранения подобия для калифорнийских землетрясений К принималось равным 4.
Фактор усиления А(f) колебаний средой, т.е. так называемая специальная характеристика колебаний слоистой толщи, может быть рассчитана с применением метода Томсона-Хаскелла по программе Л.И. Ратниковой.
Иногда для определения А используется корректирующий фактор
,
где индекс 0 - относится к области очага, i - точки наблюдения.
Фактор D(f) затухания с расстоянием записывается в виде:
D(f) = exp[- πfr/Q(f)V]P(f), (2.8)
где Q - частотно зависимый фактор затухания в среде, разный для разных регионов; P(f) - высокочастотный срез фильтра;
P(f) = exp(-πK0f). (2.9)
Наконец, фильтр I(f) зависит от условий регистрации. Для стандартных акселерографов выражение для I(f)
, (2.10)
где fr = 25 Гц, ξ = 0,6, V = (2πfr)2
После определения спектра R(f) производится следующая процедура расчетов. Генератором случайных чисел (метод Монте-Карло) генерируется гауссовский белый шум со спектром R(f), фильтрованным через фильтр коробчатой формы с длительностью Tw = 1/f0 + 0,05 для модели ω2 или 1/fA + 0,05r для модифицированной модели [28]. Здесь r - расстояние от очага.
Далее производится обратное преобразование Фурье
во временную область, и получаются временные функции
a(t), из которых оцениваются величины аmах и
. Не менее 20 генерированных (расчетных) сигналов необходимы для
хорошей оценки аmах. Средний по массиву реализаций спектр
лежит близко к исходному расчетному спектру.
В методе случайных вибраций не требуется использование генерации случайных процессов. Спектр R(f) величины у (ускорение, скорость, смещение) определяется в соответствии с принципом, описанным выражением (2.1).
Нулевой, второй и четвертый моменты m0, m2, m4 энергетической спектральной плотности рассчитываются по формуле:
, (2.11)
где ω = 2πf
Среднеквадратичная
величина
определяется
соотношением:
, (2.12)
где Тr (длительность колебаний) = Тω.
Для определения величины спектра реакции используется соотношение:
, (2.13)
где Т0 и ξ - период собственных колебаний и затухание осциллятора γ = Тω/Т0.
Математическое ожидание Е(уmаx) величины уmаx рассчитывается с использованием точных либо асимптотических формул, зависящих от параметра ε и числа экстремумов N, где:
ε = m2/(m0m4)1/2
, (2.14)
где
- биноминальный коэффициент, равный N!/l!(N - l).
Выражение (2.14) используется для малых Ni< 14,7, ε - 8.
Для больших значений N предлагается не точное, а асимптотическое решение:
Е(уmах) = {[2 ln(N)]1/2 + γ[2 ln (N)1/2}, (2.15)
где в качестве γ рекомендуется константа Эйлера, равная 0,557216.
После получения спектра реакции с помощью метода
случайных колебаний задаются стационарные временные
реализации с заданным спектром и величиной γmах и
.
Указанные выше стохастические методы могут быть корректно использованы за пределами ближней зоны. Для ближней зоны была предложена модификация вышеописанного метода с использованием расчетного способа Монте-Карло. Однако в эту модель заложен ряд упрощающих предположений, в частности, предположение о постоянной по всему очагу скорости вспарывания. В то же время следует отметить большую чувствительность результатов расчетов к изменению скорости вспарывания [29].
Кроме того, применяется метод, основанный на представлении колебаний от большого очага как суммы колебаний от малых очагов - субисточников.
Сущность метода заключается в том, что η субисточников совместно с временами начала их действия распределены случайно с однородной вероятностью в течение полного времени действия Т и излучаемые ими импульсы имеют масштабный коэффициент v.
Источники начинают срабатывать с задержкой по мере
удаления от гипоцентра. На низких частотах излучение
субисточников когерентно с уровнем спектра, пропорциональным произведению vη. Высокочастотное излучение не
когерентно, и уровень спектра пропорционален
. В рамках модели Хэнкса и Мак-Гуайра и представления
подобия спектров по К. Аки и Дж. Брюну спектр смещений на
высоких частотах изменяется по закону f-α. Тогда:
. (2.16)
где М0 - момент очага; М0 - момент субисточника. Для ω2 - модели α = 2 и δ = 3 [3].
Колебания рассчитываются как «функции Грина» и суммируются в точке наблюдения. Операции расчета «функции Грина» описаны в фундаментальной работе К. Аки и П. Ричардса [26]. Авторы метода постулировали некоторые случайные распределения субисточников по поверхности площадки разрыва в соответствии с предлагаемой геометрией разрыва. Распределение субисточников должно быть связано с предполагаемой неоднородностью очага, и, естественно, результат зависит от адекватности теоретического распределения реальному распределению неоднородностей. Так, при задании распределения субисточников можно принимать во внимание результаты изучения распределения участков разрывов по их длине и величину подвижки принимать пропорциональной длине субразрыва. Однако следует иметь в виду, что в каждом конкретном случае распределение параметров может отличаться от среднего или характерного по многим случаям. Так, результаты теоретических и экспериментальных исследований позволяют сделать вывод о тяготении максимальной подвижки Dmax к центру источника и о спаде значений D до нуля на краях разрывов. Однако в отдельных конкретных случаях отклонение от этой тенденции может быть довольно значительным, так как определяется пространственными различиями прочностных свойств горных пород.
Следует отметить перспективность разработанной технологии расчетов колебаний. Однако в настоящее время из-за слабого знания строения очагов реальных землетрясений описанные выше методы теоретических расчетов не находят широкого применения.
2. ПОЛУЭМПИРИЧЕСКИЙ МЕТОД
Полуэмпирический метод был предложен Харцелом. В этом методе в качестве «функций Грина» используются записи слабых землетрясений, что позволяет избежать необходимости вычисления этих функций теоретическими методами. Полуэмпирический метод является наиболее практичным при определении параметров сейсмических воздействий на основе модели разлома, но для его применения необходимы записи хотя бы слабых землетрясений. Ключевым вопросом применимости полуэмпирического метода является наличие в имеющихся записях составляющих, соответствующих периодам собственных колебаний проектируемых сооружений.
Метод оказался очень полезным для оценки короткопериодных колебаний, поскольку записи слабых местных землетрясений содержат в себе информацию не только о местных условиях площадки и пространственных неоднородностях между площадкой и очагом, но и о сложном механизме разрушения в очаге.
Полуэмпирический метод применялся и применяется в настоящее время в различных вариантах. Например, Канамори синтезировал волны Лява с периодами от 2 до 10 с с учетом разницы в сейсмических моментах между слабыми и сильными землетрясениями.
Ирикура предложил метод, основанный на соотношениях подобия для параметров очагов, утверждая, что длина разлома, ширина разлома и усредненная дислокация пропорциональны друг другу, а сброс напряжений и скорость скольжения не зависят от размеров разлома. Он применил свой метод для вычисления скоростей колебаний с преобладающим периодом около 10 с. В его методе при суперпозиции записей от слабых местных землетрясений в качестве коэффициента используется отношение сейсмических моментов сильного и слабого землетрясений.
Танака и другие ученые для моделирования короткопериодных колебаний синтезировали акселерограммы и показали, что коэффициентом суперпозиции должно быть отношение сейсмических моментов в степени 2/3.
В России полуэмпирический метод в последнее время применен на Камчатке. Здесь ограниченность числа записей сильных движений компенсировалась использованием теоретических моделей, причем отдельные параметры этих моделей определены по слабым местным землетрясениям (рис. 2.2). С этой целью разработан простой приближенный метод решения прямой задачи прогноза параметров колебаний, в основу которого положен метод случайных функций; заданы параметры модели по имеющимся на тот момент и вновь полученным данным.
Первым этапом алгоритма для прогноза параметров сильных сейсмических колебаний грунта является расчет спектра Фурье (рис. 2.2). Исходным в основном варианте алгоритма очаговый спектр M0(f). Спектр Фурье FSA(f) рассчитывается по формуле:
FSA(f/R,Mw) = (2πf)2C·M0(f/Mw)·KR·KQ(f)·Kg(f)·KH(f) (2.17)
где С - масштабный коэффициент; M0(f/Mw) - очаговый спектр (в частности, можно использовать модель Бруна); KR - член, учитывающий геометрическое расхождение (сферическое) с поправкой на размер источника (зависящий от магнитуды); KQ(f) - член, учитывающий потери за счет поглощения и рассеяния; Kg(f) - поправка к спектру, учитывающая категорию грунта (по СНиП: I, II или III; соответственно: скальный, средний или мягкий грунт); КH(f) - низкочастотный фильтр, определяющий срез спектра на высоких частотах (параметр fmax).
Вторым важным элементом расчета является оценка длительности акселерограммы. В качестве характеристики длительности в методе случайных колебаний удобно использовать «эффективную (прямоугольную)» длительность ТП - длительность эквивалентного по энергии сигнала с прямоугольной огибающей и среднеквадратической амплитудой, равной среднеквадратической амплитуде исходного сигнала в области максимальных колебаний. Для оценки полной длительности в системе «очаг-среда-грунт» удобно использовать «среднеквадратичную» длительность Тск, которая определяется как второй центральный момент от квадрата акселерограммы и является комбинацией вкладов очага, среды и грунта:
Переход от Тск к ТП осуществляется по формуле:
ТП = kt·tck.
Коэффициент kt может принимать значения от 2 (для акселерограммы с гауссовой огибающей) до 3,5 (для акселерограммы с прямоугольной огибающей).

Рис. 2.2. Блок-схема алгоритма моделирования параметров колебаний фунта
Расчет полной «среднеквадратичной» длительности осуществляется по формуле (2.18) следующим образом:
1) считается, что сигнал в очаге имеет прямоугольную огибающую длительностью ТS, тогда: tck,s = TS/3,5.
Длительность сигнала в очаге TS пропорциональна размеру очага: TS = LS(MW)/vs. Коэффициент vs имеет смысл скорости разрыва в очаге;
2) «среднеквадратичная» длительность импульсной реакции среды оценивается по эмпирической формуле:
Tck,m = T100·(R/100). (2.19)
Параметр Т100 (длительность при R =
Запись слабого землетрясения, полученную на скальном грунте, можно рассматривать как «функцию Грина» среды. Поэтому изучение параметров слабых землетрясений позволяет получать параметры среды для использования в расчетах параметров сильных движений.
Зависимость длительности слабых землетрясений от расстояния можно использовать при расчете полной длительности акселерограммы по формулам (2.18) и (2.19). Осредненные огибающие слабых землетрясений используются в качестве огибающих «функции Грина» среды по мощности при построении модельных акселерограмм. По модельным акселерограммам далее рассчитываются «среднеквадратичная» и «прямоугольная» длительности, а также длительности Т0,5 (по Аптикаеву) и Т90 (по Трифунаку) и определяются коэффициенты перехода от «среднеквадратичной» длительности к длительностям в других определениях. Огибающие слабых землетрясений имеют также и самостоятельный интерес как форма импульса рассеянных волн в реальной среде.
Согласно определению «среднеквадратичной» длительности, при расчете ТCK требуется интегрирование «хвоста» записи (коды) с весом t2. Это приводит к существенной зависимости результата от случайных выбросов в коде, что нежелательно. Чтобы устранить этот эффект, целесообразно отсечь коду от группы прямых волн. Наиболее простой метод, предложенный Раутиан Т.Г. (1981), в котором считается, что кода начинается при t = ts + k·(ts - tp). Значение коэффициента k = 2, было определено по насыщению роста значений Тск,m с ростом k.
Существенный вклад в запись и тем самым в результат расчета «среднеквадратичной» длительности соответственно вносит также микросейсмический шум. Характер искажений - фиктивное увеличение Tcк,m. Зависимость параметра Tcк,m от R можно аппроксимировать линейной моделью вида: lg Tcк,m = а + b lg R, отдельно для каждой компоненты и каждого частотного интервала. При построении средних огибающих допускается предположение, что форма огибающей стабильна; то есть нормированная функция огибающей имеет вид F(t/ Tcr,m), и F(x) одинакова для всех расстояний. С расстоянием меняется только масштаб времени, задаваемый длительностью Tcr,m.Такое представление позволяет определить огибающую по выборке небольшого объема как среднее нормированных огибающих, приведенных к единому расстоянию.
Единичная акселерограмма с точно заданным спектром реакции может генерироваться с учетом [17]. Есть метод генерации расчетной акселерограммы, спектр реакции которой SA(T, ξ =0,05; по форме соответствует кривой динамического коэффициента в действующем СНиП II-7-81 [4]. Акселерограммы могут быть записаны в виде:
, (3.1)
где A(t) - огибающая, а фазовые углы φ1 представляют собой равномерно распределенные в интервале от 0 до 2π случайные величины. Шаг по частоте Δω определяется из условия гладкости спектра реакции как (ωi - ωi-1/ω i-1 = 0,06347. Расчеты проводятся в интервале периодов от 0,05 до 3 с. В качестве первого приближения для Вi1 используются значения, непосредственно взятые с заданной кривой β(Т) для соответствующих значений частот ωi. Следующее приближение:
, (3.2)
где β(Т) - кривые СНиП,а β1(T) - кривая, полученная при первом шаге итерации.
Нужная точность совпадения расчетного спектра с заданным получается после ряда итераций. Применение программы на практике показало, что отличия расчетного спектра от заданного на периодах Т > 0,05с могут достигать 15 % после 10 итераций. В короткопериодной области вследствие наличия систематических ошибок уровень расчетной кривой βi(Т) на периодах T → 0 не доходит до значения β(T = 0) = 1. Однако близость расчетных и заданных кривых в инженерном интервале периодов допускает практическую применимость метода.
Для перехода от базовой акселерограммы
к расчетной значения
следует умножить на коэффициент К:
. (3.3)
Согласно СниПа, К принимается равным 0,1; 0,2; 0,4 для расчетной сейсмичности 7, 8, 9 баллов соответственно:
0,12 ≤ K1 < 1 учитывает допускаемые повреждения сооружений;
0,85 ≤ mкр ≤ 1,15 учитывает повторяемость расчетных землетрясений.
Выбор расчетных спектральных кривых, уровня ускорений и длительности колебаний следует проводить с учетом необходимой обеспеченности (степени риска).
1. Балльность определяется макросейсмической интенсивностью I в баллах шкалы MSK - 64.
2. При оценке I используются региональные соотношения между /, магнитудой М и расстоянием до очага г. Оценки I по эмпирическим соотношениям относятся к базовому (эталонному) грунту. Интенсивность / оценивается по формуле:
I = 1.5M - γlgr + c, (4.1)
где γ, с - коэффициенты, характеризующие затухание балльности в зависимости от направления сейсмического излучения. Для направления вкрест структур γ = - 3,5 - 4,2, с = 3,5 - 4,4 (в зависимости от региональных особенностей); для направления вдоль структур γ = - 3,0 - 3,4; с = 2,5 - 3,3. Для средних рекомендуется принимать γ =- 3,5, с = 3,0.
Для М = 4,75 - 7,5 и r ≤
I = (0,0075М - 0,08)r + 1,35М. (4.2)
3. Изменение интенсивности ΔIi за счет гидрогеологических условий оценивается по формуле:
ΔIi = l,67lg(ρ0V0 /ρi Vi) + Ye-0,04h, (4.3)
где ρ - плотность грунта;
V - скорость распространения волны сдвига;
ρ0V0 и ρi Vi - сейсмические жесткости эталонного (0) и исследуемого (i) грунта;
h - глубина залегания уровня грунтовых вод;
Y - коэффициент, учитывающий его влияние.
4. Приращение интенсивности с учетом резонанса определяется по формуле:
ΔIi = 3,32lg(ρ0V0 /ρi Vi) + Yе-0,04h (4.4)
При этом следует принимать во внимание, что приращение за счет резонанса должно учитываться для сооружений, имеющих собственные частоты, близкие к резонансной частоте.
5. Рекомендуется оценку резонансного периода колебаний грунтовой толщи проводить по формуле:
Tрез = 4Н/VS*(2n - 1)), (4.5)
где Tрез - резонансный период колебаний грунтовой толщи, VS - скорость распространения поперечных (сдвиговых) сейсмических волн, n - форма колебаний.
6. Резонансный период спектра:
lg T(
) = lgT(
) ± 0,1
может быть вычислен по формуле:
lg T0
=
где R - гипоцентральное расстояние;
C1 - коэффициент, который зависит от типа деформации в грунте.
Он равен:
|
для взбросов |
C1 = - 0,10; |
|
для взбросо-сдвигов |
C1 = -0,05; |
|
для сдвигов |
С1 = 0,0; |
|
для сбросо-сдвигов |
С1 = 0,05; |
|
для сбросов |
C1 = 0,10; |
С2 - коэффициент, определяющий влияние местных условий.
Он равен: (- 1,9) - для ускорений и (- 1,5) - для скоростей.
Значения lg T0 определяются эмпирическим или расчетным путем; учитывая погрешность определения этой величины (±0,2 ед.лог), расчеты следует производить и для значений на границах доверительного интервала, Для МРЗ можно принять значение T, равное периоду собственных колебаний сооружения.
1. Исходные данные для проведения экспресс оценок:
1.1. Результаты общего сейсмического районирования территории России, устанавливающего интенсивность сотрясений в районе строительства в баллах и средний период повторения сотрясений;
1.2. Данные исследований по уточнению сейсмотектонических условий территории перспективного строительства или ДСР, устанавливающих местоположение и глубину очагов возможных землетрясений, их магнитуду, повторяемость и минимальное эпицентральное расстояние;
1.3. Результаты сейсмического микрорайонирования площадки, определяющих резонансные свойства ее грунтов, приращения интенсивности и амплитуды колебаний» скорости распространения поперечных сейсмических волн;
1.4. Выборки максимальных ускорений колебаний грунта при землетрясениях заданной интенсивности;
1.5. Динамические и спектральные особенности акселерограмм сильных землетрясений и их спектров реакции в зависимости от параметров очага землетрясения (магнитуда М), эпицентрального расстояния Δ и грунтовых условий в пункте регистрации.
2. Расчет сейсмических колебаний грунта.
Непосредственное сопоставление акселерограмм различных землетрясений чрезвычайно трудно, поэтому вопросы прогноза уровня и формы сейсмического воздействия заданной вероятности превышения рассматривается применительно к спектрам реакции грунта.
Преимущество этого подхода заключается в возможности качественного и количественного сопоставления прогнозных и нормативных сейсмических воздействий.
2.1. Нормативное сейсмическое воздействие
, учитываемое при расчете сейсмостойкости зданий и сооружений
по спектрально-динамической теории, определяется по формуле:
, (5.1.)
где Т - период собственных колебаний зданий и сооружений;
- нормативное ускорение;
- коэффициент динамичности.
2.2.
Уровень нормативного сейсмического воздействия
определяется нормативным ускорением колебаний
грунта, 0,1; 0,2 и 0,4g при расчетной сейсмичности площадки
соответственно 7, 8 и 9 баллов. Влияние повторяемости
сотрясений в нормах частично учитывается коэффициентом mкр.
2.3. Форма нормативного сейсмического воздействия задается кривой коэффициента динамичности β(Т), которая не зависит от интенсивности землетрясения и полностью определяется типом грунтовых условий.
Установленные с учетом соотношения (5.1) нормативные сейсмические воздействия близки к средним и могут
значительно отличаться от спектров реакции реальных
акселерограмм. Это отличие обусловлено: разницей реальных и нормативных уровней ускорений при землетрясении
заданной интенсивности; отличием ординат приведенных
спектров реакции реальных землетрясений от нормативной
кривой коэффициента динамичности β(Т). Вероятность
превышения нормативного ускорения
реальным аpJ при
землетрясении заданной интенсивности J ≈ 0,35; вероятность
превышения уровня кривой коэффициента динамичности β(Т) уровнем приведенного спектра реакции
реального землетрясения примерно равна 0,5.
2.4. Полная вероятность
превышения нормативного сейсмического воздействия при заданной
вероятности pj землетрясения интенсивностью J в первом приближении может быть оценена по формуле:
![]()
2.5. Оценить годовую вероятность pj можно по среднему периоду повторения сотрясений заданной интенсивности TJ, предполагая, что характер распределения землетрясений во времени подчиняется закону Пуассона:
PJ = 1 - exp(- 1/TJ) . (5.3)
При достаточно больших значениях TJ вместо соотношения (5.3) можно использовать более простое соотношение:
pj = 1/TJ.
В случае необходимости учета срока службы объекта t0 формулу (5.3) можно представить в виде:
PJ = 1 - exp(- t0/TJ).
2.6. Вероятности превышения нормативных сейсмических воздействий для зон возникновения землетрясений с периодом повторения сотрясений 1 раз в 100, 1000 и 10000 лет соответственно равны:
![]()
Вычисленный уровень вероятности превышения нормативных сейсмических воздействий ниже уровня вероятности проектного землетрясения, соизмерим с уровнем вероятности максимального расчетного землетрясения и превосходит контрольный уровень вероятности событий Рк.у.в.
2.7. Для определения уровня расчетных сейсмических воздействий, вероятность превышения которых будет Рк.у.в ≤ 10-6 год-1, учитываются:
• сильнейшие землетрясения более редкой повторяемости;
• рост уровня расчетных ускорений по сравнению с нормативными;
•
обобщенные кривые приведенных спектров реакции, превышающих уровень нормативных кривых
.
2.8. Между уровнями максимальных ускорений
колебаний грунта aPJ, вероятностью превышения этого
ускорения
и нормативным расчетным ускорением
при заданной интенсивности землетрясения J существует корреляционная зависимость [30]
в виде:
apJ =
[0,54 - 0,63 1og(-log(1 -
))] (5.4)
где выражение в квадратных скобках - коэффициент
безопасности Кбез, обеспечивающий переход от нормативного сейсмического воздействия
к воздействию aPJ заданной вероятности превышения
.
2.9.
Значения коэффициента безопасности Кбез, обеспечивающие заданный уровень вероятности превышения сейсмического воздействия, даны в табл. 5.1, где
приведены значения Кбез для
при Рβ(T) ≈ 0,5 для
различных периодов повторения сотрясений TJ и сроков службы объекта t0.
Оценка формы спектров реакции грунта для конкретных сейсмотектонических и инженерно-геологических условий производится с учетом:
• спектров реакции аналоговых акселерограмм, рекомендованных для различных зон сейсмичности территории [31];
• спектров реакции калифорнийских и других землетрясений.
Таблица 5.1
Значения коэффициентов безопасности
|
t0, годы |
Значения Кбез для Рк.у.в= 10-6 год-1 при βm ≈ 0,5 |
||
|
Tj |
|||
|
100 |
1000 |
10000(4545)* |
|
|
1 |
3,1 |
2,5 |
1,8 |
|
30 |
4 |
3,4 |
2,8 |
|
100 |
4,2 |
3,7 |
3,1 |
|
1000 |
4,4 |
4,2 |
3,7 |
|
* В скобках приведены значения Кбез, вычисленные для вероятности превышения |
|||
Уровень максимальной реакции линейных осцилляторов в области низких частот (менее 4 Гц) - огибающая Sога(T, δ) спектров реакции реальных землетрясений, нормированных на максимальное ускорение грунта amax (рис. 5.1) [32]:
Soгa(T0,δ) = 2,55Kδ/
, (5.5)
где Kδ = 8/(δ + 3,3) + 0,4.
2.11. Выборочные оценки средних коэффициентов динамичности и стандартных отклонений, выполненные для различных значений собственных периодов линейных осцилляторов в диапазоне периодов 0,2 - 4 с, позволили установить:
• уменьшение среднего значения коэффициента динамичности с ростом собственного периода линейного осциллятора;
•
зависимость стандартного отклонения а от
собственного периода линейного осциллятора Т0 и
среднего значения коэффициента динамичности
для затухания 5 %-ного критического в виде:
σ = (0,34 + 0,3Т0)
. (5.6)

Рис. 5.1. Коэффициенты динамичности линейных осцилляторов при затухании 6, равном 5%
1 - максимальный; 2, 3 и 4 - нормативные для грунтов соответственно I, II и III категорий по сейсмическим свойствам; 5 - стандартная кривая спектра реакции, рекомендуемого МАГАТЭ для горизонтальной составляющей колебаний; 6 - среднее значение коэффициентов динамичности, оцененное по экстремальным значениям и стандартному отклонению
2.12. Значения средних коэффициентов динамичности для диапазона периодов 0,2-4 с приведены на рис. 5.1 (кривая 6) и удовлетворительно согласуются с нормативными кривыми коэффициента динамичности β(Т) для грунтов I, II и III категорий по сейсмическим свойствам (кривые 2, 3 и 4 на рис. 5.1 соответственно). На этом же рисунке приведена стандартная кривая нормированного на максимальное ускорение грунта спектра реакции (кривая 5), рекомендованного МАГАТЭ для горизонтальной составляющей при затухании, 5 % [2].
2.13. Кривую обобщенного спектра реакции грунта в зависимости от характерного периода Tmах можно записать в виде [33]:

где Ti - период колебаний грунта; d- показатель затухания.
2.14. Влияние скорости распространения поперечных сейсмических волн vs, м/с, на показатель затухания оценивается по формуле:
d ≈ - 0,2 + 0,81og VS. (5.8)
2.15. Для оценки формы обобщенного спектра реакции грунта для конкретных условий необходимо иметь сведения о характерном периоде спектра реакции Tmах и скорости распространения поперечных сейсмических волн на площадке.
2.16. Характерный период спектра реакции [33] Tmах получается по эмпирической зависимости:
![]()
где: Tрез - резонансный период колебаний грунта площадки, определяется экспериментально или расчетом:
Tрез = 4h/VS, (5.10)
где h - мощность слоя, (м); Vs - скорость распространения поперечных сейсмических волн, м/с.
2.17. Уровень прогнозируемого спектра реакции Snpa определяется значением коэффициента безопасности Кбез, максимальным ускорением грунта
, уровнем огибающей
спектров Sог a (Т,δ), устанавливаемым для характерного
периода спектра реакции Тmах (при Тi = Тmах) по формуле (5.5), и коэффициентом ослабления Косл, учитывающим разницу в
уровне спектров Sa(T) реакции жестких рыхлых грунтов при
одинаковых характерных периодах:
, (5.11)
где Косл = -1,7 + 0,9 log VS при 100 м/с < VS < 1000 м/с.
При VS ≥ 1000 м/с Косл = 1, а при VS ≤ 100 м/с Косл = 0,1.
2.18. Среднемаксимальные ускорения грунта
, см/с2, при землетрясении заданной интенсивности J могут быть оценены по формуле [31]:
![]()
![]()
2.19. Среднемаксимальное ускорение практически совпадает с нормативным расчетным ускорением при землетрясении заданной интенсивности J при 0,1 с ≤ Ti ≤ 0,5с.
2.20. Интенсивность землетрясения J при известных параметрах очага (магнитуда М, глубина очага H) и эпицентральном расстоянии Δ, коэффициентах уравнения микросейсмического поля а, b, с и грунтовых условиях на площадке можно оценить по формуле макросейсмического поля [19].
|
1. |
ПНАЭ Г-05-035-94 «Учет внешних воздействий природного и техногенного происхождения на ядерно- и радиационно-опасные объекты». |
|
2. |
50-SG-S1 Руководство по безопасности. «Учет землетрясений и связанных с ними явлений при выборе площадок для атомных станций». МАГАТЭ, 1981. 70 с. |
|
3. |
Михайлова Н.Н. Прогноз сейсмических воздействий при учете местных условий. Автореферат диссертации. канд. физ.-мат. наук. Москва, 1983, 24 с. |
|
4. |
СНиП II-7-81 Строительство в сейсмических районах - М.: Стройиздат, 1982, 49 с. |
|
5. |
Сейсмическое районирование территории СССР. - М. Наука, 1980, 307с. |
|
6. |
Аптикаев Ф.Ф., Михайлова Н.Н. Форма спектра реакции в ускорениях для отдельного землетрясения. В кн.: Макросейсмические и инструментальные исследования сильных землетрясений. - М.: Наука, 1985. С. 142-144. |
|
7. |
Аптикаев Ф.Ф., Михайлова Н.Н. Некоторые корреляционные соотношения между параметрами сильных движений грунта. Бюллетень по инженерной сейсмологии N 12, Ереван: издательство АН АрмССР, 1988. С. 48-56. |
|
8. |
Аптикаев Ф.Ф., Шебалин Н.В. уточнение корреляций между уровнем макросейсмического эффекта и динамическими параметрами движения грунта. В кн.: Исследования по сейсмической опасности. М.: Наука, 1988, с. 98-108. |
|
9. |
Айзенберг Я.М., Залилов К.Ю. Методика генерирования расчетных ансамблей синтетических акселерограмм на основе региональной сейсмологической информации. В кн.: Детальные инженерно-сейсмологические исследования. М.: Наука, 1986. С. 61-74. |
|
10. |
Аптикаев Ф.Ф., Роджан К., Фролова Н.И. Форма огибающей амплитуд ускорений на записях сильных движений. В кн.: Советско-американские работы по прогнозу землетрясений. Душанбе, М.: Дониш, 1979, т.2, кн.2, с. 139-147. |
|
11. |
Быков В.В. Цифровое моделирование в статистической радиотехнике. М.: Советское радио, 1971, 328 с. |
|
12. |
Trifunac M.D. Lec. V. Routine computer prosessing of strong motion
accelerograms. Earthquake Engeneering Research Laboratory, Report N EERL
73-03 Calif Inst of Tech, |
|
13. |
|
|
14. |
Аптикаев Ф.Ф. Учет длительности колебаний при инструментальной оценке сейсмической интенсивности // Сейсмическая шкала и методы измерения сейсмической интенсивности. М.: Наука, 1975. С. 234 - 239. |
|
15. |
|
|
16. |
Харкевич А.А. Спектры и анализ. М.: Физматгиз, 1962. 234с. |
|
17. |
Ньюмарк Н., Розенблют Э. Основы сейсмоактивного строительства. М.: Стройиздат, 1980. С. 61 - 99. |
|
18. |
Корчинский И.Л., Поляков С.В., Быховский В.А. и др. Основы проектирования зданий в сейсмических районах. М.: Стройиздат, 1961. С. 67 -111. |
|
19. |
Шебалин Н.В. Методы использования инженерно-сейсмологических данных при сейсмическом районировании. - В кн.: Сейсмическое районирование СССР. М.: Наука, 1968. С. 95 - 111. |
|
20. |
Ратникова Л.И., Сакс М.В., Кронрод Т.Л. К вопросу о пересчете акселерограмм сильных движений на различные грунтовые условия // Исследования по сейсмической опасности. М.: Наука, 1988. С. 81 - 93. (Вопр. инж. сейсмологии; Вып. 29). |
|
21. |
Кендзера А.В., Скляр A.M., Роман А.А. и др. О возможности использования эмпирических передаточных функций среды при микрорайонировании территорий со сложным геологическим строением // Оценка эффекта сильных землетрясений. М.: Наука, 1989. С. 82 - 89.(Вопр. инж. сейсмологии; Вып. 30). |
|
22. |
Тихонов А.Н., Арсенин В.Я. Методы решения некорректных задач. М.: Наука, 1979. 285 с. |
|
23. |
Верлань А.Ф., Сизиков B.C. Интегральные уравнения: Методы, алгоритмы, программы. Киев: Наук, думка, 1986.543с. |
|
24. |
Кендзера А.В., Стародуб Г.Р. Получение эмпирических частотных характеристик среды для прогнозирования воздействий глубокофокусных карпатских землетрясений // Современные геодинамические процессы и прогноз землетрясений. Киев: Наук, думка, 1987. С. 62 -66. |
|
25. |
Ратникова Л.И. Методы расчета сейсмических полей в тонкослоистых средах. М: Наука, 1973. 123 с. |
|
26. |
Аки К., Ричардс П. Количественная сейсмология. Т. |
|
27. |
Papageorgiou A., Aki К. A specific barrier model for quantitative description of inhomogeneous faulting and the prediction of strong ground motion. 2. Applications of the model // Ibid. P. 953 - 978. |
|
28. |
Hanks Т., McGuire R.K. The character of high - frequency strong ground motion // Ibid. 1981. Vol. 71. P. 2071 - 2095. |
|
29. |
|
|
30. |
О нормах проектирования сейсмостойких атомных станций / В.П. Татарников, М.Л. Клоницкий, С.Г.Трушин, А.К. Беляничев. - Энергетическое строительство, 1983, №7, с. 67-69. |
|
31. |
Медведев С.В. Определение балльности интенсивности землетрясения. - В кн.: Землетрясения в СССР. М.: Наука, 1961. С. 103-125. |
|
32. |
Бугаев Е.Г Выбор ограниченного набора акселерограмм для проектирования унифицированной АЭС и типового оборудования. - Сейсмостойкое строительство. Отечественный и зарубежный опыт, 1982, вып. 9, с. 4-9. |
|
33. |
Бугаев Е.Г. Оценка расчетного сейсмического воздействия заданной обеспеченности для особо ответственных объектов. Вопросы инженерной сейсмологии, 1984, выл 25, с. 43-50. |
|
1. |
Комплект карт по геологическому строению и физическому состоянию недр - раздел 2 в Геологическом атласе России 1:10000000, М.- СПб., 1996. |
|
2. |
Карта - Общее сейсмическое районирование территорий Российской Федерации - ОСР - 97, масштаб 1: 8000000. Составлена в Объединенном институте физики земли РАН в 1997г. |
|
3. |
Карта активных разломов земной коры России, масштаб
1:8000000. Издана в Геологическом институте (ГИН) РАН
в |
|
4. |
Карта современных вертикальных движений земной коры
территории СССР, масштаб 1: |
|
5. |
Карта ландшафтов геохимических условий территории
России, масштаб 1: 4000000. Издана в Институте
геологии рудных месторождений, петрографии, минералогии и геохимии (ИГЕМ) РАН в |
|
6. |
Материалы сейсмического зондирования недр России по геотраверсам. Работа выполнена в Институте ВНИИ Геофизика и в ГОС. центре ГЕОН Министерства природных ресурсов РФ. |
|
7. |
Материалы по сейсмостратиграфии. Шлезингер А.Е. Региональная сейсмостратиграфия, М.: Научный мир, 1998. Работа проводилась в ГИН РАН и в Госцентре ГЕОН. |
|
8. |
Материалы по сейсмической томографии земной коры, литосферы и мантии. Геотектоника № 4, 1997 и Геотектоника № 1,1998, с. 5. |