Стандартизация в Группе компаний «Трансстрой»
СТАНДАРТ ОРГАНИЗАЦИИ
Шпунт трубчатый сварной.
Правила производства работ
по строительству шпунтовых стен
СТО ГК «Трансстрой»-010-2007

Москва, 2007
Предисловие
1 РАЗРАБОТАН POO «Научно-техническая ассоциация ученых и специалистов транспортного строительства», ОАО «Научно-исследовательский институт транспортного строительства (ЦНИИС)» (кандидаты техн. наук Н.А. Ефремов, Л.Н. Лосев, А.Н. Ефремов, инженеры Д.М. Долганов, А.В. Кручинкин, М.Б. Смирнов, Р.В. Ступников), ООО «Трест Запсибгидрострой» (В.В. Гончаров) по заказу ООО «Группа компаний «Трансстрой»
2 ВНЕСЕН Департаментом развития технологии и стандартизации ООО «Группа компаний «Трансстрой»
3 ПРИНЯТ И ВВЕДЕН В ДЕЙСТВИЕ ООО «Группа компаний «Трансстрой» распоряжением от 09 апреля 2007 г. № ГК/ПН-17
4 СОГЛАСОВАН ОАО «ЛенморНИИпроект» (исх. № ОГС-573 от 13.02.2007 г.), Ассоциация «Гидропроект» (исх. № 3.2.4-20/282 от 28.12.2006 г.), ОАО «СоюзморНИИпроект» (исх. № 8/15 от 11.01.2007 г.), «Подводречстрой-4» Федерального агентства морского и речного транспорта Минтранса РФ (исх. № 262 от 28.12.2006 г.), ОАО «Трансмост» (исх. № 09/10-125 от 31.01.2007 г.), департаментом капитального строительства ОАО «РЖД» (исх. № ЦУКСи-20/643 от 15.03.2007 г.), ЗАО «Трансмонолит» (исх. № Т-01-09/1985 от 11.12.2006 г.)
5 Разработка стандарта организации предусмотрена статьей 13 Федерального закона «О техническом регулировании» от 27.12.2002 № 184-ФЗ
6 Настоящий стандарт разработан в соответствии с СТО-ГК «Трансстрой»-002-2006 «Правила построения, изложения и обозначения при разработке стандартов организации Группы компаний «Трансстрой», а также международных стандартов США А 328/А 328М-93а и Японии J1S А 5525 и J1S А 5530, регламентирующих производство шпунтовых трубчатых свай и их применение при строительстве шпунтовых стен различного назначения
7 ЗАРЕГИСТРИРОВАН ФГУП «Стандартинформ» 11.04.2007 г. № 200/103118 и ООО «Группа компаний «Трансстрой» 24.04.2007 г. № ГК/219
8 ДЕРЖАТЕЛЬ ПОДЛИННИКА - ООО «Группа компаний «Трансстрой»
9 ВВЕДЕН взамен СТП-010-2000
Содержание
|
Шпунт трубчатый сварной. Правила производства работ по строительству шпунтовых стен |
Введен взамен СТП 010-2000 |
Утвержден и введен в действие распоряжением ООО «Группа компаний «Трансстрой» от 09 апреля 2007 г. № ГК/ПН-17.
Дата введения 2007-04-10
Настоящий стандарт распространяется на производство работ по строительству капитальных и временных шпунтовых стен морских и речных портовых, гидротехнических и берегозащитных сооружений, а также шпунтовых стен ограждающих конструкций различного назначения с применением шпунта трубчатого сварного (далее по тексту ШТС).
В настоящем стандарте использованы нормативные ссылки на следующие стандарты и нормативные документы:
|
Сталь углеродистая обыкновенного качества. Марки. |
|
|
Линейки измерительные металлические. Технические условия. |
|
|
Прокат стальной горячекатаный круглый. Сортамент. |
|
|
Ручная дуговая сварка. Соединения сварные. Основные типы, конструктивные элементы и размеры. |
|
|
Сварные соединения. Методы определения механических свойств. |
|
|
Рулетки измерительные металлические. Технические условия. |
|
|
Металлопродукция. Приемка, маркировка, упаковка, транспортирование и хранение. |
|
|
Трубы стальные электросварные прямошовные. Сортамент. |
|
|
Трубы стальные электросварные прямошовные. Технические требования. |
|
|
Дуговая сварка в защитном газе. Соединения сварные. Основные типы, конструктивные элементы и размеры. |
|
|
Машины, приборы и другие технические изделия. Исполнения для различных климатических районов. Категории, условия эксплуатации, хранения и транспортирования в части воздействия климатических факторов внешней среды. |
|
|
Трубы стальные сварные для магистральных газонефтепроводов. Технические условия. |
|
|
ГОСТ 25100-95 |
Грунты. Классификация. |
|
ГОСТ 12.3.009-76* ССБТ |
Работы погрузо-разгрузочные. Общие требования безопасности. |
|
Охрана природы. Гидросфера. Общие требования к охране поверхностных вод от загрязнения. |
|
|
Охрана природы. Почвы. Требования к охране плодородного слоя почвы при производстве земляных работ. |
|
|
Охрана природы. Земли. Общие требования к рекультивации земель. |
|
|
Охрана природы. Земли. Требования к определению норм снятия плодородного слоя почвы при производстве земляных работ. |
|
|
ГОСТ Р 52711-2007 |
Шпунт трубчатый сварной. Технические условия. |
|
Стальные конструкции. |
|
|
Свайные фундаменты. |
|
|
Приемка в эксплуатацию законченных строительством объектов. Основные положения. |
|
|
Земляные сооружения, основания и фундаменты. |
|
|
Защита строительных конструкций и сооружений от коррозии. |
|
|
Гидротехнические морские и речные транспортные сооружения. |
|
|
Организация строительства. |
|
|
Безопасность труда в строительстве. Часть 2. Строительное производство. |
|
|
Изготовление и контроль качества стальных строительных конструкций. |
|
|
Правила производства и приемки работ на строительстве новых, реконструкции и расширении действующих гидротехнических морских и речных транспортных сооружений. |
|
|
ТУ 0925-003-01393674-95 |
Профиль шпунтовый трубчатый сварной. |
|
ТУ 0925-005-01393674-99 |
Профиль шпунтовый трубчатый сварной с замками из проката общего назначения. |
|
ТУ 5264-001-40222779-06 |
Шпунт трубчатый сварной. |
При пользовании настоящим стандартом целесообразно проверить действие ссылочных стандартов и нормативных документов в информационной системе общего пользования - на официальном сайте национального органа Российской Федерации по стандартизации в сети Интернет или по ежегодно издаваемому информационному указателю «Национальные стандарты».
В настоящем стандарте применены следующие термины с соответствующими определениями:
3.1 анкерная крепь: Крепь из металлических стержней, расположенных в грунтовом массиве, скрепляющая и удерживающая грунты от обрушения.
3.2 анкерная свая (плита): Свая (плита), закрепленная в грунтовом массиве и служащая для удерживания шпунтовой стенки и анкерной крепи.
3.3 больверк: Шпунтовая стенка морского или речного причального сооружения в виде забитых шпунтовых свай, связанных поверху специальной конструкцией, шпунтовых свай в грунтовый массив.
3.4 грунтовый массив: Массив грунта, обеспечивающий общую устойчивость шпунтовой стенки по схеме глубинного сдвига и вращательного перемещения.
3.5 незаанкерованная шпунтовая стенка: Стенка из шпунтовых свай без анкерной крепи.
3.6 свайный молот: Строительная машина ударного действия для забивки шпунтовых свай в фунтовый массив.
3.7 шпунтовые работы: Совокупность технологических операций (работ), выполняемых со шпунтовыми сваями при возведении шпунтовой стены.
3.8 шпунтовая свая (шпунтина): Отдельный монтажный элемент шпунтовой стены в виде стальной трубы (столба) с продольными замковыми элементами традиционного (Ларсен 4 или Ларсен 5) или оригинального профиля, которые присоединяют к трубе электросваркой.
3.9 шпунтовая стена: Сплошная тонкая вертикальная или наклонная стена из забитых в грунт шпунтовых свай (шпунтин). Предназначена для восприятия, в основном, горизонтальных нагрузок и, прежде всего, давления находящегося за ней грунта.
3.10 ПОС: Проект организации строительства.
3.11 ППР: Проект производства работ.
3.12 ШТС: Шпунт трубчатый сварной.
4.1 Шпунтовая стенка из ШТС с анкерным креплением (рисунок 1) предназначена для удерживания грунтового массива от сдвига или его вращательного перемещения. Она состоит из ШТС, шапочного или колесоотбойного бруса, распределительной балки, анкерных тяг и анкерных свай.
4.2 Заанкерованная шпунтовая стенка снабжена анкерными устройствами, препятствующими перемещению верхнего конца ШТС и может быть с одним или несколькими ярусами анкеров.
Глубина забивки и сечение ШТС, конструкция анкерной крепи, анкерных свай и число ярусов анкеров принимается в соответствии с проектом.
Наиболее распространены шпунтовые стенки из ШТС с одним ярусом анкеров, возводимые при глубине дна 10-16 м
4.3 Незаанкерованная шпунтовая стенка (рисунок 2) имеет более простую конструкцию. Она состоит из забитого в грунт ряда свай ШТС, объединенных шапочным брусом.
Свободная высота незаанкерованной шпунтовой стенки и глубина забивки ШТС, в соответствии с требованиями проектной документации, определяются расчетами на устойчивость. В ординарных условиях свободная высота незаанкерованной шпунтовой стенки не должна превышать 8 м.
4.4 Для ШТС установлены следующие типы замковых соединений (рисунки 3-13):
- из раскроя корытного шпунта;
- из раскроя плоского шпунта;
- замки «УТ» из горячекатаной стали фасонного проката (уголков по ГОСТ 8510 и двутавров по ГОСТ 8239);
- замки «ПБ» из горячекатаной стали (ГОСТ 9235 и ГОСТ 21937);
- замки типа «Corner section»;
- трубы.
4.5 ШТС изготавливают длиной от 6 до 24 м. Длина ШТС в зависимости от его расчетных параметров (диаметр трубы, толщина стенки), фунтовых условий, глубины водотока и замкового соединения для каждого конкретного объекта определяется проектом.
Способ производства работ по возведению шпунтовой стены выбирают в зависимости от типа ШТС, грунтовых условий, технической оснащенности строительной организации. При строительстве на акватории учитывают глубину водоема, скорость течения, размываемость грунтов.
4.6 Изготовление шпунта на строительной площадке не допускается. Шпунт изготавливается только в заводских условиях.
4.7 Профили ШТС изготавливают из стальных электросварных прямошовных труб по ГОСТ 10704-91 или ГОСТ 20295-85 в заводских условиях с использованием специальных стендов. К стальным прямошовным трубам сварными швами присоединяют в соответствии с рисунками 3-13 стандартные замки-полупрофили шпунта корытного типа (типа «Ларсен», ШК-1 и др.), полупрофили плоского шпунта (ШП, FL, AS и др.), получаемые резкой полных профилей по их продольной оси.

Рисунок 1 - Шпунтовая стенка из ШТС с анкерным креплением
1 - массив грунта; 2 - свая ШТС; 3 - шапочный брус; 4 - распределительная балка; 5 - анкерная тяга; 6 - анкерная свая.

Рисунок 2 - Шпунтовая стенка из ШТС
1 - массив грунта; 2 - свая ШТС; 3 - шапочный брус;

Рисунок 3 - Профиль шпунтовый трубчатый сварной с фасонным элементом от шпунта Л4
1 - труба по ГОСТ 10704-91, ГОСТ 20295-85; 2 - фасонный элемент-полупрофиль Л4 по ТУ 14-2-879-89; 3 - сварной шов.

Рисунок 4 - Профиль шпунтовый трубчатый сварной с фасонным элементом от шпунта Л5
1 - труба по ГОСТ 10704-91, ГОСТ 20295-85; 2 - фасонный элемент-полупрофиль Л5 по ТУ 14-2-879-89; 3 - сварной шов.

Рисунок 5 - Профиль шпунтовый трубчатый сварной рядовой ШТС с замками из шпунта ШК-1
1 - труба по ГОСТ 10704-91, ГОСТ 20295-85; 2 - фасонный элемент-полупрофиль ШК-1 по ГОСТ 4781-85*; 3 - сварной шов; 0-0 - ось шпунтовой стенки; 1-1 и 2-2 - главные оси инерции.

Рисунок 6 - Профиль шпунтовый трубчатый сварной угловой ШТСу
1 - труба по ГОСТ 10704-91, ГОСТ 20295-85; 2 - фасонный элемент-полупрофиль ШК-1 по ГОСТ 4781-85*; 0-0-0 - ось шпунтовой стенки; Х-0-Х - ось полок замков; γ - задаваемый проектом угол поворота шпунтовой стенки и угол выполняемого смещения полки замка.

Рисунок 7 - Профиль шпунтовый трубчатый сварной с фасонным элементом от шпунта Л4
1 - труба; 2 - замковый элемент-обойма (по рисункам 10 и 11); 0-0 - ось шпунтовой стенки.

Рисунок 8 - Профиль шпунтовый трубчатый сварной с замками из уголков и тавра с гребнями
1 - труба; 2 - замковый элемент-гребень (по рисункам 10 и 11); 0-0 - ось шпунтовой стенки.

Рисунок 9 - Профиль шпунтовый трубчатый сварной рядовой ШТС с замками из шпунта FL-511 (FL-512)
1 - труба по ГОСТ 10704-91 ГОСТ 20295-85; 2 - фасонный элемент-полупрофиль FL-511 (FL-512) по DIN EN 10248-2; 3 - сварной шов; 0-0 - ось шпунтовой стенки.

Рисунок 10 - Замковые элементы из уголков и тавра (УТ)
1 - труба; 2 - замковый элемент-стенка обоймы; 3 - замковый элемент-гребень; 4 - диафрагма; 5 - сварное соединение Т1 по ГОСТ 14771-76* или ГОСТ 5264-80*; 6 - сварное соединение; 0-0 - ось шпунтовой стенки.

Рисунок 11 - Замковые элементы из полособульбов (ПБ)
1 - труба; 2 - замковый элемент-стенка обоймы; 3 - замковый элемент-гребень; 4 - диафрагма; 5 - сварное соединение Т1 по ГОСТ 14771-76* или ГОСТ 5264-80*; 6 - сварное соединение; 0-0 - ось шпунтовой стенки.

Рисунок 12 - Профиль шпунтовый трубчатый сварной угловой
0-0-0 - ось шпунтовой стенки; Х-0-Х - ось полок замков; γ - задаваемый проектом угол поворота шпунтовой стенки.

Рисунок 13 - Схема контроля перекоса и смещения замковых элементов
1 - диаметральная проверка линии; 2 - контролируемая суммарная величина смещения.
4.8 Марку стали для профилей ШТС выбирают по согласованию между заказчиком и изготовителем: для труб - по ГОСТ 10706-76 или ГОСТ 20295-85, для замков - по ГОСТ 4781-85 или ТУ-14-2-879-89. Трубы, бывшие ранее в употреблении, например, в трубопроводах для транспортирования нефтепродуктов, используются при изготовлении ШТС на основании результатов испытания качества стали.
4.9 Предельная отрицательная температура, при которой допускается производство работ по погружению ШТС, устанавливается проектной организацией в зависимости от марки стали шпунта, ее ударной вязкости и конкретных условий производства работ.
4.10 При изготовлении профилей следует применять виды сварки (ГОСТ 8713-79, ГОСТ 14771-76 и ГОСТ 5264-80), обеспечивающие получение соединений, прочность которых не менее соответствующих характеристик основного металла, а коррозионная стойкость не ниже стойкости основного металла, подвергнутого воздействию термического цикла сварки.
4.11 Сортамент и характеристики ШТС и шпунтовых стен из него приведены в приложении А.
4.12 Отечественные шпунтовые стенки, выполненные из ШТС, по своим характеристикам сопоставимы с импортными шпунтами (стандарты США А 328/А 328 М-93а, Японии JIS А 5525 и JIS А 5530). Для ряда профилей сортамента удельный расход стали, момент сопротивления и допускаемое усилие на разрыв в замковых соединениях ШТС отечественного производства на 10-15 % предпочтительнее зарубежных аналогов.
4.13 Сравнительные характеристики шпунтовых стен из ШТС приведены в приложении Б.
5.1 ШТС, анкерные тяги и сваи могут перевозиться транспортом всех видов в соответствии с правилами перевозок, действующими на транспорте конкретного вида.
5.2 В пределах акватории ШТС, анкерные сваи и тяги следует транспортировать на палубных баржах, понтонах, имеющих необходимую плавучесть и остойчивость, проверенные расчетом на восприятие сосредоточенных нагрузок от массы шпунта. Разрешается транспортировка ШТС на палубе плавкранов на расстояние до 4 км по защищенной от волнения акватории.
5.3 Транспортирование и хранение ШТС, анкерных тяг и свай в части воздействия климатических факторов внешней среды должно соответствовать требованиям ГОСТ 15150. Допускается хранение ШТС, анкерных свай и тяг на открытом воздухе.
5.4 ШТС следует хранить в штабелях не более чем в 2 ряда по высоте.
5.5 При хранении, погрузке, транспортировке и разгрузке ШТС, анкерных тяг и свай должны применяться подкладки и строповочные устройства, исключающие остаточные деформации и повреждения замков и обеспечивающие сохранность их формы.
5.6 При хранении ШТС, анкерных тяг и свай должна быть обеспечена хорошая видимость маркировки конструкций.
5.7 Размеры проходов и проездов в месте хранения конструкций между штабелями или отдельными конструкциями должны соответствовать требованиям строительных норм.
6.1 Каждая партия шпунтовых свай ШТС, анкерных тяг и свай, поступившая на строительную площадку, должна сопровождаться документацией (паспортом) согласно требованиям СНиП 12-01-04, ВСН 34-91, ГОСТ 7566-94, ТУ и иметь сертификаты соответствия согласно требованиям Федерального Закона «О техническом регулировании» (№ 184-ФЗ, глава 4).
6.2 Документ (паспорт) о качестве ШТС, анкерных тяг и свай должен содержать:
- наименование предприятия-изготовителя, его адрес и товарный знак;
- обозначение ШТС, анкерных свай и тяг;
- номер паспорта и дату его составления, информацию о марке стали ШТС, анкерных тяг и свай;
- параметры изделий;
- тип антикоррозионного покрытия и его характеристики;
- количество поставленных изделий;
- подпись начальника ОТК или другого ответственного представителя предприятия-изготовителя;
К документу о качестве прилагаются:
- исполнительные чертежи отгружаемых изделий;
- ведомость документов о качестве материалов, использованных для изготовления изделий;
- копии или номера дипломов (удостоверений) о квалификации газорезчиков и сварщиков, изготовивших изделия;
- ведомость результатов контроля качества сварных соединений в изделиях.
6.3 Допускаются к приемке ШТС и анкерные тяги, если их размеры и формы профилей отличаются от проектных в пределах, указанных в соответствующих ТУ и нормативных документах.
6.4 Защитное покрытие ШТС, анкерных тяг и свай должно иметь не более двух отслоений площадью поверхности до 20 см2 на 1 м2. Отклонения по толщине защитного покрытия не должны превышать ±10 %. При проверке качества защитных покрытий рассматриваются документы, характеризующие составляющие компоненты в части соблюдения сроков их годности.
6.5 Для электрической сварки ШТС, анкерных тяг и свай на строительной площадке следует применять сварочные материалы в соответствии с требованиями проекта, СНиП II-23-81 и настоящего стандарта.
6.6 Сварные соединения надлежит выполнять в соответствии с требованиями ГОСТ 5264-80 и ГОСТ 14771-76.
6.7 Сварочные стыки ШТС выполняют в соответствии с проектом из условия обеспечения равнопрочности стыка основному сечению сваи. Сварочные стыки соседних ШТС допускается устраивать не ближе 2 м один от другого, при этом напряжения на данном участке не должны превышать 50 % расчетного.
6.8 Перед погружением необходимо для всех ШТС проверить геометрические размеры замковых соединений, прямолинейность формы и возможность взаимного беспрепятственного прохождения соседних замковых соединений.
6.9 Геометрические размеры замков ШТС рекомендуется проверять на стенде и с применением шаблонов длиной не менее 2 м. Выявленные дефекты замков ШТС (изгибы, вмятины) надлежит исправлять механической правкой. Для одной ШТС допускается замена одного дефекта замка на участке длиной не более 0,5 м.
6.10 На каждой шпунтине должен быть нанесён несмываемой краской порядковый номер и указана длина, а также нанесена глубина погружения ее в грунт по проекту.
6.11 Каждая ШТС должна быть оборудована специальными строповочными петлями или отверстиями для выполнения погрузо-разгрузочных работ, подъёма и подачи к месту погружения.
6.12 Все подъёмно-транспортные операции надлежит выполнять в соответствии с требованиями ППР, соблюдая меры предосторожности против повреждения антикоррозийного покрытия, замков и возникновения прочих дефектов.
Перевод элементов шпунтовых стен из горизонтального положения в вертикальное должен осуществляться с помощью траверс.
6.13 Места складирования запаса элементов необходимо выбирать возможно ближе к копрам или кранам. Элементы следует перекладывать в штабели с таким расчётом, чтобы не производить перекантовки при строповке.
Места складирования элементов шпунтовой стены должны быть удобными для проезда кранов и транспортных средств и производства погрузо-разгрузочных работ.
7.1 Возведение шпунтовых стен с применением ШТС должно выполняться в соответствии с требованиями рабочей документации, СНиП 3.01.01-85, СНиП 12-01-04, ВСН 34-91, ПОС, ППР, а также настоящего стандарта организации. Все отступления от рабочей документации должны предварительно согласовываться с проектной организацией.
7.2 Погружению ШТС должно предшествовать выполнение и принятие по акту следующих работ:
- проверка наличия комплекта проектно-сметной документации на объекте; ознакомление ИТР и рабочих с проектной документацией по возведению шпунтовой стены и ППР;
- разбивка и закрепление главных осей сооружения, вынос в зону работ высотного репера, создание строительной сети, закрепление в натуре границ строительной площадки;
- приёмка (входной контроль) ШТС и других элементов шпунтовой стены и соответствующая подготовка их к погружению;
- подготовка и опробование механизмов и машин (грузоподъёмных средств, молотов, вибропогружателей) и вспомогательных устройств (шаблонов, направляющих, кондукторов, рисунок 14), предусмотренных к использованию на строительстве шпунтовой стены;
- на строительстве причального сооружения промеры глубин в зоне возведения шпунтовой стены с целью проверки соответствия подводного откоса проекту и уточнения объема работ по засыпке застенного пространства. В случае значительного отклонения фактического профиля откоса от проектного необходимо привести его в проектное положение дополнительной разработкой или досыпкой грунта;
- подготовка грунтового основания (снятие и складирование растительного слоя), обследование грунтового массива на наличие камней и валунов, в том числе геофизическими методами и т.п.) в створе погружения ШТС и анкерных свай (если они приняты в проектной документации в виде стальных труб);
- водолазное обследование дна акватории причала с целью выявления и удаления предметов, которые могут препятствовать погружению ШТС и анкерных свай;
- устройство в соответствии с ППР подъездных дорог, площадок складирования, линий электроснабжения, наружного освещения строительной площадки, служебно-бытовых помещений и спасательного поста.
7.3. При возведении шпунтовой стены в морских условиях, на реке или другом водном объекте дно акватории обследуют силами водолазов или известными методами: подводными телевизионными установками и т.п. оборудованием. В случае обнаружения каких-либо предметов, препятствующих погружению ШТС в грунт, выполняют мероприятия по их устранению. При производстве свайных работ с воды рекомендуется устройство лидирующей траншеи с удалением грунтов на глубину техногенных отложений.
7.4. Пробное погружение ШТС и их извлечение выполняют по программе, составленной проектной организацией (если оно предусмотрено в проекте), с целью отработки технологии производства работ, уточнения конструкции строповочных устройства, кондукторов, шаблонов, режима работы основного и вспомогательного оборудования, определения длины ШТС и несущей способности свай.
8.1 Способ погружения ШТС и применяемое оборудование должны соответствовать указаниям ПОС, ППР, рабочей документации для данной шпунтовой стенки и указаниям настоящего стандарта организации. Выбор погружающего оборудования следует проводить, руководствуясь принятым методом производства работ, указаниями проектной документации, местными технологическими и природными условиями настоящего раздела Стандарта.
8.2 Комплект оборудования для возведения шпунтовой стены выбирают на основе результатов анализа исходных данных, основными из которых являются:
- назначение шпунтовой стенки, требования к обеспечению её безопасности, временные и эксплуатационные нагрузки;
- инженерно-геологические условия на площадке строительства;
- характеристики ШТС, в том числе длина, диаметр трубы, площадь поперечного сечения; длина замков;
- гидрометеорологические условия (глубина воды, скорость течения, колебания уровня воды, роза ветров, защищенность акватории от волнения);
- местные технические условия (наличие оборудования, электроэнергии, транспортных путей и т.п.);
- принятая технология производства работ (последовательность забивки ШТС, время выполнения работ и т.п.).
8.3 При возведении шпунтовых стен ШТС погружают в грунт молотами или вибропогружателем. Допускается также комбинированная схема погружения ШТС в грунтовый массив (вибропогружение с добивкой молотом).
8.4 Тип молота для забивки ШТС и анкерных свай следует выбирать в соответствии с указаниями СНиП 3.02.01-87 (Приложение 5) и приложения В настоящего Стандарта.
Тип вибропогружателя для погружения ШТС и анкерных свай следует выбирать в соответствии с указаниями СНиП 3.02.01-87 (Приложение 6) и приложения В настоящего Стандарта.
8.5 Критерием правильности выбора погружающего механизма является успешное пробное погружение не менее трех ШТС в наиболее характерных пунктах данной площадки.
8.6 В случае тяжелых условий погружения ШТС и анкерных свай (отказ при забивке менее 0,2 см или скорость вибропогружения менее 2 см/мин) необходимо осуществлять дополнительные облегчающие погружение мероприятия.
Разработка и удаление грунта из полых ШТС и анкерных свай грейфером, гидроэлеватором, эрлифтом, шнековым бурением, а также устройство грунтовой прорези способствуют погружению шпунтовых свай до проектных отметок.
9.1 ШТС при возведении шпунтовой стенки следует погружать с применением направляющего устройства, конструкцию которого разрабатывают в зависимости от типа сооружения, местных условий, ПОС и ППР.
В качестве направляющей при сооружении шпунтовой стены рекомендуется использовать устройство (рисунок 14) в виде двух параллельных балок, расставленных на расстояние, равное диаметру ШТС плюс зазор не более 0,01-0,02 м. Балки направляющих изготавливают из профильной стали и крепят болтами к уже забитым ШТС, а спереди - к временным вертикальным сваям или специальным переставным опорам.
Плавучие направляющие, как правило, закрепляются не менее чем на четырех прикольных сваях. Величина их предельного перемещения не должна превышать 0,02 м.
Если длина ШТС при забивке превышает в два раза расстояние от дна акватории до направляющих, их устраивают в два яруса и более. Расстояние между ярусами принимают не менее 3 м.
Для обеспечения сохранности антикоррозийного покрытия каждую ШТС при погружении надлежит оснащать переставными обрезиненными роликами.
9.2 ШТС, как правило, погружают захватками. Длина захватки зависит от производительности оборудования, гидрологических условий на площадке строительства и обычно составляет от 10 до 30 м.
9.3 Для уменьшения трения в замках ШТС рекомендуется устанавливать заглушки, заполнять замки бентонитом или другим подобным материалом.
9.4 При погружении первой ШТС и анкерной сваи необходимо особое внимание уделять соблюдению вертикальности (заданного наклона). Правильность забивки ШТС и анкерной сваи контролируют в двух плоскостях и в последующем повторяют не реже, чем через каждую вторую шпунтину или анкерную сваю геодезическими приборами или, например, уровнями длиной 2 м.
9.5 Погружающий механизм (молот или вибропогружатель) рекомендуется устанавливать с предотвращением веерности шпунтовой стенки.
9.6 При наличии слабых грунтов в грунтовом массиве и в основании шпунтовой стенки возможен уход ранее погруженной ШТС ниже проектной отметки. Для предотвращения этого явления шпунтины, погруженные до проектных отметок, рекомендуется объединять с помощью сварки.
9.7 Более мощное оборудование для забивки ШТС или дополнительные средства, обеспечивающие подмыв, удаление грунта из полости трубы и т.п., следует применять, если шпунтина не достигает проектной отметки. При этом предпочтение следует отдавать гидромолотам или молоту с более тяжёлой ударной частью.
9.8 При погружении ШТС и анкерной сваи вибропогружателем необходимо обеспечить жесткую и постоянную связь шпунтины и вибромашины. Для погружения ШТС предпочтение следует оказывать вибропогружателям с гидравлическими наголовниками.
9.9 В процессе вибропогружения ШТС следует осуществлять контроль за положением каната и крюка крана, на котором подвешен вибропогружатель.
При работе с вибропогружателем, оснащенным амортизатором, скорость спуска крюка крана должна исключать зависание вибромашины.
При работе с вибропогружателем без амортизатора скорость спуска крана не должна являться причиной торможения погружения ШТС.
9.10 При погружении ШТС вибропогружателем, снабжённым амортизатором, недопогружение ШТС может быть устранено одно-двукратным подъёмом ШТС на 0,5-1 м и последующим погружением.
Если недопогружение вызвано встречей ШТС с препятствием, процесс погружения следует прекратить и решать вопрос совместно с представителем проектной организации.
9.11 При производстве работ по погружению ШТС и забивке анкерных свай следует вести журнал погружения ШТС и анкерных свай. По данным журнала составляется сводная ведомость погружения шпунта. К журналу следует прилагать плановые и профильные схемы проектного и фактического положения шпунтовой стены и её анкерных свай.
9.12 Срезку ШТС допускается проводить только с разрешения представителя авторского надзора, заказчика, о чем в журнале производства работ должна быть произведена соответствующая запись.
9.13 После забивки ШТС рекомендуется заполнить внутреннее пространство труб песком с уплотнением. Песок по гранулометрическому составу (ГОСТ 25100-95) в зоне промерзания должен быть не ниже средней крупности. В зоне промерзания полость трубы рекомендуется заполнить смесью песка и цемента в количестве до 5 %. Решение о заполнении ШТС песком и цементом принимает проектная организация.
9.14 Забивку ШТС и анкерных свай молотами следует производить с применением специальных наголовников (рисунок 15) в виде распределительных плит, снабжённых в верхней части кольцевой обоймой для размещения в ней амортизатора, а в нижней части - системой выступов для фиксации головы ШТС и определения положения относительно молота.
Наголовник предназначен для равномерного перераспределения нагрузки на ШТС при ударе молота и смягчения резкого ударного импульса.
9.15 Плановые размеры плиты наголовника и её нижняя поверхность должны обеспечивать плотный контакт с торцовой поверхностью ШТС по всей площади трубы, исключая замковые соединения.
Толщина плиты наголовника должна быть не менее 0,15 D, где D - внутренний диаметр трубы ШТС.
9.16 Предпочтительно изготовление амортизаторов в виде резиновых колец.
9.17 Минимальный отказ ШТС и анкерной сваи при забивке должен составлять 0,5 см, но не менее приведенного в паспорте фирмы-изготовителя молота и в инструкции по его эксплуатации.
9.18 Подмыв, эрлифт и гидроэлеватор облегчают условия погружения ШТС и анкерных свай до проектных отметок. Эти методы допускаются к применению на площадке строительства, если расстояние между шпунтовой стенкой и существующими сооружениями не менее двукратной глубины погружения ШТС.
9.19 Применение подмыва наиболее эффективно в сочетании с вибропогружением ШТС. Параметры подмыва, эрлифта и гидроэлеватора следует определять на основе соответствующих гидравлических расчётов с учётом скорости размыва грунта и расхода воды для гидротранспорта разрабатываемых грунтов.
9.20 Для извлечения ШТС рекомендуется применять краны грузоподъёмностью 500 кН и более, краны, оснащенные вибропогружателями, шпунтовыдергиватели ударного действия, молоты двойного действия.
Рекомендуется также комбинированный способ выдергивания ШТС в сочетании с подмывом.
9.21 Сопротивление грунта при выдергивании ШТС слагается из веса шпунта, грунтовой пробки внутри трубы и трения по боковой поверхности. Эффективность выдергивания ШТС повышается при предварительном промачивании грунтового массива на участке работ.
Рисунок 14 - Инвентарные подмости-кондуктор для забивки свай ШТС
1 - направляющие шпунтины; 2 - маячные сваи; 3 - забитая свая ШТС; 4 - деревянные предохранители; 5 - деревянные подмостки; 6 - перильное ограждение; 7 - крепление направляющих
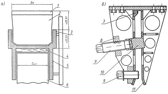
Рисунок 15 - Наголовники для погружения ШТС (а - молотом; б - вибропогружателем)
1 - стальной бандаж; 2 - вкладыш; 3, 5 - верхняя цилиндрическая и нижняя части корпуса; 4 - амортизирующая прокладка; 6 - ШТС; 7 - сменный вкладыш; 8 - направляющая планка; 9 - винты; 10 - клин; 11 - щека; Dштс - диаметр ШТС; Dн - диаметр наголовника.
10.1 Для повышения надёжности работ на этапах возведения и эксплуатации шпунтовых стен из ШТС должен выполняться комплекс мероприятий по организации отведения поверхностных и грунтовых вод с площадки строительства.
10.2 Общие решения по отводу воды от шпунтовой стенки разрабатывает проектная организация на основе расчетов стока поверхностных и дренажных вод, расчетов кривой депрессии и предотвращения появления барражного эффекта.
10.3 Отвод поверхностных вод в период строительства следует вести с помощью нагорных канав расчётного профиля и уклонов.
Для отвода грунтовой воды отсыпают дренажные призмы после погружения ШТС. В замковой части ШТС устраивают также отверстия расчётного поперечного сечения для организованного отвода грунтовой воды, снятия давления, повышения надежности и уровня безопасности шпунтовой стены.
10.4 При отводе поверхностных и подземных вод следует исключать подтопление сооружений, образование оползней, размыв грунта и заболачивание местности.
10.5 Все постоянные водопонизительные и водоотводящие устройства, используемые в период строительства, при сдаче в эксплуатацию должны соответствовать требованиям проекта.
10.6 Водонепроницаемость шпунтовой стенки из ШТС следует обеспечивать в соответствии с требованиями проекта и настоящего Стандарта.
Водонепроницаемость шпунтовых стен после погружения ШТС до проектных отметок достигается:
- свариванием стыков замковых соединений с внешней стороны шпунтовой стены и при послойной выемке грунта перед стеной;
- инъектированием в замковое соединение ШТС водонепроницаемых материалов, например герметиков на основе гидроактивных однокомпонентных полиуретановых составов низкой вязкости типа (Cut, Injecto Grout), которые при взаимодействии с водой многократно увеличиваются в объеме.
11.1 Земляные работы по заполнению пазух грунтом должны производиться в соответствии с указаниями СНиП 3.02.01-87, СНиП 3.07.02-87, настоящего Стандарта и ППР, в котором должны быть указаны способы и очередность заполнения пазух грунтом.
11.2 Перед заполнением пазух грунтом должно быть произведено освидетельствование готовности шпунтовой стенки и соответствие проекту выполненных её элементов, в том числе анкерных креплений и устройств, обеспечивающих грунтонепроницаемость. В пазухе не должно быть строительного мусора, снега и льда.
11.3 В проекте должны быть указаны типы и физико-механические характеристики грунтов, предназначенных для устройства обратных засыпок. Если в тылу шпунтовой стенки присутствуют место слабые илистые грунты, то в ПОС должны быть предусмотрены специальные меры для предотвращения подвижек их в сторону шпунтовой стенки в процессе засыпки.
11.4 Засыпку грунтовых пазух выполняют, как правило, из песчаного водопроницаемого грунта, коэффициент фильтрации которого Кф > 0,5 м/сут. Грунт засыпки должен быть непучинистым (ГОСТ 25100-95) и не содержать в своем составе органических и водорастворимых примесей. Для засыпки наиболее желательны песчаные кварцевые пески средней крупности по ГОСТ 25100-95 со степенью неоднородности гранулометрического состава Си > 3.
11.5 Грунты засыпки следует уплотнять до плотности, приведенной в проектной документации. Как правило, степень плотности грунта Id должна быть не менее 0,95 ... 0,98.
11.6 Опытное уплотнение грунтов выполняют в соответствии с требованиями СНиП 3.02.01-87 (приложение 4) с целью установления максимальной объемной массы песка, величины оптимальной влажности, толщины уплотняемого слоя, необходимого числа ударов трамбовки для достижения проектных показателей.
11.7 В процессе устройства грунтовой засыпки шпунтовой стенки осуществляют систематический пооперационный контроль, отслеживая:
- качество выполнения работ по подготовке дна и откоса пазух;
- соответствие отсыпаемого грунта принятому в ППР;
- толщину отсыпаемого слоя грунта;
- влажность отсыпаемого грунта;
- число прохода грунтоуплотняющих машин;
- степень плотности грунта.
11.8 Степень плотности грунта определяют режущим кольцом, зондированием, динамическим пенетрометром.
При недостаточной степени уплотнения грунт в пределах выделенного участка уплотняют дополнительно.
11.9 В процессе устройства грунтовой засыпки следует принять меры, исключающие повреждение анкерных тяг и анкерных свай, а также их антикоррозионного покрытия. Песок в тело шпунтовой стенки, щебень и камень в упорную призму и обратный фильтр с помощью плавкрана рекомендуется отсыпать с применением устройства (рисунок 16), предохраняющего анкерные тяги и анкерные сваи.
11.10 При заполнении пазух намывом грунта не допускается одновременная разработка грунта земснарядом перед шпунтовой стенкой. В процессе производства намывных работ контролируют напор воды в обратной засыпке, размещая не менее двух пьезометров на 25 м шпунтовой стенки. По окончании намывных работ разбирают водосбросные пульпопроводы на глубину не менее 1,5 м от проектной поверхности территории и засыпают грунтом с уплотнением.
11.11 Сдачу-приёмку работ по уплотнению грунта обратной засыпки пазух ведут по данным журнала производства работ, исполнительной схеме, результатам послойного контроля плотности и влажности грунта.

Рисунок 16 - Устройство для защиты анкерных тяг и свай и направляющий экран для отсыпки каменной призмы
1 - ШТС; 2 - распределительный пояс; 3 - анкерная тяга; 4 - защитная конструкция; 5 - направляющий экран; 6- деревянные насадки; 7-анкерная свая.
12.1 Для условий Севера и для возведения шпунтовой стенки зимой на талых грунтах используются все конструкции ШТС, которые применяются в аналогичных геологических и гидрологических условиях в районах с умеренным климатом.
С целью обеспечения условий погружения ШТС зимой и для условий севера кордон шпунтовой стенки рекомендуется располагать в русловой части акватории, чтобы погружение ШТС производилось в талый грунт.
12.2 Все работы по возведению шпунтовых стен из ШТС при наступлении отрицательных температур должны выполняться в строгом соответствии с ППР и с требованиями настоящего стандарта организации.
12.3 В ППР должны быть отражены конкретные организационные и технологические решения, обеспечивающие безопасность выполняемых работ при наступлении отрицательных температур.
12.4 Персонал производственных организаций, предназначенный для подготовки и выполнения работ по погружению ШТС, до начала производства работ должен изучить и впоследствии выполнять требования ППР.
12.5 Кабины кранов, бульдозеров, копровых установок для выполнения работ по возведению шпунтовых стен из ШТС должны быть остеклены, дополнительно утеплены, оснащены калориферами и другими отопительными приборами заводского изготовления для создания нормальных условий работы машинистов.
12.6 Выполнение работ по погружению ШТС в русле рек в период осеннего ледостава и весеннего ледохода запрещено.
12.7 Работу буксирных судов по разрушению ледового покрова у кордона шпунтовой стенки из ШТС необходимо выполнять с соблюдением мероприятий предосторожности и распоряжений специалистов.
12.8 Ремонт оборудования для погружения ШТС, находящегося на плаву, необходимо выполнять на палубе плашкоута после его надежного закрепления.
Ремонт на воде и на неустойчивом основании запрещен.
12.9 Строительство больверков из ШТС при отрицательных температурах, зимой и в Северной климатической зоне имеет ряд специфических особенностей, влияющих на выбор конструкции ШТС и на технологию возведения больверка.
Особенности гидрологического и ледового режимов оказывают существенное влияние на выбор места строительства стенки из ШТС. Наиболее предпочтительным является размещение больверка на защищенных от навала льда акваториях, искусственно созданных ковшах, в том числе на период строительства, в перегороженных с верховой стороны протоках или под защитой ограждающих дамб.
12.10 Конструкция больверков при возведении зимой должна быть рассчитана на тяжелые ледовые условия. Применять на незащищенных акваториях отдельно стоящие сваи не допускается.
12.11 Верховой открылок шпунтовых стен из ШТС целесообразно выполнять под острым углом к направлению потока.
12.12 При возведении шпунтовых стен из ШТС следует учитывать, что в период весеннего паводка грунтовая засыпка, как правило, приморожена. В связи с этим ледовые нагрузки, действующие на шпунтовую стенку, в период строительства в значительной степени воспринимаются мерзлым грунтом, имеющим плотность ниже предусмотренной проектом.
12.13 Для снижения нагрузок на ШТС от примерзшего льда целесообразно для лицевой стенки применять покрытия в виде гидрофобной консистентной смазки.
12.14 ППР для шпунтовых стен из ШТС на вечномерзлых грунтах должны содержать мероприятия, осуществление которых исключит возможность появления недопустимых деформаций больверка и обеспечивает требуемые эксплуатационные качества, надежность и долговечность. С этой целью предусматривают улучшение строительных свойств грунтового основания, регулирование его теплового режима с помощью охлаждающих устройств различной конструкции.
12.15 В соответствии с проектной документацией мерзлые грунты могут быть использованы в шпунтовой стенке по I принципу (сохранение грунта в мерзлом состоянии в процессе строительства и в течении всего периода эксплуатации) или по II принципу - вечномерзлые грунты используются в оттаивающем состоянии в пределах заданной глубины.
Для каждой шпунтовой стенки из ШТС рекомендуется применять один принцип использования вечномерзлых грунтов.
12.16 Шпунтовые стенки из ШТС в гидротехнических сооружениях непосредственно контактируют с талой водой акватории. Поэтому проект шпунтовой стенки из ШТС с сохранением вечной мерзлоты (принцип I) допускается применять, в основном, при искусственном охлаждении грунта.
12.17 Погружение ШТС в вечномерзлые грунты, используемые по I принципу (в мерзлом состоянии), осуществляется буроопускным, опускным и бурозабивным способами.
12.18 Буроопускной способ погружения ШТС применяется при средней температуре вечномерзлого грунта по длине ШТС минус 0,5°С (и ниже). ШТС погружается в предварительно пробуренные скважины.
13.1 Шпунтовые стенки из ШТС принимают в соответствии с требованиями проектной документации, указаниями СНиП 3.01.04-87, СНиП 3.07.02-87, ВСН 34-91 и настоящего Стандарта.
13.2 При приемке шпунтовой стенки представляют журналы погружения ШТС и других элементов, которые передают заказчику. К журналам прилагают плановые и профильные схемы погружения ШТС и анкерных свай, сводная ведомость погружения элементов с указанием их номеров, зазоров между шпунтинами и отступлений от проектного решения.
Перечень документов, предъявляемых приёмочной комиссии, указан в приложении Д настоящего Стандарта.
Для шпунтового ряда вычерчивается фасадный чертёж с указанием исполнительного положения каждой ШТС.
В случае применения подмыва, эрлифтирования и т.п. необходимо указать в журнале, на каких отметках начато и закончено применение этих методов.
13.3 Состав приёмочной комиссии и порядок её работы устанавливается заказчиком и строительной организацией.
13.4 Проверка отклонений ШТС производится до срезки и какой-либо выправки шпунтовых, стен. Точность измерений плановых отклонений должна составлять 5 мм, а отклонений от вертикали - 0,1 %.
13.5 Отклонения ШТС от проектного положения в плане и по высоте не должны превышать величин, указанных в таблице 1.
Таблица 1 - Допускаемые отклонения ШТС и анкерных тяг от проектного положения
|
Контролируемый параметр |
Ед. изм. |
Допустимое отклонение |
Объём контроля |
Метод контроля |
|
1 |
2 |
3 |
4 |
5 |
|
Смещение ШТС от оси стены в плане на уровне проектной отметки верха шпунта |
мм |
Не более ± 150 |
100 % длины стены |
Геодезический контроль и измерения каждого ШТС |
|
Отклонения ШТС от вертикали |
% |
0,5 |
100 % длины стены |
Геодезический контроль и измерения каждого ШТС |
|
Высота отметки голов ШТС |
мм |
± 10 |
Каждый ШТС |
Нивелирование |
|
Выход ШТС из замков |
|
Не допускается |
Каждый ШТС |
Обследование |
|
Недобивка ШТС до проектных отметок |
мм |
100 |
Каждый ШТС |
Расчёт по отметкам |
|
Расстояние между шпунтовой стенкой и анкерной сваей |
мм |
± 100 |
Каждая анкерная система |
Геодезический контроль |
|
Смещение анкерных свай и анкерных тяг |
мм |
± 100 |
Каждая анкерная система |
Геодезический контроль |
|
Отметка верха анкерной сваи |
мм |
± 80 |
Каждая анкерная свая |
Геодезический контроль |
|
Максимальное отклонение анкерных свай в плоскости, параллельной или перпендикулярной шпунтовой стенке |
- |
100:1 |
Каждая анкерная свая |
Геодезический контроль |
|
Отклонение оси анкерной тяги от проектного угла по направлению к шпунтовой стенке |
- |
± 0,5° |
Каждая анкерная свая |
Геодезический контроль |
13.6 Проектная организация имеет право устанавливать допуски отклонения ШТС от проектного положения менее указанных в таблице 1. При этом она должна разработать соответствующие направляющие, каркасы, кондукторы или шаблоны, обеспечивающие их соблюдение.
14.1 При производстве работ по строительству шпунтовых стен из ШТС должны соблюдаться требования СНиП 12-04-2002, «Правила по охране труда при производстве строительно-монтажных работ по постройке портовых гидротехнических сооружений», а также правила и требования органов Государственного надзора.
14.2 Применяемые при производстве шпунтовых работ плавучие средства и береговые механизмы и оборудование должны эксплуатироваться с соблюдением требований Регистра и Госгортехнадзора. Судоходные участки акватории в местах производства работ должны быть оборудованы навигационными знаками.
14.3 Максимальная допустимая балльность волнения, при которой разрешается производство работ по погружению шпунта ШТС, устанавливается ППР в зависимости от технических характеристик основной несущей машины (плавучего крана, плавучего копра, самоподъемной платформы) и местных условий.
В любом случае работы по погружению ШТС допускается производить при волнении не более одного балла (высота волны до 0,25 м), если применяют плавучие краны и копры водоизмещением до 500 т, и не более двух баллов (высота волны до 0,75 м) - при большем водоизмещении. При использовании самоподъемных платформ допускается производить работы по погружению шпунта ШТС при волнении не более трех баллов (высота волны до 1,25 м) и скорости ветра более четырех баллов (7,4 м/с).
14.4 Все подъемно-транспортные операции должны выполняться с соблюдением требований СНиП 12-04-2002, ГОСТ 12.3.009-76 и настоящего Стандарта.
Строповка свайных элементов должна производиться в местах, предусмотренных проектом. Подъем шпунтин в любом случае должен производиться при вертикальном положении грузового полиспаста. Кантование, перемещение волоком и сбрасывание ШТС с высоты не допускаются.
При переводе длинномерных ШТС из горизонтального положения в вертикальное следует применять специальные траверсы.
14.5 Забивку ШТС в условиях отрицательных температур необходимо производить по специально разработанной для зимних условий инструкции, утвержденной в установленном порядке.
14.6 При забивке молотом и вибропогружении шпунта ШТС необходимо применять устройства, грузоподъемность которых в 1,5 раза превышает суммарную массу молота с наголовником и навесной направляющей или суммарную массу вибромашины и наголовника. Грузоподъемность устройств также должна быть не менее удвоенной массы ШТС с вибромашиной.
Высота подъема крюка должна обеспечивать подачу шпунтины в замок ранее выставленной или погруженной шпунтины с запасом по высоте не менее 0,25 м при работе береговыми копрами и кранами и не менее 1 м при работе плавучими копрами и кранами.
14.7 Операцию подъема и перемещения ШТС к месту установки во избежание большой раскачки следует вести плавно, без рывков с применением оттяжек, не допуская удары шпунтины о направляющие и о ранее установленный шпунтовый ряд.
Для подъема шпунтин краном рекомендуется применять строповочный захват с дистанционным расцеплением. ШТС в замок на высоте следует заводить только с применением дистанционных устройств.
14.8 При строительстве шпунтовых стен с применением ШТС следует предусматривать меры, исключающие случайное падение человека в полость забитой шпунтины.
15.1 Возведение стен из шпунта ШТС должно выполняться в соответствии с ППР и требованиями раздела ОВОС проектной документации.
15.2 Проектная документация должна предусматривать предварительное снятие почвенного слоя на территории, отведенной под строительную площадку. Нормы снятия плодородного слоя почвы различного типа и механического состава содержатся в ГОСТ 17.5.3.06-85, а требования по охране плодородного слоя почвы при производстве строительных работ - в ГОСТ 17.4.3.02-85. Рекультивация земель производится в соответствии с ГОСТ 17.5.3.04-83.
15.3 При производстве строительно-монтажных работ необходимо предусмотреть мероприятия по предотвращению загрязнения строительной площадки, примыкающих водных объектов и их ледового покрова строительными и бытовыми отходами и нефтепродуктами, уменьшать загрязнение воздуха выбросами вредных веществ, а также уровень вибрации и шума при работе строительных машин и механизмов.
15.4 Возведение шпунтовых стен и выполнение других строительно-монтажных работ допускается проводить согласно ГОСТ 17.1.3.13-86 только после получения письменного уведомления или разрешения, выдаваемого компетентными органами.
15.5 Запрещается заправка транспортных и строительных машин топливом и маслом вне стационарных или передвижных заправочных пунктов. Слив отработанного масла на почвенный покров или в водные объекты запрещается. Не допускается также мытье машин в неустановленных местах.
15.6 Контроль за выполнением требований по охране природы осуществляется должностными лицами и органами государственного и производственного экологического надзора. Наряду с этим, контроль за выполнением экологических требований при строительстве осуществляет разработчик проекта.
16.1 Для контрольных измерений при приемке профилей ШТС следует применять:
- при измерении длины профилей и смещения замков в поперечном сечении - измерительную металлическую рулетку по ГОСТ 7502-98;
- при измерении диаметра труб, размеров поперечного сечения изделий, перекоса торцов профиля, стрелы кривизны профиля - металлические шаблоны, измерительные линейки по ГОСТ 427-75 и приспособления для проведения измерении.
16.2 Размеры поперечного сечения труб и замковых элементов измеряют на расстоянии до 1 м от их торцов и в среднем сечении.
16.3 Перекос кромки замков контролируют с применением шаблона измерением на торцах отклонения кромки от нанесенной на шаблон осевой линии.
16.4 Кривизну профилей контролируют при горизонтальном положении полок замков натяжением струны и измерением стрелы кривизны: в горизонтальной плоскости - по внешней боковой грани замков; в вертикальной плоскости - по нижней образующей линии поверхности трубы.
16.5 Качество продольных и поперечных сварных швов в профилях следует проверять в соответствии с требованиями СП 53-101-98. Геометрические размеры усиления шва контролируют с помощью шаблона.
16.6 Механические свойства металла сварных стыковых соединений определяют и контролируют в соответствии с требованиями ГОСТ 6996-66.
17.1 Эксплуатация шпунтовых стен из ШТС должна быть организована в соответствии с требованиями проектной документации, ПОС и ППР, разработанными с учетом климатических условий и требований СНиП 3.01.01-85, СНиП 3.02.04-87, СНиП 3.07.02-87, а также настоящего Стандарта.
17.2 В проектной документации на возведение шпунтовых стен, расположенных в сложных гидрометеорологических и инженерно-геологических условиях, при наличии глубин воды более 16 м, течения со скоростью более 1 м/с, колебаний уровня воды более 2 м/сут, вечномерзлых или сильносжимаемых грунтов в основании следует предусматривать раздел, регламентирующий условия нормальной эксплуатации сооружения, и требования по контролю за параметрами, определяющими безопасные условия работы конструкций.
17.3 Точность геодезических наблюдений за деформациями должна соответствовать требованиям СНиП 3.01.01-85, требованиям проектной организации и настоящего Стандарта.
17.4 В случае повреждения изогнутую стенку из ШТС исправляют отдельными участками путем натяжения, придавая ей первоначальное положение. Натяжение следует производить равномерно по всей длине деформированного участка, предварительно установив на поврежденный участок съемную металлическую раму. Рекомендуется вырезать часть разрушенных шпунтовых свай и накладывать металлический пластырь подводной электросваркой или на болтах. Для исправления рекомендуется также забивать дополнительные ШТС.
17.5 В случае размыва грунта у кордона стенки из ШТС рекомендуется размытый участок заполнить камнем, уложить тюфяки, мешки с грунтом и т.п.
17.6 Шпунтовые стенки из ШТС применяют в морских и речных условиях при устройстве набережных и ячеистых конструкций. Возможность применения ШТС определяется в проектной документации. В отечественной практике используют стальной шпунт из углеродистых сталей; для суровых климатических условий - из низколегированных сталей.
|
Шпунтовые профили ШТС и ШТСу |
Характеристики профилей |
Характеристики шпунтовой стены длиной 1 м |
||||||||||||||
|
Размеры поперечного сечения |
Площадь поперечного сечения |
Масса2) 1м |
Справочные значения величин |
|||||||||||||
|
диаметр трубы |
толщина стенки трубы |
ширина профиля |
для оси 0-03) |
для расчета сопротивления грунта погружению профиля |
шаг профилей в шпунтовой стене |
площадь поперечного сечения |
удельный расход стали |
справочные значения величин для оси 0-0 |
||||||||
|
расчетная |
полная |
|||||||||||||||
|
периметр |
площадь торца |
|||||||||||||||
|
D, мм |
t, мм |
Вр, мм |
В, мм |
см2 |
кг |
J0, см4 |
W0, см3 |
см |
см2 |
l |
см2 |
кг/см2 |
J0, см4 |
W0, см3 |
||
|
|
Свая ШТС с замковым элементом Л4 |
|||||||||||||||
|
530×8-Л4 |
530 |
8 |
930 |
966 |
225,8 |
177,0 |
50861,0 |
1919,2 |
488,5 |
646,1 |
975,5 |
242,7 |
190,3 |
52651,14 |
1986,75 |
|
|
530×10-Л4 |
10 |
257,9 |
202,2 |
61402,6 61402610 1,17 |
2317,0 |
487,8 |
277,3 |
217,4 |
63563,77 |
2398,55 |
||||||
|
630×8-Л4 |
630 |
8 |
1030 |
1066 |
250,9 |
196,7 |
82378,3 |
2615,1 |
551,3 |
873,9 |
1071,3 |
243,6 |
190,9 |
77277,95 |
2453,19 |
|
|
630×10-Л4 |
10 |
289,3 |
226,8 |
100381,4 |
3186,7 |
550,7 |
280,9 |
220,2 |
94166,42 |
2989,40 |
||||||
|
720×8-Л4 |
720 |
8 |
1120 |
1156 |
273,5 |
214.4 |
120635,6 |
3350,9 |
607,8 |
1112,4 |
1158,1 |
244,2 |
191,4 |
104356,06 |
2898,70 |
|
|
720×9-Л4 |
9 |
295,6 |
231,7 |
134279,1 |
3729,9 |
607,5 |
263,9 |
206,9 |
116158,39 |
3226,56 |
||||||
|
720×10-Л4 |
10 |
317,6 |
249,0 |
147806,5 |
4105,7 |
607,2 |
283,6 |
222,3 |
127860,29 |
3551,64 |
||||||
|
720×12-Л4 |
12 |
361,5 |
283,4 |
174515,6 |
4847,6 |
606,6 |
322,8 |
253,0 |
150965,05 |
4193,43 |
||||||
|
820×10-Л4 |
820 |
10 |
1220 |
1256 |
349,0 |
273,6 |
216372,0 |
5277,3 |
670,0 |
1414,8 |
1255,0 |
286,1 |
224,3 |
172270,70 |
4201,67 |
|
|
820×12-Л4 |
12 |
399,2 |
312,9 |
256283,8 |
6250,8 |
669,4 |
327,2 |
256,5 |
204047,61 |
4976,75 |
||||||
|
820×14-Л4 |
14 |
449,0 |
352,1 |
295598,5 |
7209,7 |
668,8 |
368,1 |
288,6 |
235349,12 |
5740,21 |
||||||
|
1020×10-Л4 |
1020 |
10 |
1420 |
1456 |
411,9 |
322,9 |
412966,9 |
8097,3 |
795,7 |
2137,4 |
1450,2 |
290,1 |
227,4 |
283631,11 |
5561,33 |
|
|
1020×12-Л4 |
12 |
474,6 |
372,1 |
491036,8 |
9628,1 |
795,1 |
334,2 |
262,0 |
337250,55 |
6612,71 |
||||||
|
1020×14-Л4 |
14 |
537,0 |
421,0 |
568171,6 |
11140,6 |
794,5 |
378,2 |
296,5 |
390227,75 |
7651,51 |
||||||
|
1120×12-Л4 |
1120 |
12 |
1520 |
1556 |
512,3 |
401,6 |
649656,0 |
11601,0 |
857,9 |
2557,6 |
1548,3 |
337,1 |
264,2 |
417516,71 |
7455,66 |
|
|
1120×14-Л4 |
14 |
581,0 |
455,5 |
752491,5 |
13437,3 |
857,3 |
382,3 |
299,7 |
483606,36 |
8635,80 |
||||||
|
1220×12-Л4 |
1220 |
12 |
1620 |
1656 |
549,9 |
431,2 |
839649,0 |
13764,7 |
920,7 |
3017,0 |
1646,5 |
339,5 |
266,2 |
507034,42 |
8312,02 |
|
|
1220×14-Л4 |
14 |
625,0 |
490,0 |
973340,5 |
15956,4 |
920,1 |
385,8 |
302,5 |
587766,00 |
9635,51 |
||||||
|
1420×12-Л4 |
1420 |
12 |
1820 |
1856 |
625,4 |
490,3 |
1324766,0 |
18658,6 |
1046,4 |
4053,8 |
1843,7 |
343,6 |
269,4 |
713774,78 |
10053,13 |
|
|
1420×14-Л4 |
14 |
712,9 |
558,9 |
1537521,0 |
21655,2 |
1045,8 |
391,7 |
307,1 |
828405,71 |
11667,67 |
||||||
|
1420×16-Л4 1420 |
16 |
800,3 |
627,4 |
1957563,0 |
27571,3 |
1045,1 |
439,7 |
344,7 |
1054721,44 |
14855,23 |
||||||
Продолжение таблицы
|
Шпунтовые профили ШТС и ШТСу |
Характеристики профилей |
Характеристики шпунтовой стены длиной 1 м |
||||||||||||||
|
Размеры поперечного сечения |
Площадь поперечного сечения |
Масса2) 1м |
Справочные значения величин |
|||||||||||||
|
диаметр трубы |
толщина стенки трубы |
ширине профиля |
для оси 0-03) |
для расчета сопротивления грунта погружению профиля |
шаг профилей в шпунтовой стене |
площадь поперечного сечения |
удельный расход стали |
справочные значения величин для оси 0-0 |
||||||||
|
расчётная |
полная |
|||||||||||||||
|
периметр |
площадь торца |
|||||||||||||||
|
D, мм |
t, мм |
Bp мм |
В. мм |
см2 |
кг |
J0 см4 |
W0 см5 |
см |
см2 |
l |
см2 |
кг/см2 |
J 0см4 |
W0 см3 |
||
|
|
Свая ШТС с замковым элементом Л5 |
|||||||||||||||
|
530×8-Л5 |
530 |
8 |
958 |
996 |
258,9 |
203,0 |
54591,9 |
2060,1 |
500,0 |
679,3 |
1010,4 |
260,0 |
203,8 |
54811,14 |
2068,37 |
|
|
530×10-Л5 |
10 |
291,1 |
228,2 |
65134,0 |
2457,9 |
499,4 |
292,3 |
229,1 |
65395,58 |
2467,77 |
||||||
|
630×8-Л5 |
630 |
8 |
1058 |
1096 |
284,1 |
222,7 |
86948,1 |
2760,3 |
562,9 |
907,1 |
1105,7 |
253,2 |
203,2 |
79332,21 |
2518,52 |
|
|
630×10-Л5 |
10 |
322,5 |
252,9 |
104951,3 |
3331,8 |
562,2 |
294,3 |
230,7 |
95758,49 |
3039,96 |
||||||
|
720×8-Л5 |
720 |
8 |
1148 |
1186 |
306,7 |
240,4 |
125483,9 |
3485,7 |
619,4 |
1145,6 |
1192,1 |
258,6 |
202,7 |
105804,30 |
2939,04 |
|
|
720×9-Л5 |
9 |
328,8 |
257,8 |
139127,4 |
3864,7 |
619,2 |
277,2 |
217,3 |
117308,09 |
3258,60 |
||||||
|
720×10-Л5 |
10 |
350,8 |
275,0 |
152654,8 |
4240,4 |
618,8 |
295,8 |
231,9 |
128714,00 |
3575,38 |
||||||
|
720×12-Л5 |
12 |
394,6 |
309,4 |
179364,0 |
4982,3 |
618,2 |
332,8 |
260,9 |
151234,40 |
4200,93 |
||||||
|
820×10-Л5 |
820 |
10 |
1248 |
1286 |
382,2 |
299,6 |
221529,1 |
5403,1 |
681,6 |
1448,0 |
1288,7 |
297,2 |
233,0 |
172262,13 |
4201,48 |
|
|
820×12-Л5 |
12 |
432,3 |
338,9 |
261440,9 |
6376,6 |
681,0 |
336,2 |
263,6 |
203297,74 |
4958,48 |
||||||
|
820×4-Л5 |
14 |
482,3 |
378,1 |
300755,6 |
7335,5 |
680,4 |
375,0 |
294,0 |
233869,05 |
5704,12 |
||||||
|
1020×10-Л5 |
1020 |
10 |
1448 |
1486 |
445,0 |
348,9 |
418638,6 |
8208,6 |
807,3 |
2170,6 |
1483,2 |
299,5 |
231,8 |
281721,80 |
5523,96 |
|
|
1020×12-Л5 |
12 |
507,7 |
398,1 |
496708,4 |
9739,4 |
806,7 |
341,7 |
267,9 |
334258,68 |
6554,10 |
||||||
|
1020×14-Л5 |
14 |
570,2 |
447,0 |
573843,3 |
11251,8 |
806,1 |
383,7 |
300,8 |
386166,42 |
7571,87 |
||||||
|
1120×12-Л5 |
1120 |
12 |
1548 |
1586 |
545,4 |
427,6 |
655578,2 |
11706,8 |
869,5 |
2590,8 |
1580,9 |
343,9 |
269,6 |
413353,22 |
7381.34 |
|
|
1120×14-Л5 |
14 |
614,2 |
481,5 |
758413,7 |
13543,1 |
868,9 |
387,2 |
303,6 |
478192,75 |
8539,16 |
||||||
|
1220×12-Л5 |
1220 |
12 |
1648 |
1686 |
583,1 |
457,2 |
843167,8 |
13822,4 |
932,3 |
3050,2 |
1679,0 |
345,8 |
271,2 |
500099,53 |
8198,34 |
|
|
1220×14-Л5 |
14 |
658,1 |
516,0 |
976859,4 |
16014,1 |
931,7 |
390,4 |
306,0 |
579394,66 |
9498,28 |
||||||
|
1420×12-Л5 |
1420 |
12 |
1848 |
1886 |
658,5 |
516,3 |
1329862,0 |
18730,5 |
1058,0 |
4086,9 |
1875,7 |
349,2 |
273,7 |
705123,01 |
9931,34 |
|
|
1420×14-Л5 |
14 |
746,1 |
585,0 |
1542617,0 |
21727,0 |
1057,4 |
395,6 |
310,2 |
817930,54 |
11520,15 |
||||||
|
1420×16-Л5 |
16 |
833,5 |
653,4 |
1753545,0 |
24697,8 |
1056,8 |
441.9 |
346,5 |
929769,35 |
13005,33 |
||||||
Продолжение таблицы
|
Шпунтовые профили ШТС и ШТСу |
Характеристики профилей |
Характеристики шпунтовой стены длиной 1 м |
||||||||||||||
|
Размеры поперечного сечения |
Площадь поперечного сечения |
Масса2) 1м |
Справочные значения величин |
|||||||||||||
|
диаметр трубы |
толщина трубы |
ширина профиля |
для оси 0-03) |
для расчета сопротивления грунта погружению профиля |
шаг профилей в шпунтовой стене |
площадь поперечного сечения |
удельный расход стали |
справочные значения величин для оси 0-0 |
||||||||
|
расчетная |
полная |
|||||||||||||||
|
периметр |
площадь тора» |
|||||||||||||||
|
D, мм |
t, мм |
Вp, мм |
В, мм |
см2 |
кг |
J0, см4 |
W0, см3 |
см |
см2 |
l |
см2 |
кг/см2 |
J0, см4 |
W0, см3 |
||
|
|
Свая ШТС с замковым элементом ШК-1 |
|||||||||||||||
|
530×8-ШК1 |
530 |
8 |
949 |
928 |
194,8 |
152,7 |
45402,7 |
1713,3 |
449,4 |
615,1 |
934,5 |
205,7 |
161,3 |
48925,3 |
1846,21 |
|
|
530×10-ШК1 |
10 |
226,9 |
177,9 |
55944,3 |
2111,1 |
448,7 |
239,7 |
187,9 |
60284,8 |
2274,91 |
||||||
|
630×8-ШК1 |
630 |
8 |
1047 |
1028 |
219,9 |
172,4 |
76319,6 |
2422,8 |
512,2 |
842,9 |
1033,9 |
210,1 |
164,7 |
74240,9 |
2356,9 |
|
|
630×10-ШК1 |
10 |
258,3 |
202,5 |
94322,8 |
2994,4 |
511,6 |
246,8 |
193,5 |
91753,7 |
2912,8 |
||||||
|
720×8-ШК1 |
720 |
8 |
1137 |
1118 |
242,5 |
190,1 |
114115,5 |
3169,9 |
568,7 |
1081,5 |
1123,4 |
213,3 |
167,2 |
102071,1 |
2835,3 |
|
|
720×9-ШК1 |
9 |
264,6 |
207,4 |
127759,1 |
3548,9 |
568,4 |
232,7 |
182,5 |
114274,7 |
3174,3 |
||||||
|
720×10-ШК1 |
10 |
286,6 |
224,7 |
141286,5 |
3924,6 |
568,1 |
252,1 |
197,7 |
126374,3 |
3510,4 |
||||||
|
720×12-ШК1 |
12 |
330,5 |
259,1 |
167995,6 |
4666,5 |
567,5 |
290,7 |
227,9 |
150264,4 |
4174,0 |
||||||
|
820×10-ШК1 |
820 |
10 |
1237 |
1218 |
318,0 |
249,3 |
209435,5 |
5108,2 |
630,9 |
1383,8 |
1222,9 |
257,1 |
201,6 |
171950,3 |
4193.9 |
|
|
820×12-ШК1 |
12 |
368,2 |
288,7 |
249347,3 |
6081,6 |
630,3 |
297,7 |
233,4 |
204718,6 |
4993,1 |
||||||
|
820×14-ШК1 |
14 |
418,1 |
327,8 |
288661,9 |
7040,5 |
629,7 |
338,0 |
265,0 |
236996,6 |
5780,4 |
||||||
|
1020×10-ШК1 |
1020 |
10 |
1437 |
1418 |
380,9 |
298,6 |
405357,6 |
7948,2 |
756,6 |
2106,4 |
1422,2 |
265,0 |
207,8 |
285865,7 |
5605,2 |
|
|
1020×12-ШК1 |
12 |
443,6 |
347,8 |
483427,4 |
9479,0 |
756,0 |
308,7 |
242,0 |
340922,0 |
6684,7 |
||||||
|
1020×14-ШК1 |
14 |
506,0 |
396,7 |
560562,3 |
10991,4 |
755,3 |
352,3 |
276,1 |
395319,0 |
7751,4 |
||||||
|
1120×12-ШК1 |
1120 |
12 |
1537 |
1518 |
481,3 |
377,3 |
641798,4 |
11460,7 |
818,8 |
2526,6 |
1521,9 |
313,2 |
245,5 |
422792,1 |
7549,9 |
|
|
1120×14-ШК1 |
14 |
550,0 |
431,2 |
744633,9 |
13297,0 |
818,2 |
357,9 |
280,6 |
490536,2 |
8759,6 |
||||||
|
1220×12-ШК1 |
1220 |
12 |
1637 |
1618 |
519,0 |
406,9 |
831497,3 |
13631,1 |
881,6 |
2986,0 |
1621,7 |
317,1 |
248,6 |
513904,4 |
8424,7 |
|
|
1220×14-ШК1 |
14 |
594,0 |
465,7 |
965188,9 |
15822,8 |
881,0 |
362,9 |
284,5 |
596532,1 |
9779,2 |
||||||
|
1420×12- ШК1 |
1420 |
12 |
1837 |
1818 |
594,4 |
466,0 |
1316188 |
18537,9 |
1007,3 |
4022,8 |
1821,2 |
323,6 |
253,7 |
723975,8 |
10196,8 |
|
|
1420×14-ШК1 |
14 |
682,0 |
534,6 |
1528943 |
21534,4 |
1006,7 |
371,3 |
291,1 |
841002,8 |
11845,1 |
||||||
|
1420×16-ШК1 |
16 |
769,3 |
603,1 |
1739871 |
24505,2 |
1006,0 |
418,8 |
328,4 |
957024,8 |
13479,2 |
||||||
Продолжение таблицы
|
Шпунтовые профили ШТС и ШТСу |
Характеристики профилей |
Характеристики шпунтовой стены длиной 1 м |
||||||||||||||
|
Размеры поперечного сечения |
Площадь поперечного сечения |
Масса2) 1м |
Справочные значения величин |
|||||||||||||
|
диаметр трубы |
стенки трубы |
ширина профиля |
для оси 0-03) |
для расчета сопротивления грунта погружению профиля |
шаг профилей в шпунтовой стене |
площадь поперечного сечения |
удельный расход стали |
справочные значения величин для оси 0-0 |
||||||||
|
расчетная |
полная |
|||||||||||||||
|
периметр |
площадь торца |
|||||||||||||||
|
D, мм |
t, мм |
Bр, мм |
В, мм |
см2 |
кг |
J0, см4 |
W0, см3 |
см |
см2 |
l |
см2 |
кг/см2 |
J0, см4 |
W0, см3 |
||
|
|
Свая ШТС с замковым элементом УТ |
|||||||||||||||
|
530×9-УТо 530×9-УТг |
530 |
9 |
УТо717 УТг999 |
УТо748 УТг1030 |
254,9 247.3 |
202 196 |
56300 51000 |
21251925 |
376 485 |
595 247 |
858 |
292,7 |
232 |
62600 |
2360 |
|
|
530×10-УТо 530×10-УТг |
10 |
271,0 263,4 |
214 209 |
61600 56300 |
23252125 |
376 484 |
611 263 |
311,4 |
247 |
68700 |
2590 |
|||||
|
530×11-УТо 530×11-УТг |
11 |
287,0 279,4 |
228 221 |
66700 61500 |
25202320 |
375 483 |
627 279 |
330,0 |
262 |
74700 |
2820 |
|||||
|
530×12-УТо 530×12-УТг |
12 |
302,9 295,3 |
240 234 |
71900 66600 |
27102510 |
374 483 |
643 295 |
348,6 |
276 |
80700 |
3045 |
|||||
|
630×9-УТо 630×9-УТг |
630 |
9 |
УТо823 УТг1099 |
УТо854 УТг1130 |
283,2 275,6 |
225 219 |
91000 85700 |
28902720 |
439 548 |
632 276 |
961 |
290,8 |
231 |
92000 |
2920 |
|
|
630×10-УТо 630х10-УТг |
10 |
302,4 294,8 |
240 234 |
99900 94700 |
31753005 |
439 547 |
651 295 |
310,8 |
246 |
101300 |
3215 |
|||||
|
630×11-УTo 630×11-УГг |
11 |
321,5 313,9 |
255 249 |
108800 103500 |
34553285 |
438 546 |
670 314 |
330,7 |
262 |
110500 |
3510 |
|||||
|
630×12-УТо 630×l2-УTг |
12 |
340,6 333,0 |
270 264 |
117600 112300 |
37353565 |
438 546 |
689 333 |
350.6 |
278 |
119700 |
3800 |
|||||
|
720×10-УТо 720×10-УТг |
720 |
10 |
УТо916 УТг1189 |
УТо947 УТг1220 |
330,6 323,1 |
262 256 |
146900 141600 |
40803935 |
496 603 |
685 323 |
1052 |
310,6 |
246 |
137100 |
3810 |
|
|
720×11-УТо 720×11-УТг |
11 |
352,6 345,0 |
280 274 |
160300 155000 |
44554305 |
495 603 |
707 345 |
331,4 |
263 |
149800 |
4160 |
|||||
|
720×12-УТо 720×12-УТг |
12 |
374,5 366,9 |
297 291 |
173600 168300 |
48204675 |
494 602 |
729 367 |
352,2 |
279 |
162500 |
4515 |
|||||
|
720×13-УТо 720×13-УТг |
13 |
396,3 388,7 |
314 308 |
186800 181500 |
51905040 |
494 602 |
751 389 |
373,0 |
296 |
175000 |
4860 |
|||||
|
820×10-УТо 820×10-УТг |
820 |
10 |
УТо1019 УТг1289 |
УТо1050 УТг1320 |
362,1 354,5 |
287 281 |
215100 209800 |
52455115 |
559 666 |
721 354 |
1154 |
310,5 |
246 |
184100 |
4490 |
|
|
820×11-УТо 820×11-УТг |
11 |
387,2 379,6 |
307 301 |
235100 229800 |
57355605 |
558 666 |
746 380 |
332,3 |
263 |
201500 |
4915 |
|||||
|
820×12-УТо 820×12-УТг |
12 |
412,2 404,6 |
327 321 |
255000 249700 |
62206090 |
557 665 |
771 405 |
354,0 |
281 |
218700 |
5335 |
|||||
|
820×13-УТо 820×13-УТг |
13 |
437,2 429,6 |
347 341 |
274700 269400 |
67006570 |
557 664 |
796 430 |
375,6 |
298 |
235800 |
5750 |
|||||
Продолжение таблицы
|
Шпунтовые профили ШТС и ШТСу |
Характеристики профилей |
Характеристики шпунтовой стены длиной 1 м |
||||||||||||||
|
Размеры поперечного сечения |
Площадь поперечного сечения |
Масса2) 1 м |
Сплавочные значения величин |
|||||||||||||
|
диаметр трубы |
толщина стенки трубы |
ширина профиля |
для оси 0-03) |
для расчета сопротивления грунта погружению профиля |
шаг профилей в шпунтовой стене |
площадь поперечного сечения |
удельный расход стали |
справочные значения величин для оси 0-0 |
||||||||
|
расчетная |
полная |
|||||||||||||||
|
периметр |
площадь торца |
|||||||||||||||
|
D, мм |
t, мм |
Bр, мм |
В, мм |
см2 |
кг |
J0, см4 |
W0, см3 |
см |
см2 |
l |
см2 |
кг/см2 |
J0, см4 |
W0, см3 |
||
|
920×10-УТо 920×10-УТг |
920 |
10 |
УТо1121 УТг1389 |
УТо1152 УТг1420 |
393,5 385,9 |
312 306 |
302300 297000 |
6570 6455 |
621 729 |
756 386 |
1255 |
310,5 |
246 |
238800 |
5190 |
|
|
920×11-УГо 920×11-УТг |
11 |
421,7 414,1 |
334 328 |
330800 325500 |
7190 7075 |
621 729 |
785 414 |
333,0 |
264 |
261500 |
5685 |
|||||
|
920×12-УТо 920×12-УТг |
12 |
449,9 442,3 |
357 351 |
359200 353900 |
7810 7695 |
620 728 |
813 442 |
355,5 |
282 |
284100 |
6175 |
|||||
|
920×13-УТо 920×13-УТг |
13 |
478,0 470,4 |
379 373 |
387300 382000 |
8420 8305 |
620 727 |
841 470 |
377,9 |
300 |
306500 |
6665 |
|||||
|
920×14-УTo 920×14-УТг |
14 |
506,1 498,5 |
401 395 |
415300 410000 |
9030 8915 |
619 727 |
869 498 |
400,2 |
317 |
328800 |
7150 |
|||||
|
1020×10-УТо 1020×10-УТг |
1020 |
10 |
УТо1223 УТг1489 |
УТо1254 УТг1520 |
424,9 417,3 |
337 331 |
411000 405700 |
8060 7955 |
684 792 |
791 417 |
1356 |
310,6 |
246 |
301200 |
5905 |
|
|
1020×11-УТо 1020×11-УТг |
11 |
456,3 448,7 |
362 356 |
450100 444800 |
8825 8720 |
684 791 |
822 449 |
333,7 |
265 |
330000 |
6470 |
|||||
|
1020×12-УТо 1020×12-УТг |
12 |
487,6 480,0 |
387 381 |
489000 483750 |
9590 9485 |
683 791 |
854 480 |
356,8 |
283 |
358700 |
7035 |
|||||
|
1020×13-УТо 1020×13-УТг |
13 |
518,9 511,3 |
411 405 |
527700 522400 |
10345 10245 |
682 790 |
885 511 |
379,9 |
301 |
387300 |
7595 |
|||||
|
1020×14-УТо 1020×14-УТг |
14 |
550,1 542,5 |
436 430 |
566200 560900 |
11100 11000 |
682 789 |
916 542 |
402,9 |
319 |
415600 |
8150 |
|||||
|
1120×10-УТо 1120×10-УТг |
1120 |
10 |
УТо1324 УТг1589 |
УТо1355 УТг1620 |
456,3 448,7 |
362 356 |
543400 538200 |
9705 9610 |
747 855 |
825 449 |
1456 |
310,7 |
246 |
371300 |
6630 |
|
|
1120×11-УТо 1120×11-УТг |
11 |
490,8 483,2 |
389 383 |
595600 590300 |
10635 10540 |
747 854 |
859 483 |
334,4 |
265 |
407100 |
7270 |
|||||
|
1120×12-УТо 1120×12-УТг |
12 |
525,3 517,7 |
416 410 |
647400 642100 |
11560 11465 |
746 854 |
894 518 |
358,0 |
284 |
442700 |
7905 |
|||||
|
1120×13-УТо 1120×13-УТг |
13 |
559,7 552,1 |
444 438 |
699000 693700 |
12480 12385 |
745 853 |
928 552 |
381,7 |
303 |
478100 |
8535 |
|||||
|
1120×14УТо 1120×14-УТг |
14 |
594,0 586,4 |
471 465 |
750200 745000 |
13395 13305 |
745 852 |
962 586 |
405,2 |
321 |
513300 |
9165 |
|||||
Продолжение таблицы
|
Шпунтовые профили ШТС и ШТСу |
Характеристики профилей |
Характеристики
шпунтовой стены длиной |
||||||||||||||
|
Размеры поперечного сечения |
Площадь поперечного сечения |
Macca2) |
Справочные значения величин |
|||||||||||||
|
диаметр трубы |
толщина стенки трубы |
ширина профиля |
для оси 0-03) |
для расчета сопротивления грунта погружению профиля |
шаг профилей в шпунтовой стене |
площадь поперечного сечения |
удельный расход стали |
справочные значения величин для оси 0-0 |
||||||||
|
расчетная |
полная |
|||||||||||||||
|
периметр |
площадь торца |
|||||||||||||||
|
D, мм |
t, мм |
Вр, мм |
В, мм |
см2 |
кг |
J0, см4 |
W0, см3 |
см |
см2 |
l |
см2 |
кг/см2 |
J0, см4 |
W0, см3 |
||
|
|
Свая ШТС с замковым элементом УТ |
|||||||||||||||
|
530×9-ПБо 530×9-ПБг |
530 |
9 |
ПБо842 ПБг928 |
ПБо884 ПБг970 |
248,8 213,6 |
197 169 |
51500 50100 |
1945 1890 |
398 435 |
494 214 |
885 |
261,3 |
207 |
57400 |
2165 |
|
|
530×10-ПБо 530×10-ПБг |
10 |
264,9 229,7 |
210 182 |
56800 55300 |
2145 2090 |
397 435 |
510 230 |
279,5 |
222 |
63300 |
2390 |
|||||
|
530×11-ПБо 530×11-ПБг |
11 |
280,9 245,6 |
223 195 |
62000 60500 |
2340 2285 |
397 434 |
526 246 |
297,5 |
236 |
69200 |
2610 |
|||||
|
530×12-ПБо 530×12-ПБг |
12 |
296,8 261,6 |
235 207 |
67100 65600 |
2530 2475 |
396 433 |
542 262 |
315,5 |
250 |
75000 |
2830 |
|||||
|
630×9-ПБо 630×9-ПБг |
630 |
9 |
ПБо943 ПБг1028 |
ПБо985 ПБг1070 |
277,1 241,9 |
220 192 |
86200 84700 |
2735 2690 |
461 498 |
523 242 |
985 |
263,4 |
209 |
86700 |
2755 |
|
|
630×10-ПБо 630×10-ПБг |
10 |
296,3 261,1 |
235 207 |
95200 93700 |
3020 2975 |
460 498 |
542 261 |
282,8 |
224 |
95800 |
3040 |
|||||
|
630×11-ПБо 630×11-ПБг |
11 |
315,4 280,2 |
250 222 |
104000 102600 |
3300 3255 |
460 497 |
561 280 |
302,2 |
240 |
104800 |
3330 |
|||||
|
630×12-ПБо 630×12-ПБг |
12 |
334,5 299,3 |
265 237 |
112800 111400 |
3580 3535 |
459 496 |
580 299 |
321,6 |
255 |
113800 |
3610 |
|||||
|
720×10-ПБо 720х10-ПБг |
720 |
10 |
ПБо1034 ПБг1118 |
ПБо1076 ПБг1160 |
324,6 289,3 |
257 229 |
142100 140700 |
3950 3905 |
517 554 |
571 289 |
1076 |
285,4 |
226 |
131500 |
3650 |
|
|
720×11-ПБо 720×11-ПБг |
11 |
346,5 311,3 |
275 247 |
155500 154100 |
4320 4280 |
516 553 |
593 311 |
305,8 |
242 |
143900 |
4000 |
|||||
|
720×12-ПБо 720×12-ПБг |
12 |
368,4 333,2 |
292 264 |
168800 167400 |
4690 4650 |
516 553 |
615 333 |
326,2 |
259 |
156300 |
4340 |
|||||
|
720×13-ПБо 720×13-ПБг |
13 |
390,3 355,0 |
309 281 |
182000 180600 |
5055 5015 |
515 552 |
637 355 |
346,4 |
275 |
168500 |
4680 |
|||||
|
820×10-ПБо 820×10-ПБг |
820 |
10 |
ПБо1134 ПБг1218 |
ПБо1176 ПБг1260 |
356,0 320,8 |
282 254 |
210300 208800 |
5130 5095 |
580 617 |
603 321 |
1176 |
278,8 |
228 |
178200 |
4345 |
|
|
820×11-ПБо 820×11-ПБг |
11 |
381,1 345,9 |
302 274 |
230300 228800 |
5615 5580 |
579 616 |
628 346 |
309,1 |
245 |
195200 |
4760 |
|||||
|
820×12-ПБо 820×12-ПБг |
12 |
406,1 370,9 |
322 294 |
250200 248700 |
6100 6065 |
578 616 |
653 371 |
330,4 |
262 |
212200 |
5175 |
|||||
|
820×13-ПБо 820×13-ПБг |
13 |
431,1 395,9 |
342 314 |
269900 268500 |
6585 6550 |
578 615 |
678 396 |
351,7 |
279 |
228900 |
5585 |
|||||
Продолжение таблицы
|
Шпунтовые профили ШТС и ШТСу |
Характеристики профилей |
Характеристики
шпунтовой стены длиной |
||||||||||||||
|
Размеры поперечного сечения |
Площадь поперечного сечения |
Масса2) 1м |
Справочные значения величин |
|||||||||||||
|
диаметр трубы |
толщина стенки трубы |
ширина профиля |
для оси 0-03) |
для расчета сопротивления грунта погружению профиля |
шаг профилей в шпунтовой стене |
поперечного сечения |
удельный расход стали |
справочные значения величин для оси 0-0 |
||||||||
|
расчетная |
полная |
|||||||||||||||
|
периметр |
площадь торца |
|||||||||||||||
|
D, мм |
t, мм |
Bр, мм |
B, мм |
см2 |
кг |
J0, см4 |
W0, см3 |
см |
см2 |
l |
см2 |
кг/см2 |
J0, см4 |
W0, см3 |
||
|
920×10-ПБо 920×10-ПБг |
920 |
10 |
ПБо1234 ПБг318 |
ПБо1277 ПБг1360 |
387,4 352,2 |
307 279 |
297500 296000 |
6465 6435 |
643 680 |
635 352 |
1276 |
289,8 |
230 |
232600 |
5055 |
|
|
920×11-ПБо 920×11-ПБг |
11 |
415,6 380,4 |
330 302 |
326000 324600 |
7090 7055 |
642 679 |
663 330 |
311,9 |
247 |
254900 |
5540 |
|||||
|
920×12-ПБо 920×12-ПБг |
12 |
443,6 408,6 |
352 324 |
354400 352900 |
7705 7670 |
691 678 |
691 409 |
334,0 |
265 |
277200 |
6025 |
|||||
|
920×13-ПБо 920×13-ПБг |
13 |
472,0 436,7 |
374 346 |
382500 381100 |
8315 8285 |
641 678 |
719 437 |
356,0 |
282 |
299200 |
6505 |
|||||
|
920×14-ПБо 920×14-ПБг |
14 |
500,0 464,8 |
396 368 |
410500 409000 |
8925 8890 |
640 677 |
747 465 |
378,0 |
300 |
321100 |
6980 |
|||||
|
1020×10-ПБо 1020×10-ПБг |
1020 |
10 |
ПБо1335 ПБг418 |
ПБо1377 ПБг1460 |
418,8 383,6 |
332 304 |
406200 404700 |
7965 7935 |
705 743 |
667 384 |
1376 |
291,5 |
231 |
294600 |
5775 |
|
|
1020×11-ПБо 1020×11-ПБг |
11 |
450,2 415,0 |
357 329 |
445300 443900 |
8730 8705 |
705 742 |
698 415 |
314,3 |
249 |
323000 |
6335 |
|||||
|
1020×12-ПБо 1020×12-ПБг |
12 |
481,5 446,3 |
382 354 |
484200 482800 |
9495 9465 |
704 741 |
729 446 |
337,1 |
267 |
351300 |
6890 |
|||||
|
1020×13-ПБо 1020×13-ПБг |
13 |
512,8 477,6 |
407 379 |
522900 521500 |
10255 10225 |
703 741 |
761 478 |
359,8 |
285 |
379500 |
7440 |
|||||
|
1020×14-ПБо 1020×14-ПБг |
14 |
544,0 508,7 |
431 403 |
561400 559900 |
11010 10980 |
703 740 |
792 509 |
382,5 |
303 |
407400 |
7990 |
|||||
|
1120×10-ПБо 1120×10-ПБг |
1120 |
10 |
ПБо1435 ПБг518 |
ПБо1477 ПБг1560 |
450,2 415,0 |
357 329 |
538700 537200 |
9620 9595 |
768 805 |
698 415 |
1476 |
293,0 |
232 |
364400 |
6505 |
|
|
1120×11-ПБо 1120×11-ПБг |
11 |
484,8 449,5 |
384 356 |
590800 589300 |
10550 10525 |
768 805 |
733 450 |
316,4 |
251 |
399700 |
7135 |
|||||
|
1120×12-ПБо 1120×12-ПБг |
12 |
519,2 484,0 |
412 384 |
642600 641200 |
11475 11450 |
767 804 |
767 484 |
339,8 |
269 |
434800 |
7765 |
|||||
|
1120×13-ПБо 1120×13-ПБг |
13 |
553,6 518,4 |
439 411 |
694200 692700 |
12395 12370 |
766 804 |
802 518 |
363,1 |
288 |
469700 |
8390 |
|||||
|
1120×14-ПБо 1120×14-ПБг |
14 |
588,0 552,7 |
466 438 |
745500 744000 |
13310 13285 |
766 803 |
836 553 |
386,3 |
306 |
504500 |
9010 |
|||||
Продолжение таблицы
|
Шпунтовые профили ШТС и ШТСу |
Характеристики профилей |
Характеристики
шпунтовой стены длиной |
||||||||||||||
|
Размеры поперечного сечения |
Площадь поперечного сечения |
Масса3)
|
Справочные значения величин |
|||||||||||||
|
диаметр |
толщина стенки трубы |
ширина профиля |
для оси 0-03) |
для расчета сопротивления грунта погружению профиля |
шаг профилей в шпунтовой стене |
площадь поперечного сечения |
удельный расход стали |
справочные значения величин для оси 0-0 |
||||||||
|
расчетная |
полная |
|||||||||||||||
|
периметр |
площадь торца |
|||||||||||||||
|
D, мм |
t, мм |
Bр, мм |
В, мм |
см2 |
кг |
J0, см4 |
W0, см3 |
см |
см2 |
l |
см2 |
кг/см2 |
J0, см4 |
W0, см3 |
||
|
|
Свая ШТС с замковым элементом FL-511 |
|||||||||||||||
|
530×8-FL511 |
530 |
8 |
1030 |
1050 |
219,5 |
172,1 |
44945,0 |
1696,0 |
470,6 |
639,8 |
1050 |
213,1 |
167,0 |
42804,8 |
1615,3 |
|
|
530×10-FL511 |
10 |
251,6 |
197,3 |
50246,7 |
1896,1 |
470,0 |
244,3 |
191,5 |
47854,0 |
1805,8 |
||||||
|
630×8-FL511 |
630 |
8 |
1130 |
1150 |
244,6 |
191,8 |
75862,0 |
2408,3 |
533,5 |
867,6 |
1150 |
216,5 |
169,7 |
65967,0 |
2094,2 |
|
|
630×10-FL511 |
10 |
283,0 |
221,9 |
93865,1 |
2979,8 |
532,8 |
250,5 |
196,4 |
81621,8 |
2591,2 |
||||||
|
720×8- FL511 |
720 |
8 |
1220 |
1240 |
267,2 |
209,5 |
113653,6 |
3157,0 |
590,0 |
1106,1 |
1240 |
219,0 |
171,7 |
91656,1 |
2546,0 |
|
|
720×9-FL511 |
9 |
289,3 |
226,8 |
127297,1 |
3536,0 |
589,7 |
237,1 |
185,9 |
102659,0 |
2851,6 |
||||||
|
720×10-FL511 |
10 |
311,3 |
244,1 |
140824,5 |
3911,8 |
589,4 |
255,2 |
200,1 |
113568,1 |
3154,7 |
||||||
|
720×12-FL511 |
12 |
355,2 |
278,5 |
167533,6 |
4653,7 |
588,7 |
291,1 |
228,2 |
135107,7 |
3753,0 |
||||||
|
820×10-FL511 |
820 |
10 |
1320 |
1340 |
342,7 |
268,7 |
208969,3 |
5096,8 |
652,2 |
1408,5 |
1340 |
259,6 |
203,6 |
155947,2 |
3803,6 |
|
|
820×12-FL511 |
12 |
392,9 |
308,0 |
248881,2 |
6070,3 |
651,6 |
297,6 |
233,3 |
185732,2 |
4530,1 |
||||||
|
820×14-FL511 |
14 |
442,8 |
347,1 |
288195,8 |
7029,2 |
651,0 |
335,4 |
263,0 |
215071,5 |
5245,6 |
||||||
|
1020×10-FL511 |
1020 |
10 |
1520 |
1540 |
405,6 |
318,0 |
404879,1 |
7938,8 |
777,9 |
2131,1 |
1540 |
266,8 |
209,2 |
262908,5 |
5155,1 |
|
|
1020×12-FL511 |
12 |
468,3 |
367,1 |
482948,9 |
9469,6 |
777,2 |
308,1 |
241,5 |
313603,2 |
6149,1 |
||||||
|
1020×14- FL511 |
14 |
530,7 |
416,1 |
560083,8 |
10982,0 |
776,6 |
349,2 |
273,7 |
363690,8 |
7131,2 |
||||||
|
1120×12-FL511 |
1120 |
12 |
1620 |
1640 |
506,0 |
396,7 |
641319,9 |
11452,0 |
840,1 |
2551,3 |
1640 |
312,3 |
244,9 |
391048,7 |
6983,0 |
|
|
1120×14-FL511 |
14 |
574,7 |
450,6 |
744155,4 |
13288,0 |
839,4 |
354,8 |
278,1 |
453753,3 |
8102,7 |
||||||
|
1220×12-FL511 |
1220 |
12 |
1720 |
1740 |
543,7 |
426,2 |
831018,8 |
13623,0 |
902,9 |
3010,7 |
1740 |
316,1 |
247,8 |
477597,0 |
7829,5 |
|
|
1220×14-FL511 |
14 |
618,7 |
485,1 |
964710,4 |
15814,0 |
902,3 |
359,7 |
282,0 |
554431,3 |
9089,0 |
||||||
|
1420×12-FL511 |
1420 |
12 |
1920 |
1940 |
619,1 |
485,4 |
1315710,0 |
18531,0 |
1028,6 |
4047,5 |
1940 |
322,4 |
252,8 |
678201,0 |
9552,1 |
|
|
1420×14-FL511 |
14 |
706,7 |
554,0 |
1528465,0 |
21527,0 |
1027,9 |
368,1 |
288,6 |
787868,6 |
11096,7 |
||||||
|
1420×16-FL511 |
16 |
794,0 |
622,5 |
1739393,0 |
24498,0 |
1027,3 |
413,5 |
324,2 |
896594,3 |
12628,1 |
||||||
Окончание таблицы
|
Шпунтовые профили ШТС и ШТСу |
Характеристики профилей |
Характеристики
шпунтовой стены длиной |
||||||||||||||
|
Размеры поперечного сечения |
Площадь поперечного сечения |
Масса2)
|
Справочные значения величин |
|||||||||||||
|
диаметр трубы |
толщина стенки трубы |
ширина профиля |
для оси 0-03) |
для расчета сопротивления грунта погружению профиля |
шаг профилей в шпунтовой стене |
площадь поперечного сечения |
удельный расход стали |
справочные значения величин для оси 0-0 |
||||||||
|
расчетная |
полная |
|||||||||||||||
|
периметр |
площадь торца |
|||||||||||||||
|
D, мм |
t, мм |
Bр, мм |
B, мм |
см2 |
кг |
J0, см4 |
W0, см3 |
см |
см2 |
l |
см2 |
кг/см2 |
J0, см4 |
W0, см3 |
||
|
|
Свая ШТС с замковым элементом FL-512 |
|||||||||||||||
|
530×8-FL512 |
530 |
8 |
1030 |
1050 |
223,3 |
175,1 |
44945,0 |
1696,0 |
470,8 |
643,7 |
1050 |
216,8 |
170.0 |
42804,8 |
1615,3 |
|
|
530×10-FL512 |
10 |
255,5 |
200,3 |
50246,7 |
1896,1 |
470,2 |
248,0 |
194,5 |
47854,0 |
1805,8 |
||||||
|
630×8-FL512 |
630 |
8 |
1130 |
1150 |
248,4 |
194,8 |
75862,0 |
2408,3 |
533,6 |
871,4 |
1150 |
219,9 |
172,4 |
65967,0 |
2094,2 |
|
|
630×10-FL512 |
10 |
286,9 |
224,9 |
93865,1 |
2979,8 |
533,0 |
253,9 |
199,0 |
81621,8 |
2591,2 |
||||||
|
720×8-FL512 |
720 |
8 |
1220 |
1240 |
271,1 |
212,5 |
113653,6 |
3157,0 |
590,2 |
1110 |
1240 |
222,2 |
174,2 |
91656,1 |
2546,0 |
|
|
720×9-FL512 |
9 |
293,1 |
229,8 |
127297,1 |
3536,0 |
589,8 |
240,3 |
188,4 |
102659,0 |
2851,6 |
||||||
|
720x10-FL512 |
10 |
315,2 |
247,1 |
140824,5 |
3911,8 |
589,5 |
258,3 |
202,5 |
113568,1 |
3154,7 |
||||||
|
720×12-FL512 |
12 |
359,0 |
281,5 |
167533,6 |
4653,7 |
588,9 |
294,3 |
230,7 |
135107,7 |
3753,0 |
||||||
|
820×10-FL512 |
820 |
10 |
1320 |
1340 |
346,6 |
271,7 |
208969,3 |
5096,8 |
652,4 |
1412,4 |
1340 |
262,6 |
205,8 |
155947,2 |
3803,6 |
|
|
820×12-FL512 |
12 |
396,7 |
311,0 |
248881,2 |
6070,3 |
651,7 |
300,5 |
235,6 |
185732,2 |
4530,1 |
||||||
|
820×14-FL512 |
14 |
446,6 |
350,1 |
288195,8 |
7029,2 |
651,1 |
338,3 |
265,3 |
215071,5 |
5245,6 |
||||||
|
1020×10-FL512 |
1020 |
10 |
1520 |
1540 |
409,4 |
321,0 |
404879,1 |
7938,8 |
778,0 |
2134,9 |
1540 |
269,3 |
211,2 |
262908,5 |
5155,1 |
|
|
1020×12-FL512 |
12 |
472,1 |
370,1 |
482948,9 |
9469,6 |
777,4 |
310,6 |
243,5 |
313603,2 |
6149,1 |
||||||
|
1020×14-FL5I2 |
14 |
534,6 |
419,1 |
560083,8 |
10982,0 |
776,8 |
351,7 |
275,7 |
363690,8 |
7131,2 |
||||||
|
1120×12-FL512 |
1120 |
12 |
1620 |
1640 |
509,8 |
399,7 |
641319,9 |
11452,0 |
840,2 |
2555,1 |
1640 |
314,7 |
246,7 |
391048,7 |
6983,0 |
|
|
1120×14-FL512 |
14 |
578,6 |
453,6 |
744155,4 |
13288,5 |
839,6 |
357,1 |
280,0 |
453753,3 |
8102,7 |
||||||
|
1220×12-FL512 |
1220 |
12 |
1720 |
1740 |
547,5 |
429,3 |
831018,8 |
13623,3 |
903,1 |
3014,6 |
1740 |
318,3 |
249,6 |
477597,0 |
7829,5 |
|
|
1220×14-FL512 |
14 |
622,5 |
488,1 |
964710,4 |
15814,9 |
902,4 |
361,9 |
283,8 |
554431,3 |
9089,0 |
||||||
|
1420×12-FL512 |
1420 |
12 |
1920 |
1940 |
622,9 |
488,4 |
1315710,00 |
18531,1 |
1028,7 |
4051,3 |
1940 |
324,4 |
254,4 |
678201,0 |
9552,1 |
|
|
1420×14-FL512 |
14 |
710,5 |
557,0 |
1528465,0 |
21527,7 |
1028,1 |
370,1 |
290,1 |
787868,6 |
11096,7 |
||||||
|
1420×16-FL512 |
16 |
797,8 |
625,5 |
1739393,0 |
24498,5 |
1027,5 |
415,5 |
325,8 |
896594,3 |
12628,1 |
||||||
1)Для замков УТ в таблице принято исполнение 1 по таблице 2. В приложении А даны формулы для расчета характеристик профилей с замками УТ исполнений 2 и 3
2)С учетом наплавленного металла (сварные швы) и L = L3
3)Даны значения Jo и Wо рядовых профилей ШТС. Для угловых профилей ШТСу эти характеристики определяют при проектировании шпунтовой стены
|
Профиль ШТС1), тип замка |
Ширина профиля, мм |
Масса, кг |
Момент сопротивления профиля Wo, см3 |
Предельная нагрузка замка, тс/п.м. |
Показатель эффективности |
|
||
|
|
|
|||||||
|
N 3) |
M 4) |
|
||||||
|
Л4 (рисунок 3) |
1156 |
249,0 |
222,3 |
4105,7 |
67,3 |
0,82 |
16,5 |
|
|
Л5 (рисунок 4) |
1186 |
275,0 |
231,9 |
4240,4 |
74,9 |
0,91 |
15,4 |
|
|
ШК-1 (рисунок 5) |
1118 |
224,7 |
197,7 |
3924,6 |
306,7 |
3,71 |
17,5 |
|
|
УТ |
916 |
262,0 |
246,0 |
4080 |
120,0 |
1,45 |
15,6 |
|
|
FL-511 (рисунок 9) |
1240 |
244,1 |
200,1 |
3911,8 |
445,0 |
5,4 |
16,0 |
|
|
JIS 55302) |
778 |
219,0 (труба) |
281,0 |
4780 |
82,5 |
1,0 |
17,0 |
|
1)В таблице приведены сравнительные
характеристики шпунтовых стен из ШТС на основе труб диаметром
2)В Стандарте Японии JIS 5530 ШТС на основе трубы диаметром
3)N - показатель эффективности замкового соединения ШТС, предельная разрывающая нагрузка для замкового соединения профиля / то же для JIS 5530;
4)М - показатель эффективности использования стали в профиле ШТС, момент сопротивления (табл. 1, Wo) см3/ масса 1м длины ШТС в кг.
В.1 Необходимую минимальную энергию удара молота Eh, кДж, следует определять по формуле
Еh = 0,045N, (В.1)
где N - расчетная нагрузка, передаваемая на ШТС, кН.
Принятый тип молота с расчетной энергией удара Ed > Еh, кДж, должен удовлетворять условию
(В.2)
где К - коэффициент применимости молота, значения которого приведены в табл. 1;
m1 - масса молота, т;
m2 - масса ШТС с наголовником, т;
m3 - масса подбабка, т.
Таблица В.1
|
Тип молота |
Коэффициент К, т/кДж |
|
Трубчатые дизель-молоты и молоты двойного действия |
0,55 |
|
Молоты одиночного действия и штанговые дизель-молоты |
0,4 |
|
Подвесные молоты и гидромолоты |
0,25 |
|
Примечание - При погружении свай любого типа с подмывом, а также ШТС из стальных труб с открытым нижним концом указанные значения коэффициентов увеличиваются в 1,5 раза. |
|
В.2 При забивке наклонных ШТС расчетную энергию молота Еh, следует определять с учетом повышенного коэффициента, значение которого принимается для ШТС с наклоном 5:1; 4:1; 3:1; 2:1 равным соответственно 1,1; 1,15; 1,25; и 1,4.
При выборе молота для забивки ШТС значение N определяется расчетом так же, как и для ШТС, в соответствии с указаниями СНиП 2.02.05-85, причем значения коэффициентов условия работ γс, γcR и γсf при этом расчете следует принимать равными 1,0.
В.3 Выбранный в соответствии с
рекомендациями В.1 молот следует проверить на минимально допустимый отказ
свайного элемента Smin, который принимается равным минимально
допустимому отказу для данного типа молота, указанному в его техническом паспорте,
но не менее
Выбор молота при забивке ШТС длиной свыше
В.4 Забивку ШТС до проектных отметок следует выполнять, как правило, без применения лидерных скважин и без подмыва путем использования соответствующего сваебойного оборудования. Применение лидерных скважин допускается только в тех случаях, когда для погружения ШТС до проектных отметок требуются молоты с большой массой ударной части, а также при прорезке сваями просадочных грунтов.
Значение необходимой энергии удара молота Eh, кДж, обеспечивающей погружение ШТС до проектной отметки без дополнительных мероприятий, следует определять по формуле
(В.3)
где Fi - несущая способность ШТС в пределах i-гo слоя грунта, кН;
Hi - толщина i-го слоя грунта, м;
Bi - число ударов молота, необходимое для погружения ШТС, принимаемое обычно равным не более 500 ударов;
n - параметр, принимаемый равным n = 4,5 при паровоздушных механических и штанговых дизель-молотах и h = 5,5 при трубчатых дизель-молотах;
m2 - масса ШТС, т;
m4 = масса ударной части молота, т.
В.5 При проверке контрольных отказов в случаях, когда в проекте дана только расчетная нагрузка на ШТС N, кН, несущую способность ШТС Fd, кН, следует принимать равной
Fd = γkN, (B.4)
где γk - коэффициент надежности, равный 1,25.
Г.1 Значение необходимой вынуждающей силы вибропогружателя Fo, кН, определяют по формуле
(Г.1)
где Fd - сопротивление грунта погружению шпунта, кН, определяемое так же, как и несущая способность сваи в соответствии с указаниями СНиП 2.02.03, при этом расчётные значения периметра сечения шпунта и площади нижнего торца принимаются по приложению А;
Gn - суммарный вес вибросистемы, включая динамический вес вибропогружателя, зажимов и панели, кН;
Gc - статический вес вибропогружателя, кН;
Gk - вдавливающее усилие на панель от копра, кН;
Ks - коэффициент снижения бокового сопротивления грунта во время вибропогружения, принимаемый по таблице Г.1.
Г.2 По принятой необходимой вынуждающей силе Fo следует подбирать тот вибропогружатель наименьшей мощности, у которого статический момент массы дебалансов Кm (или промежуточное значение Кm для вибропогружателя с регулируемыми параметрами), кг×м, удовлетворяет условию
Кm3МсАо/100, (Г.2)
где Мс - суммарная масса вибросистемы, включая динамическую массу вибропогружателя, зажимов и шпунтины, кг;
Ао - необходимая амплитуда колебаний вибросистемы при отсутствии сопротивления грунта, см; принимается по таблице Г.2.
При окончательном выборе типа вибропогружателя следует учитывать, что при равной вынуждающей силе большей погружающей способностью обладает вибропогружатель с большим статическим моментом массы дебалансов Кm , а при прочих равных условиях следует выбирать вибропогружатель с регулируемыми в процессе работы параметрами.
Таблица Г.1 Коэффициент снижения бокового сопротивления грунта Ks
|
Коэффициент Ks для грунтов |
||||||||
|
песчаных влажных средней плотности |
||||||||
|
гравелистых |
крупных |
средних |
пылеватых |
мелких |
||||
|
2,6 |
3,2 |
4,9 |
5,6 |
6,3 1 |
||||
|
глинистых с показателем текучести IL |
||||||||
|
0 |
0,1 |
0,2 |
0,3 |
0,4 |
0,5 |
0,6 |
0,7 |
0,8 |
|
1,3 |
1,4 |
1,5 |
1,7 |
2,0 |
2,5 |
3,0 |
3,3 |
3,5 |
|
Примечания: 1 Для водонасыщенных крупных песков значения Ks увеличиваются в 1,2 раза, средних песков - в 1,3 раза, мелких и пылеватых - в 1,5 раза. 2 Для заиленных песков значения Кs понижаются в 1,2 раза. 3 Для плотных песков значения Кs понижаются в 1,2 раза, а для рыхлых - увеличиваются в 1,1 раза. 4 Для промежуточных значений показателей текучести глинистых грунтов значения Кs определяются интерполяцией. 5 При слоистом напластовании грунтов коэффициент Кs определяется, как средневзвешенный по глубине. |
||||||||
Таблица Г.2 Необходимая амплитуда вибросистемы при отсутствии сопротивления грунта
|
Характеристика прорезаемых шпунтом грунтов |
Аo, см, при глубине погружения панели: |
|
|
до
|
свыше
|
|
|
Водонасыщенные пески и супеси, илы, мягко- и текучепластичные, пылевато-глинистые грунты с показателем текучести IL > 0,5 |
0,35 |
0,45 |
|
Влажные пески, супеси, тугопластичные, пылевато-глинистые грунты с показателем текучести IL > 0,3 |
0,5 |
0,6 |
|
Полутвердые и твердые, пылевато-глинистые грунты, гравелистые маловлажные плотные пески |
0,7 |
0,8 |
|
Примечание - При слоистом напластовании грунтов значение Аo принимается для слоя самого прочного грунта из числа прорезаемых слоев. |
||
А. При приёмке разбивочных работ
1. Схемы разбивки и привязки к опорным пунктам (или к магистральной линии) основных осей сооружения.
2. Каталог геодезических знаков.
3. Журналы измерений углов и линий.
4. Журналы нивелировки.
Б. При приёмке шпунтовой стенки
1. Проектные чертежи с геологическими (гидрогеологическими) профилями.
2. Рабочие чертежи шпунтовых элементов.
3. Исполнительный схематический план забитых шпунтовых элементов с указанием на нем границ сдаваемого участка, основных разбивочных линий, величин отклонений в плане забитых шпунтовых элементов от проектного положения.
4. Продольные профили по линиям забитых шпунтин с указанием фактических и проектных отметок низа и верха шпунтин.
5. Результаты динамических и статических испытаний ШТС.
6. Паспорта заводов-изготовителей на шпунтовые элементы.
7. Акты освидетельствования шпунтовых элементов до их погружения в грунт.
8. Акты освидетельствования и приемки шпунтовой стенки.
9. Журналы забивки ШТС.
10. Сводная ведомость забитых ШТС.
11. Журналы погружения шпунтины.
12. Журналы вибропогружения ШТС.
13. Сводная ведомость погружения ШТС.
Ключевые слова: стандарт, шпунт трубчатый сварной, производство работ, стена, вибропогружение, забивка.