|
МЕЖГОСУДАРСТВЕННЫЙ
СОВЕТ ПО СТАНДАРТИЗАЦИИ, МЕТРОЛОГИИ И СЕРТИФИКАЦИИ INTERSTATE
COUNCIL FOR STANDARDIZATION, METROLOGY AND CERTIFICATION |
|
|
межгосударственный стандарт |
ГОСТ |
Акустика
ОПРЕДЕЛЕНИЕ УРОВНЕЙ ЗВУКОВОЙ
МОЩНОСТИ ИСТОЧНИКОВ ШУМА
ПО ИНТЕНСИВНОСТИ ЗВУКА
Часть 3
Точный метод для измерения сканированием
(ISO 9614-3:2002, MOD)
|
|
Москва Стандартинформ 2007 |
Предисловие
Цели, основные принципы и основной порядок проведения работ по межгосударственной стандартизации установлены ГОСТ 1.0-92 «Межгосударственная система стандартизации. Основные положения» и ГОСТ 1.2-97 «Межгосударственная система стандартизации. Стандарты межгосударственные, правила и рекомендации по межгосударственной стандартизации. Порядок разработки, принятия, применения, обновления и отмены»
Сведения о стандарте
1 ПОДГОТОВЛЕН Открытым акционерным обществом «Научно-исследовательский центр контроля и диагностики технических систем» (ОАО «НИЦ КД») на основе собственного аутентичного перевода стандарта, указанного в пункте 4
2 ВНЕСЕН Федеральным агентством по техническому регулированию и метрологии
3 ПРИНЯТ Межгосударственным советом по стандартизации, метрологии и сертификации (протокол № 30 от 7 декабря 2006 г.)
За принятие стандарта проголосовали:
|
Краткое наименование страны по МК (ИСО 3166) 004-97 |
Код страны |
Сокращенное наименование национального органа |
|
Армения |
AM |
Минторгэкономразвития |
|
Казахстан |
KZ |
Госстандарт Республики Казахстан |
|
Кыргызстан |
KG |
Кыргызстандарт |
|
Молдова |
MD |
Молдова-Стандарт |
|
Российская Федерация |
RU |
Федеральное агентство по техническому регулированию и метрологии |
|
Таджикистан |
TJ |
Таджикстандарт |
|
Украина |
UA |
Госпотребстандарт Украины |
4 Настоящий стандарт является модифицированным по отношению к международному стандарту ИСО 9614-3:2002 «Акустика. Определение уровней звуковой мощности источников шума по интенсивности звука. Часть 3. Прецизионный метод для измерения сканированием» (ISO 9614-3:2002 «Acoustics - Determination of sound power levels of noise sources using sound intensity - Part 3: Precision method for measurement by scanning») путем внесения технических отклонений, объяснение которых приведено во введении к настоящему стандарту.
Отличия настоящего стандарта от примененного в нем международного стандарта ИСО 9614-3:2002 указаны во введении
5 Приказом Федерального агентства по техническому регулированию и метрологии от 5 июня 2007 г. № 118-ст межгосударственный стандарт ГОСТ 30457.3-2006 (ИСО 9614-3:2002) введен в действие в качестве национального стандарта Российской Федерации с 1 октября 2007 г.
6 ВВЕДЕН ВПЕРВЫЕ
Содержание
Введение
Настоящий стандарт имеет следующие технические отклонения от примененного в нем международного стандарта ИСО 9614-3:2002:
- международные стандарты МЭК 60942:1998, МЭК 61043:1993, а также Руководство по выражению неопределенности измерений (GUM) из раздела «Нормативные ссылки» перенесены в структурный элемент «Библиография» в связи с тем, что эти стандарты не введены как межгосударственные;
- из структурного элемента «Библиография» удалены источники, на которые отсутствуют ссылки в тексте стандарта;
- определения терминов 3.3 - 3.5, 3.6.1 - 3.6.4, 3.10, 3.14.4, состоящие из нескольких фраз и содержащие формулы с пояснениями, приведены в виде одного предложения; при этом не вошедшие в определение термина пояснения и формулы оформлены как примечания к термину;
- добавлено примечание к термину 3.9;
- в соответствии с техническим содержанием вводимых понятий термины 3.14.3 и 3.14.4 уточнены путем добавления слов «нормальной составляющей»;
- термин 3.14.4 международного стандарта, дающий определение сразу двум величинам, в настоящем стандарте представлен двумя терминами 3.14.4 и 3.14.5.
В некоторых случаях изменен стиль изложения в соответствии с нормами русского языка и внесены отдельные уточняющие слова и выражения, облегчающие применение стандарта. Указанные изменения выделены курсивом.
МЕЖГОСУДАРСТВЕННЫЙ СТАНДАРТ
|
Акустика ОПРЕДЕЛЕНИЕ УРОВНЕЙ ЗВУКОВОЙ МОЩНОСТИ ИСТОЧНИКОВ ШУМА ПО ИНТЕНСИВНОСТИ ЗВУКА Часть 3 Точный метод для измерения сканированием Acoustics. Determination of sound power levels of noise sources using sound intensity. Part 3. Precision method for measurement by scanning |
Дата введения - 2007-10-01
1.1 Настоящий стандарт устанавливает метод измерения составляющей вектора интенсивности звука, нормальной к измерительной поверхности, выбранной так, что она охватывает источник(и) шума, уровень звуковой мощности которого подлежит определению.
Поверхность интегрирования нормальной составляющей вектора интенсивности разбивается на смежные участки и производится сканирование акустическим зондом каждого такого участка поверхности вдоль непрерывной траектории, проходящей через все участки. Измерительный прибор определяет усредненную нормальную составляющую интенсивности и средний квадрат звукового давления за каждое сканирование. Процесс сканирования может выполняться как вручную, так и посредством механической системы.
Взвешенный в октавной или более широкой полосе частот уровень звуковой мощности вычисляется по измеренным в 1/3-октавных полосах величинам. Настоящий метод применим к любому источнику, для которого можно определить фиксированную измерительную поверхность, и шум которого, а также шум других внешних источников являются постоянными (стационарными во времени). Источник определяется выбором измерительной поверхности. Данный метод применим при определенных условиях испытаний, удовлетворяющих требованиям настоящего стандарта.
Настоящий стандарт устанавливает некоторые вспомогательные процедуры, описанные в приложении С, выполняемые совместно с определением звуковой мощности. Полученные результаты используются для оценки качества измерений и для оценки точности. Если качество измерений не удовлетворяет требованиям настоящего стандарта, то метод испытаний должен быть изменен указанным способом. Стандарт не применим в частотных диапазонах, в которых при измерениях получается отрицательная звуковая мощность источника.
1.2 Условия работы источника шума по настоящему стандарту не должны быстро изменяться, чтобы точность измерения интенсивности звука не ухудшилась до неприемлемой величины, а акустический зонд не должен подвергаться действию газовых потоков, имеющих недопустимо большую скорость или нестабильность (см. 5.2.2, 5.3 и 5.4).
Метод настоящего стандарта непригоден для определения уровня звуковой мощности источника шума в случаях, когда, например, уровни внешнего шума могут превышать динамический диапазон измерительной аппаратуры или чрезмерно изменяться во время измерений.
В настоящем стандарте использованы нормативные ссылки на следующие стандарты:
ГОСТ 17168-82 Фильтры электронные октавные и третьоктавные. Общие технические требования и методы испытаний (МЭК 61260:1995 «Электроакустика. Октавные и дробно-октавные полосовые фильтры», NEQ)
ГОСТ 17187-81 Шумомеры. Общие технические требования и методы испытаний (МЭК 61672-1:2002 «Электроакустика. Шумомеры. Часть 1. Требования», NEQ)
Примечание - При пользовании настоящим стандартом целесообразно проверить действие ссылочных стандартов по указателю «Национальные стандарты», составленному по состоянию на 1 января текущего года, и по соответствующим информационным указателям, опубликованным в текущем году. Если ссылочный стандарт заменен (изменен), то при пользовании настоящим стандартом следует руководствоваться заменяющим (измененным) стандартом. Если ссылочный стандарт отменен без замены, то положение, в котором дана ссылка на него, применяется в части, не затрагивающей эту ссылку.
В настоящем стандарте применены следующие термины с соответствующими определениями:
3.1 уровень звукового давления Lp, дБ (sound pressure level): Десять десятичных логарифмов отношения среднего квадрата звукового давления к квадрату опорного давления.
Примечание - Опорное звуковое давление равно 20 мкПа.
3.2 мгновенная интенсивность звука
, Вт/м2
(instantaneous sound intensity): Мгновенное значение потока звуковой энергии,
проходящего через единичную площадку за единицу времени в направлении локальной
скорости частиц стационарного во времени звукового поля.
Примечание - Мгновенная интенсивность звука - векторная величина, которую вычисляют по формуле
|
|
(1) |
где p(t) - мгновенное звуковое давление в точке, Па;
- соответствующая мгновенная скорость частиц в той
же точке, м/с;
t - время, с.
3.3 интенсивность звука
, Вт/м2
(sound intensity): Усредненное по времени значение мгновенной
интенсивности в стационарном во времени звуковом поле.
Примечания
1 Интенсивность звука вычисляют по формуле
|
|
(2) |
где T- интервал интегрирования, с;
2 Кроме этого используют следующие обозначения:
I - амплитуда вектора интенсивности
. В настоящем стандарте знаки выбраны так, что поток энергии,
исходящий от источника звука и проходящий через измерительную поверхность,
измеряется как положительная величина;
|I| - модуль
вектора
.
3.4 нормальная составляющая интенсивности звука
In, Вт/м2 (normal sound intensity): Компонента вектора
интенсивности звука в направлении нормали к измерительной поверхности,
определяемой единичным вектором нормали
.
Примечание - Нормальная составляющая интенсивности звука определяется по формуле
|
|
(3) |
где
- единичный вектор
нормали, направленный наружу по отношению к объему, охватываемому измерительной
поверхностью.
3.5 уровень нормальной составляющей
интенсивности звука
, дБ (normal sound intensity level): Логарифмическая
мера модуля нормальной составляющей интенсивности звука|In|.
Примечания
1 Уровень нормальной составляющей интенсивности звука вычисляется по формуле
|
|
(4) |
где I0 - опорная интенсивность звука (I0 = 10-12 Вт/м2).
2 Когда In отрицательна, уровень выражается как (-)ХХдБ, кроме
ситуации, когда он используется в оценке
(см. 3.10).
3.6 Звуковая мощность
3.6.1 звуковая мощность элемента поверхности Рi, (partial sound power): Усредненный по времени поток звуковой энергии через элемент измерительной поверхности с номером i.
Примечания
1 Звуковую мощность элемента поверхности вычисляют по формуле
где
- средняя нормальная
составляющая интенсивности звука, измеренная на элементе поверхности с номером i измерительной поверхности, взятая с учетом знака
элемента поверхности;
Sj - площадь i-гo элемента поверхности.
2 Величину
, вычисляют через усредненный уровень нормальной составляющей
интенсивности
, дБ, для i-го элемента
поверхности по формуле
|
|
(6) |
3 Если усредненный уровень нормальной составляющей интенсивности
, дБ, для i-го элемента поверхности
- отрицательная величина, то
, вычисляют по формуле
|
|
(7) |
3.6.2 звуковая мощность Р, Вт (sound power): Полная звуковая мощность, генерируемая источником и определяемая по методу настоящего стандарта.
Примечание - Звуковую мощность определяют по формуле
где N - общее число элементов измерительной поверхности.
3.6.3 уровень звуковой мощности LW, дБ (sound power level): Логарифмическая мера звуковой мощности, генерируемой источником, как определено по настоящему стандарту.
Примечания
1 Уровень звуковой мощности определяется по формуле
где Р0 - опорная звуковая мощность (= 10-12 Вт).
2 Когда Р отрицательна, уровень выражается как (-)ХХдБ только для записи в протокол измерений.
3.6.4 нормализованный уровень звуковой мощности Lwo, дБ (normalized sound power level): Уровень звуковой мощности при нормальных метеорологических условиях (температура Θ0 = 23°С, барометрическое давление В0 = 101325 Па).
Примечания
1 Нормализованный уровень звуковой мощности вычисляют по формуле
где Θ - температура воздуха во время проведения измерений, °С;
B - барометрическое давление во время проведения измерений, Па.
2 См. приложение Н.
3.7 Поверхности
3.7.1 измерительная поверхность (measurement surface): Гипотетическая поверхность, на которой проводят измерения интенсивности, охватывающая испытуемый источник звука полностью или частично примыкающая к акустически жесткой непрерывной поверхности, ограждающей испытуемый источник.
Примечание - В случаях, когда гипотетическая поверхность пересекается телами, обладающими твердыми поверхностями, измерительная поверхность оканчивается линией ее пересечения с поверхностями этих тел.
3.7.2 элемент поверхности (partial surface): Одна из множества небольших поверхностей, на которые разбивается измерительная поверхность, и на которой определяют звуковую мощность элемента поверхности (см. рисунок 1).
3.7.3 сегмент (segment): Одна из малых поверхностей, на которые разбивают элемент поверхности (см. рисунок 2).
Примечание - Понятие «сегмент» вводят для определения траектории и времени сканирования по элементу поверхности.
3.8 интенсивность звука посторонних источников (extraneous intensity): Вклад в измеренную интенсивность звука от источников, внешних по отношению к измерительной поверхности (источники, работающие снаружи объема, ограниченного измерительной поверхностью).
3.9 акустический зонд для измерения интенсивности звука (акустический зонд) (probe): Часть системы измерения интенсивности звука, включающая измерительные микрофоны.
Примечание - Измерительная часть акустического зонда может быть реализована с помощью двух ненаправленных микрофонов давления или комбинированного измерителя давления и градиента давления.
3.10 показатель «давление - остаточная
интенсивность»
, дБ (pressure-residual intensity index): Разность
между измеренными уровнями Lp и LIδ в случае, когда акустический зонд расположен и
ориентирован в звуковом поле таким образом, что измеряемая интенсивность звука равна
нулю.
Примечания
1 Показатель «давление - остаточная интенсивность» вычисляют по формуле
|
|
(11) |
где LIδ - уровень остаточной интенсивности звука Iδ , вычисляемый по формуле
|
|
(12) |
2 Особенности определения
приведены в [2].
3.11 показатель динамической способности Ld, дБ (dynamic capability index): Индекс, вычисляемый по формуле
|
|
(13) |
Примечание - Для измерений в соответствии с настоящим
стандартом показатель точности К = 10дБ.
соответствует
расстоянию между микрофонами акустического зонда, используемого при измерениях.
3.12 стационарный сигнал (stationary signal): Сигнал, усредненные характеристики которого за время измерений на одном элементе измерительной поверхности не изменяются при увеличении времени усреднения до времени, необходимого для измерений на всей измерительной поверхности.
3.13 Сканирование
3.13.1 сканирование (scan): Непрерывное движение акустического зонда вдоль заданной траектории по элементу измерительной поверхности.
3.13.2 плотность линий сканирования (scan-line density): Величина, обратная среднему расстоянию между соседними линиями сканирования.
3.13.3 время сканирования TS (scanning time): Время, необходимое для однократного сканирования одного элемента поверхности вдоль заданной на нем траектории сканирования.
3.14 Средства измерений и сбор данных
3.14.1 режим мгновенных измерений (instantaneous mode): Режим реального времени измерительного прибора, в котором непрерывно измеряют последовательные во времени значения интенсивности и квадрата звукового давления и запоминают в памяти прибора 1/3-октавные значения интенсивности и квадрата звукового давления.
3.14.2 измерительный интервал Δt (measurement interval): Короткий интервал времени, на котором непрерывно усредняются последовательные значения интенсивности и давления.
Примечание - Этот интервал времени ограничен скоростью обработки и сохранения данных.
3.14.3 временные последовательности нормальной составляющей интенсивности звука Inq и квадрата звукового давления р2q (time-series of intensity and squared pressure): Последовательность усредненных на коротком интервале времени значений нормальной составляющей интенсивности и квадрата звукового давления, взятые в дискретные отсчеты времени q Δt (q = 1, 2, 3, ...Q) (см. рисунок 3).
3.14.4 усредненная по
времени нормальная составляющая интенсивности звука
(time-averaged sound intensity): Усредненная на интервале
времени [(m – 1) T, mT], m = 1, 2, 3, ... М нормальная составляющая интенсивности звука.
Примечание -
вычисляют по формуле
|
|
(14) |
где Q - число величин Inq на интервале [(m - 1) T, mТ], m = 1, 2, (см. рисунок 3).
3.14.5 усредненный по времени квадрат звукового
давления
(squared pressure): Усредненный на интервале
времени [(m – 1) T, mT], m = 1, 2, 3, ... М квадрат звукового
давления.
Примечания
1
определяется по формуле
|
|
(15) |
где Q - число величин р2q, которые приходятся на интервал [(m - 1) T, mТ] (см. рисунок 3).
2 При оценке FT интервалы усреднения нормальной составляющей интенсивности и квадрата звукового давления на периоде T могут отстоять друг от друга (не перекрываться).
4.1 Размер испытуемого источника звука
Размер испытуемого источника звука неограничен при условии, что выполняются все критерии, указанные в приложении С. Протяженность источника звука определяется выбором измерительной поверхности.
4.2 Характер звука, излучаемого источником
Сигнал должен быть стационарным во времени, как определено в 3.12. Во время измерений следует избегать действия нестационарных источников внешнего шума, наличие которых можно предсказать (см. таблицу С.1).
4.3 Неопределенность измерений
Уровень звукового давления излучения источника шума, определенный методами настоящего стандарта, отличается от истинного значения. Реальное отличие нельзя оценить точно, однако можно с уверенностью полагать, что вычисленное значение уровня звуковой мощности лежит внутри определенной области около истинного значения, если величины, получаемые при многократных измерениях, являются по предположению нормально распределенными около истинного значения. Когда повторяющиеся измерения выполняют с источником шума, расположенным на заданной испытательной площадке при идентичных условиях испытаний с использованием одних и тех же методов испытаний и измерительной аппаратуры, то получаемые в таких условиях результаты измерений образуют множество данных, отвечающих понятию повторяемости измерений. Когда те же величины определяются в соответствии с настоящим стандартом при испытании данного источника шума на различных испытательных площадках с использованием физически различной аппаратуры, полученные таким образом данные соответствуют понятию воспроизводимости измерений. На воспроизводимость измерений влияют изменения методики измерений и внешние условия места испытаний. Для изменений звуковой мощности, вызванных нестабильностью режима работы источника (например, скорости вращения, напряжения питания) или условиями монтажа, стандартные отклонения не определяют.
Оценка верхней границы стандартного отклонения воспроизводимости уровней звуковой мощности, определенной в соответствии с настоящим стандартом, дана в таблице 1. Эта оценка учитывает случайные отклонения, связанные как с методом измерения, так и с погрешностями характеристик измерительных приборов, регламентируемых в [2], но исключает влияние изменений при установке, монтаже и режиме работы источника. Пока нет более точной информации о соответствующих источниках неопределенности, расширенная неопределенность измерений для доверительной вероятности 95 % в соответствии с [3] должна задаваться как удвоенное стандартное отклонение воспроизводимости, указанной в таблице 1.
Неопределенность в определении уровня звуковой мощности источника шума связана с характером звукового поля источника, с характером звукового поля посторонних источников, со звукопоглощением испытуемого источника, сформированием выборки интенсивности поля и применяемым методом измерения. В силу этого настоящий стандарт устанавливает предварительные процедуры для оценки показателей звукового поля в области предлагаемой измерительной поверхности (см. приложение В). Результаты этого предварительного испытания используются для выбора соответствующего образа действий в соответствии с таблицей С.1.
Для частот ниже 50 Гц отсутствуют данные, чтобы обосновать значение неопределенности измерений. Для целей настоящего стандарта А-корректированные величины (уровни интенсивности и звукового давления) обычно определяются в нормальном диапазоне 1 /3-октавных полос от 50 Гц до 6,3 кГц. А-корректированная величина, вычисляемая по 1/3-октавным уровням в диапазоне от 50 Гц до 6,3 кГц, является корректной, если отсутствуют значимые уровни в полосах от 31 до 40 Гц и от 8 до 10 кГц. С целью выполнения такой оценки значимыми уровнями считают полосовые уровни (уровни в частотных полосах), которые после коррекции по характеристике А имеют значения не более чем на 6 дБ ниже вычисленной А-корректированной величины. Если А-корректированные измерения и соответствующие уровни звуковой мощности определяются в более узком диапазоне, этот диапазон следует определять в соответствии с перечислением b раздела 10. Если требуется определить только А-корректированные величины, любой одиночный А-корректированный полосовой уровень может быть исключен из рассмотрения, если он ниже максимального в диапазоне частот А-корректированного полосового уровня на 10 дБ и более. Если появляются два и более незначительных полосовых уровня, ими можно пренебречь, если уровень суммы А-корректированных звуковых мощностей в этих полосах ниже на 10 дБ и более максимального в диапазоне частот А-корректированного полосового уровня. Если требуется только общая корректированная по характеристике А звуковая мощность, неопределенность определения уровня звуковой мощности в любой полосе, в которой он на 10 дБ и более ниже общего корректированного по характеристике А уровня, не вычисляют.
Таблица 1 - Верхняя оценка стандартного отклонения воспроизводимости уровней звуковой мощности
|
Среднегеометрическая частота |
Максимальное значение стандартного отклонения |
|
От 50 до 160 |
2,0 |
|
» 200 » 315 |
1,5 |
|
» 400 » 5000 |
1,0 |
|
6300 |
2,0 |
|
А - взвешенноеа) |
1,0b) |
|
а) Вычисляют по значениям в 1/3-октавных полосах от 50 Гц до 6,3 кГц. b) Применимо к источнику, который излучает звук с относительно «плоским» спектром в частотном диапазоне от 50 Гц до 6,3 кГц в 1/3-октавных полосах. |
|
Примечания
1 Если одни и те же операторы используют схожее оборудование и аппаратуру, результаты определения звуковой мощности данного источника в данном месте измерения могут, вероятно, иметь меньшее стандартное отклонение, чем указанные в таблице 1.
2 Для источников шума, принадлежащих одному семейству, имеющих близкие размеры и похожие спектры звуковой мощности, работающих в сходных внешних условиях и испытываемых согласно соответствующему стандарту по испытаниям на шум, стандартное отклонение воспроизводимости будет меньше, чем указанные в таблице 1. Статистические методы для определения параметров выборки машин описаны в [4].
3 Методы настоящего стандарта и устанавливаемые таблицей 1 стандартные отклонения применимы к испытаниям конкретного одиночного источника. Определение уровней звуковой мощности группы источников того же семейства или типа включает использование процедуры случайного отбора, в которой задаются доверительные интервалы, и результаты выражаются в терминах статистических верхних границ. При использовании этих процедур общее стандартное отклонение или известно, или оценивается, включая стандартное отклонение типа машин, являющееся мерой изменения звуковой мощности между отдельными машинами внутри группы, как определено в [4].
5.1 Критерий адекватности условий испытаний
Условия испытаний должны способствовать выполнению принципов измерения интенсивности звука с применением специальной аппаратуры по [2]. Дополнительно они должны удовлетворять требованиям 5.2 - 5.5.
5.2 Интенсивность посторонних источников
5.2.1 Уровень интенсивности посторонних источников
Уровень интенсивности посторонних источников не должен ухудшать точность измерений до неприемлемой величины (см. С.1.4).
Примечание - Если испытуемый источник включает значительное количество поглощающих материалов, то оценка его звуковой мощности может быть занижена наличием посторонних источников высокой интенсивности. В приложении А приведены указания по оценке результирующей ошибки в специальном случае, когда испытуемый источник может быть выключен.
5.2.2 Нестабильность интенсивности посторонних источников
Во время измерений следует избегать изменения интенсивности посторонних источников специальными мерами (например, отключением источников постороннего шума, которые не являются необходимыми для работы испытуемого источника; повышением квалификации персонала, проводящего испытания) и выбором подходящего времени измерений.
5.3 Ветер и газовые потоки
При наличии воздушных потоков на измерительной поверхности для акустического зонда допускается применять ветровой экран. Измерения не проводят, когда ветер или газовые потоки в непосредственной близости от акустического зонда превышают пределы, установленные производителем измерительной системы. Скорость ветра относительно акустического зонда не должна превышать 1 м/с.
В приложении D описаны негативные последствия воздействия потока и турбулентности на измерение интенсивности.
5.4 Температура
Акустический зонд размещают не ближе 20 мм от тел, имеющих температуру, отличную от температуры окружающего воздуха.
Примечание - Действие температурных градиентов вдоль оси акустического зонда может вызвать появление зависящих от времени изменений передаточных функций микрофонов зонда (индивидуальных для каждого микрофона), которые приведут к систематической ошибке в оценке интенсивности звука.
5.5 Конфигурация испытательного пространства
Во время проведения измерений конфигурация испытательного пространства должна оставаться неизменной, за исключением места операторов, управляющих положением акустического зонда. Это особенно важно, если источник излучает шум, имеющий тональный характер. Случаи неизбежного изменения внешней обстановки следует отражать в протоколе измерений. По возможности следует избегать положений оператора на оси или вблизи оси акустического зонда во время проведения измерений на любой поверхности. Все посторонние объекты вблизи источника должны быть удалены, если это практически выполнимо.
5.6 Атмосферные условия
Давление и температура воздуха влияют на его плотность и скорость звука. Следует установить величину воздействия этих факторов на калибровку измерительной аппаратуры и сделать соответствующие поправки к измеренным значениям интенсивности [2].
6.1 Общие положения
Для измерений интенсивности звука применяют измерительную аппаратуру и акустический зонд, удовлетворяющие требованиям для приборов 1-го класса по [2]. Аппаратуру измерения интенсивности звука настраивают для измерений при атмосферном давлении и температуре в соответствии с [2]. Для каждой полосы измерений регистрируют значение показателя «давление - остаточная интенсивность», как определено в [2].
Аппаратура должна позволять регистрацию последовательных во времени измерений интенсивности звука и квадрата звукового давления, а также усредненные по времени значения этих величин (см. 3.14 и рисунок 3).
6.2 Калибровка и проверка звукового поля
6.2.1 Полная поверка измерительной аппаратуры
Проводят поверку измерительной аппаратуры, включая акустический зонд, по [2] либо один раз в год в соответствующей аттестованной лаборатории, либо не реже чем в два года, если калибратор интенсивности применяют при каждом определении звуковой мощности. Регистрируют результаты калибровки в соответствии с перечислением d раздела 10.
С целью проверки пригодности измерительной аппаратуры для проведения каждой серии измерений либо применяют методику проверки акустического поля, предписанную производителем, либо, если нет такой методики, используют методику по 6.2.2 и 6.2.3, чтобы обнаружить нарушения в измерительной системе, вызванные, например, условиями транспортирования и т.п.
6.2.2 Уровень звукового давления
Определяют чувствительность каждого микрофона акустического зонда, используя калибратор класса 0 или 1, или 0L или 1L в соответствии с [1].
Располагают акустический зонд на измерительной поверхности, ориентируя его ось по нормали к поверхности, в точке, где общая линейная интенсивность звука выше средней интенсивности на поверхности. Измеряют уровень нормальной составляющей интенсивности звука во всех частотных полосах, выбранных для измерения. Поворачивают акустический зонд на 180° вокруг оси, перпендикулярной к оси измерений, и совмещают его акустический центр с положением акустического центра при первом измерении. Снова измеряют интенсивность звука. Закрепляют акустический зонд в первоначальном положении (до вращения). Для максимальных уровней, измеренных в 1/3-октавных полосах, два значения интенсивности Iп должны иметь противоположные знаки, и разность между этими двумя уровнями интенсивности должна быть меньше 1,0 дБ во всех допустимых для измерительного оборудования частотных полосах.
6.3 Временные последовательности интенсивности звука и звукового давления
Измерительная аппаратура должна иметь способность запоминать результаты непрерывных последовательных во времени измерений интенсивности и квадрата звукового давления для временного интервала, по крайней мере не меньшего, чем требуемое время сканирования TS, и интервала времени, требуемого для определения показателя временной нестабильности FT в соответствии с 8.3.2. Измерительный интервал Δt должен быть равен или меньше 0,5 с. Если в качестве измерительного средства используется спектральный анализатор на основе быстрого преобразования Фурье, он должен быть способен сохранять данные в окне Хэннинга с перекрытием не менее 30 % (см. рисунок 3 и приложение G).
7.1 Общие положения
Для машин и оборудования конкретных видов установку и размещение источника производят в соответствии со стандартом на испытания по шуму, или, если такого стандарта нет, способом, соответствующим его обычной работе. Следует убедиться в возможности идентифицировать источник от посторонних источников и условий окружающей обстановки.
7.2 Режим работы испытуемого источника
Используют режимы работы, определяемые соответствующим стандартом на испытания по шуму. Если такого стандарта нет, выбирают подходящие режимы работы из перечисленных ниже:
a) работа при заданных нагрузке и режиме работы;
b) работа при полной нагрузке (если этот режим отличается от предыдущего);
c) работа без нагрузки (холостой ход);
d) работа в режиме, соответствующем максимальному излучению шума, характерного при нормальной работе;
e) работа при модельной нагрузке в режиме с точно заданными параметрами;
f) работа в режиме с характерным циклом работы.
8.1 Определение измерительной поверхности
Измерительная поверхность выбирается вокруг испытуемого источника. Если сканирование выполняется вручную, то предпочтительной является поверхность в виде параллелепипеда, а каждый элемент поверхности должен быть прямоугольником (см. рисунок 1). Минимальное расстояние между элементом поверхности и поверхностью испытуемого источника должно быть больше или равно 0,25 м, за исключением поверхности, расположенной над частью источника, дающей существенный вклад в излучение всего источника, что должно быть выявлено путем измерений. Выбранная измерительная поверхность при необходимости может включать не поглощающие звук участки (коэффициент поглощения в диффузном звуковом поле менее 0,06), такие как бетонный пол или кирпичная стена. На таких поверхностях измерение интенсивности не проводят, и площади таких не поглощающих звук поверхностей исключаются при определении звуковой мощности источника в соответствии с равенством (5) (см. 3.6.1).
1- 5 - номера элементов поверхности
Рисунок 1 - Пример измерительной поверхности (параллелепипед) и элементов поверхности (прямоугольники)
8.2 Определение траекторий сканирования и сегментов
Основным элементом траектории сканирования является прямая линия. Траектория сканирования должна равномерно покрывать каждый элемент поверхности при сканировании с некоторой постоянной скоростью. Сканирование выполняют как вручную, так и при помощи механической сканирующей системы. Измеренная акустическим зондом интенсивность постороннего звука, порождаемого сканирующим механизмом на измерительной поверхности, должна быть заведомо, по меньшей мере на 20 дБ меньше, чем излучаемая испытуемым источником. Акустический зонд непрерывно перемещают вдоль заданной траектории в пределах каждого элемента поверхности. Сканирование выполняют таким образом, чтобы ось акустического зонда все время была перпендикулярна к измерительной поверхности и чтобы скорость перемещения зонда была постоянной. Некоторые участки поверхности источника, такие как щели или отверстия, могут существенно влиять на интенсивность излучаемого шума и требуют повышенного внимания в выборе траектории сканирования по соответствующим элементам измерительной поверхности.
1,2 - траектории сканирования; 3 – сегменты
Рисунок 2 - Пример двух ортогональных траекторий на прямоугольном элементе поверхности
Примечание - В данном случае число сегментов Ns = 20.
В настоящем стандарте применяют метод, в котором используют одну из двух ортогональных траекторий сканирования на каждом элементе поверхности. Перед заданием траектории сканирования разбивают элемент поверхности на сегменты, как показано на рисунке 2. Отношение Δх к Δу должно удовлетворять следующему соотношению: 0,83 ≤ Δх/Δу ≤ 1,2. Наибольшая из сторон сегмента должна быть меньше, чем половина минимального расстояния от элемента поверхности до поверхности испытуемого источника. Для всей измерительной поверхности отношение площади наибольшего сегмента к площади наименьшего сегмента должно быть меньше или равно 1,5. Начальная и конечная точки траектории сканирования обозначены на рисунке соответственно цифрами 1 и 2 (1 и 2 могут меняться местами). На угловых участках траектории сканирования линии допускается закруглять для сохранения постоянной скорости сканирования.
8.3.1 Общая методика
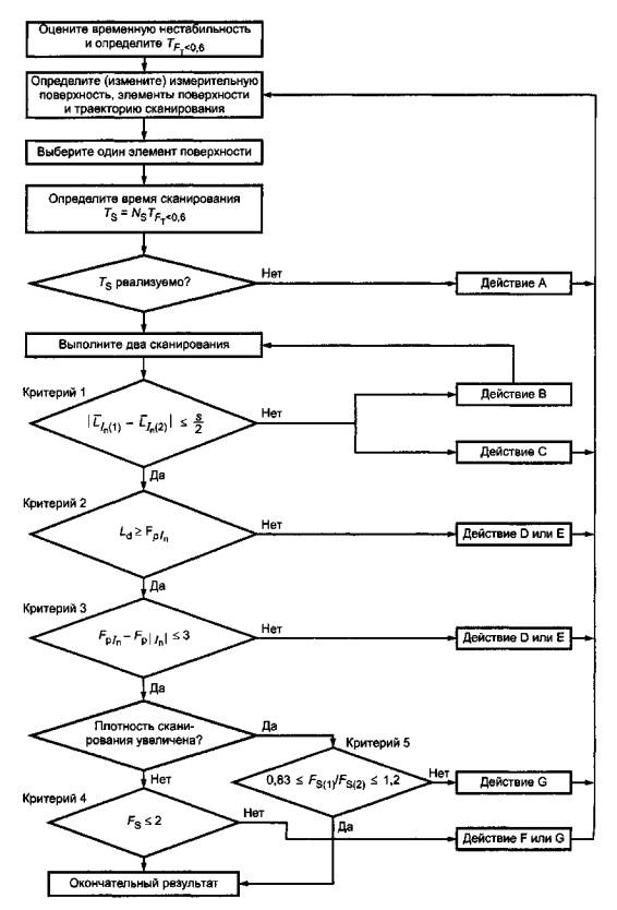
Методика измерений, обеспечивающая достижение желаемой точности, приведена в приложении С, а блок-схема алгоритма этой методики - на рисунке С.1. В настоящем стандарте используют одну из двух ортогональных траекторий сканирования для каждого элемента поверхности. На выбранной траектории сканирование выполняется дважды. Два значения уровней нормальной составляющей интенсивности, усредненные на интервале времени сканированияTS, для каждого элемента поверхности сравнивают, и если их разность лежит в пределах погрешности (критерий 1), то эти два уровня интенсивности временно принимают в качестве среднего уровня нормальной составляющей интенсивности для данного элемента поверхности. По окончании измерений на всех элементах поверхности для измерительной поверхности в целом проверяют выполнение критериев со 2-го по 5-й и, если они удовлетворяются, то уровни интенсивности, полученные для каждого элемента поверхности, используют для определения звуковой мощности источника.
В случае определения А-корректированного уровня звуковой мощности выполнения критериев 1-5 не обязательно в полосах частот, если сумма А-корректированных звуковых мощностей в этих частотных полосах меньше максимального А-корректированного полосового уровня на 10 дБ и более [см. 4.3 и 10 f) 2)].
8.3.2 Измерение временных характеристик звукового поля и определение времени сканирования
Для оценки
стационарности звукового поля на измерительной поверхности выбирают подходящую
точку измерения с высоким уровнем интенсивности. Устанавливают непрерывный
режим измерения измерительной аппаратуры и регистрируют последовательные
значения интенсивности звука Inq в течение более чем 100 с. Вычисляют средние
интенсивности
на периоде T (см. рисунок
3). Интервал времени Т должен быть не менее 1,0 с, а М обычно выбирается равным 10.
Периоды усреднения могут отстоять друг от друга. Затем, используя равенство (В.1), вычисляют показатель временной
нестабильности для различных значений Т, уменьшая его с шагом 0,5 с или
менее, находят время усреднения
, которое удовлетворяет условию FT < 0,6 для каждой 1/3-октавной полосы.
Время сканирования для каждой
операции сканирования должно быть не менее максимального из значений
для отдельной
1/3-октавной полосы (NS - число
сегментов на элементе поверхности). Если TS не может быть
определено практически как минимальное время сканирования, то выполняют
действия, указанные в таблице
С.1.
При ручном сканировании скорость сканирования не должна превышать 0,5 м/с (см. 5.3). При автоматическом сканировании с помощью системы перемещения акустического зонда должна быть обеспечена такая скорость сканирования, чтобы удовлетворялись требования по времени сканирования и уровню шума, создаваемому системой сканирования.
б) Метод быстрого преобразования Фурье (БПФ)
Рисунок 3 - Вычисление усредненных по времени интенсивностей звука
и квадратов звукового давления
, m = 1, 2, 3, ..., М на времени
усреднения Т по измеренным последовательным значениям интенсивности InQ и квадрату звукового давления p2Q
8.3.3 Измерение интенсивности звука и звукового давления на элементах поверхности, проверка воспроизводимости сканирования
Выполняют две операции сканирования на одной и той же
траектории за время сканирования TS и
дважды регистрируют последовательные значения интенсивности и квадратов
звукового давления. Реальное время сканирования TS' должно отличаться от заданного времени
сканирования TS не более чем на 20 %. Если это не так,
бракуют данные и проводят новые измерения. Для каждой операции сканирования
получают уровни интенсивностей
и
, усредненные по времени сканирования TS'. Оценивают
во всех частотных
полосах измерений и подставляют полученные значения в формулу (С.1), проверяя выполнение критерия 1 по С.1.2.
Если этот критерий удовлетворяется для обеих операций сканирования, то записывают усредненные уровни нормальной составляющей интенсивности для всех частотных полос, в которых проводились измерения:
|
|
(16) |
Кроме того, если критерий 1 выполняется, то получают усредненные по времени интенсивности и квадраты звуковых давлений, соответствующие каждому сегменту элемента поверхности. Сначала, следуя процедуре, указанной в приложении G, для каждой операции сканирования получают усредненные по времени интенсивности и квадраты звуковых давлений для каждого сегмента.
Затем выполняют усреднение по операциям сканирования для каждого сегмента. Эти данные используют для вычисления показателя неравномерности поля FS.
В случае, когда критерий 1 не выполняется, пытаются идентифицировать причины этого и устранить их, выполняя действия в соответствии с таблицей С.1.
8.3.4 Оценка пригодности измерительной аппаратуры
Оценивают показатель «давление -
интенсивность» (с учетом знака)
для всей измерительной поверхности во
всех частотных полосах измерений согласно равенству (В.6) и подставляют полученные значения в формулу (С.2), проверяя выполнение критерия 2 по С.1.4.
Если этот критерий удовлетворяется, выполняют действия, указанные в таблице
С.1.
8.3.5 Оценка присутствия сильных посторонних шумов
Оценивают показатель
«давление - модуль интенсивности»
.
8.3.6 Оценка неравномерности поля
Оценивают показатель неравномерности поля FS для всей измерительной поверхности во всех частотных полосах измерений согласно формуле (В.8) и подставляют полученные значения в формулу (С.4), проверяя выполнение критерия 4 по С.1.6.1. Если этот критерий удовлетворяется, выполняют действия, указанные в таблице С.1.
8.3.7 Дальнейшие действия
Если для всей измерительной
поверхности выполняются критерии 1 - 4, то первоначально определенную звуковую
мощность в соответствии со следующим разделом рассматривают как окончательный
результат. В противном случае действуют согласно С.2
и выполняют измерения уровней нормальной составляющей интенсивности звука и
уровней звукового давления, изменяя конфигурацию измерительной установки.
Вычисляют заново показатели FT,
,
и FS, проводят оценку в соответствии с С.1. Выполняют действия в соответствии с С.2. Повторяют всю
эту процедуру до тех пор, пока критерии по С.1
не будут выполнены.
Возможны ситуации, когда критерии 1 - 3 выполняются, а критерий 4 не выполняется. В этих случаях плотность сканирования должна быть увеличена в два раза и более. Если отношение показателей неравномерности поля, полученных в предыдущих измерениях, к показателям текущего измерения удовлетворяет критерию 5 (см. С.1.6.2), полагают, что достигнута адекватная плотность сканирования и измеренные средние уровни интенсивности для каждого элемента поверхности могут быть использованы для вычисления излучаемой мощности.
Если отношение показателей неравномерности поля FS(1), полученных в предыдущих измерениях, к показателю текущего измерения FS(2) не удовлетворяет критерию 5, следует увеличить плотность сканирования еще больше.
В случае, когда повторение действий по увеличению плотности сканирования не приводит к выполнению заданного критерия, регистрируют нулевой результат и выясняют причину неудачи, или, используя [6], получают излучаемую мощность с точностью технического или ориентировочного метода.
9.1 Вычисление звуковой мощности для каждого элемента измерительной поверхности
Вычисляют звуковую мощность элемента поверхности в каждой частотной полосе для каждого элемента измерительной поверхности по формуле (5).
9.2 Вычисление нормализованного уровня звуковой мощности
Вычисляют уровень звуковой мощности испытуемого источника Lw в каждой частотной полосе согласно формулам (8) и (9). Затем вычисляют уровень нормализованной звуковой мощности по формуле (10).
Если звуковая мощность Р отрицательна в какой-либо частотной полосе, то метод настоящего стандарта не применим в данной полосе.
В случае, когда требуется
определить A-корректированный
уровень звуковой мощности, средними уровнями нормальной составляющей
интенсивности звука
являются 1/3-октавные
уровни интенсивности, корректированные в соответствии с ГОСТ 17187. Коррекцию следует применять к
среднегеометрическим частотам, указанным в ГОСТ
17168.
Следующая информация должна быть собрана и зарегистрирована для всех измерений, выполненных в соответствии с настоящим стандартом.
a) Испытание
1) дата и место испытаний.
b) Испытуемый источник шума
1) тип;
2) технические характеристики;
3) размеры;
4) производитель;
5) серийный номер машины;
6) год выпуска;
7) описание испытуемого источника (включая основные размеры и структуру поверхности);
8) качественное описание характера источника, включая тональный или циклический характер и непостоянство;
9) условия монтажа;
10) режимы работы.
c) Акустические условия
1) описание акустических условий:
- если внутри помещения, описывают геометрию и тип ограждающих поверхностей,
- если вне помещения, приводят эскиз окружающей территории, включая описание физических условий испытаний;
2) температура воздуха, барометрическое давление и относительная влажность;
3) направление и средняя скорость ветра, при наличии;
4) любые источники нестабильности условий испытаний; описание любых устройств/мероприятий для минимизации влияния интенсивности посторонних источников и/или значительной реверберации;
5) качественное описание любых газовых/воздушных потоков и неустойчивости.
d) Средства измерений
1) измерительное оборудование, включая наименования, типы, заводские номера и наименования производителей, а также конструкцию акустического зонда;
2) методы калибровки и проверки характеристик поля;
3) место и дата калибровки и поверки измерительного оборудования;
4) форма используемого ветрозащитного экрана;
5) показатель «давление - остаточная интенсивность» в соответствии с [2].
e) Процедура измерения
1) описание монтажа или системы закрепления сканирующего механизма акустического зонда;
2) описание цикла сканирования, включая геометрию и скорость;
3) качественное описание измерительной поверхности, элементов поверхности и номеров их сегментов; должен быть представлен чертеж траекторий сканирования;
4) время сканирования для каждого элемента поверхности;
5) описание мер, необходимых для улучшения точности измерений.
f) Акустические данные
1) таблицы значений показателей FT,
,
и FS каждой
частотной полосе определения звуковой мощности, вычисленные по множеству
измерений для каждого элемента поверхности;
2) табличное представление вычисленного значения нормализованного уровня звуковой мощности испытуемого источника во всех частотных полосах измерений; если проводилось определение A-корректированного уровня звуковой мощности, следует исключить вклад частотных полос, в которых не выполняются критерии 1-4 или 1-3 и 5, с заявлением о наличии указанного эффекта в протоколе, за исключением ситуации пренебрежимо малых вкладов полосовых уровней в соответствии с 4.3;
3) результаты проверки поля с помощью изменения направления акустического зонда по 6.2.3, при необходимости;
4) неопределенность измерений.
Таблица А.1
|
Обозначение показателя |
Наименование показателя |
Единица измерения |
Обозначение пункта, приложения |
|
p(t) |
Мгновенное звуковое давление |
Па |
|
|
|
Мгновенная скорость частиц |
м/с |
|
|
ρ |
Плотность воздуха |
кг/м3 |
|
|
с |
Скорость звука |
м/с |
|
|
ρс |
Характеристический импеданс воздуха |
Па·с/м |
|
|
Θ |
Температура воздуха |
°С |
|
|
В |
Барометрическое давление |
Па |
|
|
t |
Время |
с |
|
|
Δt |
Интервал измерения |
с |
|
|
TS |
Время сканирования |
с |
|
|
|
Единичный вектор нормали, направленный наружу объема, ограниченного измерительной поверхностью |
- |
|
|
Si |
Площадь элемента поверхности с номером i |
м2 |
|
|
NS |
Число сегментов на измерительной поверхности |
- |
|
|
N |
Общее число сегментов на измерительной поверхности |
- |
|
|
p2q |
Последовательные значения квадрата звукового давления, где q = 1, 2, 3, ... , Q |
Па2 |
|
|
|
Усредненные по времени квадраты звукового давления, где m = 1, 2, 3, ... , М |
Па2 |
|
|
|
Усредненное по времени значение квадрата звукового давления, измеренное на каждом сегменте |
Па2 |
|
|
p0 |
Опорное звуковое давление (= 20 мкПа) |
Па |
|
|
|
Мгновенное значение интенсивности звука |
Вт/м2 |
|
|
|
Интенсивность звука |
Вт/м2 |
|
|
I |
Модуль
|
Вт/м2 |
|
|
|I| |
Модуль
|
Вт/м2 |
|
|
In |
Нормальная составляющая интенсивности звука |
Вт/м2 |
|
|
I0 |
Опорная интенсивность звука (= 10-12 Вт·м-2) |
Вт/м2 |
|
|
|
Амплитуда среднего значения нормальной составляющей интенсивности звука элемента поверхности, измеренная на i-м элементе измерительной поверхности |
Вт/м2 |
|
|
Inq |
Последовательные значения интенсивности, где q = 1, 2, 3, ... , Q |
Вт/м2 |
|
|
|
Усредненная по времени интенсивность звука, где m = 1, 2, 3, ... , М |
Вт/м2 |
|
|
|
Модуль усредненной по времени нормальной составляющей интенсивности, измеренной на каждом сегменте |
Вт/м2 |
|
|
|
Усредненная по времени амплитуда нормальной составляющей интенсивности звука, измеренной на каждом сегменте |
Вт/м2 |
|
|
LP |
Уровень звукового давления |
дБ |
|
|
|
Средний уровень звукового давления |
дБ |
|
|
|
Уровень нормальной составляющей интенсивности звука |
дБ |
|
|
|
Средний уровень амплитуды нормальной составляющей интенсивности звука |
дБ |
|
|
LIδ |
Уровень остаточной интенсивности звука Iδ |
дБ |
|
|
Pi |
Звуковая мощность элемента поверхности |
Вт |
|
|
P |
Звуковая мощность |
Вт |
|
|
P0 |
Опорная звуковая мощность (= 10 -12 Вт) |
Вт |
|
|
LW |
Уровень звуковой мощности |
дБ |
|
|
LW0 |
Нормализованный уровень звуковой мощности |
дБ |
|
|
|
Показатель «давление - остаточная интенсивность» |
дБ |
|
|
Ld |
Показатель динамической способности |
дБ |
|
|
K |
Показатель точности |
дБ |
|
|
FT |
Показатель временной нестабильности |
- |
|
|
|
Показатель «давление - модуль интенсивности» |
дБ |
|
|
|
Показатель «давление - интенсивность» |
дБ |
|
|
FS |
Показатель неравномерности поля |
- |
B.1 Общие положения
Вычисляют показатель поля FT в некоторой
точке измерительной поверхности и показатели
,
и FS на всей
измерительной поверхности в соответствии с В.1 - В.9
в каждой частотной полосе, используемой для определения уровня звуковой
мощности. Эти показатели получают путем обработки последовательных во времени
данных, полученных с помощью измерительной аппаратуры в режиме мгновенных
измерений (см. 3.14.1).
B.2 Определение показателей звукового поля
B.2.1 Показатель временной нестабильности звукового поля FT
Вычисляют показатель временной нестабильности FT звукового поля
в некоторой точке, выбранной на измерительной поверхности. Регистрируют
последовательные значения интенсивности Inq и получают усредненные по времени значения интенсивностей
на интервале времени T (см. 8.3). Затем вычисляют FT по формуле
|
|
(B.1) |
где
- средняя величина от
, m
= 1, 2, 3 ¼ М, вычисляемая по формуле
|
|
(B.2) |
Изменяя время усреднения Т, находят его
значение, при котором удовлетворяется неравенство FT < 0,6. Найденное
значение
используют для
определения минимального времени сканирования
элемента поверхности (NS число сегментов на элементе поверхности). Обычно М берут равным 10.
При оценке FT два интервала времени
T, используемые для
вычисления
и
, не должны перекрываться и могут отделяться друг от друга.
Примечание - В [5] показатель FT обозначен как F1.
B.2.2 Показатель «давление - модуль интенсивности» ![]()
Вычисляют показатель «давление - модуль интенсивности»
для измерительной
поверхности по формуле
|
|
(B.3) |
где
- средний уровень звукового давления,
вычисляемый по формуле
|
|
(B.4) |
где N - общее число сегментов на измерительной поверхности;
- усредненный по времени квадрат звукового давления, измеренного на
каждом сегменте;
р0 - опорное звуковое давление (= 20 мкПа);
- средний уровень модуля нормальной
составляющей интенсивности, вычисляемый по формуле
|
|
(B.5) |
где
- усредненный по времени модуль
нормальной составляющей интенсивности звука, измеренной на каждом сегменте.
Примечания
1 В [5]
(см. приложение
А) показатель «давление - модуль интенсивности»
называется показателем «давление -
интенсивность» на измерительной поверхности F2.
2 Хотя площади сегментов каждого элемента поверхности могут отличаться более чем на 50 % (см. 8.2), влиянием этого обстоятельства на выполнение соотношений (В.3) - (В.5) можно пренебречь. Это справедливо также для В.2.3 и В.2.4.
3 При использовании формул (В.3) - (В.5) общее число рассматриваемых сегментов будет равно 2Л/ вследствие повторного сканирования на каждом элементе поверхности.
B.2.3 Показатель «давление - интенсивность» ![]()
Вычисляют показатель«давление
- интенсивность»
для измерительной поверхности по
формуле
|
|
(B.6) |
где
- средний уровень звукового давления, вычисляемый
по формуле (В.4);
-средний уровень нормальной составляющей интенсивности звука с учетом
знака, вычисляемый по формуле
|
|
(B.7) |
где
- усредненная по
времени нормальная составляющая интенсивности звука с учетом знака, измеренная
на каждом сегменте.
Примечания
1 В [5] показатель
«давление - интенсивность»
назван показателем отрицательной
составляющей звуковой мощности F3. Этот
показатель эквивалентен показателю звукового поля «давление - интенсивность» FpI, задаваемому в [6]
для специального случая одинаковой площади сегментов.
2 Разность
эквивалентна
показателю отрицательной составляющей звуковой мощности F+/_, задаваемому в [6]
для специального случая одинаковой площади сегмента.
B.2.4 Показатель неравномерности поля FS
Вычисляют показатель неравномерности поля FS для измерительной поверхности по формуле
|
|
(B.8) |
где
|
|
(B.9) |
Примечание - B[5] FS обозначено как F4.
С.1 Оценка требований
При использовании настоящего стандарта акустические условия в точках измерений на исходной измерительной поверхности могут изменяться в широких пределах. Для того чтобы гарантировать верхнюю границу неопределенности определения уровней звуковой мощности, необходимо проверить адекватность средств измерений и выбранных измерительных параметров (например, измерительной поверхности, расстояния, траектории) по отношению к звуковому полю и окружающим условиям и, в частности, к конкретным измерениям.
Вся последовательность действий приведена на рисунке С.1.
С.1.2 Проверка адекватности времени усреднения
Время усреднения T, удовлетворяющее условию FT < 0,6
(которое записывают в виде
), используют для определения времени сканирования TS. Время сканирования должно быть равно или больше
чем NS
. Если это требование
не удовлетворяется на практике, выполняют действия в соответствии с таблицей
С.1.
С.1.3 Проверка повторяемости сканирования на элементе поверхности
Сканирование повторяется на каждом элементе поверхности по одной и той же траектории, и средние уровни интенсивности в каждой частотной полосе измерений должны быть в пределах допустимой погрешности (критерий 1):
|
|
(C.1) |
где
и
- уровни нормальной
составляющей интенсивности, полученные за два сканирования;
s - неопределенность измерений из таблицы 1.
Если данный критерий не удовлетворяется, выполняют действия в соответствии с таблицей С.1 (см. рисунок С.1).
С.1.4 Проверка пригодности измерительного оборудования
Показатель динамической способности Ld измерительного
оборудования должен быть больше показателя
, определенного в соответствии с приложением
В в каждой частотной полосе измерений (критерий 2):
|
|
(C.2) |
Если выбранная измерительная поверхность не удовлетворяет критерию 2, выполняют действия в соответствии с таблицей С.1 (см. рисунок С.1).
С.1.5 Проверка присутствия сильного постороннего шума
Сравнивают
и
, проверяя выполнение в частотных полосах измерений
следующего условия (критерий 3):
|
|
(C.3) |
Если этот критерий не удовлетворяется, выполняют действия в соответствии с таблицей С.1 для уменьшения влияния постороннего шума (см. рисунок С.1).
С.1.6 Проверка неравномерности звукового поля
С.1.6.1 Первоначальная проверка неравномерности звукового поля
Вычисляют показатель неравномерности звукового поля FS для измерительной поверхности, проверяя выполнение в частотных полосах измерений следующего условия (критерий 4):
|
FS ≤ 2. |
(C.4) |
Если все предыдущие критерии удовлетворяются, за исключением последнего, выполняют действия в соответствии с таблицей С.1 для уменьшения влияния неравномерности звукового поля (см. рисунок С.1).
С.1.6.2 Проверка необходимой плотности линий сканирования
Если на том же элементе поверхности плотность сканирования увеличивается в два раза или более, сравнивают новый показатель неравномерности поля с предыдущим и проверяют во всех частотных полосах измерения выполнение следующего условия (критерий 5):
|
0,83 ≤ FS(1)/FS(2) ≤ 1,2. |
(C.5) |
Если критерий 5 выполняется, результат считают окончательным даже в случае FS(2) ≤ 2.
С.2 Необходимые меры по увеличению точности
При неудовлетворении критериев 1 -5 выполняют действия по таблице С.1 для каждого критерия, чтобы увеличить точность определения уровня звуковой мощности при измерениях (см. рисунок С.1).
Таблица С.1 - Мероприятия по увеличению точности определения уровня звуковой мощности
|
Условие |
Код действия |
Мероприятия |
|
Необходимая величина TS реально не обеспечена |
А |
Увеличивают время сканирования и/или уменьшают временную нестабильность интенсивности посторонних источников, или проводят измерения при отсутствии нестабильности |
|
Не выполнен критерий, 1 то есть |
В |
Изменяют параметры сканирования: скорость, время и/или траекторию |
|
|
С |
Изменяют элементы поверхности и/или всю измерительную поверхность |
|
Не выполнен критерий 2, то есть |
D |
В присутствии значительного постороннего шума и/или сильной реверберации уменьшают среднее расстояние измерительной поверхности до источника минимально до 0,25 м. При отсутствии значительного постороннего шума и сильной реверберации увеличивают это среднее расстояние максимально до 1 м |
|
|
или |
|
|
Е |
Экранируют измерительную поверхность от постороннего источника шума или принимают меры для уменьшения отражений звука по направлению к испытуемому источнику |
|
|
Не выполнен критерий 3, то есть |
D |
Те же мероприятия, что при невыполнении критерия 2 |
|
|
Е |
|
|
Не выполнен критерий 4, то есть |
F |
Увеличивают среднее расстояние элемента поверхности от испытуемого источника |
|
FS > 2 |
G |
Увеличивают плотность сканирования |
|
Не выполнен критерий 5, то есть |
G |
Увеличивают плотность сканирования |
|
FS(1)/FS(2) ≤ 0,83, FS(1)/FS(2) > 1,2 |
Рисунок С.1 - Алгоритм достижения необходимой точности
Акустический зонд может подвергаться воздействию воздушного потока, например, при наличии ветра во время измерений вне помещения или вблизи потоков воздуха, создаваемых вентиляторами. В принципе, теоретические основы измерения интенсивности не применимы при наличии стационарных потоков газа, однако ошибками измерения можно пренебречь для малых значений числа Маха (Ма < 0,05), исключая случай большой реактивной составляющей звукового поля. Более существенные ошибки могут быть вызваны влиянием неустойчивости потока (турбулентностью).
Турбулентность может присутствовать в потоке, обтекающем акустический зонд, или может вызываться присутствием самого зонда. Флуктуации движения потока, свойственные турбулентности, связаны с флуктуациями давления, однако эти флуктуации имеют неакустическую природу и, как правило, не коррелированны с флуктуациями давления, вызванными действием какого-либо источника звука. Тем не менее, они регистрируются любым преобразователем давления, подвергающимся воздействию потока, и в результирующим сигнале их нельзя отличить от флуктуации, вызванных звуковым давлением. Турбулентность переносится со скоростью, близкой к средней (усредненной по времени) скорости потока, но содержит вихри (области регулярного движения), размеры которых значительно меньше длины волны типичной звуковой частоты, вследствие чего пространственные градиенты давления в турбулентности могут значительно превышать градиенты давления в звуковых волнах. Поэтому соответствующие скорости частиц могут значительно превышать скорости частиц в типичных звуковых полях. В результате может генерироваться сильный ложный сигнал интенсивности. Турбулентность, вызванная присутствием акустического зонда, может быть значительно скомпенсирована использованием подходящего ветрозащитного экрана. Однако турбулентные вихри (вызванные другими причинами, не связанными с акустическим зондом) могут также существовать в ветровых потоках и в потоке, генерируемом вентиляторами и нагнетателями. Средний (или усредненный по времени) поток вентилятора может быть эффективно уменьшен до нуля посредством дросселирования, но это не означает подавления турбулентных флуктуации давления, которые еще могут быть измерены на измерительной поверхности вблизи вентилятора и нагнетателя, и уменьшить которые с помощью ветрозащитного экрана акустического зонда очень трудно или невозможно. Особую осторожность следует соблюдать при измерении звуковой мощности вентиляторов и нагнетателей. Применение ветрозащитных экранов должно быть обязательным, а также желательно проведение тщательных экспериментов, гарантирующих, что измеренные с помощью акустического зонда значения интенсивности не являются псевдозвуком или флуктуациями турбулентного давления.
Назначение ветрозащитного экрана акустического зонда заключается в отклонении потока непосредственно от преобразователей давления. Из-за низкой скорости переноса турбулентности турбулентное давление и флуктуации скорости, действующие на внешней поверхности ветрозащитного экрана, не могут эффективно распространяться в центральную область экрана, где расположены преобразователи давления, в то время как звуковые волны проходят без значительного ослабления. В этом заключается принцип селективного действия ветрозащитного экрана.
Однако следует иметь в виду, что существует ограничение эффективности этой селективности. Очень интенсивные турбулентные флуктуации полностью не исключаются, и низкочастотная крупномасштабная турбулентность ослабляется меньше, чем высокочастотная мелкомасштабная. Так как частотный спектр ветровой и вентиляторной турбулентности быстро спадает с увеличением частоты, то именно низкочастотные измерения интенсивности (обычно < 200 Гц) подвержены наибольшему влиянию турбулентности.
Масштаб и частота турбулентности сильно зависят от природы процесса ее зарождения, и, следовательно, невозможно прямо влиять на каждую неустановившуюся или потоковую ситуацию, которая может встретиться при измерениях интенсивности звукового поля. Поскольку среднеквадратическое значение турбулентных флуктуации давления увеличивается как квадрат средней скорости потока, следует ограничить сверху среднее значение скорости потока.
Как общее руководство необходимо отметить, что уровни интенсивности и/или скорости частиц в 1/3-октавных полосах частот имеют тенденцию оставаться высокими и даже возрастать на низких частотах (< 100 Гц), опасным и неочевидным признаком является такое же поведение уровней давления, а испытуемый источник может быть субъективно оценен как сильно излучающий на низких частотах. Другим качественным показателем зашумленности сигнала интенсивности звука турбулентной интенсивностью является высокая нестабильность измеряемых уровней интенсивности звука и скорости частиц. Когерентность между сигналами микрофонов акустического зонда не является надежным индикатором отсутствия шума турбулентности, поскольку низкочастотные крупномасштабные турбулентные флуктуации давления могут быть сильно коррелированны на расстояниях, типичных для расстояний между микрофонами.
Если источник обладает значительным
звукопоглощением (например, имеет элементы из теплоизоляционных и/или
звукопоглощающих материалов) и если измерение показателя
дает в результате значение более 3 дБ,
следует проверить влияние поглощения на измерение полной звуковой мощности
источника. Это можно сделать при условии, что источник может быть выключен
(остановлен). Если шум посторонних источников остается неизменным, то уровень
поглощаемой звуковой мощности LW,abs может быть непосредственно определен по измерениям
интенсивности звука на поверхности, охватывающей выключенный испытуемый
источник, с помощью метода настоящего стандарта и определения LW,abs по формуле (9). Если
посторонний шум не может существовать при выключенном испытуемом источнике,
грубая оценка поглощаемой звуковой мощности может быть проведена при помощи внешнего
искусственного источника звука, обеспечивающего похожие уровни звука на
измерительной поверхности, как и настоящий посторонний источник звука.
Влиянием поглощения можно пренебречь, если выполняется следующее условие
|
LW - LW,abs ≥ 10 дБ, |
(E.1) |
где LW- уровень полной звуковой мощности работающего источника [согласно равенствам (8) и (9)]; LW,abs - уровень поглощенной звуковой мощности при выключенном источнике.
В противном случае следует принять меры по уменьшению уровня интенсивности посторонних источников или экранировать измерительную поверхность от их шума.
Основной принцип определения звуковой мощности с использованием методики измерения интенсивности звука заключается в измерении составляющей интенсивности, перпендикулярной к измерительной поверхности, полностью охватывающей испытуемый источник. Главная неопределенность получаемых результатов с помощью данного метода связана с ошибкам и измерения и анализа сигналов и неидеальностью процедуры получения значений поля (сканирования).
Настоящее приложение дает рекомендации по выполнению процедуры сканирования звукового поля. Следуя этим указаниям и используя параметры сканирования, устанавливаемые настоящим стандартом, может быть минимизирована неопределенность измерений и достигнута точность, заданная в таблице 1.
Измерительная поверхность должна определяться таким образом, чтобы ее можно было легко просканировать, и такой формы, чтобы минимизировать влияние посторонней интенсивности и ближнего поля источника. Траектории сканирования задаются прямыми линиями, а ориентация акустического зонда остается неизменной во время прохождения каждого прямолинейного участка траектории сканирования.
Измерительная поверхность, элементы поверхности и маршрут сканирования должны выбираться в соответствии с геометрией источника и окружающих его объектов согласно 8.1 и 8.2 (см. рисунок F.1).

Рисунок F.1 - Рекомендуемые формы измерительной поверхности для источников шума сложной формы
Каждый элемент поверхности должен быть определен таким образом, чтобы он мог быть легко и удобно просканирован с постоянной скоростью и равномерной плотностью линий сканирования, при сохранении положения оси акустического зонда перпендикулярно к локальной поверхности. Поворот в конце линии сканирования может вызвать ошибку при усреднении по поверхности, переоценке вклада от ребра (края поверхности). Необходимо применять меры для поддержания постоянной скорости сканирования на всей траектории сканирования.
В случаях, когда длительность операции процессора предопределена в дискретных шагах, необходимо стремиться минимизировать интервал между окончанием сканирования произвольного элемента поверхности и окончанием операции процессора.
Равное внимание следует уделить последующему выбору траектории сканирования, поддержанию постоянной скорости сканирования, равномерной плотности линий сканирования и ориентации оси акустического зонда. Чрезмерная сосредоточенность на одном из этих требований может негативно сказаться на точности измерений.
Пусть число усредненных на коротком интервале времени значений интенсивности и квадратов давления, полученных за одно сканирование, равно Nх. Тогда время сканирования вычисляют по формуле Т'S = ΔtNx. В этом процессе, как показано на рисунке G.1, последнее измеренное значение может быть усечено и отброшено. Однако поскольку обычно Δt << Т'S, влиянием такой операции можно пренебречь. Делят период Т'S на NS интервалов и находят, сколько усредненных на коротком интервале времени интенсивностей и квадратов звукового давления попадают в каждый интервал. Затем вычисляют усредненные по времени интенсивности и квадраты звукового давления путем простого (арифметического) усреднения тех интенсивностей и квадратов давления, которые попали в каждый интервал.

б) Метод быстрого преобразования Фурье
а - последние измеренные значения, которые можно не учитывать
Рисунок G.1 - Процедура получения усредненных по времени значений интенсивности и квадратов звукового давления на основе последовательности усредненных на коротком интервале времени интенсивностей и квадратов давлений
Н.1 Общие положения
Если чувствительность микрофонов, используемых в акустическом зонде, калибрована при реальных метеорологических условиях, то измерения звукового давления ρ, Па, будут действительны для таких же условий измерений. Соответствующую скорость частиц u, м/с, вычисляют по формуле
|
|
(H.1) |
где ρ - плотность воздуха, кг/м3.
Если используют плотность воздуха при реальных условиях измерений, измеренная скорость частиц и, следовательно, интенсивность I, Вт/м2 будет также верна для реальных условий измерения.
|
|
(H.2) |
Настоящий стандарт требует применения приборов 1-го класса точности по [2]. В соответствии с 6.13 стандарта [2] прибор 1-го класса должен позволять ввод значений нормального атмосферного давления и температуры или корректирующих множителей, получаемых из этих величин, для использования при вычислении интенсивности при реальных метеорологических условиях.
Н.2 Вычисление нормализованного уровня звуковой мощности
Звуковая мощность Р, Вт, излучаемая источником, существенно зависит от плотности воздуха ρ и скорости звука в воздухе с, м/с [7], [8].
В первом приближении можно предположить [9], [10]
|
Р ~ рсп. |
(H.3) |
Здесь n = 1 для звукового излучения, вызванного структурной вибрацией на высоких частотах, n = -1 для монопольного излучения, n = -3 для дипольного излучения, n = -5 для квадрупольного излучения [10].
Полагая n = -1 как среднее из значений n для большинства структурных и аэродинамических источников звука, получается следующее равенство как первый шаг коррекции для нормализованного значения уровня звуковой мощности:
|
|
(H.4) |
Здесь
|
|
(H.5) |
|
|
(H.6) |
где В - статическое давление;
Т - абсолютная температура (T = 273,15 + Θ, где Θ -температура, °С);
γ - отношение удельных теплоемкостей (показатель адиабаты);
![]()
R - универсальная газовая постоянная;
Ма - молярная масса воздуха;
Z - коэффициент сжимаемости воздуха (≈ 1).
Из равенств (H.4), (H.5) и (Н.6) можно вывести следующее соотношение:
|
|
(H.7) |
где В0 - опорное барометрическое давление (101325 Па);
Т0- опорная температура (273,15 + 23 = 296,15).
Рассматривая дополнительное влияние числа Рейнольдса на коррекцию для статического давления В, получается следующее равенство [равенство (10) из основного текста] [11], [12].
|
|
(H.8) |
Когда полагают n = -1, неопределенность в корректирующем члене меньше чем 0,2 дБ для звукового излучения, вызванного структурной вибрацией, монопольным или дипольным источником звука для диапазона температур от 15°С до 30°С [13], [14], [15].
В таблице J.1 приведено соответствие показателей поля и их обозначений, используемых в [5], [6] и настоящем стандарте. Подразумевается, что настоящий стандарт преодолевает несоответствие, имеющее место в [5], [6].
Таблица J.1 - Показатели поля, используемые в стандартах [5], [6] и настоящем стандарте
|
Обозначение |
ГОСТ 30457 [5] |
ИСО 9614-2 [6] |
Настоящий стандарт |
|
|
Показатель временной нестабильности звукового поля |
* In следует читать |
- |
|
|
|
Показатель неравномерности поля |
* In следует читать |
- |
|
|
|
Показатель «давление интенсивность» |
Без учета знака |
Показатель «давление - интенсивность» звука на измерительной поверхности |
Показатель отрицательной составляющей звуковой мощности |
Показатель «давление - модуль интенсивности» |
|
|
|
|
||
|
|
|
|
||
|
|
* F+/_ = F3 - F2 в специальном случае |
|
||
|
С учетом знака |
Показатель отрицательной составляющей звуковой мощности |
Показатель «давление - интенсивность» звукового поля |
Показатель «давление - интенсивность» |
|
|
|
|
|
||
|
* Fpl = F3 в специальном случае |
||||
Примечание - Показатель «давление - интенсивность»
выражается как показатель
отрицательной составляющей звуковой мощности F3 в [5]. Этот показатель эквивалентен показателю «давление - интенсивность»
звукового поля, определяемому в [6] в
специальном случае одинаковой площади сегмента.
эквивалентно
показателю отрицательной составляющей звуковой мощности F+/-, определяемому в [6] в специальном случае
одинаковой площади сегмента.
|
IEC 60942:2003 |
Electroacoustics - Sound calibrators |
|
|
IEC 61043:1993 |
Electroacoustics - Instruments for the measurement of sound intensity - Measurements with pairs of pressure sensing microphones |
|
|
GUM 1993 |
Guide to the expression of uncertainty in measurement. BIPM, IEC, IFCC, ISO, IUPAC, IUPAP, OIML |
|
|
ГОСТ 27408-87 |
Методы статистической обработки результатов определения и контроля уровня шума, излучаемого машинами |
|
|
Акустика. Определение уровней звуковой мощности источников шума на основе (ИСО 9614-1-93) интенсивности звука. Измерение в дискретных точках. Технический метод |
||
|
ISO 9614-2:1996 |
Acoustics - Determination of sound power levels of noise sources using sound intensity - Part 2: Measurement by scanning |
|
|
HUBNER, G. Is the sound power defined by ISO/TC 43 independent of specific environmental conditions?, Proceedings of the 10th International Congress on Acoustics, Sydney, 1980, Vol. 3, Paper M6.5 |
||
|
HUBNER, G. Experimented Untersuchungen zur Abhangigkeitder Schalleistung aerodynamische Schallquellen von den Gaseigenschaften, DAGA 78 Berichte, VDE-Verlag Berlin, 1878, pp. 359-365 |
||
|
MORSE, P.M. and INGARD, K.U. Theoretical Acoustics, Princeton University Press, Princeton, NJ, 1968, p. 753 |
||
|
HUBNER, G. Accuracy considerations on the meteorological correction for a normalized sound power level, Proceeding of Inter-noise 2000, Nice, 2000, pp. 2996-3000 |
||
|
BLAKE, W.K. Mechanics of flow induced sound and vibration. Vol. 17, Applied Mathematics and Mechanics, Orlando, Florida, 1986 |
||
|
HUBNER, G., WITTSTOCK, V. Investigations of the sound power generation of solid cylinder moving in gases under different static pressures - First results, Proceedings of Euro Noise 98, Munich, 1998, pp. 865-870 |
||
|
WONG, G.S.K. Characteristic impedance of humid air. J. Acoust. Soc. Am. 80(4), 1986, pp. 1203-1204 |
||
|
DAVIS, R.S. Equation for the determination of the density of moist air (1981/91). Metrologia, 29,1992, pp.67-70 |
||
|
WONG, G.S.K. and EMBLETON, T.F.W. Variation of the speed of sound in air with humidity and temperature. J. Acoust. Soc. Am., 77(5), 1985, pp. 1710-1712 |
||
Ключевые слова: уровень звуковой мощности, интенсивность звука, измерительная поверхность, акустический зонд, показатели звукового поля, измерение сканированием, траектория сканирования, неопределенность измерений