|
ФЕДЕРАЛЬНОЕ
АГЕНТСТВО |
||
|
|
НАЦИОНАЛЬНЫЙ |
ГОСТ Р |
Материалы лакокрасочные
КОЛОРИМЕТРИЯ
Часть 2
Измерение цвета
ИСО
7724-2:1984
Paints and varnishes - Colorimetry - Part 2: Colour measurement (MOD)
|
|
Москва |
Предисловие
Цели и принципы стандартизации в Российской Федерации установлены Федеральным законом от 27 декабря 2002 г. № 184-ФЗ «О техническом регулировании», а правила применения национальных стандартов Российской Федерации - ГОСТ Р 1.0-2004 «Стандартизация в Российской Федерации. Основные положения»
Сведения о стандарте
1 РАЗРАБОТАН Закрытым акционерным обществом «Научно-производственная компания Ярославский лакокрасочный институт» (ЗАО «НПК ЯрЛИ») на основе собственного аутентичного перевода стандарта, указанного в пункте 4
2 ВНЕСЕН Техническим комитетом по стандартизации ТК 385 «Материалы лакокрасочные на природных связующих. Растворители. Сиккативы. Вспомогательные материалы. Тара, упаковка, маркировка и транспортирование лакокрасочных материалов»
3 УТВЕРЖДЕН И ВВЕДЕН В ДЕЙСТВИЕ Приказом Федерального агентства по техническому регулированию и метрологии от 27 декабря 2006 г. № 429-ст
4 Настоящий стандарт является модифицированным по отношению к международному стандарту ИСО 7724-2:1984 «Краски и лаки. Колориметрия. Часть 2. Измерение цвета» (ISO 7724-2:1984 «Paints and varnishes - Colorimetry - Part 2: Colour measurement») путем изменения содержания отдельных абзацев, пунктов, подпунктов, изменения отдельных слов, фраз, технических терминов, введения дополнительных слов, фраз, которые выделены в тексте курсивом, а также путем частичного изменения его структуры. Сравнение структуры настоящего стандарта со структурой указанного международного стандарта приведено в дополнительном приложении Б. Кроме того, в настоящий стандарт не включены примечания в разделе 0, подразделе 6.1, пунктах 4.1.1, 8.2.1, сноски в разделах 2 и 5 примененного международного стандарта, которые нецелесообразно применять в национальной стандартизации в связи с особенностями объекта стандартизации, характерными для Российской Федерации.
Наименование настоящего стандарта изменено относительно наименования указанного международного стандарта для приведения в соответствие с ГОСТ Р 1.5-2004 (подраздел 3.5)
5 ВВЕДЕН ВПЕРВЫЕ
Информация об изменениях к настоящему стандарту публикуется в ежегодно издаваемом информационном указателе «Национальные стандарты», а текст изменений и поправок - в ежемесячно издаваемых информационных указателях «Национальные стандарты». В случае пересмотра (замены) или отмены настоящего стандарта соответствующее уведомление будет опубликовано в ежемесячно издаваемом информационном указателе «Национальные стандарты». Соответствующая информация, уведомление и тексты размещаются также в информационной системе общего пользования - на официальном сайте Федерального агентства по техническому регулированию и метрологии в сети Интернет
Содержание
ГОСТ Р 52662-2006
(ИСО 7724-2:1984)
НАЦИОНАЛЬНЫЙ СТАНДАРТ РОССИЙСКОЙ ФЕДЕРАЦИИ
|
Материалы лакокрасочные КОЛОРИМЕТРИЯ Часть 2 ИЗМЕРЕНИЕ ЦВЕТА Paint materials. Colorimetry. Part 2. Colour measurement |
Дата введения - 2008-01-01
Настоящий стандарт, входящий в серию стандартов на колориметрию, распространяется на лакокрасочные материалы и устанавливает инструментальный метод определения цветовых характеристик и цветовых различий пигментов, пигментированных лакокрасочных материалов и покрытий.
Серия стандартов на колориметрию состоит из следующих стандартов:
Часть 1 - Основные положения;
Часть 2 - Измерение цвета;
Часть 3 - Расчет цветовых различий.
Методы инструментального определения координат цвета и цветовых различий предназначены для:
а) объективной оценки цветовых различий между образцами;
б) объективной оценки цвета;
в) определения отклонений в цвете при изготовлении окрашенных изделий;
г) объективного описания цветовых изменений, вызванных влиянием атмосферных условий, а также других химических или физических воздействий.
Настоящий стандарт устанавливает метод определения цвета пигментов, пигментированных лакокрасочных материалов и покрытий. Данный метод применим только для лакокрасочных покрытий с явной цветовой однородностью. Лакокрасочные покрытия, которые не полностью укрывают непрозрачную подложку, представляют собой непрозрачную систему и их цвет может быть измерен с использованием методов, приведенных в настоящем стандарте.
Настоящий стандарт не распространяется на люминесцентные лакокрасочные покрытия, прозрачные или полупрозрачные лакокрасочные покрытия на прозрачной окрашиваемой поверхности (например для реклам или ламп), световозвращающие лакокрасочные покрытия (например для дорожных знаков) и лакокрасочные покрытия с металлическим эффектом.
В настоящем стандарте использованы нормативные ссылки на следующие стандарты:
ГОСТ Р ИСО 5725-1-2002 Точность (правильность и прецизионность) методов и результатов измерений. Часть 1. Основные положения и определения
ГОСТ Р ИСО 5725-2-2002 Точность (правильность и прецизионность) методов и результатов измерений. Часть 2. Основной метод определения повторяемости и воспроизводимости стандартного метода измерений
ГОСТ Р ИСО 5725-3-2002 Точность (правильность и прецизионность) методов и результатов измерений. Часть 3. Промежуточные показатели прецизионности стандартного метода измерений
ГОСТ Р ИСО 5725-4-2002 Точность (правильность и прецизионность) методов и результатов измерений. Часть 4. Основные методы определения правильности стандартного метода измерений
ГОСТ Р 51694-2000 Материалы лакокрасочные. Определение толщины покрытия
ГОСТ Р 52489-2005 Материалы лакокрасочные. Колориметрия. Основные положения
ГОСТ Р 52490-2005 Материалы лакокрасочные. Колориметрия. Расчет цветовых различий
ГОСТ 7721-89 Источники света для измерений цвета. Типы. Технические требования. Маркировка
ГОСТ 8832-76 Материалы лакокрасочные. Методы получения лакокрасочного покрытия для испытаний
ГОСТ 9980.2-86 Материалы лакокрасочные. Отбор проб для испытаний
ГОСТ 29319-92 Материалы лакокрасочные. Метод визуального сравнения цвета
Примечание - При пользовании настоящим стандартом целесообразно проверить действие ссылочных стандартов в информационной системе общего пользования - на официальном сайте Федерального агентства по техническому регулированию и метрологии в сети Интернет или по ежегодно издаваемому информационному указателю «Национальные стандарты», который опубликован по состоянию на 1 января текущего года, и по соответствующим ежемесячно издаваемым информационным указателям, опубликованным в текущем году. Если ссылочный документ заменен (изменен), то при пользовании настоящим стандартом следует руководствоваться замененным (измененным) документом. Если ссылочный документ отменен без замены, то положение, в котором дана ссылка на него, применяется в части, не затрагивающей эту ссылку.
Определение координат цвета Х10, Y10, Z10 проводят одним из следующих методов:
а) методом измерения спектральных фотометрических характеристик (спектральных коэффициентов отражения) лакокрасочных покрытий при помощи спектрофотометра и расчета значений координат цвета;
б) методом измерения координат цвета при помощи трехкоординатного колориметра (компаратора цвета). Значения координат цветности х10, y10 и координат цвета (L*, а*, b*)1) в системе МКО 1976 г. рассчитывают по значениям координат цвета в соответствии с методом, описанным в ГОСТ Р 52489.
1) Надстрочная звездочка у координат L*, а*, b* обозначает, что эти величины вычисляют по координатам X, Y, Z, приведенным к координатам идеального рассеивателя для избранного источника освещения.
Необходимо выбрать освещение и условия наблюдения по ГОСТ Р 52489 с учетом текстуры поверхности, свойств испытуемого образца и информации, которую необходимо получить при измерении.
Все условия измерения, указанные в ГОСТ Р 52489, пригодны для определения координат цвета образцов с гладкой нетекстурированной поверхностью.
Для высокоглянцевых покрытий могут быть получены сравнимые значения координат цвета при измерении с помощью интегрирующей сферы без ловушки зеркальной составляющей с учетом поверхностного отражения.
Примечание - Поверхностное отражение - это часть падающего на образец света, которая отражается (диффузно и зеркально) от поверхности покрытия. Другая часть падающего света рассеивается пигментами. Поверхностное отражение (отражение Френеля) для освещения с углом падения на лакокрасочные покрытия от 0° до 8° приблизительно равно 0,04.
Для всех других образцов выбор условий измерения зависит от того, включено зеркальное отражение в измерение или нет (ГОСТ Р 52490).
Используют геометрии измерения 8/d или d/8 (без ловушки зеркальной составляющей для двух геометрий).
Используют геометрии измерения 8/d или d/8 (с ловушкой зеркальной составляющей для двух геометрий) или 45/0 или 0/45.
Примечание - Если блеск изменяется, диффузная часть поверхностного отражения будет изменяться, и, следовательно, измеренные значения координат цвета с исключением зеркального отражения также изменяются.
Для спектральной характеристики лакокрасочных покрытий с текстурированной поверхностью (например структурированные покрытия) используют геометрии измерения 8/d или d/8 (без ловушки зеркальной составляющей для двух геометрий).
Для матовых образцов и образцов с низким блеском используют геометрии измерения 8/d или d/8 (с ловушкой зеркальной составляющей для двух геометрий). Выборочно можно использовать геометрии измерения 45/0 или 0/45, если образец поворачивают во время измерения, или геометрию измерения 45/0 в случае, если освещение тороидальное или под двумя пучками света под углом 90° друг к другу.
Примечание - Для лакокрасочных покрытий с высокоглянцевой текстурированной поверхностью геометрии измерения 8/d или d/8 (с ловушкой зеркальной составляющей), а также 45/0 или 0/45 не могут быть использованы, т.к. хаотически отраженный свет может достигнуть детектора.
Рекомендуется стандартный наблюдатель 1964 г. (10°-ная угловая апертура); стандартный источник освещения предпочтителен D65 согласно [1].
Для определения показателя метамерии определяют различие в цвете образцов при замене источника освещения А на источник освещения D65 в соответствии с ГОСТ 29319.
Использование источника освещения С должно быть отражено в протоколе испытаний (ГОСТ 7721).
Для высокоточной колориметрии следует использовать одно- или двухлучевые спектрофотометры (последние более предпочтительны), оснащенные призменным или дифракционным монохроматором и фотометрической головкой, удовлетворяющей условиям освещения и наблюдения, выбранным в соответствии с разделом 4.
При использовании этих инструментов относительная погрешность измерения спектральных коэффициентов отражения должна быть не более 0,2 %, а абсолютная погрешность - не более 0,001.
В течение длительного периода времени погрешность не должна увеличиваться более чем в 3 раза.
Примечание - Для настоящего стандарта предел воспроизводимости метода измерения с доверительной вероятностью 95 % не должен превышать абсолютной величины разности между результатами двух измерений, полученных для одного и того же образца в одинаковых условиях испытания (тот же оператор, спектрофотометр, короткий промежуток времени).
Воспроизводимость определяют в соответствии с ГОСТ Р ИСО 5725-1 - ГОСТ Р ИСО 5725-4.
Относительная погрешность измерения должна быть меньше, чем 0,5 %, а абсолютная - 0,002.
Для объективной оценки цвета предпочтительны спектрофотометры именно этого типа.
Для объективной оценки цвета и цветовых различий между образцами, а также определения отклонений в цвете при изготовлении окрашенных изделий можно использовать упрощенный спектрофотометр, снабженный фотометрической головкой, которая удовлетворяет выбранным условиям освещения и наблюдения в соответствии с разделом 4, за исключением тех случаев, когда цвет характеризуется очень крутыми кривыми спектрального отражения. Этот прибор представляет собой фотометр, содержащий интерференционные светофильтры, обеспечивающие равномерное излучение в диапазоне длин волн от 400 до 700 нм с интервалом 20 нм или менее.
Для воспроизводимости с коротким и длинным временными интервалами применимы те же условия, которые определены для спектрофотометра согласно 6.1, относительная погрешность должна быть не более 1 %, а среднеквадратичное отклонение (абсолютная погрешность) - не более 0,004.
Интегрирование можно осуществить оптически с трехкоординатными фильтрами, которые необходимо подобрать так, чтобы измерения укладывались в простое линейное соотношение с координатами цвета. Приборы такого типа, называемые трехкоординатными колориметрами (компараторами цвета), должны быть укомплектованы фотометрической головкой, обеспечивающей условия освещения и наблюдения в соответствии с разделом 4.
Три фильтра должны иметь спектральные коэффициенты пропускания τх(λ), τy(λ), τz(λ), соответствующие функциям сложения цветов, относительным спектральным распределениям энергии выбранного стандартного источника освещения, источника света прибора и чувствительности фотоэлемента. Фильтр со спектральным коэффициентом пропускания τх полностью поглощает излучение с длиной волны до 500 нм. Координату х10 поэтому получают пересчетом коэффициентов отражения, измеренных с фильтрами τх и τz, по различным константам с последующим сложением.
Из-за сложности подгонки фильтров до необходимых параметров такие колориметры применяются главным образом для измерения различий в цвете. Существуют трудности в установлении соответствия эталону цвета, если эталон и образец метамерны. Следовательно, трехкоординатные колориметры более применимы в случаях для определений по перечислениям б) и в) раздела 0. Относительная погрешность измерения должна быть меньше, чем 0,2 %, а абсолютная - 0,001.
Точность может быть больше 1 % в зависимости от светлоты образца и формы кривой отражения.
Для испытаний в соответствии с разделом 0, перечисления а) и в), отбирают образец (пробу) лакокрасочного материала по ГОСТ 9980.2.
Пробу лакокрасочного материала (ЛКМ) подготавливают к испытанию в соответствии с требованиями нормативных документов на конкретную марку ЛКМ и в соответствии с ГОСТ 8832.
Подготовку пластинок осуществляют по ГОСТ 8832 (раздел 3).
Метод нанесения покрытия, условия отверждения и выдержки лакокрасочного покрытия должны быть выбраны в соответствии с требованиями нормативных документов на конкретную марку ЛКМ или эти условия должны быть согласованы каким-либо другим способом.
Примечание - Если цвет лакокрасочного покрытия зависит от температуры, то испытуемый образец должен храниться при температуре (23 ± 2) °С, при этом температуру поддерживают, например, с помощью термостата. Лакокрасочные покрытия, которые меняют цвет в зависимости от температуры, необходимо кондиционировать до тех пор, пока цвет не перестанет изменяться. При рассмотрении лакокрасочных покрытий, которые не полностью укрывают подложку, цвет зависит от цвета подложки и толщины покрытия, и измерение толщины следует проводить одним из методов, предложенных в ГОСТ Р 51694.
Из окрашенных изделий (пластинок) отбирают образцы для испытания, поверхность которых подходит для проведения измерений. Количество образцов должно быть согласовано между заинтересованными сторонами.
Поверхность образцов должна быть чистой и ровной. Размеры образца должны быть такими, чтобы можно было проводить измерения соответствующими приборами.
Первичный эталон для измерения коэффициентов отражения представляет собой идеально отражающий рассеиватель, рекомендованный МКО, с коэффициентом отражения, одинаковым на всем диапазоне длин волн.
Первичный эталон практически не может быть использован, следовательно, необходим вторичный эталон с известными коэффициентами спектрального отражения, близкими к коэффициенту отражения первичного эталона.
В качестве вторичного эталона обычно используют прессованный сульфат бария в форме таблеток. Изготовитель порошка сульфата бария, используемого для таблеток, должен установить его спектральные коэффициенты отражения для различных длин волн. Эти длины волн должны быть выбраны таким образом, чтобы можно было интерполировать вышеприведенные коэффициенты с точностью ± 0,001.
Эти требования относятся также и к таблеткам сульфата бария, подготовленным описанным ниже методом и измеренным с помощью методов, относящихся непосредственно к первичному эталону.
Порошок не должен содержать загрязнений и должен быть пригоден для прессования.
Прессование порошка сульфата бария плотностью от 1,6 до 1,7 г/см3 можно проводить при помощи механического пресса. Таблетки должны быть толщиной не менее 5 мм. Они должны иметь нетекстурированную и гладкую поверхность. После каждой операции устройство для прессования должно быть тщательно вымыто. Качество поверхности таблеток могут ухудшить даже следы порошка. Новые таблетки не следует готовить из порошка, ранее использованного для этой же цели.
Погрешность при определении коэффициента отражения вторичного эталона, подготовленного в соответствии с настоящим стандартом, должна быть меньше 0,2 % для одного образца сульфата бария.
Подготовленные таким образом эталоны отражения хранятся в эксикаторе и могут быть использованы в течение одной недели. Следует предохранять эталоны от ультрафиолетового облучения (λ < 270 нм), т.к. это вызывает изменение коэффициентов отражения при длинах волн менее 450 нм.
Данным методом также рекомендуется готовить образцы пигментов для колориметрических измерений.
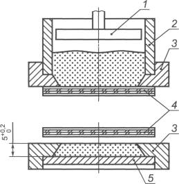
Ниже приведены прибор и методика для приготовления эталонов из сульфата бария. На рисунке 1 представлена схема пресса для приготовления таблеток.

1 - плунжер (из неабразивного материала); 2 - цилиндр (из неабразивного материала); 3 - кольцо; 4 - стеклянные пластинки с матовой поверхностью; 5 - крышка
Рисунок 1 - Пресс для изготовления эталона отражения из сульфата бария
Металлическое кольцо, которое в дальнейшем будет служить формой для таблеток, сначала ставят на середину очищенной стеклянной пластинки с матовой поверхностью (см. примечание к настоящему пункту и рисунок 1). Кольцо и стеклянная поверхность удерживаются вместе при помощи зажима, не показанного на рисунке 1. Для получения баритовой таблетки взвешенное количество порошка плотностью 1,6-1,7 г/см3 насыпают в цилиндр, вставленный в кольцо, и прессуют плунжером таким образом, чтобы порошком была заполнена коническая часть кольца. Затем верхнюю часть с плунжером и цилиндром необходимо снять и заменить крышкой. Снимают стекло с поверхности измерения, которая должна находиться заподлицо с верхней кромкой кольца. Порошок прессуют так плотно, чтобы не происходило осыпания таблеток при использовании в вертикальном или перевернутом положении.
Примечание - Поверхность стеклянной пластинки, которая соприкасается с порошком, матируют шкуркой (с размером гранул около 0,3 мкм) и после этого протравливают разбавленной фтористоводородной кислотой.
Стеклянная пластинка должна быть тщательно очищена хромовой смесью, промыта сначала в дистиллированной воде, а затем в этаноле и высушена. Для грубой очистки пластинку достаточно протереть тканью из хлопка, смоченной в этаноле.
Для обычных измерений можно применять эталоны, спектральные характеристики которых остаются стабильными в течение длительного периода времени. Рабочие эталоны должны быть калиброваны по эталону сульфата бария на том же приборе, на котором они будут использованы. Они должны быть выполнены из стабильных и прочных материалов, таких как матовые стекла или керамические плитки. Поверхность должна быть отполирована с целью уменьшения загрязнения и облегчения очистки.
Для проверки линейности фотометрической шкалы следует пользоваться нейтральными серыми рабочими эталонами, т.к. темные образцы можно измерить более точно, чем любые другие.
Для проверки повторяемости и точности метода испытания может быть использован целый ряд выбранных по спектральным показателям рабочих эталонов.
Прибор должен быть подготовлен к работе и использоваться в соответствии с прилагаемой к нему инструкцией.
Линейность фотометрической шкалы проверяют с использованием серых эталонов с известными спектральными характеристиками.
Калибруют шкалу длин волн при использовании кадмиевых или ртутных электрических газоразрядных ламп с узкими линиями спектров излучения.
Линейность фотометрической шкалы, калибровку шкалы длин волн и повторяемость необходимо периодически проверять в зависимости от времени и интенсивности использования прибора.
Нулевую точку устанавливают не путем перекрытия пучка света, а путем использования высокоэффективной ловушки света, установленной на месте образца. Устанавливают верхнюю конечную точку при помощи соответствующего эталона отражения для каждого фильтра поочередно.
При использовании трехкоординатного колориметра проверяют измерительную систему, состоящую из источника света, фильтров и регистраторов света. Проверяют состояние каждого фильтра и повторяемость с использованием соответствующих рабочих эталонов.
Протокол испытания должен содержать следующую информацию:
- тип и марку испытуемого лакокрасочного материала, включая описание метода подготовки;
- ссылку на настоящий стандарт;
- тип прибора, его марку, наименование предприятия-изготовителя и его адрес;
- используемые интервалы длин волн;
- особенности образца (например, не укрывающее лакокрасочное покрытие, толщина покрытия);
- результаты испытания, выраженные в виде координат цветности х10, у10 или координат цвета L*, а*, b* с указанием источника освещения, условий наблюдения и наличия или отсутствия зеркальной составляющей;
- дату испытания.
Таблица А.1
|
Обозначение ссылочного национального стандарта Российской Федерации |
Обозначение и наименование ссылочного международного стандарта и условное обозначение степени его соответствия ссылочному национальному стандарту |
|
ИСО 5725-1:1994 «Точность (правильность и прецизионность) методов и результатов измерений. Часть 1. Основные положения и определения» (IDT) |
|
|
ИСО 5725-2:1994 «Точность (правильность и прецизионность) методов и результатов измерений. Часть 2. Основной метод определения повторяемости и воспроизводимости стандартного метода измерений» (IDТ) |
|
|
ИСО 5725-3:1994 «Точность (правильность и прецизионность) методов и результатов измерений. Часть 3. Промежуточные показатели прецизионности стандартного метода измерений» (IDT) |
|
|
ИСО 5725-4:1994 «Точность (правильность и прецизионность) методов и результатов измерений. Часть 4. Основные методы определения правильности стандартного метода измерений» (IDТ) |
|
|
ИСО 2808:97 «Краски и лаки. Метод определения толщины пленки» (MOD) |
|
|
ИСО 7724-1:1984 «Краски и лаки. Колориметрия. Основные положения» (MOD) |
|
|
ИСО 7724-3:1984 «Краски и лаки. Колориметрия. Расчет цветовых различий» (MOD) |
|
|
ИСО 10526:1999 «Стандарт CIE на источники освещения для колориметрии» (MOD) |
|
|
ГОСТ 8832-76 |
ИСО 1514:1993 «Краски и лаки. Стандартные пластины для испытаний» (MOD) |
|
ИСО 1512:1991 «Краски и лаки. Отбор проб» (MOD) |
|
|
ИСО 3668:1998 «Краски и лаки. Визуальное сравнение цвета красок» (MOD) |
Таблица Б.1
|
Структура международного стандарта ИСО 7724-2:1984 |
Структура настоящего стандарта |
|
0 Введение |
0 Введение(0) |
|
1 Назначение и область применения |
1 Назначение и область применения (1) |
|
2 Нормативные ссылки |
2 Нормативные ссылки (2) |
|
3 Сущность метода |
3 Основные положения (3) |
|
4 Выбор освещения и условий наблюдения |
4 Выбор освещения и условий наблюдения (4) |
|
4.1 Гладкие нетекстурированные лакокрасочные пленки |
4.1 Образцы с гладкой нетекстурированной поверхностью (4.1) |
|
4.1.1 Измерения, включающие зеркальную составляющую |
4.1.1 Измерения, включающие зеркальную составляющую (4.1.1) |
|
4.1.2 Измерения, исключающие зеркальную составляющую |
4.1.2 Измерения, исключающие зеркальную составляющую (4.1.2) |
|
4.2 Лакокрасочные пленки с текстурированной поверхностью |
4.2 Лакокрасочные покрытия с текстурированной поверхностью (4.2) |
|
4.2.1 Измерения, включающие зеркальную составляющую |
4.2.1 Измерения, включающие зеркальную составляющую (4.2.1) |
|
4.2.2 Измерения, исключающие зеркальную составляющую |
4.2.2 Измерения, исключающие зеркальную составляющую (4.2.2) |
|
5 Выбор стандартного наблюдателя и стандартного источника света |
5 Выбор стандартного наблюдателя и стандартного источника освещения (5) |
|
6 Аппаратура |
6 Аппаратура (6) |
|
6.1 Спектрофотометр |
6.1 Спектрофотометр (6.1) |
|
6.2 Упрощенный спектрофотометр |
6.2 Упрощенный спектрофотометр (6.2) |
|
6.3 Интегратор |
* |
|
6.4 Трехкоординатный колориметр |
6.3 Трехкоординатный колориметр (6.4) |
|
7 Отбор проб и подготовка образцов для испытания |
7 Отбор проб и подготовка образцов для испытания (7) |
|
8 Эталоны отражения |
8 Эталоны отражения (8) |
|
8.1 Первичный эталон |
8.1 Первичный эталон (8.1) |
|
8.2 Вторичный эталон |
8.2 Вторичный эталон (8.2) |
|
8.2.1 Материал для вторичного эталона |
8.2.1 Материал для вторичного эталона (8.2.1) |
|
8.2.2 Приготовление и проверка |
8.2.2 Приготовление и проверка (8.2.2) |
|
8.3 Рабочие эталоны |
8.3 Рабочие эталоны (8.3) |
|
9 Проведение измерений |
9 Проведение измерений (9.1 и 9.2) |
|
9.1 Метод с использованием спектрофотометра |
** |
|
9.2 Метод с использованием трехкоординатного колориметра |
** |
|
10 Протокол испытания |
10 Протокол испытания (10) |
|
- |
Приложение А Сведения о соответствии ссылочных международных стандартов национальным стандартам Российской Федерации, использованным в настоящем стандарте в качестве нормативных ссылок |
|
- |
Приложение Б Сопоставление структуры настоящего стандарта со структурой примененного в нем международного стандарта |
|
* Подраздел 6.3 исключен, т.к. приборы такого типа устарели и сняты с производства. ** Данный подраздел отменен. Положения подраздела объединены в разделе 9. Примечание - После заголовков разделов (подразделов, пунктов) настоящего стандарта приведены в скобках номера аналогичных им разделов (подразделов, пунктов) международного стандарта. |
|
[1] Публикация Международной комиссии Индекс метамерии. Изменение источника освещения по освещению (МКО) № 15.
Дополнение № 1
Ключевые слова: колориметрия, измерение цвета, структура поверхности, ловушка зеркальной составляющей, стандартный наблюдатель, стандартный источник освещения, метод испытания, аппаратура, эталон