|
|
УТВЕРЖДАЮ Главный инженер ОАО ЛМЗ «Свободный сокол» _______________П.Н. Рублев «____»_________2004 г. |
Части соединительные литые из высокопрочного чугуна для напорных трубопроводов
Технические условия
ТУ 1460-035-50254094-2000
Изменение №4
Держатель подлинника - ОАО ЛМЗ «Свободный сокол»
Дата введения с
|
|
РАЗРАБОТАНЫНачальника технического отдела ОАО ЛМЗ "Свободный сокол" ___________________А.В. Минченков «___»___________2004 г. |
Вводная часть.
Таблицу 1 изложить в новой редакции: Таблица 1
|
Наименование |
Обозначение |
Таблица |
|
|
в схемах |
в документе |
||
|
1 |
2 |
3 |
4 |
|
Тройник раструб - фланец |
|
ТРФ |
6 |
|
Тройник раструбный |
|
ТР |
7 |
|
Тройник фланцевый |
|
ТФ |
8 |
|
Крест раструб - фланец |
|
КРФ |
9 |
|
Крест раструбный |
|
КР |
10 |
|
Крест фланцевый |
|
КФ |
11 |
|
Колено раструб - гладкий конец |
|
УРГ |
12 |
|
Колено фланцевое |
|
УФ |
13 |
|
Колено раструбное |
|
УР |
14 |
|
Отвод раструб - гладкий конец |
|
ОРГ |
15 |
|
Отвод раструбный |
|
ОР |
16 |
|
Отвод фланцевый |
|
ОФ |
17 |
|
Переход раструб - гладкий конец |
|
ХРГ |
18 |
|
Переход раструб - фланец |
|
ХРФ |
19 |
|
Переход фланцевый |
|
ХФ |
20 |
|
Переход раструбный |
|
ХР |
21 |
|
Патрубок раструб - фланец |
|
ПРФ |
22 |
|
Патрубок фланец - раструб компенсационный |
|
ПФРК |
23 |
|
Патрубок фланец - гладкий конец |
|
ПФГ |
24 |
|
1 |
2 |
3 |
4 |
|
Двойной раструб |
|
ДР |
25 |
|
Муфта надвижная |
|
МН |
25а |
|
Двойной раструб компенсационный |
|
ДРК |
26 |
|
Выпуск раструбный |
|
ВР |
27 |
|
Выпуск фланцевый |
|
ВФ |
28 |
|
Пожарная подставка раструбная |
|
ППР |
29 |
|
Тройник раструб - фланец с пожарной подставкой |
|
ППТРФ |
30 |
|
Тройник фланцевый с пожарной подставкой |
|
ППТФ |
31 |
|
Крест раструб - фланец с пожарной подставкой |
|
ППКРФ |
32 |
|
Крест фланцевый с пожарной подставкой |
|
ППКФ |
33 |
|
Муфта свертная |
|
МС |
34 |
|
Заглушка фланцевая |
|
ЗФ |
35 |
|
Патрубок раструб - гладкий конец |
|
ПРГ |
36 |
Пункты 9.22, 9.25. Наименование. Заменить слова: «с резиновым уплотнением» на «компенсационный».
Пункт 9.24 изложить в новой редакции.
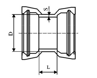
9.24 ДВОЙНОЙ РАСТРУБ

Рисунок 24
Таблица 25
|
В миллиметрах |
||||
|
Условный проход, Dy |
D |
S |
L |
Масса, кг |
|
100 |
118 |
7,2 |
160 |
11,0 |
|
150 |
170 |
7,8 |
165 |
18,5 |
|
200 |
222 |
8,4 |
170 |
25,1 |
|
250 |
274 |
9,0 |
175 |
34,5 |
|
300 |
326 |
9,6 |
180 |
44,3 |
Дополнить
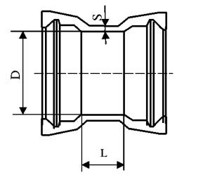
пунктом 9.24а: «9.24а Муфта надвижная»
9.24а МУФТА НАДВИЖНАЯ

Рисунок 24а
Таблица 25 а
|
В миллиметрах |
||||
|
Условный проход, Dy |
D |
S |
L |
Масса, кг |
|
100 |
130 |
7,2 |
160 |
12,8 |
|
150 |
183 |
7,8 |
165 |
21,2 |
|
200 |
235 |
8,4 |
170 |
28,9 |
|
250 |
288 |
9,0 |
175 |
38,7 |
|
300 |
340 |
9,6 |
180 |
49,8 |