МИНИСТЕРСТВО ГРАЖДАНСКОЙ АВИАЦИИ
Государственный проектно-изыскательский и научно-исследовательский институт Аэропроект
ТРУДЫ
ТЕХНОЛОГИЯ И ПЛАНИРОВКА АЭРОПОРТОВ
Выпуск 10
Отдел научно-техническим информации
Москва 1972
Содержание
В статьях десятого выпуска трудов ГПИ и НИИ ГА Аэропроект рассматриваются перспективы применения современных математических методов теории массового обслуживания, теории вероятностей и математической статистики при обосновании пропускной способности аэропортов, исследовании технологических процессов в аэропортах и на аэродромах сельскохозяйственной авиации. В выпуске освещается современное состояние и пути усовершенствования планировочных решений аэропортов и вертодромов, дается анализ транспортных потоков на привокзальных площадях аэропортов и методика выбора транспортных устройств для обслуживания пассажирских перевозок между городом и аэропортом.
Труды рассчитаны на научных сотрудников, инженеров и техников, занимающихся проектированием и эксплуатацией аэропортов. Научное редактирование выполнили Канд. техн. наук, доцент Л.И. Горецкий, канд. техн. наук В.И. Черников.
Инженер В. И. СМОЛЯК
канд. техн. наук В.И. ЧЕРНИКОВ
Как известно, основные исходные данные для проектирования аэропорта принимаются с учетом перспективы его развития на 10 лет после планируемого срока ввода в эксплуатацию. Если к этому сроку прибавить продолжительность разработки проекта и строительства 1 очереди аэропорта, то станет ясным, что в момент начала проектирования должна учитываться перспектива развития аэропорта на значительно больший период (15-20 лет).
Потребность в зданиях, сооружениях и оборудовании аэропорта определяется на основании эксплуатационно-технических расчетов. Эта потребность также постоянно увеличивается в связи с вводом в эксплуатацию самолетов повышенной пассажировместимости.
В данной работе изложена методика и приведен расчет пропускной способности аэропортов на перспективу до 1995 года в зависимости от различных факторов (схема планировки ВПП и соединительных РД, состава самолето-моторного парка и др.).
Под пропускной способностью аэропорта понимается его возможность за год выполнить определенный объем пассажирских Wп и почтово-грузовых Wг перевозок.
Пропускная способность аэропорта по количеству перевезенных пассажиров в год будет равна
где q - среднее планируемое количество пассажиров на один самолет;
- пропускная способность аэродрома (взлетов и посадок
самолетов в час);
Тс - количество часов работы аэропорта в сутки;
кс - коэффициент суточной неравномерности движения самолетов, т.е. отношение максимального суточного количества взлетно-посадочных операций к среднесуточному за год;
кг - коэффициент часовой неравномерности движения самолетов, т.е. отношение максимального часового количества взлетно-посадочных операций к среднечасовому за максимальные сутки.
Среднее планируемое количество пассажиров на один самолет определяется по формуле
где pi - соотношение частоты движения самолетов разных типов;
mi - пассажировместимость самолетов;
ji - коэффициент, учитывающий процент коммерческой загрузки (как правило ji = 0,75).
Прогнозирование pi и mi на перспективу 15-20 лет является достаточно сложной задачей, поэтому представляется более правильным определять величину q на основе статистических данных за ряд лет.
Пропускная
способность аэродрома
зависит от следующих основных факторов:
- взлетно-посадочных характеристик самолетов, определяющих время занятия ВПП;
- интервалов времени между взлетно-посадочными операциями, устанавливаемых для безопасности полетов;
- условий движения по правилам визуального полета и полета по приборам;
- планировочной схемы, количества ВПП и соединительных РД;
- неравномерности подхода самолетов на посадку;
- соотношение типов самолетов в интенсивности движения.
Методика учета всех этих факторов при расчете пропускной способности аэродрома достаточно подробно освещена в отечественной и зарубежной литературе [3,6,7] и поэтому в данной работе не излагается:
Количество часов работы аэропорта в сутки Тс зависит, главным образом, от интенсивности движения самолетов, размера транзитного движения, расположения аэропорта на трассе и его удаленности от города. В частности, при наличии ночного движения и отсутствия ограничения времени работы аэропорта по условиям шума Тс = 24. В других случаях определение величины Тс требует статистических исследований.
Одним из основных факторов, влияющих, на пропускную способность аэропортов, является неравномерность движения самолетов. В существующих методах расчета проектной мощности зданий и сооружений аэропортов учет неравномерности движения самолетов производится с помощью поправочных коэффициентов, которые, однако, не раскрывают специфики процесса прилетов и вылетов самолетов в течение времени. Поэтому целесообразно исследовать неравномерность движения самолетов в аэропортах на основе применения современных математических теорий, таких как теория вероятностей и математическая статистика, позволяющих наиболее достоверно раскрыть особенности технологических процессов.
Для прогностических целей все параметры, влияющие на пропускную способность аэропорта, по количеству пассажиров, для каждого конкретного объекта должны определяться на основе анализа движения самолетов и перевозок с учетом специфических местных особенностей экономики района тяготения, климата, географических и транспортных условий.
Пропускная способность аэропорта на перспективу по годовому количеству почтово-грузовых перевозок Wг может быть рассчитана в зависимости от пропускной способности по количеству пассажиров Wп методом выравненных статистических рядов по формуле А.А. Маркова
где
и 
n - продолжительность предыдущего исследуемого периода в годах.
Формулы (1,2,3) использовались для расчета пропускной способности аэропортов различных классов на перспективу на основе обработки и анализа статистических данных по аэропортам гражданской авиации и материалам ИКАО за 1945-1970 годы.
Среднее планируемое количество пассажиров на один самолет q определено следующим образом. В результате обработки статистических данных установлено, что в 1970 г. среднее количество пассажиров на один самолет составляло в аэропортах по классам, чел:
I - 41±16; II - 32±13; III - 20±8; IV - 15±6; V - 9±3.
Для прогнозирования использовались данные ИКАО (рис.1), показавшие относительно устойчивый ежегодный прирост среднего количества пассажиров на один самолет и позволившие определить превышение этого показателя на перспективу по сравнению с 1970 годом. Наиболее вероятно, что среднее количество пассажиров на один самолет в 1995 году превысит уровень 1970 года в 1,8 раза и составит в аэропортах по классам, чел: I - 70-90; II - 55-70; III - 35-45; IV - 20-30; V - 10-15.

Рис. 1. Изменение по годам среднего количества пассажиров на один
самолет на международных авиалиниях государств - членов ИКАО:
1 - фактически; 2 - прогноз
Достаточно хорошую сходимость с полученными результатами показали расчеты по формуле (2), причем соотношение частоты движения самолетов разных групп на основе анализа опыта эксплуатации и требований к аэропортам принималось в соответствии с табл. 1.
Ориентировочное соотношение групп самолетов в интенсивности движения, в процентах
|
Группа самолетов |
Класс аэропорта |
||||
|
I |
II |
III |
IV |
V |
|
|
Магистральные дальние |
5 |
|
|
|
|
|
Магистральные средние |
45 |
40 |
20 |
- |
|
|
Магистральные ближние |
50 |
60 |
40 |
35 |
- |
|
Местных воздушных линий |
- |
|
40 |
65 |
100 |
Пропускная
способность аэродрома
определена
применительно к схемам планировки ВПП и соединительных РД (рис. 2), принятым в
качестве основных в "Нормах технологического проектирования
аэропортов" [2].

Рис. 2. Схемы планировки ВПП и соединительных РД по классам аэропортов
Обобщение материалов, изложенных в работах [3,6,7], и проведенные расчеты позволили установить, что с учетом резерва времени на возможные отклонения в точности выхода самолета на ВПП, на полеты специальных грузовых самолетов, а также исходя из соотношения самолетов различных групп (см. табл. 1) и этапности строительства соединительных РД, пропускная способность аэродрома при чередовании взлетов и посадок может быть принята для расчетов по классам аэропортов равной I - 29-36; II,III - 22-29; IV,V - 9-16 взлетно-посадочных операций в час.
Анализ сезонной неравномерности произведен на основе данных о суммарной месячной интенсивности движения самолетов в 147 аэропортах гражданской авиации за 1969-1970 гг.
Наличие летнего и зимнего расписания полетов обуславливает деление годового периода работы аэропортов на два качественно различных периода - летний и зимний.
Обработка данных произведена дифференцировано в зависимости от зонально-климатического расположения аэропортов на территории СССР согласно СНиП II-А.6-62. Результаты обработки данных по определению удельного веса интенсивности движения самолетов в летний период приведены в табл. 2.
Таблица 2
|
Климатическая зона |
Количество рассмотренных аэропортов |
Среднее значение удельного веса движения в летний период g |
Среднее квадратическое отклонение s |
Коэффициент
вариации |
|
I |
45 |
0,527 |
0,078 |
0,148 |
|
II |
48 |
0,605 |
0,050 |
0,083 |
|
III |
38 |
0,653 |
0,061 |
0,093 |
|
IV |
16 |
0,620 |
0,035 |
0,056 |
По табл. 2 видно, что аэропорты, расположенные в зонах умеренного, теплого и жаркого климатов (II, III и IV зоны) в летний период работают значительно интенсивнее, чем в зимний, а в аэропортах I зоны холодного климата нагрузки по периодам распределяются более равномерно. Полученные значения коэффициента вариации, равные 0,056-0,148, свидетельствуют о том, что удельный вес движения самолетов в летний период в аэропортах, расположенных в одной зоне, колеблется в относительно узких пределах и, следовательно, может быть принят для дальнейших расчетов.
Исходными материалами при исследовании неравномерности движения самолетов по суткам летнего периода явились данные наблюдений, проведенных в 52 аэропортах различных классов. Обработка данных примерно 20000 наблюдений позволила сделать вывод о нормальном распределении интенсивности движения самолетов по суткам летнего периода (рис. 3)
(4)
где x - возможные с заданной вероятностью значения суточной интенсивности движения;
lc - математическое ожидание суточной интенсивности движения (среднесуточная интенсивность);
s - среднее квадратическое отклонение.

Рис. 3. Распределение суточной интенсивности движения самолетов в аэропорту Саратов в течение летнего периода 1970 г.
Аналогичный результат был получен при обработке данных движения самолетов по зимнему расписанию.
При нормальном распределении интенсивность движения с заданной вероятностью может быть определена по формуле
xs =lc + bs ·s (5)
где bs - квантиль стандартного нормального распределения, отвечающий вероятности
По правилу трех сигм [1]
можно считать, что максимальная интенсивность движения в сутки будет
соответствовать обеспеченности S = 99,7% и bs = 3. В этом случае коэффициент суточной неравномерности в
летний период
можно
определить, решив уравнение (5) относительно lc
(6)
где ![]()
- коэффициент вариации движения в летний период.
При расчете коэффициента суточной неравномерности для годового периода работы аэропорта необходимо учитывать удельный вес движения в летний период g:
Кс = 2·g (1 + bs·v ) (7).
По формуле (7) можно определять коэффициент суточной неравномерности в аэропорту на основе статистического анализа удельного веса интенсивности движения и ее колебаний в летний период.
В целях выявления общей зависимости коэффициентов суточной неравномерности от годовой интенсивности движения по зонам расположения аэропорта, по формуле (7) определен коэффициент Кс для 52 аэропортов. Как показал анализ, коэффициент неравномерности снижается по мере увеличения интенсивности движения самолетов в аэропорту, т.е. чем выше загрузка аэропорта, тем он равномернее работает. Полученные данные использовались для установления корреляционной связи и вычисления корреляционных уравнений с помощью метода чисел Чебышева [1]. Вычисленное корреляционное отношение, близкое к 1, указывает на достаточно тесную связь коэффициента Кс и годовой интенсивности движения самолетов lг. Зависимость описывается корреляционным уравнением второго порядка с основной ошибкой, равной 0,12, характеризующей колебания коэффициента неравномерности.
На основе статистического материала, с учетом роста объемов работы аэропортов на перспективу, построена зависимость коэффициента суточной неравномерности от годовой интенсивности движения (рис. 4). Пользуясь графиком (см. рис. 4), максимальную интенсивность движения самолетов в сутки с обеспеченностью S = 99,7%, можно определить по формуле
(8)

Рис. 4. Зависимость коэффициента суточной неравномерности Кс от годовой интенсивное движения l2 во II, III, IV зонах расположения аэропортов
По отечественным и зарубежным исследованиям [3,5,7] известно, что потоки вылетов и посадок самолетов в аэропортах в течение суток являются простейшими (пауссоновскими), т.е. вероятность поступления в промежуток времени t ровно K самолетов может быть задана формулой
(9)
где
- математическое
ожидание числа взлетов или посадок самолетов (среднечасовая интенсивность
потока ).
Используя это
уравнение, легко найти значение максимальном часовой интенсивности
при известном
, приняв
Рк(t) = 0,05-0,01 по принципу практической невозможности
маловероятных событий. Для решения поставленной задачи используются таблицы
распределения Пуассона [1].
Среднечасовую интенсивность движения можно определить по формуле
(10)
где Тс - количество часов работы аэропорта в сутки (продолжительность работы).
В результате исследования 188 аэропортов были получены численные значения продолжительности их работы в зависимости от интенсивности движения самолетов и зоны расположения.
Полученное корреляционное отношение, близкое к 1 указывает на достаточно тесную связь между продолжительностью работы аэропорта и интенсивностью движения самолетов. Сглаживание эмпирических данных произведено кривыми второго порядка (рис. 5), параметры которых установлены по методу наименьших квадратов [1]. Отклонения от вероятных значений продолжительности работы Тс, указанных на рис. 5, составили для аэропортов первой зоны ±2,15 час, для аэропортов первой, третьей и четвертой зон ±1,29 часа.

Рис. 5. Зависимость количества часов работы аэропорта Тс
от интенсивности движения самолетов
: Ñ
- 1 зона; ·
- II, III, IV зоны
Используя график (см. рис. 5), по формуле (10) определяется среднечасовая интенсивность вылетов самолетов.
С целью упрощения расчетов максимальном суточной и часовой интенсивности движения самолетов построена номограмма (рис. 6), позволяющая, при отсутствии необходимого статистического материала, определять величину движения в зависимости от годовой интенсивности. Порядок пользования номограммой показан пунктиром.

Рис. 6. Номограмма для определения максимальной суточной
, максимальной часовой
и среднечасовой
интенсивности
движения в зависимости от годовой интенсивности движения l2 во II, III, IV зонах расположения аэропортов
Номограмма предназначена для определения суммарной величины движения всех типов самолетов в аэропорту. Процентное соотношение групп или типов самолетов в суточной и часовой интенсивности можно принимать такое же, что и для годовой интенсивности движения.
При подстановке полученных данных в формулу (1), расчетная пропускная способность аэропортов различных классов по количеству пассажиров в год на перспективу составила, тыс. чел.: I - 4000-7000; II - 2000-4000; III- 1300-2500; IV - 150-600; V - 75-300.
Указанная пропускная способность по количеству пассажиров может быть положена в основу классификации аэропортов. При этом следует иметь в виду, что классификационные пределы по пассажирским перевозкам для аэропортов I, II, III классов должны иметь более близкие значения к пропускной способности, чем аэропортов IV и V классов, так как удельные капитальные вложения в строительство и реконструкцию аэропортов снижаются по мере увеличения их классности [4]. С учетом этого можно рекомендовать следующую классификацию аэропортов по количеству пассажиров, подлежащих перевозке на перспективу (табл. 3).
Таблица 3
Классификация аэропортов
|
Класс аэропорта |
Годовой объем пассажирских перевозок (пассажирообмен), тыс.чел. |
|
I |
От 4000 до 7000 |
|
II |
От 2000 до 4000 |
|
III |
От 600 до 2000 |
|
IV |
От 150 до 600 |
|
V |
От 25 до 150 |
Аэропорты с годовым объемом пассажирских перевозок более 7000 тыс. человек следует рассматривать как внеклассные. Аэропорты с годовым объемом пассажирских перевозок менее 25 тыс. человек следует относить к неклассифицированным.
Под пассажирообменом понимается суммарное количество всех прилетающих и улетающих пассажиров, включая пассажиров транзитных рейсов. При выполнении эксплуатационно-технических расчетов зданий и сооружений аэропортов важно знать структуру пассажиропотока. Обработка отчетных данных по аэропортам за 1960-1068 годы и прогнозирование на этой основе с помощью метода выравненных рядов показало, что прибытия составляют примерно половину пассажирообмена, а отправки распределяются в соответствии с данными табл. 4.
Таблица 4
Ориентировочное распределение отправок пассажиров, в процентах
|
Класс аэропорта |
Вид отправок |
||
|
первоначальные пассажиры |
транзит с пересадкой |
транзит пролетный |
|
|
I |
70-64 |
14-18 |
16-18 |
|
II |
73-70 |
9-14 |
13-16 |
|
III |
86-78 |
4-9 |
10-13 |
|
IV |
91-88 |
1-4 |
8-10 |
|
V |
93-91 |
0-1 |
7-8 |
Аналогичная обработка отчетных данных позволила выявить пропускную способность аэропорте на перспективу по количеству почтово-грузовых перевозок, которая, как показали расчеты, составит по классам аэропортов, тыс/т.: I - 70-120; II - 35-70; III- 9-35; IV - 1,5-9,0; V - 0,18-1,5.
Выводы
1. Потоки взлетов и посадок самолетов в аэропортах; имеют нормальное распределение по суткам летнего периода и распределение Пуассона по часам суток. Исходя из этого в статье приведены формулы расчета максимальной суточной и часовой интенсивности движения самолетов.
2. Произведена количественная оценка параметров, необходимых для расчета, величины движении (удельный вес движения в летний период, продолжительность работы аэропорта и др.).
3. Рост пассажировместимости самолетов и развитие грузовых перевозок обусловливают возможность увеличения пропускной способности аэропортов на перспективу. Учет влияния различных факторов позволил определить пропускную способность аэропортов и дать предложения по их классификации с учетом перспективы развития на 1990-2000 годы.
Литература
1. Митропольский А.К. Техника статистических вычислений. "Наука", изд. 2-е перераб. и доп. 1971.
2. Нормы технологического проектирования аэропортов гражданской авиации (НТП-1-68). МГА СССР. ГПИ и НИИ ГА. М., 1968.
3. Пропускная способность взлетно-посадочных полос. Экспресс-информация "Воздушный транспорт", № 20, 1968.
4. Сборник нормативов удельных капитальных вложений в отрасль гражданской авиации и в строительство новых аэропортов на 1971-1975 годы. МГА СССР, ОНТИ ГПИ и НИИ ГА М., 1971.
5. Транспортные узлы. "Транспорт", М., 1966.
6. Спасский Ф.Я. Планировка летной зоны аэропорта. ВАУ ГА. Л., 1967.
7. Potthoff G. niehtschlangen theorie- "Deutshe Eisenbahntechnik", №9, 1962.
Арх. М.В. КОМСКИЙ
1. Особенности современного этапа развития аэропортов
Потребность в периодическом расширении зданий и сооружении является важнейшей особенностью эксплуатации современных аэропортов. К настоящему времени сеть основных аэропортов страны стабилизировалась. Поэтому непрерывно возрастающий объем перевозок выполняется, главным образом, в действующих аэропортах, которые развиваются на сложившихся территориях, в меньшей мере за счет нового строительства аэропортов. Укрупнению аэропортов, повышению их долголетия способствует заметный рост грузоподъемности дозвуковых самолетов.
Степень увеличения нормативных размеров объектов аэропорта (рис. 1) показывает, что быстрее растут площади пассажирского и грузового комплексов, комплекса АТБ, автохозяйства, на территории которых выполняется основной объем обслуживания перевозок и самолетов; медленнее растут: аэродром, складское хозяйство, объекты управления аэропорта и т.д.

Рис. 1. Степень расширяемости объектов аэропорта
Количественный рост перевозок сопровождается качественным изменением их структуры. Неоднородность структуры перевозок и воздушных связей аэропортов одного класса (по дальности, направлению, частоте движения самолетов), объясняется своеобразием расположения аэропортов в узлах пересечения воздушных трасс.
Несмотря на наметившуюся тенденцию специализации аэропортов по обслуживанию линий коротких и дальних сообщений, еще долгое время в большинстве отечественных аэропортов IV-I классов будут одновременно эксплуатироваться многие типы самолетов местных воздушных линий (МВЛ) и линий союзного значения (ЛСЗ).
Отличия темпов роста, структуры перевозок и характера сложившейся застройки приводят к тому, что в аэропортах одного класса требуются объекты одинакового назначения, но разных типов, мощности и размеров.
Непрерывное совершенствование авиационной техники и технологии выполнения возрастающего объема перевозок вызывает заметные изменения в деятельности аэропортов: модернизируются средства и методы обслуживания самолетов, пассажиров, способы обработки багажа, груза, почты, а также планировочные решения объектов аэропорта. При этом новые технологические процессы и планировочные решения не полностью вытесняют ранее применяемые. И те и другие долгое время сосуществуют, между ними меняются пропорции распределения объема работ.
Практика показывает, что изменения технологии и планировки значительны в тех аэропортах, где большой объем перевозок и дальность сообщения обуславливают применение новых многоместных самолетов. В начале 60-х годов существенно изменились аэродромы, аэровокзалы и перроны аэропортов, в которых стали эксплуатироваться 100-местные газотурбинные самолеты.
Массовость перевозок пассажиров потребовала резкого и поэтому неожиданного (по эффективности и широте распространения) упрощения процедур оформления билетов и багажа пассажиров.
Новых качественных изменений следует ожидать в аэропортах 1 класса и внеклассных, где планируется эксплуатация 200, 300, 500-местных самолетов. В 1969 г в этих аэропортах было выполнено более трети отправок Аэрофлота.
Модернизация техники и технологии не оказывает столь существенного влияния на планировку аэровокзалов в многочисленной группе аэропортов IV-II классов, где выполняется примерно треть всех отправок Аэрофлота.
2. Влияние факторов роста на совершенствование структуры объектов аэропорта (на примере аэровокзалов)
С целью выявления требований к проектированию периодически расширяемых объектов аэропорта проведена оценка влияния факторов роста перевозок, модернизации техники и технологии на реконструкцию аэровокзалов в предшествующие 15-20 лет. Приемы расширения других типов зданий можно рассматривать как частный случай расширения аэровокзалов. Наиболее подробно изучена история развития пассажирских зданий в 23 аэропортах, в том числе в 8 отечественных и 15 зарубежных. В этих аэропортах за предшествующий период осуществлено или запроектировано три-четыре этапа реконструкции аэровокзалов.
Планировка аэровокзала менялась в направлении постепенного перехода от нерасширяемого к расширяемому пассажирскому зданию. Выделяются два основных пути эволюции планировки аэровокзалов: централизация и децентрализация. Исследования показали, что степень централизации или децентрализации помещений и остановок транспорта определяет наиболее существенные особенности, т.е. тип планировки пассажирского здания и, как следствие этого, - возможности и методы расширения производственных площадей.
Первоначально в крупных аэровокзалах 50-х годов (пропускной способностью 100-200 пассажиров в час) основные функции по обслуживанию пассажиров выполнялись в одном центральном помещении - вестибюле, который был поделен на отдельные зоны. Объемно-планировочные решения таких аэровокзалов выбирались под преимущественным влиянием композиционных приемов построения зданий с неизменяемой мощностью и габаритами. При этом, как правило; применялась симметричная схема построения плана и объема зданий, которая наилучшим образом устанавливает порядок соподчиненности и незыблемости отдельных частей целого. Отечественные аэровокзалы периода поршневой авиации проектировались в виде загородных дворцовых построек прошлого века с парадным главным подъездом. Их расширение не предусматривалось. Практически пропускная способность таких зданий увеличивалась путем поэтапного строительства отдельных павильонов. При этом внутренние технологические и архитектурные взаимосвязи между помещениями нарушались до такой степени, что первоначально строгая композиция лишалась характерных преимуществ (аэропорты Внуково, Ташкент, Симферополь, Сочи и др., рис. 2.1*.
* В дальнейшем до рис.3 в тексте будут упоминаться позиции рис. 2.

Рис. 2. Эволюция планировочных решений и методов расширения аэровокзалов
Первые попытки учесть фактор роста перевозок относятся к периоду появления газотурбинных самолетов. К этому времени в крупных отечественных и зарубежных аэровокзалах обслуживается значительно больше пассажиров (до 800-1000 пасс. в час). Повышается степень централизации его планировки, т.е. увеличивается число помещений разного назначения, где обслуживаются пассажиры отдельных категорий, багаж и посетители. Здание аэровокзала становится крупнее и компактнее, короткие взаимосвязи замыкают специализированные помещения в многоэтажный завершенный объем. Пассажирское здание соединяется со стоянками самолетов посадочными сооружениями и маршрутами местного транспорта. Такие неизменяемые по габаритам и композиции аэровокзалы расширялись путем строительства новых, удлинения или строительства дополнительных посадочных сооружений (5.С; 6.Б), а также путем повторения аналогичных зданий, которые блокируются под одной крышей (16.А) или размещаются на генплане отдельно (5.А; 16.Б). В каждом здании, как правило, принадлежащем отдельной авиакомпании, дублируются помещения ресторана, транзитных залов, административные и технические помещения, что значительно снижает их загрузку и полезное использование.
В некоторых аэропортах с большим объемом перевозок единовременно строилось несколько вокзалов, принадлежащих отдельным авиакомпаниям (16.Б). Каждое здание, являясь рядовым элементом общего комплекса, по привычке проектировалось как единственный и уникальный элемент. Часть приобретает вид целого. Отсюда штучный характер застройки таких аэропортов.
В период эксплуатации газотурбинных самолетов строятся пассажирские здания с большим запасом пропускной способности на 10-15 лет вперед. В облике этих аэровокзалов запечатлелось стремление авторов увековечить и завершить то, что на самом деле оказалось лишь этапом длительного развития данного комплекса. Такой прием не избавлял от необходимости дальнейшего, иногда, непредусмотренного расширении, причем не только посадочных, но и основных пассажирских помещений. Так, в 1969 г. увеличивается более чем в полтора раза (по пропускной способности) аэровокзал аэропорта Париж-Орли, построенный в 1961 г. на 3000 пассажиров в час (5.Д). Приблизительно с таким интервалом проводились или планируются работы по расширению крупных аэровокзалов аэропортов Внуково (1.А), Кеннеди (16.Б), Бостон-Логан (11.А), Лондон-Хитроу (3.), Амстердам-Схипхол (5.Е), Копенгаген-Каструн (4.Б) и др. Повышенно запаса пропускной способности сопровождалось пропорциональным увеличением недогрузки и перегрузки площадей по мере роста перевозок. Условия периода проектирования отличаются тем больше от условий периода эксплуатации, чем больший отрезок времени их разделяет. Фактически авторы крупных аэровокзалов допускали механическую экстраполяцию решения, оптимального для более короткого отрезка времени. При этом морально старела не только планировка, но и прием посадки здания на генплане (5.А). В приведенном примере осевое расположение аэровокзала закрыло наземный доступ к территориям наиболее предпочтительного развития комплекса (5.Б). Иногда последствия этих ошибок практически неисправимы, поскольку передвинуть здание значительно труднее, чем переделать его.
Со временем, первоначально задуманные строго осевые композиции и повторяющиеся решения (4.А; 11.Б) существенно корректировались в соответствии с развитием отдельных частей зданий и комплекса (4.Б; 11.А). Так из 81 примера реконструкции аэровокзалов 42 примера строительства новых зданий и пристроек разной технологии и планировки, 21 пример - разной планировки, но одинаковой технологии, лишь 13 примеров осуществленного расширения зданиями одинаковой технологии и планировки и 5 примеров планируемого расширения.
Переделываются не только эксплуатируемые здания, но также находящиеся в процессе строительства, например, аэровокзалы аэропортов Франкфурт-на-Майне (7.Е.Б), Кеннеди, авиакомпании ТВА (16.С) и находящиеся в процессе проектирования, например, аэровокзалы аэропортов Ганновер (9.С.А), Берлин-Шенефельд (7.С.А), Канзас-Сити, Даллас-Форт-Уорт (10.Е.Д) и др.
Наиболее удачные примеры развития первоначального замысла композиции аэровокзалов аэропортов Токио-Ханеда (2.А), Мидан-Мальпенза (2.Б), Париж-Орли (5.Д) показывают, что растет такое здание, в котором можно расширить все помещения, но независимо, т.е. в разное время и в необходимых пропорциях и направлениях. Первоначальный замысел развивается более закономерно в тех случаях, когда удается на первых этапах непосредственно расширить ранее построенные помещения.
Опыт расширения аэровокзалов показал также следующее:
1. В течение первого десятилетия эксплуатации газотурбинных самолетов размеры аэровокзальных комплексов увеличивались примерно в 1,5 раза за пятилетку в соответствии с удвоением перевозок (каждые 5-7 лет), модернизацией техники и технологии (каждые 3-5 лет). Сравнительно часто (каждые 4-5 лет) осуществлялось расширение зданий и сооружений с изменением технологии и планировки.
2. Быстрее увеличивались размеры и морально старели помещения крупных аэровокзалов, примыкающие к перрону, в которых предусматривалось ускорение процесса обслуживания и посадки пассажиров. Степень морального старения даже самого удачного решения, а значит и возможный объем переделок возрастают по мере увеличения расчетного срока, размеров и капитальности помещений, примыкающих к перрону. Эти помещения выгодно расширять постепенно, небольшими этапами с запасом пропускной способности на более короткий срок, чем помещения, технологически изолированные от перрона.
3. Расширить аэровокзал практически возможно, если основной объем нового строительства выполняется в горизонтальном направлении, на смежных территориях застройки.
4. Следует предусматривать возможность определенной модернизации существующих построек, включая увеличение глубины и этажности зданий с тем, чтобы приспособить ценный строительный фонд к изменившимся условиям эксплуатации, т.е. продлить срок полезной службы построек по их назначению.
5. Ограниченные возможности расширения аэровокзалов 80-х годов - следствие чрезмерной централизации их планировки. Помещения разного назначения трудно расширить непосредственно, постепенно и независимо, так как они замкнуты короткими взаимосвязями в многоэтажном неизменяемом объеме.
8. Обнаружились и технологические недостатки. Централизованные пассажирские здания тем больше удаляются от стоянок перрона, чем больше их размеры, т.е. степень централизации планировки. В результате этого разрастаются "посредники" - пассажирские и багажные пути, соединяющие операционный зал и зал посадки в самолет. Крупный централизованный аэровокзал начала и середины 60-х годов становится по структуре сложным и неудобным. Именно эти недостатки подсказали проектировщикам направление постепенного преодоления чрезмерной централизации основных помещений, как эффективное средство разработки более технологичных и расширяемых аэровокзалов.
Переход к децентрализации наметился уже в крупных централизованных аэровокзалах, пространственно связанных с самолетом посадочными сооружениями. Здесь были рассредоточены залы посадки (4.Б), а также залы сбора и посадки (5. А).
Первый крупный шаг в направлении повышения степени децентрализации- рассредоточение, перетекание из основного здания в посадочные сооружения залов ожидания и оперативного дополнительного обслуживания пассажиров (6.А.Б.С). Операционные залы вылета и прилета, остановки транспорта остаются централизованными и примыкают к привокзальной площади. Зачастую стоянки транспорта в виде гаража блокируются с центральным зданием (6.Д.И; 15; 17.А; 18).
Для улучшения взаимосвязи центрального здания с помещениями перрона усовершенствуются и механизируются пассажирские и багажные пути, соединяющие операционный зал и залы посадки. Такая схема планировки применяется в современных крупных международных аэровокзалах, где выгодно сосредотачивать трудоемкое оформление билетов и багажа пассажиров дальних зарубежных рейсов. Это позволяет сократить пограничный барьер, эффективно загрузить сложное оборудование и квалифицированный персонал. Значительные затраты на механизацию "посредников" (до 30-35% стоимости строительства зданий) допустимы при строительств уникальных столичных вокзалов. Это одно направление в проектировании аэровокзалов.
Второе направление - разработка более простых и экономичных решений для тех аэровокзалов внутренних линий, в которых выполняется малый объем трудоемкого обслуживания пассажиров. Здесь применяется прием постепенного преодоления плакировочного разрыва операционного зала и зала посадки, т.е. дальнейшего повышения степени децентрализации помещений.
В конце 60-х годов у нас в стране и за рубежом появляются проекты, в которых из основного здания в посадочные сооружения перрона переносятся не только залы ожидания, но также операционные залы и остановки транспорта по высадке пассажиров, т.е. все основные зоны обслуживания вылетающих пассажиров (7.А.Б; 9.А; 8.Б).
Следующий этап децентрализации - рассредоточение основных помещений для прилетевших пассажиров (10). Это возможно в тех аэропортах, в которых аэровокзал эксплуатируют мало авиакампаний и в перевозках пассажиров между городом и аэропортом преобладает транспорт индивидуального пользования (такси, личный, служебный автомобиль). В результате пространственного сближения основных помещений и остановок транспорта со стоянками самолетов возникает новый тип аэровокзала, так называемой децентрализованной планировки. Зал посадки в самолет, участки зала ожидания, операционного зала и остановка транспорта образуют типовую секцию оперативного обслуживания пассажиров. Несколько типовых секций входят в состав объединенного пассажирского, багажного и посадочного помещения, соединяющего по кратчайшему расстоянию автомобиль с самолетом. Помещения обслуживания транзитных и задерживающихся пассажиров, а также служебные и технические помещения формируются в отдельный блок, непосредственно не связанный с перроном (8.Д.Е; 9.С: 10.Л). Основные преимущества такой планировки: сокращение пешеходного пути пассажиров в крупных аэровокзалах (с 250-400 до 45-130 м) и доли магистральных проходов (примерно на 10-15%), одинаковая доступность здания со стороны перрона и привокзальной площади, новые возможности расширения аэровокзала.
Частичная децентрализация некоторых аэровокзалов в американских аэропортах (40-е годы) была преждевременна, не отвечала условиям перевозок того периода, применялась как средство сосуществования в одном здании нескольких маломощных авиакомпаний, которые по мере укрупнения и роста выделялись в отдельные централизованные аэровокзалы (11; 6.И).
Выделяется также направление децентрализации пассажирских зданий без посадочных сооружений. Такие аэровокзалы проектируются независимо от планировки перрона, как основное здание централизованных аэровокзалов. Отличие состоит в том, что пассажирские и багажные помещения проектируются в виде повторяющихся, секций, а не общими на весь вокзал. В такой секции выполняются все функции, кроме функции посадки в самолет. Большая часть пассажиров доставляется местным транспортом к дальним МС. В небольших вокзалах итого типа здание относительно удлиняется, поскольку пассажирские и багажные помещения располагаются в одном уровне (14.А.Б, 1 этап строительства). В некоторых секциях обслуживание завершается посадкой в самолеты ближнего перрона. Количество таких секций может увеличиться по мере дальнейшего удлинения здания. При повышении таким путем степени децентрализации компактный аэровокзал может перерасти в линейный (14.А, II этап строительства).
Схема эволюции планировочных решений аэровокзалов показывает, что приемы крайней централизации и децентрализации связывает непрерывная цепочка переходных решений, отличающихся степенью рассредоточенности помещения и остановок транспорта. Последовательность перенесения к самолету залов посадки (4.Б), сбора (5.А), ожидания (6), оформления пассажиров (7.А.Б), остановок транспорта по высадке (8; 9) и посадке пассажиров (10) отражает логическую последовательность повышения степени децентрализации планировки пассажирского здания.
Сегодня известны по меньшей мере семь типов таких аэровокзалов (4-10). В качестве условной границы, отделяющей решения с преобладанием той или иной планировки, принято сосредоточение (4-8) или децентрализация (7-10) операционного зала.
В результате повышения степени децентрализации помещений современные аэровокзалы стали более технологичными и удобными. В аэровокзалах с преобладанием децентрализации помещений удалось сократить пешеходный путь пассажира, сделать его непрерывным и визуально попятным, применяя простые и экономичные средства планировочного сближения стоянок транспорта и пассажирских помещений со стоянками самолетов. В аэровокзалах с преобладанием централизации помещений всего этого удалось добиться, применяя сложные, эффективные и дорогие средства (конвейерные системы и багажные транспортеры), которые соединили удаленные операционный зал и зал посадки.
Улучшились также возможности расширения аэровокзалов.
Из приведенного распределения типов секций (4-10) видно, что постепенно, небольшими этапами и независимо, расширяется больше помещений в тех вокзалах, в которых выше степень децентрализации; т.е. выше комплексность функций типовой секции, добавлением которой увеличивается площадь аэровокзала. В централизованных аэровокзалах начала 60-х годов таким путем расширялись залы сбора и посадки пассажиров (4; 5А) в современных аэровокзалах с промежуточной степенью централизации - залы сбора, посадки и ожидания (17,18), в аэровокзалах с высокой степенью децентрализации - операционные залы, залы ожидания, сбора, посадки в самолет и местный транспорт (8,9).
При повышении степени централизации помещений аэровокзалы расширяются крупными единицами, каждая на 10-40 примыкающих МС. По мере повышения степени децентрализации помещений аэровокзал можно расширять значительно более мелкими единицами, каждая на 2-5 примыкающих самолета. Кроме того, в этих аэровокзалах более последовательно отделены помещения с разным режимом эксплуатации и темпом роста. Наиболее растущие и изменяемые помещения, (включая операционный зал), а также остановки транспорта сближены со стоянками самолетов и расширяются пропорционально росту перрона. Длина этих помещений определяется фронтом ближних МС. Помещения длительного обслуживания (ресторан, транзитный зал и комнаты) расширяются по своим законам на небольшом участке застройки с целью укрупнения предприятий с трудоемкими процессами.
Полярные и промежуточные схемы аэровокзалов имеют свои свойства, преимущества и недостатки и поэтому применимы каждая оптимально в определенных условиях эксплуатации, сложившейся планировки и застройки аэропортов. Опыт эксплуатации и проектирования показывает, что применение централизации выгодно и оправдано в тех аэропортах, где выполняется большой объем трудоемкого оформления пассажиров (дальние международные линии, транзитные рейсы), ограничена территория застройки или перспективы роста, аэропорт расположен в районах холодного или умеренного климата.
Преимущества децентрализации проявляются в тех аэропортах, в которых выполняется небольшой объем трудоемкого оформления пассажиров, т.е. по преимуществу в аэропортах внутренних линий, расположенных в районах теплого и умеренного климата, где имеется свободная территория застройки. При этом могут быть применены компактный тип децентрализованного аэровокзала (14) или линейный тип аэровокзала (9,10).
В дальнейшем будут рассмотрены объемно-планировочные решения линейных децентрализованных аэровокзалов (как наименее изученные), которые применимы примерно в половине аэропортов IV-I классов. На перспективу с 1980 г. по 2000 г. в аэропортах IV-II классов ожидается увеличение роста пропускной способности с 200, 300 до 600, 800, 1000 пасс. в час, а также с 600, 800 до 1500-2000 пасс. в час.
3. Объемно-планировочные решения объектов нарастающей мощности в аэропорту
Определенные изменения структуры аэровокзалов сопровождались изменением объемно-планировочных решений и строительных приемов расширения пассажирского здания, приспособления его к новым условиям эксплуатации.
Так, к моменту ввода новой техники, в начале и в конце 60-Х годов, повсеместно в аэропортах проводилась реконструкция действующих аэровокзалов, путем достройки, надстройки, изменения планировки пассажирских зданий (1-4; 5.Д.Е). Некоторые пассажирские здания переоборудованы под грузовые аэровокзалы, например, в аэропорту Женева-Куантрин и др.
В последнее время распространяется прием создания так называемых "контейнеров", т.е. зданий без функциональной определенности внутреннего пространства, которое может быть приспособлено для различных технологических процессов. Первым значительным шагом в направлении проектирования таких зданий была разработка аэровокзалов с большими и свободными залами без капитальных внутренних перегородок. К наиболее удачным примерам следует отнести проекты новых аэровокзалов аэропортов Внуково, Шереметьево и Московского городского аэровокзала. Следующий закономерный шаг - объединение свободных залов разного назначения в едином секционном зале децентрализованного аэровокзала.
Контейнерная планировка находит применение при проектировании таких зданий, при эксплуатации которых изменяется, в основном, внутренняя планировка и размещение оборудования. Большое распространение эта планировка получила при проектировании современных промышленных предприятий, в том числе при проектировании ангарных корпусов в аэропортах. Разрабатывается секция оптимальных габаритов с относительно неизменяемыми несущими и ограждающими конструкциями, определенным ритмом входов и въездов в здание, лестничных клеток, вводов коммуникаций и т.д. Расширение площадей осуществляется путем повторения определенного решения, а разнообразие и изменяемость условий эксплуатации компенсируется за счет переоборудования внутреннего пространства.
Тип здания - "контейнера" может найти применение при проектировании большинства объектов аэропорта, поскольку создает предпосылки к укрупнению многих зданий и гибкому использованию площадей между отдельными объединяемыми службами.
Например, некоторые коммерческие, складские и служебные предприятия аэропорта нормально функционируют в одноэтажных зданиях относительно большого пролета (18-24 м). Для этих предприятий можно разработать тип укрупненного здания оптимальных габаритов по пролету, высоте, переменной длины и вместимости. Привязка такого здания в конкретном аэропорту позволяет выбрать его длину и произвести распределение площади между службами в соответствии с потребной вместимостью объединяемых служб. Другая группа предприятий аэропорта нормально функционирует в многоэтажном здании (3-5 этажей), на каждом этаже которого относительно небольшие помещения (комнаты) объединены коридором. В здании такого типа могут разместиться службы КДП, управления аэропорта, гостиница, администрация и бытовки для персонала аэровокзала, пищеблока, автомобильного и складского хозяйства и т.д. (рис. 3).

Рис. 3. Схемы объемно-планировочного решения укрупненных типов зданий в аэропорту для размещения коммерческих, складских, служебных предприятий (I), административно-бытовых помещений аэропорта (II), основных пассажирских и багажных помещений аэровокзала (III) помещений длительного обслуживания пассажиров (IV)
Особый тип "контейнера" следует разработать для размещения основных пассажирских и багажных помещений аэровокзалов, пропускная способность которых изменяется в пределах от 200-300 до 600-800 пасс. Практика эксплуатации подобных аэровокзалов в предшествующий период показала, что по мере роста перевозок проектное решение изменяется незначительно. Сохраняется один технологический уровень расположения основных пассажирских и багажных помещений, "береговой" прием планировки пассажирского здания и перрона, модернизация расчетного типа самолета не оказывает существенного влияния на планировку стоянок ближнего перрона. Поэтому расширение пассажирских и багажных помещений в этом диапазоне роста перевозок можно предусматривать путем повторения секций оптимальных габаритов. Планировка, габариты и возможности эксплуатации здания без функциональной определенности внутреннего пространства показаны на примере объединенного пассажирского, багажного и посадочного помещения (рис. 4). Это одноэтажное удлиненное здание пролетом 18-24 м, в продольных стенах которого запроектированы в определенном ритме входы для пассажиров и въезды для багажных платформ.

Рис. 4. Фрагмент плена объединенного пассажирского, багажного и посадочного
помещения:
1-одъединенное пассажирское и багажное помещение; 2-остановки транспорта на
привокзальной площади; 3-стоянки самолетов ближнего перрона; 4-зона летного
ожидания пассажиров; 5-багажное отделение; 6-зона сбора пассажиров перед
посадкой; 7-зона ожидания пассажиров; 8-камеры хранения - автоматы;
9-справочные, торговые автоматы; 10-вход в подвал к камерам хранения и
санузлам; 11-путь пассажиров с багажом; 12-путь пассажиров без багажа: 13-въезд
багажных платформ; 14-контейнеры с верхней
загрузкой багажа
Свободная от перегородок площадь может быть использована по усмотрению работников, эксплуатирующих такое помещение. Багажное отделение, изменяется по площади, в соответствии с числом одновременно оформляемых рейсов. С утра и в дневное время большинство багажных отделений используется для оформления вылетающих рейсов, к вечеру, в основном, для организации выдачи багажа прилетевшим пассажирам.
Площадь зоны сбора пассажиров на посадку и зона ожидания, примыкающие с обеих сторон к багажному отделению, перераспределяются в соответствии с потребностью их заполнения пассажирами.
Новый тип пассажирского здания в аэропорту возник на основе синтеза планировки нескольких типов ранее применяемых здании: аэровокзалов, павильонов, накопителей, посадочных сооружении. На площади его объединены функции пребывания и передвижения пассажиров от автомобиля к самолету. Это позволяет заменить перечисленные типы здании разной пропускной способности одним типом здания переменной длины и пропускной способности (рис. 5). Основные отличия объемно-планировочного решения объединенного помещения состоят в том, что оно длиннее применяемых зданий, планировочно связано со стоянками ближнего перрона, позволяет одновременно и пропорционально увеличивать фронт посадки в самолеты и площадь помещений обслуживания. В таком вокзале пассажиры каждого рейса будут иметь планировочно изолированную от пассажиров других рейсов удобную площадь для пребывания и благоустроенный переход к самолетам (см. рис. 4). Это позволяет удобно организовать движение потоков пассажиров и одновременно досуг отдельного пассажира.

Рис. 5. Предложение по замене нескольких типов ныне применяемых
зданий разной пропускной способности (I),одним типом здания переменной длины и разной пропускной
способности (II):
1-здание аэровокзала; 2-багажный павильон (200 пасс. в час); 3-павильон выдачи
багажа; 4-наконитель на аваиперроне; 5-пассажирский павильон (300, 400, 500,
700 пасс. в час); 6-буфет; 7-столовая-кафе; 8-ресторан, зал транзитного
ожидания, сектор международных пассажиров; 9-посадочная галерея на 7 МС;
10-посадрчный сателлит на 5-10 МС; 11-объединенное пассажирское, багажное и
посадочное помещение
Основная планировочная характеристика объединенного помещения, определяющая его габариты - фронт стоянок самолетов ближнего перрона. Автором предложена методика определения этого показателя, а также номограммы зависимости между объемом перевозок потребным фронтом стоянок ближнего перрона и площадью объединенного помещения для средних типичных условий эксплуатации аэропорта.
В результате сопоставления фронта, площади и количества секций объединенного помещения предложены несколько типов повторяющихся секций (рис. 6.А), отличающихся пропускной способностью, степенью децентрализации технологических секций и компактностью плана.

Рис. 6. Типы секций объединенного помещения, соединительных и посадочных элементов
Для размещения помещений длительного дополнительного обслуживания пассажиров предложено несколько типов зданий, отличающихся пропускной способностью, типом предприятий общественного питания, степенью объединения с другими службами аэропорта, приемом блокировки с объединенным помещением (рис. 7). Предусмотрены неодинаковые методы расширения крупных, мелких помещений и помещений пищеблока. Предложен также ряд типов соединительных блоков (рис. 6. Б).

Рис. 7. Типы вокзального здания, объединенные с помещениями КДП, управления аэропорта, столовой (I), столовой, гостиницей (II), обеспечивающие минимальный состав предприятий дополнительного обслуживания пассажиров (III)
Расширение аэровокзала, составленного из таких блоков, может осуществляться путем удлинения объединенного помещения, строительства новых секций регистрации и посадки, а также новых зданий длительного обслуживания пассажиров на примыкающих территориях застройки (рис. 8).

Рис. 8. Схемы поэтапного развития объемно-планировочного решения аэровокзалов разной пропускной способности
Важное преимущество нового решения состоит в том, что аэровокзал можно расширить поэтапно, исключив штучность застройки. При этом возможны определенные изменения глубины и этажности очередных секций здания, если этого требует новая техника и технология. Таким методом более закономерно развивается первоначальное решение комплекса (см. рис. 8).
Рассмотренный материал показывает, что планировка по типу контейнера может и должна найти применение при проектировании объектов аэропорта. Вполне своевременной является детальная разработка нескольких типов укрупненных зданий для аэропортов массового строительства с целью замены устаревших новыми, растущими и гибкими.
Значительно более сложная задача - проектирование развивающегося крупного аэровокзала. Как выше отмечалось, технология и планировка пассажирских зданий заметно изменится по мере увеличения вместимости (в 2-3 раза), модернизации конструкции и способов причаливания к аэровокзалу дозвуковых, сверхзвуковых и других типов летательных аппаратов (рис.9). Этот рисунок предположительно показывает лишь степень качественного влияния новей техники на объемно-планировочное решение аэровокзалов. Могут быть и другие направления влияния техники на архитектуру. Отсюда реальность того факта, что многое из условий перспективного развития не может быть предусмотрено на данном этапе. Для таких вокзалов необходим "контейнер", очередные секции которого не повторяются, а изменяются по габаритам, планировке, этажности и размещению основных вертикальных коммуникаций и т.п. Здесь гибкими должны быть не только помещения, но и граница здания с территорией стоянок самолетов и транспорта. Как отмечают специалисты [1] для таких условии универсальные решения непригодны, так как требуют значительных резервов на неизвестность. Объективно, в крупном аэропорту пассажирские здания разного периода строительства должны отличаться размерами, структурой и архитектурой. В связи с этим возникает проблема разработки единого комплекса, составленного из разных элементов.

Рис. 9. Влияние авиационной техники на эволюцию объемно-планировочных решений аэровокзалов
Опыт расширения аэровокзалов показывает, что успех длительного поэтапного строительства зависит в равной мере от предпосылок, заложенных на первых этапах, и от того, насколько правильно они развиваются впоследствии. Мастерство проектировщика, продолжающего строительство, накапливается опытом этапного проектирования. Результаты его деятельности, во многом, определяются особыми условиями реконструкции, что затруднительно предвидеть или регламентировать. Больше объективного в предпосылках, в том замысле, который закладывает проектировщик, начинающий строительство.
Ряд требований - предпосылок выявлен при анализе опыта реконструкции аэровокзалов. Это прежде всего требования непосредственного (на первых этапах), постепенного и независимого расширения групп помещений с разным режимом эксплуатации и разным темпом роста. Эти требования помогают практически осуществить поэтапное возведение зданий.
Для уяснения закономерностей развития архитектурной композиции пассажирских зданий крупных аэропортов требуется определенное понимание процесса развития. Развитие объектов архитектуры подчиняется общим законам развития [2,3] и состоит в последовательной смене определенных этапов зарождения, роста и стабилизации комплекса. Значит, для того, чтобы выявить требования к архитектурной трактовке построек 70-х годов, следует определить место современного этапа строительства в общей эволюции аэропортов и дать им качественную оценку.
Аэропорты сейчас находятся на этапе неуклонного, интенсивного развития, который сменится этапом стабилизации лишь к концу столетия, а может быть и в более отдаленной перспективе. Аэровокзалы, сооружаемые сегодня, развивают первичные "зародышевые" постройка 50-60 годов, но остаются фрагментом общего комплекса. Размеры, структура и облик этого комплекса сформируется в полной мере через 30-50 лет, когда будут построены наиболее значительные и масштабные сооружения для перспективных самолетов. История и планы развития многих крупных аэропортов показывают, что основное направление развития архитектуры аэровокзалов ( помимо роста размеров) - повышение определенности, характерности внешнего облика зданий, переход от мелких к более крупным формам, соответствующим масштабу аэродрома (рис. 10).

Рис. 10. Предложение архитекторов Я.Л. Урмана, А.Н. Неймана, М.Г. Акиньшина, М,В. Комского по развитию аэровокзала аэропорта Внуково
Постройки 70-х годов представляют coбой уже не первоначальную основу, "початок", а более зрелый "росток" будущего комплекса. Здания и сооружения такого промежуточного этапа строительства нельзя проектировать неповторимыми и завершенными с тем, чтобы развитие продолжалось и проявлялось в более совершенных формах. Архитектурная трактовка построек 70-х годов должна быть в такой степени нейтральном, чтобы впоследствии можно было свободно продолжить этот "росток" в пространстве, включить его в качестве составной части в более масштабное целое.
Застройку комплекса развивающегося аэропорта следует вести небольшими этапами, что позволяет повысить надежность проектного решения, обосновано выбирать место посадки здания на генплане, заложить предпосылки закономерных изменений. Наряду с этим, уменьшается абсолютная величина недогрузки и перегрузки площадей, которая будет возрастать пропорционально размерам зданий каждого этапа строительства.
Следует также в общих чертах представлять пути преобразования технологии и планировки. Вероятная, выполненная в эскизах, картина будущего необходима, как правильно отмечают многие исследователи (4,5), для уточнения практических действий в настоящем. Перспективы развития комплекса нам нужны для того и в такой мере, чтобы правильно строить сегодня. Недостаточная или механистическая оценка будущего приводила к ошибкам композиции строящегося здания. Архитектор завершал композицию намного раньше, чем стабилизировалось развитие комплекса. Из этого негативного опыта установлено, что часть здания данного промежуточного этапа строительства не должна решаться как целое. Видимо, избежать этого можно, если масштаб, степень завершенности и определенности объемно-планировочного решения будут выбираться в соответствии с местом и удельным значением строящихся зданий в границах общего комплекса. Архитектурная оболочка элементов поэтапного строительства должна быть "своевременной", т.е. спроектирована по возрасту этих построек ("початок" , росток" "дерево"). Вероятно, таким путем удастся "вырастить" масштабный и более определенный комплекс из малого и менее определенного.
Следует признать правильным, что развитие крупных аэровокзалов - это не повторение, а преобразование определенного решения (рис. 11). И поэтому здание, сооружаемое в 70-х годах, целесообразно, проектировать не как элемент повторения, а предусматривать возможность пространственного продолжения отдельных его помещений, возможность изменения его размеров, планировки и архитектуры. Практика показывает, что применение свободной геометрической схемы построения плана и объема здании позволяет заложить необходимые предпосылки для этапного развития и совершенствования структуры комплекса.

Рис. 11. Предложение по развитию объемно-планировочного решения аэровокзала крупного аэропорта
По способу возникновения и функционирования во времени составные части (здания) аэровокзального комплекса представляют гораздо более слитное целое, чем комплекс из завершенных неизменяемых зданий (улица). Здесь не только внешние дороги и тротуары, но и внутренняя пешеходная магистраль соединяет отдельные помещения и здания. Степень объединения зданий разных периодов строительства зависит от того, насколько полно удается архитектурными средствами обнаружить и выявить внутренние и внешние технологические каналы обмена (пассажирами, багажом) между зданиями, а также с каждым новым типом самолета и транспорта.
Следует отметить, что многое в вопросах архитектуры объектов нарастающей мощности, в частности, аэровокзалов сможет проясниться только по мере накопления опыта этапного строительства. Однако, вполне своевременной является разработка некоторых важных теоретических основ проектирования растущих типов зданий, а именно:
1. Более глубокое освоение общей теории развития и формообразования применительно к особенностям эволюции аэропортов.
2. Оптимизация резерва пропускной способности объектов на ближайшую и отдаленную перспективу. Разработка схем вариантности и проработанности проектной документации, которые соответствуют различным перспективным срокам проектирования объекта.
3. Исследование соотношения между моральным резервом объектов первой очереди строительства и степенью завершенности их архитектурной композиции.
Литература
1. Иконников А.В. Город будущего. "Современная архитектура", № 1, 1970.
2. Нориаки Курокава. Две системы метеоболизма. " Современная архитектура", № 5, 1968
3. Группа НЭР. Четыре проблемы архитектуры будущего. "Современная архитектура", № 1, 1970.
4. Рябушкин А. Жилая ячейка как объект прогностических исследований. "Архитектура СССР", № 3, 1972.
5. Раппопорт А.Г. Методика расчета потребности в учреждениях культурно-бытового обслуживания (для экспериментального проектирования). Сборник. Социальные предпосылки формирования города будущего. Серия Градостроительство. 11. Город и его элементы. Выпуск 31. Центр НТИ по гражданскому строительству и архитектуре. М., 1967.
Арх. М.В. КОМСКИЙ
канд. техн. наук В.И.ЧЕРНИКОВ
В целях рационального использования земельных участков, отведенных для строительства аэропортов и при разработке генерального плана должны быть учтены следующие основные требования:
- повышение плотности застройки территории;
- сокращение расстояния между зданиями и сооружениями;
- объединение мелких зданий и сооружений в более крупные;
- применение вертикальных схем производственных процессов вместо горизонтальных, где это допустимо и целесообразно.
Учитывая важность выполнения этих требований, в настоящее время разрабатываются нормы отвода земель и нормативные показатели плотности использованию земельных участков, отведенных для строительства аэропортов гражданской авиации.
На первом этапе этой работы был произведен анализ и дано обобщение показателей генеральных планов отечественных и зарубежных аэропортов, результаты которого изложены в данной статье.
В состав анализируемых показателей генерального плана аэропорта входят площади аэропорта (в границах землеотвода), аэродрома, служебно-технической территории (СТТ) аэропорта, а также коэффициенты застройки аэродрома и застройки СТТ.
В площадь аэропорта включены площади аэродрома, СТТ и участков обособленных сооружений (объектов радионавигации, посадки, управления воздушным движением, очистных сооружений, перевалочных складов ГСМ и т.п.).
Площади территории аэродрома и СТТ приняты в границах отвода земель, установленных по линии постоянного ограждения (или условной линии, соответствующей местоположению ограждения). В эти площади не включены участки отдельных (обособленных) сооружений, не имеющих общих границ с аэродромом или СТТ.
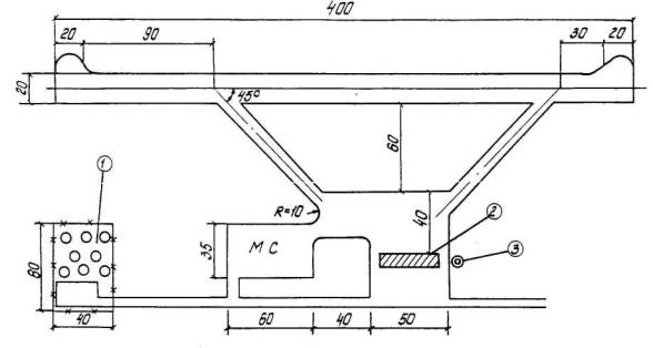
При отсутствии на генеральном плане линии ограждения СТТ аэропорта граница СТТ принята по линиям ограждения (или условной линии, соответствующей местоположению ограждения) постоянных или временных зданий и сооружений, расположенных по периметру СТТ, а со стороны аэродрома - по кромке искусственного покрытия МС самолетов (см. рис.). Если служебно-техническая территория по какой-либо стороне замыкается автомобильной дорогой или железнодорожными путями, граница принималась по внешним бровкам обочин или кюветов.

Схема выделения границ различных зон аэропорта Париж-Орли, м 1:10000
Коэффициент застройки аэродрома или СТТ (плотность застройки) представляет отношение площади застройки аэродрома или СТТ к соответствующей площади отвода.
В площадь застройки аэродрома включена сумма площадей рабочей части летных полос, рулежных дорожек для маневрирования воздушных судов и их стоянки при различных видах открытого хранения, обслуживания и доводки.
Площадь застройки СТТ определена как сумма площадей, занятых постоянными и временными зданиями и сооружениями, за исключением площади под рельсовые и безрельсовые дороги с полосами отвода для прокладки коммуникаций.
В площадь застройки СТТ также включена вся территория в пределах ограждений базы механизации, аэродромного двора, метеоплощадки и склада ГСМ (если он не расположен на обособленной территории) и часть площадей у зданий и сооружений СТТ, предназначенная для стоянки спецмашин и общественного транспорта.
Для определения названных показателей изучены генеральные планы 25 отечественных аэропортов различных классов и 18 зарубежных аэропортов разной пропускной способности.
ОСНОВНЫЕ ПОКАЗАТЕЛИ ГЕНПЛАНОВ АЭРОПОРТОВ
|
Показатели |
Единица измерения |
Класс аэропорта |
|||
|
III-IV |
I-II |
Внеклассные |
|||
|
отечественные |
зарубежные |
||||
|
Площадь аэропорта в границах землеотвода |
га |
120-575 |
260-765 |
950-1230 |
1050-3000 |
|
Площадь аэродрома |
га |
110-545 |
245-710 |
805-990 |
880-1560 |
|
Площадь СТТ |
га |
10-30 |
15-55 |
100-150 |
170-580 |
|
Коэффициент застройки аэродрома |
% |
5-10 |
10-25 |
10-25 |
13-23 |
|
Коэффициент застройки СТТ |
% |
20-30 |
20-35 |
25-35 |
30-40 |
Классы аэропортов устанавливались согласно действующим нормам технологического проектирования аэропортов гражданской авиации (НТП-1-68).
Обобщенные результаты обмеров генпланов аэропортов по основным планировочным показателям приведены в таблице.
Полученные данные могут использоваться для оценки проектов генеральных планов аэропортов и служить основой для разработки нормативных показателей технико-экономической эффективности использования земельных участков, отведенных для строительства объектов воздушного транспорта.
Литература
1. Проектирование машиностроительных заводов. ГосНТИ Машстройиздата, М., 1960.
2. Нормы технологического проектирования аэропортов гражданской авиации (НТП 1-68). ОНТИ ГПИ и НИИ ГА, М., 1968.
Инж. В.Л. МАЙОРОВА
канд. техн. наук В.И. ЧЕРНИКОВ
Одним из путей сокращения продолжительности наземного передвижения пассажиров воздушного транспорта является совершенствование организации транспортных связей между городом и аэропортом. Для перевозки пассажиров между городом и аэропортом наиболее часто применяют автобусы, которые, ввиду высокой маневренности, позволяют удобно использовать автомагистрали города, не прибегая к строительству специальных транспортных линии к аэропортам.
В малых и средних городах, где объемы воздушных пассажирских перевозок относительно невелики, автобусы совместно с троллейбусами, автомобилями и такси, весьма вероятно, будут оставаться и в дальнейшем наиболее эффективными средствами наземной связи аэропорта с городом.
Для обслуживания крупных аэропортов, расположенных далеко от города, предлагаются более скоростные виды транспорта по сравнению с автобусами. К их числу относятся монорельсовые дороги, вертолеты, метрополитен, скоростные железные дороги.
Монорельсовые дороги позволяют обеспечить доставку пассажиров в аэропорты в полтора-два раза быстрее, чем автобусы. Однако, экономическая эффективность применения монорельсовых дорог связана с наличием большого пассажиропотока (около 20-30 тыс. чел. в час), который не достигнут ни одним аэропортом мира. Единственная монорельсовая дорога протяженностью 13 км, используемая для сообщения Токио с аэропортом Ханеда (Япония), эксплуатируется с большим дефицитом, так как перевозит только около 6,5 тыс. пассажиров в сутки при пропускной способности 30 тыс. чел. в час [1].
В Москве, Сочи и некоторых других городах используются вертолеты для перевозки пассажиров и обслуживающего персонала в аэропорты со скоростью 120 км/ч и более. Однако вертолеты перевозят немногим более 1% всего количества пассажиров, ежедневно пользующихся аэропортами. Одной из основных причин этого являются высокие тарифы на перевозки, вызванные пока еще значительной стоимостью вертолетов.
Большие капиталовложения и высокая стоимость эксплуатации при относительно небольших объемах пассажирских перевозок ограничивают применение железнодорожного сообщения между городом и аэропортом. Проведенные Управлением Нью-Йоркского аэропорта исследования возможности обеспечения прямого железнодорожного сообщения с аэропортом Ныо-арк показали экономическую невыгодность этого проекта, так как доходы от перевозок по железной дороге не компенсируют затрат, связанных со строительством [1].
Устройство монорельсовых дорог, метрополитена и железных дорог, ведущих к аэропортам будет эффективным лишь в том случае, если они будут обслуживать не только авиапассажиров и посетителей аэропортов, но и попутных пассажиров, количество которых должно быть весьма значительным. Это обстоятельство учтено при разработке проекта продления линии скоростной железной дороги до аэропорта Гопкинс. Ожидается, что основная часть дохода от эксплуатации этого участка будет поступать от пригородных пассажиров, использующих железную дорогу на промежуточных остановках.
Поскольку автобусы останутся одним из основных транспортных средств обслуживания перевозок между крупными городами и аэропортами, изыскиваются пути увеличения скорости их движения. В частности, предлагается строительство автомобильных дорог исключительно для сообщения с аэропортом, как например, между городом Вашингтоном и аэропортом Даллес, или выделение для этой цели специальных полос движения по существующим автомагистралям.
В связи с многообразием предлагаемых приемов организации транспортных связей между крупными и крупнейшими городами и аэропортами выбор оптимальных вариантов должен осуществляться на основе технико-экономических расчетов.
Выбор транспорта для пассажирских перевозок между городом и аэропортом производится в той же последовательности, что и для перевозок пассажиров на любой транспортной линии города.
На первом этапе необходимо установить те виды транспорта, которые по провозной способности смогут выполнить требуемый объем перевозок. Пассажиропоток в сечении у границы аэропорта образуется, как правило, из перевозок авиапассажиров, встречающих и провожающих их лиц, рабочих и служащих аэропорта, проживающих в городе, и жителей поселка в аэропорту, если такой имеется. Для приближенных расчетов среднечасовой пассажиропоток в одном направлении в сечении у границы аэропорта может быть определен по формуле
(1)
где V - годовой объем отправок аэропорта;
N - численность работающих в аэропорту;
Т - число часов работы городского транспорта в сутки, принимаемое для расчетов равным 16-18;
l - коэффициент, учитывающий увеличение потока за счет перевозки лиц, встречающих и провожающих пассажиров.
После определения величины пассажиропотока устанавливается его распределение между индивидуальным и общественным транспортом. По данным наблюдений, проведенных в 1969-1970 годах, 65-80% пассажиров и посетителей аэропортов перевозятся общественным транспортом (см. таблицу).
Распределение пассажиропотока между городом и аэропортом по видам транспорта, %
|
|
Вид транспорта |
|||||
|
Аэропорт |
автобус |
маршрутное такси |
троллейбус |
электро поезд |
такси |
личные и частные автомобили |
|
Быково |
22 |
- |
- |
48 |
20 |
10 |
|
33 |
4 |
- |
40 |
15 |
8 |
|
|
Внуково |
60 |
10 |
- |
- |
22 |
8 |
|
Шереметьево |
60 |
15 |
- |
- |
15 |
10 |
|
Симферополь |
15 |
5 |
60 |
- |
15 |
5 |
|
Краснодар |
73 |
- |
- |
- |
21 |
6 |
|
Ашхабад |
80 |
5 |
- |
|
25 |
10 |
|
Минеральные Воды |
75 |
5 |
- |
- |
15 |
5 |
|
Баку |
80 |
- |
- |
- |
16 |
4 |
|
Душанбе |
50 |
30 |
- |
- |
14 |
6 |
Полученный пассажиропоток, приходящийся на долю общественного транспорта, необходимо сопоставить с провозной способностью транспортных средств в одном направлении, которая поданным проф. В.А. Черепанова [5], составляет, пасс/час:
автобусы................…5500-8800;
троллейбусы .............5100-10400;
трамваи......................8000-12600;
монорельс .................6000-24000;
метрополитен ...........27200-54400
На втором этапе выбора вида общественного транспорта определяется время перевозки пассажиров путем деления расстояния между городом и аэропортом на скорость сообщения для различных видов транспорта. В целях сокращения времени поездки целесообразно устраивать экспрессное движение общественного транспорта на обособленном полотне, либо на скоростных магистралях. В этом случае скорость сообщения будет близка к предельно допустимой скорости на перегоне для различных видов транспорта, составляющей, км/час:
для трамваев и троллейбусов............50;
для автобусов.......................................60 ;
для метрополитена..............................70-80;
для монорельсовой дороги.................100-120
Методические указания по размещению транспортных устройств в транспортных узлах [2] рекомендуют считать выбранными те виды транспорта, которые могут перевезти пассажиров от городских предприятий гражданской авиации до аэропорта не более чем за 30 мин.
Заключительным и основным этапом по выбору рационального вида общественного транспорта для перевозки пассажиров между городом и аэропортом является технико-экономическое сравнение конкурирующих видов транспорта, которое в соответствии с общепринятой методикой [4] заключается в определении приведенных затрат по формуле
Э = С + Е·К, (2)
где С - годовые эксплуатационные расходы;
К - капитальные вложения по организации движения транспорта;
Е - нормативный коэффициент эффективности капитальных вложений, равный 0,12.
Выбирается вид транспорта, имеющий минимальные приведенные затраты.
При определении капиталовложений необходимо учитывать, что в период строительства аэропорта устраивается подъездная дорога для подвоза материалов и оборудования, которая с частичной реконструкцией может быть использована для пассажирского движения. Кроме того, при производстве расчетов следует иметь в виду, что в целях обеспечения комфорта проезда на экспрессных линиях между городом и аэропортом ехать стоя пассажирам в городском транспорте не разрешается. В связи с этим нормальная вместимость, транспортного средства не должна превышать числа мест для сидения пассажиров. Обработка данных наблюдений в аэропортах Симферополь, Краснодар, Минеральные Воды, Баку и Московского авиаузла показала, что коэффициент среднесуточного наполнения автобусов-экспрессов колеблется в достаточно узких пределах и составляет 0,5-0,6 от количества мест для сидения.
Ориентировочные расчеты показали, что капитальные вложения на организацию движения автобусов, троллейбусов или трамваев составляют примерно 100-250 тыс. руб. на каждый километр двойного пути и столько же требуется ежегодных эксплуатационных расходов.
Литература
1. Гилмен Р. Проблема транспортных связей между аэропортом и городом и возможные пути ее решения. "Гражданское строительство", № 7, 1867.
2. Методические указания по размещению транспортных устройств в транспортных узлах. ИКТП при Госплане СССР. М., 1962.
3. Страментов А.С., Сосянц В.Г., Фишельсон М.С. Городской транспорт. Стройиздат, М., 1989.
4. Типовая методика определения экономической эффективности капитальных вложений. "Экономика", М., 1969.
5. Черепанов В.А. Транспорт в градостроительстве. Стройиздат, М., 1964.
Инж. В.М. РОМAШКОВ
Возросшие требования к качеству авиационно-химических работ в сельском хозяйстве, необходимость их проведения строго в установленные агротехнические сроки, в том число ранней весной и поздней осенью, когда грунтовые аэродромы находятся в состоянии распутицы, вызвали необходимость строительства сельскохозяйственных аэродромов с искусственными покрытиями.
Первые такие аэродромы были построены в начале шестидесятых годов в Узбекистане. С 1961-1967 гг. началось строительство аэродромов для авиационно-химических работ на Украине, с 1968-1969 гг. - на Северном Кавказе.
В настоящее время накоплен определенный опыт подготовки сельскохозяйственных аэродромов с искусственными покрытиями. Вместе с тем, обследование аэродромов в районах интенсивного проведения авиационно-химических работ (Украина, Северный Кавказ, Средняя Азия) показало значительные различия в их планировочных схемах, количестве и размерах элементов аэродромов, наборе зданий и сооружений.
Строительство большого количества постоянных сельскохозяйственных аэродромов с искусственными покрытиями, недостаточность специальных разработок и невозможность технико-экономического проектирования таких аэродромов на основе методов и расчетов, обычно применяющихся для транспортных аэродромов, вызывает необходимость исследования технологических процессов их работы и выявления наиболее эффективных планировочных решений.
Структурная схема технологических процессов по аэродромах сельскохозяйственной авиации
Технология работы аэродромов сельскохозяйственной авиации неразрывно связана с основным производственным процессом авиационно-химических работ - полетами самолетов для обработки сельскохозяйственных площадей.
Как известно, рабочее время на авиационно-химических работах делится на циклическое и нециклическое. Производственный процесс работы сельскохозяйственной авиации, в течение которого совершаются повторяющиеся полеты для авиаобработки земельных угодий, носит ярко выраженный циклический характер. Нециклическим является время, в течение которого производятся операции, не связанные с производственным циклом. Сюда относятся: подготовительное и заключительное время (перед началом и в конце работы), время на техническое обслуживание, заправку самолетов топливом и т.п. Определяющим элементом структуры технологических процессов на авиационно-химических работах, от которого зависит конечный результат - обработка сельскохозяйственных площадей и производительность самолетов, является производственный циклический процесс. Чем больше на протяжении рабочего дня циклического времени и чем рациональнее оно используется, тем выше дневная выработка самолетов. Нециклическое время представляет собой сумму неизбежных, связанных с производственным процессом перерывов и должно быть сведено к минимуму.
Аэродром, являясь основной базой, на которой выполняется значительная часть производственного цикла (взлет, посадка, руление и загрузка самолетов), а также нециклические процессы, должен представлять собой технологически распланированную территорию, на которой располагаются сооружения и оборудование, обеспечивающие производство авиационно-химических работ. Технологические операции производственного цикла определяют необходимость устройства элементов аэродрома с искусственными покрытиями, обеспечивающих этих операции: ВПП, РД, загрузочных площадок. Техническое обслуживание, заправка и стоянка самолетов, не входящие в производственный цикл, производятся на МС. На общей технологической схеме работы аэродрома сельскохозяйственной авиации (рис. 1) видно, что все элементы аэродрома технологически взаимосвязаны. Поэтому аэродром может функционировать нормально, если система "ВПП -РД - загрузочная площадка" обеспечивает бесперебойный прием и обслуживание потока самолетов. Уменьшение потерь времени при выполнении отдельных операций на аэродроме зависит от рационального размещения элементов аэродрома, оптимального количества этих элементов с учетом характеристик входящего потока самолетов.

Рис. 1. Технологическая схема работы аэродрома
Планировочные решения и состав зданий и сооружений сельскохозяйственных аэродромов
Анализ построенных аэродромов сельскохозяйственной авиации показывает, что по специфике работы они могут быть подразделены на аэродромы, совмещенные с транспортными аэропортами, и специальные аэродромы.
Основным преимуществом совмещенных аэродромов является то, что авиахимработы могут проводиться одновременно с транспортными перевозками и, следовательно, не требуется изымать дополнительные земли под специальные аэродромы из государственного или колхозного фонда. Для обеспечения пассажирских и грузовых, перевозок такие аэродромы имеют здания и сооружения пассажирского сектора. Вместе с тем следует отметить, что размещение зданий и сооружений пассажирского сектора сопряжено с определенными трудностями, связанными с необходимостью соблюдения санитарных разрывов, которые при использовании ядовитых веществ составляют 200 м. Кроме того, такие аэродромы для удобства пассажирских перевозок располагаются вблизи населенных пунктов, что в ряде случаев может оказаться нерациональным, исходя из структуры и расположения обрабатываемых сельскохозяйственных земель. Поэтому вопрос о строительстве совмещенных аэродромов должен решаться в каждом конкретном случае с учетом технико-экономических факторов и санитарных требований, влияющих на расположение аэродрома.
В настоящее время распространены специальные аэродромы для авиационно-химических работ. Как правило, такие аэродромы имеют подъездные пути для доставки химикатов, топлива и т.п., некоторые аэродромы построены в непосредственной близости к железнодорожным веткам. Наличие удобных подъездных путей, обеспечивающих подвозку химикатов и топлива в любое время года, является важнейшим условием при выборе места расположения аэродрома. Наиболее удобными и экономичными являются аэродромы, непосредственно примыкающие к железнодорожным веткам. На аэродроме для авиахимических работ в колхозе им. Шевченко Горностаевского района Херсонской области (рис. 2) склад минеральных удобрений находится вблизи железной дороги и соединен с прирельсовой площадкой подъездной дорогой.

Рис. 2. План аэродрома для проведения авиахимработ в колхозе
Шевченко Херсонской области;
1 - склад ГСМ, 2 - склады минеральных удобрений, 3 - загрузочная площадка, 4 -
резервуар для жидких ядохимикатов, 5 - площадка для загрузки удобрений, 6 -
бытовое помещение
На аэродроме колхоза "Коммунист" Генического района железнодорожная ветка подходит непосредственно к складу химикатов, около которого размещается загрузочная площадка, соединенная рулежной дорожкой с ВПП. В этом случае удобрения проходят самый короткий путь: вагон-склад-самолет. При подобных планировочных решениях аэродрома сокращаются или совсем исключаются перевозки химикатов автотранспортом, сводятся до минимума их потери во время погрузки, разгрузки и транспортировки.
На первом этапе строительства сельскохозяйственных аэродромов была распространена схема планировки с непосредственным примыканием загрузочной площадки к ВПП у одного из ее концов. Такие схемы использованы, например, на аэродромах совхозов "Алть-Арык", "Акбар-Абад" (Ташлак), "Комсомол", "Борисовский", Массальский", "Горчаково", "Большевик" Ферганской области, совхоза "Заря коммунизма" Московской области.
Однако такое расположение загрузочной площадки может быть целесообразно, если в данной местности преобладают ветры одного направления. Кроме того, загрузочные площадки, непосредственно примыкающие к ВПП, могут применяться на аэродромах, предназначенных для эксплуатации только одного самолета. При работе же двух и более самолетов безопасность посадки на таком аэродроме не обеспечивается из-за недопустимо близкого расположения к ВПП загрузочной площадки, на которой может находиться самолет, загрузочные механизмы и удобрения.
В настоящее время, при одновременной работе 2-3 и более самолетов, удаление от ВПП стоящих под загрузкой самолетов обеспечивают путем устройства соединительных РД.
Загрузочные площадки с одной соединительной РД построены на аэродромах колхоза им. Кирова Ростовской области, совхоза "Жовтневый" Херсонской области, колхоза "Узбекистан" Ферганской области и др. В целях увеличения пропускной способности загрузочных площадок устраивают две рулежные дорожки - одну для заруливания на загрузочную площадку, другую для выруливания загруженного самолета на ВПП. Загрузочные площадки с двумя соединительными РД, расположенными у конца ВПП, построены на аэродромах "Бериславский", "Чаплынка" Херсонской области, аэродроме совхоза "Ленинград" Ферганской области и др.
Как уже отмечалось, расположение загрузочной площадки у одного из концов ВПП имеет определенные недостатки. В связи с этим, в целях сокращения путей руления самолетов, особенно в районах, где нет преобладающего направления ветров, загрузочные площадки размещают центрально относительно ВПП. При этом устраивают одну соединительную РД (например, на аэродромах колхоза "Советская Россия" или совхозов "Гигант", "Сальский" Ростовской области и др.) или две соединительные РД ( "Скадовский" (рис. 3) Херсонской области, "Фрунзовка" Одесской области и др.).

Рис. 3. Схема планировки аэродрома Скадовский Херсонской области:
1 - склад ГСМ, 2 - склад минеральных удобрений, 3 - склад ядохимикатов
Производительные полеты самолетов на авиационно-химических работах зависят от пропускной способности и количества загрузочных площадок на аэродроме. Ожидание загрузки снижает производительность самолетов. Поэтому на аэродромах с большим объемом работ, эксплуатирующих несколько самолетов, устраивают не одну загрузочную площадку. В этих случаях загрузочные площадки могут быть индивидуальными или групповыми. Индивидуальные площадки предназначены для загрузки одного самолета, а групповые - для одновременной загрузки нескольких самолетов.
Обследование показало, что в целях бесперебойной работы самолетов на аэродромах имеются склады минеральных удобрений и ядохимикатов, склады горючесмазочных материалов. Кроме того, для экипажей и обслуживающего персонала строятся служебно-бытовые здания и сооружения. Перечень объектов служебно-технической территории во многом зависит от местных условий, удаленности от населенных пунктов и объектов местных сельскохозяйственных организаций. Так, аэродромы, построенные в Ферганской области, имеют следующие постройки, необходимые для обеспечения авиационно-химических работ в условиях Средней Азии:
- склады для хранения минеральных удобрений, малотоксичных ядохимикатов, инвентаря и т.п. емкостью 150-300 т;
- склады высокотоксичных ядохимикатов;
- помещения для отдыха экипажей;
- бетонированные емкости для отстоя воды;
- емкости для приготовления растворов;
- склады ГСМ.
Особенностью работы сельскохозяйственных аэродромов в условиях Средней Азии является большой дефицит воды. Поэтому на большинстве аэродромов построены специальные бетонные водоемы (обычно по два водоема емкостью по 30 м3 каждый), в которые вода берется из арычной сети. Эти водоемы служат как для хранения воды, так и для ее осветления (отстоя), так как арычная вода часто загрязнена. Водоемы для хранения воды и емкости для приготовления растворов располагаются непосредственно у загрузочной площадки в месте, удобном для заруливания самолета.
На Украине, Северном Кавказе и в Московской области строятся склады минеральных удобрений и ядохимикатов емкостью от 400 до 4000 т., что объясняется большими объемами работ по внесению минеральных удобрений по сравнению с Средней Азией. Строятся также служебно-бытовые здания, склады ГСМ и другие сооружения.
Анализ схем планировки действующих сельскохозяйственных аэродромов, количества и размеров их элементов, перечня зданий и сооружений показывает их зависимость от местных условий: видов и объемов авиахимработ, количества работающих самолетов, климатических условий, расположения аэродрома по отношению к населенным пунктам,
Особенности функционирования и метод расчета элементов аэродромов сельскохозяйственной авиации
Исследование технологических процессов на сельскохозяйственных аэродромах, основанное на материалах обширных наблюдений, требует привлечения современных математических методов, которые, с одной стороны, могли бы достоверно описать реальные закономерности взаимодействия и функционирования элементов системы "самолет-аэродром", и с другой - определить пути и методы оптимизации режимов работы таких аэродромов. За математическую основу этих исследований могут быть приняты статистический метод и теория массового обслуживания, позволяющие рассматривать аэродром в целом и его элементы в отдельности как системы, обслуживающие поступающий поток требований (поток самолетов).
Любому реальному процессу, и потоку самолетов на аэродромах для авиационно-химических работ в частности, свойственен элемент случайности. Объясняется это влиянием метеорологических условий, особенностями техники пилотирования, уровнем подготовки летного и технического состава и т.п. В результате этого время производственного цикла даже для одинаковых условий проведения авиационно-химических работ и удаленности участков обработки от аэродрома различно и, следовательно, интервалы между прибытиями самолетов отличаются друг от друга и носят вероятностный характер. На режим работы аэродромов влияет не только неравномерность поступления самолетов, но также неодинаковая длительность их обслуживания (время занятости ВПП и РД, продолжительность стоянки под загрузкой химикатами). Все это говорит о том, что работа аэродрома в целом протекает неравномерно. В поступлениях самолетов и их наличии на аэродроме образуются сгущения и разрежения, что может привести соответственно к образованию очереди ожидающих загрузки самолетов или к недостаточно полному использованию загрузочных площадок и механизмов.
Поскольку процесс поступления и обслуживания самолетов на аэродроме является вероятностным, то функционирование комплекса ВПП-РД а загрузочных площадок можно рассматривать как функционирование локальных систем, предназначенных для обслуживания самолетов по мере их поступления. При этом одновременно в системе обслуживания не может находиться больше т требовании, где т - конечное число, равное количеству работающих с данного аэродрома самолетов. Количество самолетов т в значительной степени определяет характер потока прибытии самолетов на аэродром для загрузки, от которого зависят основные показатели эффективности функционирования всей системы.
Исследование потока прибытий самолетов на сельскохозяйственных аэродромах
Исследование любого потока, в том числе и самолетов, заключается в определении наличия или отсутствия свойств ординарности, стационарности и последействия (1,2,4).
Очевидно, что поток прибытии самолетов является ординарным, независимо от количества работающих самолетов, так как на однополосном аэродроме возможна одновременная посадка только одного самолета.
В течение суток поток самолетов не будет обладать свойствами стационарности. Однако в рабочие периоды суток поток будет стационарным, так как часовая интенсивность поступления самолетов примерно одинакова. На основе многочисленных статистических данных была произведена проверка стационарности потоков самолетов путем вычисления корреляционных уравнений при помощи чисел Чебышева с применением критериев Фишера и Романовского (3). Полученные корреляционные уравнения нулевого порядка указывают на стационарность потока.
Следующий этап исследования - определение свойств последействия потока.
В случае работы па аэродроме одного самолета момент очередного прибытия зависит только от момента предыдущей посадки (т.е. от продолжительности производственного цикла) и не зависит от остальных предшествующих посадок этого самолета.
Согласно (1,2) такие потоки называются потоками с ограниченным последействием. При работе на аэродроме нескольких самолетов, общий входящий поток самолетов образуется сложением потоков, создаваемых каждым самолетом в отдельности. При этом суммирование (взаимное наложение) нескольких ординарных и стационарных потоков с практически любым последействием приводит к перемешиванию потоков требований и создает общий поток, сколь угодно близкий к потоку без последействия. Согласно (2) на практике оказывается достаточно сложить 4-5 потоков, чтобы получить общий поток, с которым можно оперировать как с потоком без последействия.
Таким образом, в зависимости от количества работающих самолетов, последействие входящих потоков изменяется от ограниченного последействия до его отсутствия. При этом в потоке, создаваемом одним самолетом, последействие значительно, а при четырех и более самолетах - практически отсутствует. Потоки требований, образуемые 2-3 самолетами, могут рассматриваться как переходные, в которых последействие невелико. Вместе с тем, как отмечает проф. Е.С. Вентцель, "замена произвольного стационарного потока с не очень большим последействием простейшим потоком той же плотности, как правило, мало влияет на характеристики пропускной способности системы" (2). Таким образом, для расчета показателей эффективности сельскохозяйственных аэродромов при работе двух и более самолетов может быть использована модель с входящим потоком без последействия. Аэродромы же с одним самолетом не имеют практического интереса для расчета количества РД и загрузочных площадок.
Потоки ординарные, стационарные и без последействия называются простейшими (пуассоновскими), для которых вероятность поступления в промежуток времени t равно К самолетов может быть задана формулой (1,2,5)
(1)
где l - математическое ожидание числа самолетов, прибывающих на аэродром за единицу времени (интенсивность потока).
Статистические исследования интервалов между прибытиями самолетов (при работе 4 b более самолетов) с помощью критерия Р(X2) и критерия числа серий показала взаимную независимость интервалов. Кроме того, совокупность указанных интервалов имеет распределение по экспоненциальному закону. На рис. 4 изображена гистограмма и кривая плотности распределения для потока самолетов на аэродроме Ижевск при одновременной работе пяти самолетов. Указанные статистические исследования подтвердила гипотезу о пуассоновском потоке самолетов на аэродромах сельскохозяйственной авиации.

Рис. 4. Гистограмма и кривая плотности распределения интервалов прибытий самолетов на аэродроме Ижевск (5 самолетов)
Исходя из свойств пуассоновского потока, для полного его описания достаточно вычислить расчетную интенсивность потока по формуле
(2)
где n - количество самолетов, одновременно работающих с данного аэродрома;
Tц - средняя продолжительность производственного цикла, мин.
Описание функционирования и показатели эффективности систем ВПП-РД и загрузочных площадок
Учитывая специфику работы сельскохозяйственных аэродромов, систему ВПП-РД можно отнести к системам массового обслуживания с задержками, с конечным количеством аппаратов, обслуживающих поток требований без приоритета. Кроме того, рассматриваемая система является одноканальной, обеспечивающей одновременное обслуживание только одного самолета, причем время обслуживания (время занятости ВПП-РД) - произвольно. функционирование такой системы описывается уравнением
(3)
где t - среднее время задержки посадки или взлета из-за занятости системы ВПП-РД;
tcp - среднее время занятости системы ВПП-РД;
V - вариационный коэффициент, учитывающий разброс времени занятости системы ВПП-РД.
Среднее время задержки самолетов из-за занятости системы ВПП-РД является основным критерием работы системы и должно устанавливаться с помощью технико-экономических методов, позволяющих определить такую интенсивность движения, превышение которой требует устройства дополнительной РД, повышающей пропускную способность системы ВПП-РД и снижающей время задержки.
Величины среднего времени занятости системы ВПП-РД для различных аэродромов различны. Это обусловлено, главным образом, различием в планировочных решениях аэродромов и в организации движения самолетов. Время занятости системы ВПП-РД определяется временем непосредственного нахождения самолетов в системе при взлете и посадке и интервалами безопасности между взлетающими и садящимися самолетами. Среднее время занятости системы ВПП-РД может быть определено по следующим формулам:
(4)
где
- среднее время
занятости ВПП с одном соединительной РД;
- среднее время занятости ВПП с двумя соединительными РД;
tвзл - время нахождения самолетов в системе ВПП-РД при взлете;
tпос - время нахождения самолетов в системе ВПП-РД при посадке;
tр - время руления самолета после посадки от границы боковой полосы безопасности до загрузочной площадки;
tплан - время планирования самолета с рекомендуемой высоты ухода на второй круг.
На рис. 5 приведены показатели эффективности функционирования систем ВПП с одной и двумя РД для схем планировки сельскохозяйственных аэродромов, принятых в типовом проекте № 508-48.

Рис. 5. Показатели эффективности функционирования системы ВПП-РД
Загрузочные площадки на аэродромах сельскохозяйственной авиации могут рассматриваться как локальные системы массового обслуживания с задержками, пуассоновским входящим потоком требований и произвольным временем обслуживания, причем в случае, если на аэродроме одна загрузочная площадка, система является одноканальной, если несколько - многоканальной.
Основным показателем эффективности функционирования загрузочных площадок является среднее время ожидания прибывшим самолетом начала загрузки из-за занятости площадки ранее прибывшим самолетом. Среднее время ожидания загрузки (tож ) для одной, двух или трех одновременно работающих загрузочных площадок может быть определено по формулам (6):
- для одной загрузочной площадки при m < 1:
(6)
- для двух загрузочных площадок при m < 2:
(7)
- для трех загрузочных площадок при m < 3:
(8)
где m - относительная интенсивность потока самолетов (интенсивность прибытий самолетов за время занятия загрузочной площадки одним самолетом);
tср - средняя продолжительность загрузки;
V - коэффициент вариации продолжительности занятия загрузочной площадки.
Время ожидания загрузки зависит от интенсивности поступления самолетов для одной или двух загрузочных площадок (рис. 6, 7). Увеличение количества загрузочных площадок резко снижает время ожидания загрузки. Определение необходимого количества загрузочных площадок должно производиться с помощью технико-экономических методов с учетом затрат на устройство площадок и эксплуатацию загрузочных механизмов.

Рис. 6. Зависимость среднего времени ожидания загрузки от интенсивности потока самолетов и времени загрузки для одной загрузочной площадки

Рис. 7. Зависимость среднего времени ожидания загрузки от интенсивности потока самолетов и времени загрузки для двух загрузочных площадок
Технико-экономический расчет количества РД
Задержка посадки или взлета самолетов из-за занятости системы ВПП-РД приводит к увеличению непроизводительного летного времени и времени производственного цикла. В связи с этим увеличиваются эксплуатационные расходы за счет дополнительных затрат на горюче-смазочные материалы, амортизацию, зарплату и т.д. Следовательно, необходимо определить такое время задержки и интенсивность полетов, начиная с которых экономически целесообразным является сооружение второй РД, снижающей время задержки самолета. В качестве показателя экономической эффективности рассматриваемых вариантов приняты суммарные приведенные расходы по РД и самолетам, минимум которых определяет более экономичный вариант.
Расчетные формулы имеют вид:
E(s,l) = 0,5lTt(s,l)[Cл+Сз], (9)
E(s+1,l) = 0,5lTt(s+1,l)[Cл+Сз] + Эрд + ЕнК, (10)
где E(s,l); E(s+1,l) - приведенные затраты при s и s+1 рулежных дорожках;
l - интенсивность взлетов и посадок самолетов;
T - период работы аэродрома;
t(s,l); t(s+1,l) - время задержки посадки или взлета самолета из-за занятости системы ВПП-РД при s и s+1 рулежных дорожках;
Cл - себестоимость летного часа;
Сз - себестоимость ожидания взлета на земле;
Эрд - эксплуатационные расходы на содержание дополнительных площадей искусственных покрытий при устройстве добавочной РД;
Ен - нормативный коэффициент эффективности капитальных вложений;
К - сумма капитальных вложении на увеличение площадей искусственных покрытий при строительстве дополнительной РД.
Установим средние значения параметров, входящие в формулы определения приведенных затрат:
1) Величина эксплуатационных расходов Эрд составит:
(11)
где
- амортизационных
отчислении по искусственным покрытиям РД, принимаемая 4,1% от размера
капитальных вложений;
етр - норма расходов на текущий ремонт искусственных покрытий РД (35% от амортизационных отчислений) ;
2) Капитальные вложения К составят:
К = Сп · Sрд (12)
где Сп - стоимость устройства 1 м2 покрытия РД;
Sрд - дополнительная площадь искусственных, покрытий при строительстве добавочной РД.
По типовому проекту аэродрома сельскохозяйственной авиации № 506-46 величина Сп = 2,87 руб., a Sрд = 1190 м. Таким образом:
К = 2,87·1190 = 3420 руб.
3) Нормативный коэффициент эффективности капитальных вложений примем равным Ен = 0,09.
4) Среднюю себестоимость летного часа самолета Ан-2 и часа ожидания взлета с учетом работы двигателя примем равной соответственно 73 руб. и 9 руб.
Интенсивность посадок и взлетов самолетов l, при которой целесообразно устройство второй РД на аэродроме сельскохозяйственной авиации, определяется путем построения графика зависимости приведенных затрат при одной и двух РД от указанной интенсивности. Пересеченна рассчитанных кривых дает величину интенсивности посадок и взлетов, при которой экономически целесообразно устройство второй РД. На рис. 8 приведен пример расчета технико-экономического обоснования устройства второй РД на аэродроме в случае, если агротехнический срок внесения минеральных удобрений в течение года составляет 20 дней, а среднее время работы в день (циклическое время) - 5,12 часа.

Рис. 8. Зависимость приведенных затрат от интенсивности взлетов и посадок самолетов при расчете количества РД на аэродроме
Технико-экономический расчет количества загрузочных площадок
Для определения интенсивности посадок самолетов, при котором целесообразно устраивать дополнительные загрузочные площадки, может быть применен тот же метод, что и для расчета количества РД, а именно - соизмерение показателен себестоимости и капитальных вложений по минимуму приведенных затрат при n и n+1 загрузочных площадок. Во втором варианте требуются дополнительные капитальные вложения, но уменьшается среднее время ожидания самолетом загрузки. Задача сводится к тому, чтобы с помощью технико-экономических методов определить такую интенсивность поступления самолетов (l), начиная с которой приведенные затраты при n+1 загрузочных площадок были бы меньше, чем при n площадках.
Величина приведенных затрат при n и n+1 загрузочных площадках может быть определена с помощью следующих формул:
E(n,l) = СзlTt(n,l), (13)
E(n+1,l) = СзlTt(n+1,l) + Эп1 + Эп2 + ЕнК1 + ЕнК2, (14)
где E(n,l); E(n+1,l) - приведенные затраты при n и n+1 загрузочных площадках;
t(n,l); t(n+1,l) - время ожидания загрузки при n и n+1 загрузочных площадках;
Эп1 - эксплуатационные расходы на содержание искусственных покрытий загрузочной площадки;
Эп2 -эксплуатационные расходы на содержание загрузчика;
К1, К2 - дополнительные капитальные вложения соответственно на строительство искусственных покрытий и по загрузчику химикатов.
Величина l, при которой целесообразно устройство дополнительной загрузочной площадки, может быть определена на основании приведенных формул графическим путем аналогично методу определения необходимости устройства дополнительной РД.
ВЫВОДЫ
1. Аэродром сельскохозяйственной авиации, являясь основной базой, где выполняется значительная часть производственного цикла (взлет, посадка, руление и загрузка самолетов), а также нециклические процессы, должен представлять собою технологически распланированную территорию, на которой размещаются все необходимые сооружения и оборудование, обеспечивающие производство авиационно-химических работ,
2. За математическую основу исследования технологических процессов на сельхозаэродромах могут быть приняты статистический метод и теория массового обслуживания, позволяющая рассматривать элементы аэродрома как локальные системы, обслуживающее поступающий поток самолетов.
3. Функционирование систем ВПП-РД и загрузочных площадок может быть описано аналитическими зависимостями математической модели системы массового обслуживания с ожиданием с входящим пуассоновским потоком и произвольным временем обслуживания.
Основным показателем эффективности функционирования этих систем является среднее время задержки посадки, взлета или загрузки химикатами из-за занятости системы предыдущим самолетом.
4. Технико-экономический метод расчета позволяет оптимизировать время задержки самолетов и установить такую интенсивность движения самолетов, при превышении которой целесообразно устройство дополнительной РД или загрузочной площадки.
Литература
1. Андронов A.M. Теория массового обслуживания и научная организация труда в гражданской авиации. Редиздат Аэрофлота, М., 1969.
2. Вентцель Е.С. Теория вероятностей. "Наука", М., 1969.
3. Митропольский А.К. Техника статистических вычислении. "Наука", М., 1971.
4. Розенберг В.Я., Прохоров А.И. Что такое теория массового обслуживания. "Советское радио", М., 1965.
5. Саати Т.Л. Элементы теории массового обслуживания и ее приложения. "Советское радио", М., 1971.
6. Транспортные узлы. "Транспорт", М., 19661.
Канд. техн. наук В. И. ЧЕРНИКОВ
инж. В.Г. Широков
С помощью обмена информацией о выполнении различных операций при приеме, подготовке и выпуске самолетов в рейсы осуществляется координация работы и взаимодействие всех служб аэропорта. Обмен информацией происходит в основном через ЦДА, где фиксируется и контролируется выполнении основных, операций по обслуживанию рейсов.
Эффективность работы ЦДЛ зависит от технических и информационных характеристик оборудования, психофизических возможностей диспетчеров и других факторов.
Несоответствие интенсивности поступления и объемов информации возможностям диспетчера принять и проанализировать ее может привести к перегрузке, снижению эффективности работы и появлению ошибок в принятии решений.
В условиях повсеместного внедрения диспетчеризации в аэропортах объем информации постоянно возрастает, а ее роль в оперативном управлении процессами становится ведущей. Это требует внедрения в работу ЦДА средств автоматизации и вычислительной техники, позволяющих оперативно обрабатывать информацию и принимать оптимальные решения в случае отклонения хода транспортного процесса в аэропорту от запланированного по расписанию.
Для обоснования технических характеристик оборудования ЦДА необходимо прежде всего установить закономерности поступления информации, в первую очередь устных сообщений, их интенсивность, продолжительность приема и передачи.
Исследование потоков информации проведено в следующей последовательности:
- моделирование процесса загрузки диспетчера с помощью методов теории массового обслуживания;
- статистический анализ потоков информации на основе наблюдений;
- количественная оценка параметров, характеризующих обработку информации диспетчером ЦДА.
В соответствии с основными положениями теории массового обслуживания каждого диспетчера ЦДА можно рассматривать как обслуживающий аппарат, поступающую информацию как требования на обслуживание, а работу диспетчера как изменяющийся во времени процесс обслуживания потока требований. Для математического описания подобного процесса необходимо определить тип системы массового обслуживания, наиболее полно соответствующей особенностям работы диспетчеров ЦДА. Исходя из специфики ЦДА, при моделировании процессов обработки информации были приняты следующие предпосылки:
1. Система является одноканальной, так как изучается работа каждого диспетчера в отдельности.
2. Поскольку по УКВ радиосвязи и ГГС диспетчера получают основной объем информации и абоненты могут ждать ответа в случае занятости диспетчера, система принята с ожиданием.
3. Система является общедоступной и ординарной, так как каждый диспетчер обслуживает весь поток запросов, поступающих, как правило, по одиночке.
4. Принимая сообщения и отвечая на вопросы, диспетчер руководствуется дисциплиной очереди, т.е. обрабатывает информацию в порядке поступления. Исключение составляют весьма срочные сообщения, но ввиду редкости их поступления обработка информации осуществляется без приоритета.
5. Характер поступления сообщений к диспетчерам зависит от потоков при бытия самолетов в аэропорт, которые как известно [3] являются ординарными, стационарными потоками без последействия и наиболее точно аппроксимируются в виде пуассоновского потока с экспоненциальным распределением интервалов прибытий. Следовательно и распределение интервалов между сообщениями, поступающими к каждому диспетчеру, должно иметь чисто случайный характер и соответствовать экспоненциальному закону.
На основании вышеизложенного, для описания процесса обработки информации каждым диспетчером, принята математическая модель одноканальной системы массового обслуживания с ожиданием, обслуживающей без приоритета пуассоновский поток требований. Совокупность формул для описания процессов в этой системе следующая:
а) коэффициент загрузки диспетчера
r = la, (1)
где l - интенсивность поступления сообщений в единицу времени;
a - средняя продолжительность приема обработки и передачи сообщения;
б) среднее число сообщений, находящихся у диспетчера на обработке и в ожидании
(2)
где s - среднее квадратическое отклонение продолжительности приема, обработки и передачи сообщения;
в) среднее число сообщений, ожидающих обработки диспетчером
(3)
г) среднее время ожидания обработки сообщения диспетчером
(4)
д) среднее время пребывания сообщения на обработке и в ожидании
(5)
Формулы (2,3,4,5)
справедливы при любом распределении продолжительности приема, обработки и
передачи информации. В частном случае, когда продолжительность обработки
сообщений имеет экспоненциальное распределение (коэффициент вариации
),
формулы (2,3,4,5) принимают более простой вид:
(7)
(8)
Отметим, что нормальная работа диспетчера возможна при условии r < 1. В случае r ³ 1 очередь ожидающих сообщений будет расти неограниченно и для обработки информации потребуется еще один диспетчер.
Для подтверждения теоретических предпосылок и определения параметров работы конкретных диспетчеров были проведены статистические натурные исследования работы ЦДА Домодедово.
Исследования проводились по следующему плану:
1. Предварительное обследование.
2. Составление перечня основной информации, получаемой и передаваемой каждым диспетчером.
3. Хронометраж интервалов между сообщениями и продолжительности их обработки.
Во время предварительного обследования были выявлены основные факторы, влияющие на точность исследования (индивидуальный подход каждого диспетчера к выполнению операций, групповое решение некоторых вопросов, изменение характера сообщений в зависимости от времени суток), и разработаны меры для уменьшения влияния этих факторов.
Перечень информации содержал от 20 до 25 сообщений, составляющих основу потока информации, поступающей к диспетчеру. Во время хронометража было проведено от 700 до 1050 наблюдений за работой каждого диспетчера.
Результаты хронометража обрабатывались методами математической статистики для установления:
- стационарности потока сообщений;
- взаимной независимости промежутков времени между поступлениями сообщений;
- закона распределения интервалов и продолжительности обработки информации.
Поток рассматривался как стационарный, если фактическое распределение сообщений по часам суток (рис. 1) с достаточной точностью сглаживалось прямой с параметром l.

Рис. 1. Распределение по часам суток сообщений, поступающих к диспетчеру УДA Домодедово
Доказательство стационарности потока проводилось путем вычисления корреляционных уравнений с помощью чисел Чебышева [2]. Вычислялись уравнения нулевого 0f(x) и первого 1f(x) порядка и определялись их основные ошибки s0 и s1. Проведенные расчеты показали, что при переходе к уравнению первого порядка основная ошибка s1 > s0, т.е. достаточно остановиться на уравнении нулевого порядка с параметром l. Дисперсионный анализ подтвердил, что влияние члена корреляционного уравнения 1 порядка не является значимым, так как дисперсионное отношение при имеющихся степенях свободы значительно меньше табличного значения.
Взаимная независимость промежутков времени между сообщениями определялась при помощи критерия числа серий [1]. Для этого был составлен вариационный ряд, определено общее число членов ряда, медиана и число серий, которое оказалось в пределах теоретического числа серий при вероятности Р = 0,95. Следовательно, интервалы поступления сообщений диспетчеру можно считать взаимно независимыми.
Для доказательства соответствия эмпирического распределения интервалов экспоненте (рис. 2) вычислялся критерий Пирсона:
(10)
где
- ожидаемое число
данных, попавших в интервал;
е - общее число интервалов.

Рис. 2. Гистограмма и кривая плотности распределения интервалов между сообщениями, поступающими к диспетчеру УДА по движению
Полученное в результате обработки значение Х2 не превышало значение Х2 табл. [1] при пятипроцентном уровне значимости, следовательно, гипотеза об экспоненциальном распределении интервалов не отвергается.
Таким образом, поток сообщений диспетчеру имеет свойства ординарности, стационарности, отсутствия последействия и с достаточной точностью является простейшим (пуассоновским).
В связи с этим полученные путем обработки статистических данных результаты полностью подтверждают правильность теоретически разработанной математической модели.
Следует также отметить, что продолжительность обработки сообщений имеет значительный разброс (коэффициент вариации близок к 1). Следовательно, для оценки процесса обработки сообщений диспетчером с достаточным приближением можно пользоваться формулами (6-9).
Результаты обработки статистических данных позволили установить характеристики потока сообщений и процессов их обработки диспетчерами ЦДА ( см. таблицу).
Характеристики процесса обработки сообщений диспетчерами ЦДА
|
Наименование |
Единица измерения |
Количество |
|
Интенсивность поступления сообщений l |
шт/мин |
2,0-2,5 |
|
Средняя продолжительность приема, обработки и передачи сообщения a |
мин |
0,2-0,3 |
|
Коэффициент загрузки диспетчера r |
- |
0,4-0,75 |
|
Среднее число сообщений на обработке и в ожидании V |
шт |
0,67-3,0 |
|
Среднее число сообщений, ожидающих обработки U |
" |
0,27-2,2 |
|
Среднее время ожидания обработки сообщения g |
мин |
0,13-0,9 |
|
Среднее время пребывания сообщения на обработке и в ожидании ч |
мин |
0,33-1,2 |
Проведенные расчеты показали высокий уровень загрузки диспетчеров работой по приему и передаче информации (среднее время ожидания обработки сообщения у отдельных диспетчеров превышает в 3 раза продолжительность обработки информации). Эта загрузка может быть значительно снижена в условиях функционирования автоматизированных систем управления (АСУ).
Например, для диспетчера по движению количество устных сообщений на один рейс уменьшится с 12 при существующей системе обработки информации примерно до 3 в условиях функционирования АСУ, время непрерывной передачи и приема информации в час с 24 мин до 6 мин, в общее количество устных сообщений, принимаемых и передаваемых за смену, при неизменной интенсивности движения самолетов с 600-1000 до 150-250 сообщений. Для этого требуется оснащение крупных ЦДА периферийным оборудованием информационно-вычислительного центра аэропорта: устройствами ввода - вывода данных, в ЭВМ, устройствами алфавитно-цифровой печати, справочно-информационными табло. Кроме того, производительность диспетчеров по обработке и анализу информации может быть повышена за счет внедрения телевизионной аппаратуры, которая уже нашла практическое применение в аэропортах гражданском авиации.
Выводы
1. Процесс обработки информации каждым диспетчером ЦДА можно оценить с помощью математической модели одноканальной системы массового обслуживания с ожиданием, обслуживающей пуассоновский поток требований.
2. Полученная модель является основой математического обеспечения при использовании ЭВМ и позволяет более обоснованно подойти к определению емкости систем контроля и отображения информации в ЦДА.
Литература
1. Андропов A.M. Теория массового обслуживания и научная организация труда в Гражданской авиации. РИО МГА, М., 1969.
2. Митропольский А.К. Техника статистических вычислений. Государственное издательство физико-математической литературы. М., 1971.
3. Черников В.И. Определение оптимального количества стоянок самолетов на перронах аэропортов. ОНТИ ГПИ и НИИ Аэропроект. Бюллетень научно-технической информации № 1, 1988.
Канд. техн. наук В.Н. БУЛГАКОВ
При внедрении в различных службах крупных аэропортов гражданской авиации новых средств информации и оперативного управления производственными процессами нередко возникает необходимость в установке целого ряда специальных световых табло предназначенных для оповещения пассажиров о рейсах, передачи директивной и служебной информации в пределах аэропорта.
Такие табло представляют собой сложные устройства, снабженные значительным количеством современных средств промышленной электроники (реле, электронные лампы, счетчики и т.п.), стоимость которых может составлять десятки и даже сотни тысяч рублей. Поэтому естественно стремление разработчиков найти способы удешевления этих изделий.
Одним из таких способов может явиться разработка методики расчета минимально-необходимого числа строк табло, поскольку монтаж каждой строки его требует больших дополнительных количеств различных электронных приборов и элементов для нормального обеспечения работоспособности, что приводит к увеличению весовых, габаритных и стоимостных характеристик. Излишнее увеличение числа строк табло является нежелательным и с точки зрения понижения его общей надежности и эксплуатационной технологичности.
Вместе с тем, уменьшение числа строк табло ниже определенного для данных условий минимума, может затруднить и даже сделать невозможным выполнение им своих функций по визуальному отображению информации.
Существующие методы расчета числа строк табло основываются на предположении, что передача информации в аэропорту осуществляется через равные промежутки в фиксированные моменты времени при постоянной длительности ее отображения.
Однако в действительности обновление информации в аэропортах происходит по более сложным законам и применяющаяся методика расчета приводит к завышению необходимого числа строк табло.
Существенное влияние фактора случайности на протекание основных производственных процессов в аэропортах позволяет использовать для оптимизации определения числа строк табло математический аппарат теории маcсового обслуживания (ТМО).
С этой целью последовательность самолетов, прибывающих в аэропорт и вылетающих из него, следует рассматривать как потоки требований на обслуживание а строки табло, на которых должны отображаться данные об этих самолетах, как обслуживающие аппараты.
При определении числа строк выделяется поток для случая максимальной месячной и суточной интенсивности.
Известно (1,2,4,5,6), что потоки самолетов, выделенные указанным образом, обладают свойствами одинарности, стационарности и отсутствия последействия, т.е. являются пуассоновскими.
Время, в течение которого данные о самолете должны быть отображены на табло, зависит от технологии работ соответствующей службы, количества обслуживающего персонала, его квалификации, типа самолета и других обстоятельств.
Для определенности дальнейшего рассмотрения вопроса выберем случай расчета числа строк табло центральной диспетчерской аэропорта (ЦДА). По технологии работы ЦДА (8) указанные службы аэропорта всегда должны иметь данные на обслуживаемые летательные аппараты. Известно, что продолжительность стоянки самолетов в аэропортах в общем случае может описываться показательным распределением (1,2,3,6), гамма-распределением (4,5), нормальным распределением (7) и другими законами.
Показательный закон распределения является наиболее трудным с точки зрения организации обслуживания. Следует также учитывать и то, что в период проектирования точный закон распределения не известен, да и в течение эксплуатации под влиянием различных факторов он может стать близким к пуассоновскому. В связи с этим целесообразно вести расчет строк табло исходя из показательного закона времени распределения занятости строк табло, т.е. для случая СМО типа М/М/S.
При расчете необходимого числа строк табло целесообразно исходить из предположения что вероятность R0 того, что требованию не придется ожидать начала обслуживания достаточно близка п. 1.
Выражение для R0 имеет вид
(1)
где Р0 - вероятность того, что в системе нет требований;
r - коэффициент загрузки СМО;
S - число обслуживающих аппаратов.
Для упрощения расчетов вероятность Р0 может быть определена как функция r и S.
При этом получаем (4)
(2)
где i - номер замера.
Коэффициент загрузки определяется формулой
(3)
где a - среднее время обслуживания самолета.
Подставляя (2) и (3) в (1), находим
(4)
Заменяя факториалы по формуле Стирлинга и упрощая окончательно, находим
(5)
По полученной формуле была рассчитана зависимость
S = f(la, R0) (см. рис).
Количество обслуживающих аппаратов начинает быстро увеличиваться при выборе R0 = 98¸99% (см. рис.).
При выборе Ro = 99% примерно каждый сотый самолет будет ожидать некоторое время вывода его на табло, что можно считать практически вполне приемлемым результатом.
При использовании номограммы (см. рис.) задаются величинами P0 и la и по ним определяют необходимое значение S.

Вероятность R0
Зависимость числа строк табло S от произведения la и
вероятности R0
Литература
1. Пугачев А,И., Бураков М.Л., Домотенко Н.Т., Кравец А.С., Курганович В.Г., Поляниченко А.А., Смирнов Н.Н. Техническая эксплуатация летательных аппаратов. "Транспорт", М., 1969.
2. Черников В.И. Определение оптимального количества стоянок самолетов на перронах аэропортов. Бюллетень научно-технической информации № 1, Отдел научно-технической информации института Аэропроект, М., 1968.
3. Саати Т.Л. Элементы теории массового обслуживания и ее приложения. Издательство "Советское радио", М., 1971.
4. Андронов A.M. Теория массового обслуживания и научная организация труда и гражданской авиации. РИО ГА, М., 1969.
5. Андронов A.M. Применение теории массового обслуживания при организации и планировании работы ЛЭРМ. Труды РИИ ГА им. Ленинского комсомола, выпуск 68, Рига, 1985.
6. Гир О.Л., Кисленко А.И., Тульчинский В.ОД. Рыжов В.И. Простая модель использования мест стоянки самолетов в аэропорту. Труды РИИ ГВФ, выпуск 193, 1971.
7. Кюттнер Р. Исследования проблемы обслуживания в аэропорту по методу массового обслуживания. Технико-экономическая информация гражданской авиации № 6, Берлин, 1967.
8. Технологические графики подготовки самолетов к вылетам и обслуживание их по прилету. РИО МГА, М., 1971.
Инж. А. ТОРОПОВ
Быстрое развитие авиационных перевозок, поступление на воздушные линии новых современных транспортных самолетов требует систематического совершенствования организации и оснащения аэропортов, чтобы создать благоприятные условия для увеличения их пропускной способности путем сокращения времени, необходимого на обслуживание пассажиров и самолетов.
В соответствии с решениями XXIV съезда КПСС в аэропортах, где выполняется большое количество разнообразных технологических и управленческих операций, особенно необходимо повышать уровень механизации и автоматизации производственных процессов, внедрять достижения науки и техники.
Исследования, проведенные в аэропорту Домодедово, показали, что на обслуживание одного рейса затрачивается 322 технологических и информационных операций и если учесть, что промежутки между вылетами самолетов составляют 3-5 мин, становится очевидным важность повышения уровня механизации и автоматизации процессов.
В целях определения основных направлений по оптимизации производственных процессов в аэропорту были выполнены исследования, касающиеся:
- его планово-финансовой деятельности;
- состава, последовательности и технологичности процессов, а также их количественных характеристик;
- системы управления и контроля за процессами;
- системы информации и оформления документации.
В целях разработки комплексной технологии с четкой координацией работы всех служб аэропорта и авиационно-технической базы (АТБ), участвующих в подготовке самолетов к вылету, необходимо было построить сетевую модель работы аэропорта. Модель описана в брошюре автора Опыт организации ЦДА", Редиздат, 1969.
Исследования позволили получить количественные характеристики основных производственных процессов (табл. 1) и определить общие признаки систем: планирования, управления, информации, выполнения технологических процессов, контроля выполненных работ, учета, регистрации и оформления документов, взаимосвязи технологических и информационных операций, а также рассчитать нормативы времени на выполнение основных технологических операции по исполнителям.
Таблица 1
Количественные характеристики технологических, информационных и документальных потоков
|
Служба |
Количество операций в единицу времени на один рейс |
Нормативные данные на 1 рейс |
|||
|
технологических |
информационно-технологических |
оперативно-управленческих |
Документы на 1 рейс, шт. |
Нормативные данные на 1 рейс |
|
|
Служба движения |
8 |
7 |
17 |
7 + заполнение 13 данных на 1 рейс |
Оформление рейса -15 мин. |
|
Пассажирская служба |
65 |
59 |
14 |
19 + заполнение 35 данных на 1 рейс |
Регистрация 30-100 мин. |
|
Почтово-грузовая |
34 |
28 |
8 |
12 + заполнение 14 данных 11 + 8 заполнений на 1 рейс |
Загрузка багажа 20-40 мин. Грузовые операции 1-16 час. |
|
АТБ |
45 |
38 |
14 |
|
KВC-60-120 м |
|
ГСМ |
5 |
10 |
4 |
6 + 3 задержания на рейс |
ЦЗС - 30-90 мин. |
|
Спецбаза |
15 |
15 |
6 |
3 + 6 заполн. на 1 рейс |
Кран - 15 мин. МА-7 - 15 мин. вода - 15 мин. АПА -15а МП-300 - 40 мин. АЛ-2-25 мин. |
|
ЦДА |
10 |
17 |
17 |
8 + заполн. 22 данных на 1 рейс |
|
Были выявлены по 7 объектам (службам аэропорта) наиболее трудоемкие технологические процессы, сдерживающие пропускную способность аэропорта при существующей структуре управления, методах выполнения операций, информационных связях и документообороте.
В связи с этим возникла необходимость совершенствования оформления пассажиров, груза, почты, багажа и полетно-перевозочной документации; снижения емкости расчетных операций по коммерческому и техническому обеспечению; автоматизации информационных потоков в технологических процессах различных служб аэропорта; введения технических средств индикации выполненных операций; упрощения учета, оформления регистрации документов по всем службам; обеспечения четкого планирования распределения заданий по трудоемкости работ между службами, бригадами, исполнителями.
После проведения анализа, выявления общих признаков и необходимых совершенствований в различных технологиях, их группировки и классификации, стало возможным построить схему комплексного технологического процесса (табл. 2). Учитывая достижения науки и техники, оптимизацию и совершенствование технологического процесса, а также прогнозирование на основе научно-технического прогресса, наиболее целесообразно выполнять с использованием электронно-вычислительных машин (ЭВМ).
Таблица 2
Схема производственного процесса
|
Технологические операции |
Технологические информационные операции |
Диспетчерско-управленческие операции |
Информационные операции |
Учетные операции |
|
Операции по регистрации документов |
Операции расчетно-технологические |
Нормативные операции |
Отчетные операции |
Оформительские операции |
|
Плановые операции |
Контрольные операции |
Операции по расчету производственных показателей |
Операции по расчету финансовых, показателей |
|
Возможность широкого использования ЭВМ подтверждается тем, что в общем технологическом процессе обеспечения рейса самолета в аэропорту примерно 40% операций составляют информационные, расчетные, учетные, оформительские. Как известно по оптимизации подобных операций с помощью ЭВМ нашей промышленностью и научными организациями накоплен большой опыт.
После установления состава технологических операций по каждой службе аэропорта и определения в них информационных элементов, с учетом подлежащих обработке на ЭВМ, были обработаны требования к подсистемам автоматизированной системы управления (АСУ) аэропорта.
Основными технологическими задачами различных служб аэропорта, подлежащими автоматизации и управлению с помощью ЭВМ и периферийных устройств являются:
- продажа, бронирование и регистрация билетов и багажа;
- учет и оформление транзитных пассажиров;
- регистрация и оформление почтово-грузовой и полетно-перевозочной документации;
- прогнозирование пассажиропотоков, грузопотоков по воздушным линиям аэропорта на основе статистических данных и запоминающих устройств;
- программирование объема производства и расчет обеспечения центрального расписания самолетами, двигателями, экипажами, средствами и персоналом;
- составление плана вылетов и прилетов самолетов по расписанию на сутки;
- составление плана Центральной диспетчерской аэропорта (ЦДА) для работы различных служб аэропорта;
- распределение трудоемкости по обслуживанию рейсов между службами, бригадами, исполнителями (сменно-суточное задание);
- планирование самолетов под рейс и на техническое обслуживание в АТБ;
- учет выработки ресурса по самолетам, двигателям и агрегатам;
- осуществление автоматического контроля выполненных операций исполнителями при подготовке рейса.
Построив сетевую и пространственную модель производственного процесса и отдельных компонентов, можно приступить к уплотнению компонентов за счет автоматизации ряда операций с помощью средств вычислительной техники.
В качестве примера рассматриваем метод составления сменно-суточных заданий бригадам и исполнителям с помощью ЭВМ.
Как известно, при круглосуточной работе аэропорта, каждой смене служб аэропорта и АТБ выдается задание по обслуживанию рейсов в определенных интервалах.
Задание готовит каждый начальник смены с диспетчером на основании центрального расписания и форм техобслуживания самолетов. Задания готовятся регистраторам пассажиров, дежурным по сопровождению, загрузчикам багажа, загрузчикам бортпитания, самолетным грузчикам, заправщикам ГСМ, авиатехникам, шоферам спецмашин.
На эту процедуру в каждой службе затрачивается около часа. С применением ЭВМ время на составление этих заданий сокращается в несколько раз.
Математическая модель составления сменно-суточного задания для 13 видов специалистов, участвующих в подготовке рейса, составляется по нижеследующей методике.
Имеется стационарный поток требований на обслуживание.
Промежутки времени между поступлением последовательных требований представляют собой взаимно независимые и одинаково распределенные случайные величины {Xi}. Для обслуживания требований имеется К аппаратов. Требования поступают на аппараты в циклическом порядке, т.е. на первый аппарат - требования с номерами 1, К+1, 2К+1 и т.д., на второй аппарат - с номерами 2, К+2, 2К+2 и т.д., на i-ный аппарат - с номерами i, К + i, 2К+ i и т.д.
Отсюда следует, что промежутки времени {Уi} между поступлениями требований на отдельный аппарат являются суммой К взаимно независимых и одинаково распределенных случайных величин Х1, ........., Хк
У = Х1 + Х2 + ... + Хк (1)
Известно, что величины {Xi} имеют экспонециональное распределение. Обозначая f(х) плотность распределения случайных величин {Xi}, а N(t) - число требований исходного потока, поступающих за время t, находим
(2)
(3)
При указанных условиях промежутки времени между поступлениями требований на отдельный аппарат имеют распределение Эрланга. Выражение для плотности этого распределения есть
(4)
Особый интерес представляет функция распределения FR(t), равная в точке t вероятности того, что промежуток времени между поступлением двух требований на один аппарат меньше значения t:
(5)
Если в качестве t взять нормативное время обслуживания самолета t0, то FK(t0) дает вероятность того, что в данный момент поступления второго требования аппарат еще не закончит обслуживание первого требования, т.е., что второму требованию придется ожидать.
С увеличением числа аппаратов К при постоянном значении t0 эта вероятность, как видно из формулы (5), будет уменьшаться. С другой стороны, имеющееся число обслуживающих аппаратов К, должно обеспечить приемлемое значение вероятности ожидания FK(t0).
Поэтому если при данных К и t0 вероятность второму требованию ожидается большой, то следует увеличить число обслуживающих аппаратов К.
Инж. В.Л. МАЙОРОВА
При составлении генеральных планов и строительстве аэропортов важное значение приобретает изучение транспортных технологических процессов на привокзальных площадях с целью разработки рекомендаций по технологии работы площадей и установления их необходимых размеров. При этом требуется обоснование таких решений, которые позволяли бы обеспечить работу и взаимодействие всех видов транспорта на площади и создать достаточный уровень удобств пассажирам Аэрофлота при пользовании городским транспортом.
До настоящего времени научно-исследовательские работы по изучению транспортных технологических процессов на привокзальных площадях аэропортов в полном объеме не проводились.
Выполненные работы по исследованию процессов на привокзальных площадях вокзалов других магистральных видов транспорта не могут быть использованы в полной мере, так как не учитывают специфику работы воздушного транспорта.
Данная работа имеет целью изучить транспортные технологические процессы на привокзальных площадях и на основе этого разработать рекомендации по методике расчета отдельных элементов этих площадей.
На первом этапе было установлено распределение пассажиропотоков по видам транспорта (табл. 1).
|
Вид транспорта |
Распределение пассажиропотоков по классам аэропортов, % |
||
|
внеклассные |
I-II |
III-IV |
|
|
Автобус-экспресс |
45 |
- |
|
|
Автобус-рейсовый |
26 |
60 |
70 |
|
Маршрутное такси |
10 |
5 |
- |
|
Такси |
15 |
25 |
20 |
|
Личные и служебные автомашины |
5 |
10 |
10 |
Затем по потоку прибытий на привокзальную площадь каждого вида транспорта в отдельности выявлялось наличие следующих основных свойств: стационарности, ординарности и взаимной независимости промежутков между поступлениями транспортных средств.
Прибывающий поток транспортных средств можно считать ординарным, так как за малый промежуток времени невозможно поступление более одного транспортного средства. Доказательство стационарности потока осуществлено путем вычисления корреляционных уравнений с помощью чисел Чебышева (3). Прибытия по часам суток легковых автомашин, экспрессных и рейсовых автобусов изображены в виде гистограмм (рис. 1).

Рис. 1. Распределение по часам суток прибытий транспортных средств
в аэропорт Домодедово:
1 - легковых машин; 2 - автобусов-экспрессов; 3 - автобусов-рейсовых; 4 -
маршрутных такси
Расчеты показали, что величина основной ошибки корреляционного уравнения первого порядка не вносит существенного уточнения по сравнению с ошибкой уравнения нулевого порядка, т.е. можно сделать вывод, что поток стационарен (сглаживается уравнением нулевого порядка). Такой же вывод был сделан в результате дисперсионного анализа корреляционного уравнения. Анализ показал, что влияние линейного члена корреляционного уравнения 1-го порядка не является значимым.
Взаимная независимость промежутков времени между прибытиями транспортных средств на привокзальную площадь аэропорта определена при помощи критерия числа серий (1).
Следующим этапом
обработки результатов наблюдений явилось определение параметров потока: средней
величины интервала
, среднего квадратического отклонения s,
коэффициента вариации V.
Определение средней
величины интервала
осуществлялось по
формуле
(1)
где хi - величина интервала;
пi - частота (число, показывающее сколько наблюдений находится в данном интервале);
п - общее количество наблюдений.
Среднее квадратическое отклонение s и коэффициент вариации V, характеризующие разброс величины интервала около среднего значения, определены по формулам:
(2)
(3)
Полученное значение коэффициента вариации, близкое к 1, указывает на случайный характер прибытия транспортных средств на привокзальную площадь аэропорта. Для окончательного доказательства случайного прибытия транспортных средств произведена проверка соответствия эмпирического распределения интервалов экспоненциальному распределению.
Для решения вопроса о том, насколько хорошо согласуются статистические данные с гипотезой, использовался критерий Пирсона
(4)
где
- ожидаемое число
наблюдений, попавших в интервал;
l - общее число интервалов.
Если мера расхождения, т.е. критерий, велика, то гипотеза отвергается, в противном случае - принимается.
Определение критерия Пирсона и нахождение параметров кривой плотности распределения интервалов прибытия транспортных средств на привокзальную площадь аэропорта показало (рис. 2) хорошую сходимость эмпирического распределения с экспонентой.

Рис. 2. Гистограмма и плотность распределения интервалов прибытия такси в аэропорт Ленинград
В результате исследований установлены и обоснованы следующие свойства для экспрессных и рейсовых автобусов, маршрутных такси, легковых такси, служебных и личных автомашин: ординарность, стационарность и отсутствие последействия. Следовательно, потоки являются простейшими, т.е. вероятность прибытия может быть задана распределением Пуассона.
Аналогичные исследования были выполнены по продолжительности стоянки транспортных средств на привокзальной площади аэропортов. Однако, учитывая, что любой закон распределения времени обслуживания может быть использован при помощи формул Эрланга, продолжительность стоянки транспортных средств на привокзальной площади аэропорта на закон распределения не проверялась, а вычислялось только ее среднее значение (табл. 2).
Таблица 2
|
Вид транспорта |
Продолжительность стоянка по классам аэропортов, мин. |
||
|
внеклассные |
I-II |
III-V |
|
|
Автобус-экспресс |
67 |
- |
- |
|
Автобус-рейcовый |
13 |
9 |
15 |
|
Маршрутное такси |
63 |
20 |
- |
|
Личные и служебные автомашины |
45 |
30 |
34 |
Продолжительность стоянки такси зависит от удаленности аэропорта от города. Характер этой зависимости установлен с помощью теории корреляции.
Для отыскания формы корреляционной связи и вычисления корреляционных уравнений использован метод чисел Чебышева (3).
На рис. 3 в виде точек с координатами X и У изображено распределение времени стоянки такси в зависимости от удаленности 22 аэропортов от города. Сглаживание эмпирического распределения произведено прямой согласно корреляционному уравнению 1-го порядка у = 1,1·х + 0,57.

Рис. 3. Зависимость продолжительности стоянки такси У от удаленности аэропорта от города X
После анализа времени обслуживания и промежутков времени между поступлениями требований была подобрана система массового обслуживания M|sJ|¥, т.е. система с неограниченным числом обслуживающих аппаратов, на которую поступает пуассоновский поток требований.
Исходя из модели функционирования привокзальной площади аэропорта построены кривые зависимости количества стоянок N от интенсивности прибытия транспортных средств l, продолжительности стоянки a и вероятности одновременной занятости всех стоянок рn (рис.4).

Рис. 4. Зависимость количества стоянок N на привокзальной площади аэропорта от интенсивности прибытий транспортных средств l, продолжительности стоянки a и вероятности одновременной занятости всех стоянок рn.
При la > 60 нужно пользоваться нормальным распределением. Потребное количество стоянок N в этом случае определяется по формуле
(5)
где
- квантиль
стандартного нормального распределения, отвечающей вероятности ¡
= 1 - рn.
Интенсивность прибытия l транспортных средств по видам устанавливается расчетом по формуле
(6)
где Пг - годовой объем первоначальных отправок пассажиров из аэропорта;
Кс; Кч - коэффициенты суточной и часовой неравномерности;
р - удельный вес перевозок пассажиров каждым видом транспорта в общем объеме первоначальных отправок аэропорта (табл. 1);
к - коэффициент, учитывающий встречающих, провожающих и посетителей;
W - среднее количество пассажиров, перевозимых данным видом транспорта за один рейс (табл. 3).
Таблица 3
|
Вид транспорта |
Среднее количество пассажиров на один рейс по классам аэропортов, чел. |
||
|
внеклассные |
I-II |
III-V |
|
|
Автобус или троллейбус |
25 |
20 |
20 |
|
Легковые автомобили |
2 |
2 |
1,5 |
|
Маршрутные такси |
8 |
6 |
- |
Для определения площади стоянок рекомендуются следующие нормы:
65 м2 - на одну стоянку автобуса;
25 м2 - на стоянку автомобиля, с учетом местных проездов.
Для ориентировочного определения величины зон маневрирования, стоянок и остановок транспорта на привокзальной площади могут быть приняты следующие соотношения площадей: магистральных проездов - 15%; стоянок - до 60%; остановок и полос разделения встречного движения - до 25% от обшей площади территории маневрирования (стоянки транспорта).
Выводы
1. В результате исследований установлено, что 65-80% пассажиров перевозятся из города в аэропорт общественным транспортом, 20-35% частными и служебными автомашинами.
2. Установлена зависимость между продолжительностью стоянки такси и удаленностью аэропорта от города, а также продолжительность стоянки остальных видов транспортных средств на привокзальных площадях аэропортов.
3. Исходя из пуассоновского распределения интенсивности прибытия транспортных средств на привокзальную площадь аэропорта рекомендуется математическая модель с неограниченным числом обслуживающих аппаратов системы M|sJ|¥, позволяющая вести расчеты количества мест стоянки транспортных средств на привокзальной площади аэропорта.
Литература
1. Андронов A.M. Теория массового обслуживания и научная организация труда в гражданской авиации. Редиздат МГА, М., 1969.
2. Гмурман В.Е. Введение в теорию вероятностей и математическую статистику. "Высшая школа", М., 1966.
3. Линник Ю.В. Метод наименьших квадратов и основы теории обработки наблюдений. Госиздат физико-математической литературы, М., 1962.
4. Руководство по организации стоянок городского транспорта, такси и личных автомашин на привокзальных площадях аэропортов гражданской авиации. ОНТИ ГПИ и НИИ Аэропроект, М., 1971.
Канд. техн. наук А.И. БОРОДАЧ
инж. В.Л. МАЙОРОВА
Несущий винт во время вращения создает вокруг вертолета довольно мощный воздушный поток, скорость которого на взлетном режиме работы силовой установки может достигать нескольких десятков метров в секунду. В отличие от самолета, в данном случае отсутствует определенная направленность воздушной струи, что предъявляет некоторые особые требования к планировочным решениям вертодромов.
Это относится к взаиморасположению мест сбора пассажиров и рейсовых вертолетов, мест стоянки вертолетов, а также РД и МС. Основным критерием, определяющим их удаление друг от друга, является скорость воздушного потока, создаваемого несущим винтом вокруг вертолета.
В целях обеспечения авиапассажирам надлежащего комфорта, в местах их сбора скорость обдуваемой воздушной струи от рейсовых вертолетов не должна быть более 5 м/сек.
При взаимном обдуве вертолетов на местах стоянки, при рулении или во время подлета на малой высоте, скорость струи не должна превышать 10 м/сек. Иначе возможны случаи произвольного удара лопастей несущего винта о хвостовую балку вертолета.
Для определения допустимых расстояний взлетающего или рулящего по РД вертолета от стоящего на МС и от места сбора пассажиров необходимо знать скорости воздушного потока, создаваемого несущим винтом на различном удалении от вертолета. С этой целью были проведены летные исследования основных типов отечественных вертолетов гражданской авиации Ми-10к, Ми-8, Ми-6, Ми-2 и Ка-26.
С помощью индукционных анемометров АРИ-49, устанавливаемых на высоте 1,3-2,0 м, трехкратно замерялись скорости воздушных потоков от несущих винтов вертолетов, зависавших в зоне влияния "воздушной подушки" на различных высотах и с предельными взлетными весами.
Мерная база разбивалась в направлении бортов, носа и хвостовой части вертолета с шагом, равным 5 м. В результате проведенных испытаний были определены для вышеперечисленных вертолетов расстояния до участков, в пределах которых скорости воздушных потоков не превышают 5 и 10 м/сек.
Причем экспериментально установлено, что наибольшая скорость воздушного потока (его горизонтальная составляющая) образуется в хвостовой зоне вертолета, а в направлении носовой части и бортов скорости незначительно отличаются друг от друга.
Построение кривых изменения скорости воздушного потока в зависимости от расстояния до вертолета выполнялось по методу наименьших квадратов.
Установление и оценка тесноты корреляционной связи между изменением скорости воздушной струи и расстоянием от оси несущего винта вертолета производились вычислением корреляционного отношения h ух. Численное значение h ух для вертолетов Ми-2, Ми-6, Ми-8 и Ка-26 при зависании на разных высотах (0,3,7,10,15,20 м) колебалось в пределах от 0,93 до 0,99. Следовательно между скоростью воздушной струи и расстоянием от оси несущего винта вертолета имеется достаточно тесная корреляционная связь.
Кривая, наиболее точно описывающая закон распределения скорости воздушного потока, выбиралась по минимуму абсолютной величины наибольшего отклонения наблюдаемого значения от выравненного по прямой и по параболам второго и третьего порядка. Кривые распределения скорости (рис. 1,2,3,4) воздушного потока со стороны хвостового оперения имели минимум абсолютной величины наибольшего отклонения от выравненного по параболе второго порядка для стоящего на земле вертолёта Ми-2, по параболе третьего порядка для вертолетов Ми-2 и Ми-6 при зависании соответственно на высотах Н = 3¸15 и Н = 10 м.

Рис. 1. Изменение скорости воздушного потока, создаваемого несущий винтом вертолета Ми-2 в направлении хвостового оперения, при висении на высоте /Н/ от 0 до 15 м.

Рис. 2. Изменение скорости воздушного потока, создаваемого несущим винтом вертолета Ми-6 со стороны хвостового оперения, при висении на высоте /Н/ 10 м.

Рис. 3. Изменение скорости воздушного потока, создаваемого несущим винтом вертолета МИ-2, в направлении носа и бортов при висении на высоте (Н) 0 и 7-10 м

Рис. 4. Изменение скорости воздушного потока, создаваемого несущим винтом вертолета МИ-6, в направлении носа и бортов при висении на высоте (Н) от 3 до 20 м
Кривые изменения скорости воздушного потока описываются следующими корреляционными уравнениями:
для Ми-2 при Н = 0 м у =
-6·х2 - 4,1·х + 4,8;
Н = 3¸15м у = - 296,2·х3 + 297,4·х2
- 27,4 + 7,6;
для Ми-6 при Н = 10 м
у = 15,1·х3 + 44,5·х2 - 51,9·х + 38,1.
Используя эти уравнения, произведено сглаживание эмпирического распределения теоретической кривой.
Исходя из полученных зависимостей, при разработке планировочных решений генпланов вертодромов, разрывы между местами сбора пассажиров на перроне и рейсовыми вертолетами, отдельными МС и между магистральной РД и МС следует принимать не менее значений, указанных в табл.
Таблица
|
Тип вертолета |
Расстояния от вертолета до участков, имеющих скорости воздушных потоков, м |
|||
|
5 м/сек |
10 м/сек |
|||
|
со стороны хвостового оперения |
со стороны бортов и носа |
со стороны хвостового оперения |
со стороны бортов и носа |
|
|
Ми-10к |
120 |
85 |
100 |
60 |
|
Ми-8 |
95 |
70 |
70 |
50 |
|
Ми-6 |
170 |
120 |
135 |
80 |
|
Ми-2 |
50 |
45 |
35 |
25 |
|
Ка-26 |
45 |
30 |
25 |
20 |
Примечания:
1. Вертолеты Ми-1 и Ми-4 могут быть приравнены соответственно к Ми-2 и Ми-8. Для вертолетов Ка-15 и Ка-18 следует принимать расстояния, равные 2/3 от расстояний, указанных для вертолета Ка-26.
2. Установленный "Руководством" по вертодромам разрыв в три диаметра несущего винта между индивидуальными МС, с которых выполняются взлет и посадка, исключает для всех вертолетов возможность взаимного обдува воздушной струей, скорость которой более 10 м/сек.
Пример планировочного решения генплана вертодрома, предназначаемого для эксплуатации вертолетов Ми-8 и предусматривающего необходимые разрывы (см. таблицу и рис. 5).
Одновременно на этом же рисунке показан принцип расположения зданий и сооружений (аэровокзал, штаб КДП, мастерские, склады и др.) на генплане вертодрома относительно розы ветров. Располагать их рекомендуется со стороны преобладающих слабых ветров.
В противном случае, т.е. при расположении со стороны сильных ветров, здания будут способствовать образованию мощных турбулентных струй воздуха сквознякового характера. Поддув такой струи под лопасти вертолета может привести к удару несущего винта о хвостовую балку.

Рис. 5. Принципиальная схема вертодрома, учитывающая скорости
воздушного потока, создаваемого несущим винтом вертолета Ми-8:
1 - аэровокзал; 2 - место сбора пассажиров перед посадкой в рейсовый вертолет;
3 - перрон; 4 - здание штаба и КДП; 5 - направление преобладающих слабых
ветров; 6 - индивидуальная МС; 7 - рулежная дорожка (РД); 8 - ВПП; 9 - швартовочная
площадка; 10 - групповая МС; 11 - мастерские; 12 - склад