МИНИСТЕРСТВО СЕЛЬСКОГО ХОЗЯЙСТВА
РОССИЙСКОЙ ФЕДЕРАЦИИ
РЕКОМЕНДАЦИИПО
РЕКОНСТРУКЦИИ СВИНОВОДЧЕСКИХ
КОМПЛЕКСОВ И ФЕРМ
Рекомендации разработаны под руководством академика Россельхозакадемии В.И. Черноиванова и д-ра техн. наук, проф. В.Ф. Федоренко сотрудниками ФГНУ «Росинформагротех»: С.С. Шевченко, канд. техн. наук, П.Н. Виноградовым, канд. с.-х. наук, К.А. Касумовой, Е.С. Гарафутдиновой, О.Л. Седовым, Т.И. Барской, Н.Л. Ионовой;
сотрудниками НТЦ «Сельхозмаш" ГОСНИТИ: И.В. Ильиным, Е.А. Смолинским, канд. с.-х. наук, А.А. Ежевским, В.В. Афанасьевым, А.Г. Степановым, Д.А. Моркиным
Разработаны в соответствии с государственным контрактом № ГК-683/26п-8/А на выполнение работ по типовому проектированию для мелиорации земель сельскохозяйственного назначения и объектов агропромышленного комплекса на 2005 г.
Предназначены для использования проектными и строительными организациями, предприятиями и организациями АПК России всех форм собственности в качестве методического пособия при проведении реконструкции и технического перевооружения свиноводческих ферм и комплексов.
Согласованы Департаментом научно-технической политики и образования Минсельхоза России (протокол от 10.11.05 г.).
1.1 Безопасность и здоровье населения России на текущем этапе развития не охраняется уровнем производства и потребления белков животного происхождения. В последние три года реализовано около 49-51 кг мяса и мясопродуктов на душу населения при требуемой норме рационального питания около 81 кг. В 1990 г. в России потреблялось 75 кг мяса на душу населения и ежегодно ее население прирастало на 0,5 % в отличие от текущего этапа, когда численность населения снижается ежегодно на 0,8-1 млн. человек.
1.2 Уменьшить в короткие сроки остроту в обеспечении населения продукцией животноводства наиболее экономично за счет птицеводства и свиноводства. Свинина - наиболее энергетическая группа продуктов питания, которая позволяет ускоренно внести в организм человека суточную калорийность потребляемого продовольствия (по этому показателю Россия в 1990 г. была на седьмом месте в мире, в 2003г. - на 71).
1.3 В свиноводстве за годы реформ произошел существенный спад производства мяса: с 3480 тыс. т в 1990 г. до 1643 тыс. т в 2004 г. (в убойной массе). С 1990 г. более чем в 2 раза уменьшилось поголовье свиней, по этому показателю сложившаяся тенденция еще не преодолена.
По потреблению свинины на душу населения Россия существенно отстает от ведущих стран мира. К 2004 г. оно снизилось до 14 кг при 24 в 1990 г. (в странах ЕС - 43 при 74 кг в Дании) и находится на уровне экваториальных стран, где расход человеком биологической энергии физиологически меньше.
1.4 Россия после 1990 г. стала крупным импортером мяса, в том числе свинины. Отечественным производителям свинины сложно конкурировать с западными фермерами, прежде всего по причине использования экстенсивных, ресурсо-затратных технологий. Велики затраты кормов на 1 ц привеса (в 2-2,5 раза больше чем за рубежом), а также падеж поголовья, неэффективно используются матки, не оптимальна живая масса животных, реализуемых на убой и т.д. Сравнительные показатели приведены в табл. 1.
|
Показатели |
Дания |
Франция |
Нидерланды |
Германия |
Россия |
|
Выход деловых поросят на одну матку в год, головы |
21,2 |
21,0 |
22,1 |
19,6 |
13,32 |
|
Среднесуточный прирост на откорме, г |
778 |
746 |
770 |
677 |
350 |
|
Конверсия корма на 1 кг прироста, кг |
2,76 |
2,96 |
2,64 |
3,1 |
5,2 |
|
Падеж к обороту стада % |
3,2 |
3,8 |
2,4 |
2,8 |
10,7 |
|
Убойный выход, % |
76 |
77 |
77 |
79 |
63 |
1.5 По данным зональных научных учреждений, в российской действительности многие составляющие себестоимости продукции свиноводства превышают западные аналоги, прежде всего по затратам кормов, энергоносителей, труда и т.д.
1.6 Производство свинины сельскохозяйственными предприятиями - основными поставщиками отечественного сырья для мясоперерабатывающих предприятий, сократилось к уровню 1990 г. более чем в 3 раза. Однако со второй половины 2004 г. в связи с установлением оптимального соотношения цен на зерно и свинину, введением квот на импорт свинины сложилась благоприятная обстановка для развития отечественного свиноводства.
1.7 Свиноводческие комплексы уже четвертый год подряд обеспечивают рост производства свинины. Среднегодовой прирост продукции за 2000-2004 гг. составил более 12 %. На долю специализированных предприятий приходится более 60 % всего прироста производства свинины в России.
1.8 Среди крупных сельхозпредприятий есть немало товаропроизводителей, работающих на уровне зарубежных свиноводческих ферм. Например, на комплексах ОАО «Омский бекон», ЗАО «Заволжское» конверсия корма составляет 3,8 кг на 1 кг прироста живой массы, среднесуточный прирост на откорме превышает 700 г. Высокая рентабельность производства на этих предприятиях позволяет осуществлять мероприятия по реконструкции материальной базы и замене генофонда за счет собственных средств.
1.9 Среди актуальных проблем развития сельского хозяйства, рассмотренных на заседании президиума Государственного Совета Российской Федерации, состоявшемся 17 июня 2005 г., выделена одна из основных - форсированное развитие животноводства в условиях расширенного спроса.
Решить ее планируется с помощью федеральной целевой подпрограммы «Развитие животноводства в режиме импортозамещения на внутреннем рынке».
В 2004 г. доля импорта в ресурсах мяса и мясопродуктов составила 31,2 %. По экспертной оценке к 2015 г. эта величина может быть уменьшена до 20 %. Данный прогноз основан на предположении, что в ближайшие 10-15 лет объемы производства продукции животноводства могут удвоиться (по сравнению с уровнем 2003 г.).
1.10 Агропромышленный комплекс России, несмотря на громадные сложности и потери в ходе экономических реформ, по мнению ученых и экономистов, имеет перспективы и нераскрытые резервы.
Агрохолдинги, крупные и средние предприятия сумели адаптироваться в условиях рынка, определили свое место в нем и наращивают производство.
Отдельные отечественные и зарубежные предприниматели стали вкладывать инвестиции в сельское хозяйство, в том числе в животноводство. Так, в Белгородской области в ближайшее время будет введен в строй крупнейший свинокомплекс компании «РусАгро» (сумма инвестиций более 100 млн. долл.), успешно работают на нашем рынке некоторые зарубежные компании, поставляющие современное прогрессивное технологическое оборудование.
Однако уровень инвестиций в развитие свиноводства остается недостаточным, все еще низка эффективность производства, высока капиталоемкость, сроки окупаемости затрат составляют 7-8 лет.
1.11 В ведомственной целевой программе «Развитие свиноводства в Российской Федерации на период 2006-2010 гг. и до 2015 г.», утвержденной Министром сельского хозяйства Российской Федерации А. В. Гордеевым, планируется доведение к 2015 г. производства свинины до 3,2 млн. т, что в 2 раза больше по сравнению с текущим уровнем. Прирост производства на 25-30 % планируется получить за счет реконструкции свинокомплексов индустриального типа, на 55-60 - строительства новых высокотехнологичных свинокомплексов и на 10-20 % - увеличения производства свинины в сельскохозяйственных предприятиях и хозяйствах населения. Реконструкция будет осуществляться как на крупных комплексах, так и на мелких и средних фермах и комплексах.
1.12 Рациональная реконструкция и техническое перевооружение свиноводческих комплексов и ферм, массовое строительство которых было осуществлено в 70-80-х годах, по сравнению с новым строительством имеет следующие преимущества:
капитальные вложения на единицу дополнительной продукции уменьшаются на 10-25 %;
создается возможность ускоренного ввода новых мощностей при расширении производства за счет освоенной площадки для строительства, наличия подъездных путей, инженерных сетей, использования зданий подсобно-вспомогательного назначения, производственного опыта, кадров и т.д.
1.13 Реконструкция свиноводческих комплексов и ферм должна проводиться по следующим направлениям:
реконструкция крупных свиноводческих комплексов, построенных по типовым и индивидуальным проектам, на основе импортных технологий содержания животных на базе отечественного и зарубежного оборудования;
реконструкция свиноводческих предприятий малой и средней мощности, построенных по типовым проектам в 70-80-е годы прошлого столетия на базе оборудования, выпускаемого отечественной промышленностью;
модернизация промышленного производства свинины.
2.1.1 Значительные резервы по наращиванию выпуска продукции заложены в модернизации и расширении действующих перспективных свиноводческих ферм.
Эффективность капитальных вложений в реконструкцию свиноводческих ферм в сравнении с затратами на новое строительство очевидна. Это объясняется следующими факторами:
сокращение вложений в наиболее капиталоемкие пассивные основные фонды - здания и сооружения;
использование существующих инженерных сетей, коммуникаций и средств механизации;
сокращение количества земель выделенных под строительство новых объектов;
возможность использования местных строительных материалов и осуществления строительства хозяйственным способом в связи с локально-объектным характером выполнения строительных работ;
постепенное наращивание мощностей по мере укрепления кормовой базы;
сокращение затрат на строительство жилых и культурно-бытовых объектов.
2.1.2 Планы реконструкции должны основываться на детальных технико-экономических расчетах, подтверждающих целесообразность и эффективность реконструкции по сравнению с новым строительством.
Разработке мероприятий по реконструкции ферм должны предшествовать:
составление перспективного плана развития, специализации, концентрации и межхозяйственной кооперации сельскохозяйственного производства данного района;
проведение паспортизации ферм с выявлением их технического состояния и целесообразности реконструкции;
изучение и оценка зданий, степени их амортизации, применяемой технологии и уровня механизации;
оценка состояния и перспектив развития кормовой базы.
2.1.3 Разнотипность существующих производственных зданий по вместимости и капитальности построек, объемно-планировочным, конструктивным и технологическим решениям затрудняет использование современного оборудования и средств механизации в полном объеме, как при новом строительстве. Реконструкция призвана решать эти вопросы комбинированными способами, с внедрением по определенным группам однотипных решений, обеспечивающих внедрение ресурсосберегающих технологий.
2.1.4 Целью реконструкции должно быть:
увеличение производственной мощности ферм за счет перепланировки существующих и пристраивания новых помещений, применения более рациональных способов содержания и кормления животных;
внедрение положительно зарекомендовавших себя элементов промышленной технологии производства свинины, заимствованных из новых комплексов;
применение комплексной механизации производственных процессов;
увеличение производительности труда, сокращение трудовых затрат и себестоимости на единицу продукции;
улучшение условий труда работников фермы.
2.1.5 Эксплуатируемые фермы, как правило, имеют павильонную и моноблочную застройку. Ширина отдельно стоящих зданий составляет 9, 12, 15, 18, 21 м и более. Здания расположены на значительном расстоянии друг от друга и во многих случаях без определенной ориентации. Многие фермы не имеют кормоцехов и базируются на применении ручного труда или частичной механизации отдельных трудоемких процессов.
При реконструкции и расширении свиноводческих ферм целесообразно доводить их до типоразмеров 12, 24, 36 и 54 тыс. откармливаемых свиней в год или до 12 тыс. голов для ферм по выращиванию и откорму свиней, предусматривая освоение двух- и трехплощадочной технологии производства свинины.
Не следует допускать реконструкцию или расширение отдельных зданий или помещений без увязки с законченными механизированными линиями всей фермы и ее генеральным планом.
В первую очередь рекомендуется реконструировать фермы, расположенные у перспективных населенных пунктов, обеспеченные прочной кормовой базой, имеющие поголовье не менее 100 маток или 300 откармливаемых свиней в год и построенные не раньше 60-х годов.
2.1.6 Не рекомендуется реконструировать фермы, оказавшиеся в зоне санитарного разрыва или на территориях, намеченных для другого строительства, а также не имеющие резервов для укрепления и развития кормовой базы, не обеспеченные в достаточном количестве водой и электроэнергией, требующие больших капиталовложений, чем вновь строящиеся фермы.
При выборе новой технологической схемы для реконструируемой фермы в отдельных звеньях могут быть оставлены элементы старой схемы, если это сократит расходы на перестройку или приведет к интенсификации производства (использование существующей кормокухни, системы удаления навоза и т.д.).
2.1.7 Для увеличения производственных площадей существующие здания для содержания свиней обычно удлиняют или устраивают боковые пристройки, примыкающие торцами к фасадным стенам. Эти широко известные способы позволяют получать дополнительные производственные площади с меньшими капитальными затратами по сравнению с новым строительством.
2.1.8 Более высокую эффективность расширения действующих свиноферм за счет увеличения плотности застройки обеспечивает блокирование существующих зданий свинарников. Это наиболее экономичный способ из известных решений. Он заключается в том, что каждые два параллельно расположенные здания объединяют в общий блок за счет встройки между ними дополнительного помещения. Продольными стенами нового помещения служат стены существующих свинарников. Для ограждения его необходимо установить внутренние опоры, выложить торцовые стены и выполнить покрытие (или только покрытие и торцовые стены). Например, два отдельно стоящих здания шириной 12 м, длиной 72 м, расположенных на расстоянии 12 м друг от друга, при реконструкции можно объединить в моноблок размерами 36×72 м. Новые встроенные помещения имеют размеры 12×72 м.
2.1.9 Конструктивно постройки могут быть выполнены в трех вариантах:
- несущий каркас металлический, в поперечном разрезе имеет три пролета с шагом стоек 3(4) м. Стойки из толстостенных труб Æ 159 мм установлены на бетонных столбчатых фундаментах. По стойкам закреплены балки из двух швеллеров № 16. По балкам уложены асбестоцементные плиты покрытия типа АКД, а по ним - кровля из волнистых асбестоцементных листов. В качестве утеплителя плит применены минераловатные маты. Вдоль конька крыши предусмотрены фонари. Торцовые стены выложены кирпичом с устройством дверных, оконных и вентиляционных проемов;
- постройки без внутренних опор. Несущими элементами покрытия служат металлические треугольные фермы пролетом 14 м, которые опираются на существующие стены свинарников. Фермы плоские, безраскосные, легкого типа, сконструированы из мелкопрофильных прутковых элементов. Верхний пояс решетчатый, нижний состоит из двух прутков Æ 20 мм. Шаг ферм 3 м. По фермам уложены асбестоцементные плиты типа АКД (АКП) с кровлей из асбестоцементных волнистых листов. Вдоль конька крыши устроены фонари треугольной формы высотой 1,4 м. Торцовые стены - кирпичные;
- несущий каркас железобетонный с двумя рядами колонн и тремя пролетами 6×2,5×6 м. Железобетонные балки опираются на существующие кирпичные стены и новые колонны. По балкам уложены шестиметровые железобетонные плиты, которыми перекрыты крайние пролеты. Средний пролет имеет фонарную надстройку высотой 1,7 м. Стенки фонаря - кирпичные с проемами для освещения, покрытие - из железобетонных плит, опирающихся на металлические балки. Фонарь может быть перекрыт асбестоцементными плитами АКД (АКП). Кровля - рубероидная, совмещенная, по керамзито-битумному утеплителю. Торцовые стены кирпичные.
2.1.10 Третий вариант наиболее индустриальный и может выполняться как хозяйственным, так и подрядным способом.
В местах примыкания кровли нового помещения к карнизам существующего здания уложен рубероидный ковер на битумной мастике с образованием местных уклонов за счет разной толщины утеплителя и устройством внутренних водоотводов. Осадки с крыши отводятся по ливнетрубопроводам в канализационные каналы.
Полы в помещениях кирпичные, толщиной 7 см уложены по керамзитобетонному основанию и щебеночной подготовке. Каналы для удаления навоза выполнены из монолитного бетона со стенками толщиной 150 мм и асбестоцементным лотком по днищу, в верхней части имеют ширину 1 м и перекрыты чугунными решетками.
Перегородки между логовами станков выложены в полкирпича и оштукатурены. Они могут также быть пластиковыми, а для откорма и маточного поголовья - бетонными. Над щелевыми полами (в зоне дефекации) перегородки металлические решетчатые.
На дополнительных производственных площадях технологические приемы и механизация раздачи кормов и удаления навоза приняты идентичными существующим решениям.
2.1.11 Каждое встроенное помещение рассчитано на 1200 свино-мест с расположением станков в два ряда и образованием одного центрального прохода шириной 1,1 м между выступающими кормушками. Группы свиней укомплектованы по 25-38 голов. Глубина логова станков 3,85 м, ширина полосы решетчатого пола при спаренных каналах 2 м. Уклоны полов в логовах 5 %. Фронт кормления при двухсменном подходе животных к кормушкам 15 см.
Откорм свиней возможно производить как на сухих кормо-смесях, так и с использованием пищевых отходов: 30 % - пищевые отходы (по питательности) и 70 % - комбикорма.
Корма подают по системе трубопроводов в жидком виде влажностью 80-82 % с раздачей их в асбестоцементные корыта. Для поения животных установлены поилки соскового типа (по две в станке). Экскременты животных и стоки от мытья станков удаляются через решетчатые полы и подпольные каналы.
2.1.12 Вентиляция каждого помещения приточно-вытяжная. В зимний и переходные периоды подается подогретый воздух (+ 5°), а в летний период - без подогрева.
В средней части помещения предусмотрена приточная вентиляционная камера с вентилятором типа ВЦ и калорифером типа КФБ. Воздуховоды из асбестоцементных труб 0 400 мм проложены вдоль стен на высоте 1,4 м над логовами станков. Выход воздуха предусмотрен в каждый станок. Производительность вентилятора 24000 м3/ч (из расчета 20 м3/ч на одну голову). Вытяжка загрязненного воздуха осуществляется через фрамуги фонаря четырьмя осевыми вентиляторами (общей производительностью 32000 м3/ч) в обоих торцах помещения. Естественная вытяжка составляет 50 % удаляемого воздуха. В зимнее время работают два вытяжных вентилятора из расчета общей производительности вместе с естественной вытяжкой 22 000 м3/ч (на притоке 24000 м3/ч). В летнее время воздухообмен составляет 40 м3/ч на одну голову. Теплоноситель к калориферу подводится от существующих свинарников без изменения подводящих диаметров теплотрассы ввиду сокращения теплопотребления в существующих зданиях до 30 % из-за ликвидации теплопотерь через продольные наружные стены.
2.1.13 Водоснабжение осуществляется от действующей водопроводной сети примыкающих свинарников. Разводка труб выполнена на подвесках к перекрытию по линии кормонавозных отсеков. К каждой поилке опускается стояк Æ 12 мм с установкой вентиля. Крепятся поилки на межстаночных перегородках над решетчатыми полами. В служебном проходе предусмотрены два поливочных крана для мытья полов.
2.1.14 Существующие свинарники имеют бункеры-накопители, в которые корма подают насосами по системе трубопроводов из кормоцеха. Для подачи кормов в новое помещение проложен распределительный кормопровод с врезкой в один из действующих бункеров-накопителей и установкой задвижки с электроприводом. Кормопровод имеет Æ 150 мм и подвешен над служебно-кормовым проходом с уклоном 2 %. От него в кормушки предусмотрены спускные рукава через каждые 6 м с соблюдением габаритов прохода. На спускных рукавах установлены быстродействующие задвижки с рычажным ручным управлением.
2.1.15 Удаление навоза в новых помещениях принимают по сложившейся технологии уборки стоков на ферме. Из каналов, имеющих уклоны 1 % и перекрытых чугунными решетками, навоз ежедневно смывают водой. Для этого в торцах помещения устанавливаются смывные накопительные бачки вместимостью по 1 м3, из которых через стояки Æ 200 мм в каналы 2 раза в сутки сбрасывается вода. Стоки поступают в поперечный канал и далее - в наружный коллектор производственной канализационной сети.
2.1.16 Электроснабжение нового помещения обеспечивается от электрощитовой примыкающего свинарника. Освещение и подключение силового оборудования (центробежных и осевых вентиляторов 12 кВт) выполняются аналогично схеме существующих свинарников.
2.1.17 При расширении производственных площадей фермы способом блокирования действующих свинарников удельные капитальные затраты по сравнению с новым строительством сокращаются в 3 раза. Кроме того, блокирование помещений с модернизацией производства способствует увеличению нагрузки на обслуживающий персонал.
Расширение производственных площадей способом блокирования действующих зданий особенно эффективно на фермах павильонной застройки мощностью 10-12 тыс. голов. На таких фермах увеличение поголовья свиней на 2-3 тыс. не требует расширения мощности кормоприготовительных цехов, складских помещений, очистных сооружений, инженерных коммуникаций, дорог, энергоснабжения, дополнительного благоустройства и увеличения численности обслуживающего персонала.
2.2.1 На реконструируемых и расширяемых фермах необходимая номенклатура зданий основного производственного и подсобно-вспомогательного назначения уточняется и компонуется согласно действующим нормам на проектирование. Как уже указывалось, в первую очередь реконструируют старые фермы, застроенные типовыми, наиболее распространенными зданиями шириной 9, 12, 15, 18 и 21 м.
В проектных предложениях на реконструкцию производственных помещений разработаны планировочно-технологические решения для четырех типов зданий: свинарников-маточников, свинарников для холостых и супоросных маток, свинарников для поросят-отъемышей и свинарников-откормочников.
2.2.2 Свинарники-маточники
Предназначены для размещения тяжелосупоросных маток, проведения опоросов и содержания их в подсосный период до отъема поросят. Под эти свинарники могут быть использованы существующие типовые помещения, позволяющие разместить станки в два-четыре или шесть рядов.
Применение новых типов станков с фиксацией маток, ранним отъемом поросят и механизацией производственных процессов предопределяет необходимость проведения полной внутренней перепланировки существующих зданий.
Площадь станков для индивидуального содержания маток принимают от 5 до 7,5 м2 в зависимости от продолжительности подсосного периода: 26, 35, 45 или 60 дней. При реконструкции свиноферм целесообразно предусматривать отъем поросят от матки в соответствии с нормами, с использованием станков соответствующей площади.
Свинарники-маточники оборудуют станками, различными по габаритам и конструктивному исполнению. Довольно распространены станки, изготовленные индивидуально, размерами 3,6×2, 3×2,5, 2,6×2,2, 2,25×2 и 2,4×2,2 м. Ограждение станков чаще всего делают из водогазопроводных труб Æ 40-50 мм и металлических листов, а кормушки - металлические или асбестоцементные. Высота перегородок отделения матки 1,1 м, отсеков поросят - 0,7 м. Кормушки для маток выдвигают на 20 см в кормовой проход для осуществления механизированной загрузки.
Станки размещают рядами вдоль здания с обязательным устройством кормовых и навозных проходов (проездов). Ширина кормовых проходов в зависимости от применяемых средств механизации 1,2-1,8 м, навозных - 1,2-1,4 м. Кормушки для маток и поросят должны быть опрокидывающимися, полы в станках для маток - кирпичные, деревянно-щитовые или резиновые по бетонной подготовке. Для поросят рекомендуются коврики с электрообогревом или резиновые плиты с верхним обогревом электролампами. Поилки можно ставить чашечного или соскового типа.
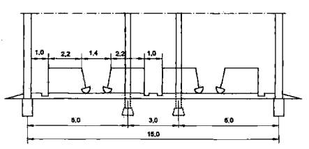
Свинарники-маточники могут занимать помещения любой ширины. Однако для организации производства промышленного типа с полной механизацией технологических процессов предпочтительней здания шириной 15 и 18 м. В здании шириной 15 м (ТП 802-103 и 802-104, длина здания 90 м) размещены три ряда станков с габаритами 3,6×2 м с двумя кормо-служебными проходами. В помещении шириной 15 м можно использовать станки и других типов. Свинарник обслуживают два человека.
В здании после реконструкции устанавливают 124 станка вместо 100 по проекту. Корма раздают кормораздатчиком типа КС, шайбовыми транспортерами или (при их отсутствии) с помощью ручной тележки ТУ-300. Навоз удаляют по каналам транспортерами ТСН-3,0Б. Поение матки и поросят осуществляется из сосковых поилок типа ПБС-1 и ПБП-1. Подсосных маток кормят сухими полноценными комбикормами или влажными смесями. Поросят-сосунов подкармливают комбикормами из самокормушек с пятого дня жизни.
Тяжелосупоросных маток переводят в свинарник-маточник за четыре-пять дней до опороса. После опороса матку переводят в другое помещение, а приплод еще в течение пяти дней оставляют в станках. После перевода поросят в свинарник для отъемышей в освободившемся свинарнике-маточнике проводят текущий ремонт оборудования, очистку и дезинфекцию помещения (по циклограмме в течение четырех-семи дней).
В здании шириной 18 м (ТП 802-17, 802-18, 802-144, 802-150, 802-163, длина зданий 60-96 м) размещены четыре ряда станков с двумя кормослужебными проходами шириной 1,8 м. Этот тип станков предназначен для раннего отъема поросят.
На 60 м (пог.) здания установлено 100 станков. Раздачу кормов производят электрифицированными кормораздатчиками типа КС-0,4 или шайбовыми транспортерами. Поение животных осуществляется из сосковых поилок.
Навоз из помещения удаляют гидросмывом по подпольным каналам, перекрытым решетчатым полом. Вместо гидросистем можно применять транспортеры ТСН-3,0Б.
Станки диагонального типа или прямоугольные размерами 3×2 м для индивидуального содержания маток с отъемом поросят в 60 дней и размерами 2,5×2 м с отъемом поросят в 45 дней размещают в шесть рядов с образованием трех кормо-служебных проходов шириной по 2 м.
В здании длиной 60 м устанавливают 96 станков размерами 3×2 м или 120 - 2,5×2 м. Корма раздают кормораздатчиками типа КС-0,4 или тросошайбовыми транспортерами, а также с помощью тележек ТУ-300.
Маток кормят из индивидуальных кормушек влажными смесями, которые готовят в кормокухне. Подкармливают поросят комбикормами и минеральными добавками с 5-7-дневного возраста из самокормушек. С 14-15-дневного возраста поросятам дают влажные кормовые смеси-мешанки. Для поения маток и поросят предусмотрены сосковые поилки, установленные над кормушками.
Навоз из помещения удаляют гидросмывом по подпольным каналам, перекрытым решетчатым полом.
Станки оборудованы всем необходимым для проведения опоросов, в том числе фиксаторами для матки, предохранительными дугами от задавливания новорожденных поросят и электрообогреваемыми отсеками для них. В логовах матки и поросят уложены съемные резиновые коврики по керамзито-битумному полу.
Конструкции станков, которые можно стыковать задними стенками, обеспечивают наиболее экономичные планировочные решения свинарников. Тяжелосупоросных маток переводят в свинарник-маточник за 4-5 дней до опороса. Продолжительность одного тура опоросов 73 или 59 дней, из них перевод группы маток на опорос длится 3-4 дня, выращивание поросят под маткой - 60 или 45, передержка поросят после отъема - 5 и текущий ремонт оборудования и дезинфекция помещения - 5 дней. В течение года в реконструируемом здании при отъеме поросят в 60 дней проводится пять туров опоросов или шесть - при отъеме в 45 дней. Годовой выход продукции 4350 поросят массой по 17 кг или 6500 массой по 12 кг. Свинарник обслуживают два человека.
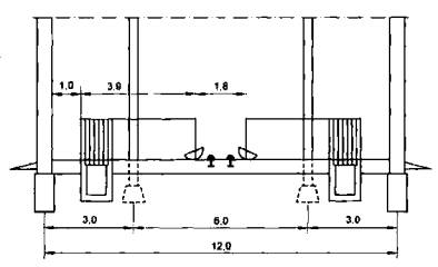
Здания шириной 18 м рекомендуется также оборудовать станками размерами 3×2,5 м, кормушками и автопоилками, фиксаторами и устройством для локального обогрева поросят. Планировочно-технологические решения в свинарнике аналогичны предыдущему варианту. При расположении станков в четыре ряда с двумя кормовыми и тремя навозными проходами в помещении размещается 70 маток.
Оборудование и площадь станков данного типа обеспечивают содержание и кормление подсосной матки с поросятами в течение 60 дней. В реконструируемом помещении за год можно провести пять туров опоросов с получением 3150 поросят массой каждого 18 кг. Обслуживают два человека.
При реконструкции свинарников-маточников в станках предусматриваются локальный обогрев поросят-сосунов инфракрасными лампами ИКЗК и ультрафиолетовое облучение установками ИКУФ.
В прил. А приведены примеры реконструкции свинарников-маточников на 60, 80, 100 и 270 голов по ТП 802-15, 02-142-2, 802-103, 802-104, 802-55 и 175-61.
2.2.3 Свинарники для холостых и супоросных маток
Предназначены для приема и содержания холостых маток, осеменения и комплектования из них производственных групп по технологическому циклу. Содержат по 14 холостых или 12 супоросных маток в групповых станках, оборудованных кормушками, поилками и решетчатыми полами в зоне дефекации. Норма площади станка для холостых и супоросных маток 1,8 м2 на одну голову. Фронт кормления 0,45 м на одну голову. Кормушки групповые шириной 0,4 м могут быть бетонные или асбестоцементные корытообразной формы. Поилки соскового типа устанавливают по одной на станок над решетчатым полом.
Станок разделяется на две зоны: логово для отдыха животных и кормонавозный отсек. Логово имеет сплошной кирпичный или керамзитобетонный пол с уклоном 5 % и более в сторону решетчатого пола. Кормонавозный отсек состоит из групповой кормушки и решетчатого пола над каналом удаления навоза. Ограждение станка может быть изготовлено из пластмассы, металла, кирпича или железобетонных панелей. В зоне логова перегородки рекомендуются сплошные, а в зоне кормонавозного отсека - решетчатые. Станки стыкуются задними стенками. Калитки устраивают на стыке двух смежных станков под углом 45° к перегородкам, что увеличивает фронт кормления.
Для размещения холостых и супоросных маток можно использовать здания шириной 9, 12 и 18 м. При реконструкции девятиметрового свинарника групповые станки размещают в два ряда с организацией центрального кормового прохода шириной 2 м.
Раздачу кормов осуществляют электрифицированными кормораздатчиками типа РС-5АМ, КС-1,5 или тросошайбовыми транспортерами. Навоз через решетчатые полы собирается в подпольные каналы, по которым трососкреперными транспортерами удаляется из помещения. В свинарнике шириной 12 м тоже размещается два технологических ряда, но с образованием двух кормослужебных проходов шириной по 1,8 м вдоль наружных стен. Станки состыкованы задними стенками по продольной оси здания. Глубина станка 4 м.
Для раздачи кормов используют кормораздатчик типа РС-5АМ или тросошайбовый транспортер. Навоз из-под решетчатых полов удаляют гидросмывом или транспортерами.
В здании шириной 18 м размещаются четыре ряда станков глубиной логова по 3,5 м с образованием двух кормослужебных проходов шириной по 2 м.
Производственные процессы в этом варианте механизированы аналогично предыдущему: корма раздают кормораздатчиком РС-5АМ или тросошайбовым транспортером, навоз удаляют самосплавом, гидросмывом или навозоуборочными транспортерами.
Для организации поточности в проведении осеменения, передержки осемененных маток до выявления супоросности и опоросов животных станки в репродукторном помещении группируют по секциям согласно технологическому расчету. Секции изолируют друг от друга кирпичными перегородками. Секционная планировка здания способствует внедрению промышленных методов воспроизводства стада, повышению культуры производства и сокращению затрат труда.
2.2.4 Свинарники для поросят-отъемышей
Предназначены для содержания поросят от отъемного периода до четырехмесячного возраста. Этих животных чаще всего размещают в узкогабаритных постройках. При реконструкции свинарников шириной 9 м для размещения поросят-отъемышей предусматривают установку станков в два ряда. Станки состыкованы задними стенками по продольной оси здания. Кормовые и служебные проходы отнесены к наружным стенам. Ширина решетчатого пола в станках 0,6-1 м, кормушек - 0,3 м. Площадь станка на одну голову 0,35 м2. Фронт кормления 0,2 м на одну голову. Корма раздают кормораздатчиком РС-5АМ или тросошайбовыми транспортерами. В небольших свинарниках для раздачи комбикормов используют тележки типа ТУ-300.
Для удаления навоза по подпольным каналам используют гидравлические системы или трососкреперные транспортеры. Ширина щелей решетчатых полов 15 мм, планок - 30 мм.
У поперечных перегородок над решетчатыми полами устанавливают автопоилки соскового типа.
В здании шириной 15 м размещают четыре ряда станков глубиной по 2,75 м с двумя кормослужебными проходами шириной по 1,8 м.
Планировочное решение в здании шириной 15 м экономичней, чем вариант девятиметрового свинарника. Способы механизации в обоих вариантах аналогичны.
В свинарнике габаритами 15×90 м (ТП 802-104) размещаются 2240 поросят-отъемышей.
Для содержания поросят-отъемышей используют также помещения шириной 18 и 21 м с организацией дополнительных проходов вдоль наружных стен.
2.2.5 Свинарники-откормочники предназначены для содержания и откорма молодняка с 3-4 до 4-8-месячного возраста от 30-40 до 110-120 кг живой массы. В этих же зданиях откармливают выбракованных из репродукторного стада взрослых свиней.
Наиболее эффективна технология группового безвыгульного содержания молодняка по 20-30 голов в станке. Площадь станка на одну голову 0,8 м2, фронт кормления 0,3 и 0,15 м при двухсменном кормлении животных. В площадь станка входят логово, зона дефекации и кормушка. При реконструкции ферм откормочное поголовье в узкогабаритных двухрядных помещениях размещать нецелесообразно. Для откорма свиней чаще используют здания шириной 18 и 21 м. Наиболее распространены постройки первого типа, имеющие различные планировочно-технологические решения.
Основным вариантом планировки в свинарниках-откормочниках шириной 18 м является четырехрядное расположение групповых станков с двумя кормослужебными проходами шириной по 1,9 м.
Фронт кормления при одновременном подходе животных к кормушкам 0,22-0,3 м на одну голову. Корма раздают кормораздатчиками типов РС-5АМ, КС-1,5 или по системе трубопроводов при использовании жидких кормов. Навоз по подпольным каналам удаляют гидросмывом, самосплавом или навозоуборочным транспортером.
Поилки соскового типа устанавливают над решетчатым полом у поперечных перегородок станка. Полы в логовах делают из кирпича или керамзитобетона.
На 60 м (пог.) здания свинарника при этой планировке размещаются 1000 голов молодняка.
Аналогичная планировка с некоторой разницей по глубине станков применяется в зданиях шириной 21 м. Способы раздачи кормов, удаления навоза и поения животных идентичны предыдущему варианту. Такая ширина здания позволяет организовать для откормочного поголовья самую экономичную планировку. Полезная площадь используется на 16 % лучше, чем в здании шириной 18 м, за счет размещения станков с экономичными параметрами согласно технологическим нормам: глубина логова 3 м, фронт кормления 0,3 м на одну голову.
Для свинарников-откормочников шириной 18 и 21 м рекомендуется также четырехрядная планировка станков с применением напольных кормораздаточных транспортеров скребкового типа.
При достройке существующих свиноводческих ферм их территорию необходимо подразделять на следующие зоны: производственную, хранения и приготовления кормов, административно-хозяйственную и подсобно-вспомогательную.
В производственной зоне размещают здания основного назначения - свинарники для всех половозрастных групп. На фермах с завершенным производственным циклом производственную зону подразделяют на секторы: репродукторный и откормочный; первый должен находиться выше по рельефу и с наветренной стороны по отношению ко второму.
В административно-хозяйственной зоне размещены административное здание и санпропускник. В подсобно-вспомогательной зоне размещают ветсанпропускник, ветпункт с изолятором, весовые с эстакадой для погрузки животных, гараж для внутрифермского транспорта и т.д.
Вся территория свинофермы должна быть огорожена и озеленена. Между свинарниками целесообразно иметь соединительные коридоры или организованные скотопрогоны. Зону хранения и переработки навоза следует размещать за пределами ограждения фермы на отдельном производственном участке.
В прил. Б приведены примеры реконструкции свинарников-откормочников на 1000, 1400, 2000, 2400 и 3000 голов по ТП 802-96, 784, 802-144, 2056, 802-147/72, 802-183 и 1343.
2.3.1 Реконструкция свиноводческих ферм предусматривает:
- сокращение цикла оборота маточного поголовья с получением от каждой матки не менее двух опоросов в год. Для этого необходимо сократить при наличии соответствующих условий подсосный период маток с 60 до 26-45 дней и довести до минимума продолжительность холостого периода путем введения поточных опоросов, улучшения зоотехнического учета и применения биологических методов воздействия на организм животных;
- сокращение возраста реализуемых свиней массой 100-115 кг с 280-300 до 220-240 дней при увеличении среднесуточных приростов живой массы молодняка на откорме до 550-700 г;
- улучшение использования производственной площади путем внедрения новых технологических приемов содержания животных - фиксация маток, цикличное заполнение секций по системе «пусто - занято» и т. д.;
- комплексную механизацию производственных процессов, позволяющую сократить затраты труда на единицу продукции, а также улучшить условия труда.
2.3.2 Для обеспечения поточности производства мощность реконструируемых ферм должна быть не менее 9 тыс. голов в год, при этом ритм производства нужно планировать не более 10-14 дней, что обусловливает численность подсосных маток в технологической группе 25-40 голов.
Группы должны формироваться из маток с установленной супоросностью с разницей во времени оплодотворения не более 8 дней.
На более крупных реконструируемых фермах (более 12 тыс. голов) оптимальным является семидневный ритм производства и технологические группы из 30-60 подсосных маток, в зависимости от принятого расчета. На фермах мощностью менее 9 тыс. голов в год поточное производство в изолированных секциях нецелесообразно из-за небольших производственных групп животных. Поэтому лучше применять обычную туровую организацию опоросов с четырех- или семикратным использованием мест для опороса в год и традиционной организацией покрытия маток, т.е. не беспрерывным потоком, а в определенные периоды.
2.3.3 На реконструируемых фермах целесообразна безвыгульная система содержания подсосных маток и откормочного поголовья. Для ремонтного молодняка, холостых и супоросных маток организация выгулов зависит от конкретных условий хозяйства. Для более эффективного использования хряков и улучшения племенных качеств стада на реконструируемых фермах применяется искусственное осеменение маток. Причем на малых фермах следует организовывать пункты, а на крупных - станции искусственного осеменения.
При реконструкции ферм предусматривается индивидуальное содержание подсосных маток и хряков. Все остальное поголовье лучше объединять в группы: ремонтный молодняк - по 10 голов, матки холостые и супоросные - 12, отъемыши и молодняк на откорме - 25-30 голов.
2.3.4 Соотношение основных маток к проверяемым должно составлять 1:1. Количество опоросов основных маток в год 1,8-2. Средний выход поросят на один опорос от основной матки 9-9,5 голов, от проверяемой - 8. Масса поросят в двухмесячном возрасте 16-18 кг, в четырехмесячном - 35-40, при снятии с откорма в семь-восемь месяцев - 100-110 кг. Среднесуточные приросты живой массы на откорме 700-750 г.
Подсосных маток содержат в индивидуальных станках, оборудованных фиксаторами, отделениями для поросят, кормушками, поилками и обогревательными элементами. Для группового содержания свиней применяют станки с двумя четко выраженными функционально-технологическими зонами: логово и зона дефекации. Ограждения станков в зоне логова должны исключать возможность контакта с животными соседних станков, а в зоне дефекации наличие контактной (решетчатой) перегородки целесообразно.
Наибольшего внимания заслуживают станки, ограждения которых выполнены из панелей. В местах соединения панелей, а также между полом и панелями делают просветы 30 мм. При этом исключается контакт с животными соседних станков и обеспечивается достаточная подвижность воздуха в логове.
2.3.5 Полы в логовах делают с уклоном 3-5 % в сторону решетчатого настила, причем решетчатый пол по отношению к логову должен иметь перепад по высоте 3-5 см, что исключает занос навоза в логово животными. Чтобы логово было сухое, автопоилки располагают в зоне решетчатого пола на границе двух смежных станков.
2.3.6 Перевод на промышленные методы производства свинины осуществляют не только на основе рациональной организации содержания, но и кормления животных. Нормы суточной потребности в кормах для различных половозрастных групп свиней представлены в табл. 2.1.
|
Половозрастные группы |
Кормовые единицы, кг |
Переваримый протеин, г |
|
Хряки-производители |
4,3 |
550 |
|
Матки основные (холостые и супоросные) |
3,5 |
400 |
|
Матки проверяемые (холостые и супоросные) |
4,2 |
480 |
|
Матки подсосные* |
8,0 |
750 |
|
Поросята 2-4-месячного возраста |
2,2 |
220 |
|
Откормочное поголовье |
3,2 |
330 |
|
* Вместе с поросятами (девять голов) |
|
|
2.3.7 Тип кормления на реконструируемых фермах зависит от состояния существующей кормовой базы и технических возможностей по приготовлению кормов. Целесообразно кормление поросят-отъемышей сухими сбалансированными кормосмесями, откормочного и маточного поголовья - увлажненными в кормушках сбалансированными кормосмесями, а при существующих кормокухнях кормление маточного поголовья - умеренно объемистыми кормосмесями влажностью не более 75 %.
2.3.8 При концентратном типе кормления (концентрированные корма по питательности должны составлять в рационе не менее 85 %) свиней кормят 2 раза в сутки, при скармливании смесей из сочных и объемистых кормов - 3 раза.
С укрупнением ферм и созданием крупных комплексов повышение эффективности выращивания и откорма свиней зависит также от снижения стрессового состояния у животных, которое вызывается изменениями окружающей среды в следующие критические периоды:
при отъеме от маток, во время перевода на доращивание в другие помещения или хозяйство с перегруппировкой поросят;
при повторном переводе и перегруппировке животных в процессе постановки на откорм;
в период борьбы за место у кормушки в помещениях-откормочниках при необеспеченности 100 %-ным фронтом кормления.
Все это отрицательно влияет на состояние здоровья животных и снижает эффективность их откорма.
2.3.9 В практике производства свинины возник способ доращивания и откорма свиней гнездами без последующих перегруппировок.
Главное условие реализации этого способа - гарантированное получение более высоких среднесуточных приростов живой массы поросят, компенсирующих увеличение капиталовложений и эксплуатационных затрат при доращивании и откорме свиней по девять-десять голов в одном гнезде. Этот способ подтвердился и опытами ВНИИМЖа. Установлено, что доращивание и откорм свиней гнездами или мелкими группами по десять голов с обеспечением необходимого нормативного фронта кормления значительно повышают сохранность поросят и результативность откорма. Наибольшие абсолютные приросты живой массы получены при содержании свиней гнездами от отъема до завершения откорма в одних и тех же станках в специализированных помещениях с высокой механизацией производственных процессов.
2.3.10 Содержание поросят от отъема до сдачи на мясокомбинат в станках для опороса снижает общую эффективность производства по ряду причин: недоиспользуется площадь станков и помещений, в которых находятся поросята в раннем возрасте, велика удельная металлоемкость и высока стоимость станков, отнесенная к поголовью поросят, недостаточна прочность этих станков при содержании в них свиней на откорме. Необходимы дополнительные затраты на создание универсальных механизмов по раздаче кормов, удалению навоза и созданию микроклимата для разных возрастных групп. Неэффективно используются установки для облучения поросят и др.
2.4.1 При реконструкции зданий для содержания свиней необходимо обследовать их несущие и ограждающие конструкции по состоянию прочности и теплотехническим свойствам. Обнаруженные дефекты следует ликвидировать наиболее дешевыми строительно-ремонтными способами.
Замена отдельных частей здания может производиться аналогичными материалами или какими-либо другими с учетом характерных для данного объекта условий. При этом в проектах следует предусматривать индустриальные методы производства работ с применением типовых сборных конструкций, деталей и полуфабрикатов заводского изготовления.
2.4.2 При обнаружении деформации в несущих конструкциях в процессе производства работ необходимо устранить ее причины и восстановить устойчивость и прочность строения.
Разработка котлованов и траншей, устраиваемых у существующих сооружений и заглубляемых ниже уровня заложения их фундаментов, должна производиться с осуществлением мер против осадки и деформации этих сооружений (подведение временных опор, установка контрфорсов и т. д.). Проектирование фундаментов производят на основе геологических и гидравлических данных о грунтах, залегающих ниже подошвы фундаментов не менее чем на 2 м.
В случае закладки примыкающего нового фундамента ниже существующего переход от одной глубины к другой должен выполняться уступами. Высота уступа при глинистых грунтах не более 1 м, при сыпучих - не более 0,5 м. Ширина уступов не менее 1 м. В местах примыкания новых каменных стен к существующим должны предусматриваться осадочные швы на всю высоту здания.
Размеры сечений заменяемых столбов и участков каменных стен определяют расчетом на прочность и устойчивость. Они должны выполняться из материалов марок не ниже проектных. Смену перекрытий производят в соответствии с проектом при соблюдении действующих противопожарных норм и обеспечении техники безопасности.
2.4.3 Особое внимание обращают на места заделок деревянных конструкций в каменные стены (опоры). Если обнаружено загнивание концов балок, их усиливают или заменяют антисептированными балками. Смену балок или их усиление, замену деревянных перекрытий железобетонными выполняют по проектам согласно расчетам. Выбор сечений балок и прогонов по аналогии с существующими не допускается. При ремонте перекрытия устраняют, прежде всего, причины, которые ведут к преждевременному его износу: промерзание, загнивание, просадка отдельных опор и т. д.
Проект на ремонт крыши должен предусматривать устройство вентиляции покрытия и вытяжных шахт из помещения.
При проектировании и реконструкции необходимо предусматривать степень капитальности работ, обеспечивающих срок службы зданий не менее 20 лет.
Для замены несущих конструкций реконструируемых зданий и сооружений в качестве основного материала рекомендуется железобетон. В ряде случаев можно использовать клееную древесину и металл. По возможности применяют стальные конструкции.
Деревянные клееные несущие конструкции могут быть в виде балок пролетами 6; 7,5; 9 м, арок пролетами 9, 12 и 18 или металлодеревянных ферм пролетами 18, 21 и 24 м.
2.4.4 Для ремонта стен зданий рекомендуется применять панели различных видов: из ячеистых и легких бетонов, трехслойные с наружным слоем из бетона, асбестоцементные утепленные.
В случае использования стальных или клееных деревянных несущих конструкций покрытия устраивают из вентилируемых асбестоцементных кровельных плит. Верхнюю часть плиты выполняют из волнистых асбестоцементных листов, которые образуют кровлю.
Для освещения проемов рекомендуется использовать стеклопакеты, листовое стекло, листовые профилированные изделия из стеклопластика, объемные элементы зенитных фонарей из стеклопластика и оргстекла.
В зависимости от назначения здания и состояния существующих полов производят полную их разборку и устройство на их месте новых, часть существующих используют как основания для устройства по ним новых.
2.4.5 Для определения необходимости и выявления объемов реконструкции системы обеспечения микроклимата рассчитывают тепловлажный баланс помещения согласно действующим нормам технологического проектирования с учетом изменения вместимости здания и производственного процесса.
При реконструкции систем отопления и вентиляции следует стремиться к максимальному уменьшению теплопотерь через ограждения. Для этого необходимо утеплять перекрытия и ограждения, в проемах ворот устраивать тамбуры и воздушно-тепловые завесы.
Многие существующие свинарники имеют недостаточную теплоизоляцию, в связи с этим через ограждения теряется до 40 % тепла. Желательно, суммарное сопротивление теплопередаче, в частности покрытия, увеличить до 2,5 м2·ч·град/ккал, что соответствует примерно теплоизоляционному слою из пенопласта толщиной 10 см.
2.4.6 Создание в помещении нормального микроклимата способствует повышению продуктивности свиней, сокращению расхода кормов, удлинению срока службы оборудования и зданий, а также улучшает условия работы обслуживающего персонала.
2.4.7 При расчете воздухообмена помещений необходимо, в первую очередь, выявить возможность применения естественной приточно-вытяжной вентиляции за счет увеличения и усиления тяги вытяжных шахт и отверстий. Если такой вариант не удовлетворяет данное помещение, то применяют комбинированную естественно-механическую систему вентиляции. Например, подогретый наружный воздух в зимнее время подается вентилятором, а удаляется естественной тягой через вытяжные шахты или, наоборот, в летнее время, а также зимой при наличии отопления свежий воздух поступает через проемы окон и дверей и удаляется вытяжными вентиляторами. Принудительная приточно-вытяжная вентиляция с круглогодовым режимом работы должна применяться, например, в свинарниках-откормочниках на 1000 голов и более.
2.4.8 Для создания микроклимата в помещениях для содержания свиней отечественными заводами выпускаются центробежные (радиальные) и осевые вентиляторы, водяные и электрические калориферы и теплогенераторы. Эффективность использования оборудования зависит от энергообеспеченности фермы, рациональности принятой системы вентиляции для каждого конкретного случая по набору машин, выбору теплоносителя, простоте обслуживания и надежности в работе. При проектировании системы вентиляции необходимо учитывать отсутствие излишнего шума в помещении. На небольших фермах рекомендуется применять в качестве теплоисточников электрические котельные и электрокалориферы.
Чтобы повысить эффективность и надежность работы системы вентиляции рекомендуется устанавливать обводные клапаны, применять блокировку автоматического отключения вентиляторов в случае прекращения подачи или снижения температуры теплоносителя, предусматривать возможность рециркуляции внутреннего воздуха через приточный вентилятор при низких наружных температурах в зимний период.
Если в реконструируемых зданиях имеется действующая механическая система вентиляции, то целесообразно стремиться не к замене, а к ее усовершенствованию.
2.5.1 Для приготовления сочных кормов применяют кормозапарники, измельчители различных кормов. Для смешивания запаренных или сырых кормовых смесей любой влажности предназначены смесители соответствующих типов. Выгрузку из накопителей и хранилищ осуществляют дешевым и надежным способом - самотеком при уклоне днища 60-90°, транспортировку концентрированных кормов - пневмотранспортом. Для доставки кормов применяют самосвальные тракторные прицепы 2-ПТС-4 (или модификации), самосвальные автомашины, автокормовозы для концентрированных кормов. Жидкие корма транспортируют по трубопроводам с помощью пневмоустановок или гидравлических объемных насосов.
2.5.2 На фермах небольшой мощности для доставки кормов к свинарникам применяют тракторный кормораздатчик КУТ-4 или нестандартные раздатчики на базе самоходного шасси Т-16, которые могут транспортировать и раздавать корма по кормушкам.
2.5.3 Для приготовления полнорационных комбикормов из зернофуража и обогатительных добавок хозяйства используют выпускаемые промышленностью автоматизированные комбикормовые агрегаты.
Для автоматизированной раздачи сухих рассыпных и гранулированных комбикормов наиболее приемлемы штанго-шайбовые раздатчики и тросошайбовые транспортеры.
2.5.4 На многих фермах применяют самоходные электрифицированные раздатчики-смесители РС-5АМ, которые смешивают, транспортируют и раздают полужидкие корма в кормушки на обе стороны прохода, а также раздатчики КС-1,5, предназначенные для приготовления и раздачи влажных кормовых смесей. Эти электромобильные раздатчики (в отличие от стационарных) менее металлоемки, позволяют раздавать корма при любой длине здания и способствуют созданию компактной планировки с многоцелевым назначением проходов (кормовой, служебный и эвакуационный).
Жидкие корма раздают по системе трубопроводов с помощью насосов или сжатого воздуха.
Для поения свиней промышленность выпускает поилки типов ПБС, ПБП, ПСС. Их устанавливают в зоне дефекации животных на поперечных перегородках станков, над каналами для удаления навоза. Разводка водопровода обычно применяется верхняя, под потолком.
2.6.1 При реконструкции свинарников для удаления навоза из помещений применяют механические, гидравлические и комбинированные системы. Из механических средств используют скребковые транспортеры типов ТСН-2, ТСН-3,0Б, а также ТСН-160, которые устанавливают преимущественно в репродукторных и откормочных свинарниках при небольшом суточном выходе навоза. При большей концентрации поголовья для уборки помещений выгоднее применять комплекты оборудования гидравлических систем, которые позволяют удалять навоз с небольшими затратами труда.
2.6.2 Для помещений свинарников неотъемлемой частью систем удаления навоза стали решетчатые полы, которые сочетаются как с механическими, так и с гидравлическими способами транспортировки экскрементов животных. Решетчатыми полами перекрывают подпольные каналы, в которых накапливается навозная масса от протаптывания самими животными. Из каналов навоз скреперными транспортерами или гидротранспортом удаляется за пределы помещения. Решетчатые полы по технологическим соображениям устраивают полосой 1-1,2 м вдоль кормового фронта или (реже) вдоль задней стенки станка.
Применение решетчатых полов и навозосборных каналов под ними упрощает технологический процесс уборки помещений и значительно сокращает операции ручного труда.
Из гидравлических систем удаления навоза наиболее простой и надежной в работе является система гидросмыва, но она требует большого расхода воды. Более экономичной признана самосплавная система с рециркуляцией обезвреженной жидкой фракции навоза для периодической промывки каналов.
2 .6.3 Для выгрузки навоза из навозоприемников используют стационарные средства: ковшовый погрузчик НПК-Ф-35, насос типа НЦИ с измельчителем, а также насос НЖН-200А. Из мобильных средств для откачки навозной жижи используют цистерны-разбрасыватели типа РЖТ.
При реконструкции свиноферм необходимо особое внимание уделять хранению, переработке и использованию навоза. На небольших фермах получаемый подстилочный навоз транспортируют механическими средствами и хранят в буртах до состояния перегноя. Сложнее хранить и использовать жидкий навоз, получаемый на средних и крупных фермах.
2.6.4 Опыт эксплуатации свиноводческих комплексов показывает, что жидкий навоз целесообразно разделять механическим путем на жидкую и твердую фракции и после соответствующей переработки использовать в качестве удобрения.
Для разделения производственных стоков на фракции применяют специальное механическое оборудование: центрифуги, виброфильтры и виброгрохоты. Отделенную твердую фракцию влажностью 70-80 % механическими средствами складируют в бурты, где происходит ее биотермическое обеззараживание. Жидкую фракцию по напорному канализационному трубопроводу подают в биологические пруды и после шестимесячной выдержки используют на земледельческих полях орошения в качестве органического удобрения. Биологическая обработка жидкой фракции может осуществляться механическим способом в циркуляционно-окислительных каналах, аэраторах и биофильтрах. Обезвреженные сточные воды используют для рециркуляции в системе гидросмыва подпольных каналов свинарников.
2.7.1 Ветеринарно-санитарные мероприятия на реконструируемых фермах должны осуществляться в двух направлениях: обеспечение помещений постоянным ветеринарным надзором и введение в технологический процесс определенных ветеринарно-санитарных мероприятий, позволяющих в случае возникновения заболеваний принять быстрые и эффективные меры по их ликвидации.
2.7.2 При реконструкции отдельных освобожденных помещений действующих ферм эти объекты нужно изолировать от остальной территории временной сплошной изгородью с самостоятельными въездом и выездом.
2.7.3 Кроме общих мероприятий по профилактике, необходимо соблюдать следующее:
строить технологический процесс в помещениях для свиней по принципу «пусто - занято";
пропускать персонал на ферму только в спецодежде через санпропускник;
разрешать вход в помещение, занятое животными, только закрепленному за ним персоналу;
после каждого перемещения животных убирать, чистить и дезинфицировать помещения и транспортные средства;
проводить борьбу с грызунами (дератизацию);
устраивать дезковрики у входов и выходов из помещений, дезбарьеры при въезде на территорию фермы.
2.7.4 В помещениях свинарников ежедневно проводят наблюдения за увеличением прироста живой массы и поеданием кормов. Заболевших и подозреваемых на заболевание животных немедленно изолируют, организовывают клиническую диагностику поголовья, проводят профилактические и лечебные мероприятия.
2.7.5 Для сокращения затрат труда ветеринарных специалистов и предупреждения потерь прироста живой массы животных при раздельном проведении прививок против каждого вида заболеваний целесообразно организовать комплексную вакцинацию свиней против двух-трех заболеваний единовременно.
2.8.1 Реконструкция ферм с применением усовершенствованной технологии содержания свиней, специализации и механизации производства должна создать условия для улучшения режимов труда и отдыха персонала. Для этого наиболее целесообразна организация двухсменной работы.
2.8.2 На реконструируемых свинофермах рекомендуется применять цеховую (поточную) организацию производства. Основной формой организации труда на ферме является бригада, внутри которой созданы специализированные звенья. По характеру выполняемой работы персонал делится на общефермских работников, основных (операторов) и подменных рабочих.
2.8.3 В обязанности операторов по обслуживанию поголовья свиней входят: прием, сортировка и сдача поголовья; соблюдение установленной технологии кормления и содержания животных; раздача кормов и наблюдение за их поедаемостью; содержание в чистоте индивидуальных и групповых станков, а также помещения и оборудования; контроль за состоянием микроклимата; передача и прием животных от ночного дежурного; своевременное выявление и удаление больных животных; участие в зооветмероприятиях; заполнение карточки учета движения свиней и потребности животных в кормах; соблюдение распорядка рабочего дня, правил технической эксплуатации оборудования, техники безопасности и сангигиены.
2.8.4 В зависимости от конкретной специализации операторов в их обязанности, кроме общих, входят и дополнительные работы.
2.8.5 Оператор по обслуживанию холостых и супоросных маток и хряков-производителей выгоняет животных на выгулы, выявляет охоту у маток, следит за случкой, участвует в санобработке и перемещении тяжелосупоросных маток в свинарник-маточник, приеме холостых маток после отъема поросят.
2.8.6 Оператор свинарника-маточника принимает тяжелосупоросных маток и фиксирует их за три дня до опороса, во время опоросов принимает и взвешивает поросят, обрабатывает маток и передает их в группы холостых, а поросят - в свинарники для отъемышей. Он также передает выбракованных маток, взвешивает животных и оказывает помощь ветеринарам и зоотехникам.
2.8.7 Оператор по обслуживанию поросят-отъемышей и ремонтного молодняка принимает поросят на доращивание, осуществляет контроль за их ростом и развитием, переводит поросят, достигших четырехмесячного возраста, на откорм, участвует в выбраковке ремонтных свинок и взвешивании животных.
2.8.8 Оператор по обслуживанию откормочного поголовья принимает и комплектует откормочные группы, участвует в контрольном взвешивании свиней и организует сдачу откормленных животных на мясокомбинат.
2.8.9 Подменный рабочий выполняет все операции, входящие в обязанности основного рабочего, которого он подменяет.
Ночной дежурный помещений свинарников вечером принимает свиней от всех звеньев дневной смены, ведет охрану и наблюдение за животными в течение ночи и сдает смену в утренние часы.
Примерные нагрузки на одного оператора приведены в табл. 2.2.
|
Персонал |
Репродукторные фермы, головы |
Откормочные фермы, головы |
||
|
индивидуальное содержание |
групповое содержание |
механизированные свинарники |
автоматизированные свинарники |
|
|
Операторы по обслуживанию холостых и супоросных маток |
- |
200-270 |
- |
- |
|
Операторы по обслуживанию подсосных маток с поросятами |
30-40 |
- |
- |
- |
|
Операторы по обслуживанию поросят-отъемышей от двух до четырехмесячного возраста |
- |
600-800 |
- |
- |
|
Операторы по обслуживанию откормочного поголовья |
- |
- |
600-1000 |
1500-1800 |
|
Операторы по обслуживанию хряков-производителей |
30-35 |
- |
- |
- |
|
Дежурные ночные операторы |
Один на четыре оператора |
|||
3.1.1 В период массового строительства свиноводческих комплексов и ферм основная доля приходилась на малые и средние фермы, в связи с этим вопрос реконструкции и технического перевооружения таких ферм наряду с крупными комплексами является актуальным.
3.1.2 Наиболее распространенными были малые фермы выращивания и откорма на 3 и 6 тыс. свиней в год (ТП. 802-01-11.84 и 802-01-10.84), и средние - на 12 и 24 тыс. свиней в год (ТП. 802-147/72, 802-148/72, 802-01-1 и 802-01-2) фермы на кормах собственного производства. Как правило, расширение и реконструкция ферм малых и средних мощностей проводилась хозспособом без надлежащего оформления и согласования проектной документации.
3.2.1 Технология и механизация производственных процессов
3.2.1.1 Характеристика ферм до реконструкции:
- фермы предназначены для равномерного воспроизводства, выращивания и откорма 3 и 6 тыс. свиней в год живой массой соответственно 3360 и 6972 ц;
- в основу технологических расчетов было принято:
два опороса на одну матку в год;
выход - девять деловых поросят на один опорос;
отъем поросят в 42-дневном возрасте;
среднесуточный прирост живой массы на откорме 500 г;
реализация с откорма в 272-дневном возрасте массой одной головы 112 кг;
ритм производства - соответственно 30 и 15 дней;
- кормление свиней предусматривалось влажными кормо-смесями, приготовление кормов - в кормоцехе;
- транспортировка и раздача кормов - мобильными кормораздатчиками КУТ-4,0БМ и КС-1,5;
- уборка навоза механическая транспортерами ТСН-2Б и ТСН-3,0Б;
- обеспечение микроклимата - системой приточно-вытяжной вентиляции с подогревом воздуха в холодное время;
- предусмотрены водоснабжение, теплоснабжение, канализация и электроснабжение.
3.2.1.2 Характеристика ферм после реконструкции:
- фермы предназначены для равномерного воспроизводства, выращивания и откорма 3 и 6 тыс. свиней в год живой массой соответственно 4079,7 и 8160,5 ц;
- в основу технологических расчетов было принято:
два опороса на одну матку в год;
выход - 9,2 делового поросенка на один опорос;
отъем поросят в 28-дневном возрасте;
среднесуточный прирост живой массы на откорме - 700 г;
реализация с откорма одной головы не менее 110 кг;
двухфазная технология выращивания и откорма молодняка;
ритм производства - 7 дней.
- транспортировка и раздача кормов в свинарнике для проведения опоросов и доращивания поросят-отъемышей - цепочно-шайбовыми транспортерами;
- уборка навоза самосплавом;
- отопление воздушное, для проведения опороса и доращивания поросят предусмотрены дополнительный обогрев, водоснабжение, теплоснабжение, канализация и электроснабжение.
3.2.2 Генпланы и архитектурно-строительные решения
3.2.2.1 Корректировка схем генпланов свиноферм должна решаться с учетом технологических, зооветеринарных, санитарных и противопожарных норм и предусматривать функционально-технологическое зонирование территории, требуемые расстояния между зданиями, технологические проезды и площадки.
В производственную зону ферм входят все здания для содержания свиней, а также здания и сооружения для внутреннего обеспечения производства. Во вспомогательной зоне располагаются объекты подсобно-вспомогательного назначения, обслуживающие производственную зону.
3.2.2.2 Производственные здания свиноферм, построенные по типовым проектам, имеют единую конструктивную схему:
здания - каркасные, однопролетные, шириной 18 м; рамы - сборные железобетонные; стены - керамзитобетонные панели; кровля - асбестоцементные волнистые листы по деревянной обрешетке.
3.2.2.3 В процессе реконструкции в производственных зданиях выполняется частичная внутренняя перепланировка, например, организация секций для опороса, помещений для санобработки свиней.
Реконструируются каналы навозоудаления в секциях для опоросов и доращивания поросят-отъемышей, а также в помещениях для откорма. Каналы рекомендуется устраивать на всю ширину станка, полы - щелевые, что значительно уменьшает трудоемкость их уборки.
3.2.2.4 Вновь возводимое здание свинарника на 100 голов должно быть однопролетным, шириной 12 м и перекрываться металлодеревянными фермами с креплением к ним подвесного потолка.
3.2.2.5 Внешние ограждающие стены вновь возводимых зданий могут быть выполнены как из керамзитобетонных панелей, так и из облегченных конструкций (панели на деревянном каркасе с обшивкой с двух сторон плоскими асбесто-цементными листами с эффективным утеплителем).
3.2.2.6 Объем работ по капитальному ремонту стен, покрытия и перекрытий вспомогательных зданий и сооружений уточняется в каждом конкретном случае в зависимости от степени их износа и характера повреждений.
3.3.1 Технология и механизация производственных процессов
3.3.1.1 Характеристика ферм до реконструкции:
- фермы по ТП. 802-01-1 и 802-01-2 предназначены для равномерного воспроизводства, выращивания и откорма 12 и 24 тыс. свиней в год живой массой соответственно 13918 и 27836 ц;
- в основу технологических расчетов было принято: основная технологическая и организационно-производственная единица - группа из 30 подсосных маток;
два опороса на одну матку в год;
выход - 9,4 делового поросенка на один опорос;
отъем поросят в 45-дневном возрасте;
среднесуточный прирост живой массы на откорме 570 г;
период откорма 135 дней;
реализация с откорма в 255-дневном возрасте массой одной головы 112 кг;
ритм производства соответственно 10 и 5 дней;
- кормление свиней влажными кормосмесями, приготовление кормов - в кормоцехе;
- транспортировка и раздача кормов мобильными кормораздатчиками КУТ-4 и КС-1,5, а также с использованием ручных тележек;
- уборка навоза в свинарниках для проведения опоросов гидросмывная, в остальных зданиях - самотечная периодического действия;
- обеспечение микроклимата системой приточно-вытяжной вентиляции с подогревом воздуха в холодное время;
- водоснабжение, теплоснабжение, канализация и электроснабжение.
3.3.1.2 Характеристика ферм после реконструкции:
- фермы предназначены для равномерного воспроизводства, выращивания и откорма 12 и 24 тыс. свиней в год живой массой соответственно 19463,3 и 38926,6 ц;
- в основу технологических расчетов было принято:
основная технологическая и организационно-производственная единица - группа из 36 подсосных маток, в том числе 26 основных и 10 проверяемых;
два опороса на одну матку в год;
выход - 9,5 делового поросенка на один опорос;
отъем поросят в 28-30-дневном возрасте;
среднесуточный прирост живой массы на откорме 700 г;
реализация с откорма массой одной головы 112 кг;
отход поголовья за период выращивания и откорма 8 %;
двухфазная технология выращивания и откорма молодняка;
ритм производства - 7 дней;
кормление свиней, за исключением поросят-сосунов, влажными кормосмесями (концкорма, травяная мука, корнеклубнеплоды, комбисилос, трава бобовых культур и обрат), удельный вес концкормов в рационе по питательности 85 %, приготовление кормов - в кормоцехе;
транспортировка и раздача кормов в свинарниках мобильными и стационарными кормораздатчиками;
система удаления навоза самотечная периодического действия; в свинарниках-маточниках - периодического действия с использованием донных шиберов; из каналов навоз поступает в существующие коллекторы навозоудаления и далее - на очистные сооружения;
отопление воздушное, совмещенное с вентиляцией с помощью отопительно-вентиляционных агрегатов типа ТВ; для проведения опороса и доращивания поросят предусмотрен дополнительный обогрев за счет переносных установок;
предусмотрены водоснабжение, теплоснабжение, канализация и электроснабжение.
3.3.2 Генпланы и архитектурно-строительные решения
3.3.2.1 Корректировка схем генпланов ферм, как и в типовых проектах, решается с учетом технологических, зооветеринарных, санитарных и противопожарных норм и предусматривает функционально-технологическое зонирование территории, требуемые расстояния между зданиями, технологические подъезды и площадки. Размещение вновь строящихся зданий предусмотрено так, чтобы их можно было удобно присоединить к существующим коллекторам навозоудаления.
3.3.2.2 По генплану для ТП. 802-01-1 в секторе репродукции можно дополнительно построить свинарник для супоросных маток на 420 мест размерами 18×78 м, а в секторе откорма - два свинарника-откормочника на 1344 места каждый размерами 18×108 м.
По генплану для ТП. 802-01-2 в секторе репродукции можно дополнительно построить свинарник для супоросных маток на 420 мест каждый, а в секторе откорма - четыре свинарника-откормочника на 1344 места каждый.
Производственные здания свиноферм, построенные по типовым проектам, имеют единую конструктивную схему:
- здания каркасные, однопролетные шириной 18 м с применением сборных железобетонных рам;
- стены из сборных легкобетонных панелей;
- кровля - асбестоцементные волнистые листы по деревянной обрешетке.
Вновь возводимые здания в секторе репродукции для супоросных маток и в секторе откорма свинарника-откормочника рекомендуется решать в тех же конструкциях.
В процессе реконструкции по всем производственным зданиям меняется технологическое оборудование.
В зданиях для опоросов на 114 мест и доращивания поросят-отъемышей достраиваются помещения для кормораздатчиков.
В зданиях свинарников-откормочников по осям «1» и «19» достраиваются тамбуры для кормораздатчиков, а также помещения для персонала и электрощитовые.
Объем работ по капитальному ремонту стен, покрытия и перекрытий вспомогательных зданий и сооружений уточняется в каждом конкретном случае в зависимости от степени их износа и характера повреждений.
На рис. 3.1 и 3.2 приведены схемы генпланов ферм на 12 и 24 тыс. свиней в год после реконструкции по ТП. 802-01-1 и 802-01-2, на рис. 3.3 и 3.4 - планы здания свинарника-откормочника, входящего в состав этих ферм, до и после реконструкции.

Рисунок 3.1. - Схема генплана фермы выращивания и откорма 12 тыс. свиней в год после реконструкции;
1а - свинарник для супоросных маток на 420 мест; 1б - свинарник для 382 холостых и условносупоросных
маток, 100 ремонтных свинок, 60 супоросных маток, 9 хряков с пунктом искусственного осеменения;
2, 3, 4а - свинарники для опоросов на 144 места; 4б, 4в - свинарники-откормочники на 1344 места;
5 - ветеринарно-санитарный пропускник; 6 - изолятор для свиней на 20 станков; 7 - ветеринарная
амбулатория; 8 - пункт техобслуживания; 9 - навозоприемник вместимостью 50 м3; 10 - скотопрогон;
11 - весовая; 12 - рампа приема и отгрузки свиней; 13 - выгульные площадки; 14 - накопитель;
15 - дезбарьер; 16 - площадка для отдыха; 17 - цех влажных кормосмесей; 18 - склад рассыпных
и гранулированных кормов; 19 - котельная; 20 - автомобильные весы; 21 - траншея для хранения силоса

Рисунок 3.2 - Ферма выращивания и откорма 24 тыс. свиней в год после реконструкции:
1а - свинарник для супоросных маток на 420 мест; 16 - свинарник для 382 холостых и условно-супоросных маток, 100 ремонтных свинок, 60 супоросных маток и 9 хряков с ПИО; 2, 3, 4а - свинарник для опоросов на 144 места и доращивания поросят-отъемышей; 4б, 4в - свинарник-откормочник на 1344 места; 5 - ветсанпропускник; 6 - изолятор для свиней; 7 - рампа приема и отгрузки свиней; 8 - ветамбулатория; 9 - навозоприемник; 10 - весовая; 11 - дезбарьер; 12 - цех влажных кормосмесей; 13 - склад рассыпных и гранулированных кормов; 14 - котельная; 15 - пункт техобслуживания; 16 - траншея для хранения силоса; 17 - трансформаторная подстанция

Рисунок 3.3 - План свинарника-откормочника на 1200 мест до реконструкции (ТП. 802-5-15):
I - кормораздатчик электрифицированный КС-1,5; II - групповые станки; III - весы циферблатные передвижные РП-150 ц 13; 1 - станковое помещение; 2 - помещение для кормораздатчика; 3 - вентиляционная камера (отм. 2,5); 4 - электрощитовая; 5 -помещение для обслуживающего персонала; 6 - тепловой пункт; 7 - санитарный узел; 8 - тамбур для перегона свиней; 9 - помещение для инвентаря; 10 - площадка для взвешивания

Рисунок 3.4 - План свинарника-откормочника на 1344 места (777. 802-5-15, реконструкция):
1 - изолированная секция для содержания животных на 336 мест; 2 - помещение для кормораздатчика; 3 - электрощитовая; 4 - помещение для обслуживающего персонала; 5 - тамбур; 6 - место для хранения инвентаря; 7- площадка на отметке 2.640 для установки вытяжных вентиляторов; 8 - тепловой пункт; 9 - коллектор навозоудаления
3.3.3 Технико-экономические показатели
3.3.3.1 При анализе технико-экономических показателей по ТП 802-01-1 и 802-01-2 после проведения мероприятий по реконструкции видно, что можно достичь следующих показателей:
- увеличение производства мяса в живой массе по каждой ферме составляет 39,8 %;
- уменьшается количество работающих соответственно на пять и четыре человека;
- затраты труда на 1 ц продукции сокращаются соответственно до 4,64 и 3,75 чел. -ч.
3.4.1 Технология и механизация производственных процессов
3.4.1.1 Характеристика комплексов до реконструкции:
- комплексы, построенные по ТП. 802-148/72 и 802-147/72, предназначены для равномерного воспроизводства, выращивания и откорма 12 и 24 тыс. свиней в год живой массой соответственно 13413 и 26827 ц;
- в основу технологических расчетов было принято:
2,15 опороса на одну матку в год;
выход - 9,5 делового поросенка на один опорос;
отъем поросят в 30-дневном возрасте;
среднесуточный прирост живой массы на откорме 600 г, свиньи реализуются при достижении живой массы 110 кг.
Кормление свиней нормированное, сухими полнорационными комбикормами, производимыми в хозяйстве, белково-витаминными и минеральными добавками централизованного снабжения.
Раздача корма производится с помощью тросошайбовых транспортеров.
Уборка навоза из свинарника осуществляется гидросплавом по каналам и далее по трубам навозные стоки поступают в канализационную насосную станцию, откуда по напорному трубопроводу перекачиваются на очистные сооружения.
Оптимальный микроклимат в помещениях для свиней поддерживается системой приточно-вытяжной вентиляцией с подогревом воздуха в холодное время.
Комплексы обеспечены водоснабжением, теплоснабжением, канализацией и электроэнергией.
3.4.1.2 После реконструкции валовая продукция комплексов составляет 18661 и 37289 ц в год. Откорм свиней производится до живой массы одной головы 115 кг.
В основу технологических расчетов по проекту реконструкции комплексов принято:
2,2 опороса на матку в год;
выход - 11 деловых поросят на один опорос;
продолжительность подсосного периода 28 дней;
среднесуточный привес живой массы на откорме 750 г;
отход поголовья за период выращивания и откорма 8 %.
Комплексы работают по двух и трехфазной технологии выращивания и откорма молодняка.
Состав комплексов определен с учетом раздельно-цеховой организации труда и поточности производственного процесса. Ритм производства - семь дней.
Кормление животных предусматривается сухими комбикормами. Корма раздают с помощью тросошайбовых транспортеров. Линии для холостых и подсосных маток снабжены индивидуальными дозаторами; для супоросных маток и откормочного молодняка - групповыми. Указанное оборудование подвергается модернизации путем удлинения труб и установки дополнительных агрегатов с целью увеличения обслуживаемого поголовья свиней.
Условия содержания групп свиней до и после реконструкции практически не меняются, и осуществляется оно по двухфазной технологии.
Отопление во всех помещениях для свиней принято воздушное, совмещенное с приточной вентиляцией. В качестве приточно-отопительного оборудования предлагаются тепло-вентиляционные агрегаты типа ТВ, работающие в холодный и переходный периоды. В теплый период года приток осуществляется через шахты в покрытии с многоскоростными вентиляторами типа ВО и через распределители типа ВДУМ без регуляторов расхода воздуха. Вентиляторы типа ВО поставляются в комплекте с устройством управления.
В свинарниках для опороса и доращивания поросят-отъемышей предусмотрен локальный обогрев поросят в станках за счет переносных установок.
Все половозрастные группы свиней, кроме откорма, содержатся на щелевых полах. Учитывая технологические особенности содержания свиней, а также на основании анализа современных систем навозоудаления, габаритов производственных помещений, станков для содержания свиней и их расположения, рационов кормления рекомендуется система удаления навоза методом самосплава через решетчатые полы в каналы и далее по трубопроводам - на очистные сооружения.
3.4.2 Генпланы и архитектурно-строительные решения
3.4.2.1 Корректировка схем генпланов, решена с учетом технологических, зооветеринарных, санитарных и противопожарных норм и предусматривает функционально-технологическое зонирование территории, требуемые расстояния между зданиями, технологические подъезды и площадки.
3.4.2.2 Для ТП. 802-148/72 в секторе репродукции при реконструкции можно дополнительно построить свинарник для опоросов на 128 маток размерами 18×78 м, к зданию № 4 по генплану выполняется пристройка размерами 18×24 м, где будет содержаться дополнительное поголовье условносупоросных, холостых и ремонтных маток. В секторе откорма при реконструкции достраивается полуздание на 1200 мест размерами 18×90 м.
3.4.2.3 Для ТП. 802-147/72 в секторе репродукции можно дополнительно построить два свинарника для опоросов на 128 маток размерами 18×76 м.
Для дополнительного поголовья условносупоросных, холостых и ремонтных маток предусмотрено отдельно стоящее здание размерами 18×48 м. В секторе откорма дополнительно сооружается здание откорма на 2400 мест.
3.4.2.4 Производственные здания свиноводческих комплексов, построенные по проектам повторного применения, имеют единую конструктивную схему. Все здания однопролетные, шириной 18 м, перекрываются металлическими фермами, которые опираются на железобетонные колонны по серии 1.823.1В. 1.
Стены выполнены из сборных керамзитобетонных панелей по серии 1.832-2, торцовые стены - из кирпича. Покрытие из сборных железобетонных плит с утеплителем, кровля из волнистых асбестоцементных листов.
3.4.2.5 Строительство новых зданий свинарников может быть выполнено как в указанных конструкциях, так и с учетом возможностей местной строительной организации.
Для перекрытия зданий могут быть использованы железобетонные фермы и рамные конструкции.
Объем работ по капитальному ремонту стен, покрытия, перекрытий вспомогательных зданий и сооружений уточняется в каждом конкретном случае в зависимости от степени их износа и характера повреждения.
3.4.3 Технико-экономические показатели
3.4.3.1 При анализе технико-экономических показателей по ТП. 802-148/72 и 802-147/72 после проведения мероприятий по реконструкции видно следующее:
- увеличение производства мяса в живой массе по каждому комплексу составляет 39 %;
- значительно уменьшается количество работающих на комплексах;
- затраты труда на 1 ц продукции должны сократиться соответственно до 4,86 и 3,8 чел.-ч.
Рекомендации по реконструкции свиноводческих комплексов основаны на использовании прогрессивных технологий, современного оборудования и имеющихся производственных площадей.
Размещение животных зависит в основном от габаритов зданий, размещения каналов навозоудаления внутри зданий и принятой системы кормления свиней.
Использование существующих каналов навозоудаления с уголом наклона 1-3° к центральному коллектору существенно упрощает внедрение навозоудаления методом самосплава, так как в этих каналах возможна укладка труб Æ 300-400 мм и требуются только изготовление приемных ванн и укладка сверху этих ванн щелевых полов. При монтаже оборудования для содержания свиней (станки и т. д.) нужна бетонная подливка на существующем полу с углом наклона 5° по направлению к ванне. Демонтаж или перепланировка старого бетонного пола не требуется.
Установка технологического оборудования и в конечном итоге размещение свиней внутри зданий зависят от ширины пролета. В типовых проектах свинокомплексов различной мощности в основном используются здания пролетом 12 или 18 м.
На рис. 4.1 показаны варианты типовых решений размещения свиней различных половозрастных групп для зданий пролетом 12 и 18 м при их реконструкции.
Для доращивания поросят-отъемышей и откорма свиней используются одинаковые здания. Разницей является только количество размещенных в этих зданиях свиней исходя из действующих норм площади на одну голову и модели бункерных кормушек.
При реконструкции свинокомплексов наиболее рационально использование сухого кормления в сочетании с применением бункерных кормушек (доращивание и откорм), индивидуальных дозаторов (супоросность, опорос, осеменение) и цепочно-шайбовых транспортеров.

Рисунок 4.1 - Типовые решения размещения свиней различных половозрастных групп
Приведенные на рис. 4.1 варианты размещения свиней различных половозрастных групп при реконструкции комплексов и ферм мощностью 6, 12, 24, 54, 108 тыс. свиней в год позволяют:
использовать современные технологии содержания свиней;
внедрить автоматизированные системы кормления;
до минимума свести затраты ручного труда;
использовать компьютерную систему контроля и учета;
сократить расходы кормов до 2,5-2,8 кг корм. ед. на 1 кг привеса;
значительно сократить расход воды, тепло- и электроэнергии;
сократить простои технологического оборудования.
Не менее важным является и значительное повышение мощности свинокомплексов.
Анализ ТП 802-147/72 на 24 тыс. свиней в год показал, что применение современных методов размещения, кормления, формирования групп свиней позволяет на имеющихся производственных площадях повысить мощность комплекса при его реконструкции до 32-34 тыс. свиней в год (прил. Е).
Рекомендации по реконструкции каждого свинокомплекса выполняются строго индивидуально с учетом местных условий и требований заказчика (выбор оборудования, хранение и переработка навоза, система вентиляции и т.д.).
Размещение свиней на комплексах и фермах осуществляется в соответствии с требованиями «Ведомственных норм технологического проектирования свиноводческих предприятий» ВНТП 2-96.
Отправной точкой для разработки проекта является циклограмма технологического процесса выращивания свиней на комплексах (рис. 4.2).

Рис. 4.2 - Циклограмма технологического процесса выращивания свиней на комплексах
Последовательность размещения свиней различных половозрастных групп, соблюдение требований проведения необходимых обработок и дезинфекций помещений, кратчайшие расстояния перемещения этих групп осуществляются в соответствии с циклограммой.
Любое изменение (уменьшение, увеличение) числа отдельных помещений для каждой половозрастной группы приводит к нерациональному использованию производственных площадей.
В соответствии с требованиями ВНТП 2-96 в одном здании допускается размещать не более 600 супоросных маток, вместимость одной секции не должна превышать 100 голов.
Пример размещения свиней разных половозрастных групп при реконструкции комплекса выращивания и откорма на 24 тыс. свиней в год приведен в прил. Е.
Разработанное решение позволяет:
соблюдать требования ВНТП 2-96;
использовать новейшие конструкции групповых и индивидуальных станков для свиней различных половозрастных групп;
использовать новейшие конструкции бункерных кормушек для группового откорма свиней «вволю», а также подвесных кормушек для индивидуального дозированного кормления;
минимизировать затраты ручного труда;
удалять навоз самосплавом, обеспечивая его сбор и утилизацию;
значительно сократить расход воды;
автоматизировать систему управления технологическим процессом.
Наиболее эффективным в условиях крупных свинокомплексов является групповое содержание свиней различных половозрастных групп, с применением новейшего технологического оборудования, до минимума сокращающего затраты ручного труда.
Технология выращивания свиней включает в себя следующие пять периодов:
осеменение;
супоросность;
опорос;
доращивание;
откорм.
Анализ технологического оборудования для содержания свиней проводился на базе оборудования, поставляемого фирмами «Impiahti Zootecnicle Costruzioni Prefabricate» (Италия), «Egeberg Maskinfabric» (Дания), «Big Dutchman» (Германия), «West Totalbyg Aarup» (Дания), группы европейских компаний «АСО funki», «Weda-Damman & Westsrkamp Gmbh» (Германия), «VDL Agrotech» (Голландия), «Schauer» (Германия).
4.3.1 Осеменение
Для содержания маток в период осеменения используют два вида станков: с передней дверью для возможности выхода к хряку, без передней двери (при искусственном осеменении).
Индивидуальные станки для осеменения представлены на рис. 4.3.
Технические решения станков обеспечивают:
возможность включения индивидуальных станков в общую систему автоматизированной раздачи корма;
индивидуальное кормление каждой матки (строгое дозирование);
возможность смешивать в кормушке корм до влажного состояния;
применение передних дверей (для выхода к хряку на спаривание);

Рисунок 4.3 - Индивидуальные станки для осеменения
применение задних дверей для свободного доступа персонала для проведения искусственного осеменения и обслуживания матки и свободного выхода ее в зону выгула;
увеличение полезной площади станка за счет свободной зоны под кормушкой;
использование стального проката с порошковыми или горячими гальваническими покрытиями для увеличения срока эксплуатации и удешевления оборудования.
Для осеменения наиболее предпочтительными являются станки мод. AEDE-HVILBOKS «Egebjerg» (Дания) как наиболее соответствующие технологическим требованиям и ценовой политике.
4.3.2 Супоросность
Для супоросных маток используются, в основном, станки без фиксации или станки для группового содержания с синхронным или вызывным кормлением. В первом случае матки содержатся в станках, оснащенных индивидуальными кормушками и обеспечивающих свободный выход маток в станок для группового содержания.
Станки для индивидуального содержания супоросных маток представлены на рис. 4.4.
Технические решения станков обеспечивают:
возможность включения индивидуальных станков в общую систему автоматизированной раздачи корма;
индивидуальное кормление каждой супоросной матки (строгое дозирование);
возможность самостоятельного выхода супоросных маток в зону группового содержания;
возможность индивидуальной блокировки в станке агрессивных или травмированных маток;
приподнятость кормушек над уровнем пола для увеличения полезной площади станка;
возможность смешивать в кормушке корм до состояния влажного корма.
Используются системы индивидуального содержания супоросных маток со свободным выходом в станок для группового содержания.

Рисунок 4.4 - Станки для индивидуального содержания супоросных маток
Для свиноводческих комплексов наиболее приемлемым для содержания супоросных маток является система безвыгульного содержания в индивидуальных станках AEDE-HVILEBOKS.
4.3.3 Опорос
За пять-семь дней до опороса маток помещают в станки для опороса, установленные в отдельных секциях, разделенных перегородками высотой 500-700 мм. Станки для опороса представлены на рис. 4.5.
Технические решения станков обеспечивают:
регулировку ширины станка как по передней, так и по задней части, а также общей длины станка;
установку на боковых стенках специальных откидных дуг, препятствующих быстрому опусканию маток и предотвращающих придавливание поросят (когда матка встает, дуги свободно поднимаются);
оснащение боксов для опороса специальными берложками для поросят с электрообогревом лампами с инфракрасным излучением, которое одновременно выполняет дезинфицирующие функции;
возможность включения станков для опороса в общую систему автоматизированной раздачи корма с установкой индивидуальных доз кормления для каждой матки;
оснащение боксов для опороса чашечно-ниппельными поилками для дополнительного поения поросят.
При всем многообразии станков для опороса всем технологическим требованиям отвечает станок мод. «Fareboks XL» фирмы «Egebjerg» (Дания).
4.3.4 Доращивание
Доращивание поросят живой массой от 7-8 до 30 кг осуществляют в специальных секциях, исходя из норм 0,5-0,65 м2 на одного поросенка. В зависимости от типа кормления и вида установленных кормушек число поросят в одной секции варьируется от 30 до 70 голов.
Станки для доращивания приведены на рис. 4.6.

Рисунок 4.5- Станки для опороса

Рисунок 4.6 - Станки для доращивания
Технические решения станков обеспечивают:
возможность включения в общую систему автоматизированной раздачи корма;
установку бункерных кормушек для кормления «вволю» с встроенными ниппельными поилками;
устройство навесов с подогреваемыми полами в зонах отдыха поросят (из расчета 0,1 м2 на одного поросенка) с регулировкой температуры (в зависимости от температуры пола или показаний встроенных термодатчиков навес поднимают или опускают).
При выборе оборудования для доращивания поросят следует обращать внимание на качество бункерных кормушек, входящих в состав станков для доращивания, и метод регулирования подогрева пола в зоне отдыха поросят. Наиболее приемлемым является станок для доращивания поросят-отъемышей фирмы «Egebjerg» (Дания).
4.3.5 Откорм
Откорм свиней живой массой от 30 до 100-110 кг осуществляется в станках аналогично доращиванию. Отличие - высота стенок станков и тип используемых бункерных кормушек.
4.3.6 Содержание хряков
Хряки содержатся в отдельных станках. В зависимости от индивидуальных качеств животных (агрессивность и др.) используется групповое или индивидуальное содержание.
Размеры станков определяются размерами хряков, но принимаются не менее 1,8×2,2 м при индивидуальном содержании с высотой ограждений 1 м. Боковое ограждение выполняют решетчатым для визуального обзора (рис. 4.7).

Рисунок 4.7 - Боковое ограждение станков
Технические решения обеспечивают:
возможность включения индивидуальных и групповых станков для хряков в общую систему автоматизированной раздачи корма;
простоту, надежность металлоконструкций станков.
4.3.7 Выбор оборудования
Выбор оборудования для содержания свиней различных половозрастных групп при проведении реконструкции комплексов осуществляется индивидуально для каждого конкретного случая на основе маркетинговых исследований с учетом требований заказчика. Наиболее предпочтительным является оборудование, отвечающее действующим технологическим требованиям и поставляемое непосредственно фирмой-изготовителем.
При реконструкции свиноводческих комплексов и ферм особое внимание следует уделять технологии раздачи кормов.
В настоящее время в основном используется жидкое кормление. С учетом сложностей обработки труб от остатков жидкого корма и значительной доли ручного труда автоматизированная система раздачи сухих кормов работающая по задаваемой программе, является наиболее приемлемой к использованию при реконструкции комплексов.
К основным достоинствам автоматизированной раздачи сухого корма следует отнести экономичность и ресурсосбережение, простоту эксплуатации, значительное сокращение доли ручного труда, возможность работы в автоматическом режиме от встроенного программатора.
Автоматизированная раздача сухого корма (рис. 4.8) состоит из следующих основных элементов:
бункер-накопитель оперативного запаса для хранения двух-, трехдневного запаса корма;
приемная воронка;
цепочно-шайбовый транспортер кормов с электроприводом;
подающая труба транспортера;
сенсор остановки транспортера;
бункерные кормушки или дозаторы;
пульт управления.

Рисунок 4.8 - Автоматизированная раздача сухого корма
Можно отметить большое сходство между оборудованием для раздачи сухих кормов, выпускаемым разными производителями. В то же время имеются серьезные отличия в технических решениях отдельных элементов.
4.4.1 Транспортер кормов
Основным техническим решением является зацепление цепочного транспортера и тянущего устройства. В основном используется протяжка с зацеплением за пластмассовые шайбы (фирмы «Big Dutchman», «West Totalbyg Aarup», «ACO funki»), при которой существует возможность вылома напрессованных пластмассовых шайб из тела цепи. Использование принципа протяжки с зацеплением за саму цепь (рис. 4.9) позволяет избежать этого и значительно увеличивает срок эксплуатации цепочного транспортера.
Не менее важно использование защиты электропривода транспортера от заедания и заклинивания (попадание посторонних предметов и т.д.). В основном используются системы электроблокировок (концевые выключатели) на обрыв или заклинивание цепи (фирмы «West Totalbyg Aarup», «ACO funki» и др.).
Использование калиброванных пластин, предназначенных для работы «на разрыв» в случае заклинивания транспортера, дает дополнительную гарантию сохранения электропривода в рабочем состоянии при заклинивании цепи и исключить неконтролируемую работу системы при повышенной нагрузке на нее путем перемыкания блокировок. Данный метод электромеханичеких блокировок от перегрузок электропривода автоматизированной системы раздачи корма реализован фирмой «Egebjerg» (Дания).

Рисунок 4.9 - Принципы зацепления цепочного транспортера и тянущего устройства
4.4.2 Приемник-ворошитель кормов
Важным элементом кормораздачи является также приемная воронка, принимающая корм из бункера-накопителя и направляющая его в подающую трубу цепочно-шайбового транспортера кормов.
Ряд производителей оборудования, в том числе «Big Dutchman», «West Totalbyg Aarup», «ACO funki», используют шнековые транспортеры, передающие корма непосредственно в кормопровод. Наиболее удачным представляется использование приемной воронки, совмещенной с ворошителем (рис. 4.10) (фирма «Egebjerg», Дания).
В данной конструкции приемной воронки используется регулировка количества кормов, поступающих в цепочно-шайбовый транспортер в единицу времени, путем регулировки высоты зазора между стенками воронки и приемным колоколом. Использование ворошителя позволяет избежать зависания кормов и сводообразования.
Анализируя способы управления электроприводами, следует отметить, что наиболее удобным и компактным является объединение силовых элементов (пускатели, реле и др.) и программаторов технологических процессов (открывание дозаторов, время заполнения системы кормления и др.) в одном электрошкафу (реализовано фирмой «Egebjerg», Дания).
4.4.3 Бункерные кормушки
Кормление поросят на доращивании и откорме вволю потребовало разработки и внедрения бункерных кормушек.

Рисунок 4.10- Приемная воронка
Из всех бункерных кормушек кормление осуществляется путем раскачивания свиньями нижнего колокола. При этом доза корма высыпается на поддон и поедается. Доза корма выставляется вручную специальным дозатором. В основном все виды бункерных кормушек оснащены ниппельными поилками.
Наиболее удачным техническим решением является бункерная кормушка TUBE-О-MAT(«Egebjerg», Дания) (рис. 4.11). В отличие от бункерных кормушек фирм «Big Dutchman», «West Totalbyg Aarup», «ACO funki» эта кормушка оснащена встроенным внутренним ворошителем, позволяющим избежать зависания или сводообразования корма, особенно в помещении с повышенной влажностью (без щелевых полов) при использовании гидросмыва.

Рисунок 4.11 - Бункерные кормушки
Кормушки TUBE-O-MAT однобункерные или двухбункерные, первые предназначены для откорма 30-50 свиней, вторые - 50-70.
Бункерные кормушки встраиваются в систему автоматизированной раздачи корма. При необходимости кормушка может быть отключена от системы раздачи корма путем закрытия верхней задвижки, установленной непосредственно на трубопроводе цепочного транспортера, что позволяет производить ремонт и обслуживание кормушки без остановки всей системы автоматизированной раздачи корма. Установленная на верхней части бункерной кормушки крышка позволяет как вносить различные добавки в корм, так и производить индивидуальное кормление отдельной группы свиней.
4.4.4 Дозаторы
Для кормления супоросных маток используются дозаторы, встраиваемые в бункерные кормушки.
Дозаторы фирм «Big Dutchman», «West Totalbyg Aarup», «ACO funki» и ряда других используют боковое заполнение, регулировочную ленту уровня заполнения и пробковую систему выгрузки. Устройство подобных дозаторов показано на рис. 4.12. Как видно из рисунка, данная конструкция не позволяет точно установить дозы кормления из-за зависимости уровня заполнения дозатора от влажности и сыпучести корма, что является серьезным нарушением технологии кормления, особенно супоросных маток.
Более приемлемыми являются дозаторы с вертикальным заполнением до установленного объема (рис. 4.13). Они позволяют выдерживать точные объемы доз кормления, имеют простое устройство установления доз кормления, а устройство открывания дозатора легко может быть встроено в систему открывания дозаторов, управляемую от пульта управления автоматизированной раздачи корма.
При проведении реконструкции комплексов выбор оборудования для кормления свиней осуществляется в каждом конкретном случае на основе маркетинговых исследований с учетом требований заказчика.

Рисунок 4.12 - Устройство дозаторов

Рисунок 4.13 - Дозаторы с вертикальным заполнением
Системы отопления и вентиляции для каждого помещения определяются технологией содержания свиней. Технические решения разрабатываются на основании расчетных значений теплового, влажностного и воздушного балансов в различные периоды года с учетом теплотехнических особенностей ограждающих конструкций здания.
Для сокращения потерь тепла через ограждающие конструкции реконструкция наружных стен проводится из условия достижения сопротивления теплопередаче 2,5, а покрытия - 3 м2 С/Вт. В холодный и переходный периоды года одним из элементов отопления должен быть обогреваемый пол в зоне отдыха свиней.
Основной вид отопления помещений для содержания свиней - воздушное, совмещенное с вентиляцией.
С целью сокращения затрат электроэнергии осуществляется плавное регулирование количества подаваемого воздуха во все периоды года, для чего децентрализованные системы вентиляции всех помещений для содержания свиней должны быть оснащены системами автоматического управления на базе частотных регуляторов.
5.1.1 Реконструкция комплексов требует финансовых затрат, составляющих 50-60 % от стоимости новых зданий. Однако эти затраты на реконструкцию могут не окупиться из-за биологического старения помещений, вследствие чего в них сложилась тяжелая эпизоотическая обстановка. Как следствие, 30-50 % поросят гибнут или выбраковываются недорощенными в результате микробных и вирусных заболеваний. Как показывает опыт (например, комплекса «Омский бекон»), даже тщательная дезинфекция помещений не позволяет снизить гибель молодняка. Для компенсации падежа поросят поголовье маток по сравнению с проектным увеличивают на 20-25 %, что ухудшает экономические показатели комплексов. Прилегающая территория комплексов чрезмерно загрязняется нитратами из-за передозировки полей навозными стоками.
5.1.2 При реконструкции комплексов следует учитывать приведенные обстоятельства. Одна из перспективных моделей реконструкции крупных свиноводческих комплексов могут осуществляться по следующим вариантам:
первый вариант - освоение трехплощадочного производства свинины (I - репродуктор с доращиванием поросят; II - племенной и селекционный сектор; III - откорм) с концентрацией на комплексе наукоемкой части производства - содержание маток, получение приплода и содержание поросят-сосунов до месячного возраста. При этом учитывается, что поросята на подсосе сохраняют колостральный иммунитет, передаваемый с молозивом матки;
второй - выведение с площадки комплекса репродуктора и доращивания в новые фермы, строительство репродуктора по современным технологиям, племенной и селекционной фермы на новой площадке, за счет этого на комплексе в 2-3 раза увеличивается откорм. Это относится, в первую очередь, к комплексам моноблочного типа;
выведение группы доращивания поросят живой массой от 6 до 25-30 кг за пределы комплекса на небольшие фермы. Обязательным условием при этом является полное освобождение и дезинфекция фермы после завершения очередного цикла доращивания для разрыва инфекционной цепи перед новым заполнением;
возвращение дорощенного поголовья на комплекс для откорма или передача на откормочные фермы по кооперации с фермерскими хозяйствами;
проведение технического перевооружения комплексов с использованием современных интенсивных технологических процессов.
5.1.3 Такая организация производства позволит:
снизить напряженность эпизоотической ситуации на комплексах и повысить сохранность молодняка;
рассредоточить на значительной территории утилизацию навоза и улучшить экологическую ситуацию на территории комплексов;
повысить конкурентоспособность производства свинины.
5.2.1 ГП совхоз «Пермский»
5.2.1.1 Предложения по реконструкции ГП совхоз «Пермский» осуществлены по этому принципу.
ГП совхоз «Пермский» состоит из трех участков: СВК-1, СВК-2, СГЦ (селекционно-гибридный центр) «Карабаи». Проектная мощность каждого СВК составляет 108 тыс. откормленных свиней в год. Реконструкции подлежит СВК-2, сооруженный в моноблочном исполнении. Он состоит из четырех модулей, два из которых репродукторы, два - специализируются на откорме. Таким образом, весь технологический процесс концентрируется в одном здании.
5.2.1.2 Предложено в четырех модулях организовать репродуктор, а откорм - самый простой технологический процесс - вынести территориально на другие площадки (действующие или реконструируемые фермы, в крестьянские фермерские хозяйства). После реконструкции СВК-2 будет иметь восемь технологических линий, каждая из которых состоит из пяти технологических участков:
центр осеменения размерами 21,6×36 м на 264 станка;
участок ранней супоросности (до 30 дней) размерами 26,4×36 м на 512 станков;
участок глубокой супоросности размерами 67,9×36 м на 1320 станков;
участок опороса размерами 97,5×36 м на 690 станков;
два участка доращивания размерами 41,43×36 м на 9216 мест.
5.2.1.3 Все четыре модуля подлежат реконструкции и техническому перевооружению:
содержание животных на щелевых полах с подпольными спаренными ваннами для накопления фекальных масс (2×2,2 м) и вакуумной системой навозоудаления;
кормление свиней дозированное, кроме ремонтной группы и поросят, у которых корм находится постоянно, сухим кормом («Престартер», СК-1, СК-2, СК-3, СК-4) с комбикормового завода совхоза «Пермский» системы «Maxi-Mat»;
экспандирование комбикорма;
система обеспечения микроклимата - через элементы притока в наружных стенах свежий воздух поступает на участок и подогревается газогенераторами, вытяжка осуществляется системой вытяжных вентиляторов.
Реконструкция позволит обеспечить уровень механизации до 95 %.
Все технологические участки, в том числе и откорм, входят в объединение «Пермская свинина».
5.2.1.4 Проектные показатели комплекса СВК-2 до и после реконструкции приведены в табл. 5.1.
|
Показатели |
По проекту |
Фактические |
После реконструкции |
|
Число: |
|
|
|
|
маток |
5730 |
6828 |
21600 |
|
опоросов на одну матку в год |
2,25 |
2,18 |
2,33 |
|
|
|
|
|
|
Многоплодье, в среднем, головы |
9,7 |
|
9,8 |
|
Получено поросят, всего |
140740 |
147758 |
468800 |
|
|
|
|
|
|
Отход молодняка за подсосный период, % |
13,9 |
14 |
6 |
|
Реализовано свиней, головы |
|
|
|
|
всего |
94230 |
55106 |
- |
|
с площадок откорма |
- |
- |
418800 |
5.2.1.5 Применение систем сухого кормления «Maxi-Mat» позволяет получать на ГП совхоз «Пермский» среднесуточные привесы на доращивании 475 г, на откорме - 810 г на одну голову.
Линия экспандирования решает следующие задачи в приготовлении качественного комбикорма:
обеспечение санитарии (исключается загрязнение комбикорма такими микроорганизмами, как сальмонелла, колибактерии, плесень);
улучшение питательности (повышается усвоение комбикорма и снижается расход его на единицу продукции);
уменьшение количества пыли в комбикормовой продукции и зависаний в силосах и бункерах;
производство комбикормов, отвечающих по структуре требованиям рациона данной возрастной группы.
Экспандированный корм исключает расслоение входящего в рецепт сырья, так как каждая частичка экспандата содержит все составляющие компоненты и не подвержена расслоению при транспортировке. Линия экспандирования позволяет вводить в комбикорм жидкие компоненты (меласса, растительное масло, жир).
5.2.1.6 В результате реконструкции СВК-2 преобразуется в репродуктор по производству 423040 подсвинков средней живой массой одной головы 25 кг. При этом 8 технологических линий работают независимо друг от друга. Мощность каждой из них 52880 подсвинков в год.
Валовое производство мяса в объединении 68,2 тыс. т "живая масса", или 85,6 % от всего общественного сектора и 71,3 % от общего производства мяса в области.
Удельный расход кормов в объединении 3,6 корм. ед. на 1 кг живой массы, а в среднем по всем хозяйствам области - 5,4 корм. ед.
5.2.2 Комплекс по производству свинины Клинского района Московской области
5.2.2.1 Свиноводческий комплекс с законченным производственным циклом (выращивание, доращивание поросят, откорм) предназначен для производства свинины.
5.2.2.2 Технология содержания всех групп свиней, системы раздачи корма, навозоудаления, обеспечение микроклимата, станочное оборудование, методы удаления и утилизации навоза приняты от немецкой фирмы «Big Dutchman».
5.2.2.3 Проект реконструкции бывшего птицеводческого предприятия под свиноводческую ферму предусматривает размещение в восьми корпусах следующих специализированных зданий:
первый и второй здания откорма на 1800 свино-мест каждое;
третий - для холостых и супоросных маток и хряков-пробников;
четвертый - свинарник для проведения опоросов;
пятый и шестой - здания откорма на 750 и 1050 свино-мест соответственно;
седьмой - здание доращивания поросят-отъемышей на 2700 мест;
восьмой - станция искусственного осеменения.
5.2.2.4 После реконструкции комплекс будет иметь 10 технологических линий:
центр осеменения (здание № 3) размерами 18×41,875 м на 220 станков;
участок содержания маток с ранней супоросностью (здание № 3) размерами 18×50,9 м на 42 групповых станка;
участок содержания маток с глубокой супоросностью (здание № 4) размерами 16,4×41,875 м на 50 индивидуальных станков;
участок опороса (здание № 4), состоящий из четырех изолированных секций размерами 10,6×16,24 м каждая; в каждой секции четыре ряда индивидуальных станков размерами 1,8×2,4 м каждый; всего в секторе 120 станков; общий размер участка 16,4×43,275 м;
участок доращивания (здание № 7) из девяти изолированных секций размерами 6,56×16 м на 300 голов каждая (всего на участке - 2700 голов);
здание откорма на 1800 свино-мест (здание № 1) размерами 21×78 м;
здание откорма на 1800 свино-мест (здание № 2) размерами 24×72 м;
здание откорма на 1050 свино-мест (здание № 6) размерами 18×54 м;
здание откорма на 750 свино-мест (здание № 5) размерами 18×42 м;
станция искусственного осеменения на 80 хряков (здание № 8) размерами 15×63 м.
5.2.2.5 Все здания подлежат реконструкции и техническому перевооружению:
содержание свиней на щелевых полах с подпольными спаренными ваннами для накопления фекальных масс с вакуумной системой навозоудаления; размеры этих ванн 1,25×3,4 м; 2,5×9; 2,4×8,12; 2,4×3,55; 3,1×3,62; 4,3×2,7; 2,5×5,5; 2,5×3,5; 2,5×3,5 и 2,5×3,1 м соответственно по перечисленным участкам;
кормление дозированное, кроме поросят на доращивании и свиней на откорме, у которых корм находится постоянно, сухим кормом из групповых самокормушек. Виды комбикорма: «Престартер», СК-1, СК-2, СК-4, СК-5, СК-6, СК-7. Удельный расход кормов на 1 кг живой массы на откорме 3,2 корм, ед.;
система обеспечения микроклимата - через элементы притока в наружных стенах свежий воздух поступает на участок и подогревается газогенераторами; вытяжка осуществляется системой вытяжных вентиляторов.
Реконструкция позволит обеспечить уровень механизации до 95 %.
5.2.2.6 Пример реконструкции комплекса с применением технологии и оборудования фирмы «Big Dutchman «приведен в прил. В.
5.2.2.7 Таким образом, в результате реконструкции бывшие птицеводческие здания преобразуются в свиноводческий комплекс по откорму 11292 свиней в год живой массой одной головы 114 кг в возрасте 206 дней.
6.1 Отечественное оборудование свинарников чрезмерно изношено, технологически и морально устарело, поэтому при производстве свинины велики затраты ручного труда. По сравнению с западными странами затраты труда на производство свинины в России в 20 раз выше, что значительно влияет на повышение себестоимости и снижение продуктивности. За 90-е годы отечественное сельхозмашиностроение практически прекратило производство оборудования для свиноводства, нет стратегически важных новых технических разработок, кроме локальных опытно-конструкторских работ в некоторых НИИ Россельхозакадемии. Вместе с тем в России появились западные фирмы, предлагающие свои технические достижения при реконструкции и новом строительстве.
Технологическая потребность в новом оборудовании может быть оценена по производственным мощностям комплексов: 216 тыс. свиней - 9 комплексов, 108 тыс. - 21, 54 тыс. - 30, 12-24 тыс. свиней - 111 комплексов.
6.2 Потребность в новом оборудовании появится на следующих этапах реконструкции.
Реконструкция откорма - переход на «сухое» кормление с применением автоматических кормушек по технологии кормления «вволю», автоматической раздачей корма спиральными или цепочно-шайбовыми транспортерами. Имеется возможность увеличения поголовья в существующих помещениях на 25-30 % за счет применения новых сдвоенных кормушек на 70 голов, что сокращает затраты на реконструкцию и увеличивает производство свинины. Перевод на кормление «вволю» позволяет увеличить привесы до 900-950 г в сутки.
Содержание супоросных маток - перевод на групповое содержание с нормированным кормлением. Применение линий с дозаторами нормированного кормления и автоматизированных станков для индивидуального кормления с идентификацией животных и индивидуальным нормированным кормлением.
Содержание подсосных маток с поросятами - унифицированное станочное оборудование с трансформирующимся станком и берложкой для поросят с инфракрасным обогревом или подогреваемым ковриком и линией нормированного кормления.
Содержание поросят-отъемышей - переход на сухое кормление «вволю» с применением автоматических кормушек.
Содержание откормочного поголовья - на комплексах с откормочным поголовьем более 5000 свиней в некоторых случаях целесообразно применение новых систем приготовления и дробной раздачи жидких кормов с сенсорным управлением наличием корма в кормушке в репродукторах и на откорме. Эти системы наиболее эффективны там, где нет возможности получать высококачественный комбикорм и есть возможность приобретать дешевые и качественные составляющие корма или пищевые отходы.
Система удаления навоза - содержание на щелевых полах, удаление навоза самосплавом или дельта-скрепером.
Система микроклимата - энергосберегающая за счет использования тепла животных, с комбинированной принудительной и естественной вентиляцией.
Приготовление комбикормов - на комбикормовых заводах и в собственных комбикормовых цехах с полной автоматизацией всех технологических процессов.
Переработка навоза по современным технологиям - разделение на фракции, ускоренное анаэробное сбраживание жидкой фракции с производством биогаза, экспресс-компостирование твердой фракции с получением органических компостов.
6.3 За короткий период нет возможности силами отечественных специалистов создать и освоить производство оборудования, сопоставимое по параметрам с зарубежными аналогами. Поэтому одно из решений проблемы модернизации свиноводства видится в ускоренном воспроизводстве на российских заводах оборудования западных фирм.
Большую работу в этом направлении планирует развернуть научно-технический центр «Россвинопром» ГОСНИТИ.
Этот центр планирует организовать на отечественных заводах совместно, с датской фирмой «Egebjerg», производство:
высококачественного технологического оборудования «Egebjerg Maskinfabrik A/S»;
вентиляционного оборудования, систем раздачи корма, систем автоматического управления DACS A/S;
быстровозводимых ферм-автоматов для откорма свиней «PH-stalprodukter».
С российской стороны в осуществлении этой программы будут принимать участие:
ОНО «Рязанский опытный завод ГОСНИТИ», НТЦ «Сельхозмаш» ГОСНИТИ, ГНУ «ГОСНИТИ».
Планируется организовать воспроизводство отечественным машиностроением следующего оборудования:
для приготовления непосредственно на ферме кормосмесей и их раздачи - для сухих кормов - типа «TUBE-О-MAT VIP» (для поросят на доращивании), «TUBE-О-MAT ТОР» и «TUBE-О-MAT труба» (для поросят на откорме), «Драй Рапид» ДР 850 и ДР 1500; для жидкого кормления - типа «Гидромикс-синхрон»;
система транспортирования и подачи корма в кормушки с использованием привода кормораздачи реверсивного типа «MASTER Chain TWIN»;
для раздачи ветеринарных препаратов вместе с питьевой водой;
комплекты станочного оборудования для холостых и супоросных маток и хряков-производителей с нормированным кормлением;
комплекты станочного оборудования нового поколения для супоросных маток с автоматизированными станциями нормированного кормления с идентификацией животных и компьютерным управлением;
комплекты станочного оборудования на решетчатых полах с берложками для подсосных маток с поросятами;
комплекты станочного оборудования для поросят-отъемышей на решетчатых полах с кормлением по технологии «вволю»;
комплекты станочного оборудования для откорма по технологии кормления «вволю»;
комплекты приточных и вытяжных вентиляционных шахт с бесступенчатым управлением воздухоподачей;
типоразмерный ряд тепловентиляторов на 9,12, 18 тыс. м3/ч;
типоразмерный ряд рекуператоров-утилизаторов тепла на 9, 12, 18 тыс. м3/ч;
типоразмерный ряд приточных вентиляционных решеток с автоматическим регулированием воздухоподачи и компьютерным управлением параметрами микроклимата;
типоразмерный ряд пластмассовых, чугунных и бетонных решеток для системы навозоудаления;
типоразмерный ряд полимерных трубопроводов для системы навозоудаления самосплавом;
унифицированное оборудование для наземных навозохранилищ, их загрузки и выгрузки, оборудование для обеззараживания жидкого навоза, производства биогаза и экспресс-компостирования твердой фракции навоза;
комплекты технологического оборудования для переработки и обеззараживания жидких стоков свинокомплексов, на которых применяется гидросмыв.
Некоторые виды оборудования (станки, вентиляторы, решетки, трубопроводы для удаления навоза и др.) можно изготавливать по отечественной документации.
6.4 Перечень и краткие характеристики отечественного и импортного оборудования, рекомендуемого для применения при реконструкции свиноводческих комплексов и ферм, приведены в прил. Д:
Д.1 - Оборудование для содержания и обслуживания свиней;
Д.2 - Механизмы и оборудование для транспортирования и раздачи кормов;
Д.3 - Оборудование для поения свиней;
Д.4 - Оборудование для системы удаления навоза;
Д.5 - Оборудование для системы вентиляции и отопления.
А.1 Свинарник-маточник на 60 голов (типовой проект 802-15)
Типовое здание свинарника-маточника размерами 10,4×80,5 м рассчитано на прием и содержание глубокосупоросных маток за две недели до опороса, проведение опоросов и содержание подсосных маток с поросятами в индивидуальных станках до двух месяцев. В станках отгорожены отсеки для подкормки поросят.
Станки размерами 2×3,3 м расположены в два ряда вплотную друг к другу с образованием кормо-служебных проходов вдоль наружных стен шириной по 1,7 м. В торцах здания размещены подсобные помещения. Станки оборудованы кормушками и автопоилками типа ПАС-2А.
Корм для маток раздают из ручной тележки УТР-0,3. Навоз из помещения удаляют скребковыми транспортерами ТСН-3,0Б.
Конструктивное решение здания:
стены - кирпичные несущие;
перекрытие - деревянное чердачное;
кровля - асбестоцементная по обрешетке;
внутренние опоры - деревянные диаметром 16-18 см;
полы в станках - дощатые по бетонному основанию, в проходах - бетонные.
Отопление - воздушное, совмещенное с приточной вентиляцией.
Обслуживают шесть человек.
Разрез и план свинарника до реконструкции приведены на рис. А.1 и А.2.
|
Площадь, м2: |
|
|
застройки |
881 |
|
полезная |
795 |
|
основного назначения |
761 |
|
Строительный объем, м3 |
2675 |

Рисунок А. 1 - Разрез свинарника до реконструкции

Рисунок А.2 - План свинарника до реконструкции:
1 - станок для свиноматки; 2 - отделение для поросят; 3 - венткамера; 4 - тамбур;
5 - кормонавозный проход; 6 - инвентарная; 7 - подсобное помещение
Реконструкцией свинарника-маточника предусмотрена полная внутренняя перепланировка основного помещения для содержания маток с расположением новых типов станков в два ряда с одним кормовым и двумя навозными проходами шириной по 1,6 м.
Содержание маток - индивидуальное в станках размерами 2,5(2,7)×2,5 м, в которых разграничены бокс для фиксирования матки в период опоросов и отделение для поросят-сосунов. Станки оборудованы кормушками и поилками. Корма доставляют из кормоцеха прицепным раздатчиком КУТ-4 и наклонным транспортером загружают в раздатчик РС-5АМ, который по рельсовому пути подает их в кормушки.
Навоз убирают скребковым транспортером ТСН-3,0Б в навозоприемник, из которого его периодически выгружают цистерной-разбрасывателем типа РЖТ.
Несущие и ограждающие конструкции, кровля и вентиляция остаются без изменения. Замене подлежат полы и внутренние коммуникации.
Полы в станках предусмотрены из кирпича, уложенного плашмя, с проливкой швов цементным раствором, в проходах - бетонные. Станки спроектированы из водогазопроводных труб диаметром 20-60 мм.
Ремонтируют отдельные участки кровли, оконные и дверные проемы, системы отопления и вентиляции.
Обслуживают два человека.
Разрез и план свинарника после реконструкции приведены на рис. А.3 и А.4.
Технико-экономическая характеристика
|
Площадь, м2: |
|
|
застройки |
880 |
|
полезная |
794 |
|
основного назначения |
761 |
|
Строительный объем, м3 |
2675 |
|
Число станков |
56 |
|
Стоимость реконструкции от первоначальной стоимости строительства, %- |
26 |
|
Срок окупаемости, годы |
1,6 |

Рисунок А.3 - Разрез свинарника после реконструкции

Рисунок А.4 - План свинарника после реконструкции:
1 - станок для матки; 2 - кормовой проход; 3 - навозный проход; 4 - тамбур; 5 - венткамера; 6 - подсобное помещение; 7 - навозоприемник; 8 - площадка для весов; 9 - помещение для загрузки кормов в кормораздатчик РС-5АМ
А.2 Свинарник-маточник на 80 основных маток (типовой проект 02-142-2)
Типовое здание свинарника-маточника размерами 18×66 м рассчитано на прием и содержание подсосных маток с поросятами в индивидуальных станках в течение двух месяцев. Каждый станок имеет смежное отделение (забегушку) для подкормки и содержания поросят-сосунов.
Станки размерами 2,5×2 м расположены в четыре ряда с образованием двух кормонавозных и трех служебных проходов. Ширина кормонавозных и центрального служебного проходов - 2, служебных боковых - 0,8 м. В торцах здания размещены подсобные помещения.
Кормление маток предусмотрено в станках густыми мешанками, которые раздают с помощью подвесной дороги ДП-300 или ручной тележки УТР-0,3, поение - из автопоилок типа ПАС-2А. Навоз из помещения удаляют скребковыми транспортерами ТСН-3,0Б.
Конструктивно здание свинарника выполнено с неполным сборным железобетонным каркасом с сеткой колонн 6×6 м. Стены - кирпичные несущие. Сборными конструкциями являются фундаменты стаканного типа под колонны, колонны, балки БД-6 (БО-6) и плиты покрытия ПНС-13. Полы в станках - дощатые по бетонному основанию, в проходах - асфальтовые. Покрытие - совмещенное с кровлей из асбестоцементных волнистых листов по деревянной обрешетке. Утеплитель - фибролит в три слоя.
Вентиляция приточно-вытяжная с механическим побуждением на притоке.
Обслуживают шесть человек.
Разрез и план свинарника до реконструкции приведены на рис. А.5 и А.6.
Технико-экономическая характеристика
|
Площадь, м2: |
|
|
застройки |
1230 |
|
полезная |
1155 |
|
Строительный объем, м3 |
5200 |
|
Затраты труда на одного поросенка, чел. -ч |
25 |

Рисунок А.5 - Разрез свинарника до реконструкции

Рисунок А.6 - План свинарника до реконструкции:
1 - станок для матки; 2 - отделение для поросят; 3 - служебный проход; 4 - кормонавозный проход; 5 - кормораздаточная; 6 - котельная; 7 - служебное помещение; 8 - помещение для подстилки; 9 - тамбур; 10 - венткамера; 11 - инвентарная
А.2.2 Свинарник-маточник на 80 основных маток после реконструкции.
Реконструкцией свинарника-маточника предусмотрена полная внутренняя перепланировка помещения с расположением новых типов станков в четыре ряда и образованием двух кормовых и трех навозных проходов шириной 1,8 и 1,3 (1,4) м соответственно.
Содержание маток индивидуальное в станках размерами 2,5×3 м, в которых разграничены бокс для фиксирования матки в период опороса и отделение для поросят-сосунов. Станки оборудованы кормушками и поилками. Корма раздают электрифицированными самоходными кормораздатчиками РС-5А по рельсовому пути. Навоз убирают скребковыми транспортерами ТСН-3,0Б.
Несущие и ограждающие конструкции и кровля остаются без изменения. Замене подлежат полы и внутренние коммуникации.
Полы в станках - кирпичные, в проходах - бетонные. Станки спроектированы из водогазопроводных труб диаметром 20-60 мм.
Ремонтируют отдельные участки кровли, оконные и дверные проемы, системы отопления и вентиляции.
Обслуживают 20 человек.
Разрез и план свинарника после реконструкции приведены на рис. А.7 и А.8.
Технико-экономическая характеристика
|
Площадь, м2: |
|
|
застройки |
1230 |
|
полезная |
1156 |
|
основного назначения |
1050 |
|
подсобного назначения |
106 |
|
Строительный объем, м3 |
52000 |
|
Число станков |
72 |
|
Стоимость реконструкции от первоначальной стоимости строительства, % |
15 |
|
Срок окупаемости, годы |
2,4 |

Рисунок А. 7 - Разрез свинарника после реконструкции

Рисунок А.8 - План свинарника после реконструкции:
1 - станок с фиксирующим устройством для матки и отделением для поросят; 2 - кормовой проход; 3 - навозный проход; 4 - тамбур; 5 - служебная комната; 6 - подсобное помещение; 7 - навозоприемник; 8 - площадка для весов; 9 - помещение для загрузки кормораздатчика РС-5АМ
А.3 Свинарник-маточник на 100 голов (типовой проект 802-103)
Типовое здание свинарника-маточника размерами 15×96 м рассчитано на прием и содержание глубокосупоросных маток, проведение опоросов и содержание их с поросятами в индивидуальных станках. В каждом станке отгорожено отделение (забегушка) для подкормки и содержания поросят-сосунов.
Станки размерами 2×2,5 м расположены в четыре ряда с образованием двух кормонавозных и двух служебных проходов вдоль наружных стен шириной соответственно по 1,6 и 0,7 м. В торцах здания размещены подсобные помещения.
Влажными мешанками маток кормят в специальном помещении-столовой на 24 кормоместа, а сухими кормами - в станках. В свинарник корма доставляют кормораздатчиком КУТ-4. Раздают их по станкам из подвесной люльки или ручных тележек УТР-0,3. Станки оборудованы автопоилками типа ПАС-2А. Навоз из помещения удаляют скребковыми транспортерами ТСН-3,0Б, а из столовой - гидросмывом с отводом стоков в жижесборники.
Конструктивно здание свинарника выполнено в неполносборном железобетонном варианте с сеткой колонн (6×3×6)×6 м. Стены - несущие кирпичные. Перекрытие чердачное - деревянное по железобетонным балкам. Кровля - асбестоцементные волнистые листы по обрешетке. Полы в станках дощатые, в проходах - бетонные.
Вентиляция - приточно-вытяжная с механическим побуждением.
Обслуживают шесть человек.
Разрез и план свинарника до реконструкции приведены на рис. А.9 и А.10.
Технико-экономическая характеристика
|
Площадь, м2: |
|
|
застройки |
1603 |
|
полезная |
1431 |
|
основного назначения |
1313 |
|
Строительный объем, м3 |
5512 |

Рисунок А.9 - Разрез свинарника до реконструкции

Рисунок А. 10 - План свинарника до реконструкции:
1 - станок для матки; 2 - отделение для поросят; 3 - кормо-служебный проход; 4 - помещение для кормления маток; 5 - служебное помещение; 6 - тамбур; 7 - инвентарная; 8 - венткамера; 9 - санузел; 10- помещение для подстилки
Реконструкцией свинарника-маточника предусмотрена полная внутренняя перепланировка основного помещения с расположением новых типовых станков в четыре ряда и образованием трех кормовых и двух навозных проходов шириной 1 м (1,4) и 1,2 м соответственно.
Содержание маток индивидуальное в станках размерами 2,2×3 м, в которых разграничены бокс для фиксирования матки в период опороса и отделение для поросят-сосунов. Станки оборудованы кормушками для поросят и поилками. Маток кормят в столовой. Корма в столовой раздают мобильным раздатчиком КУТ-4, а в станках для поросят - ручными тележками ТУ-300. Навоз в помещениях убирают скребковыми транспортерами ТСН-3,0Б.
Несущие и ограждающие конструкции и кровля остаются без изменения. Замене подлежат полы и внутренние коммуникации.
Полы в станках - кирпичные, в проходах - бетонные. В отделениях для поросят укладывают теплые коврики. Станки спроектированы из водогазопроводных труб диаметром 20-60 мм.
Ремонтируют отдельные участки кровли, оконные и дверные проемы, системы отопления и вентиляции.
Обслуживают три человека.
Разрез и план свинарника после реконструкции приведены на рис. А.11 и А.12.
Технико-экономическая характеристика
|
Площадь, м2: |
|
|
застройки |
1603 |
|
полезная |
1431 |
|
основного назначения |
1313 |
|
Строительный объем, м3 |
5512 |
|
Число ското-мест |
92 |
|
Стоимость реконструкции от первоначальной стоимости строительства, % |
14 |
|
Срок окупаемости, годы |
0,4 |

Рисунок А.11 - Разрез свинарника после реконструкции (вариант 1)

Рисунок А. 12 - План свинарника после реконструкции (вариант 1):
1 - станок для матки; 2 - навозный проход; 3 - служебный проход; 4 - служебная комната; 5 - тамбур; 6 - венткамера; 7 - навозоприемник; 8 - весовая с весами; 9 - санитарные станки; 10 - помещение-столовая для кормления маток; 11 - боксы индивидуальные с кормушками; 12 - санузел
Вариант 2
Реконструкцией свинарника-маточника предусмотрена полная внутренняя перепланировка основного помещения с расположением новых типов станков в четыре ряда и образованием двух кормовых и трех навозных проходов шириной 1,4 и 1 м соответственно.
Содержание маток индивидуальное в станках размерами 2,2×3 м, в которых разграничены боксы для поросят-сосунов. Станки оборудованы кормушками и поилками. Корма к свинарнику доставляют раздатчиком КУТ-4, а раздают кормораздатчиком типа РС-5АМ. Скребковыми транспортерами ТСН-3.ОБ навоз убирают в навозоприемник, из которого периодически выгружают цистерной-разбрасывателем типа РЖТ.
Несущие и ограждающие конструкции и кровля остаются без изменения. Замене подлежат полы и внутренние коммуникации.
Полы в станках - кирпичные, в проходах - бетонные. В отделениях для поросят уложены теплые коврики. Станки спроектированы из водогазопроводных труб диаметром 20-60 мм.
Ремонтируют отдельные участки кровли, оконные и дверные проемы, системы отопления и вентиляции.
Обслуживают три человека.
Разрез и план свинарника после реконструкции приведены на рис. А.13 и А.14.
Технико-экономическая характеристика
|
Площадь, м2: |
|
|
застройки |
1603 |
|
полезная |
1431 |
|
основного назначения |
1135 |
|
подсобного назначения |
135 |
|
Строительный объем, м3 |
5512 |
|
Число станков |
108 |
|
Стоимость реконструкции от первоначальной стоимости строительства, % |
16 |
|
Срок окупаемости, годы |
0,5 |

Рисунок А. 13 - Разрез свинарника после реконструкции (вариант 2)

Рисунок А. 14 - План свинарника после реконструкции (вариант 2):
1 - станок для опороса; 2 - кормовой проход; 3 - навозный проход; 4 - подсобное помещение; 5 - тамбур; 6 - навозоприемник; 7 - венткамера; 8 - санузел; 9 - площадка для весов
А.3.4 Реконструкция свинарника-маточника на 100 голов под здание для содержания поросят-отъемышей на 2240 голов (типовые проекты 802-103, 802-104)
Реконструкцией свинарника-маточника предусмотрена полная внутренняя перепланировка помещения для содержания поросят-отъемышей с расположением станков в четыре ряда и образованием двух кормовых проходов шириной по 1,8 м.
Содержание поросят - групповое в станках размерами 2,75×3 м (по 20 голов). Станки оборудованы кормушками и поилками.
Корма раздают мобильным кормораздатчиком КС-0,4. Навоз убирают самосплавом с устройством дна канала из монолитного бетона или асбестоцементных труб диаметром 400 мм, распиленных вдоль пополам.
Несущие и ограждающие конструкции и кровля остаются без изменения. Замене подлежат полы и внутренние коммуникации. Полы в станках предусмотрены из кирпича, уложенного плашмя, с проливкой швов цементным раствором, в проходах - бетонные.
Ремонтируют отдельные участки кровли, дверные и оконные проемы, системы отопления и вентиляции.
Обслуживают четыре человека.
Разрез и план свинарника после реконструкции приведены на рис. А.15 и А.16.
Технико-экономическая характеристика
|
Площадь, м: |
|
|
застройки |
1603 |
|
полезная |
1431 |
|
основного назначения |
1350 |
|
Строительный объем, м3 |
5512 |
|
Стоимость реконструкции от первоначальной стоимости строительства, % |
16 |

Рисунок А.15 - Разрез свинарника после реконструкции (вариант 3)

Рисунок А.16 - План свинарника после реконструкции (вариант 3);
1 - станок на 20 поросят; 2 - кормовой проход; 3 - продольный канал для удаления навоза; 4 - служебное помещение; 5 - тамбур; 6 - венткамера; 7 - подсобное помещение; 8 - санузел; 9 - кладовая; 10 - поперечный навозосборный канал; 11 - площадка для весов; 12 - навозоприемник
А.4 Свинарник-маточник на 270 голов (типовой проект 175-61)
Типовое здание свинарника-маточника размерами 18×96 м рассчитано на прием и содержание маток в групповых и индивидуальных станках и проведение опоросов. Расположение станков в здании - поперечное. Матки могут выходить через лазы в наружных стенах на выгульные площадки.
Свинарник разделен на три основных помещения: родильное, для группового содержания маток с поросятами и для кормления свиней. Подсобные помещения размещены в торцах здания.
Супоросные матки получают корм в столовой, подсосные матки - в станках и столовой (в зависимости от типа кормов). Корма в свинарник доставляют кормораздатчиком КРС-1, агрегатируемым с трактором ДТ-20, а в кормушки станков раздают ручной тележкой УТР-0,3, которую загружает кормораздатчик КРС-1. Для поения животных установлены поилки типа ПАС-2А. Навоз из помещения удаляют скребковыми транспортерами в навозосборник и оттуда вывозят на поля автожижеразбрасывателем АНЖ-2.
Конструктивно здание свинарника выполнено в полносборном железобетонном варианте с сеткой колонн 6×6 м. Стены несущие - кирпичные. Покрытие - железобетонное, совмещенное с рубероидной кровлей, утеплитель - газобетон. Полы - асфальтовые по бетонной подготовке.
Вентиляция - приточно-вытяжная с механическим побуждением.
Обслуживают 12 человек.
Разрез и план свинарника до реконструкции приведены на рисунках А.17 и А.18.
Технико-экономическая характеристика
|
Площадь, м2: |
|
|
застройки |
1728 |
|
полезная |
1564 |
|
основного назначения |
1464 |
|
Строительный объем, м3 |
7258 |

Рисунок А.17 - Разрез свинарника до реконструкции

Рисунок А.18 - План свинарника до реконструкции:
1 - станок на десять супоросных маток; 2 - станок на три подсосные матки; 3 - станок для подсосной матки; 4 - помещение для кормления свиней; 5 - проход; 6 - манеж; 7 - подсобное помещение; 8 - тамбур; 9 - служебное помещение
Реконструкцией свинарника-маточника предусмотрена полная внутренняя перепланировка основных помещений для содержания свиней. Здание разделено на три части: помещение для холостых и супоросных маток, помещение для хряков и пункт искусственного осеменения. Помещение для маток оборудовано групповыми станками, установленными в четыре ряда с двумя кормовыми проходами шириной по 1,5 м. В группах содержится 30-36 маток. Размеры станков 10×3,6 и 15×3,6 м.
Вместимость здания после реконструкции 60 хряков и 620 холостых и супоросных маток. Хряки размещены в 6 индивидуальных и 6 групповых станках вместимостью 9 голов, которые расположены в 2 ряда с 1 кормовым проходом.
Раздача кормов для маток и хряков осуществляется ручными тележками, уборка навоза - гидросмывом.
Несущие и ограждающие конструкции и кровля остаются без изменения. Замене подлежат полы и внутренние коммуникации.
Полы в станках - кирпичные, в проходах - бетонные. Станки спроектированы из водогазопроводных труб диаметром 20-60 мм.
Ремонтируют отдельные участки кровли, оконные и дверные проемы, системы отопления и вентиляции.
Обслуживают шесть человек.
Разрез и план свинарника после реконструкции приведены на рис. А.19 и А.20.
Технико-экономическая характеристика
|
Площадь, м2: |
|
|
застройки |
1929 |
|
полезная |
1620 |
|
сновного назначения |
783 |
|
подсобного назначения |
108 |
|
Строительный объем, м3 |
7619 |
|
Стоимость реконструкции от первоначальной стоимости строительства, % |
35 |

Рисунок А.19 - Разрез свинарника после реконструкции

Рисунок А.20 - План свинарника после реконструкции:
а - лаборатория; б - моечная лабораторного оборудования; в - манеж для взятия семени; г - манеж для осеменения; д - станок для передержки маток после осеменения; е - кладовая; ж - душ для хряков; 1 - групповой станок на 30-35 маток; 2 - кормо-служебный проход; 3 - кормовой поперечный проезд; 4 - индивидуальный станок для хряка; 5 - групповой станок для хряков; 6 - тамбур; 7 - подсобное помещение; 8 - калориферная; 9 - кладовая; 10- пункт искусственного осеменения; 11 - решетчатый пол; 12 - инвентарная; 13 - навозожижесборник
А.5 Свинарник-маточник на 100 супоросных маток, 600 поросят-отъемышей и 11 хряков-производителей (типовой проект 802-55)
А.5.1 Свинарник-маточник на 100 супоросных маток, 600 поросят-отъемышей и 11 хряков-производителей до реконструкции
Типовое здание свинарника имеет размеры 12×78 м. К нему примыкает пристройка размерами 9x18 м. В торцах основного здания устроены вспомогательные помещения.
Содержание свиней станково-выгульное по секциям: помещение для супоросных маток, помещение для поросят-отъемышей и помещения-пристройки для хряков-производителей. Расположение станков - двухрядное с одним центральным и двумя боковыми проходами.
Кормление маток и поросят предусмотрено в станках с раздачей кормов раздатчиками типа РС-5АМ, хряков - из ручной тележки УТР-0,3.
Поение - из автопоилок ПАС-2А. Навоз из помещения удаляют скребковыми транспортерами ТСН-3,0Б со сбросом в навозосборник транспортером ТС-1.
Конструктивно здание свинарника выполнено в полносборном железобетонном каркасе с сеткой колонн (3×6×3)×6 м. Стены несущие - кирпичные. Перекрытие чердачное - железобетонное. Кровля - асбестоцементные волнистые листы.
Вентиляция - приточно-вытяжная, приток в верхнюю зону с подогревом воздуха в зимнее время, вытяжка - естественная через крышные шахты.
Обслуживают четыре человека.
Разрез и план свинарника до реконструкции приведены на рис. А.21 и А.22.
Техническая характеристика
|
Площадь, м2: |
|
|
застройки |
1165 |
|
полезная |
1962 |
|
основного назначения |
989 |
|
Строительный объем, м3 |
4550 |

Рисунок А.21 - Разрез свинарника до реконструкции

Рисунок А.22 - План свинарника до реконструкции:
1 - помещение для супоросных маток; 2 - помещение для поросят-отъемышей; 3 - помещение для хряков; 4 - служебное помещение; 5 - санузел; 6 - подсобное помещение; 7 - инвентарная; 8 - венткамера; 9 - электрощитовая; 10- весовая; 11 - тамбур
А.5.2 Свинарник-маточник на 100 супоросных маток, 600 поросят-отъемышей и 11 хряков-производителей после реконструкции
Реконструкцией свинарника предусмотрена полная внутренняя перепланировка основных помещений для содержания свиней. В здании размещены пункт искусственного осеменения, отделение для хряков и помещение для холостых и супоросных маток. В отделении для хряков находятся 13 индивидуальных и 3 групповых станка по 10 голов. Содержание холостых и супоросных маток групповое, по 24 головы в станке.
Станки расположены в два ряда с двумя кормовыми проходами шириной по 2,6 м вдоль наружных стен. Корм для маток и хряков раздают раздатчиком КС-0,4. Навоз убирают скребковым транспортером ТСН-3,0Б.
Несущие и ограждающие конструкции и кровля остаются без изменения. Замене подлежат полы и внутренние коммуникации.
Полы в станках - кирпичные, в проходах - бетонные. Станки спроектированы из водогазопроводных труб диаметром 20-60 мм.
Ремонтируют отдельные участки кровли, оконные и дверные проемы, системы отопления и вентиляции.
Обслуживают два человека.
Разрез и план свинарника после реконструкции приведены на рис. А.23 и А.24.
|
Площадь, м : |
|
|
застройки |
1165 |
|
полезная |
1062 |
|
основного назначения |
984 |
|
подсобного назначения |
78 |
|
Строительный объем, м3 |
4550 |
|
Число свино-мест |
193 |
|
В том числе: |
|
|
хряков |
43 |
|
маток |
150 |
|
Стоимость реконструкции от первоначальной стоимости строительства, % |
16 |

Рисунок А.23 - Разрез свинарника после реконструкции

Рисунок А.24 - План свинарника после реконструкции:
I - помещения на 43 хряка; II - помещение на 150 холостых и супоросных маток; III - пункт искусственного осеменения; 1 - индивидуальный станок; 2 - групповой станок; 3 - кормовой проход; 4 - электрощитовая; 5 - инвентарная, 6 - станок для выявления маток в охоте; 7 - станок на 24 матки; 8 - тамбур; 9 - помещение для взвешивания животных; 10 - венткамера; 11 - навозоприемник; 12 - подсобное помещение; 13-санузел; 14 - манеж для взятия семени; 15 - лаборатория; 16 - моечная лабораторного оборудования; 17 - служебное помещение; 18 - помещение для выдержки маток
Б.1. Свинарник-откормочник на 1000 голов (типовой проект 802-96)
Типовое здание свинарника-откормочника размерами 12×90 м рассчитано на содержание и откорм свиней массой до 120 кг.
К зданию примыкает пристройка размерами 6×7,5 м для размещения бункера приема кормов. В торцах здания устроены вспомогательные помещения.
Содержание животных групповое, безвыгульное в станках. Станки расположены в два ряда с образованием двух боковых проходов шириной по 1 м. Размеры станков 4,35×6 м, вместимость каждого 40-50 голов.
Кормят свиней в станках, куда корм подают стационарными раздатчиками. К свинарнику корма доставляют автомашиной ГАЗ-55В и выгружают в приемный бункер. Поение свиней осуществляется из автопоилок ПАС-2А. Навоз из помещения удаляют скреперным транспортером со сбросом в навозоприемник. Выгружают его из навозоприемника в транспортные средства шнековым насосом НШ-50.
Конструктивно здание свинарника выполнено в неполносборном железобетонном варианте с сеткой колонн (3×6×3)×6 м. Стены несущие - кирпичные. Перекрытие чердачное - деревянное по железобетонным балкам. Кровля - волнистые асбестоцементные листы по обрешетке. Полы в станках - кирпичные, в проходах - бетонные.
Вентиляция - приточно-вытяжная. Приток механический, вытяжка естественная (через крышные шахты).
Обслуживают два человека.
Разрез и план свинарника до реконструкции приведены на рис. Б.1 и Б.2.
Техническая характеристика
|
Площадь, м2: |
|
|
застройки |
1325 |
|
полезная |
1080 |
|
основного назначения |
1009 |
|
Строительный объем, м3 |
3638 |

Рисунок Б.1 - Разрез свинарника до реконструкции

Рисунок Б.2 - План свинарника до реконструкции:
1 - станок на 38-50 голов; 2 - кормораздатчик; 3 - вентиляционная камера; 4 - подсобное помещение; 5 - слесарная; 6 - тамбур; 7 - помещение для приема кормов; 8 - санузел; 9 - помещение для кормов; 10 - навозоприемник
Б. 1.2 Свинарник-откормочник на 1000 голов после реконструкции
Реконструкцией свинарника-откормочника предусмотрена полная внутренняя перепланировка основного помещения с расположением станков в два ряда с одним кормовым проходом шириной 1,8 м и двумя служебными шириной по 1 м вдоль наружных стен.
Содержание свиней групповое в станках размерами 3,9×5 м, вместимостью 30 голов. Станки оборудованы кормушками и поилками соскового типа.
Корма раздают электрифицированным кормораздатчиком РС-5АМ по рельсовому пути. К свинарнику их доставляют мобильным транспортом и загружают в РС-5АМ наклонным транспортером.
Навоз убирают скребковыми транспортерами по подпольным каналам, перекрытым решетчатым полом.
Несущие и ограждающие конструкции и кровля остаются без изменения. Замене подлежат полы и внутренние коммуникации. Полы в станках - кирпичные, в проходах - бетонные. Ограждение между станками выполнено из железобетонных панелей или кирпича, а со стороны проходов - из водогазопроводных труб диаметром 20-60 мм.
Ремонтируют отдельные участки кровли, оконные и дверные проемы, системы отопления и вентиляции.
Обслуживает один человек.
Разрез и план свинарника после реконструкции приведены на рис. Б.3 и Б.4.
Техническая характеристика
|
Площадь, м: |
|
|
застройки |
1324 |
|
полезная |
1080 |
|
основного назначения |
1010 |
|
Строительный объем, м3 |
3632,4 |
|
Число свино-мест |
1000 |
|
Затраты труда на единицу продукции, чел. - ч |
4,57 |
|
Стоимость реконструкции от первоначальной стоимости строительства, % |
11,6 |
|
Срок окупаемости, годы |
1,5 |

Рисунок Б.3 - Разрез свинарника после реконструкции (вариант 1)

Рисунок Б.4 - План свинарника после реконструкции (вариант 1):
1 - станок на 30-36 голов; 2 - кормовой проход; 3 - площадка для весов; 4 - вентиляционная камера; 5 - тамбур; 6 - санузел; 7 - служебное помещение; 8 - подсобное помещение; 9 - помещение для приема кормов; 10 - навозоприемник
Реконструкцией свинарника-откормочника предусмотрена полная внутренняя перепланировка помещения с расположением станков в два ряда с одним кормовым проездом шириной 1,8 м и двумя служебными проходами шириной по 1 м вдоль стен.
Содержание свиней групповое, безвыгульное в станках размерами 3,9×5 м, вместимостью по 30 голов. Станки оборудованы кормушками и поилками.
Корма раздают электрифицированным кормораздатчиком РС-5АМ, движущимся по рельсам.
Уборка навоза - самосплавным способом по подпольным каналам.
Несущие и ограждающие конструкции и кровля остаются без изменения. Замене подлежат полы и внутренние коммуникации. Полы в станках - кирпичные, в проходах - бетонные. Ограждения между станками выполнены из железобетонных панелей или кирпича, а со стороны проходов - из водогазопроводных труб диаметром 20-60 мм.
Ремонтируют отдельные участки кровли, оконные и дверные проемы и систему вентиляции.
Обслуживает один человек.
Разрез и план свинарника после реконструкции приведены на рис. Б.5 и Б.6.
Техническая характеристика
|
Площадь, м : |
|
|
застройки |
1325 |
|
полезная |
1080 |
|
основного назначения |
1009 |
|
Строительный объем, м3 |
3623 |
|
Затраты труда на единицу продукции, чел. - ч |
3,57 |
|
Стоимость реконструкции от первоначальной стоимости строительства, % |
24 |

Рисунок Б.5 - Разрез свинарника после реконструкции (вариант 2)

Рисунок Б.6- План свинарника после реконструкции (вариант 2):
1 - станок на 30 голов; 2 - кормовой проход; 3 - площадка для весов; 4 - венткамера; 5 - тамбур; 6 - санузел; 7 - служебное помещение; 8 - помещение для приема кормов; 9 - подсобное помещение; 10 - навозоприемник
Б.2 Реконструкция свинарника-откормочника на 1000 голов (типовой проект 784)
Реконструкцией свинарника-откормочника предусмотрена перепланировка помещения для мелкогруппового, безвыгульного содержания свиней с расположением станков в два ряда и образованием двух боковых проходов шириной по 1,2 м для прогона и обслуживания животных. В центральной части здания пристроен тамбур для размещения бункера-питателя кормов. Выгульные площадки ликвидируют, лазы в продольных стенах закладывают кирпичом.
Вместимость свинарника 1000 голов, площадь станка на одну голову 0,8 м2, фронт кормления 18 см.
Подготовленные кормосмеси подвозят к свинарнику мобильным транспортом, выгружают в приемный бункер или на транспортер кормов и раздают в кормушки стационарными кормораздатчиками.
Поение животных осуществляется из сосковых ПБС-1 или чашечных ПСС-1 поилок, располагаемых в зоне решетчатого пола.
Удаление навоза - гидросмывом по продольным каналам, перекрытым решетками пола.
Несущие и ограждающие конструкции остаются без изменения. Замене подлежат полы, станки и внутренние коммуникации. Полы в станках - кирпичные, в проходах - бетонные.
Система вентиляции обеспечивает подогрев приточного воздуха с подачей его в зону нахождения свиней. Вытяжку загрязненного воздуха производят из зоны навозных каналов и верхней зоны.
Обслуживает один человек.
Разрез и план свинарника после реконструкции приведены на рис. Б.7 и Б.8.
Техническая характеристика
|
Площадь, м2: |
|
|
застройки |
1120 |
|
полезная |
1060 |
|
основного назначения |
920 |
|
Строительный объем, м3 |
4020 |
|
Число свино-мест |
1000 |
|
Стоимость реконструкции от первоначальной стоимости строительства, % |
15 |

Рисунок Б.7 - Разрез свинарника после реконструкции (вариант 1)

Рисунок Б.8 - План свинарника после реконструкции (вариант 1):
1 - станок на 26-27 голов; 2 - служебный проход; 3 - кормоприемная; 4 - венткамера; 5 - тамбур; 6 - санузел; 7 - кладовая; 8 - служебное помещение
Реконструкцией свинарника-откормочника предусмотрена внутренняя перепланировка помещения для мелкогруппового безвыгульного содержания свиней с расположением станков в два ряда и образованием центрального кормового и двух боковых проходов для прогона и обслуживания свиней. Выгульные площадки ликвидируют, лазы в продольных стенах закладывают кирпичом.
Вместимость свинарника 1000 голов, площадь станка на одну голову 0,7 м2, фронт кормления 16 см.
Корма в помещении раздают электромобильными кормораздатчиками. Поение животных осуществляется из сосковых ПБС-1 или чашечных ПСС-1 поилок, располагаемых в зоне решетчатого пола.
Навоз удаляют самосплавом по подпольным каналам, перекрытым решетками щелевого пола.
Несущие и ограждающие конструкции здания остаются без изменения. Замене подлежат полы, станки и внутренние коммуникации. Полы в станках - кирпичные, в проходах - бетонные.
Система вентиляции обеспечивает подогрев приточного воздуха с подачей его в зону нахождения животных. Вытяжку загрязненного воздуха производят из зоны навозных каналов и верхней зоны.
Обслуживает один человек.
Разрез и план свинарника после реконструкции приведены на рис. Б.9 и Б.10.
Техническая характеристика
|
Площадь, м2: |
|
|
застройки |
1080 |
|
полезная |
1000 |
|
основного назначения |
780 |
|
Строительный объем, м3 |
3900 |
|
Число свино-мест |
1000 |
|
Стоимость реконструкции от первоначальной стоимости строительства, % |
17 |

Рисунок Б.9 - Разрез свинарника после реконструкции (вариант 2)

Рисунок Б.10 - План свинарника после реконструкции (вариант 2):
1 - станок на 26-27 голов; 2 - служебный проход; 3 - кормовой проход; 4 - венткамера; 5 - тамбур; 6 - санузел; 7 - кладовая; 8 - служебное помещение; 9 - площадка для весов
Б.3 Реконструкция свинарника-откормочника на 1400 голов (типовой проект 802-144)
Реконструкцией свинарника-откормочника предусмотрена внутренняя перепланировка помещения с сохранением мелкогруппового безвыгульного содержания свиней с расположением станков в четыре ряда с двумя кормовыми и тремя служебными проходами. Станки оборудованы кормушками и поилками.
Раздача кормов осуществляется электрифицированными кормораздатчиками по рельсовому пути. Устройство траверзной тележки в середине здания позволяет использовать один кормораздатчик на два кормовых прохода. Навоз удаляют через щелевые полы по подпольным каналам методом самосплава. Поение свиней - из поилок типа ПСС-1.
Несущие и ограждающие конструкции - без изменения. Замене подлежат полы и внутренние коммуникации. Полы в станках - кирпичные, в проходах - бетонные.
В системе вентиляции предусмотрена вытяжка загрязненного воздуха с нижней зоны из-под решетчатых полов.
Обслуживает один человек.
Разрез и план свинарника после реконструкции приведены на рис. Б.11 и Б.12.
Техническая характеристика
|
Площадь, м2: |
|
|
застройки |
1730 |
|
полезная |
1640 |
|
Строительный объем, м3 |
6900 |
|
Стоимость реконструкции от первоначальной стоимости строительства, % |
13 |

Рисунок Б.11 - Разрез свинарника после реконструкции (вариант 1)

Рисунок Б.12 - План свинарника после реконструкции (вариант 1):
1 - станок на 26-27 голов; 2 - кормовой проход; 3 - служебный проход; 4 - электрощитовая; 5 - кладовая; 6 - тамбур; 7 - венткамера; 8 - санузел; 9 - служебное помещение
Реконструкцией свинарника-откормочника предусмотрена внутренняя перепланировка помещения с расположением станков в четыре ряда с тремя служебными проходами. Станки оборудованы кормушками и поилками.
Корма раздают стационарными кормораздатчиками. Навоз удаляют через щелевые полы по подпольным каналам методом самосплава периодического действия. Поение свиней - из поилок типа ПСС-1.
В центральной части здания к фасадной стене пристраивают помещение приема кормов для установки бункера-дозатора.
Полы в станках - кирпичные, в проходах - бетонные.
В системе вентиляции предусмотрена вытяжка загрязненного воздуха с нижней зоны из-под решетчатых полов.
Обслуживает один человек.
Разрез и план свинарника после реконструкции приведены на рис. Б.13 и Б.14.
Техническая характеристика

Рисунок Б. 13 - Разрез свинарника после реконструкции (вариант 2)
|
Площадь, м2: |
|
|
застройки |
1760 |
|
полезная |
1670 |
|
Строительный объем, м3 |
7020 |
|
Стоимость реконструкции от первоначальной стоимости строительства % |
15 |

Рисунок Б.14 - План свинарника после реконструкции (вариант 2):
1 - станок на 22 (14) головы; 2 - кормовая линия; 3 - служебный проход; 4 - электрощитовая; 5 - венткамера; 6 - кладовая; 7 - тамбур; 8 - санузел; 9 - служебное помещение; 10 - помещение для приема кормов
Б.4 Реконструкция свинарника-откормочника на 2000 голов (типовой проект 2056)
Вариант 1
Реконструкцией свинарника-откормочника предусмотрена полная внутренняя перепланировка помещения с расположением станков в четыре ряда и образованием двух кормовых и двух служебных проходов шириной 1,8 и 0,7 м соответственно.
Содержание свиней групповое, безвыгульное, в станках размерами 3,85×5 м, вместимостью 30 голов. Станки оборудованы кормушками и поилками. Корма раздают кормораздатчиком РС-5АМ. Навоз удаляют скреперным транспортером.
Несущие и ограждающие конструкции и кровля остаются без изменения. Замене подлежат полы и внутренние коммуникации. Полы в станках - кирпичные, в проходах - бетонные. Ограждения между станками выполнены из железобетонных панелей или кирпича, а со стороны проходов - из водогазопроводных труб диаметром 20-60 мм.
Ремонтируют отдельные участки кровли, дверные проемы и систему вентиляции.
Обслуживают два человека.
Разрез и план свинарника после реконструкции приведены на рис. Б.15 и Б.16.
Техническая характеристика
|
Площадь, м2: |
|
|
застройки |
2044 |
|
полезная |
1875 |
|
основного назначения |
1760 |
|
Строительный объем, м3 |
6506 |
|
Число свино-мест |
2000 |
|
Затраты труда на единицу продукции, чел.-ч |
2,8 |
|
Стоимость реконструкции от первоначальной стоимости строительства, % |
15,4 |
|
Срок окупаемости, годы |
1,2 |

Рисунок Б.15 - Разрез свинарника после реконструкции (вариант 1)

Рисунок Б.16- План свинарника после реконструкции (вариант 1):
1 - станок на 30 голов; 2 - кормовой проход; 3 - служебный проход; 4 - санузел; 5 - тамбур; 6 - венткамера; 7 - служебное помещение; 8 - помещение для приема кормов; 9 - подсобное помещение; 10 - инвентарная
Вариант 2
Реконструкцией свинарника-откормочника предусмотрена внутренняя перепланировка помещения с расположением станков в четыре ряда и образованием двух кормовых и двух служебных проходов шириной 1,8 и 0,7 м соответственно.
Содержание свиней групповое, безвыгульное, в станках размерами 3,9×5 м, вместимостью 30 голов. Станки оборудованы кормушками и поилками.
Корма раздают кормораздатчиком РС-5АМ. Навоз удаляют самосплавом.
Несущие и ограждающие конструкции и кровля остаются без изменения. Замене подлежат полы и внутренние коммуникации. Полы в станках - кирпичные, в проходах - бетонные. Ограждения между станками выполнены из железобетонных панелей или кирпича, а со стороны проходов - из водогазопроводных труб Æ 20-60 мм.
Обслуживают два человека.
Разрез и план свинарника после реконструкции приведены на рис. Б.17 и Б.18.
Техническая характеристика
|
Площадь, м2: |
|
|
застройки |
2045 |
|
полезная |
1875 |
|
основного назначения |
1760 |
|
Строительный объем, м3 |
6506 |
|
Число свино-мест |
2000 |
|
Затраты труда на единицу продукции, чел.-ч |
2,8 |
|
Стоимость реконструкции от первоначальной стоимости строительства, % |
30,6 |

Рисунок Б.17 - Разрез свинарника после реконструкции (вариант 2)

Рисунок Б.18 - План свинарника после реконструкции (вариант 2);
1 - станок на 30 голов; 2 - кормовой проход; 3 - служебный проход; 4 - санузел; 5 - тамбур; 6 - венткамера; 7 - служебное помещение; 8 - помещение для приема кормов; 9 - подсобное помещение; 10 - кладовая; 11 - навозоприемник
Б.5 Реконструкция свинарника-откормочника на 2400 голов (типовой проект 802-147/72)
Реконструкцией свинарника-откормочника предусмотрены внутренняя перепланировка блока помещений и устройство изолированных секций с сохранением мелкогруппового безвыгульного содержания свиней. Станки расположены в четыре ряда с тремя служебными проходами. Вместимость свинарника не меняется.
Корма раздают стационарным кормораздатчиком типа РС-5АМ. Навоз удаляют через щелевые полы по подпольным каналам методом самосплава периодического действия. Поение свиней - из поилок типа ПСС-1.
Несущие и ограждающие конструкции остаются без изменения. Замене подлежат полы и внутренние коммуникации. Полы в станках - кирпичные, в проходах - бетонные.
В системе вентиляции предусмотрена вытяжка загрязненного воздуха с нижней зоны из-под решетчатых полов.
Обслуживают два человека.
Разрез и план свинарника после реконструкции приведены на рис. Б.19 и Б.20.
Техническая характеристика
|
Площадь, м2: |
|
|
застройки |
3440 |
|
полезная |
3290 |
|
Строительный объем, м3 |
13100 |
|
Стоимость реконструкции от первоначальной стоимости строительства, % |
15 |

Рисунок Б.19 - Разрез свинарника после реконструкции

Рисунок Б.20 - План свинарника после реконструкции:
1 - станок на 24 головы; 2 - кормовая линия; 3 - служебный проход; 4 - тамбур; 5 - бытовое помещение; 6 - венткамера вытяжная; 7 - венткамера приточная; 8 - электрощитовая; 9 - санузел; 10 - помещение для приема кормов
Б.6 Реконструкция свинарника-откормочника на 2400 голов (типовой проект 802-183)
Реконструкцией блока свинарников-откормочников предусмотрены внутренняя перепланировка помещений и устройство изолированных секций с сохранением технологии мелкогруппового безвыгульного содержания свиней. Станки расположены в четыре ряда с образованием двух кормовых и трех служебных проходов. Вместимость свинарника не меняется.
Корма раздают кормораздатчиком, движущимся по рельсовому пути. Устройство траверзной тележки в середине каждого здания позволяет использовать один кормораздатчик на два кормовых прохода. Навоз удаляют через щелевые полы по подпольным каналам методом самосплава периодического действия. Поение свиней - из поилок типа ПСС-1, устанавливаемых в зоне решетчатого пола.
Несущие и ограждающие конструкции остаются без изменения. Замене подлежат полы и внутренние коммуникации. Полы в станках - кирпичные, в проходах - бетонные.
В системе вентиляции предусмотрена вытяжка загрязненного воздуха с нижней зоны из-под решетчатых полов.
Обслуживают два человека.
Разрез и план свинарника после реконструкции приведены на рис. Б.21 и Б.22.
Техническая характеристика
|
Площадь, м2: |
|
|
застройки |
3780 |
|
полезная |
3600 |
|
Строительный объем, м3 |
14400 |
|
Стоимость реконструкции от первоначальной стоимости строительства, % |
13 |

Рисунок Б.21 - Разрез свинарника после реконструкции

Рисунок Б.22 - План свинарника после реконструкции:
1 - станок на 20 (25) голов; 2 - кормовой проход; 3 - служебный проход; 4 - тамбур; 5 - весовая; 6 - инвентарная; 7 - санузел; 8 - венткамера; 9 - служебное помещение; 10 - электрощитовая; 11 - кладовая
Б.7 Реконструкция свинарника-откормочника на 3000 голов (типовой проект 1343)
Реконструкцией свинарника-откормочника предусмотрена внутренняя перепланировка помещения с расположением станков в четыре ряда и образованием трех служебных проходов шириной 1 м. Содержание свиней мелкогрупповое безвыгульное в станках по 12-24 головы. Станки оборудованы кормушками и поилками.
Вместимость свинарника после реконструкции 2700 голов, площадь станка 0,78 м2, фронт кормления 0,25 м на голову. Корма раздают стационарным кормораздатчиком, навоз убирают гидросмывом по подпольным каналам, перекрытым решетками. Поение свиней производится из поилок типа ПСС-1.
Несущие и ограждающие конструкции и кровля остаются без изменения. Замене подлежат полы, станки и внутренние коммуникации. Полы в станках - кирпичные, в проходах - бетонные.
Ремонтируют отдельные участки кровли, оконные и дверные проемы и систему вентиляции.
Обслуживают три человека.
Разрез и план свинарника после реконструкции приведены на рис. Б.23 и Б.24.
Техническая характеристика
|
Площадь, м2: |
|
|
застройки |
3900 |
|
полезная |
3680 |
|
Строительный объем, м3 |
15700 |
|
Стоимость реконструкции от первоначальной стоимости строительства, % |
14 |

Рисунок Б.23 - Разрез свинарника после реконструкции

Рисунок Б.24 - План свинарника после реконструкции:
1 - станок на 24 головы; 2 - кормовая линия; 3 - служебный проход; 4 - помещение для приема кормов; 5 - станок на 12 голов; 6 - тамбур; 7 - вытяжная венткамера; 8 - инвентарная; 9 - электрощитовая; 10 - санузел; 11 - приточная венткамера
Б.8 Расширение свинарника-откормочника способом блокировки существующих зданий
Здания свинарников шириной 9, 12 и 18 м, расположенные параллельно на расстоянии 12-18 м друг от друга, объединяют попарно в общий блок за счет встройки между ними дополнительного помещения. Для создания нового помещения шириной 14 и длиной 72 м требуется установить внутренние опоры, выложить торцовые стены и выполнить покрытие с опорой на существующие стены.
Вместимость одной постройки 1200 голов. В каждом станке размещено 30-38 свиней из расчета 0,85 м2 на голову. Станки расположены в два ряда с образованием одного центрального прохода шириной 2 м. Полы логова имеют уклон 5 %. В зоне дефекации вдоль кормушек проходит двухлотковый канал шириной 2 м, перекрытый решетчатым полом.
Корма (пищевые отходы с комбикормами в жидком виде) раздают по системе трубопроводов от бункеров-накопителей. Навоз удаляют через щелевые полы по подпольным каналам самосплавом периодического действия. Поение свиней осуществляется из поилок соскового типа ПБС-1.
Несущий каркас встроенного помещения (колонны, балки и плиты) - железобетонный.
Помещение - трехпролетное, 6×2×6 м, средний пролет имеет световой фонарь. Кровля - рубероидная.
Полы и перегородки станков - кирпичные, кормушки - асбестоцементные трубы 0 400 мм, распиленные вдоль пополам.
Разрез свинарника (встроенного помещения) и план встроенных помещений (фасад торцевой) приведены на рис. Б.25 и Б.26.
Техническая характеристика
|
Площадь, м2: |
|
|
застройки |
1000 |
|
полезная |
930 |
|
Строительный объем, м3 |
3800 |
|
Вместимость, головы |
1200 |
|
Стоимость реконструкции от первоначальной стоимости строительства, % |
20 |

Рисунок Б.25 - Разрез свинарника (встроенного помещения) (вариант 1)

Рисунок Б.26 - План встроенных помещений (фасад торцевой) (вариант 1):
1 - существующий свинарник; 2 - новое встроенное помещение вместимостью 1200 голов; 3 - станок на 32 (34) головы; 4 - кормовой проход; 5 - поилки в зоне дефекации; 6 - венткамера приточной вентиляции; 7 - подсобное помещение; 8 - служебное помещение
Вариант 2
Вариант 2 расширения свиноводческих помещений аналогичен варианту 1. Разница заключается в конструктивном решении постройки.
Встроенное помещение выполнено однопролетным, без промежуточных опор. Применены металлические фермы-покрытия легкого типа, которые опираются на существующие кирпичные стены примыкающих свинарников. Их шаг - 2,5-3 м. По фермам уложены плиты, утепленные минераловатными матами. Кровля - асбестоцементные волнистые листы, в стыках (ендовах) - многослойная рубероидная. Дождевые стоки с крыши отводят по внутренним водосточным трубам в ливневую канализацию. По коньку крыши предусмотрен световой фонарь легкого типа.
В новых помещениях заложена приточно-вытяжная система вентиляции. Приточный воздух поступает в каждый станок от венткамеры (в центре помещения) по воздуховодам вдоль стен. Вытяжка загрязненного воздуха осуществляется осевыми вентиляторами в торцовых стенах и через фрамуги фонаря.
Варианты архитектурных узлов встраиваемых помещений при расширении свиноферм способом блокирования действующих свинарников (к вариантам 1-2) приведены на рис. Б.27, Б.28.
Техническая характеристика
|
Площадь, м : |
|
|
застройки |
1000 |
|
полезная |
930 |
|
Строительный объем, м3 |
3800 |
|
Вместимость, головы |
1200 |
|
Стоимость реконструкции от первоначальной стоимости строительства, % |
18 |

Рисунок Б.27 - Разрез свинарника (встроенного помещения). Фонарь по железобетонному перекрытию (вариант 1-2)

Рисунок Б.28 - Варианты архитектурных узлов встраиваемых помещений при расширении свиноферм способом блокирования действующих свинарников (вариант 1-2)
План, поперечный и продольный разрезы здания для откорма на 1800 свино-мест приведены на рис. В.1-В.3.

Рисунок В.1. - Здание для откорма свиней на 1800 свино-мест. План на отметке 0.000:
а - помещение для содержания животных в изолированной секции; б - запасная секция на 135 голов; в - групповой станок на 27 голов (станков в секции - 6, в здании - 36); г - групповой станок на 23 головы (станков в секции - 6, в здании - 36); д - служебный коридор; 1 - продольная труба навозоудаления; 2 - поперечная труба навозоудаления; 3 - кормораздаточный автомат; 4 - бункер концентрированных кормов (V = 20,3 м3; h = 7816 мм); 5 - бункер концентрированных кормов (V = 8,7 м3; h = 4564 мм)

Рисунок В.2 - Здание для откорма свиней на 1800 свино-мест:
1 - продольная труба навозоудаления (поставка «Big Dutchman»); 2 - газогенератор (поставка «Big Dutchman»); 3 - кормораздаточный автомат (поставка «Big Dutchman»); 4 - вытяжная вентиляционная шахта FE-91 (поставка «Big Dutchman»); 5 - стенной клапан CL-1200

Рисунок В.3 - Продольный разрез здания для откорма свиней на 1800 свино-мест: 1 - продольная труба навозоудаления (поставка «Big Dutchman»)
В приложении приводятся краткие характеристики технологии содержания, станочного оборудования, оборудования для раздачи кормов, поения свиней разных периодов выращивания и откорма.
Г.1. Отделение репродукции
Для осеменения маток станки устанавливаются в ряд по 10-20 шт., напротив друг друга, с поперечным проходом шириной 1,2-1,5 м. В проходе организуются манежи для хряков.
Для снижения агрессивности маток, их стимуляции при искусственном осеменении, а также возможности выхода в манеж к хряку применяются станки с передней дверью.
Спаривание может происходить и в специальных станках, куда на пять-десять маток запускают одного хряка.
Широко применяется осеменение в KS - станках. В отделении репродукции матки содержатся до подтверждения супоросности (как правило, не более двух недель), после этого их переводят в отделение супоросных маток.
Особенность содержания холостых и осемененных маток - сочетание содержания их в станке с выходом в манеж, который расположен сзади станков.
KS-станки оснащены доступным для маток механизмом закрытия задней двери, который не позволяет другой матке зайти в станок. Надавливанием на дверцу с внутренней стороны обеспечиваются ее открывание и фиксация в открытом состоянии. Матка не может закрыть пустой станок с внешней стороны.
Передняя дверь или передняя закрытая часть станка обеспечивает контакт с хряком и стимулирует матку.
Большой вырез в задней двери станка обеспечивает хорошие условия персоналу для ухода за матками и их искусственного осеменения.
Техническая характеристика станков
|
Показатели |
Станки с фиксацией |
KS-станки |
|
Длина, см |
180/190/200 |
190/200 |
|
Высота, см |
113,3 |
200 |
|
Ширина, см |
55-75 |
65 |
|
Обработка ограждений станка |
Оцинковка |
Оцинковка |
Г.2 Отделение для супоросных маток
В отделении для супоросных маток устанавливают станки без фиксации и групповые станки для содержания на соломе. Минимальная площадь на одну супоросную матку составляет 1,3 м2, на холостую - 0,95 м2. Этот вариант содержания супоросных маток получает все большее развитие за рубежом.
Групповые станки заполняются сухой свежей соломой. Верхний слой нужно настилать ежедневно. Солома должна быть сухой, в противном случае будут меняться условия микроклимата, что может отразиться на здоровье свиней.
Кормление супоросных маток строго дозированное. В каждой кормушке установлена ниппельная поилка. Матка сама регулирует количество воды в кормушке, тем самым осуществляется до увлажнение и отпадает необходимость в жидком кормлении.
Существуют две разновидности кормления супоросных маток:
в станках с фиксацией для всей группы маток устанавливается одинаковая доза корма с автоматической выдачей его по программе;
система индивидуального кормления маток в группах с помощью чипов.
Станки для супоросных маток конструктивно имеют следующие особенности:
дверь станка всегда открыта, если он пустой;
в станок может войти только одна матка;
заходя в станок, матка толкает дверцу, находящуюся в передней части станка, и тем самым захлопывает заднюю дверь;
ограждение станков имеют в задней части понижение, что облегчает проведение вакцинации маток.
Техническая характеристика станка
|
Длина, см |
190/200 |
|
Ширина, см |
65 |
|
Высота, см |
103,3 |
|
Обработка ограждений станка |
оцинковка |
Г.3 Отделение опороса
За пять-семь дней до опороса маток помещают станки, которые комплектуются решетчатыми полами: чугунными для маток, бетонными и пластиковыми для поросят.
Кормушка и поилка в станке опороса фиксируются на некотором расстоянии от пола, тем самым высвобождается дополнительное место для матки.
В первые три-пять дней после опороса станки оснащают берложками с лампами инфракрасного излучения. Температура под лампой должна достигать 30°С, а температура пола под маткой - 16-18°С. Инфракрасное излучение дезинфицирует среду обитания.
В станках для опороса датских фирм технологией содержания предусмотрена трансформация боковин станка, для высвобождения дополнительно около 30 % общей площади.
Матки содержатся в отделении опороса вместе с поросятами-сосунами в течение трех-четырех недель с момента опороса, затем их опять возвращают в отделение для репродукции.
Станки для опороса XL имеют следующие особенности:
трансформируются по ширине до 30 см, что делает их пригодными для свиноматок любых размеров;
оснащены берложкой для поросят;
внутри станка отсутствуют острые углы и кромки;
оснащены централизованным механизмом открывания берложек.
Станки для опороса КОМБИ. Через неделю после опороса боковины станка трансформируются на полную ширину, высвобождая для матки 60 % общей площади секции. Предохранительные дуги, находящиеся в нижней внутренней части боковин станка, обеспечивают сохранность поросят при их кормлении. В секциях для опороса КОМБИ задняя перегородка и боковая дверь имеют большую высоту и дополнительную жесткость за счет установленных горизонтальных труб. Для предотвращения придавливания поросят на эти поверхности дополнительно устанавливают металлические скобы из труб.
Техническая характеристика станков
|
Показатели |
Станок XL |
Станок КОМБИ |
|
Длина станка, см |
250-270 |
300 |
|
Ширина станка, см |
160-180 |
180 |
|
Высота станка, см |
50 |
75/50/100* |
|
Длина ограждения для матки, см |
190-201 |
190-201 |
|
Ширина ограждения для матки впереди, см |
53-63 |
53-63 |
|
Ширина задней части ограждения для матки, см |
57-85 |
57-85 |
|
Высота боковины ограждения для матки, см |
90 |
90 |
|
Ширина берложки, см |
80/90 |
80 /90 |
|
Площадь берложки, м2 |
0,57/0,63 |
0,57/0,63 |
*Высота передней панели /высота боковой панели/ высота задней панели, двери.
Г.3 Отделения для поросят на доращивании и откорме
Через три-четыре недели после опороса поросят живой массой 6-8 кг переводят в отделение доращивания. Здесь они содержатся 11 недель, их живая масса к концу периода составит 25-30 кг.
Отделения для поросят на доращивании оснащены:
навесом в зоне отдыха поросят;
системой обогрева секций или подогреваемыми полами;
душем;
системами автоматического кормления и поения;
сплошными и решетчатыми полами в соотношении 2/3 и 1/3 общей площади при сухом кормлении поросят;
барьером, ограничивающим попадание соломы на решетчатые полы.
Барьер устраивают под срез навеса. Под навесом пол бетонный, а в остальной части секции - решетчатый (бетонный или пластиковый).
При жидком кормлении поросят полы в секции устраивают в следующем соотношении: 1/3 - сплошные, 2/3 - решетчатые.
Г.3.2 Отделение откорма
Поросята находятся в отделении откорма три месяца и достигают живой массы 95-110 кг.
Содержатся поросята в групповых станках вместимостью 15-30 голов. Отношение длины к ширине группового станка 2:1.
Групповые станки имеют сплошные и решетчатые (минимум 30-40 %) полы. Площадь группового станка принимается из расчета 0,55-0,65 м2 на одну голову.
Станки оснащаются:
навесом (площадь 0,1 м2 на одну голову, минимальная высота 100 см), автоматически поднимающимся и опускающимся по команде терморегулятора;
системой обогрева или теплыми (обогреваемыми) полами;
системой автоматического кормления и поения;
верхним водяным душем, настилом из соломы.
Кормление поросят производят с помощью автоматической системы раздачи сухого или жидкого корма. Для откорма поросят до 100 кг расходуют 300-310 кг корм. ед.
В Дании широко применяются станки для содержания поросят системы CLEAN-O-FLEX (с кормлением сухим кормом) и INN-0-WALL (с кормлением жидкими кормами).
Техническая характеристика станков
|
Показатели |
CLEAN-О-FLEX |
NN-O-WALL |
|
Ограждение, сплошные плиты: |
|
|
|
высота, см |
75/100 |
75/100/115 |
|
длина, см |
Максимально 380 |
200-600 |
|
Решетки из нержавеющей стали со стороны прохода: |
|
|
|
высота, см |
75/100 |
- |
|
длина, см |
Максимально 250 |
- |
Г.4 Автоматическая система раздачи кормов и поения
Свинофермы оснащаются автоматической системой раздачи корма, состоящей из следующих агрегатов:
бункер оперативного запаса для хранения двух-трех-дневного запаса комбикорма;
приемная воронка с электроприводом;
цепочно-шайбовый транспортер;
электропривод транспортера;
подающая труба транспортера;
сенсор остановки транспортера;
бункерная кормушка или дозатор.
Приемная воронка регулирует подачу комбикорма в систему. Заполнение кормушек кормом осуществляется автоматически по заданной программе 2-3 раза в сутки. Сенсор подает команду на остановку транспортера после заполнения всех кормушек.
Дозаторы используются в отделениях для содержания маток с целью строгого соблюдения рациона кормления по программе. Конструкция обеспечивает высокую точность дозирования и простоту настройки.
Кормление поросят на доращивании и откорме осуществляется автоматическими кормушками по технологии «вволю». Поросята толкают колокол кормушки, и комбикорм дозированно высыпается на поддон, откуда поедается. Кормушки снабжены с двух сторон ниппельными поилками (установлены под углом 45°), что позволяет сократить расход воды в 2 раза по сравнению с сосковыми. Подача корма регулируется в широком диапазоне в зависимости от возраста поросят.
Автоматические кормушки TUBE-О-MAT фирмы «Ege-bjergs» изготовлены из высокопрочного пластика и нержавеющей стали. Отсутствие острых кромок и углов обеспечивает легкость и удобство мойки кормушек, гарантируя их высокую гигиеничность.
Глубокие поддоны кормушек TUBE-О-MAT предотвращают разбрасывание корма при его поедании. Под срезом кормотрубы находится выдавленный в центре поддона усеченный конус, верхняя плоскость которого хорошо удерживает корм, ограничивает его просыпание в плоскость корыта и уменьшает количество слипшихся комков. Хорошее перемешивание корма внутри бункера кормушки исключает его налипание на стенки и обеспечивает хорошую подачу при скармливании. Кормушки разработаны для всех видов сухого корма и всех возрастных групп свиней:
TUBE-О-MAT ТОР для отделений откорма. Поддон в этой кормушке имеет в центре под срезом кормотрубы усеченный конус, верхняя платформа которого имеет неглубокий кант. Такая конструкция лучше удерживает корм на плоскости платформы, сохраняя его сухим, и не позволяет просыпаться в отделение с водой;
TUBE-О-MAT VIP для отделений доращивания, которым необходимо быстро перейти с жидкого на сухое кормление. Возможно применение этой кормушки и для поросят на откорме;
TUBE-О-MAT JUMBO имеет бункер увеличенной вместимости и три водораздаточные трубки. Данная модель особенно функциональна для отделений доращивания и откорма (в одной секции более 25 голов).
Поилки DRIK-О-MAT фирмы «Egebjergs» разработаны для всех возрастных групп животных. Они удобны и гигиеничны, исключают проливание воды, выполнены из нержавеющей стали, долговечны. Стабилизатор водораздачи мембранного типа MASTER FLOW обеспечивает бесперебойность подачи воды в поилку.
Г.5 Линия уборки навоза и соломы
Для удаления навоза и соломы, продавливающихся сквозь просветы решетчатых полов, применяются скреперные установки. Максимальная длина линии уборки навоза и соломы 70 м, ширина скрепера принимается по ширине канала плюс 4 см (при ширине канала до 3 м), высота скрепера 30/40 см. В качестве тяги скрепера применяются трос нейлоновый Æ 18 мм и металлический Æ 14 мм. Дельта-скрепер имеет саморегулирующуюся рабочую лопасть: при рабочем ходе - плотно прилегающую к полу, при возвратном движении - легко скользящую по поверхности дна канала.
Из центрального канала солома вместе с навозом транспортируется в навозохранилище.
Оставшаяся на решетчатых полах солома с навозом убирается трактором (бульдозером), для проезда которого в секциях предусматриваются калитки.
В приложении приводится краткая информация о рекомендуемых к применению при реконструкции и модернизации свиноводческих ферм и комплексов механизмах и оборудовании.
Д.1 Оборудование для содержания свиней
Д.1.1 Рациональное использование производственной площади свиноводческого помещения зависит от размеров принятых станков как исходного элемента планировки. Они должны отвечать зоотехническим, инженерно-технологическим и экономическим требованиям. В свете этих требований рекомендуется применять станочное оборудование отечественного производства, приведенное в табл. Д.1.
Техническая характеристика станков производства России и стран СНГ для содержания свиней
|
Марка |
Назначение |
Вместимость, головы* |
Габаритные размеры, мм |
Масса, кг |
|
|
1 |
2 |
3 |
4 |
5 |
|
|
Для подсосных маток |
|||||
|
Без марки (Россия) |
Для проведения опоросов, содержания маток с приплодом до 35-45-дневного возраста |
1 |
2275×2300×1100 В блоках 40, 60, 80 и 120 станков (или 2, 4, 6, 8, 10 станков для исполнений ОСМ-1М-5-9) 1800×2400×1000 |
180 |
|
|
Без марки (Беларусь, Казимировский ОЭЗ) |
Станки для опороса маток по голландской технологии с пластмассовым полом |
|
2400×1700×1380 |
|
|
|
СОС-10 (Беларусь,-Казимировский ОЭЗ) |
Для опороса маток |
|
2036×1750×1270 |
|
|
|
BPS-2 (Молдова) |
Клетка для опороса маток и содержания с поросятами |
1 |
2440×2100×1256 |
|
|
|
УСТ-3М (Россия) |
То же с комбинированным Исполнением ограждающих конструкций (передняя решетка, кормушки, калитка, разделитель - металлические, остальные части из местных стройматериалов) |
1 |
3000×2400×1000 |
175 |
|
|
Без марки (Беларусь) Собственное производство ПКБ «Неофорс» |
Для подсосных маток с поросятами |
1 |
2400(2300)×1800(1700)×500 |
- |
|
|
Для остального поголовья |
|||||
|
БСХ-12 (Россия) |
Холостые и супоросные матки |
12 |
6000×3500-3800×1000 |
|
|
|
БСП-10 (Россия) Без марки (Россия) |
Поросята-отъемыши |
10 |
Площадь 4,8 м2 |
75 |
|
|
Для индивидуального содержания холостых и условно супоросных поросят |
1 |
750(650)×2250×1000 |
|||
|
ССС-20 (Казимировский ОЭЗ) |
Для содержания супоросных маток |
|
550×3000×1054 |
- |
|
|
КГО.Ф.Ю. (Казимировский ОЭЗ) |
Поросята-отъемыши |
|
13770×3000×1500 |
- |
|
*В числителе матки, в знаменателе - поросята.
Д.1.2 Тележка-трап ТТ-1 предназначена для погрузки (разгрузки) свиней старше двух месяцев в транспортные средства, оборудованные для перевозки их на племенных и товарных фермах и комплексах, а также для перевозки между отдельно стоящими животноводческими помещениями. Представляет собой одноосный полуприцеп, агрегатируемый с тракторами тяговых классов 0,9 и 1,4. Техническая характеристика установки приведена в табл. Д.2.
|
Показатели |
Величина |
|
Грузоподъемность, кг |
2000 |
|
Вместимость кузова при живой массе свиней, головы: |
|
|
5-30 кг |
75-80 |
|
110-130 кг |
13-16 |
|
Погрузочная высота, мм |
1300 |
|
Скорость, км/ч: |
|
|
рабочая |
10 |
|
транспортная |
20 |
|
Ширина колеи, мм |
2090 |
|
Дорожный просвет, мм |
340 |
|
Габаритные размеры, мм: |
|
|
в опущенном положении |
5950×2800×1300 |
|
в транспортном |
5650×2800×2400 |
|
Масса, кг |
1700 |
Д.1.3 Фирма «Big Dutchman» поставляет станочное оборудование различных видов, рекомендуемое для применения при реконструкции и модернизации свиноводческих комплексов. Характеристика некоторых видов станков приведена в табл. Д.3.
|
Марка |
Наименование |
Вместимость, головы |
Габаритные размеры, мм |
Масса, кг |
|
К2120 |
При сухом кормлении |
Определяется технологией |
2400×650(550)×1000 |
Переменная |
|
К2320 |
При кормлении жидкими кормами |
Тоже |
Тоже |
Тоже |
|
Блок станков |
Для индивидуального содержания |
-«- |
Длина×ширина×1400 |
-«- |
|
Блок станков |
Для группового содержания маток, ремонтного молодняка и откормочного поголовья |
-«- |
Длина×ширина×1000 |
-«- |
|
Блок станков |
Для поросят-отъемышей |
-«- |
Длина×ширина×800 |
-«- |
|
Блок станков |
Для индивидуального содержания тяжело супоросных маток (3-7 дней до опороса), проведения опороса и выращивания поросят-сосунов до 28-дневного возраста, а также передержки поросят до 35-40-дневного возраста |
Определяется технологией |
Станки 2400×1800×650 Бокс 2200×650(550)×1000 |
Переменная |
Д.1.4 Станки от «Big Dutchman» для выращивания поросят оснащены нескользящими пластмассовыми полами. Закругленные края пластмассовых настилов исключают возникновения травмы у поросят. Решетчатая форма настилов пропускает навоз насквозь, и полы остаются чистыми. Монтаж этих настилов простой и удобный, гарантируется продолжительный срок службы.
При необходимости интегрируются платы обогрева. Они состоят из высококачественного полимерного бетона и обогреваются горячей водой или электроспиралью.
Д.1.5 Система станков состоит из пластмассовых стенок различных размеров. Косяки дверей и стойки станков изготавливаются из высококачественной стали.
Д.1.6 Полы для поросят на доращивании изготавливаются из пластмассы или стали, покрытой специальным пластиком. Для обогрева поросят используются пластины обогрева, в которых размещаются трубы с горячей водой или электрическая спираль.
Наиболее эффективными и физиологичными для поросят являются резиновые коврики, наполненные теплой водой, так называемые водяные матрацы. Вода подогревается локальным котлом на любом виде топлива.
Пластиковые полы для поросят изготавливаются из первичного полиэтилена, не подвергавшегося ранее переработке. Они отличаются высокой прочностью и упругостью. В то же время они менее травматичны для животных, чем бетонные или стальные, и удобны в эксплуатации.
Чугунные и стальные полы для подсосной матки в разрезе имеют форму треугольника острым углом вниз, а также специальное покрытие против скольжения. Эти полы оптимальны с точки зрения ветеринарии, удобны для матки и предотвращают повреждения копыт и сосков.
Параметры решеток приведены в табл. Д.4.
|
Тип решетки |
Размеры, мм |
Ширина щели, мм |
Ширина перемычки, мм |
Количество, на 1 м |
|
Открытая для станка опороса |
600×200 |
9 |
10 |
8,33 |
|
600×300 |
9 |
10 |
5,55 |
|
|
600×400 |
9 |
10 |
4,16 |
|
|
Открытая с откидной крышкой для удаления навоза |
600×400 |
9 |
10 |
4,16 |
|
Закрытая для станка опороса |
600×400 |
9 |
10 |
4,16 |
|
Открытая из чугуна для станка опороса |
1200×600 |
11 |
15 |
1,38 |
|
Чугунная с закрытой площадкой (400×600) |
1200×600 |
11 |
15 |
1,38 |
|
Чугунная с закрытой площадкой (600×600) |
1200×600 |
11 |
15 |
1,38 |
|
Сплошная приподнятая чугунная для станка опороса |
1200×600 |
11 |
15 |
1,38 |
|
Сплошная приподнятая чугунная (400×600) |
1200×600 |
11 |
15 |
1,38 |
|
Сплошная приподнятая чугунная (600×600) |
1200×600 |
11 |
15 |
1,38 |
|
Для станка доращивания |
200×400 |
9 |
10 |
12,50 |
|
600×400 |
9 |
10 |
4,16 |
|
|
600×500 |
9 |
10 |
3,33 |
Примечание. Все описанные решетки выдерживают
нагрузку до
Габаритные размеры обогреваемых участков пола (поликов) приведены в табл. Д.5.
|
Тип |
Размер, мм |
|
Полики обогрева с водяным отоплением для станков опороса: |
|
|
интегрированные |
1200×400 |
|
накладываемые |
900×600×45 |
|
Полики обогрева с водяным отоплением вставные для станков доращивания |
800×400×48 |
|
800×500×48 |
|
|
800×600×48 |
|
|
1200×400×48 |
|
|
1200×500×48 |
|
|
1200×600×48 |
|
|
1000×400×48 |
|
|
1000×500×48 |
|
|
1000×600×48 |
|
|
Электрические полики обогрева для станков опороса: |
|
|
вставные без термодатчика |
1200×400 |
|
вставные с термодатчиком |
1200×400 |
|
Электрические полики обогрева для станков доращивания:вставные без термодатчика |
800×800 800×600 800×500 800×400 1200×800 1200×600 1200×500 1200×400 |
Примечание. По запросу заказчика возможна поставка поликов обогрева других размеров.
Д.2 Механизмы и оборудование для транспортирования и раздачи кормов
Д.2.1 Производство высококачественной свинины является целью каждого производителя. Для достижения данной цели к кормораздаточному оборудованию предъявляются особенно высокие требования. Отечественная промышленность выпускает ряд кормораздатчиков, краткая характеристика которых приведена в табл. Д.6.
|
Марка |
Назначение |
Обслуживаемое поголовье |
Область применения |
|
КС-1,7 (напольный) |
Механизированная подготовка и - раздача сухих кормов в кормушки |
Любое поголовье |
Свиноводческие комплексы |
|
КР-1,7 (напольный) |
|
|
|
|
КР-1,5 (Россия) |
|
|
|
|
КС-1,5 (Украина) |
Раздача кормосмесей влажностью 60-80 % |
То же |
То же |
|
КЭС-1,7 (Украина) |
Раздача кормосмесей влажностью до 70 % |
-«- |
-«- |
|
РСМ-1,5 (Беларусь) |
Раздача сухих кормосмесей |
-«- |
-«- |
|
Новинка! РС-5АМ |
Приготовление и раздача кормосмеси влажностью 65-75 % (раздача в обе стороны) |
-«- |
Свинофермы |
Д.2.2 Наряду с отечественным кормораздаточным оборудованием на нашем рынке уже несколько лет успешно работает немецкая фирма «Big Dutchman».
Д.2.3 Фирма «Big Dutchman» представляет следующее оборудование для кормораздачи:
для раздачи жидкого корма - управляемая компьютером система Hydromix (стандарт, с системой безостаточной кормораздачи и промывкой труб, синхрон, компакт, мультифазовая кормораздача, сенсор);
система транспортировки сухого корма с широкими возможностями применения «Dry Rapid» с дозировочными системами «Dry Exact-Standart» и «Dry Exact-CombiMix» и кормораздаточными автоматами:
«Pig Nic» с бункерной кормушкой «Tube-0-Mat» для поросят-отъемышей до свиней на откорме при «сухом» кормлении «вволю»;
«Lean Machine» для кормления поросят-отьемышей и свиней на откорме;
«Multiporc» для сухого корма, применяемый при доращивании
поросят массой до
«Singleporc IV» и «Singleporc V» для приготовления кашеобразного корма на стадии откорма;
«Simultan» для супоросных маток при групповом содержании;
«Callmatic 2» для маток при групповом содержании, управляемая компьютером.
Д.2.4 Фирма «Big Dutchman» поставляет системы MEDI, «Медикатор», монтируемый в систему водопровода для внесения дозированных порций витаминов и медикаментов в питьевую воду.
Д.2.5 В табл. Д.7 приведена техническая характеристика систем кормораздачи, транспортировки корма и медикаментов.
Техническая характеристика кормораздатчиков, поставляемых фирмами «Big Dutchman» (Германия) и «Roxell» (Бельгия)
|
Название кормораздатчика |
Назначение |
Обслуживаемое поголовье |
Область применения |
|
Hydromix |
Автоматизированное приготовление и раздача жидкого корма |
Откормочное и репродукторное поголовье (в том числе подсосные и супоросные матки и хряки) при индивидуальном и групповом содержании |
Любые свиноводческие предприятия |
|
Hydromix-синхрон |
Автоматизированное одновременное смешивание и раздача кормов безостановочного кормления с промывкой труб |
Тоже |
То же, в том числе предприятия большой мощности |
|
Hydromix-компакт |
То же |
-«- |
Свиноводческие фермы, в том числе малой мощности |
|
Hydromix-мультифазовая кормораздача |
Автоматизированное, индивидуально дозированное кормление |
-«- |
Любые свиноводческие предприятия |
|
Dry Rapid |
Транспортировка и дозированная раздача сухого корма в виде муки или гранул |
Поросята-отъемыши, матки, поросята на доращивании (в индивидуальные или групповые кормушки) |
Любые предприятия, особенно удобен при реконструкции и модернизации свиноферм благодаря модульному принципу системы |
|
Lean Machine |
Автомат для кормления
животных сухими кормами вместимостью |
Поросята на доращивании и свиньи на откорме |
Автомат для кормления до 40 голов |
|
Multiporc |
Автомат для кормления животных сухими кормами |
Поросята на доращивании |
Автомат для кормления
животных с живой массой до |
|
Singleporc IV |
Автомат для приготовления
кашеобразного корма и кормления им животных. Вместимость |
Свиньи на откорме живой
массой от |
Автомат для кормления 12 голов |
|
Singleporc V |
То же, вместимость - |
То же |
Тоже |
|
Simultan |
Синхронное кормление животных при групповом содержании |
Супоросные матки |
Группа маток 6-12 голов |
|
Callmatic |
Система вызывного кормления сухими или жидкими кормами с автоматическим наполнением до полного объема по рациону |
Матки при групповом содержании |
Группы 50-60 голов на одну станцию (автомат) |
|
Tube-O-Mat (Бельгия) |
Автомат для кормления животных «вволю» (может работать и в режиме нормативного кормления) и поения из ниппельных поилок |
Поросята на дора-щивании и свиньи на откорме |
Одна кормушка-автомат обслуживает до 70 свиней в группе (при кормлении «вволю») и до 35 свиней (при нормированном кормлении) |
|
Duscaflex |
Хранение и дозированная раздача корма |
Матки, поросята, свиньи на откорме |
|
|
Flex-Auger |
Транспортировка корма из центрального бункера к промежуточным |
|
|
|
Multiflex |
Транспортировка корма от промежуточных бункеров к дозаторам корма в свиноводческих помещениях |
|
|
|
Система добавления медикаментов «Medi» |
Автоматическое дозирование медикаментов, витаминов и других активных веществ на выходе корма. Активное вещество не попадает в кормопровод, так как добавляется на отдельных вентилях |
Любое поголовье |
Любая автоматическая установка кормления |
|
Медикатор |
Обогащение медикаментами через питьевую воду на выходе воды из емкости для смешивания |
Тоже |
|
Д.3 Оборудование для поения свиней
Д.3.1 Поение всех половозрастных групп свиней осуществляется из групповых или индивидуальных поилок чашечного или соскового типа.
Вода для поения поросят-сосунов и поросят-отъемышей должна иметь температуру 16-20°С, для взрослых свиней в холодное время года - 10-16°С, а в теплое - она не нормируется.
Место и высота расположения поилок в индивидуальных или групповых станках должны выбираться с таким расчетом, чтобы обеспечить свободный доступ к ним животных и исключить травмирование рыла и полости рта свиней.
Д.3.2 Для взрослого поголовья свиней промышленность выпускает автопоилки самоочищающиеся одночашечные ПСС-1 и сосковые ПБС-1, а для поросят-сосунов и поросят-отъемышей - ПБП-1. Все они используются при индивидуальном и групповом содержании животных.
Сосковые поилки в большей
степени отвечают зооветеринарным требованиям, более просты по устройству и
менее металлоемки, не требуют затрат ручного труда на ежедневную очистку. Их
устанавливают на уровне не ниже холки свиней. Для поросят-сосунов высота
установки поилок составляет
Д.3.3 При групповом содержании свиней сосковые и чашечные поилки (одна на 10-20 голов) устанавливают над щелевым полом станка у перегородок. При индивидуальном содержании подсосных маток сосковые поилки устраивают над кормушками, а чашечные поилки - рядом с кормушками. Для поросят-сосунов поилки монтируют в противоположной от кормушки стороне, над щелевой частью пола или ближе к навозному транспортеру.
Техническая характеристика поилок приведена в табл. Д.8.
|
Показатели |
ПБП-1А |
ПБС-1А |
УСПС 0,5-1,2 |
ПГП-2 |
ПС-1 |
ПСП-1А |
|
Назначение |
Поение поросят |
Поение взрослых свиней |
Универсальная сосковая поилка для свиней |
Поилка групповая для поросят |
Поилка для свиней |
Поилка для поросят |
|
Производитель |
ООО Уралсибагро (Россия) |
СЗНИИ-МЭСХ (Россия) |
ОАО «Дивовский завод и ветзоотехни-ка», (Россия) |
ОАО «Технолит Полоцк», (Беларусь) |
ООО «Боровичский ОСЗ», (Россия) |
|
|
Принцип работы |
Автоматически, при нажатии на cocoк |
|||||
Д.3.4 Для содержания маток, выращивания и откорма поросят фирма «Big Dutchman» предлагает системы поения со всеми комплектующими: ниппельные и чашечные поилки, автокормушки со встроенными ниппельными поилками, узлы водоподготовки, медикаторы.
Ниппельные поилки просты в обращении, экономичны, предотвращают загрязнение воды.
Чашечные поилки позволяют уменьшить потери и загрязнение воды, так как голова животного находится внутри чашки.
Такие поилки хорошо использовать для подсосных поросят, они видят воду и привыкают к поилке с первых дней жизни.
Поилки для отъемышей и откормочных свиней изготавливаются из нержавеющей стали, для подсосных поросят - из чугуна, покрытого эмалью.
Д.3.5 Важно установить поилку на нужной высоте, а также отрегулировать подачу воды. Эти величины меняются в зависимости от содержания животных и климатических зон.
Ориентировочные параметры для монтажа и эксплуатации поилок представлены в табл. Д.9.
|
Животные |
Живая масса, кг |
Потребность в воде на одну голову в сутки, л |
Высота поилки, см |
Проточность, л/мин |
|
|
чашечной |
ниппельной |
||||
|
Поросята: |
|
|
|
|
|
|
подсосные |
1-7 |
0,3-0,7 |
8 |
10 |
0,3-0,4 |
|
отъемыши |
7-30 |
0,5-2,5 |
10-15 |
20-40 |
0,4-0,6 |
|
откормочные |
75-120 |
5-10 |
25-30 |
70 |
1,0-1,5 |
|
Матки: холостые, начальной стадии супоросности |
100-250 |
8-12 |
35-40 |
90 |
1,5-1,8 |
|
конечной стадии супоросности |
- |
10-15 |
35-40 |
90 |
1,5-1,8 |
|
Подсосные(на одного поросенка) |
- |
15+1,5 |
|
90 |
2-3 |
|
Хряки |
- |
12-15 |
35-40 |
90 |
1,5-1,8 |
После опороса вода для матки добавляется непосредственно в кормушку, таким образом из ее желудочно-кишечного тракта вымываются вредные бактерии. Для надежной работы в систему поения все чаще устанавливают узлы водоподготовки и медикатор: узел водоподготовки - между водопроводами основным и в свинарнике, медикатор - в водопровод для точного дозирования медикаментов через питьевую воду. Препарат смешивается с водой только на выходе из смесительного отсека, благодаря этому вся система механизмов не контактирует с препаратом, что гарантирует ее долговечность. При использовании порошкообразных или сильно вязких препаратов необходимо устанавливать смесительную емкость.
Комплектация узла водоподготовки и медикатора поставляется по желанию заказчика.
Д.3.6 Ниппельные поилки, встроенные в кормовые автоматы, применяются при сухом кормлении для поросят-отъемышей и откорма свиней. Фирмой поставляются следующие кормовые автоматы:
Singleporc IV используется на стадии откорма до 12 голов;
Singleporc V применяется для откорма 12 голов массой до
Lean Machine - для поросят после отъема и свиней на откорме до 40 голов;
Pig Nic - для поросят после отъема и откорма свиней до 40 голов.
Д.4 Оборудование для системы удаления навоза
Д.4.1 В настоящее время для транспортировки навоза из животноводческих помещений используются механические и гидравлические системы удаления навоза.
Д.4.2 Механические системы удаления навоза позволяют получить навоз достаточно низкой влажности (86-92 %) и требуют относительно небольших строительных затрат, однако обладают высокой металло- и энергоемкостью, а также требуют больших трудовых затрат на уборку навоза, обслуживание и ремонт оборудования. Кроме того, эти системы являются недостаточно совершенными с зоогигиенической точки зрения. В связи с этим механические системы удаления навоза рекомендуется применять, в основном, на небольших фермах и комплексах с поголовьем до 12-24 тыс. свиней в год, с использованием при кормлении многокомпонентных кормов собственного производства.
Д.4.3 На крупных свиноводческих комплексах мощностью от 24 до 216 тыс. свиней в год и более рекомендуются гидравлические системы удаления навоза из помещений.
Гидравлические системы удаления навоза значительно сокращают трудовые затраты на уборку навоза, отличаются относительно невысокой металло- и энергоемкостью, обладают более высокой надежностью и более длительным сроком службы систем и обеспечивают хорошие зоогигиенические показатели в животноводческом помещении.
Вместе с тем при гидравлических системах удаления навоза влажность получаемого навоза находится в пределах 98-99 %, что приводит к значительному удорожанию строительства навозных каналов и коллекторов для сбора и удаления навоза и сооружений по обработке стоков. Кроме того, применение на крупных животноводческих комплексах гидросмывных систем удаления навоза затруднено в некоторых регионах страны из-за нехватки или отсутствия сельскохозяйственных площадей для использования навозных стоков.
Д.4.4 Подробно о системах навозоудаления на свиноводческих предприятиях изложено в готовящихся к выходу «Методических рекомендациях по проектированию систем удаления, обработки, обеззараживания и утилизации навоза и помета».
Д.4.5 Рекомендуется применять современную систему удаления навоза, широко распространенную за рубежом, и при реконструкции крупных комплексов в нашей стране (на импортном оборудовании) вакуумную систему навозоудаления, суть которой излагается далее.
Д.4.6 Это - разновидность самотечной системы периодического действия. Может быть использована при содержании любых половозрастных групп свиней: подсосных маток, поросят на доращивании, свиней на откорме, холостых и супоросных маток, при содержании как в индивидуальных станках, так и в групповых на щелевом полу.
Д.4.7 Система предусматривает создание сети канализационных пластиковых труб под навозными ваннами. Причем обустройство данной канализационной системы возможно как при полной реконструкции свиноводческих помещений, так и при частичной реконструкции существующих навозных каналов.
Навозные ванны или
навозоприемные каналы над системой канализационных труб выполняются без уклона.
В средней части ванны или канала устраивается приямок глубиной
Д.4.8 Пластиковые канализационные трубы можно установить и в существующих навозных каналах, предварительно освободив их от старого оборудования и проведя небольшую реконструкцию. Благодаря герметичному запиранию сливных отверстий исключаются не только самопроизвольное вытекание из каналов жидкой фракции навоза, но и сквозняки под решетками. Это очень важно, так как движение холодного воздуха из-под решеток крайне нежелательно для всех групп животных, особенно для поросят. Данная система позволяет освобождать навозные ванны под станками независимо одну от другой, не остерегаясь попадания навоза в соседнюю ванну.
Во избежание воздушных пробок, которые при движении навозной массы по канализационным трубам могли бы привести к самопроизвольному открыванию запорных пробок в уже очищенных от навоза ваннах, система предусматривает установку воздушных клапанов в конце каждой канализационной линии.
Д.4.9 Система работает следующим образом. Твердая и жидкая фракции навоза поступают через щелевой пол в навозные ванны или через решетки над навозными каналами и благодаря герметичному запиранию сливных отверстий накапливаются в емкости под ними. После заполнения ванны, т.е. по истечении двух недель, пробка слива поднимается вручную с помощью крюка. Навоз стекает в сливное отверстие и по канализационным трубам удаляется за пределы свинарников в емкости, расположенные рядом с помещением, или в основное навозохранилище, рассчитанное на длительное хранение.
Д.4.10 Преимущества такой системы удаления навоза из свиноводческих помещений:
для реконструкции свиноводческих помещений требуются небольшой объем строительных работ и, как следствие, небольшие капитальные вложения;
быстрый монтаж оборудования;
долговечность и надежность системы;
низкая эксплуатационная стоимость и высокие эксплуатационные показатели позволяют производить быстрый слив навоза, значительно экономить воду, так как система не требует дополнительного смыва водой;
обеспечение хорошего микроклимата в помещении.
Получаемая в результате реконструкции навозная масса отличается от той, которая обычно накапливается на свинокомплексах, где эксплуатируются старые системы навозоудаления, т.е. она содержит только навоз, мочу и случайно попавшую в систему воду.
Д.4.11 Навоз, поступающий из свинарника в навозохранилище, до внесения на поля или дальнейшей утилизации требует определенной обработки. Она осуществляется с помощью специального оборудования, включающего в себя миксеры для навоза и насосные установки. Миксеры могут быть как стационарными, размещаемыми в самом навозохранилище, так и переносными, закрепляемыми на специальном манипуляторе трактора.
Д.5 Оборудование для систем вентиляции и отопления
Д.5.1 Система вентиляции для свиноводства может решаться различными способами. При применении принципа «отрицательного давления» система вентиляции включает в себя устройства для забора воздуха снаружи здания, вытяжки отработанного воздуха, связующие элементы и блок управления.
При применении принципа «равного давления» элементы вентиляционной системы включают в себя приточные шахты, оснащенные вентиляторами, нагнетающими свежий воздух и равномерно распределяющими его в помещении, а также вытяжные шахты, блок управления климатом и сенсоры (датчики).
В некоторых помещениях система вентиляции включает в себя перфорированные фальшпотолки (табл. Д. 10).
|
Тип |
Производитель |
|
ВО; ВЦ; ВКР; ВР; ВЦП |
ОАО «Тульское предприятие насосного оборудования «Гидроаппаратура» |
|
ВЦ (радиальные) |
|
|
ВО (осевые) |
ЗАО «НПО «Тепломаш» (Россия) |
|
ВКРЦ; ВКРО (крышные) |
|
|
ВР (пылевые) ВО (осевые) ВКРМ (крышные) |
ЗАО «Курганский машиностроительный завод мельничного оборудования» |
Д.5.2 Отопление в свиноводческих помещениях также может быть различным в зависимости от конфигурации помещения. В малых помещениях или в отдельных секциях проблема отопления может решаться с помощью специальных «дельта-трубок» с горячей водой заданной температуры либо с помощью инфракрасных излучателей.
Данная система отопления предназначается для системы приточного воздуха с рассеянным притоком воздуха (перфорированные каналы из алюминия) и приводится в движение с помощью теплой воды (минимальное содержание воды). Дельта-труба является хорошим теплопроводником, обладает повышенной степенью надежности, имеет незначительную массу и легко монтируется. Она поддерживает постоянную температуру в помещении.
Д.5.3 Для отопления свиноводческих помещений в последнее время стали применять теплогенераторы на жидком и газовом топливе. Теплогенераторы такого типа выпускаются ОАО «Брестсельмаш».
Теплогенератор представляет собой автономный источник тепла, что позволяет использовать его для воздушного отопления зданий, не вкладывая средства в сооружение котельных и теплотрасс.
Теплогенераторы на жидком топливе и газе конструктивно идентичны и отличаются шкафом управления и горелкой. Применение жаростойких легированных сталей обеспечивает высокую надежность теплообменника. Горелки комплектуются газовым мультиблоком, сервомотором, топливным насосом и реле давлений немецкого производства.
В табл. Д.11 приведена краткая характеристика некоторых отечественных и зарубежных теплогенераторов.
|
Показатели |
ВН (ГУП «Машиностроительный завод», Республика Башкортостан) |
ВГ-0,07 (завод «Брестсельмаш» Беларусь) |
GF-7S |
GP-90 |
AGA-111 |
TAS-800 |
|
Фирма «ERMAF B.V.» (Голландия) |
Фирма «THERMOBILE» (Голландия) |
|||||
|
Номинальная теплопроизводительность, кВт |
70 |
70 |
70 |
90 |
105 |
95 |
|
Потребляемая мощность, кВт |
0,7 |
0,7 |
0,65 |
0,85 |
0,7 |
0,75 |
|
Потребление газа, м3/ч: |
|
|
|
|
|
|
|
природного |
- |
7,0 |
6,1-7,1 |
9,3 |
9,0 |
- |
|
типа «пропан-бутан» |
- |
|
5,4 |
6,4 |
7,5 |
- |
|
Расход дизельного |
|
|
|
|
|
|
|
топлива, л |
- |
- |
- |
- |
- |
9,5 |
|
Давление газа |
|
|
|
|
|
|
|
(природного/«пропан-бутан»), кПа: |
|
|
|
|
|
|
|
присоединительное |
2/5 |
- |
2/5 |
2/5 |
2,5/10 |
- |
|
перед форсункой |
1,8/4,6 |
- |
0,9/4,6 |
0,7/4,4 |
1,05 |
- |
|
Производительность по воздуху, м3/ч |
5000 |
4000 |
5000 |
6500 |
7000 |
7000 |
|
Габаритные размеры, мм - |
1235×535×450 |
1400×700×б00 |
1190×570×450 |
125×680×480 |
1380×570×850 |
1520×580×850 |
|
Масса, кг |
36 |
40 |
36 |
48 |
84 |
81 |
Д.5.4 Фирма «Big Dutchman» выпускает несколько типов теплогенераторов, работающих на природном газе, пропане и дизельном топливе.
Компьютер управляет всеми процессами, обеспечивающими оптимальный микроклимат внутри помещения. Контроль за микроклиматом осуществляется с помощью специальных сенсоров температуры и влажности. Дополнительно система снабжена устройством аварийного открывания форточек, работающим от автономных аккумуляторных батарей. Теплогенераторы успешно применяются при содержании холостых, супоросных маток и свиней на откорме. В свинарниках-маточниках и на доращивании, при возможности применения ковриков для поросят, лучше устраивать водяное отопление.
Обогреватели типа «Jet Master» подвешиваются в помещении без вытяжных труб. Они являются очень эффективной объемной системой отопления с коэффициентом полезного действия до 100 %, оснащены автоматикой контроля пламени, которая сразу же отключает подачу топлива при погашении пламени по каким бы то ни было причинам. Вентиляторы обеспечивают хорошую циркуляцию воздуха.
Обогреватели, работающие на природном газе, позволяют сократить его расход на отопление в 3 раза по сравнению с использованием котельных, при этом повышается влажность в помещении, частично сгорают сероводород и аммиак, сокращается кратность обмена воздуха, исключаются из системы микроклимата центробежные вентиляторы с мощными электродвигателями и водяные калориферы (запыленность снижается до 60 %), уменьшаются потери тепла при прогреве, отпадает необходимость в металлоемких воздуховодах в схемах отопления и наружных теплотрассах, появляется возможность индивидуального прогрева корпусов.
Д.5.5 Техническая характеристика обогревателей приведена в табл. Д.12.
|
Показатели |
«Jet Master» |
||||
|
EGK(V)-12* |
GP14 |
GP40 |
GP70 |
GP95 |
|
|
Мощность, кВт |
12 |
14 |
40 |
70 |
95 |
|
Потребление газа: |
|
|
|
|
|
|
природный газ, м3/ч |
1,0 |
1,3 |
3,6 |
6,1 |
8,4 |
|
пропан, кг/ч |
0,9 |
1,1 |
3,1 |
5,0 |
6,8 |
|
Давление |
|
|
|
|
|
|
подсоединения, Мбар: |
|
|
|
|
|
|
природный газ |
20-30 |
20 |
20 |
20 |
20 |
|
пропан |
50 |
50 |
50 |
50 |
50 |
|
Воздухообмен, м3/ч |
550 |
1200 |
3900 |
5000 |
6500 |
|
Длина, м |
- |
15 |
40 |
50 |
40 |
|
Масса, кг |
16 |
13 |
36 |
36 |
48 |
*Газовый конвектор.
Примечание. Величина подключения: 220-230 В и 50 Гц для всех типов.
Д.5.6 Для принудительной вентиляции помещений необходимо применять вентиляторы центробежного типа на притоке и осевые - на вытяжке. Подогрев приточного воздуха в зимнее время осуществляется водяными, паровыми или электрическими калориферами. При реконструкции систем микроклимата можно использовать как комплекты вентиляционного оборудования, так и отдельные технические средства. К последним относятся вентиляторы, калориферы, бетонные отопительные панели (типа ПЭБ, ПНЕ, ПЭТ, ПНВ и др.) На свиноводческих фермах широко применяют тепловентиляторы, режимы работы которых следует рассчитывать для зимнего периода с минимальной и для летнего (без калорифера) с максимальной частотой вращения. Основные технические данные тепловентиляторов приведены в табл. Д.13.
Техническая характеристика тепловентиляторов
|
Показатели |
ТВ-6 |
ТВ-9 |
ТВ-12 |
ТВ-18 |
ТВ-24 |
|
Подача воздуха, м3/ч |
3000-6000 |
4500-9000 |
6000-12000 |
9000-18000 |
12000-24000 |
|
Тепловая мощность, кДж/ч ккал/ч |
250000 60000 |
335000 80000 |
460000 110000 |
670000 160000 |
750000 180000 |
|
Установленная мощность, кВт Масса, кг |
0,55/2,2 230 |
2,3/3,7 280 |
3,2/2,5 320 |
4,2/7,1 410 |
6,0/9,0 650 |
Д.5.7 Фирма «Big Dutchman» предлагает следующие варианты приточной вентиляции:
устройство перфорированного чердачного воздушного потолка, который состоит из теплоизоляционных полиуретановых плит. Отверстия перфорированной плиты обеспечивают максимальную скорость поступления воздуха 2,5 м/с, что гарантирует равномерное распределение в потолке свежего воздуха;
приток свежего воздуха посредством вентиляторов, расположенных в наружных стенах. В настенном вентиляторе ЦЛ 1200 изолированная заслонка держится в закрытом виде с помощью рессоры из нержавеющей стали, что обеспечивает при необходимости его воздухонепроницаемость. С помощью системы управления имеется возможность одновременного и отдельного открытия заслонок.
Д.5.8 Фирма «Big Dutchman» предлагает следующие варианты вытяжной вентиляции.
Д.5.8.1 Вытяжная шахта отработанного воздуха. Данная шахта
состоит из полиуретановых труб толщиной
Д.5.8.2 Вытяжная шахта отработанного воздуха CL 600 фирмы «Big Dutchman» обеспечивает оптимальную вентиляцию животноводческих помещений. Она имеет аэродинамическую форму и обладает высокой производительностью по воздуху при низком уровне потребления энергии.
Шахта (Æ
Уплотнение лабиринтного типа между крышной трубой и кровельной плиткой обеспечивает полную водонепроницаемость. Дополнительного уплотнения не требуется. Самонесущая конструкция не требует дополнительного подвеса или крепления. Кровельные плиты и внешние трубы изготовлены из стекловолокна, их можно подогнать под необходимые размеры непосредственно на месте.
Монтаж отдельных компонентов производится с помощью соединительных пластин, скрепляемых болтовыми соединениями.
Вытяжная шахта CL 600 может быть дополнена модулем защиты
окружающей среды для направления потока воздуха. Модуль ускоряет поток воздуха,
выводимого через крышу. Таким образом, окружающая ферму территория меньше
страдает от выбросов, запахов и пыли. Лабораторные исследования показали, что
скорость воздуха на высоте
Д.5.8.3 «Мультистеп» - система комбинации бесступенчатого группового регулирования вытяжных шахт в животноводческих помещениях. Данные о производительности отдельных групп шахт вносятся в компьютер для регулирования микроклимата. После этого компьютер начинает контролировать своевременное включение и выключение отдельных шахт. Таким образом, можно комбинировать вентиляторы различной производительности и применять энергосберегающие вентиляторы с высокой специальной мощностью.
Особо точное регулирование производительности и степени воздухонапора вытяжных шахт важно для эффективной работы оборудования. Вентиляционное оборудование с системой «Мультистеп» более устойчиво к воздействию ветра, что крайне важно для предотвращения сквозняков в животноводческих помещениях.
Д.5.8.4 Фирма «Big Dutchman» разработала систему охлаждения, увлажнения и распыления воды в больших помещениях. Данная система гарантирует в жаркое время года постоянную температуру в помещении, соответствующую влажность воздуха и уменьшает образование пыли. Ее можно также применять при влажной обработке помещения. Специальное сопло из высококачественной стали отличается свойством минимального расхода при экстремально высокой проточной скорости. При этом производится мелкое аэрозольное распыление.
Д.5.8.5 Вентиляцию помещений малых ферм можно организовать путем устройства трансформируемых продольных стен, что особенно актуально в южных районах страны при содержании откормочного поголовья.
Система Lumitherm изготавливается из надувных гибких труб, соединенных между собой. При надувании прозрачные пластиковые трубы образуют полностью закрытую стену. Трубы надуваются вентилятором, а термостат или климат-контроль управляют системой, регулируя величину вентиляционного зазора.
Д.5.9 Для уменьшения перегревов в летнее время фирма «Big Dutchman» предлагает несколько вариантов оборудования, рекомендуемого при реконструкции ферм: Coolbox; CombiCool; Pad Cooling.
Д.5.9.1 В оборудовании Coolbox применяется искусственный материал высокого качества. Рама изготовлена из стеклопластика.
По искусственному материалу в раме Coolbox, встроенной в стену, сверху вниз стекает вода. При прохождении в помещение свинарника через Coolbox, поверхность которого обильно поливается водой, теплый приточный воздух интенсивно увлажняется. При этом он эффективно охлаждается, и температура в помещении снижается. Управление системой охлаждения осуществляется с помощью компьютера микроклимата. Производительность системы 5, 10, 20, тыс. м3/ч.
Д.5.9.2 Система CombiCool оборудована форсунками из нержавеющей стали, через которые под высоким давлением с большой скоростью подаются минимальные объемы воды. Полученный таким образом туман оптимально распределяется по помещению и сразу же поглощается теплым воздухом, в результате поддерживается комфортная температура.
Д.5.9.3 Система «Pad Cooling» основана на эффекте испарения. Основу ее составляют так называемые «подушки», изготовленные из материала на основе целлюлозы. Сверху «подушки» поливаются водой. За счет вентиляции, основанной на эффекте разрежения воздуха, теплый приточный воздух поступает в помещение через влажные «подушки». Теплый воздух соприкасается с их поверхностью, имеющей большую площадь, увлажняется и охлаждается. При этом обеспечивается эффективное охлаждение воздуха, прежде всего, в больших секциях. Остатки воды сливаются в специальную емкость. Оставшаяся вода и частично свежая с помощью насоса подаются наверх, а затем стекают вертикально по поверхности «подушек».
|
Наименование |
Площадь застройки, мг |
Строительный объем, м3 |
Номер типовых проектов и проектов повторного применения |
|
Свинарник-откормочник на 2400 голов |
3550,5 |
15647,0 |
802-147/72/п.п./ |
|
Свинарник для опоросов на 120 маток |
1500,9 |
6626,8 |
802-147/72/п.п./ |
|
Свинарник на 400 супоросных маток |
1613,8 |
7123,5 |
802-147/72/п.п./ |
|
Свинарник на 264 холостые матки с хрячником и пунктом искусственного осеменения (с вариантом естественного осеменения)* |
1481,3 2171,2 |
6566,5 9609,0 |
802-147/72/п.п./ |
|
Рампа приема и отгрузки свиней для свинооткормочной фермы на 24 тыс. голов |
235,5 |
1039,0 |
802-133/72 |
|
Блок помещений ветпункта, санитарной бойни и стационара на 18 станков |
542,9 |
2054,2 |
802-147/72/п.п./ |
|
Изолятор для свиней на 14 станков |
248,5 |
868,0 |
807-54 |
|
Склад рассыпных, гранулированных кормов на 480 т |
225,0 |
2514,0 |
813-33/72 |
|
Ветсанпропускник для свинооткормочной фермы |
835,0 |
3125,0 |
807-65/72 |
|
Блок подсобно-производственных помещений с профилакторием на одну автомашину и с мастерскими |
552,0 |
2008,0 |
817-42 802-133/72 |
|
Навес для транспортных средств |
108,0 |
454,0 |
- |
|
Котельная с тремя котлами ДКВР-6,5-13, тип 2 |
559,0 |
4584,0 |
903-1-28/72 тип II |
|
Мазутное хозяйство |
- |
- |
903-2-2/71 |
|
Выгульные площадки |
- |
- |
- |
|
Моционные площадки для свиней |
- |
- |
- |
|
Трансформаторная подстанция
тип К-42- |
29,8 |
112,8 |
407-3-166 |
|
Дезбарьер |
- |
- |
- |
|
Канализационная насосная станция |
94,0 |
860,0 |
902-1-23 |
|
Резервуар для воды
вместимостью |
- |
- |
4-18-840 |
|
Водопроводная насосная станция с подачей 25-200 м3/ч |
31,7 |
125,3 |
901-2-48 |
*В числителе - показатели для искусственного осеменения маток, в знаменателе - для естественного.

Рисунок Е.1 - Генеральный план комплекса:
1 - свинарник-откормочник на 2400 голов; 2 - свинарник для опороса на 120 маток; 3 - свинарник на 400 супоросных маток; 4 - свинарник на 264 холостые матки с хрячником и пунктом искусственного осеменения; 5 - рамка приема и отгрузки свиней; 6 - блок помещений от пункта, санитарной бойни и стационара на 18 станков; 7 - изолятор для свиней; 8 - склад рассыпных, гранулированных кормов; 9 - ветсанпропускник; 10 - блок подсобно-производственных помещений с профилакторием на одну автомашину с мастерскими; 11 - навес для транспортных средств; 12 - котельная с тремя котлами; 13 - мазутное хозяйство; 14 - трансформаторная подстанция; 15 - дезбарьер; 16- резервуар для воды; 17 - водопроводная насосная станция


Рисунок Е.2 - Свинарники для содержания маток в супоросный период (а, б) и опороса (п. 2 генплана) (в, г)

Рисунок Е.5 - Свинарник для опороса используется для содержания поросят-отъемышей после реконструкции

Рисунок Е.6 - Свинарник для откорма:
1 - помещение для содержания свиней; 2 - венткамера; 3 - служебная комната; 4 - щитовая; 5 - санузел; 6 - машинное отделение; 7 - коридор; 8 - инвентарная; 9 - тамбур

Рисунок Е.7 - Свинарник для опороса (п. 2 генплана) используется для содержания поросят-отъемышей

Рисунок Е.8 - Свинарник на 400 супоросных маток:
1 - помещение для содержания 200 маток; 2 - венткамера; 3 - служебное помещение; 4 - машинное отделение; 5 - электрощитовая; 6 - душевая для маток; 7 - санузел; 8 - коридор; 9 - тамбур

Рисунок Е.9 - Свинарник на 400 супоросных маток используется для осеменения маток (одно здание для осеменения, второе - разбивается на два равных помещения, одно из которых используется для осеменения, а второе - для станции искусственного осеменения)
|
Наименование |
До реконструкции |
После реконструкции |
|
Число опоросов на одну матку в год |
2,00 |
2,34 |
|
Выход деловых поросят на один опорос |
9,4 |
11 |
|
Отъем поросят после опороса, дни |
45 |
28 |
|
Среднесуточный прирост живой массы на откорме, г |
570 |
830 |
|
Масса реализуемых свиней, кг |
110 |
110 |
|
Корм |
Жидкие комбикорма с БВМД |
Нормированные сухие комбикорма с белково-витаминными и минеральными добавками (БВМД) |
|
Раздача корма |
Линии раздачи корма в кормушки с помощью системы раздачи жидкого корма по трубам и с помощью мобильных раздатчиков |
Автоматические линии раздачи корма в индивидуальные нормированные дозаторы (осеменение, супоросность, опорос) и в бункерные кормушки (доращивание и откорм по технологии «вволю») с помощью цепочно-шайбовых транспортеров |
|
Уборка навоза из свинарника |
Гидросмыв по каналам |
Самосплав по трубам |
|
Вентиляция и поддержка оптимального климата в помещениях |
Приточно-вытяжная вентиляция с подогревом воздуха в холодное время года |
Приточно-вытяжная вентиляция с подогревом пола в холодное время года с использованием строительных конструкций в качестве составляющей системы отопления и вентиляции |
|
Обеспечение комплекса |
Водоснабжение, теплоснабжение, электроэнергия, канализация |
Водоснабжение, теплоснабжение, электроэнергия, канализация |
|
Основные производственные площади, м2 |
24914,2 |
24914,2 |
|
Установленное оборудование |
Отечественное |
Отечественное и импортное (или отечественные аналоги) |
|
Число работающих |
121 |
32 |
|
Затраты труда на 1 ц продукции, чел. - ч |
5,28 |
1,0 |
|
Расход кормов на 1 ц продукции, ц корм. ед. |
5,35 |
2,8-3,1 |
|
Производительность комплекса в год, головы |
24000 |
34000 |
|
Продукция комплекса, ц |
26827 |
37400 |
Реконструкция
свинокомплекса на 24000 голов позволяет увеличить объемы производства свинины
на тех же производственных площадях на
Расчет поголовья свиней по замкнутому циклу комплекса 24000 голов в год (типовой проект 802-147/72 после реконструкции)
|
Технологический цикл |
Число |
||
|
дней |
ското-мест |
животных |
|
|
Матки: |
|
|
|
|
в опоросе |
(7+28)35 |
|
|
|
в неделю |
|
|
72 |
|
Освобождение и дезинфекция помещений для опороса |
7 |
|
|
|
Цикл опороса |
40 |
|
|
|
Продолжительность периода осеменения и определение супоросности |
28 |
|
|
|
Продолжительность дезинфекции секции |
7 |
|
|
|
Продолжительность карантина ремонтных свинок 35 % от основных маток в год |
28 |
|
|
|
Отдых не оплодотворившихся маток 20 % от условно супоросных |
21 |
|
|
|
Число станков с фиксацией |
|
575 |
|
|
Супоросный период |
77 |
|
|
|
Продолжительность дезинфекции секции |
7 |
|
|
|
Число свино-мест |
|
2030 |
|
|
Число основных маток |
|
|
1760 |
|
Число новорожденных поросят: |
|
|
|
|
в год |
|
|
37765 |
|
за цикл |
|
|
4150 |
|
в неделю |
|
|
727 |
|
Продолжительность
периода доращивания поросят отъемышей массой 7- |
56 |
|
|
|
Продолжительность
откорма поросят массой 30- |
119 |
|
|
|
в год |
|
|
33906 |
|
за цикл опороса |
|
|
2975 |
|
в неделю |
|
|
653 |
|
Мясо (в живой массе) в год, кг |
|
|
3729660 |

Рисунок Ж.1 - Комплекс по откорму 1200 поросят в год

Рисунок Ж.2 - Малые фермы (а, б)

Рисунок Ж.3 - Здание откорма на 500 мест

Рисунок Ж.4 - Здание откорма на 1400 мест