СИСТЕМА НОРМАТИВНЫХ ДОКУМЕНТОВ В СТРОИТЕЛЬСТВЕ
ТЕРРИТОРИАЛЫ1ЫЕ СТРОИТЕЛЬНЫЕ НОРМЫ РОСТОВСКОЙ ОБЛАСТИ
ОСНОВАНИЯ И ФУНДАМЕНТЫ
ПОВЫШЕННОЙ НЕСУЩЕЙ СПОСОБНОСТИ
МИНИСТЕРСТВО СТРОИТЕЛЬСТВА, АРХИТЕКТУРЫ И ЖКХ
РОСТОВСКОЙ ОБЛАСТИ
1. РАЗРАБОТАНЫ Южным Региональным отделением Российской Академии Архитектуры и Строительных наук, НИИ механики и прикладной математики им. И.И. Воровича, Научно-исследовательским и производственным предприятием «ИНТРОФЭК», ОАО института «РОСТОВСКИЙ ПРОМСТРОЙНИИПРОЕКТ», Научно-производственным предприятием «ФУНДАМЕНТ-СПЕЦПРОЕКТ» и Научно-производственной лабораторией «ГЕОБЕЗОПАСНОСТЬ» Ростовского государственного строительного университета.
ВНЕСЕНЫ Южным Региональным отделением Российской Академии Архитектуры и Строительных наук.
2. ПРИНЯТЫ И ВВЕДЕНЫ В ДЕЙСТВИЕ приказом министерства строительства, архитектуры и ЖКХ Ростовской области от 28 апреля 2005 г. № 59.
3. ВВЕДЕНЫ ВПЕРВЫЕ.
4. ЗАРЕГИСТРИРОВАНЫ Департаментом строительства и жилищно-коммунального хозяйства Министерства регионального развития Российской Федерации (письмо № 8870-ВД/70 от 21 декабря 2005 г.).
Настоящие нормы по проектированию и устройству оснований и фундаментов повышенной несущей способности разработаны в развитие обязательных положений СНиП 2.02.01, СНиП 2.02.03 и СНиП 3.02.01 с учетом опыта работы научно-исследовательских, проектно-конструкторских и производственных организаций Юга России.
В нормы включены новые способы подготовки оснований, обеспечивающие преобразование грунтов в массиве с целью улучшения их геотехнических характеристик, разработанные НИИ механики и прикладной математики им. И.И. Воровича (кандидат техн. наук: Б.Н. Исаев - руководитель темы; кандидаты техн. наук: В.Р. Бабаян, А.Г. Лунев, кандидат хим. наук Н.Н. Цапкова, с.н.с. В.В. Белоключевский), фирмой НИПП «ИНТРОФЭК» (кандидат техн. наук С.Ю. Бадеев, кандидат ф-м наук Г.Н. Павлик, инженеры: B.C. Бадеев, М.В. Кузнецов, В.Б. Исаев), НПП «ФУНДАМЕНТСПЕЦПРОЕКТ» (кандидат техн. наук А.Ф. Селезнев), Научно-производственной лабораторией «ГЕОБЕЗОПАСНОСТЬ» РГСУ (доктор техн. наук О.Е. Приходченко, кандидат техн. наук В.В. Логутин), ООО «ГЕОТЕХНИКА» (кандидат геолого-минералогических наук В.И. Пашков) и ОАО института «РОСТОВСКИЙ ПРОМСТРОЙНИИПРОЕКТ» (кандидат техн. наук A.M. Голованов).
Территориальные строительные нормы устанавливают основные требования к надежности оснований и фундаментов повышенной несущей способности, особенностям их проектирования и методам расчета.
Способы подготовки оснований, приведенные в нормах, наиболее эффективны при строительстве объектов в сложных инженерно-геологических условиях, на просадочных, насыпных и слабых, сильнодеформируемых грунтах, а также при стабилизации неравномерных осадок аварийных зданий и сооружений, в особенности в условиях плотной городской застройки.
Предлагаемые конструктивные и технологические решения носят рекомендательный характер и позволяют на основе технико-экономического сравнения вариантов выбрать наиболее надежный и экономичный способ повышения несущей способности оснований и фундаментов в сложных инженерно-геологических условиях Ростовской области.
1.1. Настоящие нормы устанавливают положения по улучшению строительных свойств грунтов в основаниях зданий и сооружений способами инъекции химических растворов, армирования вспененными цементогрунтовыми растворами через направленные гидроразрывы, укрепления химическими и цементными растворами через инъекционные трубки, устанавливаемые в теле фундамента, армирования сваями-инъекторами и буронабивными элементами.
1.2. Указанные способы рекомендуется применять в следующих случаях:
- при строительстве и реконструкции сооружений в сложных грунтовых условиях (просадочные, насыпные и слабые, сильнодеформируемые грунты, неоднородные в плане и по глубине);
- при строительстве зданий и сооружений с большими удельными нагрузками по подошве фундаментов;
- при строительстве новых объектов рядом с существующими в условиях плотной городской застройки либо внутри действующих предприятий;
- при необходимости стабилизации осадок аварийных сооружений;
- при укреплении откосов, насыпей; тампонировании трещин, полостей, а также при устройстве завес и геохимических барьеров.
1.3. Настоящие нормы применяются также при проектировании зданий и сооружений, возводимых в сейсмических, карстовых районах и на подрабатываемых территориях, с учетом требований СНиП II-7, СНиП 2.01.09 и СП 50-101.
В настоящих нормах приведены ссылки на следующие нормативные документы:
СНиП 2.01.09-91 Здания и сооружения на подрабатываемых территориях и просадочных грунтах.
СНиП 2.02.01-83* Основания зданий и сооружений.
СНиП 2.02.03-85 Свайные фундаменты.
СНиП 3.02.01-87 Земляные сооружения, основания и фундаменты.
СНиП 52-01-2003 Бетонные и железобетонные конструкции. Основные положения.
СНиП II-7-81* Строительство в сейсмических районах.
СП 50-101-2004 Проектирование и устройство оснований и фундаментов зданий и сооружений.
СП 50-102-2003 Проектирование и устройство свайных фундаментов.
СП 52-101-2003 Бетонные и железобетонные конструкции без предварительного напряжения арматуры.
ГОСТ 10180-90 Бетоны. Методы определения прочности по контрольным образцам.
ГОСТ 12248-96 Грунты. Методы лабораторного определения характеристик прочности и деформируемости.
ГОСТ 13079-93 Силикат натрия растворимый. Технические условия.
ГОСТ 24452-80 Бетоны. Методы испытания.
ГОСТ 25100-95 Грунты. Классификация.
Термины с соответствующими определениями, используемые в настоящих нормах, приведены в приложении А. Наименования грунтов оснований зданий и сооружений приняты в соответствии с ГОСТ 25100.
4.1. Основания и фундаменты повышенной несущей способности должны проектироваться на основании:
- материалов инженерно-геологических и гидрогеологических изысканий площадки и данных лабораторных исследований грунтов;
- результатов лабораторных или опытно-производственных работ по химическому закреплению либо армированию грунтов;
-технической документации, отражающей конструктивные особенности зданий и сооружений, их назначение и условия эксплуатации;
- материалов натурных обследований и данных наблюдений за осадками зданий и сооружений;
- данных о наличии реагентов, материалов, оборудования и технической возможности выполнения работ;
- действующих нормативных документов (СНиП 2.02.01, СНиП 2.02.03, СНиП 3.02.01, СП 50-101, СП 50-102 и др.).
4.2.Проект укрепления грунтов основания фундаментов должен содержать:
- данные о нагрузках и воздействиях на грунты основания;
- пояснительную записку с описанием принятого способа закрепления, параметров крепящих растворов, конструктивной схемы усиления грунтов основания и опытных работ;
- определение параметров закрепления по данным лабораторных либо полевых исследований;
- графическую часть, включающую: план расположения армоэлементов, мест бурения скважин и погружения инъекторов с нанесением направленных гидроразрывов; геологические разрезы с указанием положения инъекторов по глубине и радиусов закрепления; количество заходок и их размеры; места выполнения контрольных инъекций; примечания, отражающие особенности проекта;
- расчетную часть с результатами расчета основания из армированного или закрепленного грунта по предельным состояниям согласно СНиП 2.02.01 и СП 50-101 для системы «сооружение - фундамент - основание» с учетом свойств закрепленных и незакрепленных массивов;
- подсчет объемов работ и расхода материалов;
- описание производства работ, контроля качества и техники безопасности;
- сметную документацию;
- данные общего характера по вспомогательным работам и мероприятиям, обеспечивающим производство работ в зимнее время.
В случае необходимости в проекте излагаются рекомендации, содержащие указания по экологии, методам наблюдения за осадками и деформациями здания, проверке водонесущих коммуникаций, а также по водозащитным мероприятиям.
4.3. При разработке проектов применяются различные конструктивные схемы закрепления и армирования грунтов в основании зданий и сооружений в зависимости от типа их фундаментов, грунтовых условий, способа закрепления и решаемых задач (см. приложения Б, В, Г).
4.4. Основание повышенной несущей способности должно быть запроектировано с условием исключения недопустимых неравномерных осадок сооружения при замачивании грунта в пределах деформируемой зоны, а также части или всей толщи сжимаемой зоны.
4.5. Выбор способа и конструктивной схемы закрепления или армирования должен производиться на основании технико-экономического сравнения возможных вариантов проектных решений, обеспечивающих наиболее полное использование прочностных и деформационных характеристик грунтов, с учетом наличия необходимого оборудования, материалов и местного опыта строительства.
4.6. В условиях плотной городской застройки при проектировании оснований и фундаментов следует производить расчеты влияния строящихся сооружений на существующие здания и, в случае необходимости, предусматривать применение мероприятий (например, возведение отрезных шпунтовых рядов из армоэлементов, буронабивных свай и др.), исключающих возникновение аварийных деформаций существующих зданий и сооружений.
4.7. При выполнении работ по укреплению и армированию грунтов в основании фундаментов состав контролируемых показателей, предельные отклонения, объем и методы контроля качества должны соответствовать обязательным требованиям СНиП 3.02.01, СП 50-101 и СП 50-102.
5.1.1. Улучшение строительных свойств грунтов основания производится нагнетанием под давлением крепящего раствора в грунт природного сложения с использованием одного из инъекционных способов, которые делятся:
а) по виду крепящего раствора:
- силикатизация (однорастворная, двухрастворная, газовая);
- цементация (цементными растворами, в том числе с добавками);
б) по типу применяемого инъектора:
- забивной инъектор, инъектор с резцом, шнек-инъектор, однотампонный либо многотампонный инъектор, устанавливаемый в предварительно пробуренные скважины;
в) по технологии нагнетания:
- пропиткой (путем плавного подъема давления), то есть в режиме заданного давления и расхода, исключающем разрыв пласта;
- через направленный гидроразрыв;
- путем заполнения пустот и полостей с последующей опрессовкой.
5.1.2. Закрепление следует выполнять по заходкам сверху вниз или снизу вверх сначала в сильно, а затем в слабопроницаемые слои грунта с использованием центробежных, плунжерных насосов, пневмоустановок, дозировочных либо штукатурных агрегатов.
5.1.3. Однорастворная силикатизация производится водным раствором силиката натрия по ГОСТ 13079 плотностью 1,05-1,30 г/см3 в лессовых просадочных грунтах с коэффициентом фильтрации k ≥ 0,2 м/сут, емкостью поглощения не менее 10 мг-экв на 100 г и степенью влажности не более 0,7.
5.1.4. Двухрастворная силикатизация осуществляется путем поочередного раздельного нагнетания раствора силиката натрия и хлористого кальция соответственно плотностью 1,35-1,45 и 1,26-1,36 г/см3 при соотношении их объемов 1:1 в песках с k от 5 до 80 м/сут.
5.1.5. Газовая силикатизация выполняется нагнетанием раствора силиката натрия плотностью 1,10-1,30 г/см3 и углекислого газа по двум схемам:
- раствор - газ (для песков с k от 0,2 до 20 м/сут);
- газ - раствор - газ (для лессовых просадочных грунтов с k не ниже 0,1 м/сут и степенью влажности 0,7-1,0).
Средний расход углекислого газа - 3-5 кг на 1 м3 закрепляемого грунта.
5.1.6. Цементацию по п. 5.1.1 а) следует применять согласно СНиП 3.02.01 и СП 50-101, а через направленные гидроразрывы - в соответствии с п. 5.2.
5.1.7. Рецептуры растворов для инъекционных способов, физико-механические характеристики закрепленных грунтов, радиусы инъецирования и режимы нагнетания должны уточняться по результатам лабораторных работ (приложение Д) или полевых исследований.
5.1.8. Тип инъектора следует назначать в зависимости от свойств закрепляемого грунта, глубины закрепления и имеющегося оборудования:
- забивной инъектор, инъектор с резцом (без лидерной скважины) до 5-7 м;
- то же с лидерной скважиной до 12-15 м;
- шнек-инъектор до 15-30 м;
- однотампонный или многотампонный инъектор до 15-30 м.
5.1.9. Технология нагнетания (изменение давления и расхода раствора во времени с учетом высоты заходки), обеспечивающая проектные размеры и прочность закрепленного грунта, отрабатывается при опытных работах.
5.2.1. Армирование основания производится путем нагнетания под давлением вспененного цементогрунтового раствора через направленные гидроразрывы. При этом происходит как армирование массива элементами из цементогрунтового камня, так и улучшение свойств грунта между элементами за счет его уплотнения.
5.2.2. Приготовление вспененного цементогрунтового раствора следует производить штукатурным агрегатом в следующей последовательности: сначала смешиваются в течение 3-5 минут вода, ПАВ (например, сульфанол НП-1) и цемент, а затем добавляется грунтовая суспензия. Полученная смесь перемешивается в течение 8-10 минут. Готовый раствор сохраняет свою подвижность не более 3,5-4,0 часов. Расход компонентов на 100 л раствора и параметры грунтовой суспензии приведены в приложении Е.
5.2.3. Нагнетание крепящего раствора для создания направленного гидроразрыва необходимо выполнять в следующем порядке:
- нарезается концентратор напряжения на стенке скважины в пределах зоны инъецирования (например, при погружении инъектора с резцом);
- в начальный момент давление крепящего раствора в скважине поднимается с интенсивностью 0,4-0,5 МПа в минуту до тех пор, пока не произойдет гидроразрыв пласта и не образуется плоскость разрыва, что фиксируется по манометру как резкое падение давления;
- после образования плоскости разрыва нагнетание ведется по циркуляционной схеме при давлении, не превышающем давление гидроразрыва.
5.2.4. Армирование основания выполняют в виде системы вертикальных плоских элементов цементогрунтового камня согласно конструктивных схем, приведенных в приложении В.
5.2.5. Необходимые прочностные и деформационные характеристики цементогрунта можно получать за счет изменения дозировки цемента и грунта в цементогрунтовом растворе (см. таблицу Ж.1 приложения Ж).
5.2.6. Несущая способность армированного основания определяется степенью армирования, свойствами цементогрунтового камня и уплотненного грунта. Оценка уплотняемости грунтового массива под воздействием давления гидроразрыва может производиться согласно приложению И либо по данным полевых работ.
5.3.1. Повышение несущей способности грунтов основания плитных, ленточных и столбчатых фундаментов производится в процессе возведения конструкций здания путем инъекции крепящего раствора через трубки, устанавливаемые в теле фундамента при его бетонировании.
5.3.2. Инъекционные работы следует выполнять одним из способов, указанных в п. 5.1, 5.2, после засыпки пазух фундамента с целью обеспечения запорного слоя, исключающею выбивание раствора.
5.3.3. При большой мощности просадочной толщи для повышения качества и эффективности инъекционных работ в пределах каждого фундамента могут устраиваться секции с лидерными скважинами, заполненными дренажным материалом и обеспечивающими пропитку массива грунта по площади и глубине.
5.3.4. Работы с устройством секций и лидерных скважин выполняются в следующей последовательности: проходится котлован до проектной отметки: выбираются штрабы под рёбра, ограничивающие отдельные секции; бетонируются ребра жесткости; выбирается грунт внутри каждой секции; бурятся лидерные скважины; засыпается дренажный материал в лидерные скважины и каждую секцию; выполняется тело фундамента с установкой инъекционных трубок; ведутся инъекционные работы путём подачи крепящего раствора через трубки в пределах каждой секции. В случае необходимости выполняется заполнительная цементация инъекционной полости.
5.4.1. Сваи-инъекторы представляют собой забивные или буронабивные сваи, опирающиеся на основание из закрепленного грунта (см. приложение Г, рисунок Г.1). Инъекцию крепящего раствора ниже пяты сваи следует производить одним из способов, указанных в п. 5.1, 5.2:
- до возведения ствола - через забивные инъекторы либо инъекторы-тампоны, устанавливаемые в предварительно пробуренные скважины;
- после возведения ствола - через инъекционную трубку, установленную в теле сваи и введенную в инъекционную полость, заполненную дренажным материалом (например, щебнем).
5.4.2. С целью улучшения совместной работы ствола сваи и закрепленного основания погружение различных типов забивных свай, после выполнения инъекционных работ, следует производить в лидерные скважины, нижние части которых заполнены свежей бетонной массой.
5.4.3. При инъекции крепящих растворов после возведения ствола сваи используют буронабивные и забивные сваи-инъекторы, в стволе которых устанавливается инъекционная трубка, а ниже устраивается инъекционная полость. Инъекционная полость может быть выполнена цилиндрической или фигурной с использованием стандартных уширителей режущего типа и заполнена дренажным материалом до устройства ствола сваи (см. приложение Г, рисунок Г.2).
5.4.4. Закрепление грунта в основании свай-инъекторов с инъекционной полостью производится путем последовательной раздельной подачи крепящих растворов. При этом сначала выполняется химическое закрепление грунта (например, силикатизация), а затем заполнение полости цементным раствором с опрессовкой зоны закрепления.
5.4.5. Работы по инъецированию основания ниже пяты сваи (после возведения ее ствола) могут выполняться, в случае необходимости, параллельно с возведением конструкций здания.
5.5.1. Способ армирования оснований буронабивными элементами предусматривает устройство в грунте более прочных элементов, совместно работающих с массивом и конструктивно не связанных с фундаментом.
5.5.2. Способ распространяется на проектирование и устройство армирования основания как мероприятия, предусмотренного СНиП 2.02.01 и СП 50-101:
а) в лессовых просадочных грунтах I и II типов, для уменьшения деформаций за счет исключения просадки, а также для обеспечения нормальной эксплуатации сооружений и технологического оборудования в условиях аварийного замачивания или подъема уровня грунтовых вод;
б) в слабых, сильносжимаемых, в том числе водонасыщенных грунтах для уменьшения деформаций и обеспечения эксплуатационной надежности зданий и сооружений.
5.5.3. Материалом буронабивных элементов служат цементогрунт, бетоны и твердеющие растворы на основе цемента и других вяжущих.
5.5.4. Буронабивные элементы устраивают по аналогии с буронабивными сваями в
скважинах
Ø 250-350 мм с последующим их заполнением твердеющим
материалом по п. 5.5.3 в соответствии с указаниями СНиП 3.02.01 и СП
50-102.
5.5.5. Армирование оснований буронабивными элементами следует применять под фундаментами, полами, технологическим оборудованием, а также в условиях реконструкции и строительства сооружений массового строительства (жилые, общественные, производственные, сельскохозяйственные здания и сооружения), относящихся к нормальному (II) уровню ответственности. Особенно эффективно применение армирования грунтов в условиях площадок с плотной застройкой, вблизи существующих зданий, где использование технологий с динамическими нагрузками исключено.
6.1.1. При использовании конструктивных схем оснований из закрепленного грунта, изображенных на рисунках Б.1-Б.2 приложения Б, проектирование следует выполнять, исходя из следующий положений:
- в связи с тем, что закрепленные грунты по прочностным и деформационным свойствам занимают промежуточное положение между связными грунтами и полускальными, расчет по несущей способности (как правило) следует производить, принимая за основную характеристику расчетное значение временного сопротивления закрепленного грунта сжатию, а по деформациям - на основании действующих норм и положений для связных грунтов (см. СНиП 2.02.01, СП 50-101);
- расстояние между внутренними гранями соседних массивов из закрепленного грунта и толщина верхней подушки (см. рисунки Б.1 в, г, Б.2 приложения Б) должны назначаться с учетом результатов расчета укрепленного основания по предельным состояниям;
- грунт между закрепленными массивами следует рассматривать как естественный, способный к снижению своих прочностных и деформационных характеристик при увлажнении;
- прочностные и деформационные характеристики неоднородного основания в плане и по глубине следует вычислять как средневзвешенные с учетом физико-механических свойств и размеров закрепленного и незакрепленного грунта;
- при проектировании оснований в грунтовых условиях II типа по просадочности расчет по деформациям должен выполняться с учетом сил отрицательного трения по боковой поверхности закрепленных массивов.
6.1.2. Предварительные размеры основания из закрепленного грунта в плане определяются по формуле
В = b (2с + 1), (6.1)
где В - ширина закрепленного массива, м;
b - ширина фундамента здания или сооружения, м;
с - коэффициент, принимаемый по таблице 6.12 СП 50-101.
6.1.3. При определении размеров основания из закрепленного грунта в плане и назначении расстояний между местами погружения инъекторов или бурения скважин следует определять расчетный радиус закрепления
r = rи/m, (6.2)
где rи - радиус инъецирования, м;
m - коэффициент условий работы, учитывающий возможность уменьшения радиуса закрепления грунта на контакте с окружающим массивом при изменении гидрогеологических условий (см. табл. К.1, приложения К).
6.1.4. Радиус инъецирования rи назначается по значению коэффициента фильтрации грунта (см. таблицу 6.13 СП 50-101) и должен быть уточнен на стадии опытных работ в полевых условиях.
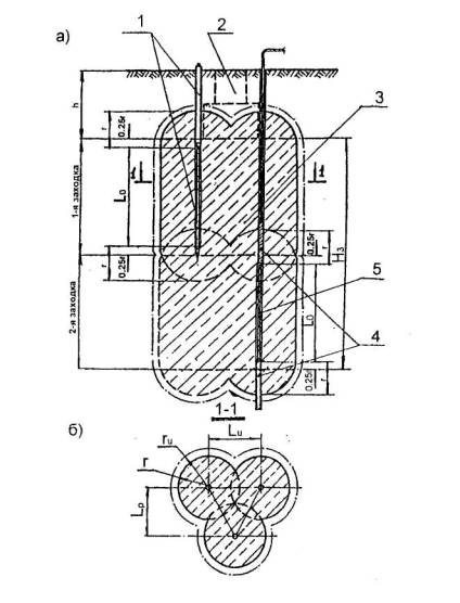
6.1.5. Для образования сплошного массива места погружения инъекторов или бурения скважин в плане следует располагать в шахматном порядке с учетом расчетного радиуса закрепления (см. рисунок 6.1). Расстояние между рядами определяется по формуле
Lp = 1,5r. (6.3)
Расстояние в ряду между местами погружения инъекторов
Lu = 1,73r. (6.4)
В отдельных случаях эти расстояния могут приниматься конструктивно.
6.1.6. Глубина заложения верхней части основания из закрепленного грунта должна приниматься не менее расчетной глубины промерзания.
6.1.7. Размеры закрепления по глубине должны приниматься кратными высоте заходки (см. рисунок 6.1), которая рассчитывается по формуле
H3=L0+0,5r, (6.5)
где L0 - длина перфорированной части инъектора или рабочей части скважины, принимаемая от 0,5 до 2,0 м. Высота заходки может корректироваться по данным опытных работ.
6.1.8. Расчет основания из закрепленного грунта по несущей способности при использовании конструктивных схем, изображенных на рисунках Б.1, Б.2 приложения Б, следует производить, исходя из условия
(6.6)
где
, - среднее приведенное давление от расчетных нагрузок,
определяемое по формуле
(6.7)
где
- давление по подошве
фундамента, т/м2;
А - площадь подошвы фундамента, м2;
Ак - площадь комплексного сечения, приведенная к закрепленному грунту и подсчитываемая по формуле
(6.8)
где Аз - площадь фундамента в месте опирания на закрепленный грунт, м2;
Ан - то же в месте опирания на незакрепленный грунт, м2;
Рsl- начальное просадочное давление грунта в уровне подошвы фундамента, т/м2;
γn - коэффициент надежности по назначению сооружения, принимаемый согласно указаниям п. 5.6 СП 50-101;
Rc - расчетное значение предела прочности закрепленного грунта на одноосное сжатие, равное
Rc = Rn m1m2, (6.9)
где Rn - среднее нормативное значение временного сопротивления образцов закрепленного грунта одноосному сжатию (см. приложение Д);
m1 - коэффициент условий работы, учитывающий снижение прочности закрепленного грунта при длительном воздействии водной среды и нагрузки, принимаемый по табл. К.2 приложения К;
m2 - коэффициент условий работы, учитывающий объёмное напряженное состояние и принимаемый по табл. К.3 приложения К.
а) по глубине; б) в плане;
1 - забивной инъектор; 2 - контур фундамента; 3 - зона закрепления; 4 - многотампонный инъектор; 5 - перфорированная труба
6.1.9. Для расчетов оснований из закрепленного грунта зданий и сооружений всех уровней допускается значения Сn φn и Е принимать по таблице Ж.2 приложения Ж.
6.2.1. Повышение несущей способности грунтов в основании фундаментов путем их армирования через направленные гидроразрывы производится твердеющими вспененными цементогрунтовыми растворами с использованием конструктивных схем, приведенных в приложении В.
6.2.2. Проектирование следует выполнять в следующей последовательности:
- выбирается способ и конструктивная схема армирования основания;
- определяются размеры армированного основания в плане и по глубине;
- назначаются параметры вспененных цемемтогрунтовых растворов;
- производится расчет усиленного основания по предельным состояниям с учетом степени армирования;
- рассчитываются объемы работ и расход материалов.
6.2.3. Параметры вспененных цементогрунтовых растворов, прочностные и деформационные характеристики цементогрунтового камня принимать согласно указаниям п.п. 5.2.2 и 5.2.5, а также п.п. В.5-В.7 приложения В.
6.2.4. Степень армирования задается в зависимости от необходимой несущей способности основания, схемы размещения армирующих элементов, прочности цементогрунтового камня, свойств уплотняемого грунта и рассчитывается по формуле
, (6.10)
где N - необходимая несущая способность основания, МПа;
R - расчетное сопротивление грунта между армирующими элементами, определяемое согласно СНиП 2.02.01, МПа;
Rц - прочность цементогрунта на одноосное сжатие, определяемая согласно ГОСТ 10180 либо принимаемая по таблице Ж.1 приложения Ж, МПа.
6.2.5. Расчет осадок основания, армированного элементами из цементогрунта, проводится согласно СНиП 2.02.01 с использованием средневзвешенного модуля деформации для армированного слоя грунта
(6.11)
где F - площадь расчетной ячейки под подошвой фундамента, м2;
FГ, Fэл - площадь грунта и цементогрунтового элемента в расчетной ячейке, м2;
EГ, Еэл - средний модуль деформации грунта и цементогрунтового элемента соответственно, МПа.
6.2.6. В случае, если средневзвешенный модуль деформации армированного слоя превышает 50 МПа, расчет по деформациям следует производить как для условного фундамента, ограниченного габаритными размерами армированного основания.
6.2.7. При учете степени уплотнения грунтового массива между армоэлементами в формуле (6.11) значения EГ FГ могут заменяться па соответствующие параметры уплотненного грунта.
6.2.8.В лессовых просадочных грунтах II типа, с целью восприятия сил нагружающего трения, армированные массивы должны выполняться с отрезным контурным рядом из армоэлементов или буронабивных свай либо с выносом крайних рядов армоэлементов за грани фундаментов. В случае отсутствия выноса армоэлементов или отрезного ряда необходимо выполнить расчет армированного массива по деформациям как условного фундамента с учетом нагружающего трения.
6.3.1. При укреплении грунта в основании плитных, ленточных и столбчатых фундаментов нагнетание растворов следует вести через трубки, устанавливаемые в теле фундамента, согласно положениям п. 5.3.
6.3.2. Конструктивные схемы закрепления через инъекционные трубки приведены на рисунках 6.2 и 6.3:
- схему I следует применять, как правило, для плитных фундаментов при возможности размещения трубок по сетке:
- схема II наиболее предпочтительна при укреплении хорошо проницаемых лессовых просадочных грунтов большой мощности.
6.3.3. В качестве трубок могут быть использованы трубки из стали, пластмассы или асбестоцемента Ø 80-100 мм. Установка трубок производится при монтаже арматуры фундаментов. С целью исключения попадания бетона внутрь трубок они заполняются мятой глиной либо закрываются пленкой.
1 - плита; 2 - инъекционные трубки; 3 - закрепленный массив; 4 - подготовка
Рис. 6.2. Схема I - закрепление грунтов через инъекционные, трубки, устанавливаемые в теле фундамента
1 - плита; 2 - ребра; 3 - секции, заполненные дренажным материалом; 4 - лидерные скважины; 5 - инъекционные трубки; 6 - закрепленный массив
6.3.4. Контроль качества укрепления под плитой следует всеми по анализу проб грунта нарушенной либо ненарушенной структуры, отбираемых из скважин, проходимых выборочно через любую инъекционную трубку. За пределами плиты - из шурфов или скважин, в том числе при опытных работах.
6.3.5. При закреплении по схеме II. в качестве дренажного материала рекомендуется использовать, щебень фракции 10 - 20 мм без примеси песка и глинистого заполнителя.
6.3.6. Лидерные скважины Ø 80-200 мм размещают таким образом, чтобы обеспечивалось сплошное закрепление грунта. Размеры секции и ребер назначаются конструктивно в зависимости oт формы и размеров фундамента. Площадь каждой секции следует принимать не более 4-9 м2 с учетом глубины закрепления и производительности оборудования, используемого для приготовления и нагнетания крепящего раствора.
6.3.7. При проектировании укрепления грунта в основании плитных, ленточных и столбчатых фундаментов рекомендуется изменять параметры закрепления по глубине (по заходкам) с учетом изменения напряжении ниже подошвы фундамента в пределах закрепляемого слоя.
6.4.1. Выбор конструктивных схем, геометрических и рецептурно-технологических параметров закрепления, а также определение прочностных и деформационных характеристик закрепленного груша в основании свай-инъекторов следует производить согласно п. 5.4 и приложению Г.
6.4.2. Для расчетов несущей способности и осадок свай для зданий и сооружений допускается значения Сn, φn и Е принимать в зависимости от Rn по таблице Ж.2 приложения Ж.
6.4.3. Плотность раствора силиката натрия при укреплении грунтов в основании свай способом силикатизации следует назначать в соответствии с указаниями п. Б.5 приложения Б.
6.4.4. Проектирование необходимо выполнять в следующей последовательности:
- выбирается способ закрепления и тип свайного фундамента;
- назначаются форма и размеры полости для инъецирования;
- рассчитываются геометрические параметры основания из закрепленного грунта ниже пяты сваи;
- определяются рецептурно - технологические параметры закрепления с учетом необходимости достижения требуемых прочностных и деформационных характеристик закрепленного грунта в основании сваи;
- производится расчет свай, опирающихся на закрепленное основание, по предельным состояниям с учетом требований СНиП 2.02.03, СП 50-102 и корректируются, в случае необходимости, параметры крепящих растворов;
- подсчитываются объемы работ и расход материалов.
6.4.5. Геометрические параметры основания из закрепленного грунта ниже пяты сваи рассчитываются с учетом размеров полости для инъецирования. При этом ствол сваи должен вводиться в закрепленный массив на глубину, определяемую согласно указаниям СНиП 2.02.03, но не менее радиуса закрепления.
6.4.6. Расстояние между осями свай-инъекторов при формировании куста назначают из условия смыкания зон закрепления (рисунок 6.4).

Рис. 6.4. Схема размещения свай-инъекторов при формировании куста
6.5.1. Основания, армированные буронабивными элементами, рассчитываются по двум группам предельных состояний:
а) первой группы: по прочности материала элементов; по несущей способности грунтов основания элементов (в случаях, указанных в п. 2.3 СНиП 2.02.01, исключая передачу на элементы горизонтальных сил);
б) второй группы - по деформациям (во всех случаях).
6.5.2. Расстояние между осями буронабивных элементов определяется из условия:
σzmax < Lc, (6.12)
где σz - вертикальные напряжения на глубине z от подошвы фундамента в просадочном грунте армированного основания, возникающие под действием собственного веса, определяемые по п. 6.5.3;
Psl - начальное просадочное давление грунта естественного сложения на глубине z от подошвы фундамента.
6.5.3. Вертикальные напряжения σz определяются по формуле
(6.13)
где P11 - осредненное по глубине просадочной толщи расчетное значение плотности водонасыщенного грунта, кН/м3;
с11 - осредненное по глубине просадочной толщи расчетное значение удельного сцепления водонасыщенного грунта, кПа;
φ11 - осредненное по глубине в пределах просадочной толщи расчетное значение угла внутреннего трения водонасыщенного грунта, град.;
ξ - коэффициент бокового давления просадочного грунта, принимаемый равным 0,4 - для супесей, 0,5 - для суглинков;
z - глубина от подошвы фундамента сооружения, м.;
(6.14)
где D - диаметр элемента, м;
bр ,Lc - расстояние между рядами и между элементами в ряду, м.
6.5.4. Длину армирующих элементов назначают по указаниям п. 7.10 СНиП 2.02.03 с соблюдением условия полной прорезки элементами просадочных грунтов и других слабых напластований.
6.5.5. Глубина заделки элементов hmt ниже глубины зоны просадок hsl; (рисунок 6.5) определяется по формуле
(6.15)
hsl > 4 м
6.5.6. Расчет оснований, армированных буронабивными элементами, по деформациям производится исходя из условия
Sp ≤ Sи, (6.16)
где Sp - совместная деформация армированного основания и сооружения, определяемая расчетом по п. 6.5.7:
Sи - предельное значение совместной деформации армированного основания и сооружения, устанавливаемое по указаниям п.п. 2.51-2.55 СНиП 2.02.01.

1 - армирующие элементы; 2 - границы условного фундамента
6.5.7. Расчет деформаций армированного основания отдельного фундамента производится как для условного фундамента на естественном основании. Границы условного фундамента (рисунок 6.5) определяются следующим образом;
- снизу плоскостью, проходящей через нижние концы элементов;
- с боков - вертикальными плоскостями, отстоящими от наружных граней крайних рядов элементов, расположенных под подошвой фундамента сооружения на расстоянии
(6.17.)
где φ11mt средневзвешенное значение угла внутреннего трения в пределах высоты hmt.
6.5.8. Осадка основания условного фундамента шириной bi < 10 м определяется по формуле
где β безразмерный коэффициент, принимаемый равным 0,8;
n число слоев, на которое разбито основание от подошвы условного фундамента до нижней границы сжимаемой толщи;
hi - толщина i-го слоя, см;
Еi - модуль деформации грунта основания в i-м слое, кПа:
σzуpi - среднее значение дополнительного вертикального напряжения, определяемое по п. 6.5.9, в i-м слое под подошвой условного фундамента, равное полусумме указанных напряжений на верхней zу?; и нижней zуi границах слоя, кПа.
6.5.9. Дополнительное вертикальное напряжение на глубине z от подошвы условного фундамента σzур определяется по (формуле
σzур = αр0v, (6.19)
где α - коэффициент, принимаемый по таблице 1 прил. 2 СНиП 2.02.01;
Роv - дополнительное к природному вертикальное давление по подошве условного фундамента, определяемое но формуле
(6.20)
где Gу - собственный вес условного фундамента сооружения, включая вес элементов и грунта в объеме условного фундамента, кН;
N - внешняя сила, нормальная к подошве фундамента, с учетом веса фундамента и грунта на его обрезах, кН;
Аv - площадь подошвы условного фундамента, м2;
σzуg - природное (бытовое) давление по подошве условного фундамента, кПа.
6.5.10. Осадка основания Sv условного фундамента шириной (диаметром) bv ≥ 10 м при модуле деформации подстилающего слоя Еi ≥ 10 МПа определяется по формуле
(6.21)
где рvo - среднее дополнительное к природному давление по подошве условного фундамента, кПа;
kc и km - коэффициенты, принимаемые по табл. 2 и 3 прил. 2 СНиП 2.02.01:
ki и ki-1 коэффициенты. определяемые по табл. 4 прил. 2 СНиП 2.02.01;
Еi - модуль деформации i-го слоя грунта, МПа.
6.5.11. При расчете осадок основания условного фундамента по формуле (6.18) и (6.21) среднее давление под подошвой условного фундамента не должно превышать расчетное сопротивление грунта основания R, кПа, определяемое по формуле (7) СНиП 2.02.01.
6.5.12. При устройстве армирующих элементов в грунтовых условиях i-гo типа по просадочности допускается учитывать передачу нагрузки от фундамента на условный фундамент и частично на грунты под фундаментом с глубиной заложения подошвы, равной d. Осадка армированного основания при этом получается суммированием осадки грунтов под условным фундаментом и осадки грунтов под фундаментом на естественном основании, для которого должно выполняться условие
σzp +σzg ≥Psl (6.22)
где σzp αpo - дополнительные напряжения по вертикали, проходящей через центр подошвы фундамента на глубине z от подошвы, ниже глубины d, кПа:
σzg - вертикальные напряжения на глубине z от собственного веса водонасыщенного грунта, кПа;
Рsl - начальное просадочное давление на глубине z, кПа.
6.5.13. Расчет армированного основания по прочности армирующих грунт элементов производится из условия
σэmax ≤ Rэ (6.23)
где Rэ - расчетное сопротивление материала элемента на одноосное сжатие, определяемое согласно ГОСТ 10180, кПа;
σэmax - максимальное напряжение, кПа, в элементе на нижней границе просадочной толщи от совместного действия внешней нагрузки, собственного веса элемента и сил нагружающего трения, определяемое по формуле
(6.24)
где Nc - внешняя вертикальная сила от расчетных нагрузок на один элемент. кН;
Аэ - площадь поперечного сечения элемента, м2;
рэ - плотность материала элемента. кН/м3;
h - длина элемента, м:
hmt - расстояние от нижнего конца элемента до глубины hsl, м;
рsl - начальное проcадочное давление на нижней границе просадочной толщи, кПа:
р1 - средневзвешенное значение плотности просадочного грунта в водонасыщенном состоянии, кН/м3, от подошвы фундамента до глубины hsl.
6.5.14. Для элементов из бетона (тяжелого и мелкозернистого)
Rэ = Rb γb2 γb3 γb9. (6.25)
где Rb - расчетное сопротивление при осевом сжатии, кПа. Значения Rb определяют по СНиП 52-01 и СП 52-101;
γb2 γb3 γb9 - коэффициенты условий работы бетона, учитывающие длительность действия нагрузки, бетонирование в вертикальном положении и применение бетонных конструкций, принимаемые по СП 52-101 (п.5.1.9, 5.1.10 ).
6.5.15. Расчет оснований, представленных слабыми, сильносжимаемыми грунтами, армированными буронабивными элементами, производится согласно методике, приведенной в приложении Л.
Основание сооружения: часть массива грунта, непосредственно воспринимающая нагрузку от сооружения.
Фундамент сооружения: часть сооружения, которая служит для передачи нагрузки от сооружения на основание.
Основания и фундаменты повышенной несущей способности: основания и фундаменты, способные воспринимать и передавать повышенные нагрузки от сооружения за счет улучшения геотехнических характеристик природных грунтов различными способами.
Направленный гидроразрыв: вертикальный разрыв пласта в заданном направлении давлением крепящего раствора с использованием концентратора напряжения на стенке скважины либо путем одновременного подъема давления в двух параллельных скважинах.
Геохимический барьер: часть массива грунта, преобразованная инъекцией раствора с образованием завесы либо экрана с заданными свойствами, препятствующая миграции химических реагентов в определенном направлении за счет химических реакций, ионообмена и сорбции.
Шнек-ннъектор: инъекционное устройство, шнековая часть которого оборудована отверстиями для подачи раствора через полые штанги в процессе бурения.
Mноготампонный ннъектор: инъектор для закрепления грунтовой толщи с слоями разной проницаемости, оборудованный запорными устройствами (пакерами), установленными на границах этих слоев, и имеющий на трубах между ними калиброванные в соответствии с проницаемостью слоев инъекционные отверстия.
Инъектор с резцом: инъектор переменного сечения, на пике которого установлен резец треугольной формы, при погружении нарезающий концентратор напряжения на стенке скважины в пределах зоны нагнетания.
Свая-инъектор: забивная или буронабивная свая, в стволе которой установлена инъекционная трубка для подачи крепящего раствора с целью укрепления грунта ниже ее пяты.
Емкость поглощения: величина, количественно выражающая способность жидкой и твердой фаз грунта взаимодействовать с растворами щелочи или кислоты.
Б.1. Конструктивные схемы усиления грунтов основания фундаментов инъекцией химических растворов приведены на рисунке Б.1, Б.2.

а) сплошное закрепление; 6) с разрывом по вертикали; в) стаканного типа; г) с разрывом по горизонтали
а) армирование опорами: б) опорами с устройством в верхней части плиты
1 - фундамент; 2 - опоры из закрепленного грунта; 3 - плита из закрепленного грунта
Б.2. Схемы, изображенные на рисунках Б.1 а, б, в, рекомендуются для сооружений, возводимых в грунтовых условиях I и II типа по просадочности, а схема Б.1 г - при наличии непросадочного слоя в середине просадочной толщи.
Б.3. Схему Б.1 б следует применять, как правило, для существующих сооружений в случае невозможности бурения скважин в теле фундамента, а Б.1 в - при площади столбчатого фундамента более 10 м2.
Б.4. На рисунке Б.2 даны схемы, которые следует использовать при ликвидации просадочных свойств грунтов II типа армированием просадочной толщи опорами из грунта, закрепленного химическим способом, и расположенными по сетке.
Б.5. Плотность крепящего раствора силиката натрия следует назначать в зависимости от необходимого значения временного сопротивления закрепленного грунта сжатию
где γ - проектная плотность раствора силиката натрия, г/см3;
γ1, γ2 - плотность раствора силиката натрия, обеспечивающая в лабораторных или полевых условиях среднее расчетное значение временного сопротивления грунта сжатию Rγ1 и Rγ2 в пределах расчетного радиуса закрепления, г/см3;
Rc - расчетное значение предела прочности закрепленного грунта на одноосное сжатие.
Б.6. Количество раствора силиката натрия проектной плотности, необходимое для закрепления грунта в пределах одной заходки, определяется по формуле
Q3 = πrII2h3QγKl, (Б.2)
где Qγ - количество раствора крепителя, необходимое для закрепления 1 м3 грунта, литров;
К1 - коэффициент надежности, учитывающий неоднородность пористости и влажности грунта в пределах площадки и равный 1,1.
Б.7. Объём закрепленного грунта определяется по формуле
V0 = πrII2h3M n, (Б.3)
где М - количество мест инъецирования;
n - количество заходок.
Б.8. Объём контрольного закрепления грунтов Vк следует принимать в размере 0,5-1,0 % от объёма закрепления V0, м2
V = V0 + Vk (Б.4)
Б.10 Расход силиката натрия на общий объем закрепления определяется по формуле
(Б5)
где Qγ,K1 - то же, что и в формуле Б.2;
К2- коэффициент, учитывающий транспортные потери и равный 1,05;
α - коэффициент пересчета проектной плотности крепящего раствора на стандартную γ0. равную 1,4 г/см3 по ГОСТ 13079
(Б.6)
γв - плотность воды, г/см3;
γ - то же, что и в формуле Б.1.
Расход прочих материалов следует подсчитывать согласно действующим нормам или опытным данным.
В.1. При разработке проектов усиления оснований фундаментов с использованием способа направленного гидроразрыва могут применяться различные конструктивные схемы армирования основания в зависимости от типа фундамента, грунтовых условий и решаемых задач (рис. В.1).

а) для плитного фундамента; б) столбчатого; в) круглого; г) ленточного
1 - скважина; 2 - зона уплотнения; 3 - армоэлемент из цементогрунта; 4 - концентратор напряжения
В.2. Схемы армирования, приведенные на рисунке, следует применять для зданий и сооружений, возводимых:
- на плитных фундаментах и фундаментах в виде широких лент (рис. В.1 а);
- на столбчатых фундаментах разной формы (рис. В.1 б, в);
- на ленточных фундаментах, в том числе при усилении грунтов в основании аварийных здании и сооружений (рис. В.1 г).
В.3. Для увлажнения, уплотнения и армирования грунтового основания следует применять вспененные цементогрунтовые растворы следующего состава (% от твердой фазы): цемент - 10 - 70: грунт - 90 - 30: ПАВ - 0.05 (см. п.5.2.2).
В.4. Количество воды, необходимое для приготовления раствора, рассчитывается по формуле, учитывающей доведение массива до оптимальной влажности.
(В.1)
где Qw - количество воды, необходимое для приготовления твердеющего раствора с учетом замачивания до оптимальной влажности wonm массива грунта объема Vг, м3;
0,5 - весовое соотношение воды и твердой фазы уплотняющего и армирующего раствора, д. е.;
Рmф - вес твердой фазы раствора, необходимый для уплотнения и армирования грунтового массива объёмом Vг, т;
ρw - плотность воды, равная 1,0, т/м3;
ρck - плотность сухого грунта уплотняемого массива в пределах площадки, т/м3;
w - влажность грунта уплотняемого массива, д. е.
В.5. В качестве грунтовой составляющей следует использовать супеси и суглинки с числом пластичности 5-14, в качестве вспенивателя - биоразлагаемые ПАВ.
В.6. Высоту заходки следует принимать 1,5-4,0 м в зависимости от однородности свойств грунтового массива по проницаемости, применяемой оснастки и имеющегося оборудования.
В.7. Длину разрыва в плане при проектировании, как правило, следует назначать равной высоте заходки но не более 3,0-3,5 м при толщине армоэлемента 5-10 см.
Г.1. Конструктивные схемы, изображенные на рисунке Г.1, следует применять в грунтовых условиях I и II типа просадочности при необходимости повышения несущей способности буронабивных и забивных свай.

а) в основании забивной сваи; б) в основании буронабивной сваи
1 - забивная свая; 2 - буронабивная свая; 3 - вентиль; 4 - нагнетательная труба;
5 - закрепленный грунт; 6 - пространственная система из цементного камня; 7 - лидерная скважина
Г.2. На рисунке Г.1,а приведена схема возведения забивной сваи с выполнением закрепления до возведения ствола сваи согласно указаниям п. 5.4.
Г.3. Схему, приведенную па рисунке Г.1,б, следует применять, при выполнении инъекционных работ через инъекционную полость после возведения ствола сваи согласно указаниям п.п. 5.4.3-5.4.5.
Г.4. Геометрические параметры закрепленного массива в основании свай-инъекторов при разной форме полости инъецирования приведены на рис. Г.2.
а) шаровая; б) цилиндрическая; в) фигурная
1 - ствол сваи; 2 - полость для инъецирования с дренажным материалом; 3 - закрепленный массив
Г.5. Определение геометрических параметров при проектировании производится в следующей последовательности:
- задаются диаметром ствола сваи;
- по данным инженерно-геологических изысканий назначают радиус закрепления r и высоту полости инъецирования l. Радиус инъецирования назначают по коэффициенту фильтрации грунта согласно СП 50-101, а высоту полости инъецирования - конструктивно;
- определяют геометрические размеры закрепленного массива, используя одну из схем, приведенных на рисунке Г.2.
Г.6. Рецептурно-технологические параметры включают:
γ - рабочую плотность раствора силиката натрия, г/см3;
γц - то же цементного раствора, г/см3;
Qγ - объём раствора крепителя на 1 м3 закрепления, л;
Qц - объем цементного раствора при цементации полости ниже пяты сваи, л на 1 м3 дренажного материала;
Р - давление при нагнетании раствора силиката натрия, MПa;
Рц - то же при нагнетании цементного раствора, МПа.
Определение рецептурно-технологических параметров производят в соответствии с указаниями п. Г.8.
Г.7. На стадии инженерно-геологических изысканий должны быть определены в лабораторных либо полевых условиях следующие прочностные и деформационные характеристики закрепленного грунта:
Rс - расчетное сопротивление закрепленного грунта одноосному сжатию, MПa;
с - удельное сцепление, MПa;
φ - угол внутреннего трения, град.;
Е - модуль общей деформации, MПa.
Г.8. Для выяснения возможности закрепления грунтов и уточнения необходимых для проектирования характеристик по п.п. Г.6, Г.7 следует выполнить комплекс лабораторных исследований, включающий лабораторное закрепление грунтов и их испытание (приложение Д), а также опытные полевые работы по отработке режимов нагнетания рабочих растворов ниже пяты свай.
Г.9. Несущая способность свай-инъекторов может быть уточнена (в случае необходимости) по результатам полевых испытании согласно указаниям п. 5 СНиП 2.02.03 и п. 7.3 СП 50-102.
Г.10. Количество раствора силиката натрия, необходимое для закрепления грунта в основании одной сваи,
где V3 - объем закрепления, определяемый с учетом геометрической формы закрепляемого массива в основании сваи, м3;
Qγ - расход раствора на 1 м3 закрепления, л;
Kl - коэффициент, учитывающий неоднородность пористости и влажности грунта в пределах площадки и равный 1,1.
Г.11. Расход силиката натрия на общий объем закрепления рассчитывается по формуле
, (Г.2)
где Q1 - то же, что в формуле Г.1, л/м3;
М - общее количество свай, шт.;
К2 - коэффициент, учитывающий транспортные потери и равный 1,05;
α - коэффициент пересчета проектной плотности крепящего раствора на стандартную γо, равную 1,4 г/см3 (см. п.Б.10).
Г.12. Количество цементного раствора для цементации полости
, (г.3)
где Vц - объем полости для инъецирования, м3;
Qц - расход цементного раствора на 1 м3 полости с учетом крупности дренажного материала, л.
Г.13. Объем закрепления по объекту
V0=V3M, (Г.4)
где V3 - то же, что в формуле Г.1;
М - общее количество свай, шт.
Д.1. В основу методики заложено исследование процесса закрепляемости грунта при воздействии на него растворов силиката натрия различной концентрации и последующем прогнозировании прочностных характеристик закрепленных грунтов в пределах проектного радиуса инъецирования при использовании крепителя рабочей плотности в условиях плоскорадиальной фильтрации.
Д.2. Лабораторное закрепление грунтов выполняется на приборе, предназначенном для закрепления образцов естественной структуры, цилиндрической формы (диаметром и высотой 50 мм), набираемых в блок, равный по высоте проектному радиусу закрепления. Моделирование плоскорадиальной фильтрации производится за счет слива расчетного объема фильтрата при пропускании крепителя через специальные устройства, установленные между образцами в блоке.
Д.3. Компонентный анализ исходных растворов силиката натрия и порций фильтрата производится титрованием их 0,5N раствором НСl, либо определением показателя преломления n на рефрактометре с последующим установлением концентрации (Cna2O·SiO2) по калибровочной зависимости «n-CNa2O·SiO2».
Д.4. Порядок операций при выполнении работ приведен на рисунке Д.1:
1. Из монолитов грунта площадки отбираются в кольца образцы ненарушенной структуры стандартных размеров (d = h = 5,0 см). Для каждой плотности раствора отбирается по три образца.
2. Через отдельные образцы в 3-кратной повторности при выбранных условиях инъецирования пропускается одинаковый объем раствора силиката натрия разной плотности, позволяющий достичь максимального закрепления.
3. Определяется объем раствора (V0), необходимый для насыщения единицы объема грунта.
4. В процессе фильтрации раствора через отдельные образцы производится сбор порций фильтрата, измерение плотности исходных растворов и всех порций фильтрата и их анализ с целью определения изменения концентрации компонентов силикатного раствора.
5. По результатам анализа рассчитывают динамическую емкость Ед, характеризующую поглотительную способность грунта по отношению к раствору крепителя. Динамическая емкость поглощения вычисляется по формуле
(Д.1)
где i - номер порций фильтрата;
Vi,
- объем порций исходного раствора и
фильтрата, мл;
co,
- концентрация
катионов натрия в исходном растворе и фильтрате, мг/мл;
q - вес образца грунта до закрепления, г;
23 - миллиграмм - эквивалентный вес катионов натрия, мг;
w - влажность закрепляемого грунта, доли ед.
Рис. Д.1. Схема выполнения операций при лабораторном закреплении
6. В возрасте 28 сут. производится испытание образцов закрепленного грунта с определением временного сопротивления образцов одноосному сжатию Rп согласно ГОСТ 12248.
7. На основании экспериментальных данных строятся графические зависимости Δγ = f(γ, V); Ед = f(γ, V); Rn = f(Ед), позволяющие уточнить для выбранной площадки изменение различных параметров.
8. Выбирается толщина слоя l для радиальной оценки Rn при закреплении массива радиусом r и рассчитываются объемы крепителя, необходимые для обработки единицы объема грунта каждого слоя в условиях плоскорадиальной фильтрации:
(Д.2)
где ![]()
r - радиус закрепления, см;
rн - радиус рабочей части скважины, см;
V0 - объем раствора силиката натрия, необходимый для насыщения грунта в объеме стандартного образца, мл.
9. При каждой исходной плотности раствора силиката натрия по значениям Vn и графическим зависимостям Δγ = f(γ, V); Ед = f(γ, V); Rn = f(Ед) определяется закрепляемость грунта в радиальном направлении.
10. Рассчитывается количество крепителя, необходимое для закрепления 1 м3 грунта, по формуле
(д.3)
где Qγ - объем раствора, необходимый для закрепления 1 м3 грунта, л;
V0 - объем раствора силиката натрия, необходимый для насыщения грунта в объеме стандартного образца, мл;
VГ - объем стандартного образца, см3.
|
Сод. цем. |
Кол-во |
Кол-во |
Кол-во |
Количество воды, л. для затворения |
Параметры грунтовой суспензии |
||||
|
цемента |
грунта |
всего |
соот. Г : В |
объем, л |
γ, г/см3 |
||||
|
10 |
10,6 |
95,0 |
0,06 |
5 |
65 |
70 |
1,46 |
93 |
1,45 |
|
20 |
21,2 |
84,2 |
0,06 |
10 |
60 |
70 |
1,40 |
89 |
1,43 |
|
30 |
31,8 |
73,6 |
0,06 |
15 |
55 |
70 |
1,34 |
84 |
1,41 |
|
40 |
42,4 |
63,0 |
0,06 |
20 |
50 |
70 |
1,27 |
78 |
1,40 |
|
50 |
53,0 |
52,4 |
0,06 |
25 |
45 |
70 |
1,16 |
74 |
1,38 |
|
60 |
63,6 |
41,8 |
0,06 |
30 |
40 |
70 |
1,05 |
73 |
1,36 |
|
70 |
74,2 |
31,2 |
0,06 |
35 |
35 |
70 |
0,89 |
64 |
1,35 |
Примечание. В качестве грунтовой составляющей использованы суглинки с числом пластичности 12, в качестве вяжущего - цемент марки 400.
Ж.1. Характеристики грунтов, приведенные в таблицах Ж.1, Ж.2, допускается использовать в расчетах оснований сооружений в соответствии с указаниями п. 5.3.17 СП 50-101.
Таблица Ж.1 - Нормативные значения сn, φn, Е и Rц цементогрунта
|
№ п/п |
Состав |
Прочность на одноосное сжатие Rц, МПа |
Модуль упругости, Е·103, МПа |
сn, МПа |
φn град. |
||
|
цемент, % от т.ф. |
ПАВ, % от т.ф. |
соотношение в: т.ф. |
|||||
|
1 |
10 |
0,05 |
0,5 |
0,80 |
0,50 |
0,12 |
38,0 |
|
2 |
20 |
0,05 |
0,5 |
1,15 |
0,70 |
0,18 |
44,0 |
|
3 |
30 |
0,05 |
0,5 |
3,25 |
1,16 |
0,31 |
45,0 |
|
4 |
40 |
0,05 |
0,5 |
5,23 |
1,75 |
0,74 |
48,2 |
|
5 |
50 |
0,05 |
0,5 |
6,90 |
2,53 |
1,11 |
50,0 |
|
6 |
60 |
0,05 |
0,5 |
7,70 |
3,49 |
1,22 |
50,5 |
|
7 |
70 |
0,05 |
0,5 |
8,20 |
4,62 |
1,23 |
51,0 |
Примечания:
1. Прочность на одноосное сжатие Rц и значение модуля упругости Е определены соответственно в соответствии с ГОСТ 10180 и ГОСТ 24452.
2. Значение коэффициента Пуассона для цементогрунта по данным испытаний изменяется в пределах 0,21-0,23.
Таблица Ж.2 - Нормативные значения сn, φn, Е и v грунтов, закрепленных способом силикатизации
|
Грунты |
Обозначение характеристики |
Значение характеристик закрепленных грунтов при их прочности Rn, МПа |
||||||
|
0,4 |
0,5 |
0,6 |
0,7 |
0,8 |
1,0 |
1,2 |
||
|
Супеси |
сn, МПа |
0,047 |
0,056 |
0,065 |
0,073 |
0,086 |
0,096 |
0,110 |
|
φn, град. |
24 |
25 |
26 |
28 |
30 |
35 |
40 |
|
|
Е, МПа |
42 |
53 |
65 |
75 |
85 |
100 |
120 |
|
|
v, д. е |
0,35 |
0,30 |
0,30 |
0,30 |
0,25 |
0,25 |
0,20 |
|
|
Суглинки |
сn. МПа |
0,040 |
0,050 |
0,061 |
0,068 |
0,075 |
0,090 |
0,095 |
|
φn, град. |
24 |
26 |
28 |
30 |
32 |
34 |
38 |
|
|
Е, MПa |
38 |
50 |
60 |
70 |
80 |
95 |
115 |
|
|
v, д. е |
0,35 |
0,30 |
0,30 |
0,25 |
0,25 |
0,20 |
0,20 |
|
И.1. Природный грунт из монолитов естественного сложения отбирается в сдвиговые и компрессионные кольца, которые после определения основных физико-механических характеристик помещаются в уплотнитель, нагружаются бытовым давлением и, с фиксацией деформаций индикаторами часового типа, выдерживаются в течение суток.
И.2. Через сутки грунт заливается водой и в течение 30 минут подвергается воздействию давления, равного давлению инъекционного раствора при гидроразрыве (Рнагн = 0,3-0,5 МПа), с замером деформаций по индикаторам.
И.3. Через 30 минут 2 кольца разгружаются до Рi = 0,1-0,2 МПа, а третье остается под максимальной нагрузкой Рнагн в течение суток. Показания индикаторов фиксируются. Для каждого Рнагн, должно быть использовано не менее девяти колец (трехкратная повторность для Рi). Через сутки кольца разгружаются, взвешиваются и производится определение Е, сn и φn в соответствии с ГОСТ 12248.
И.4. По значениям деформаций Δh, прочностным характеристикам (с, φ) и значениям Е строятся зависимости:
Δh - Pнагн., ρск - Pнагн., cn - Pнагн., φn - Pнагн.; cn - ρск.
E - Δh, E - Pнагн., E - ρск.
И.5. Полученные характеристики сравниваются с аналогичными для природного грунта и производится оценка уплотняемости грунтового массива под воздействием давления направленного гидроразрыва.
|
Прогнозируемая степень влажности окружающего грунта |
Уровень ответственности сооружения |
||
I |
II |
III |
|
|
0,65-0,75 |
1,05 1,10 |
1,0 1,05 |
1,0 1,0 |
|
0,76-0,85 |
1,10 1,15 |
1,05 1,10 |
1,0 1,05 |
|
0,86-1,0 |
1,15 1,20 |
1,10 1,15 |
1,05 1,10 |
Примечания:
1. В числителе приведены значения m для газовой силикатизации, в знаменателе - для силикатизации.
2. При степени влажности менее 0,65 коэффициент принимать равным 1,0.
Таблица К.2 - Значения коэффициента условий работы m1, учитывающего снижение прочности закрепленного грунта при длительном воздействии водной среды и нагрузки
|
Способ закрепления грунта |
Степень минерализации грунтовой воды, г/л |
Значение m1 при прогнозируемой степени влажности окружающего грунта |
||||
|
≥0,95 |
0,85 |
0,75 |
0,65 |
≤0,55 |
||
|
Силикатизация |
≤0,5 |
0,45 |
0,52 |
0,60 |
0,63 |
0,70 |
|
1,0 |
0,52 |
0,60 |
0,65 |
0,70 |
0,75 |
|
|
2,0 |
0,60 |
0,66 |
0,70 |
0,74 |
0,78 |
|
|
≥3,0 |
0,64 |
0,70 |
0,74 |
0,78 |
0,80 |
|
|
Газовая силикатизация |
≤0,5 |
0,55 |
0,62 |
0,70 |
0,75 |
0,80 |
|
1,0 |
0,65 |
0,70 |
0,75 |
0,80 |
0,85 |
|
|
2,0 |
0,73 |
0,75 |
0,80 |
0,85 |
0,88 |
|
|
≥3,0 |
0,75 |
0,80 |
0,84 |
0,87 |
0,90 |
|
Таблица К.3 - Значения коэффициента условий работы m2, учитывающего объемное напряженное состояние закрепленного грунта
|
Боковое давление, Рбок, МПа |
Значения m2 |
|
|
для R |
для Е |
|
|
0,0 |
1,00 |
1,00 |
|
0,05 |
1,12 |
1,10 |
|
0,10 |
1,25 |
1,20 |
|
0,15 |
1,40 |
1,30 |
|
0,20 |
1,60 |
1,55 |
|
0,25 |
1,80 |
1,75 |
Л.1. Основания, представленные слабыми, сильносжимаемыми, в том числе водонасыщенными грунтами, и армированные буронабивными элементами, рассчитываются по двум группам предельных состояний в следующей последовательности:
- назначаются диаметр и, в соответствии с п. 7.10 СНиП 2.02.03, длина буронабивного элемента;
- определяется несущая способность Fd по грунту и расчетная нагрузка Р, допускаемая на элемент, рассматриваемый как буронабивная свая, в соответствии с п. 3.10 СНиП 2.02.03;
- назначаются расстояния между буронабивными элементами и их количество n, исходя из передачи части давления по подошве фундамента на грунт между элементами в пределах его расчетного сопротивления.
Для этого определяют:
- расчетную нагрузку N1, кН, воспринимаемую назначенным количеством элементов:
N1 = p n, (JI.1)
- среднее давление по подошве фундамента, эквивалентное N1, кПа,
(Л.2)
где А - площадь подошвы фундамента, м2.
Л.2. Среднее давление, передающееся по подошве фундамента на грунт между буронабивными элементами, определяем по формуле
p2 = p – р1 ≤ R, (Л.3)
где р - полное давление по подошве фундамента, кПа;
R - расчетное сопротивление грунта основания по СНиП 2.02.01.
Л.3. При невыполнении условия по формуле Л.3 количество буронабивных элементов увеличивается и, соответственно, уменьшается расстояние между ними. Затем:
- проверяется прочность армирующего элемента;
- определяется расчетное сопротивление грунта R под подошвой условного фундамента по СНиП 2.02.01. При давлении по подошве условного фундамента р3 ≤ R вычисляется средняя осадка условного фундамента S1, включающего армирующие элементы, грунт и фундамент с давлением по подошве р1;
- вычисляется средняя осадка грунтового основания S2 от среднего давления по подошве фундамента р2;
- проверяется условие S1 > S2 , при котором грунт между армирующими элементами включается в работу армированного основания;
- определяется средняя осадка армированного грунтового основания Sу, как условного масcива, включающего буронабивные элементы, грунт и фундамент, при действии по его подошве среднего давления
py = p1+p2 ≤ R; (Л.4)
- проверяется выполнение условия Sу ≤ Sи.
1. Аскалонов В.В. Силикатизация лессовых грунтов. М.: Госстройиздат, 1959.
2. Ананьев В.П., Исаев Б.Н., Зеленский В.Ю., Шувалова Л.П. Силикатизация лессовых грунтов. Ростов-на-Дону: РГУ, СКНЦ ВШ, 1985.
3. Бабаян В.Р., Белоключевский В.В., Рыбасов A.M. О подготовке оснований и устройстве фундаментов на просадочных грунтах при строительстве зданий в условиях плотной городской застройки. Труды VI школы-семинара НИИМ и ПМ РГУ. г. Ростов-на-Дону. 1996.
4. Бабаян В.Р., Щербаченко И.И. Вычислительная программа «Профиль» для моделирования влаго и массопереноса в пористых средах. Труды VI школы-семинара НИИМ и ПМ РГУ. Ростов-на-Дону. 1996.
5. Бадеев С.Ю., Исаев Б.Н., Павлик Г.Н. и др. «Способ возведения буронабивной сваи». Авт. свид. № 1231141. Бюллетень изобретений и открытий, № 18, 1986.
6. Бекетов А.К., Голованов A.M. и др. «Основание из закрепленного грунта для фундаментов зданий и сооружений, возводимых на лессовом просадочном грунте». Авт. свид. № 331157. Бюллетень изобретений и открытий, № 9, 1972.
7. Голованов A.M., Пашков В.И., Сергеев В.И. «Способ закрепления грунта». Патент на изобретение № 2103441. Бюллетень изобретений и открытий, № 3, 1998.
8. Голованов A.M., Пашков В.И., Сергеев В.И. «Свайный фундамент». Патент на изобретение № 2142534. Бюллетень изобретений и открытий, № 34, 1999.
9. Голованов A.M., Пашков В.И., Сергеев В.И. «Способ закрепления грунта». Патент на изобретение № 2133795. Бюллетень изобретений и открытий, № 21, 1999.
10. Грачев Ю.А., Токин А.Н., Селезнев А.Ф., Качан Ю.И. и др. «Рекомендации по проектированию и устройству фундаментов из цементогрунта». НИИОСП им. Н.М. Герсеванова. Москва. 1986.
11. Зеленский В.Ю. и др. «Способ укрепления лессовых грунтов». Авт. свид. № 181007. Бюллетень изобретений и открытий, № 8, 1966.
12. Зеленский В.Ю. и др. «Инъектор для нагнетания закрепляющих растворов в грунт». Авт. свид. № 201967. Бюллетень изобретений и открытий, № 18, 1967.
13. Исаев Б.Н., Кузин Б.Н. Опыт закрепления грунта в основании промышленных и жилых зданий г. Волгодонска // Основания, фундаменты и механика грунтов. 1984. № 3.
14. Исаев Б.Н., Бадеев С.Ю., Сошин М.В., Дорохин В.Ф. Опыт химического закрепления лессового просадочного грунта с использованием шнека-инъектора // Основания, фундаменты и механика грунтов. 1988, № 1.
15. Исаев Б.Н., Кузин Б.Н., Бадеев С.Ю., Сошин М.В., Дорохин В.Ф. Новые конструктивные решения при возведении свайных фундаментов повышенной несущей способности в лессовых просадочных грунтах II типа. Тезисы докладов Всесоюзного совещания «Инженерная геология лессовых пород». Москва. 1989.
16. Исаев Б.Н., Бадеев С.Ю., Павлик Г.Н., Грачев Ю.А. Исследование работы буронабивных свай повышенной несущей способности в структурно-неустойчивых грунтах. Труды II Всесоюзной конференции «Современные проблемы свайного фундаментостроения в СССР». Одесса, 1990.
17. Исаев Б.Н., Бадеев С.Ю., Цапкова Н.Н., Павлик Г.Н., Белоключевский В.В. Армирование структурно-неустойчивых грунтов инъекцией вспененных цементогрунтовых растворов. Труды Российской конференции по механике грунтов и фундаментостроению. Санкт-Петербург. 1995. Т. 2.
18. Исаев Б.Н., Павлик Г.Н., Цапкова П.П., Бабаян В.Р., Бадеев С.Ю. Геохимические барьеры как эффективный метод охраны геологической среды. Труды VI школы-семинара НИИМ и ПМ РГУ. Ростов-на-Дону. 1996.
19. Isayev В.N., Pavlik G.N., Tsapkova И.Н., Badeyev S.Y., Babayan V.R. Geochemikal barriers as an effektive method for geologikal environment protection // PROCEEDINGS OF THE SECOND INTERNATIONAL CONFERENCE ON TAILINGS & MINE WASTE ‘95/FORT COLLINS/COLORADO/ USA/17-20IANUARY 1995.
20. Исаев Б.Н., Бадеев С.Ю., Бабаян В.Р., Лунев А.Г., Цапкова Н.Н., Павлик Г.Н. Опыт возведения ограждающих подпорных стенок из буронабивных свай с анкерным креплением в г. Ростове-на-Дону. Труды международной конференции «Взаимодействие сооружений и оснований: методы расчета и инженерная практика». Санкт-Петербург. 2005.
21. Исаев Б.Н., Цапкова Н.Н, Павлик Г.Н., Бадеев С.Ю., Лунев А.Г., Бабаян В.Р., Белоключевский В.В. и др. Специальные методы работ при подготовке оснований и фундаментов в транспортном строительстве. Учебное пособие. РГУПС МПС РФ. Ростов-на-Дону. 1999.
22. Исаев Б.Н., Бадеев С.Ю. и др. «Способ закрепления грунта». Авт. свид. № 1113475. Бюллетень изобретений и открытий, № 34, 1984.
23. Исаев Б.Н., Белоключевский В.В., Бадеев С.Ю. «Способ закрепления лессового просадочного грунта». Авт. свид. № 1227767 . Бюллетень изобретений и открытий, № 16, 1986.
24. Исаев Б.Н., Белоключевский В.В., Бадеев С.Ю. «Способ закрепления лессовых просадочных грунтов и инъектор для его осуществления». Авт. свид. № 1444473. Бюллетень изобретений и открытий, № 46, 1988.
25. Исаев Б.Н., Бадеев С.Ю., Цапкова Н.Н. «Способ подготовки основания». Патент на изобретение № 2122068. Бюллетень изобретений и открытий, № 32, 1998.
26. Исаев Б.Н., Бадеев С.Ю. и др. «Способ возведения буронабивной сваи-инъектора». Авт. свид. № 1052625. Бюллетень изобретений и открытий, № 41, 1983.
27. Исаев Б.Н., Бадеев С.Ю., Цапкова Н.Н., Грачев Ю.А. «Рекомендации по повышению несущей способности свайных фундаментов инъекцией химических растворов». НИИОСП им. Н.М. Герсеванова. Москва. 1989.
28. Исаев Б.Н., Бадеев С.Ю., Бадеев B.C., Кузнецов М.В. «Способ усиления грунтов и устройство для его осуществления». Патент на изобретение № 2260092. Бюллетень изобретений и открытий, № 25, 2005.
29. Камбефор А. Инъекция грунтов. М.: Издательство «Энергия». 1971.
30. Кузин Б.Н., Исаев Б.Н., Бадеев С.Ю. Опыт химического закрепления лессовых грунтов в основании буронабивных свай-инъекторов // Основания, фундаменты и механика грунтов. 1987. №2.
31. Кузин Б.Н., Исаев Б.Н., Бадеев С.Ю. «Инъектор для закрепления грунтов». Авт. свид. № 1231139. Бюллетень изобретений и открытий, № 18, 1986.
32. Кузин Б.Н. и др. «Инъектор для нагнетания закрепляющих растворов в грунт». Авт. свид. № 308148. Бюллетень изобретений и открытий, № 21, 1971.
33. Кузин Б.Н. и др. «Ииъектор для нагнетания жидкостей и растворов в грунт». Авт. свид. № 332165. Бюллетень изобретений и открытий, № 10. 1972.
34. Кузин Б.Н., Белоключевский В.В., Бадеев С.Ю. и др. «Способ химического закрепления толщи грунта со слоями разной проницаемости». Авт. свид. № 1265238. Бюллетень изобретений и открытий, № 39, 1986.
35. Кузин Б.Н., Исаев Б.П., Бадеев С.Ю., Белоключевский В.В. и др. «Устройство для возведения буронабивной сваи». Авт. свид. № 1150302 Бюллетень изобретений и открытий, № 14, 1985.
36. Кузин Б.Н., Исаев Б.П., Бадеев С.Ю. и др. «Способ возведения сваи». Авт. свид. № 1172997. Бюллетень изобретений и открытий, № 30, 1985.
37. Кузин Б.Н., Исаев Б.Н., Бадеев С.Ю., Белоключевский В.В. и др. «Инъектор для нагнетания в грунт закрепляющих реагентов». Авт. свид. № 1059062. Бюллетень изобретений и открытий, № 45, 1983.
38. Lunev A.G., Tsapkova Н.Н., Pavlik G.N., Babayan V.R. "Acombination system for protection of the geological environment in toxic waste disposal area"// PROCEEDINGS OF THE SECOND INTERNATIONALCONFERENCE ON TAILINGS & MINE WASTE ‘95/FORT COLLINS/COLORADO /USA/17-20 IANUARY 1995.
39. Pavlik G.N., Babayan V.R., Lunev A.G. "Ecological safety problems in storage of toxic industrial wastes"// PROCEEDINGS OF THE SECOND INTERNATIONAL CONFERENCE ON ENVIRONMENTAL GEOTECHNICS / OSAKA/ IAPAN / NOVEMBER 1996.
40. Pavlik G.N. "Mathematical modelling as an integral part of monitoring"// PROCEEDINGS OF THE SECOND INTERNATIONAL CONFERENCE ON TAILINGS & MINE WASTE '95/FORT COLLINS/COLORADO/USA/17-20IANUARY 1995.
41. Павлик Г.Н., Исаев Б.Н., Бадеев С.Ю. Системный анализ как инструмент исследования окружающей среды. РГУ. Материалы конференции «Лиманчик. Экологические проблемы. Взгляд в будущее». СОЛ «Лиманчик». 2004.
42. Пособие по производству работ при устройстве оснований и фундаментов (к СНиП 3.02.01-83). НИИОСП им. Н.М. Герсеванова. М.: Стройиздат. 1986.
43. Пособие по проектированию оснований зданий и сооружений (к СНиП 2.02.01-83).НИИОСП им. Н.М. Герсеванова. М.: Стройиздат. 1986.
44. Ржаницын Б.А. Химическое закрепление грунтов в строительстве. М.: Стройиздат, 1986.
45. Селезнев А.Ф., Исаев Б.Н., Зеленский В.Ю. Долговечность грунтов г. Чебоксары, закрепленных химическими способами. Деформации зданий на лессовых грунтах. Сб. тр. Ростов-на-Дону: РИСИ. 1974.
46. Соколович В.Е. Химическое закрепление грунтов. М.: Стройиздат, 1980.
47. Соколович В.Е., Исаев Б.Н., Зеленский В.Ю. «Способ закрепления лессового грунта». Авт. свид. № 761656. Бюллетень изобретений и открытий, № 33, 1980.