ФЕДЕРАЛЬНОЕ АГЕНТСТВО ПО ТЕХНИЧЕСКОМУ РЕГУЛИРОВАНИЮ И МЕТРОЛОГИИ
|
|
НАЦИОНАЛЬНЫЙ |
ГОСТ Р ИСО |
ВЫБРОСЫ СТАЦИОНАРНЫХ ИСТОЧНИКОВ
Отбор проб при автоматическом определении содержания газов
ISO 10396:1993
Stationary source emissions
- Sampling for the automated determination
of gas concentrations
(IDT)
|
|
Москва Стандартинформ 2006 |
Предисловие
Цели и принципы стандартизации в Российской Федерации установлены Федеральным законом от 27 декабря 2002 г. № 184-ФЗ «О техническом регулировании», а правила применения национальных стандартов Российской Федерации - ГОСТ Р 1.0-2004 «Стандартизация в Российской Федерации. Основные положения»
Сведения о стандарте
1. ПОДГОТОВЛЕН Открытым акционерным обществом «Научно-исследовательский центр контроля и диагностики технических систем» (ОАО НИЦ КД) на основе собственного аутентичного перевода стандарта, указанного в пункте 4
2. ВНЕСЕН Техническим комитетом по стандартизации ТК 457 «Качество воздуха»
3. УТВЕРЖДЕН И ВВЕДЕН В ДЕЙСТВИЕ Приказом Федерального агентства по техническому регулированию и метрологии от 20 апреля 2006 г. № 70-ст
4. Настоящий стандарт идентичен международному стандарту ИСО 10396:1993 «Выбросы стационарных источников. Отбор проб при автоматическом определении содержания газов» (ISO 10396:1993 «Stationary source emissions - Sampling for the automated determination of gas concentrations»).
При применении настоящего стандарта рекомендуется использовать вместо ссылочных международных стандартов соответствующие им национальные стандарты, сведения о которых приведены в дополнительном приложении В
5. ВВЕДЕН ВПЕРВЫЕ
Информация об изменениях к настоящему стандарту публикуется в ежегодно издаваемом информационном указателе «Национальные стандарты», а текст изменений и поправок - в ежемесячно издаваемых информационных указателях «Национальные стандарты». В случае пересмотра (замены) или отмены настоящего стандарта соответствующее уведомление будет опубликовано в ежемесячно издаваемом информационном указателе «Национальные стандарты». Соответствующая информация, уведомление и тексты размещаются также в информационной системе общего пользования - на официальном сайте Федерального агентства по техническому регулированию и метрологии в сети Интернет
Содержание
НАЦИОНАЛЬНЫЙ СТАНДАРТ РОССИЙСКОЙ ФЕДЕРАЦИИ
|
ВЫБРОСЫ СТАЦИОНАРНЫХ ИСТОЧНИКОВ Отбор проб при автоматическом определении содержания газов Stationary source emissions. Sampling for the automated determination of gas concentrations |
Дата введения - 2006-08-01
1.1. Общие положения
Настоящий стандарт устанавливает методы и оборудование, которые позволяют проводить представительный, в известной степени, отбор проб для автоматического определения содержания газов в отходящем газовом потоке.
Стандарт применяют при определении содержания кислорода (О2), диоксида углерода (СО2), монооксида углерода (СО), диоксида серы (SO2), монооксида азота (NO) и диоксида азота (NO2).
Стандарт не устанавливает требования к измерению скорости потока отходящего газа при определении массового расхода газов.
Для определения массового расхода газов требуется подробное описание методов измерений скорости, хотя об этом кратко упомянуто в стандарте.
1.2. Ограничения
Некоторые процессы горения и ситуации, которые могут ограничить применимость настоящего стандарта. Когда возникают такие условия, требуется принятие компетентного технического решения особенно в следующих случаях:
a) наличие в потоке отходящего газа коррозионных и высоко химически активных компонентов;
b) потоки газов в условиях высокого вакуума, высокого давления и высокой температуры;
c) влажные отходящие газы;
d) флуктуации скорости, температуры и содержания газов по причине неконтролируемого изменения процесса;
e) расслоение газов из-за несмешивания газовых потоков;
f) измерения, проводимые с использованием устройств контроля за состоянием окружающей среды;
q) низкие уровни содержания определяемых компонентов.
В настоящем стандарте использованы нормативные ссылки на следующие стандарты:
ИСО 7934:1989 Стационарные источники выбросов - Определение массовой концентрации диоксида серы - Метод с применением перекиси водорода, перхлората бария или торина
ИСО 9096:1992 Выбросы стационарных источников - Определение концентрации и массового расхода твердых частиц в газоходах - Ручной гравиметрический метод
В настоящем стандарте применены следующие термины с соответствующими определениями:
3.1. конденсируемое вещество (condensable material): Влага, накапливаемая в устройстве пробоподготовки.
3.2. коррозионная активность (corrosiveness): Свойство ограниченного газового потока воздействовать на устройства для отбора проб или другие подверженные этому воздействию поверхности в условиях отбора проб.
3.3. содержание газообразного вещества (gaseous concentration): Масса определяемого газа в единице объема сухого отходящего газа в ограниченном потоке.
Примечание - Содержание газообразного вещества при выражении через объемную долю стандартизуют по отношению к избыточному уровню воздуха (например, 3 % кислорода).
3.4. высоко химически активный источник (highly reactive source): Ограниченный газовый поток, содержащий неустойчивые компоненты или устройства для удаления загрязнителей воздуха, которые могли бы вступать в реакции с образованием других химических веществ при изменении условий.
Примечание - Неустойчивые компоненты могут образовываться как в ограниченном потоке отходящего газа, так и в устройствах отбора проб и могут быть причиной неустранимых погрешностей при анализе пробы.
3.5. влажный отходящий газ (wet flue gas): Газ, который при температуре насыщения или ниже ее может содержать капли влаги.
3.6. нормальные условия (standard conditions): Давление - 101,3 кПа и температура - 273 К (0°С).
3.7. сохранность пробы (sample integrity): Исключение утечек или физических и химических превращений пробы газа между точкой отбора пробы и средством измерений.
Представительные пробы газов в газоходе могут быть отобраны экстрактивным и неэкстрактивным методами. При экстрактивном отборе проб газы перед транспортировкой к газоанализатору подвергают подготовке: их очищают от аэрозолей, твердых частиц и других мешающих веществ. При неэкстрактивном отборе проб измерения проводят «на месте», поэтому отсутствует этап пробоподготовки, за исключением необходимой фильтрации.
4.1. Экстрактивный отбор проб
Экстрактивный отбор проб заключается в:
- отборе пробы;
- удалении мешающих веществ;
- поддержании состава газа на исходном уровне при транспортировке через систему отбора проб для последующего анализа соответствующим прибором.
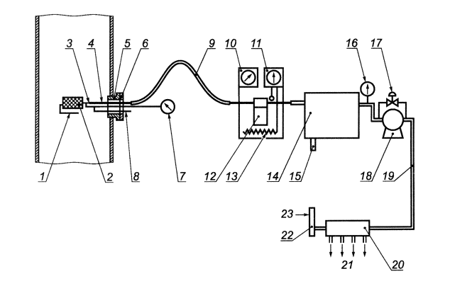
Пример компоновки системы экстрактивного отбора и подготовки проб приведен на рисунке 1.
4.2. Неэкстрактивный отбор проб
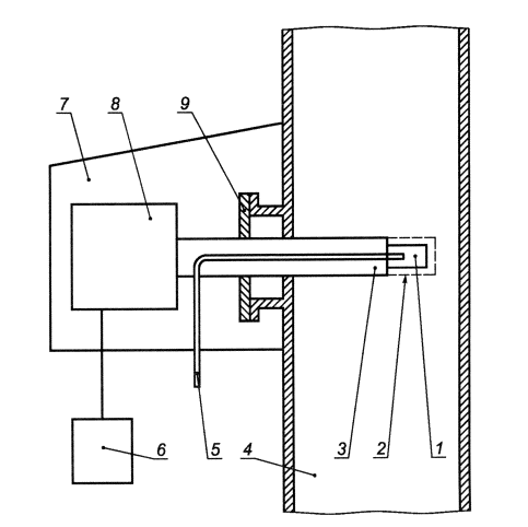
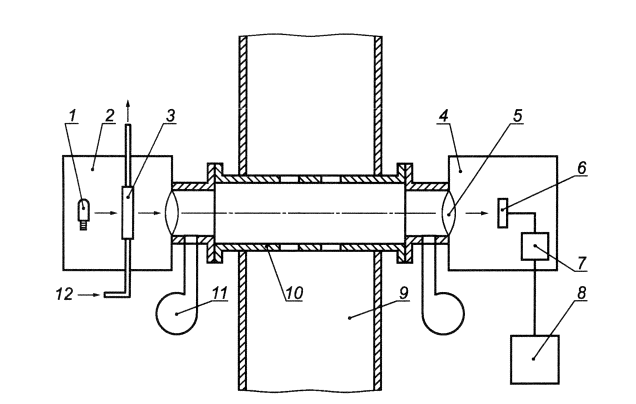
При неэкстрактивном отборе пробу газа из потока не отбирают, а ограничиваются диффузионным контактом измерительной ячейки с потоком газа непосредственно в газоходе. Пример схемы неэкстрактивного точечного датчика приведен на рисунке 2, неэкстрактивного маршрутного датчика - на рисунке 3.
5.1. Характеристика источника выбросов
5.1.1. Представительность определения содержания газообразных компонентов в ограниченных газовых потоках зависит от следующих факторов:
a) неоднородности потока (например, изменений концентрации, температуры или скорости газа в поперечном сечении газохода из-за влажности или расслоения газового потока);
b) утечек газа, натекания воздуха или реакций, постоянно происходящих в газовой фазе;
с) случайных погрешностей, связанных с тем, что проба конечна, и с процедурой отбора проб, используемой для получения представительной пробы.
5.1.2. На представительность пробы отходящего газа влияют:
- режим работы источника выбросов (например, циклический, непрерывный или периодический процесс);
- уровень содержания определяемого компонента газа;
- размер источника;
- конфигурация газохода в месте отбора проб.
С учетом особенностей источника выбросов, указанных в 5.1.1, для каждого режима работы должен быть установлен профиль концентрации определяемых компонентов, позволяющий найти наилучшее место отбора пробы.
Для некоторых источников выбросов может быть характерно непостоянство в технологическом процессе (т. е. циклические изменения), и, следовательно, любое измерение концентрации, зависящее от времени, может быть менее представительным по отношению к усредненной концентрации, если не учтен весь цикл изменений.
5.1.3. Перед проведением регулярных измерений изучают соответствующие характеристики технологического процесса источника, пробы выбросов которого должны быть отобраны и проанализированы. Перечисленные ниже характеристики не являются исчерпывающими:
a) режим работы (циклический, периодический или непрерывный);
b) состав и интенсивность подачи загрузочного материала;
c) состав и интенсивность подачи топлива;
d) температура и давление газа при нормальном рабочем режиме;
e) эффективность работы устройств контроля загрязнений;
f) конфигурация газохода, из которого будут отбирать пробы, могущая влиять на расслоение потока отходящего газа;
q) объемный расход газа;
h) ожидаемый состав газа и возможные мешающие вещества.
Примечание 1 - Если газоход, из которого отбирают пробы, находится под давлением, вакуумом или при высокой температуре, то следует соблюдать требования безопасности.
5.2. Определение места отбора проб
5.2.1. Обследование места отбора проб
Проводят обследование места отбора проб с целью оценить такие факторы, как:
a) безопасность персонала;
b) местонахождение возмущений потока;
c) доступность места отбора проб;
d) наличие пространства для размещения устройств отбора проб, приборов и, при необходимости, сооружения рабочих площадок;
е) наличие электрической сети, сжатого воздуха, воды, пара и т. д.;
f) размещение штуцеров для отбора проб.
Примечание - Следует выполнять требования безопасности при работе в зонах, где существует возможность возникновения взрывоопасной и химически опасной атмосферы. Используемое электрооборудование должно соответствовать требованиям безопасности.
5.2.2. Выбор места отбора проб
Необходимо обеспечить, чтобы измеренные концентрации газов были представительными для средних условий (параметров, характеристик) внутри газохода или трубы. Требования при экстрактивном отборе газов могут быть не такими жесткими, как при отборе твердых веществ. Место отбора проб выбирают на расстоянии, удаленном от препятствий, которые могут нарушать поток газа в газоходе или трубе. Содержание загрязнителей может изменяться в пределах поперечного сечения газохода. Содержание загрязнителей в различных точках поперечного сечения предварительно проверяют для оценки однородности потока и обнаружения натекания воздуха, расслоения газового потока и т. д. Если изменение концентрации загрязнителя в пределах поперечного сечения по результатам предварительного анализа превышает ± 15 % и место отбора проб невозможно изменить, рекомендуется проводить многоточечный отбор проб.
Многоточечный отбор проб проводят либо перемещением зонда от точки к точке, либо используя зонд с несколькими входами (ИСО 9096). Обычно из-за диффузии и турбулентного смешивания потоков содержание газообразных загрязнителей во всех местах поперечного сечения газохода одинаково и для определения среднего содержания отбирают пробу только в одной точке в пределах газохода или трубы. Пробу газа отбирают около центра газохода или трубы в точке, отстоящей от ее центра не более чем на 1/3 радиуса. При использовании неэкстрактивных систем получают (насколько это возможно) представительную пробу, причем предварительно необходимо гарантировать, что месторасположение прибора является представительным.
5.3. Профиль концентрации, скорости и температуры отходящего газа
Перед регулярным отбором проб необходимо определить пространственные или временные флуктуации концентраций компонентов газа, а также провести предварительное наблюдение за концентрацией, температурой и скоростью газа. Концентрацию, температуру и скорость газа в точках отбора проб измеряют несколько раз для получения их пространственного и временного профилей. Эти исследования проводят, когда предприятие работает в тех же условиях, что будут соблюдены и во время контроля, с целью определить, являются ли место отбора проб подходящим, а условия в газоходе удовлетворительными (см. 5.1.2).
5.4. Другие факторы
Принцип действия и устройство измерительной системы могут значительно влиять на представительность отобранной пробы относительно содержания определяемого компонента в отходящем газе. Например, выбор места отбора проб в газоходе следует проводить более тщательно при использовании экстрактивной измерительной системы (точечный метод измерений) по сравнению с неэкстрактивной системой (метод просвечивания). Кроме того, трубки для отбора проб должны быть выполнены из материалов, не обладающих способностью адсорбировать газы, так как это влияет на время отклика измерительного блока. Химическая стойкость материалов - в соответствии с таблицей А.1 (приложение А).
Следует позаботиться о сохранении отобранной пробы с помощью правильного подбора оборудования и соответствующих нагрева, осушки, а также контроля за утечками и т. д. На сохранность пробы, кроме того, могут влиять коррозия, синергизм, взаимодействие компонентов, разложение и адсорбция (см. раздел 6).
Материалы, применяемые для изготовления устройств отбора проб, приведены в приложении А.
6.1. Устройства для экстрактивного отбора проб
6.1.1. Фильтр грубой очистки (первичный фильтр)
Фильтр изготовляют из соответствующего сплава (такого как специальная нержавеющая сталь), боросиликатного кварца, керамики или другого подходящего материала. Рекомендуется фильтр, задерживающий частицы размером более 10 мкм. Также может потребоваться фильтр тонкой очистки (вторичный фильтр) (см. 6.1.4). Фильтр может быть размещен за пределами газохода или на конце зонда для отбора проб (см. 6.1.2). Если фильтр помещают на конце зонда, то может быть установлена отражающая пластина, чтобы предотвратить накопление твердых частиц на фронтальной поверхности фильтра и, как следствие, его закупорку. Следует принимать меры для исключения загрязнения фильтра твердыми частицами, которые могут вступать в реакцию с газами, что приведет к получению ошибочного результата.
6.1.2. Зонд
6.1.2.1. Металлические зонды
Металлические зонды широко используются для отбора проб газов. Выбор металла зависит в основном от физических и химических свойств отбираемой пробы и природы определяемого газа.
Мягкая низкоуглеродистая сталь подвержена коррозии в присутствии газов-окислителей и может быть пористой для водорода. Поэтому при температуре до 1175 К применяют нержавеющую сталь или хромистые стали. При более высоких температурах применяют стали или другие сплавы улучшенного качества. Если во внутренней части зонда происходит конденсация, его нагревают. При отборе проб очень горячих газов применяют охлаждение с помощью воздушной или водяной рубашки.
Примечание 2 - При работе во взрывоопасной атмосфере металлические зонды следует заземлять.
6.1.2.2. Огнеупорные зонды
Огнеупорные зонды (см. приложение А) изготовляют из кварцевого стекла, фарфора, муллита или рекристаллизованного оксида алюминия. Эти материалы хрупки и, за исключением кварца, могут деформироваться при высоких температурах, а также растрескиваться при тепловом ударе.
Зонды из боросиликатного стекла выдерживают температуру до 775 К, из кварцевого стекла - до 1300 К. Другие огнеупорные керамические материалы выдерживают и более высокие температуры.
6.1.3. Нагреваемая трубка для отбора проб, подсоединенная к устройству для удаления влаги
Трубку для отбора проб изготовляют из нержавеющей стали или политетрафторэтилена (ПТФЭ).
Диаметр трубки для отбора проб должен обеспечивать расход газа (далее - расход), достаточный для выработки сигнала датчиками, с учетом ее длины и нагнетательных характеристик используемого насоса (см. 6.1.5).
Температура трубки для отбора проб должна не менее чем на 15 К превышать температуры точек росы воды и кислот, содержащихся в отобранном газе. Во время отбора проб проводят контроль температуры.
Для уменьшения времени нахождения пробы газа в трубке для отбора проб и сведения к минимуму риска физико-химического превращения пробы поток газа может быть больше потока, необходимого для аналитических блоков; в этом случае анализируют часть пробы, а избыток газа сбрасывают через байпасный клапан (см. рисунок 1). Для исключения конденсации может понадобиться подогрев трубки для транспортировки проб.
6.1.4. Фильтр тонкой очистки (вторичный фильтр)
Для удаления оставшихся твердых веществ, что необходимо для защиты насоса (см. 6.1.5) и газоанализатора, может потребоваться фильтр тонкой очистки. Его располагают непосредственно ниже по потоку от зонда за трубкой для отбора проб (см. 6.1.3). Рекомендуется использовать фильтр, задерживающий частицы размером более 1 мкм. Приемлемым материалом является ПТФЭ или боросиликатный кварц. Размер фильтра определяют с учетом необходимого потока пробы и данных о расходе на единицу площади, указанных производителем.
Фильтр следует нагревать до температуры, не менее чем на 15 К превышающей температуры точек росы воды и кислот отобранного газа. Фильтр тонкой очистки может быть необогреваемым. В этом случае его размещают непосредственно за устройством, удаляющим (охлаждающим) водяной пар.
6.1.5. Насос для отбора проб
Для непрерывного отбора проб из газохода через систему отбора проб используют герметичный насос. Это может быть диафрагменный либо металлический сильфонный насос или насос другого типа. Насос должен быть сделан из коррозионно-стойкого материала.
Мощность насоса должна позволять обеспечивать все газоанализаторы необходимыми потоками, а также обеспечивать избыточный поток (10 % необходимого потока). Для контроля расхода устанавливают перепускной клапан Клапан продлевает срок службы насоса при его частом использовании при низких расходах. Некоторые серийно выпускаемые модули подготовки проб могут быть укомплектованы насосом, установленным перед охладителем/мембранным осушителем. В таких случаях, при наличии высокой кислотности и влажности газового потока, насос должен работать при температуре, не менее чем на 15 К превышающей температуру точки росы кислоты. При этих условиях предусматривают дополнительное техническое обслуживание.
6.1.6. Удаление паров воды
Для удаления паров воды следует применять либо метод конденсации (охлаждения), либо метод осушки (с помощью мембранного осушителя), либо их в комбинации. Допустимо использование поглотителя влаги, если он не оказывает влияния на содержание газов, таких как СО. Каждый метод имеет свои преимущества, в связи с этим необходимо отметить следующее:
a) При применении метода конденсации (охлаждения) удаление влаги происходит за пределами нагреваемого блока.
b) При применении метода осушки (с помощью мембранного осушителя) половину трубки с осушителем (влажный конец) следует нагревать до температуры, на 15 К превышающей температуру точки росы конденсируемых компонентов газа. При наличии в пробе кислоты необходимо учитывать температуру точки росы кислоты. Количество продувочного воздуха должно соответствовать указанному в инструкции производителя.
с) Может быть применено разбавление для уменьшения содержания воды до уровня, когда оставшаяся вода не будет оказывать влияния.
Поскольку на рынке существует много возможных систем пробоподготовки, настоящий стандарт не содержит специальных рекомендаций по их размещению.
6.1.7. Трубка для отбора проб, подсоединенная к газоанализатору
Часть трубки для отбора проб, подсоединенная к газоанализатору, должна быть изготовлена из подходящего материала и иметь размер, соответствующий параметрам прибора.
В зависимости от того, какой метод удаления паров воды применен - осушка или разбавление, необходимо осуществлять контроль температуры в месте подачи на вход датчика влажных газов, в других случаях может также потребоваться предотвратить конденсацию выше по потоку относительно холодильника - там, где в систему отбора проб попадают горячие газы.
При регенерации фильтра грубой очистки (при очистке противотоком) устанавливают клапан регулирования давления для защиты устройств для отбора проб от повреждения сжатым воздухом. Клапан располагают выше по потоку относительно системы пробоподготовки.
6.1.8. Газовый коллектор
Газовый коллектор должен быть изготовлен из соответствующего материала и иметь отдельный выход для каждого газоанализатора. Его размер должен позволять обеспечивать необходимым потоком газа все приборы, но быть достаточно маленьким, чтобы свести время пребывания в нем газа к минимуму. Отработанные газы должны быть удалены.
6.1.9. Вакуумметр
Для контроля работы насоса для отбора проб на его входе может быть установлен вакуумметр с диапазоном измерений от 0 до 100 кПа (см. 6.1.5). Вакуумметр позволяет обнаружить закупоривание или протекание фильтра, когда необходима его очистка или замена. Вместо вакуумметра может быть использован расходомер с сигнальным устройством контроля, установленным в газоходе выше по потоку от газоанализатора.
Примечание 3 -Должно быть обеспечено соответствующее давление калибровочного газа1) для снабжения всех приборов необходимым потоком газа. Поток калибровочного газа должен быть аналогичен потоку, используемому при непрерывном анализе проб. Следует принимать меры для предотвращения повышения давления в газоанализаторах. Избыток газов из коллектора и других устройств должным образом удаляют из рабочей зоны.
6.1.10. Методика разбавления
Разбавление является альтернативой контроля горячего газа или осушки пробы. Техника разбавления пробы (рисунок 4) позволяет:
- снизить концентрации компонентов анализируемого газа до уровня, совместимого с диапазоном измерений аналитического блока;
- снизить температуру точки росы воды разбавлением пробы сухим газом, чтобы уменьшить риск конденсации в газовых трубках;
- свести к минимуму влияние некоторых соединений, присутствующих в пробе и удаление которых затруднительно, уменьшением относительных изменений их концентраций (например, разбавление сухим воздухом, когда изменение содержания кислорода в пробе приводит к искажению результата измерения концентрации другого компонента);
- замедлить физико-химическое превращение пробы понижением скорости реакций при низких температурах и концентрациях.
Коэффициент разбавления следует выбирать в соответствии с целями измерений. Он должен оставаться постоянным, так как частота калибровки2) аналитического блока зависит, среди прочих факторов, от стабильности коэффициента разбавления.
Примечание 4 - В случае экстрактивного отбора проб с удалением воды результаты измерения концентраций приводят к сухому газу.
Используют различные типы устройств:
- сужающие устройства (капилляры, акустические насадки, игольчатые клапаны и т. д.);
1) Калибровочный газ (calibration gas) в области газового анализа в Российской Федерации принято называть градуировочным газом [или поверочной газовой смесью (ПГС)].
2) Калибровку в Российской Федерации в данном случае принято называть градуировкой.
- расходомеры по объему или массе;
- регуляторы давления и (или) потока;
- возможно, устройства, предназначенные для введения поправок, позволяющих учитывать влияние физических свойств пробы на коэффициент разбавления.
Для каждого конкретного случая выбирают газ-разбавитель с учетом его свойств и чистоты. Важно, чтобы анализируемый газ не присутствовал в газе-разбавителе, а газ-разбавитель не взаимодействовал с определяемыми компонентами.
Большие значения коэффициентов разбавления могут привести к очень низким концентрациям определяемых компонентов и за счет адсорбции к появлению существенных погрешностей результатов измерений. Для исключения этого явления необходим подбор соответствующих материалов.
6.2. Устройства для неэкстрактивного отбора проб
6.2.1. Точечные датчики
Точечные датчики для неэкстрактивного отбора проб, расположенные на конце зонда (см. 6.2.1.2), помещают в газовый поток внутри газохода. Газ контролируют в одной точке или на коротком участке (менее 10 см) в зависимости от принципа измерений. Точечные датчики должны содержать устройства, описание которых приведено в 6.2.1.1-6.2.1.7. Пример схемы точечного датчика для неэкстрактивного отбора проб приведен на рисунке 2.
6.2.1.1. Приемопередающий блок
Устройство, которое распознает отклик измерительной ячейки (см. 6.2.1.3) и генерирует электрический сигнал, соответствующий концентрации определяемого газа.
6.2.1.2. Зонд
Опора измерительной ячейки, протянутая от приемопередающего устройства (см. 6.2.1.1). Зонды точечных датчиков для неэкстрактивного отбора проб должны соответствовать требованиям 6.1.2.1.
6.2.1.3. Измерительная ячейка
Камера или полость на конце зонда (6.2.1.2), расположенная в потоке отходящего газа, с помощью которой получают электрооптический или химический отклик на концентрацию определяемого газа.
6.2.1.4. Фильтр для защиты зонда
Пористая керамическая или спеченная металлическая трубка или сетка, которая сводит к минимуму мешающее влияние твердых частиц на процесс измерения.
6.2.1.5. Держатель зонда
Фланец, установленный в точке отбора проб, используемый для соединения приемопередающего блока (6.2.1.1) и зонда (6.2.1.2).
6.2.1.6. Трубка для подачи калибровочного газа
Трубка, через которую подается калибровочный, сравнительный или нулевой газ1) в измерительную ячейку (6.2.1.3) для калибровки прибора.
6.2.1.7. Защитный кожух (необязательно)
Кожух, защищающий приемопередающий блок от влияния окружающей среды.
6.2.2. Маршрутные датчики
С помощью маршрутных датчиков для неэкстрактивного отбора проб отходящий газ в газоходе отбирают по линии, пересекающей основную часть диаметра сечения газохода в месте отбора проб (см. рисунок 3). Маршрутные датчики включают в себя устройства, указанные в 6.2.2.1-6.2.2.7. Пример схемы маршрутного датчика для неэкстрактивного отбора проб приведен на рисунке 3.
6.2.2.1. Излучатель
Устройство измерительной системы, которое содержит источник оптического излучения и соответствующие электрооптические элементы. Излучение от источника проецируется через отходящий газ на приемник (см. 6.2.2.2), расположенный на противоположной стороне газохода.
6.2.2.2. Приемник
Устройство измерительной системы, которое содержит детектор и соответствующие электрооптические элементы. Детектор улавливает излучение, поступающее от излучателя (6.2.2.1), и генерирует сигнал, соответствующий содержанию определяемого компонента.
1) В Российской Федерации в качестве сравнительного, а в некоторых случаях и градуировочного газа используют ПГС, выпускаемые в баллонах и имеющие статус государственных стандартных образцов состава.
В других конструкциях приемопередающий блок может быть заменен уголковым отражателем. Уголковый отражатель направляет пучок лучей обратно на приемник, детектор которого реагирует на отраженный свет.
6.2.2.3. Защитные окна
Окна или линзы между отходящим газом и электрооптическими блоками, используемые для предотвращения проникновения газа в электрооптические блоки.
6.2.2.4. Нагнетатель продувочного воздуха
Устройство, которое обдувает чистым воздухом защитные окна для уменьшения осаждения на них частиц.
6.2.2.5. Труба для настройки или калибровки (необязательно)
Труба, используемая для юстировки электрооптических блоков и/или для проведения калибровки. Маршрутный датчик находится в режиме калибровки, если труба заполнена воздухом и закрыта для доступа отходящих газов.
6.2.2.6. Антивибрационная система (необязательно, не изображена на рисунке 3) Система, изолирующая излучатель (см. 6.2.2.1) и приемник (см. 6.2.2.2) от вибраций газохода.
6.2.2.7. Внутренняя ячейка для калибровки
Ячейка, предназначенная для ввода газов в целях калибровки маршрутного датчика.
Примечание 5 - Некоторые измерительные системы не позволяют проводить отбор проб во всем поперечном сечении газохода, поэтому требуется обеспечивать максимальную представительность, как в случае экстрактивного отбора проб.
7.1. Контроль утечек
Для контроля утечек следует отсоединить трубку для отбора проб от зонда, заглушить ее и с помощью насоса, подсоединенного к трубке через перепускной клапан, понизить в ней давление до 50 кПа. Наличие утечек не допускается. При наличии капель жидкости и аэрозолей выполняют регулярные проверки с использованием сравнительных газов, подаваемых на вход зонда для отбора проб и газоанализатора.
7.2. Калибровка, функционирование и настройка
При экстрактивном отборе проб необходимо проводить калибровку газоанализатора, включая линию отбора проб. Для этого требуется место ввода штуцера для подачи калибровочного газа. Необходимо предусматривать две точки для подачи калибровочного газа, одна из которых должна находиться как можно ближе к месту отбора проб, а другая - на входе в газоанализатор (см. рисунок 1).
При неэкстрактивном отборе проб измерительные системы также калибруют с использованием калибровочных газов. Для калибровки маршрутных датчиков может потребоваться внутренняя ячейка для калибровки.
Калибровка экстрактивных и неэкстрактивных систем отбора проб по усмотрению пользователя (несмотря на высокую стоимость) может быть выполнена экстрактивными стандартными лабораторными методами (мокрой химии).
Нулевой и калибровочный газы вводят без избыточного давления как можно ближе к точке отбора проб. В качестве нулевого газа может быть использован азот.
Для настройки газоанализатора вводят нулевой газ, а затем калибровочный газ (с концентрацией от 70 % до 80 % верхнего значения диапазона измерений). Эту операцию повторяют один или два раза.
Для проверки всего диапазона измерений газоанализатора с линейной градуировочной характеристикой используют четыре калибровочных газа с равномерно распределенными концентрациями (приблизительно 20 %, 40 %, 60 % и 80 % верхнего значения диапазона измерений). Калибровочный газ, используемый при установке, может быть постепенно разбавлен. В случае нелинейной градуировочной характеристики требуется проводить калибровку не менее чем по 10 точкам диапазона измерений.
Градуировочная характеристика газоанализаторов может быть проверена при подаче калибровочного газа напрямую на вход газоанализатора. Настройку газоанализатора проверяют регулярно, например еженедельно (период необслуживаемой работы). Градуировочную характеристику газоанализатора проверяют через большие интервалы времени (например, ежегодно) или после ремонта.
7.3. Сохранность пробы
Особого внимания требует сохранение целостности отобранной пробы путем правильного выбора устройств системы отбора проб, а также соответствующего нагрева, осушки, контроля и т. п. На сохранность пробы также могут влиять коррозия, синергизм, взаимодействие компонентов пробы, разложение и абсорбция / адсорбция.
7.4. Техническое обслуживание систем отбора проб
Техническое обслуживание системы отбора проб состоит из выполнения следующих операций:
- проверки соблюдения требований безопасности в соответствии с инструкциями;
- проверки работы предохранительных устройств;
- замены использованных компонентов блока очистки (фильтр, осушитель и т. д.);
- регулирования рабочих параметров;
- проверки водо-, энергоснабжения, наличия градуировочных газов.
Техническое обслуживание линии отбора проб проводят регулярно в соответствии с инструкцией по эксплуатации.

1 - отклоняющая пластина; 2 - фильтр грубой очистки; 3 - держатель; 4 - зонд; 5 - штуцер; 6 - крышка; 7 - манометр; 8 - трубка для подачи нулевого и калибровочного газов; 9 - обогреваемая трубка для отбора проб; 10 - датчик температуры (температура трубки для отбора проб); 11 - датчик температуры (температура нагревателя); 12 - фильтр тонкой очистки; 13 - нагреватель; 14 - охладитель; 15 - трубка для слива конденсата; 16 - вакуумметр; 17 - перепускной клапан; 18 - насос; 19 - трубка для отбора проб (нагревание необязательно); 20 - коллектор; 21 - трубки для подачи газа к газоанализаторам; 22 - расходомер; 23 - трубка для сброса избытка газа
Рисунок 1 - Пример компоновки системы экстрактивного отбора и подготовки проб

1 - измерительная ячейка; 2 - фильтр для защиты измерительной ячейки; 3 - зонд; 4 - газоход или труба; 5 - трубка для подачи калибровочного газа; 6 - блок регистрации данных; 7 - защитный кожух; 8 - приемопередающий блок; 9 - крепление зонда
Рисунок 2 - Пример схемы неэкстрактивного точечного датчика

1 - источник излучения; 2 - излучатель; 3 - внутренняя калибровочная ячейка; 4 - приемник; 5 - защитное окно; 6 - детектор; 7 - электронный модуль; 8 - блок регистрации данных; 9 - газоход или труба; 10 - труба для настройки или калибровки; 11 - нагнетатель продувочного воздуха; 12 - трубка для подачи калибровочного газа
Рисунок 3 - Пример схемы неэкстрактивного маршрутного датчика

1 - область пониженного давления зонда; Q2 - расход разбавляемого газа/ пробы (Q2); 2 - расход разбавленной пробы (Q1 + Q2); 3 - расход газа-разбавителя/воздуха (Q1); 4 - продувка калибровочным газом/воздухом
Коэффициент разбавления =![]()
Исходная концентрация отходящего газа источника =
× результат измерения.
Рисунок 4 - Схема зонда для разбавления газа
А.1 Устройства системы отбора проб
Правильный выбор материалов для изготовления устройств отбора проб (далее - материалы) является важной частью проектирования устройств. Применяемые материалы должны соответствовать следующим требованиям:
a) иметь высокую химическую стойкость и выдерживать воздействие агрессивных компонентов пробы;
b) не взаимодействовать с компонентами отходящих газов (вступать в химические реакции, абсорбировать, адсорбировать);
c) быть термостойкими при использовании в газоходе или около него.
Требования следует рассматривать с учетом стоимости материалов.
А.2 Химическая стойкость
Агрессивными компонентами отходящих газов контролируемых источников являются диоксид азота (NO2), диоксид серы (SO2), разбавленная азотная кислота (HNO3), сернистая кислота (H2SO3), разбавленная или концентрированная серная кислота (H2SO4) [влажный триоксид серы (SO3) или кислотный туман]. Сведения о химической стойкости различных материалов к этим компонентам, отобранные из 8-12 литературных источников, приведены в таблице А.1. Все материалы оценивали при комнатной температуре, при более высоких температурах их стойкость может значительно уменьшиться.
Нержавеющая сталь марки Carpenter 20 SS1) является самой стойкой в ряду материалов: алюминий, стали марок 304 SS1), 316 SS1) и Carpenter 20 SS. Стекло и ПТФЭ (тефлон2)) очень стойки ко всем компонентам проб. Поливинилхлорид (ПВХ) и тигон2) являются несколько менее стойкими ко всем компонентам, за исключением концентрированной азотной кислоты (HNO3), присутствие которой не ожидается на входе в систему отбора проб. ПВХ и тигон, в основном, являются коррозионно-стойкими, но при определенных условиях они могут вступать в реакцию с коррозийными компонентами. Для измерения низких концентраций NO2 и SO2 во влажных пробах рекомендуется применять стекло и ПТФЭ. Полиэтилен и полипропилен имеют очень близкую химическую стойкость и пригодны для использования там, где они не контактируют с концентрированной азотной кислотой (например, кислотный туман на предприятиях по производству серной кислоты). Нейлон представляет собой материал, имеющий ограниченное применение в системах отбора проб, в то время как мнения специалистов относительно характеристик витона2', полученных во время испытаний его стойкости, расходятся.
Таблица А.1 - Химическая стойкость различных материалов
|
Материал |
Агрессивный компонент |
||||||
|
Сухой SO2 |
Сухой NO2 |
Разбавленная HNO3 |
Разбавленная H2SO3 |
Разбавленная H2SO4 |
Концентрированная1) HNO3 |
Концентрированная H2SO4 |
|
|
Нержавеющая сталь 304 SS |
S (наблюдалась некоторая точечная коррозия) |
S |
S |
Q |
и |
S |
и |
|
Нержавеющая сталь 316 SS |
S |
S |
S(<0,051)2) |
S |
S или Q(<0,508) |
S(<0,508) |
и(>1,27) |
|
Нержавеющая сталь Carpenter 20 SS |
S |
S |
S |
S |
S или Q |
S |
S |
|
Алюминий |
S |
- |
S(0,127-0,508) |
S(0,127-0,508) |
Q (0,508-1,27) |
U(>1,27) |
U(>1,27) |
|
Стекло |
S |
S |
S(<0,127) |
- |
S(<0,127) |
S(>0,127) |
S(>0,127) |
|
Тефлон |
S |
S |
S |
S |
S |
S |
S |
|
ПВХ |
S |
S |
S |
S |
Q |
U |
S или Q |
|
Тигон |
S |
S |
S или Q |
S |
S |
Q или U |
S или Q |
|
Полиэтилен |
S |
S |
S или Q |
S |
S |
U |
Q или U |
|
Полипропилен |
S |
S |
S |
S |
S |
U |
Q или U |
|
Нейлон |
- |
S |
S |
U |
U |
U |
U |
|
Витон |
S-U |
S |
S |
S |
S |
S-U |
S-U |
|
Оценка химической стойкости материалов: S - удовлетворительно; Q - сомнительно; U - неудовлетворительно. Рекомендации: для коррозионно-активных сухого SO2 и сухого NO2 можно использовать тефлон. 1) При отборе проб исключено присутствие HNO3 высокой концентрации. 2) Цифры в круглых скобках показывают скорость коррозии в миллиметрах в год. |
|||||||
1) В Российской Федерации достаточно известными и распространенными аналогами приведенных в стандарте марок сталей являются: для 304 SS - 08Х18Н10, для 316 SS - 08Х17Н13М2Т, для Carpenter 20 SS - ЭИ-943; ЭП-518 (по ГОСТ Р 5632-72).
2) Тефлон, тигон и витон - примеры подходящих в данном случае коммерческих продуктов. Приведены для удобства пользования. Но это не значит, что данные продукты пользуются поддержкой ИСО.
|
Обозначение ссылочного международного стандарта |
Обозначение и наименование соответствующего национального стандарта |
|
ИСО 7934:1989 |
* |
|
ИСО 9096:1992 |
* |
|
* Соответствующий национальный стандарт отсутствует. До его утверждения рекомендуется использовать перевод на русский язык данного международного стандарта. Перевод данного международного стандарта находится в Федеральном информационном фонде технических регламентов и стандартов. |
|
|
Ключевые слова: качество воздуха, выбросы стационарных источников, экстрактивный и неэкстрактивный отбор проб, газоанализатор, калибровка |