|
ФЕДЕРАЛЬНОЕ АГЕНТСТВО |
||
|
|
НАЦИОНАЛЬНЫЙ |
ГОСТ Р |
Автомобильные транспортные средства
АППАРАТЫ ТОРМОЗНЫХ СИСТЕМ
С ГИДРАВЛИЧЕСКИМ ПРИВОДОМ
ТОРМОЗОВ
Технические требования и методы испытаний
|
|
Москва |
Цели и принципы стандартизации в Российской Федерации установлены Федеральным законом от 27 декабря
Сведения о стандарте
1. РАЗРАБОТАН Федеральным государственным унитарным предприятием «Центральный ордена Трудового Красного Знамени научно-исследовательский автомобильный и автомоторный институт» (ФГУП«НАМИ»)
2. ВНЕСЕН Техническим комитетом по стандартизации ТК 56 «Дорожный транспорт»
3.
УТВЕРЖДЕН И ВВЕДЕН В ДЕЙСТВИЕ Приказом Федерального агентства по техническому регулированию и метрологии от 28 декабря
4. ВВЕДЕН ВПЕРВЫЕ
Информация об изменениях к настоящему стандарту публикуется в ежегодно издаваемом информационном указателе «Национальные стандарты», а текст изменений и поправок - в ежемесячно издаваемых информационных указателях «Национальные стандарты». В случае пересмотра (замены) или отмены настоящего стандарта соответствующее уведомление будет опубликовано в ежемесячно издаваемом информационном указателе «Национальные стандарты». Соответствующая информация, уведомление и тексты размещаются также в информационной системе общего пользования - на официальном сайте национального органа Российской Федерации по стандартизации в сети Интернет
Содержание
|
НАЦИОНАЛЬНЫЙ СТАНДАРТ РОССИЙСКОЙ ФЕДЕРАЦИИ |
|
Автомобильные транспортные средства АППАРАТЫ ТОРМОЗНЫХ СИСТЕМ С ГИДРАВЛИЧЕСКИМ ПРИВОДОМ ТОРМОЗОВ Vehicles. |
Дата введения - 2007-01-01
Настоящий стандарт распространяется на аппараты гидравлического тормозного привода автотранспортных средств в сборе: главные тормозные цилиндры, скобы дисковые тормозных механизмов, колесные тормозные цилиндры барабанных тормозных механизмов, регуляторы тормозных сил, вакуумные (в сборе с главными тормозными цилиндрами) и гидровакуумные усилители - и устанавливает технические требования и методы испытаний.
В настоящем стандарте использованы нормативные ссылки на следующие стандарты:
ГОСТ Р 8.568-97 Государственная система обеспечения единства измерений. Аттестация испытательного оборудования. Основные положения
ГОСТ Р 41.13-99 (Правила ЕЭКООН № 13) Единообразные предписания, касающиеся официального утверждения транспортных средств категорий М, N и О в отношении торможения
ГОСТ Р 41.13-Н-99 (Правила ЕЭК ООН № 13-Н) Единообразные предписания, касающиеся официального утверждения легковых автомобилей в отношении торможения
ГОСТ 23181-78 Приводы тормозные гидравлические автотранспортных средств. Общие технические требования
Примечание - При пользовании настоящим стандартом целесообразно проверить действие ссылочных стандартов в информационной системе общего пользования - на официальном сайте национального органа Российской Федерации по стандартизации в сети Интернет или по ежегодно издаваемому информационному указателю «Национальные стандарты», который опубликован по состоянию на 1 января текущего года, и по соответствующим ежемесячно издаваемым информационным указателям, опубликованным в текущем году. Если ссылочный документ заменен (изменен), то при пользовании настоящим стандартом следует руководствоваться замененным (измененным) документом. Если ссылочный документ отменен без замены, то положение, в котором дана ссылка на него, применяется в части, не затрагивающей эту ссылку.
3.1. Аппараты гидравлического тормозного привода должны соответствовать требованиям настоящего стандарта, ГОСТ 23181 и технической документации (ТД), утвержденной в установленном порядке.
3.2. Аппараты гидравлического тормозного привода должны обладать герметичностью и прочностью при давлении на входе, соответствующем давлению при усилии на тормозной педали по ГОСТ 23181 (пункт 1.4), но не менее 20 МПа.
3.3. Вакуумные (в сборе с главными тормозными цилиндрами) усилители должны обладать герметичностью и прочностью при разрежении в вакуумной камере усилителя 0,075+0,005 МПа и усилии на входном штоке по ГОСТ 23181 (пункт 1.4) с учетом передаточного числа привода от тормозной педали.
3.4. Гидровакуумные усилители должны обладать герметичностью и прочностью при давлении на входе, соответствующем давлению при усилии на тормозной педали по ГОСТ 23181 (пункт 1.4), и при разрежении в вакуумной камере усилителя 0,075+0,005 МПа.
3.5.
Остаточная деформация корпуса усилителя в осевом направлении после испытаний на
прочность не должна превышать
3.6. Требования к герметичности и прочности аппаратов тормозного привода должны выполняться также после проведения испытаний циклическим нагружением в соответствии с режимами, указанными в 4.5, и в объеме не менее 150000 циклов.
4.1.1. Испытания проводят на оборудовании, аттестованном в соответствии с ГОСТ Р 8.568.
4.1.2. Испытания проводят по методикам, разработанным предприятиями в соответствии с требованиями настоящего стандарта.
4.1.3. Аппараты гидравлического тормозного привода подвергают испытаниям по:
- оценке герметичности и прочности - все аппараты;
- определению функциональных свойств - регуляторы тормозных сил и усилители;
- оценке долговечности в условиях циклического нагружения - все аппараты.
4.1.4. Все объекты перед началом испытаний проверяют на соответствие их габаритных и присоединительных размеров требованиям ТД.
4.1.5. Из полостей гидравлических аппаратов и трубопроводов должен быть удален воздух.
4.2.1. Рекомендуемые схемы испытательного оборудования для проведения испытаний по 4.1.3 приведены в приложении А.
4.2.2. Допускаемые погрешности измерения следующих параметров не должны превышать:
|
усилия- |
3 %; |
|
давления- |
3 %; |
|
разрежения - |
3 %; |
|
температуры - |
2,5 %; |
|
линейных размеров - |
5 %; |
|
частоты - |
3 %; |
|
времени- |
5 %; |
|
объема - |
5 %. |
4.2.3. Стендовые установки для проведения испытаний по оценке герметичности и прочности скоб, колесных тормозных цилиндров и регуляторов тормозных сил, а также определения их функциональных свойств должны обеспечивать следующие условия испытаний:
- регулирование давления рабочей жидкости на входе в пределах от 0 до 30 МПа;
- измерение давления жидкости на выходе из регулятора.
4.2.4. Стендовые установки для проведения испытаний по оценке герметичности и прочности главных тормозных цилиндров, используемых без вакуумного усилителя, должны обеспечивать следующие условия испытаний:
- регулирование статической осевой нагрузки на входной шток цилиндра в пределах от 0 до 4500 Н;
- измерение давления жидкости в рабочих полостях цилиндра;
- измерение линейного перемещения входного штока главного цилиндра.
4.2.5. Стендовые установки для проведения испытаний по оценке герметичности и прочности, а также определения функциональных свойств вакуумных усилителей (в сборе с главными тормозными цилиндрами) должны обеспечивать следующие условия испытаний:
- приложение регулируемой статической осевой нагрузки на входной шток усилителя в пределах от 0 до 4500Н;
- создание регулируемого разрежения воздуха в вакуумной камере усилителя до 0,1 МПа;
- измерение линейного перемещения входного штока вакуумного усилителя;
- измерение давления жидкости в рабочих полостях главного тормозного цилиндра.
4.2.6. Стендовые установки для проведения испытаний по оценке герметичности и прочности, а также определения функциональных свойств гидровакуумных усилителей должны обеспечивать следующие условия испытаний:
- создание регулируемого давления рабочей жидкости на входе в пределах от 0 до 20 МПа;
- создание регулируемого разрежения воздуха в вакуумной камере усилителя до 0,1 МПа;
- измерение давления жидкости на выходе из гидроцилиндра усилителя.
4.2.7. Стендовые установки для проведения испытаний по оценке долговечности в условиях циклического нагружения должны обеспечивать:
а) для скоб, колесных тормозных цилиндров и регуляторов тормозных сил:
- циклическое изменение входного давления в пределах от 0 до 10 МПа частотой 600 циклов в час,
- возможность поддержания температуры в нагревательной камере до 100°С (только для скоб и цилиндров);
б) для главных тормозных цилиндров, используемых без вакуумного усилителя:
- циклическое изменение входного усилия на штоке цилиндра в пред ел ах от 0 до 2500 Н частотой не менее 1000 циклов в час,
- возможность поддержания до 85°С температуры пространства, окружающего главный тормозной цилиндр;
в) для вакуумных усилителей в сборе с главными тормозными цилиндрами:
- циклическое изменение входного усилия на штоке вакуумного усилителя в пределах от 0 до 2500 Н с возможностью регулирования частотой не менее 1000 циклов в час,
- возможность создания регулируемого разрежения воздуха в вакуумной камере усилителя до 0,1 МПа,
- возможность поддержания до 85°С температуры пространства, окружающего усилитель с главным тормозным цилиндром;
г) для гидровакуумных усилителей:
- максимальное давление жидкости на входе - не менее 10 МПа с возможностью бесступенчатого изменения,
- возможность создания регулируемого разрежения воздуха в вакуумной камере усилителя до 0,1 МПа,
- обеспечение частоты циклов пульсации давления - не менее 1000 циклов в час,
- возможность поддержания температуры окружающего пространства до 85°С.
4.2.8. Стендовые установки по оценке долговечности в условиях циклического нагружения и определению функциональных свойств вакуумных (в сборе с главными тормозными цилиндрами) и гидровакуумных усилителей, а также по оценке долговечности главных тормозных цилиндров должны иметь нагрузочные гидроцилиндры с регулируемым объемом не менее рабочего объема испытуемого аппарата.
4.3.1.1. Испытания заключаются в создании давления жидкости на входе в аппарат, доведенного до уровня испытательного давления по ГОСТ 23181 (пункт 1.4), и выдерживании на этом уровне в течение 2 мин.
При этом фиксируют значение испытательного давления, время выдерживания и наличие или отсутствие утечки жидкости.
4.3.1.2. Признаком потери герметичности и разрушения является появление течи жидкости через трещины в корпусе или уплотнительные детали.
4.3.2.1. Испытания заключаются в создании испытательного усилия на штоке, доведенного до испытательного усилия по ГОСТ 23181 (пункт 1.4), умноженного на передаточное отношение педали, и выдерживании на этом уровне в течение 2 мин.
При этом фиксируют значения испытательного усилия и давления на выходе из рабочих полостей цилиндра, время выдерживания, перемещение штока во время выдерживания и наличие или отсутствие утечки жидкости.
4.3.2.2. Признаками потери герметичности и разрушения являются:
- прекращение повышения давления на выходах по мере повышения усилия;
- появление течи жидкости через трещины в корпусе или уплотнительные детали;
- перемещение штока после достижения регламентированного усилия на нем.
4.3.3.1. Вакуумный трубопровод испытательной установки предварительно проверяют на герметичность. Для этого наконечник шланга для подсоединения к вакуумному усилителю закрывают пробкой и создают разрежение в вакуумном трубопроводе и шланге (0,075 ± 0,005) МПа. После стабилизации разрежения падение разрежения в течение 1 мин (в пределах погрешности измерения) не допускается.
4.3.3.2. Перед нагружением усилителя измеряют расстояние между установочными плоскостями усилителя и главного тормозного цилиндра.
4.3.3.3. Испытания заключаются в создании и стабилизации разрежения в вакуумной камере усилителя (0,075 ± 0,005) МПа и выдерживании этого разрежения в течение 1 мин при различных статических усилиях на входном штоке. Значения усилий соответствуют 0 %, 20 %, затем 120 % максимального значения усилия на тормозной педали базового автомобиля по ГОСТ Р 41.13 и ГОСТ Р 41.13-Н для испытаний типа 0, умноженного на передаточное отношение педали. Затем прикладывают усилие по ГОСТ 23181 (пункт 1.4), умноженное на передаточное отношение педали, и выдерживают его на этом уровне в течение не менее 2 мин.
При этом фиксируют значения испытательного усилия, разрежения и давления на выходе из рабочих полостей цилиндра, время выдерживания, перемещения штока и снижение разрежения во время выдерживания, наличие или отсутствие утечки жидкости.
4.3.3.4. После снятия нагрузки вновь измеряют расстояние, указанное в 4.3.3.2, и фиксируют видимые остаточные деформации корпуса крышек и шпилек усилителя.
4.3.3.5. Признаками потери герметичности и разрушения являются:
- невозможность создания значения разрежения, указанного в 4.3.3.3;
- прекращение повышения давления в рабочих полостях главного тормозного цилиндра по мере повышения усилия на штоке;
- снижение разрежения в вакуумной камере или давления на выходе из цилиндра при постоянном усилии на штоке;
- перемещение штока усилителя при стабилизации усилия на нем;
- появление течи жидкости через трещины в корпусе или уплотнительные детали главного цилиндра;
- наличие
после испытаний на прочность остаточной деформации корпуса усилителя в осевом
направлении более
- видимые остаточные деформации корпуса крышек и шпилек усилителя.
4.3.4.1. Испытания заключаются в создании и стабилизации разрежения в вакуумной камере усилителя (0,075 ± 0,005) МПа и выдерживании этого разрежения в течение 1 мин при различных статических усилиях на входе. Значения усилий соответствуют 0 %, 20 %, затем 120 % максимального значения усилия на тормозной педали базового автомобиля по ГОСТ Р 41.13 и ГОСТ Р 41.13-Н для испытаний типа 0, умноженного на передаточное отношение педали. Затем создают усилие на входе, соответствующее приложению усилия по ГОСТ 23181 (пункт 1.4), умноженного на передаточное отношение педали (но не менее 20 МПа), и выдерживают его на этом уровне в течение не менее 2 мин.
При этом фиксируют значения испытательного давления, разрежения и давления на выходе из рабочих полостей цилиндров, время выдерживания, снижение разрежения во время выдерживания, наличие или отсутствие утечки жидкости.
4.3.4.2. Признаками потери герметичности и разрушения являются:
- невозможность создания значения разрежения, указанного в 4.3.4.1;
- прекращение повышения давления на выходе по мере повышения давления на входе;
- снижение разрежения в вакуумной камере при постоянном давлении на входе;
- снижение давления на входе или выходе после стабилизации давления на входе;
- появление течи жидкости через трещины в корпусе или уплотнительные детали гидроцилиндра.
Испытания заключаются в создании давления жидкости на входе в регулятор, которое изменяют в пределах от 0 до 8,0 МПа.
В указанном диапазоне фиксируют значения давлений на входе и выходе из регулятора через 1,0 МПа.
Испытания заключаются в последовательном создании стабилизированного разрежения в вакуумной камере в пределах от 0 до 0,075 МПа через 0,025 МПа и приложении при каждом из них статического усилия на входной шток усилителя, составляющего от 0 % до 120 % максимального значения усилия на тормозной педали базового автомобиля по ГОСТ Р 41.13 и ГОСТ Р 41.13-Н, умноженного на передаточное отношение педали.
При каждом значении разрежения в указанном диапазоне усилий фиксируют значения усилия на штоке и давлений на выходе из рабочих полостей главного тормозного цилиндра. Должно быть зафиксировано не менее пяти значений.
Испытания заключаются в последовательном создании стабилизированного разрежения в вакуумной камере в пределах от 0 до минус 0,075 МПа через 0,025 МПа и создании при каждом из них давления жидкости на входе в рабочий цилиндр, составляющего от 0 % до 120 % максимального значения усилия на тормозной педали базового автомобиля по ГОСТ Р 41.13 и ГОСТ Р 41.13-Н, умноженного на передаточное отношение педали.
При каждом значении разрежения в указанном диапазоне давлений фиксируют значения давлений на входе и выходе из тормозного цилиндра. Должно быть зафиксировано не менее пяти значений.
4.4.4. По полученным при испытаниях значениям (среднеарифметическое значение результатов не менее трех измерений) строят графики зависимостей давления на выходе из аппарата от усилий или давлений на его входе. Полученные результаты испытаний должны отличаться не более чем на 10 %, заданных в ТД.
4.5.1.1.
Перед началом испытаний с помощью регулирования зазора между поршнями и
ограничителями нагрузочных цилиндров испытательной установки устанавливают ход
поршней испытуемого аппарата, соответствующий: для скоб - не менее
4.5.1.2. Испытания проводят в нагревательной камере при температуре (70 ± 15)°С (кроме регуляторов тормозных сил) путем создания пульсирующего давления от 0 до 7,0 МПа частотой от 60 до 100 циклов нагружения в минуту до момента возникновения признаков потери герметичности или достижения 150000 циклов нагружения без потери герметичности.
4.5.2.1. Перед началом испытаний с помощью регулирования зазора между поршнями и ограничителями нагрузочных цилиндров испытательной установки устанавливают ход штока главного цилиндра, равный не менее 2/3 его полного хода при равном объеме вытесняемой жидкости из каждой полости.
4.5.2.2. Испытания проводят в нагревательной камере при температуре (70 ± 15)°С путем приложения циклически изменяющегося усилия на входной шток от 0 до 7,0 МПа частотой от 30 до 60 циклов нагружения в минуту до момента возникновения признаков потери герметичности или достижения 150000 циклов нагружения без потери герметичности.
4.5.3.1. Перед началом испытаний с помощью регулирования зазора между поршнями и ограничителями нагрузочных цилиндров испытательной установки устанавливают ход штока усилителя, равный не менее 2/3 его полного хода при равном объеме вытесняемой жидкости из каждой полости главного цилиндра.
4.5.3.2. При испытаниях в нагревательной камере должна поддерживаться температура (70 ± 15)°С и должно обеспечиваться постоянное разрежение в вакуумной камере (0,075 ± 0,005) МПа.
4.5.3.3. Испытания проводят путем приложения циклически изменяющегося усилия на входной шток от 0 до 7,0 МПа частотой от 30 до 60 циклов нагружения в минуту до момента возникновения признаков потери герметичности или достижения 150000 циклов нагружения без потери герметичности.
4.5.4.1. Перед началом испытаний с помощью регулирования зазора между поршнями и ограничителями нагрузочных цилиндров испытательной установки обеспечивают объем вытесняемой жидкости из рабочей полости цилиндра, равный не менее 2/3 его полного рабочего объема.
4.5.4.2. При испытаниях в нагревательной камере должна поддерживаться температура (70 ± 15)°С и должно обеспечиваться постоянное разрежение в вакуумной камере (0,075 ± 0,005) МПа.
4.5.4.3. Испытания проводят путем создания пульсирующего давления на выходе от 0 до 7,0 МПа частотой от 30 до 60 циклов нагружения в минуту до момента возникновения признаков потери герметичности или достижения 150000 циклов нагружения без потери герметичности.
5.1. По результатам испытаний составляют протоколы, в которых указывают идентификационные сведения объекта испытаний и приводят значения измеренных параметров, графические зависимости и данные, характеризующие поведение объекта в процессе испытаний.
5.2. Протоколы составляют на испытания:
- скоб дисковых тормозов и колесных цилиндров гидравлического и пневматического привода автотранспортных средств;
- регуляторов тормозных сил гидравлического привода автотранспортных средств;
- главных тормозных цилиндров гидравлического привода автотранспортных средств;
- гидровакуумных усилителей гидравлического тормозного привода автотранспортных средств;
- вакуумных усилителей в сборе с главным тормозным цилиндром.
Рекомендуемая форма протоколов испытаний приведена в приложении Б.
Рекомендуемые схемы испытательного оборудования приведены на рисунках А.1-А.6.

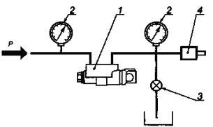
1 - объект испытаний; 2 - контрольные манометры; 3 - сливной кран; 4 - клапан прокачки; Р - давление на входе
Рисунок А.1 - Схема испытательной установки для определения функциональных свойств регуляторов тормозных сил гидравлического привода

1 - объект испытаний; 2 - контрольный манометр; 3 - сливной кран; 4 - клапан прокачки; Р - давление на входе
Рисунок А.2 - Схема испытательной установки для определения герметичности и прочности скоб дисковых тормозов, колесных цилиндров и регуляторов тормозных сил гидравлического привода

1 - компрессор; 2 - пневматическая магистраль; 3 - электропневмоклапан; 4 - регулятор давления; 5 - манометр; 6 - пневматическая камера; 7 - главный тормозной цилиндр; 8 - гидравлические манометры; 9 - объекты испытаний; 10 - нагревательная камера; 11 - термопара; 12 - нагревательный элемент; 13 - термореле; 14 - термоизмерительный прибор: 15 - счетчик импульсов; 16 - генератор импульсов; 17 - блок питания
Рисунок А.3 - Схема испытательной установки для определения долговечности и прочности скоб дисковых тормозов, колесных цилиндров и регуляторов тормозных сил гидравлического привода

1 - вакуумный усилитель; 2 - главный тормозной цилиндр; 3 - динамометр сжатия; 4 - указатель перемещения штока; 5 - индикатор деформации; 6,7 - манометры; 8 - вакуумметр; 9, 10 - нагрузочные цилиндры; 11- нагревательный элемент; A - атмосфера; B - вакуум; F - сила, прикладываемая к штоку усилителя; Δ - зазор между штоком нагрузочного цилиндра и упором
Рисунок А.4 - Схема установки для испытаний вакуумных усилителей

1 - объект испытаний; 2 - нагрузочный цилиндр; 3 - манометры; 4 - вакуумметр; 5 - нагревательный элемент; А - атмосфера; B - вакуум; Р - давление на входе; Δ - зазор между штоком нагрузочного цилиндра и упором
Рисунок А.5 - Схема установки для испытаний гидровакуумных усилителей гидравлического тормозного привода

1 - главный тормозной цилиндр; 2 - динамометр сжатия; 3 - указатель перемещения штока; 4, 5 - манометры; 6, 7 - нагрузочные цилиндры; 8 - нагревательный элемент; F - сила, прикладываемая к штоку усилителя; Δ - зазор между штоком нагрузочного цилиндра и упором
Рисунок А.6 - Схема установки для испытаний главных тормозных цилиндров
|
|
УТВЕРЖДАЮ Руководитель испытательного подразделения |
|
|
_____________ личная подпись |
____________________ расшифровка подписи |
|
|
«____»_________200___г. |
||
ПРОТОКОЛ ИСПЫТАНИЙ №______
|
1. Идентификационные данные об объекте испытаний |
|
|
|
|
|
|
|
2. Цель испытаний |
|
|
|
|
|
|
|
3. Методика испытаний |
|
|
|
|
|
|
4. Результаты испытаний
|
Наименование параметра |
Требования |
Результат испытаний |
|
|
|
|
|
|
|
|
|
|
|
|
|
|
|
|
5. Заключение
_____________________________________________________________________________________________________________________________________________________________________________________________________________________________________________
|
Испытания провел___________________ |
___________________________________ |
|
|
|
личная подпись |
расшифровка подписи |
«____»__________200____г.
Ключевые слова: автомобильные транспортные средства, гидравлические аппараты, тормозной привод, тормозной привод в сборе, главные тормозные цилиндры, дисковые скобы тормозных механизмов, тормозные колесные цилиндры, регуляторы тормозных сил, вакуумные усилители, гидровакуумные усилители