ИЗМЕНЕНИЕ № 3 |
ОСТ 108.275.56-80 Блоки хомутовые для подвесок трубопроводов ТЭС и АЭС. Конструкция и размеры |
Утверждено и введено в действие Министерством тяжелого, энергетического и транспортного машиностроения СССР от 03.11.87 № ВА-002-1/3025
Дата введения 01.01.88
На первой странице стандарта заменить слова: "срок введения установлен с 01.01.85" на "срок действия установлен с 01.01.85 до 01.01.93".
Пункт 1 изложить в новой редакции:
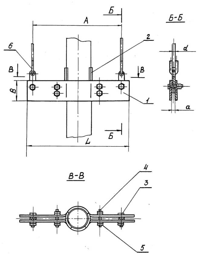
"1. Настоящий стандарт распространяется на хомутовые блоки для подвесок вертикальных трубопроводов наружным диаметром 57¸720 мм из хромомолибденованадиевых, кремнемарганцовистых и углеродистых сталей для ТЭС и АЭС".
Пункт 2. Чертеж заменить новым;
таблицы 1 и 2 изложить в новой редакции:

Таблица 1
Хомутовые блоки для подвесок трубопроводов из хромомолибденованадиевых сталей
|
Исполн. |
Наружный диаметр трубопровода |
Допускаемая нагрузка, кН (кгс) |
d |
А |
B |
L |
а |
к |
Полухомут, поз.1 (2шт.) |
Упор, поз. 2 (2шт.) |
Болт ГОСТ 7798-70 поз.3 (2шт.) Сталь 35 ГОСТ 1050-74 |
Шпилька ГОСТ 9066-75 поз.4 (4 шт.)** Сталь 20Х1М1Ф1ТР Г0СТ 20072-74 |
Гайка ГОСТ 5915-70 поз.5** (16шт.) Сталь 20Х1М1Ф1ТР Г0СТ 20072-74 |
Гайка ГОСТ 5915-20 поз.5 (4шт.) Сталь 35 ГОСТ 1050-74 |
Тяга с серьгой поз.7 (2шт) |
Масса блока*** кг |
||||
|
Исполн. по 0СТ 108.382.02-80 |
Исполн. по 0СТ 108. 386. 01-08 |
Исполнен. по ОСТ 108.632. 02-80 |
Исполнен. по 0СТ 108.632.05-80 |
|||||||||||||||||
|
Диаметр резьбы мм |
Длина мм |
Диаметр резьбы, мм |
Длина мм |
|||||||||||||||||
|
01 |
57 |
3,0 (300) |
10 |
530 |
80 |
590 |
8 |
3 |
01 |
01 |
М12 |
45 |
М12 |
70 |
М12 |
М12 |
01 |
- |
5,0 |
|
|
02 |
76 |
3,0 (300) |
10 |
550 |
80 |
610 |
8 |
4 |
02 |
02 |
М12 |
45 |
М12 |
70 |
М12 |
М12 |
01 |
- |
6,0 |
|
|
03 |
108 |
9,0 (900) |
12 |
630 |
100 |
690 |
8 |
4 |
03 |
03 |
М12 |
50 |
М12 |
70 |
М12 |
М12 |
02 |
- |
12,0 |
|
|
04 |
133 |
9,0 (900) |
12 |
670 |
100 |
740 |
12 |
6 |
04 |
04 |
М12 |
60 |
М12 |
80 |
М12 |
М12 |
02 |
- |
14,0 |
|
|
05 |
159 |
9,0 (900) |
12 |
670 |
160 |
760 |
12 |
6 |
05 |
05 |
М12 |
60 |
М12 |
80 |
М12 |
М12 |
02 |
- |
26,0 |
|
|
06 |
194 |
30,0 (3000) |
16 |
840 |
160 |
930 |
16 |
6 |
06 |
06 |
М16 |
80 |
М16 |
100 |
М16 |
М16 |
03 |
01 |
35,0 |
|
|
07 |
219 |
30,0 (3000) |
16 |
910 |
160 |
1000 |
16 |
8 |
07 |
07 |
М16 |
80 |
М16 |
100 |
М16 |
М16 |
03 |
01 |
39,0 |
|
|
08 |
245 |
34,0 (3400) |
20 |
920 |
160 |
1000 |
16 |
10 |
08 |
08 |
М16 |
80 |
М16 |
110 |
М16 |
М16 |
04 |
02 |
48,0 |
|
|
09 |
273 |
34,0 (3400) |
20 |
930 |
160 |
1020 |
20 |
10 |
09 |
09 |
М16 |
80 |
М16 |
110 |
М16 |
М16 |
04 |
02 |
50,0 |
|
|
10 |
273 |
68,0 (6800) |
24 |
900 |
250 |
964 |
20 |
10 |
10 |
09 |
М24 |
100 |
М24 |
150 |
М24 |
М24 |
06 |
04 |
90,0 |
|
|
11 |
325 |
68,0 (6800) |
24 |
970 |
200 |
1070 |
24 |
14 |
11 |
10 |
М20 |
90 |
М20 |
130 |
М20 |
М20 |
06 |
04 |
70,0 |
|
|
12 |
377 |
68,0 (6800) |
24 |
1080 |
200 |
1150 |
24 |
14 |
12 |
11 |
М20 |
100 |
М20 |
130 |
М20 |
М20 |
06 |
04 |
90,0 |
|
|
13 |
377 |
150,0 (15000) |
36 |
1080 |
250 |
1220 |
24 |
14 |
13 |
11 |
М36 |
140 |
М36 |
250 |
М36 |
М36 |
10 |
08 |
130,0 |
|
|
14 |
426 |
68,0 (6800) |
24 |
1100 |
200 |
1200 |
30 |
14 |
14 |
12 |
М24 |
110 |
М24 |
160 |
М24 |
М24 |
06 |
04 |
100,0 |
|
|
15 |
465 |
68,0 (6800) |
24 |
1150 |
200 |
1240 |
30 |
14 |
15 |
13 |
М24 |
110 |
М24 |
160 |
М24 |
М24 |
06 |
04 |
100,0 |
|
|
16 |
465 |
110,0 (11000) |
30 |
1300 |
220 |
1420 |
30 |
14 |
16 |
13 |
М30 |
150 |
М30 |
220 |
М30 |
М30 |
08 |
06 |
220,0 |
|
|
17 |
530 |
110,0 (11000) |
30 |
1270 |
250 |
1350 |
30 |
14 |
17 |
14 |
М30 |
120 |
М30 |
190 |
М30 |
М30 |
08 |
06 |
150,0 |
|
|
18 |
630 |
160,0 (16000) |
45 |
1250 |
250 |
1390 |
36 |
14 |
18 |
15 |
М42 |
140 |
М42 |
250 |
М42 |
М42 |
11 |
09 |
180,0 |
|
|
19 |
720 |
300,0 (30000) |
50 |
1400 |
300 |
1540 |
36 |
14 |
19 |
16 |
- |
- |
М42 |
250 |
М42 |
- |
12 |
10 |
360,0 |
|
*Болты заменены шпильками: для исп.12 - М20´140, исп.14, 15 - М24´160, исп.16 - М30´210, исп.18,19 - М42´200, сталь 35 ГОСТ 1050-74.
**Для исполнения 19 шпилек поз.4 - 6 шт, гаек поз.5 - 24 шт.
***Величина для справок. Масса тяги с серьгой не включается в состав блока.
Тяга с серьгой поставляется отдельной отправочной позицией
Хомутовые блоки для подвесок трубопроводов из кремнемарганцовистых и углеродистых сталей
|
Исполн. |
Наружный диаметр трубопровода |
Допускаемая нагрузка, кН (кгс) |
d |
А |
B |
L |
а |
к |
Полухомут, поз.1 (2шт.) |
Упор, поз. 2 (2шт.) |
Болт ГОСТ 7798-70 поз.3 (2шт.) Сталь 35 ГОСТ 1050-74 |
Шпилька ГОСТ 9066-75 поз.4 (4 шт.)** Сталь 35Х ГОСТ 4543-71 |
Гайка ГОСТ 5915-70 поз.5** (20 шт.) Сталь 35 ГОСТ 1050-74 |
Тяга с серьгой поз.6 (2шт) |
Масса блока*** кг |
||||
|
Исполн. по 0СТ 108.382.02-80 |
Исполн. по 0СТ 108. 386. 01-08 |
Исполнен. по ОСТ 108.632. 02-80 |
Исполнен. по 0СТ 108.632.05-80 |
||||||||||||||||
|
Диаметр резьбы мм |
Длина мм |
Диаметр резьбы, мм |
Длина мм |
||||||||||||||||
|
20 |
57 |
3,0 (300) |
10 |
530 |
80 |
590 |
8 |
3 |
20 |
17 |
M12 |
45 |
M12 |
70 |
M12 |
01 |
- |
5,0 |
|
|
21 |
76 |
3,0 (300) |
10 |
550 |
80 |
610 |
8 |
4 |
21 |
18 |
M12 |
45 |
M12 |
70 |
M12 |
01 |
- |
6,0 |
|
|
22 |
89 |
9,0 (900) |
12 |
570 |
100 |
630 |
8 |
4 |
22 |
19 |
M12 |
50 |
M12 |
70 |
M12 |
02 |
- |
11,0 |
|
|
23 |
108 |
9,0 (900) |
12 |
630 |
100 |
690 |
8 |
6 |
23 |
20 |
M12 |
50 |
M12 |
70 |
M12 |
02 |
- |
12,0 |
|
|
24 |
133 |
30,0 (3000) |
16 |
670 |
160 |
740 |
12 |
6 |
24 |
21 |
М20 |
70 |
М20 |
100 |
М20 |
03 |
01 |
22,0 |
|
|
25 |
159 |
48,0 (4800) |
20 |
670 |
160 |
760 |
12 |
6 |
25 |
22 |
М20 |
80 |
М20 |
110 |
М20 |
04 |
02 |
30,0 |
|
|
26 |
194 |
48,0 (4800) |
24 |
840 |
160 |
930 |
16 |
8 |
26 |
23 |
М20 |
80 |
М20 |
110 |
М20 |
05 |
03 |
37,0 |
|
|
27 |
219 |
48,0 (4800) |
24 |
910 |
160 |
1000 |
16 |
10 |
27 |
24 |
М20 |
80 |
М20 |
110 |
М20 |
05 |
03 |
40,0 |
|
|
28 |
273 |
48,0 (4800) |
24 |
930 |
160 |
1020 |
20 |
10 |
28 |
25 |
М20 |
90 |
М20 |
120 |
М20 |
06 |
04 |
50,0 |
|
|
29 |
325 |
110,0 (11000) |
30 |
970 |
200 |
1070 |
24 |
10 |
29 |
26 |
М27 |
110 |
М27 |
150 |
М27 |
08 |
06 |
71,0 |
|
|
30 |
377 |
110,0 (11000) |
30 |
1060 |
200 |
1150 |
24 |
14 |
30 |
27 |
М27 |
120 |
М27 |
160 |
М27 |
08 |
06 |
94,0 |
|
|
31 |
426 |
110,0 (11000) |
30 |
1100 |
200 |
1200 |
30 |
14 |
31 |
28 |
М27 |
120 |
М27 |
160 |
М27 |
08 |
06 |
99,0 |
|
|
32 |
465 |
110,0 (11000) |
30 |
1150 |
200 |
1240 |
30 |
14 |
32 |
29 |
М27 |
120 |
М27 |
160 |
М27 |
08 |
06 |
104,0 |
|
|
33 |
530 |
300,0 (30000) |
50 |
1160 |
230 |
1300 |
30 |
14 |
33 |
30 |
- |
- |
М42 |
250 |
М42 |
12 |
10 |
210,0 |
|
|
34 |
630 |
300,0 (30000) |
50 |
1250 |
230 |
1390 |
36 |
14 |
34 |
31 |
- |
- |
М42 |
250 |
М42 |
12 |
10 |
219,0 |
|
|
35 |
720 |
300,0 (30000) |
50 |
1400 |
300 |
1540 |
36 |
14 |
35 |
32 |
- |
- |
М42 |
250 |
М42 |
12 |
10 |
307,0 |
|
*Для исполнений 33-35 болт поз.3 заменен шпилькой М42´200, сталь 35 ГОСТ 1050-74.
**Для исполнений 33-35 шпилек поз.4 - 6 шт., гаек поз.5,6 - 24 шт.
***Величина для справок. Масса тяги с серьгой не включается в состав блока.
Тяга с серьгой поставляется отдельной отправочной позицией