Утверждено

письмом

Минсвязи России

от 27.12.99 г. № 7934

РУКОВОДЯЩИЙ ДОКУМЕНТ ОТРАСЛИ

ЛИНИИ ПЕРЕДАЧИ ВОЛОКОННО-ОПТИЧЕСКИЕ

НА МАГИСТРАЛЬНОЙ И ВНУТРИЗОНОВЫХ

ПЕРВИЧНЫХ СЕТЯХ ВСС РОССИИ.

ТЕХНИЧЕСКАЯ ЭКСПЛУАТАЦИЯ.

 

Руководящий технический материал

 

Минсвязи России

Москва

 

СОДЕРЖАНИЕ

ПРЕДИСЛОВИЕ

ВВЕДЕНИЕ

1 ОБЛАСТЬ ПРИМЕНЕНИЯ

2 НОРМАТИВНЫЕ ССЫЛКИ

3 ОПРЕДЕЛЕНИЯ, ОБОЗНАЧЕНИЯ И СОКРАЩЕНИЯ

3.1 Термины и определения

3.2 Сокращения и обозначения

4 ОСНОВНЫЕ ПОЛОЖЕНИЯ ПО ТЕХНИЧЕСКОЙ ЭКСПЛУАТАЦИИ ВОЛП

4.1 Общие положения

4.2 Характеристика методов технического обслуживания

4.3 Эксплуатационный контроль

4.4 Оперативно-технический контроль. Аварийная сигнализация

4.4.1 Общие положения [3]

4.4.2 Сигналы аварийной информации

4.4.3 Формирование сигналов обобщенных оценок состояния КО (ОТЭ)

5 ПРОЕКТИРОВАНИЕ И РАСЧЕТ ВОЛП

5.1 Общие положения по проектированию ВОЛП

5.2 Общие требования по обеспечению надежности ВОЛП

5.3 Расчет длины участка регенерации ВОЛП

5.4 Особенности проектирования ВОЛП СЦИ

5.5 Основные положения по проектированию ВОЛП-ВЛ

5.5.1 Общие положения

5.5.2 Указания по выбору ВЛ

5.5.3 Указания по выбору ОКГТ

5.5.4 Рекомендации по ТЭО строительства ВОЛП-ВЛ.

5.6 Инженерный расчет показателей надежности ВОЛП

5.6.1 Исходные данные для расчета и основные расчетные соотношения

5.6.3 Расчетные соотношения

5.6.4 Методика инженерного расчета

6 Порядок приемки и ввода в эксплуатацию аппаратуры и кабеля ВОЛП

6.1 Общие положения

6.2 Измерения и паспортизация аппаратуры ВОЛП при вводе в эксплуатацию

6.3 Измерение параметров и паспортизация кабельных участков

7 Техническое обслуживание ВОЛП в процессе эксплуатации

7.1 Общие положения

7.2 Порядок проведения измерений в процессе эксплуатации

7.3 Меры по обеспечению надежности ВОЛП

7.4 Рекомендации по техническому обслуживанию станционных оптических кабелей и оптических разъемных соединителей

7.5 Рекомендации по техническому обслуживанию линейных оптических кабелей

7.6 Требования безопасности при эксплуатации ВОЛП

7.6.1. Общие требования

7.6.2 Конструкция OK

7.6.3 Требования безопасности при выполнении работ по техническому обслуживанию в процессе эксплуатации ВОЛП

7.6.4 Требования к применению средств защиты

7.6.5 Требования к техническому персоналу

7.6.6 Стадии контроля выполнения требований безопасности

8 Организация и проведение РНР и РВР на ВОЛП

8.1 Общие положения

8.2 Оптимальная стратегия восстановления ВОЛП

8.3 Особенности восстановления ВОЛП и сетей СЦИ

8.4 Организация работ по восстановлению НРП ВОЛП

8.5 Организация работ по устройству временной связи на оптическом кабеле

Приложение А (информационное)

Рекомендации по выбору рабочей длины волны и типов оптического кабеля для одноканальных ВОЛП без оптических усилителей

Приложение Б (информационное)

Рекомендации по выбору типов оптического кабеля для многоканальных ВОЛП с оптическими усилителями

Приложение В (информационное)

Библиография

 

ПРЕДИСЛОВИЕ

1. РАЗРАБОТАН: Центральным научно-исследовательским институтом связи (ЦНИИС)

ВНЕСЕН: УЭС Минсвязи России

2. УТВЕРЖДЕН И ВВЕДЕН В ДЕЙСТВИЕ: информационным письмом от 27.12.99 №7934

3. ВВЕДЕН ВПЕРВЫЕ

ВВЕДЕНИЕ

Настоящий документ предназначен для технического персонала предприятий связи для руководства при проектировании, приемке, вводе в эксплуатацию, техническом обслуживании в процессе эксплуатации и восстановлении работоспособности волоконно-оптических линий передачи (ВОЛП) плезиохронной и синхронной цифровых иерархий при их применении на магистральной и внутризоновых первичных сетях ВСС РФ.

Настоящий РТМ разработан с учетом основных положений развития ВСС России на перспективу до 2005 г., вновь разработанных Правил технической эксплуатации первичных сетей связи взаимоувязанной сети связи Российской Федерации, нормативно-технических документов, Государственных стандартов России, Рекомендаций Международного Союза электросвязи (МСЭ-Т) и накопленного опыта эксплуатации ВОЛП.

Настоящий документ обязателен, если указано "должно быть" или рекомендателен, если указано "рекомендуется" для всех операторов магистральной и внутризоновых сетей общего пользования, эксплуатируемых ОАО "Ростелеком", региональным АО "Электросвязь", созданным в субъектах Российской Федерации на базе ГПСИ "Россвязьинформ", а также операторов других первичных сетей, работающих в рамках сети связи общего пользования.

Замечания и предложения к РТМ следует направлять в Управление электросвязи Минсвязи России по адресу: 103375 Москва, ул. Тверская, 7

Рд 45.047-99

РУКОВОДЯЩИЙ ДОКУМЕНТ ОТРАСЛИ

 

ЛИНИИ ПЕРЕДАЧИ ВОЛОКОННО-ОПТИЧЕСКИЕ

НА МАГИСТРАЛЬНОЙ И ВНУТРИЗОНОВЫХ

ПЕРВИЧНЫХ СЕТЯХ ВСС РОССИИ.

ТЕХНИЧЕСКАЯ ЭКСПЛУАТАЦИЯ.

Руководящий технический материал

Дата введения

01.02.2000

1 ОБЛАСТЬ ПРИМЕНЕНИЯ

Настоящий руководящий документ отрасли определяет организацию и порядок технической эксплуатации ВОЛП на первичных цифровых сетях ВСС России в целях обеспечения бесперебойной и высококачественной работы, нормального взаимодействия разных операторов: федерального и регионального уровней, ведомственных сетей и др.

Требования настоящего руководящего документа обязательны для всех операторов магистральной и внутризоновых первичных сетей общего пользования, эксплуатируемых ОАО "Ростелеком", региональными АО "Электросвязь", созданными в субъектах Российской Федерации на базе ГПСИ "Россвязьинформ", а также операторов других первичных сетей, работающих в рамках ВСС России. Руководящий документ отрасли может быть использован также при эксплуатации ведомственных первичных сетей связи для производственных и специальных нужд и сетей связи, организуемых в интересах государственного управления, обороны и безопасности. Ответственность за выполнение руководящего документа отрасли возлагается на руководство операторов первичных сетей.

2 НОРМАТИВНЫЕ ССЫЛКИ

В настоящем документе использованы ссылки на следующие стандарты:

ГОСТ 18322-78 Система технического обслуживания и ремонта техники. Термины и определения

ГОСТ 26886-86 Стыки цифровых каналов передачи и групповых трактов первичной сети ЕАСС. Основные параметры

ГОСТ 26599-85 Системы передачи волоконно-оптические. Термины и определения

ГОСТ 27.002-89 Надежность техники. Основные понятия. Термины и определения

ГОСТ Р 50723-94 Лазерная безопасность. Общие требования безопасности при разработке и эксплуатации лазерных изделий

ОСТ 45.63-96 Обеспечение надежности средств электросвязи. Основные положения

ОСТ 45.64-96 Организация ремонта средств электросвязи. Основные положения

ОСТ 45.66-96 Запасные части, инструменты и принадлежности средств электросвязи. Общие требования

ОСТ 45.104-98 Стыки оптические систем передачи синхронной цифровой иерархии. Классификация и основные параметры

ОСТ 45.119-99 Пункты регенерационные волоконно-оптических линий передачи. Общие требования безопасности

ОСТ 45.131-99 Стык оптический системы передачи синхронной цифровой иерархии. Методы измерения параметров.

3 ОПРЕДЕЛЕНИЯ, ОБОЗНАЧЕНИЯ И СОКРАЩЕНИЯ

3.1 Термины и определения

В настоящем документе применяются нижеследующие термины и определения по ГОСТ 26599-85, ГОСТ 27.002-89, ГОСТ 18322-78, ГОСТ Р 50723-94, а также по [1, 2, 3, 4, 5, 6, 7, 8, 9].

3.1.1 Техническая эксплуатация (ТЭ) - основной вид производственной деятельности предприятий электросвязи, реализуемый через систему технической эксплуатации.

ТЭ первичной сети отдельного оператора представляет собой совокупность методов и алгоритмов технического обслуживания, которые обеспечивают организацию и поддержание в требуемых пределах установленных норм любого объекта технической эксплуатации.

3.1.2 Объекты технической эксплуатации (ОТЭ) - технические средства электросвязи (ТСЭ), являющиеся составной частью соединения в трактах и каналах передачи и имеющие стык технической эксплуатации для обмена сигналами контроля и управления, а также дополнительное и специальное оборудование и средства, предназначенные для поддержания работоспособности ТСЭ и (или) выполнения специальных функций, например, аккумуляторные батареи, дизели, спецоборудование по защите информации и т.п.

Примерами ОТЭ могут быть: линейные тракты кабельных, радиорелейных, спутниковых и воздушных систем передачи, сетевые тракты, каналы передачи, участки линий передачи и трактов, мультиплексные и регенерационные секции для ЦСП СЦИ, аппаратура и оборудование сетевых узлов (станций), а также их отдельные элементы на первичных сетях ВСС России.

3.1.3 Технические средства электросвязи (ТСЭ) - технические средства, используемые для формирования, обработки, передачи или приема сообщений электросвязи.

3.1.4 Техническое обслуживание (ТО) - комплекс операций или операция по поддержанию работоспособности или исправности ОТЭ при использовании его по назначению, хранении и транспортировании в течение всего срока службы.

3.1.5 Профилактическое техническое обслуживание (ПТО) - ТО, выполняемое через определенные временные интервалы или в соответствии с заранее установленными критериями и направленное на своевременное предупреждение возможности появления отказа или ухудшения функционирования ОТЭ.

3.1.6 Корректирующее техническое обслуживание (КТО) - ТО, выполняемое после обнаружения состояния неработоспособности ОТЭ и направленное на его восстановление в состояние, когда параметры качества ОТЭ находятся в пределах установленных допусков.

3.1.7 Управляемое техническое обслуживание (УТО) - ТО, выполняемое путем систематического применения методов анализа состояния ОТЭ с использованием средств контроля рабочими характеристиками ОТЭ, управления качеством передачи и устранением неисправностей и направленное на сведение к минимуму профилактического технического обслуживания и сокращение корректирующего технического обслуживания.

3.1.8 Система технической эксплуатации первичной сети оператора связи (СТЭ) - совокупность методов и алгоритмов технического обслуживания объектов технической эксплуатации первичной сети, технические средства связи и программно-технические средства, а также технический персонал, обеспечивающие функционирование сети с требуемыми качественными показателями.

СТЭ первичной сети строится по территориально-иерархическому принципу с числом иерархических уровней, определяемым конкретными условиями технической эксплуатации и масштабами обслуживаемой сети.

На всех иерархических уровнях СТЭ могут функционировать:

- системы оперативно-технического обслуживания (СОТО) - для цифровых сетей на основе ЦСП старого поколения;

- центры технической эксплуатации (ЦТЭ) - для цифровых сетей на основе современных ЦСП.

Эти и другие структуры технической эксплуатации организуются на основе технических служб операторов сетей.

3.1.9 Система управления первичной сетью оператора связи - комплекс программно-технических средств и технический персонал, обеспечивающие функционирование первичной сети при любых изменениях ее состояния, эффективное использование всех ее возможностей в интересах вторичных сетей и других пользователей, сокращение времени восстановления трактов и каналов передачи и повышение производительности труда технического персонала.

С учетом поэтапного характера цифровизации ВСС России на первичных сетях операторов связи могут использоваться следующие модификации систем управления:

система (автоматизированная) оперативно-технического управления (СОТУ, АСОТУ) - для цифровых сетей на основе ЦСП старого поколения;

автоматизированная система управления, основанная на современной концепции МСЭ-Т (Рекомендация М.3010), сеть управления электросвязью (СУЭ) - для цифровых сетей на основе современных ЦСП.

СОТУ строятся по территориально-иерархическому принципу на основе существующих структурных подразделений технической эксплуатации первичных сетей операторов связи.

3.1.10 Задержка технического обслуживания - период времени между определением места отказа и прибытием технического персонала.

3.1.11 Эксплуатационный контроль на первичных сетях операторов связи - процесс определения соответствия ОТЭ установленным требованиям в процессе их эксплуатации.

3.1.12 Аномалия - расхождение между текущим значением и требуемым значением параметра ОТЭ, не приводящее к прекращению связи.

Аномалия может влиять или не влиять на способность объекта выполнять требуемую функцию.

3.1.13 Дефект - ограниченный перерыв способности ОТЭ выполнять требуемую функцию. Он может требовать или не требовать действий по технической эксплуатации в зависимости от оценки результатов дополнительного анализа.

Последовательные аномалии, вызывающие уменьшение способности ОТЭ выполнять требуемую функцию, рассматриваются в качестве дефекта.

3.1.14 Оперативно-технический контроль на первичной сети оператора связи - процесс определения соответствия обобщенным оценкам состояния нижеследующих ОТЭ, именуемых контролируемыми объектами (КО):

- сетевых узлов (станций) - КО-СУ (СС);

- линий передачи и их участков, мультиплексных и регенерационных секций для ЦСП СЦИ - КО-ЛП (УЛП);

- линейных трактов и их участков - КО-ЛТ (УЛТ);

- сетевых трактов и их участков, виртуальных контейнеров и компонентных трактов для ЦСП СЦИ - КО-СТ (УСТ);

- каналов передачи - КО-КП.

Для современных ЦСП определение обобщенных оценок состояния должно осуществляться для всех ОТЭ.

КО (ОТЭ для современных ЦСП) характеризуются следующими обобщенными оценками состояния: «НОРМА», «ПРЕДУПРЕЖДЕНИЕ», «ПОВРЕЖДЕНИЕ», «АВАРИЯ».

3.1.15 "НОРМА" - параметры качества и элементы КО находятся в пределах установленных допусков.

3.1.16 "ПРЕДУПРЕЖДЕНИЕ" - параметры качества находятся в пределах установленных допусков, а параметры элементов КО, режим и условия работы свидетельствуют о повышенной возможности отказа КО (приемлемое качество).

3.1.17 "ПОВРЕЖДЕНИЕ" - параметры качества вышли за пределы установленных допусков в результате нарушения режима КО или наличия неисправности в нем, однако КО сохраняет состояние работоспособности (ухудшенное качество).

3.1.18 "АВАРИЯ" - параметры качества вышли за пределы установленных допусков в результате нарушения режима КО или наличия неисправности в нем, вследствие чего наблюдается отказ КО (неприемлемое качество).

3.1.19 Исправное состояние - состояние ОТЭ, при котором он соответствует всем требованиям нормативно-технической и (или) конструкторской (проектной) документации.

3.1.20 Неисправное состояние - состояние ОТЭ, при котором он не соответствует хотя бы одному из требований нормативно-технической и (или) конструкторской (проектной) документации.

3.1.21 Повреждение - событие, заключающееся в нарушении исправного состояния ОТЭ при сохранении работоспособного состояния.

3.1.22 Работоспособное состояние - состояние ОТЭ, при котором значение всех параметров, характеризующих способность выполнять заданные функции, соответствует требованиям нормативно-технической и (или) конструкторской (проектной) документации.

3.1.23 Неработоспособное состояние - состояние ОТЭ, при котором значение хотя бы одного параметра, характеризующего способность выполнять заданные функции, не соответствует требованиям нормативно-технической и (или) конструкторской (проектной) документации.

3.1.24 Отказ - событие, заключающееся в нарушении работоспособного состояния ОТЭ.

3.1.25 Коэффициент готовности (Кг) - вероятность того, что ОТЭ окажется в работоспособном состоянии в произвольный момент времени, кроме планируемых периодов, в течение которых использование объекта по назначению не предусматривается.

3.1.26 Коэффициент неготовности или коэффициент простоя (Кп) - вероятность того, что система окажется в неработоспособном состоянии в произвольный момент времени, кроме планируемых периодов.

Коэффициент простоя ОТЭ однозначно связан с коэффициентом готовности

Кп = 1 - Кг и характеризует безотказность (через λ0) и ремонтопригодность (через Тв).

3.1.27 Средняя наработка на отказ (Т0) - отношение суммарной наработки ОТЭ к математическому ожиданию числа его отказов в течение этой наработки.

3.1.28 Наработка - продолжительность или объем работы ОТЭ.

3.1.29 Интенсивность отказов 0) - условная плотность вероятности возникновения отказа ОТЭ, определяемая при условии, что до рассматриваемого момента времени отказ не возник.

3.1.30 Среднее время восстановления (Тв) - математическое ожидание времени восстановления работоспособного состояния ОТЭ после отказа.

3.1.31 Сигнал индикации аварийного состояния (СИАС) - сигнал, связанный с неработоспособным ОТЭ и передаваемый в пораженном направлении, в качестве замены рабочего сигнала, и указывающий другим работоспособным ОТЭ, что отказ идентифицирован и что другие аварийные сигналы технической эксплуатации, являющиеся следствием этого отказа, должны быть блокированы.

3.1.32 Сигнал аварии службы (САС) - сигнал, выдаваемый ОТЭ, в которых начинается и/или заканчивается предоставление услуги, чтобы показать, что данный вид услуги более не предоставляется. САС должен выдаваться, когда величина рабочего параметра снижается ниже значения, требуемого данной службой. Это значение может совпадать с тем значением, при котором также выдается сигнал "АВАРИЯ".

3.1.33 Сигнал указания об отказе на предшествующем участке (СУОП) - сигнал, указывающий, что отказ произошел на участке, предшествующем по приему данному пункту, и поэтому какие-либо действия по технической эксплуатации не инициируются.

3.1.34 Встроенный канал управления (ВКУ) - канал логических операций между сетевыми элементами СУЭ, использующий канал передачи данных как свой физический уровень.

К элементам СУЭ относятся операционные системы, устройства взаимодействия, рабочая станция и элементы сети электросвязи - сетевые элементы.

3.1.35 Сеть управления ЦСП (СУ) - составная часть СУЭ, управляющая сетевыми элементами (СЭ) ЦСП.

СУ может быть подразделена на ряд подсетей управления ЦСП.

3.1.36 Подсеть управления ЦСП (ПСУ) - составная часть СУ, состоящая из отдельных каналов ВКУ и связанных с ними внутренних линий передачи данных, которые соединены для организации сети управления передачи операционных данных в пределах любой заданной топологии ЦСП на транспортном уровне.

3.1.37 Прикладная функция управления (ПФУ) - прикладной процесс управления элементом СУЭ.

Прикладная функция управления состоит из агента (управляемого) и/или менеджера. Каждый СЭ и операционная система или устройство взаимодействия должны поддерживать прикладную функцию управления, в которую входит по крайней мере агент.

Прикладная функция управления является началом (исходной) и окончанием (заключительной) всех сообщений СУЭ.

3.1.38 Менеджер (М) - часть ПФУ, которая способна выдавать операцию сетевого управления (например, производить выборку записи аварийного события, устанавливать пороговые значения) и получать информацию об авариях и о рабочих характеристиках. В сетевые элементы ЦСП может входить или не входить менеджер, в то время как в операционную систему или устройство взаимодействия входит по крайней мере один менеджер.

3.1.39 Агент (А) - часть ПФУ, которая способна осуществлять отклик на операции сетевого управления, выдаваемые менеджером, и выполнять операции с управляемыми объектами, выдавая события от имени управляемых объектов.

Управляемые объекты могут находиться в данной или в другой открытой системе. Управляемые объекты других открытых систем управляются дистанционным агентом через локального менеджера. Все сетевые элементы ЦСП поддерживают по крайней мере агента. Некоторые сетевые элементы ЦСП обеспечивают менеджеров и агентов (управляемых). Некоторые сетевые элементы, например регенераторы, поддерживают только агента.

3.1.40 Управляемый объект (УО) - ОТЭ, техническая эксплуатация которых основана на применении метода УТО.

3.1.41 Функция обмена сообщениями (ФОС) - процесс обеспечения средств транспортировки сообщений СУЭ к и от функции ПФУ, а также средств транзита сообщений.

3.1.42 Функция операционной системы или функция взаимодействия (ОСФ/УВФ) - логический объект СУЭ, который осуществляет обработку информации управления с целью контроля и управления сетью электросвязи.

В части ЦСП СЦИ в СУЭ не существует различия между функцией операционной системы и функцией взаимодействия; этот объект считается функцией ПФУ, содержащей по крайней мере менеджера.

3.1.43 Функция сетевого элемента (СЭФ) - функция в пределах логического объекта цифровой сети, которая поддерживает сетевые транспортные службы на базе ЦСП, например, мультиплексирование, кроссконекция, регенерация.

Функция сетевого элемента моделируется с помощью ОТЭ или управляемых объектов.

3.1.44 Операционные системы или устройства взаимодействия (ОС/УВ) - автономный физический логический объект (элемент СУЭ), который поддерживает функцию ОСФ/УВФ, но не поддерживает функцию СЭФ.

Операционные системы или устройства взаимодействия содержат функцию ФОС и функцию ПФУ.

3.1.45 Сетевой элемент (СЭ) - автономный физический логический объект, который поддерживает по крайней мере функцию СЭФ и может также поддерживать функции ОСФ/УВФ.

В сетевой элемент входят УО (ОТЭ), ФОС и ПФУ.

Примерами СЭ для ЦСП СЦИ могут быть: мультиплексная и регенерационная секции, синхронные мультиплексоры оконечный и ввода/вывода, аппаратура оперативного переключения (кроссконнекции).

3.1.46 Вспомогательные объекты технической эксплуатации (ВОТЭ) - объекты, не выполняющие непосредственно функцию передачи сообщений (устройства обнаружения отказов, передачи служебных сигналов, аварийной сигнализации, сопряжение с СОТО и СОТУ).

3.1.47 Блок с ошибками - блок, в котором имеется одна или несколько ошибок по битам.

3.1.48 Секунда с ошибками (ES) - отрезок времени в одну секунду, в котором имеется один или несколько блоков с ошибками (Errored second).

3.1.49 Секунда пораженная ошибками (SES) - отрезок времени в одну секунду, который содержит > 30% блоков с ошибками или, по крайней мере, один период с большим количеством ошибок или сильно пораженный период (Severely errored second).

3.1.50 Оптический усилитель (ОУ) - устройство для усиления оптических сигналов на основе активного оптического волокна.

3.1.51 Усилитель мощности (OУ1) - ОУ с большим значением мощности насыщения, предназначенное для использования непосредственно на выходе оптического передатчика для увеличения уровня мощности сигнала.

3.1.52 Предусилитель (ОУ2) - ОУ с очень низким уровнем шума, предназначенное для использования непосредственно на входе оптического приемника для увеличения его чувствительности.

3.1.53 Линейный усилитель (ОУ3) - ОУ с низким уровнем шума, который следует включать между участками пассивного волокна для увеличения длины участка регенерации.

3.1.54 Уровень опасности - потенциальная опасность доступа к лазерному излучению в любой точке волоконно-оптической системы связи определяется уровнем оптического излучения в случаях, когда имеют место:

- обрыв волоконного кабеля;

- разъединение оптического соединителя;

- ошибка оператора или нарушение правил технической безопасности при эксплуатации.

3.1.55 Уровень опасности 1 - относится к любой части волоконно-оптической системы связи, когда не происходит воздействия на человека лазерного излучения, превышающего допустимые пределы излучения класса 1 для используемой длины волны и продолжительности излучения.

3.1.56 Уровень опасности 2 - относится к любой части волоконно-оптической системы связи, когда не происходит воздействия на человека лазерного излучения, превышающего допустимые пределы излучения класса 2 для используемой длины волны и продолжительности излучения.

3.1.57 Уровень опасности 3А - относится к любой части волоконно-оптической системы связи, когда не происходит воздействия на человека лазерного излучения, превышающего допустимые пределы излучения класса 3А для используемой длины волны и продолжительности излучения.

3.1.58 Уровень опасности k×3А - в диапазоне длин волн от 400 нм до 4000 нм относится к любой части волоконно-оптической системы связи, когда не происходит воздействия на человека лазерного излучения, превышающего допустимые пределы излучения класса k×3А для используемой длины волны и продолжительности излучения.

3.1.59 Уровень опасности 3В - относится к любой части волоконно-оптической системы связи, когда не происходит воздействия на человека лазерного излучения, превышающего допустимые пределы излучения класса 3В для используемой длины волны и продолжительности излучения.

3.1.60 Уровень опасности 4 - относится к любой части волоконно-оптической системы связи, когда может происходить воздействие на человека лазерного излучения, превышающего допустимые пределы излучения класса 3В для используемой длины волны и продолжительности излучения.

3.2 Сокращения и обозначения

А

- агент,

АЛТ

- аппаратура линейного тракта,

АСП

- аналоговая система передачи,

ВзПС

- внутризоновая первичная сеть,

ВКУ

- встроенный канал управления.

ВЛ

- высоковольтная воздушная линия передачи,

ВОКВ

- временная оптическая кабельная вставка.

ВОКВП

- простая ВОКВ,

ВОКВС

- сложная ВОКВ,

ВОЛП

- линия передачи волоконно-оптическая,

ВОЛП-ВЛ

- ВОЛП, в которой ОК подвешен на опоры ВЛ,

ВОТЭ

- вспомогательный объект технической эксплуатации,

ВСС

- взаимоувязанная сеть связи,

ЗИП

- запасные части, инструменты, принадлежности,

ИЭ

- инструкция по эксплуатации,

Кг

- коэффициент готовности,

Кп

- коэффициент неготовности или коэффициент простоя,

КТО

- корректирующее техническое обслуживание,

КУ

- кабельный участок,

ЛАЦ

- линейно-аппаратный цех,

ЛП

- линия передачи,

ЛСП

- локальная сеть передачи.

ЛТ

- линейный тракт,

М

- менеджер,

МСП

- местная первичная сеть,

МСЭ-Т

- международный союз электросвязи (МСЭ) по телефонии и телеграфии.

НРП

- необслуживаемый регенерационный пункт,

OB

- оптическое волокно,

OK

- оптический кабель,

ОКГТ

- ОК, встроенный в грозозащитный трос,

OП

- оконечный пункт,

ОРП

- обслуживаемый регенерационный пункт,

ОС

- операционная система,

ОСЛ

- лампа общестоечной сигнализации,

ОСФ

- функция операционной системы или функция взаимодействия,

ОУ

- оптический усилитель

ОУ1

- усилитель мощности,

ОУ2

- предусилитель,

ОУ3

- линейный усилитель,

ОТЭ

- объект технической эксплуатации,

ОЦК

- основной цифровой канал,

ПСП

- псевдослучайная последовательность,

ПСУ

- подсеть управления ЦСП,

ПФУ

- прикладная функция управления,

ПТК

- программно-технический комплекс,

ПТО

- профилактическое техническое обслуживание,

ПТЭ

- правила технической эксплуатации,

ПЦИ

- плезиохронная цифровая иерархия,

РВР

- ремонтно-восстановительные работы,

РЛ

- регенератор линейный,

РНР

- ремонтно-настроечные работы,

САС

- сигнал аварии службы,

СИАС

- сигнал индикации аварийного состояния,

СМ

- соединитель механический,

СМП

- магистральная первичная сеть,

СМР

- строительно-монтажные работы,

СОР

- соединитель оптический разъемный,

СОТО

- система оперативно-технического обслуживания,

СОТУ

- система оперативно-технического управления,

СУ

- сеть управления ЦСП,

СУОП

- сигнал указания отказа на предшествующем участке линии передачи,

СУЭ

- сеть управления электросвязью,

СЦИ

- синхронная цифровая иерархия,

СТ

- сетевой тракт,

СТЭ

- система технической эксплуатации,

СТМ

- синхронный транспортный модуль,

СЭ

- сетевой элемент,

СЭФ

- функция сетевого элемента,

Тв

- среднее время восстановления,

То

- средняя наработка на отказ,

ТО

- техническое обслуживание,

ТСЭ

- технические средства электросвязи,

ТУ

- технические условия,

ТТ

- технические требования,

ТЭ

- техническая эксплуатация,

ТЭЗ

- типовой элемент замены,

ТЭО

- технико-экономическое обоснование,

УВ

- устройство взаимодействия,

УВФ

- функция взаимодействия,

УЛП

- участок линии передачи,

УЛТ

- участок линейного тракта,

УО

- управляемый объект,

УТО

- управляемое техническое обслуживание,

ФОС

- функция обмена сообщениями,

ЦСП

- цифровая система передачи,

ЦТЭ

- центр технической эксплуатации,

ЧВС

- четырехволновое смешивание,

ЭД

- эксплуатационная документация,

ШСЭ

- шлюзовый СЭ,

DCF

- волокно с компенсирующей дисперсией,

DSSMF

- волокно со смещением дисперсии,

ES

- секунда с ошибками,

NZ DSSMF

- волокно с ненулевой смещенной дисперсией,

PDC

- пассивный компенсатор дисперсии,

SES

- секунда, пораженная ошибками,

SMF

- одномодовое волокно,

λ0

- интенсивность отказов.

4 ОСНОВНЫЕ ПОЛОЖЕНИЯ ПО ТЕХНИЧЕСКОЙ ЭКСПЛУАТАЦИИ ВОЛП

4.1 Общие положения

4.1.1 Системы технической эксплуатации и управления первичных сетей ВСС России, организуемые соответствующими операторами этих сетей, являются одними из основных систем обеспечения функционирования первичных сетей.

4.1.2 Основной целью технической эксплуатации должна быть минимизация как случаев возникновения, так и влияния отказов на качество функционирования ОТЭ.

4.1.3 Проектирование и техническая эксплуатация сети должны осуществляться таким образом, чтобы затраты в течение всего срока эксплуатации были минимальны. Для определенного качества обслуживания общие затраты складываются из:

- капитальных затрат;

- затрат на использование по назначению;

- затрат на техническую эксплуатацию;

- потери доходов (или штрафов) за счет перерывов связи;

- штрафов за ухудшение качества функционирования.

4.1.4 В соответствии с Рекомендацией МСЭ-Т М.20 объект технической эксплуатации предназначен для выполнения определенных функций между стыками передачи (рисунок 1). Рабочая характеристика, контролируемая встроенным устройством обнаружения отказов, сообщается по стыку технической эксплуатации либо автоматически после возникновения отказа, либо по запросу об информации технической эксплуатации.

Кроме того, другие функции эксплуатации и управления могут выполняться с помощью стыка технической эксплуатации в соответствии с принципами СУЭ, изложенными в [3].

4.1.5 Один или несколько ОТЭ с одним или несколькими ВОТЭ составляют элемент сети или сетевой элемент (СЭ).

Для современных ЦСП техническая эксплуатация которых основана на применении управляемого технического обслуживания, ОТЭ, входящие в состав СЭ, являются по существу управляемыми объектами.

Рисунок 1 - Стыки объекта технической эксплуатации

СЭ наряду с функциями электросвязи выполняет функции формирования и обмена сигналами управления и контроля с другими сетевыми элементами, сетью управления электросвязью и местным терминалом обслуживания (рабочая станция), а также дополнительно может выполнять функции агента и (или) менеджера.

4.1.6 Техническая эксплуатация производится при [3]:

- вводе в эксплуатацию (паспортизация);

- поддержании в состоянии исправности в процессе эксплуатации (техническое обслуживание);

- восстановлении работоспособности (ремонтно-настроечные и ремонтно-восстановительные работы).

4.1.7 Процесс технической эксплуатации включает в себя [3]:

- измерение рабочих характеристик;

- обнаружение отказов;

- сигнализацию об отказах и рабочих характеристиках;

- резервирование;

- восстановление работоспособности;

- проверку (после восстановления).

4.2 Характеристика методов технического обслуживания

4.2.1 Рекомендуются следующие методы ТО: ПТО, КТО, УТО [3].

ПТО включает:

- периодический эксплуатационный контроль;

- плановые измерения рабочих характеристик и РНР;

- плановую замену компонентов аппаратуры;

- текущее обслуживание оборудования и аппаратуры.

КТО включает:

- непрерывный эксплуатационный контроль;

- эпизодический эксплуатационный контроль;

- оперативно-технический контроль;

- РВР и РНР;

- измерение рабочих характеристик.

УТО включает:

- непрерывный эксплуатационный контроль;

- оперативно-технический контроль;

- операции управления и переключения на резерв.

4.2.2 На современном этапе развития средств электросвязи и сети управления электросвязью доминирующее значение приобретает УТО, которое по сравнению с ПТО и КТО позволяет обнаружить и устранить намечающийся отказ, а в ряде случаев осуществить и восстановление без прекращения связи. Современные средства электросвязи, например, ЦСП СЦИ, практически ориентированы именно на применение УТО и во взаимодействии со средствами СУЭ обеспечивают техническую эксплуатацию на новом качественном уровне, в соответствии с концепцией МСЭ-Т [6].

Управление сетью ЦСП СЦИ осуществляется на основе использования многоуровневого распределенного процесса управления (СУЭ-СУ-ПСУ). Каждый уровень предопределяет уровень возможностей сетевого управления. Нижнему уровню этой организационной модели управления (рисунок 2) соответствуют СЭ ЦСП СЦИ, обеспечивающие услуги транспортного уровня. ПФУ в пределах СЭ участвует в обмене и обеспечивает поддержку управления в направлении равноправных СЭ и УВ/ОС.

Процесс связи обеспечивается посредством ФОС в пределах каждого логического объекта.

В ПФУ каждого логического объекта могут входить только агенты или только менеджеры, или как агенты, так и менеджеры. Логические объекты, в которые входят менеджеры, могут управлять другими объектами.

Каждый уровень многоуровневой организационной модели может обеспечить дополнительные возможности управления. Однако, структура сообщений должна оставаться одной и той же. Менеджер в СЭ ЦСП СЦИ может подавлять аварийную сигнализацию, создаваемую одним или более управляемыми СЭ при возникновении общего отказа, и заменять ее другим сообщением аварийной сигнализации, направляемым к ОС/УВ, идентифицирующим источник аварии.

Формат нового сообщения аварийной сигнализации согласован с другими сообщениями аварийной сигнализации.

Формат сообщения сохраняется при транспортировании сообщений вверх по иерархии, т.е. сообщения СЭ ЦСП СЦИ к другому СЭ ЦСП СЦИ будут иметь такую же структуру, как сообщения СЭ ЦСП СЦИ к УВ и сообщения УВ к ОС.

На рисунке 3 приведены примеры организации связи на основе использования протоколов Q-стыка, реализованных в функции ФОС:

- между менеджером в ОС и агентом в УВ (стык I);

- между менеджером в УВ и агентом в сетевом элементе СЭа (стык II);

- между менеджером в сетевом элементе СЭа и агентом в сетевом элементе СЭб (стык III).

Рисунок 2 - Модель организации управления сетью ЦСП СЦИ

ОС-ПФ - прикладная функция операционной системы

УВ-ПФ - прикладная функция устройства взаимодействия

Рисунок 3 - Примеры организации связи при управлении сетью

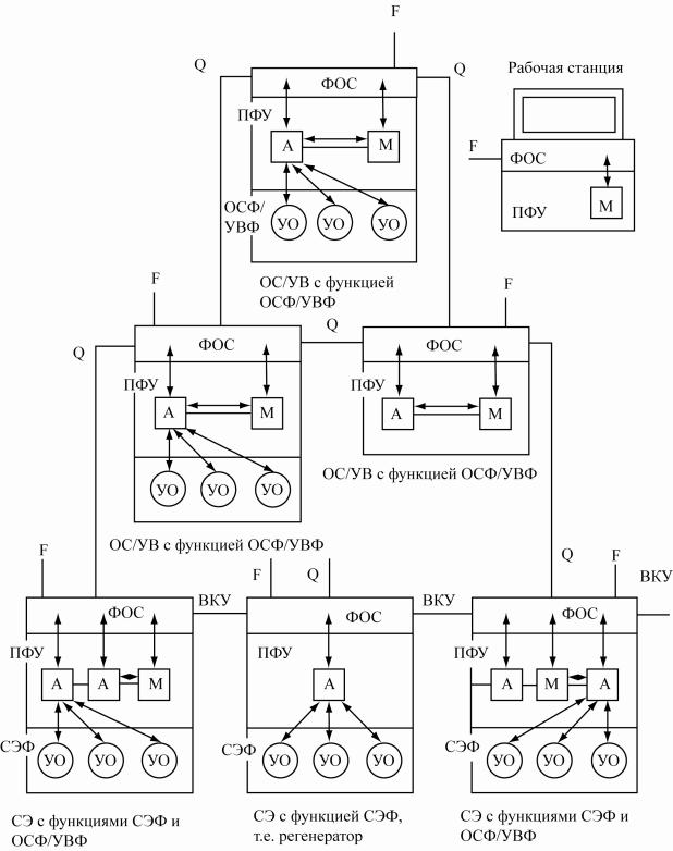
На рисунке 4 приведена модель СУ, ПСУ и СУЭ и показано взаимодействие между ними.

Доступ к ПСУ обеспечен посредством функционального блока сетевого элемента ЦСП СЦИ. Сетевой элемент ЦСП СЦИ может быть подключен к другим участкам сети СУЭ через следующие совокупности стыков:

- рабочая станция (стык F);

- устройство взаимодействия (стык Q);

- операционная система (стык Q).

На рисунке 4 следует отметить несколько точек, имеющих отношение к архитектуре ПСУ.

- несколько сетевых элементов могут быть размещены в одном месте расположения оборудования, например, сетевые элементы ШСЭд и ШСЭе, СЭ31 и СЭ32;

- функция обмена сообщениями сетевого элемента ЦСП СЦИ заканчивает сообщения (в смысле более низких уровней протокола), маршрутизируют его или с ее помощью осуществляется обработка сообщений во встроенном канале управления ВКУ, или осуществляется ее соединение через внешний Q-стык, таким образом:

а) все сетевые элементы могут быть необходимы для маршрутизации сообщений ВКУ между портами в соответствии с информацией управления маршрутизацией, содержащейся в сетевом элементе, то есть некоторые сетевые элементы могут потребоваться для выполнения функций промежуточной системы;

б) сетевые элементы могут также потребоваться для поддержки стыков типа Q и F;

Рисунок 4 - Модель СУ, ПСУ и СУЭ

- линия передачи между сетевыми элементами, расположенными в географически разнесенных местах или межстанционная связь между сетевыми элементами ЦСП СЦИ обычно организуется по каналам ВКУ;

- связь между сетевыми элементами ЦСП СЦИ, находящимися в одном месте расположения оборудования, организуется через внутристанционный канал ВКУ или через локальную сеть передачи (ЛСП).

Каждая ПСУ должна иметь по меньшей мере один СЭ, который подключен к ОС/УВ.

Этот СЭ, называемый сетевым элементом межсетевого шлюза или шлюзовым сетевым элементом (ШСЭ), приведен на рисунке 4. Элемент ШСЭ должен обладать возможностью выполнять функцию маршрутизации на сетевом уровне для сообщений ВКУ.

4.2.4 При применении на сети оператора связи ЦСП СЦИ разных производителей может возникнуть проблема взаимодействия между ПСУ разных фирм. В этом случае в центре управления сетью (СУ) рекомендуется установить головные устройства обеих ПСУ, а оператор в центре управления, обслуживающий эти устройства, должен усвоить два набора команд и процедур (либо нужно иметь двух операторов).

Взаимодействие самих подсетей ЦСП СЦИ, т.е. связь между СЭ разных подсетей ЦСП СЦИ, в этом случае возможна лишь путем обмена компонентными потоками ЦСП ПЦИ. При этом единый тракт виртуального контейнера между этими СЭ, который должен был бы управляться и контролироваться единой системой управления, заменяется двумя, действующими в пределах своей подсети и управляется каждый своей системой управления, т.е. теряется сквозной контроль за данным соединением.

4.3 Эксплуатационный контроль

4.3.1 Оценка качества функционирования ОТЭ, осуществляемая при эксплуатационном контроле, обеспечивает:

- определение соответствия рабочих характеристик ОТЭ действующим нормам;

- нахождение ОТЭ с нарушением функционирования и отклонениями рабочих характеристик от действующих норм.

4.3.2 Эксплуатационный контроль производится с помощью средств эксплуатационного контроля, включающих устройства встроенного контроля и программно-технические средства, входящие в состав ОТЭ либо автономные средства измерений, в том числе устройства, обеспечивающие автоматизацию измерений и регистрацию их результатов.

Эксплуатационный контроль подразделяется на непрерывный, периодический и эпизодический.

4.3.3 Непрерывный контроль - вид эксплуатационного контроля, проводимого непрерывно или путем опроса соответствующего числа параметров с целью оперативного определения характера и места неисправности ОТЭ. Непрерывный эксплуатационный контроль сети является процессом, при котором аномалии и дефекты, обнаруженные в объектах технической эксплуатации, анализируются и проверяются. Этот анализ может быть внутренним или внешним относительно объекта. В случае внешнего он может выполняться либо местными, либо централизованными средствами.

Контроль состоят из трех непрерывно и совместно проводимых процессов:

- процесс контроля для выявления аномалий (кратковременный период);

- процесс контроля для выявления дефектов (среднесрочный период);

- процесс контроля для выявления ухудшенного качества (долговременный период).

Каждый процесс сопровождают определенные данные, то есть собранные данные об аномалиях и собранные данные о дефектах. Процессы контроля за аномалиями и дефектами соответственно указывают на возникновение состояний аномалии или дефекта. Процесс контроля за ухудшением качества оценивает уровень качества объекта технической. эксплуатации и решает, является ли качество нормальным, ухудшенным или неприемлемым. Эти уровни качества определяются на основе полученных и проанализированных данных об аномалиях и дефектах за заданный интервал времени. Пороги, разделяющие ухудшенные и неприемлемые пределы качества, и период наблюдения определяются для каждого дефекта и подтвержденного состояния неработоспособности или пакета аномалий и дефектов, а также для каждого типа объекта. Индикация ухудшенного или неприемлемого значения рабочих параметров выдается каждый раз при превышении определенного порога. Этот процесс показан на рисунке 5.

Все сигналы первичной информации от различных датчиков либо передаются от каждого ОТЭ в блок обработки, либо обрабатываются на месте. Показатели рабочих характеристик определяются на основе этой информации. Каждый из показателей рабочих характеристик, называемых показателями ошибок (ES, SES), обрабатывается отдельно, чтобы рассчитать величину качества показателя работы ОТЭ.

Рисунок 5 - Процесс контроля в объекте технической эксплуатации

Показатели ошибок цифровых каналов и трактов являются статистическими параметрами и нормы на них определены с соответствующей вероятностью их выполнения.

Для показателей ошибок разработаны долговременные и оперативные эксплуатационные нормы.

Долговременные нормы определены на основе рекомендаций МСЭ-Т G.821 для ОЦК и G.826 для высокоскоростных трактов. Проверка долговременных норм требует в эксплуатационных условиях длительных периодов измерения - не менее 1 месяца [2].

Оперативные нормы относятся к экспресс нормам, они определены на основе рекомендаций МСЭ-Т М.2100, М.2110, М.2120 и М.2101 для СЦИ и требуют для своей оценки относительно коротких периодов измерения: Т = 15 мин., 1 час, 1 сутки, 7 суток.

Для анализа результатов контроля определяются пороговые значения S1 и S2 числа ES и SES за период наблюдения Т [2].

Если, например, за период наблюдения Т в процессе эксплуатации по результатам эксплуатационного контроля получено число ES, SES, равное S, то это означает при:

- S >,= S2 - неприемлемое качество;

- S1<S<S2 - ухудшенное качество;

- S <,= S1 - приемлемое качество.

4.3.4 Периодический контроль - вид эксплуатационного контроля проводимого по заранее намеченному плану или программе с помощью средств эксплуатационного контроля.

4.3.5 Эпизодический контроль - вид эксплуатационного контроля проводимого с помощью средств эксплуатационного контроля:

- по мере необходимости;

- при отклонении отдельных параметров трактов и каналов передачи от норм;

- по заявкам вторичных сетей и других потребителей;

- в процессе и после ремонтно-восстановительных работ.

4.3.6 Периодический и эпизодический контроль проводится на основании методик проверки нормируемых параметров (рабочих характеристик) и определения места неисправностей, имеющихся в действующих инструкциях по эксплуатации и настройке, указаниях по проведению измерений и других действующих нормативных документах.

Исходя из этих документов, определяется перечень контролируемых параметров и периодичность контроля (при составлении планов измерений), определяются значения параметров и необходимые (допустимые) технические средства.

Для проведения автоматизированных измерений линейных и сетевых трактов при периодическом и эпизодическом контроле взаимодействие средств измерений с противоположным концом контролируемого тракта осуществляется с помощью аппаратуры телеконтроля и телеуправления либо по измеряемому тракту с помощью специально разработанных устройств или с помощью средств ПТК.

4.4 Оперативно-технический контроль. Аварийная сигнализация

4.4.1 Общие положения [3]

Оперативно-технический контроль осуществляется непрерывно без вывода КО (ОТЭ для современных ЦСП) из эксплуатации. Сообщения о состояниях КО типа "НОРМА", "ПОВРЕЖДЕНИЕ" и "АВАРИЯ" должны передаваться в СУЭ (СОТУ).

Основным параметром оценки состояния трактов при оперативно-техническом контроле является качество передачи сигналов.

Качество передачи в современных ЦСП оценивается по показателям ошибок ES и SES, а для ЦСП старого поколения - по коэффициенту ошибок.

Линия передачи - КО-ЛП разбивается на участки ЛП (УЛП), заключенные между промежуточными пунктами, где оканчиваются линейные тракты или выделяются сетевые тракты, а также между промежуточными и оконечными пунктами.

Линейный тракт КО-ЛТ разбивается на мультиплексные и регенерационные секции для ЦСП СЦИ или участки (УЛТ), заключенные между пунктами выделения сетевых трактов или пунктами выделения и оконечными пунктами.

Неисправный участок КО-ЛП, КО-ЛТ, КО-СТ (УЛП, УЛТ, УСТ) определяется в ЦТЭ (СОТО) путем анализа информации об изменении состояния КО.

4.4.2 Сигналы аварийной информации

На рисунке 6 показан процесс обработки аварийной информации об объекте технической эксплуатации, начиная с процесса контроля для обнаружения неправильного функционирования.

Сигналы аварийной информации технической эксплуатации "ПРЕДУПРЕЖДЕНИЕ", "ПОВРЕЖДЕНИЕ", "АВАРИЯ" - могут выдаваться или не выдаваться в объекте технической эксплуатации. Когда сигнал выдается за пределами объекта технической эксплуатации, процесс обработки аварийной информации может объединять сообщения от других источников (например, от других объектов технической эксплуатации, о времени суток, об интенсивности нагрузки и т.д.) с выходными данными от процесса контроля за плохим функционированием, чтобы решить, должны ли выдаваться срочные, несрочные или информационные сигналы технической эксплуатации. Когда принят СИАС или СУОП, от ОТЭ может потребоваться выдача САС.

Рисунок 6 - Процесс обработки аварийной информации

 

СИАС, СУОП и САС, выдаваемые ОТЭ, используются для того, чтобы избежать ненужных действий по технической эксплуатации.

Появление СУОП означает либо отказ в оборудовании, выдающем сигнал аварии, либо нарушение передачи поступающего сигнала (сигнал извещения об отказе предшествующего оборудования или участка линии передачи). Чтобы правильно определиться между этими двумя возможностями, необходимо провести независимое тестирование либо входного сигнала, либо оборудования, выдающего аварийный сигнал. Пораженный входной сигнал указывает на отказ предшествующего оборудования. Оборудование, выдающее аварийный сигнал, может быть испытано независимо методом шлейфования. И если оборудование работает нормально, то выдается сигнал отказа предшествующего оборудования.

Сообщение об отказе, передаваемое по стыку аварийной сигнализации, используется при определении отказавшего ОТЭ. Информация может быть представлена либо на месте, либо дистанционно через систему сбора аварийных сигналов.

Сигналы аварии могут быть представлены в виде:

- индикации на стыке аварийной сигнализации (например, положение контактов, сигнал постоянного тока);

- сообщения аварийной сигнализации в интерфейс человек-машина (стык типа F).

4.4.3 Формирование сигналов обобщенных оценок состояния КО (ОТЭ)

Алгоритм формирования сигналов обобщенных оценок состояния для различного типа КО изложен в книге 2 ПТЭ [3].

При формировании сообщения обобщенной оценки состояния КО фиксируется следующая информация:

- номер КО;

- состояние КО;

- дата и время изменения состояния КО.

Формирование сообщения на одном сетевом узле (станции) осуществляется по отказавшему или неисправному контролируемому объекту самого высокого порядка.

Формирование сигнала "АВАРИЯ" вышестоящего КО должно исключать формирование сигналов об изменении состояния нижестоящего КО.

При одновременном наличии сигналов "ПОВРЕЖДЕНИЕ" вышестоящего КО и "АВАРИЯ" нижестоящего КО формируются сигналы об изменении состояния как нижестоящего, так и вышестоящего КО.

5 ПРОЕКТИРОВАНИЕ И РАСЧЕТ ВОЛП

5.1 Общие положения по проектированию ВОЛП

5.1.1 Исходными данными для проектирования ВОЛП являются:

- схема организации связи;

- технические характеристики на аппаратуру и кабели различных производителей, включая надежность и стоимость;

- протяженность участков регенерации;

- требуемая пропускная способность (линии передачи), в том числе и на перспективу;

- требуемые показатели надежности для ВОЛП в зоне действия оператора связи.

5.1.2. На первом этапе проектирования рекомендуется выполнение ТЭО различных вариантов реализации схемы организации связи (проекта), для чего может потребоваться:

- определение состава оборудования и протяженности кабеля, задействованных в проекте;

- расчет длин участков регенерации;

- расчет и проектирование показателей надежности;

- оценка экономической эффективности мероприятий по повышению надежности;

- расчет запасов ЗИП и их распределения;

- оценка технико-экономической эффективности реализации вариантов проекта.

5.1.3. При проектировании в схеме организации связи рекомендуется с учетом особенностей и возможностей современных ВОЛП ориентироваться на:

- организацию однопролетных (без промежуточных пунктов) ВОЛП на местных первичных сетях;

- организацию однопролетного участка ВОЛП между двумя соседними сетевыми узлами (ОРП) на внутризоновых и магистральной первичных сетях, применяя для этого, при необходимости, оптические усилители;

- гибкое использование в зависимости от назначения возможностей эффективности различных способов уплотнения информации - временной, спектральный и пространственный.

5.1.4. Рекомендуется при проектировании с целью повышения надежности, уменьшения эксплуатационных расходов и капитальных затрат, связанных с развитием в перспективе, ориентироваться на:

- использование ОК только с одномодовыми волокнами даже на участках сети с малой пропускной способностью;

- применение ОК с резервными оптическими волокнами;

- применение более высокоскоростной аппаратуры линейного тракта (на одну или две ступени иерархии для ЦСП ПЦИ и на один или два уровня СТМ в ЦСП СЦИ), по сравнению с исходными данными в части требуемой пропускной способности (см. п. 8.3).

5.1.5 Рекомендуется с целью сокращения капитальных затрат на местности с грунтами высокой категории проектировать прокладку оптического кабеля на опорах ВЛ в соответствии с основными положениями по проектированию ВОЛП-ВЛ, изложенными в п. 5.5.

5.2 Общие требования по обеспечению надежности ВОЛП

5.2.1. При проектировании ВОЛП должны быть заданы требования по надежности:

- коэффициент готовности - Кг;

- срок службы;

- среднее время восстановления - Тв.

5.2.2. При проектировании должна быть произведена оценка показателей надежности на соответствие заданным требованиям, путем построения структурной схемы надежности ВОЛП и расчета Кг и Тв с учетом резервирования по исходным данным о надежности составных частей оборудования, полученных от поставщика в соответствии с ОСТ 45.63.

5.2.3. При проектировании ВОЛП должны быть определены требования к организации ТО и ремонта и средствам восстановления (ЗИП) аппаратуры ВОЛП.

5.2.3.1. В соответствии с ОСТ 45.64 должны быть установлены и записаны в контракте на поставку оборудования условия послегарантийного обслуживания и ремонта аппаратуры в течение срока службы, установленного в контракте, ТУ, либо других документах на оборудование.

Должно быть произведено ТЭО вариантов послегарантийного обслуживания и ремонта общего количества аппаратуры, предусмотренного контрактом.

5.2.3.2 При проектировании должен быть произведен выбор системы обеспечения восстановления аппаратуры с помощью ЗИП, для чего

- производится расчет количества зон обслуживания ЗИЛом аппаратуры ВОЛП для заданного Тв и мест размещения ЗИП;

- в соответствии с ОСТ 45.66 по "Методикам оценки достаточности и расчета запасов в комплектах ЗИП средств электросвязи" определяется состав ЗИП для аппаратуры каждой зоны обслуживания по следующим исходным данным, которые должны быть предоставлены поставщиком:

а) состав оборудования, для которого должен быть рассчитан ЗИП (по платам и блокам);

б) нормативные (расчетные) показатели безотказности плат и блоков оборудования, для которого рассчитывается ЗИП;

в) период пополнения запасных частей, для расчета плат и блоков ЗИП (зависит от условий п. 5.2.3.1);

г) стоимость плат и блоков оборудования при поставке в ЗИП (для оптимизации состава запчастей по стоимости).

5.3 Расчет длины участка регенерации ВОЛП

5.3.1 При проектировании высокоскоростных ВОЛП должны рассчитываться отдельно длина участка регенерации по затуханию (Lα) и длина участка регенерации по широкополосности (Lв), т.к. причины, ограничивающие предельные значения Lα и Lв независимы.

5.3.2 В общем случае необходимо рассчитывать две величины длины участка регенерации по затуханию:

Lα макс. - максимальная проектная длина участка регенерации;

Lα мин. - минимальная проектная длина участка регенерации.

5.3.3 Для оценки величины длин участка регенерации могут быть использованы следующие выражения:

(5.1)

(5.2)

(5.3)

где Амакс, Амин (дБ) - максимальное и минимальное значения перекрываемого затухания аппаратуры ВОЛП, обеспечивающее к концу срока службы значение коэффициента ошибок не более 1×10-10;

αок (дБ/км) - километрическое затухание в оптических волокнах кабеля;

αнс (дБ) - среднее значение затухания мощности оптического излучения неразъемного оптического соединителя на стыке между строительными длинами кабеля на участке регенерации;

Lстр (км) - среднее значение строительной длины кабеля на участке регенерации;

αрс (дБ) - затухание мощности оптического излучения разъемного оптического соединителя;

n - число разъемных оптических соединителей на участке регенерации;

σ (пс/нм×км) - суммарная дисперсия одномодового оптического волокна;

Δλ (нм) - ширина спектра источника излучения;

В (Мгц) - широкополосность цифровых сигналов, передаваемых по оптическому тракту;

М (дБ) - системный запас ВОЛП по кабелю на участке регенерации.

5.3.4 Если по результатам расчетов получено: Lв < Lα макс, то для проектирования должны быть выбраны аппаратура или кабель с другими техническими данными (Δλ,σ), обеспечивающие больший запас по широкополосности на участке регенерации. Расчет должен быть произведен снова. Критерием окончательного выбора аппаратуры или кабеля должно быть выполнение соотношения

(5.4)

с учетом требуемой пропускной способности ВОЛП (В) на перспективу развития.

5.3.5 Максимальное значение перекрываемого затухания (Амакс) определяется как разность между уровнем мощности оптического излучения на передаче и уровнем чувствительности приемника для ВОЛП на базе ЦСП ПЦИ. Минимальное значение перекрываемого затухания (Амин) определяется как разность между уровнем мощности оптического излучения на передаче и уровнем перегрузки приемника для ВОЛП на базе ЦСП ПЦИ.

Амакс и Амин для ВОЛП на базе ЦСП СЦИ должны определяться в соответствии с ОСТ 45.104.

5.3.6 Уровни чувствительности и перегрузки приемника определяются соответственно как минимальное и максимальное значения уровня мощности оптического излучения на входе приемника, при которых обеспечивается коэффициент ошибок не более 1×10-10 к концу срока службы аппаратуры для ВОЛП на базе ПЦИ и СЦИ.

Уровни мощности оптического излучения на передаче, ширина спектра источника излучения (Δλ), затухание оптического излучения разъемного оптического соединителя (αрс), уровни чувствительности и перегрузки приемника должны быть приведены в ГЭД, ТУ и для ВОЛП СЦИ должны удовлетворять требованиям ОСТ.45.104.

5.3.7 Параметры оптических волокон и кабелей в выражениях (5.1), (5.2) и (5.3) должны быть приведены в технических характеристиках на поставляемый оптический кабель (αок,σ) или определяться условиями и технологией прокладки (αнс, Lстр).

5.3.8 Системный запас (М) учитывает изменение состава оптического кабеля за счет появления дополнительных (ремонтных) вставок, сварных соединений, а также изменение характеристик оптического кабеля, вызванных воздействием окружающей среды и ухудшением качества оптических соединителей в течение срока службы, и устанавливается при проектировании ВОЛП исходя из ее назначения и условий эксплуатации оператором связи, в частности, исходя из статистики повреждения (обрывов) кабеля в зоне действия оператора.

Рекомендуемый диапазон устанавливаемых значений системного запаса от 2 дБ (наиболее благоприятные условия эксплуатации) до 6 дБ (наихудшие условия эксплуатации).

5.3.9 Для более точной коррекции проектируемой длины участка регенерации с учетом статистики разброса величин параметров αок, αнс и Lстр и с целью обоснованного увеличения этой длины по сравнению с результатом расчета по выражению (5.1) рекомендуется использовать расчеты по формулам, приведенным в [19].

5.4 Особенности проектирования ВОЛП СЦИ

Общие положения по проектированию и расчету современных ВОЛП изложены в разделе 5.1 и справедливы в том числе и для ВОЛП СЦИ. Однако ВОЛП СЦИ присущи свои особенности, связанные, во первых, с требованием к приемопередающей аппаратуре по обеспечению поперечной или сквозной (transverse) совместимости, т.е. возможности использования оборудования различных изготовителей в пределах одного участка регенерации, что привело к необходимости спецификации параметров оптического стыка. Классификация параметров оптического стыка и требования к ним для ВОЛП СЦИ определены в ОСТ 45.104.

Для ВОЛП ПЦИ требуется лишь обеспечение продольной (longitudinal) совместимости, т.е. возможности использования оборудования временного группообразования и АЛТ различных изготовителей в точке общего для них цифрового сетевого стыка. Поэтому для ЦСП и ВОЛП важным является лишь выполнение требований по параметрам цифрового сетевого стыка в соответствии с ГОСТ 26886 для каждого уровня ПЦИ.

Параметры линейного сигнала (на оптическом стыке) для ВОЛП ПЦИ являются лишь рекомендуемыми и окончательно определяются изготовителем, т.к. предполагается, что в пределах одной ВОЛП устанавливается АЛТ одного и того же изготовителя. Это обстоятельство нашло свое применение и в формулировании ТТ к АЛТ ВОЛП ПЦИ [20].

Требование обеспечения поперечной совместимости для ВОЛП СЦИ предопределяет определенный допуск на разброс величин отдельных параметров оптического стыка. Поэтому в случаях применения в пределах одного участка регенерации оборудования одного изготовителя при проектировании может возникнуть неоправданно большой системный запас, т.е. проектная протяженность участка окажется существенно ниже, чем могут позволить возможности применяемого оборудования.

С учетом этого, при заключении контрактов на поставку оборудования изготовитель может предлагать оборудование с «улучшенными» параметрами оптического стыка, ориентированными на «единое техническое проектирование» (JE - Joint Engineering), т.е. рассчитанными на применение оборудования в пределах участка регенерации или ВОЛП.

При этом для оборудования той же стоимости может быть достигнута большая протяженность ВОЛП.

Особенностью при проектировании ВОЛП СЦИ является и необходимость обеспечения рабочего диапазона длин волн источника излучения (передатчика) в соответствии с ОСТ 45.104. Это связано с выполнением условия, как отмечено в п. 5.1, чтобы длина участка регенерации по затуханию, достигаемая при соответствующих значениях уровня мощности на передаче, чувствительности приемника и суммарного затухания мощности оптического излучения в линии, не ограничивалась длиной участка регенерации по широкополосности, достигаемой при соответствующих значениях скорости передачи, дисперсии оптического волокна и ширины спектра излучения передатчика. Рекомендации по выбору рабочих длин волн и типов оптических кабелей для одноканальных ВОЛП без оптических усилителей приведены в Приложении А.

Другой особенностью ВОЛП СЦИ является то, что в результате постоянного совершенствования средств волоконной и интегральной оптики, оптоэлектронной технологии, многие изготовители уже сегодня предлагают для реализации системы ОУ [8] и системы спектрального уплотнения каналов [30], которые существенно расширяют возможности применения оборудования на сети.

В соответствии с определениями ОУ1 ОУ2, ОУ3 возможны нижеследующие схемы применения ОУ (при этом ОУ3 может представлять один или два и более, каскадно включенных линейных усилителей):

а) оптический передатчик + усилитель мощности + оптический приемник

дУ+ОУ1рУ);

б) оптический передатчик + предусилитель + оптический приемник

дУ+ОУ2рУ);

в) оптический передатчик + линейный усилитель + оптический приемник

дУ+ОУ3рУ);

г) оптический передатчик + усилитель мощности + предусилитель + оптический приемник

дУ+ОУ1+ОУ2рУ);

д) оптический передатчик + усилитель мощности + линейный усилитель + оптический приемник

дУ+ОУ1+ОУ3рУ);

е) оптический передатчик + линейный усилитель + предусилитель + оптический приемник

дУ+ОУ3+ОУ2рУ);

ж) оптический передатчик + усилитель мощности + линейный усилитель + предусилитель + оптический приемник

д У+ОУ1+ОУ3+ОУ2р У).

В соответствии с [8] определены также два типа подсистем ОУ:

- ПдОУ - передатчик с оптическим усилителем, подсистема, в которой в состав оптического передатчика входит усилитель мощности (ПдУ+ОУ1), в результате чего реализуется передатчик с высоким уровнем мощности;

- ПрОУ - приемник с оптическим усилением, подсистема, в которой предусилитель объединен с оптическим приемником (ОУ2рУ), в результате чего реализуется приемник с высокой чувствительностью.

В настоящее время многими зарубежными фирмами разработаны и серийно выпускаются как усилители всех трех типов ОУ1, ОУ2, ОУ3, так и аппаратура линейного тракта со встроенными оптическими усилителями, т.е. подсистемы ПдОУ и ПрОУ.

Оптические стыки аппаратуры линейного тракта с применением ПдОУ и ПрОУ классифицированы в [9] по протяженности длины участка регенерации как стыки типа V (very) и U (ultra).

Стыки типа V соответствуют либо схеме: ПдУ+ОУ1рУ, либо схеме: ПдУ+ОУ2рУ, а стыки типа U соответствуют схеме: ПдУ+ОУ1+ОУ2рУ.

При проектировании - многоканальных ВОЛП с высокой пропускной способностью и большой протяженностью необходимо учитывать дополнительные факторы, ограничивающие длину участка регенерации, учет которых приводит к другому подходу по выбору рабочих длин волн и типов оптических кабелей, который изложен в Приложении Б.

И, наконец, важной особенностью при проектировании ВОЛП и сетей СЦИ является то, что среди критериев по которым проводится оптимизация схемы организации связи (выбора варианта проекта) на первое место выходит требуемая величина комплексного показателя надежности - Кг (или допустимая величина Кп), т.е. требуемое качество функционирования сети в процессе эксплуатации.

Это обусловлено во первых, более жесткими действующими нормами на параметры цифровых каналов и трактов, которые организуются на современных средствах электросвязи, а во вторых, потенциально большой пропускной способностью транспортной сети, организуемой на основе ВОЛП СЦИ.

5.5 Основные положения по проектированию ВОЛП-ВЛ

5.5.1 Общие положения

Все элементы ОК: оптические волокна, гидрофобное заполнение, силовые элементы, поясная изоляция и наружная оболочка могут быть изготовлены из диэлектрических материалов. Такие, полностью диэлектрические кабели могут быть подвешены на опоры высоковольтных воздушных линий электропередачи, так как они менее подвержены опасному воздействию мощных электромагнитных полей, чем металлические кабели связи. Очевидны достоинства такого варианта сооружения ВОЛП по сравнению с традиционным способом прокладки кабеля в грунт: отсутствие необходимости отвода земли, уменьшение сроков строительства, уменьшение количества повреждений в регионах с высоким уровнем урбанизации, снижение капитальных и эксплуатационных затрат в регионах с тяжелыми грунтами, объединение финансовых ресурсов нескольких ведомств.

В настоящее время разработано 4 типа оптических кабелей для подвески на ВЛ:

- самонесущие ОК;

- ОК, навиваемые на фазовый провод;

- ОК, встроенные в фазовый провод;

- ОКГТ.

На магистральной и внутризоновых ВОЛП рекомендуется использовать ОКГТ, выполняющий функции и грозозащитного троса и функции круглой проволочной брони кабеля связи. Комплексная направляющая система подвешивается на грозостойке опор ВЛ вместо грозотроса.

5.5.2 Указания по выбору ВЛ

5.5.2.1 Для подвески ОКГТ следует использовать ВЛ с номинальным напряжением 110, 220, 330 и 500 кВ.

5.5.2.2 Для подвески ОКГТ на существующих ВЛ следует использовать ВЛ, на которых плотность отказов грозозащитных тросов в результате обрывов на 100 км в год не выше значений, приведенных в таблице 5.1.

Таблица 5.1- Плотность отказов грозозащитных тросов в результате обрывов

Напряжение ВЛ, кВ

Плотность отказов

110

0,25

220

0,09

330

0,08

500

0,06

5.5.2.3 Типичные конструктивные характеристики высоковольтных ВЛ приведены в таблице 5.2.

Таблица 5.2 - Конструктивные характеристики высоковольтных ВЛ

Характеристика

Значение

Высота опоры, м

20…30

Наибольший пролет, м

650

Наименьшее допустимое расстояние между проводами, м

4,5…6,5

5.5.3 Указания по выбору ОКГТ

5.5.3.1 Требования к конструкции ОКГТ приведены в таблице 5.3.

Таблица 5.3 - Требования к конструкции ОКГТ

Характеристика

Требование

Конструктивные элементы

Оптические волокна, оптические модули, силовые элементы, сердечник, гидрофобное заполнение, герметичная алюминиевая оболочка, повив из стальных проволок, и / или стальных проволок, плакированных алюминием, и / или проволок из сплава "Алдрей".

Тип оптического сердечника

Модульный, профилированный, профильно-модульный, пространственная спираль.

Металлическая оболочка

Герметичность, влагостойкость, механическая прочность, стойкость к воздействию соляного тумана, гололеда.

Броня (грозотрос)

Стойкость к растягивающим усилиям, стойкость к токам молнии, стойкость к токам короткого замыкания, стойкость к воздействию высоких и низких температур.

5.5.3.2 Основные параметры кабеля ОКГТ в целом, его механические, климатические, эксплуатационные и электрические характеристики приведены в таблице 5.4.

Таблица 5.4 - Значения параметров ОКГТ

Характеристика

Значение

Внешний диаметр кабеля, мм

13…15

Вес кабеля, кг/км, не более

 

Максимально допустимая растягивающая нагрузка (45% от RTS)kH, определяемая при 0,4%-ном удлинении, не менее

30

Среднеэксплуатационная нагрузка, кН, не менее

8,75

Модуль упругости, кГ/мм2, не менее

8600

Минимальное раздавливающее усилие, кН/см, не менее

2

Стойкость к изгибным колебаниям с угловым отклонением, градус

30

Стойкость к воздействию энергии короткого замыкания, кА .с

60

Стойкость к воздействию импульсов грозового разряда: амплитуда, кА, не менее

35

Фронт, мкс

2

Длительность, мкс

50

Заряд, Кл

100

Стойкость к воздействию повышенной влажности, %, при температуре 35 град.С

98

Диапазоны рабочих температур, град.С

 

Максимальная

+60

Минимальная

-60

Допустимое обратимое увеличение коэффициента затухания, дБ/км, в диапазоне низких температур от -50 до -60 град.С, не более

0,05

Срок службы, лет, не менее

25

5.5.3.3 Проектирование ВОЛП-ВЛ ОКГТ следует проводить в соответствии с [23].

5.5.3.4 Количество оптических волокон в ОКГТ следует определять с учетом перспективы роста трафика.

5.5.4 Рекомендации по ТЭО строительства ВОЛП-ВЛ.

5.5.4.1 На этапе эскизного проектирования разрабатывается ТЭО строительства ВОЛП-ВЛ. ТЭО должно базироваться на сопоставлении подвесного варианта ВОЛП с традиционным подземным. При сопоставлении вариантов строительства ВОЛП-ВЛ используются разные критерии: минимум капитальных затрат; минимум приведенных затрат, когда учитываются и капитальные и эксплуатационные затраты; наибольшая скорость сооружения линии, минимизация организационных трудностей при эксплуатации.

Критерий наибольшей скорости сооружения применяется, как правило, для линий передачи специального, а не коммерческого назначения. Последний из перечисленных выше критериев не может быть выражен количественно и должен учитываться отдельно.

5.5.3.2 Важнейшим фактором, определяющим объем капитальных затрат, является сложность трассы прокладки (подвески) оптического кабеля. С повышением категории грунта повышаются требования к механической прочности кабеля, а, следовательно, и его стоимость, а также стоимость СМР. Это обстоятельство иллюстрируется типичными данными удельной стоимости кабеля и СМР, приведенными в таблице 5.5.

Таблица 5.5 - Удельная стоимость кабеля и СМР

Тип кабеля (допустимое растягивающее усилие, кН)

Стоимость, тыс.долл./км, для вариантов

Подземный

Подвесной

 

Кабель

СМР

Кабель

СМР

Тип 4 (2,7)

4,05

Тип 3 (7,0)

4,42

10,45

8,2

8,7

Тип 2 (20,0)

5,81

Тип 1 (80,0)

13,52

14,74

10,0

10,52

Из данных таблицы 5.5 следует, что стоимости и кабеля и СМР увеличиваются пропорционально увеличению требуемой механической прочности кабеля.

5.6 Инженерный расчет показателей надежности ВОЛП

5.6.1 Исходные данные для расчета и основные расчетные соотношения

Требуемые показатели качества и надежности для МСП, ВзПС и СМП ВСС РФ с максимальной протяженностью Lм (без резервирования) приведены в таблицах 5.6, 5.7, 5.8 в соответствии с [1].

Таблица 5.6 - Показатели надежности для МСП, Lм = 200 км

Показатель надежности

Канал ТЧ или ОЦК независимо от применяемой системы передачи

Канал ОЦК на перспективной цифровой сети

АЛТ

Коэффициент готовности

>0,997

>0,9994

0,9987

Среднее время между отказами, час

>400

>7000

>2500

Время восстановления, час

<1,1

<4,24

см. примечание

Таблица 5.7 -Показатели надежности для ВзПС, Lм = 1400 км

Показатель надежности

Канал ТЧ или ОЦК независимо от применяемой системы передачи

Канал ОЦК на перспективной цифровой сети

АЛТ

Коэффициент готовности

>0,99

>0,998

0,99

Среднее время между отказами, час

>111,4

>2050

>350

Время восстановления, час

<1,1

<4,24

см. примечание

Таблица 5.8 - Показатели надежности для СМП, LM = 12500 км

Показатель надежности

Канал ТЧ или ОЦК независимо от применяемой системы передачи

Канал ОЦК на перспективной цифровой сети

АЛТ

Коэффициент готовности

>0,92

>0,982

0,92

Среднее время между отказами, час

>12,54

>230

>40

Время восстановления, час

<1,1

<4,24

см. примечание

Примечание: Для оборудования линейных трактов на МСП, ВзПС и СМП должно быть:

время восстановления НРП - Тв нрп<2,5 час (в том числе время подъезда - 2 часа);

время восстановления ОРП, ОП - Тв орп<0,5 час;

время восстановления ОК - Тв ок<10 час (в том числе время подъезда 3,5 часа).

Среднее число (плотность) отказов ОК за счет внешних повреждений на 100 км кабеля в год (по статистике повреждений на коаксиальных кабелях из опыта эксплуатации на магистральной сети первичной связи России) равно:

*  =0,34 ,

тогда интенсивность отказов ОК за 1 час на длине трассы ВОЛП L определится как:

(5.5)

В начальный период использования ВОЛП-ВЛ, до 2010 года, пока не получены надежные эксплуатационные показатели надежности ОКГТ, следует принимать во внимание экстраполированные показатели надежности ОКГТ, приравнивая их к соответствующим эксплуатационным показателям надежности грозозащитных тросов.

Плотность отказов грозозащитных тросов в результате обрывов на 100 км ВЛ в год приведена в таблице 5.9.

Таблица 5.9 - Плотность отказов грозозащитных тросов в результате обрывов

Напряжение ВЛ, кВ

Плотность отказов

110

0,22…0,25

220

0,06…0,09

330

0,05…0,08

500

0,03…0,06

Нормативное время восстановления на В Л напряжением ПО и 220 кВ составляет 12,4 часа, а на ВЛ-300 и ВЛ-500 - 6,2 часа.

Ожидаемые значения показателей надежности ОКГТ, экстраполированные по эксплуатационным показателям надежности грозозащитных тросов, приведены в таблице 5.10.

Таблица 5.10 - Ожидаемые значения показателей надежности ОКГТ

U, kB

m

Тв, ч

Krl

Тl, ч

ТL, ч

KrL

110

0,25

12,4

0,99965

35028

240

0,9508

220

0,09

12,4

0,99987

97321

688

0,9823

330

0,08

6,2

0,99994

112301

802

0,9923

500

0,06

6,2

0,99995

134763

963

0,9936

Учитывая высокую надежность современной аппаратуры ЦСП, целесообразно принять значение коэффициента готовности кабельной линии 0,985, а аппаратуры - 0,995. Тогда на подземной кабельной линии должны обеспечиваться следующие показатели:

- коэффициент готовности - не менее 0,985;

- среднее время между отказами не менее 340,5 часов;

- среднее время восстановления - не более 5,2 часов;

- плотность повреждений - не более 0,1823.

Учитывая особенности технической эксплуатации ВЛ, среднее время восстановления следует принять равным не более 6,2 часа, а соответствующее значение наработки между отказами не менее 304 часов.

Показатели надежности ОКГТ гипотетической ВОЛП-ВЛ протяженностью 13900 км должны быть:

- коэффициент готовности - не менее 0,985;

- среднее время восстановления - не более 6,2 часов;

- наработка между отказами не менее 407 часов.

Показатели надежности ОКГТ на линии длиной 100 км должны быть:

- коэффициент готовности - не менее 0,99989,

- плотность отказов - не более 0,1554.

5.6.3 Расчетные соотношения

При существующей на эксплуатации стратегии восстановления, начинающегося с момента обнаружения отказа (аварии), коэффициент простоя (неготовности) определяется по широко известной формуле:

(5.6)

а коэффициент готовности:

(5.7)

При длине канала (магистрали) L не равным Lм среднее время между отказами определится как:

(5.8)

Среднее время между отказами сетевых трактов No порядка по отношению к среднему времени между отказами канала ОЦК определяется как:

(5.9)

При параллельном соединении по надежности элементов системы передачи (например, линейных трактов) имеем в случае, когда коэффициенты простоя их равны Кп, для резервирования по схеме n + m:

(5.10)

где n - число рабочих элементов;

m - число резервных элементов;

λo - интенсивность отказов одного элемента системы передачи;

λр - интенсивность отказов устройства переключения на резерв.

Для кольцевой структуры связи, т.е. когда λр = 0 и = n = 1, из (2-10) получаем:

(5.11)

Для последовательного соединения по надежности элементов системы передачи (например, участков магистрали или отдельных видов оборудования), суммарный коэффициент простоя равен:

(5.12)

где Kп1, Кп2,… - коэффициенты простоя отдельных элементов системы передачи (например, аппаратуры и кабеля), определяемые в соответствии с выражением (5.6).

Для случаев эксплуатации ВОЛП на основе оптимальной стратегии восстановления, начинающегося с обнаружения предотказового состояния ОТЭ (повреждения), необходимо для инженерных расчетов показателей надежности использовать вместо известного выражения (5.6) другое выражение:

(5.13)

где t1 - время подъезда.

5.6.4 Методика инженерного расчета

В ходе расчета сначала вычисляются по данным характеристик надежности отдельных компонентов суммарные показатели надежности всего комплекса ВОЛП с использованием выражений (5.5)…(5.13). Затем полученные величины сравниваются с требуемыми значениями, пересчитанными из действующих норм на типовые протяженности (Lм) к длине проектируемой линии передачи (L). Информация о характеристиках надежности отдельных компонентов ВОЛП присутствует в технических условиях на них.

Все необходимые для расчета нормы на надежность каналов и оборудования линейного тракта для магистральной, внутризоновых и местных первичных сетей общего пользования ВСС РФ приведены в таблицах 5.6, 5.7, 5.8.

Если рассчитанные показатели надежности проектируемой ВОЛП не удовлетворяют требованиям первичной сети общего пользования, то применяют различные варианты повышения надежности ВОЛП - либо заменяют наименее надежные компоненты ВОЛП на такой же тип оборудования другого производителя (с лучшими показателями надежности), либо вносят изменения в структурную схему организации связи, вводя (по элементам или по линейному тракту на участке переключения), либо организуют эксплуатацию ВОЛП на основе оптимальной стратегии восстановления, что в большинстве случаев, как правило, приводит к такому же эффекту с точки зрения повышения показателей надежности при существенно меньших дополнительных капитальных затратах.

Потом для конкретно из выбранных вариантов повторяется расчет суммарных показателей надежности ВОЛП и снова сравниваются полученные величины с требуемыми значениями.

Эта же методика расчета может быть применима и при проектировании показателей надежности комплекса ВОЛП в целом или отдельных компонентов. Например, часть оборудования, применяемая в составе проектируемой линии передачи, уже жестко определена, а часть оборудования может быть выбрана из ряда предложений различных производителей.

Тогда при использовании расчетных выражений (5.5)…(5.13) и данных таблиц 5.6, 5.7, 5.8 определяют требуемые значения характеристик надежности на отдельные компоненты ВОЛП. Эти значения при прочих равных условиях могут быть решающим критерием при выборе оборудования того или иного производителя.

6 Порядок приемки и ввода в эксплуатацию аппаратуры и кабеля ВОЛП

6.1 Общие положения

6.1.1 К вводу в эксплуатацию на сети должны приниматься только те образцы аппаратуры и кабеля ВОЛП, которые имеют сертификат соответствия Минсвязи России.

6.1.2 При приемке и вводе в эксплуатацию должен осуществляться входной контроль путем измерения основных параметров аппаратуры и кабеля, перечень которых определен в разделах 6.2 и 6.3. Результаты измерений должны быть внесены в соответствующие паспорта и в базы данных операционных систем программно-технических средств контроля и управления.

6.1.3 Основные показатели качества функционирования ВОЛП должны соответствовать нормам на ввод в эксплуатацию согласно [2], а характеристики аппаратуры ВОЛП согласно ТТ [20, 21].

6.1.4 Приемку помещений под монтаж оборудования производить в соответствии с ОСТН-600-93. Приемку помещения оформить актом.

Распаковку оборудования производить в присутствии ответственных представителей поставщика и заказчика. Распаковку оборудования оформить актом.

Приемку оборудования в монтаж производить в соответствии с ОСТН-600-93. При внешнем осмотре обратить особое внимание на состояние оптических соединителей станционных оптических кабелей. Оптические соединители должны быть закрыты защитными заглушками. На шлифованной торцевой поверхности соединителей не должно быть трещин, сколов, царапин и пыли. Приемку оборудования в монтаж оформить актом.

О выявленных недостатках оборудования составить претензионное заявление, которое составляется на основании оформленного акта-рекламации, составленного на основании акта результатов проверки оборудования.

Составление акта-рекламации для неисправного оборудования является обязательным.

6.1.5 На этапе приемки и ввода в эксплуатацию ВОЛП поставщик должен подтвердить требования по надежности, заданные в ТТ на ВОЛП с учетом принятой системы технического обслуживания и ремонта. Должна быть произведена оценка достаточности ЗИП, представленного поставщиком, по [22] с учетом запроектированных зон обслуживания ЗИПом.

6.2 Измерения и паспортизация аппаратуры ВОЛП при вводе в эксплуатацию

Измерения параметров и паспортизация аппаратуры ВОЛП при вводе в эксплуатацию должны проводиться на основании Правил технической эксплуатации первичной сети взаимоувязанной сети связи Российской Федерации, введенных в действие приказом Минсвязи России от 19.10.98 г., № 187, книга 2, разделы 11, 13, в соответствии с документами [10÷13], а также ОСТ 45.131.

6.3 Измерение параметров и паспортизация кабельных участков

6.3.1 При сооружении кабельного участка (КУ) составляются следующие документы.

Укладочная ведомость строительных длин линейного кабеля, в которой указывается:

- номер барабана;

- тип кабеля, число ОВ;

- длина кабеля;

- предприятие (фирма) - изготовитель;

- порядковый номер очередности прокладки;

- дата вывозки на трассу.

Паспорт на смонтированную муфту ОК, где указывается:

- номер муфты;

- тип муфты;

- предприятие (фирма) - изготовитель;

- название линии передачи;

- номер участка линии передачи;

- марка оптического кабеля;

- наименование монтажной организации;

- результаты оценки затухания места сварки (по сварочному аппарату) для каждого волокна;

- сведения о ремонте.

Паспорт смонтированного участка линейного кабеля, где указывается:

- номер участка;

- общая длина участка;

- результаты измерения затухания в волокнах ОК.

- протоколы измерений сопротивления изоляции брони по отношению к «земле»;

6.3.2 Измерение затухания оптических волокон на строительных длинах ОК следует производить в порядке проведения их входного контроля на кабельных площадках, на строительных длинах ОК после их монтажа, в процессе соединения строительных длин, на элементарных кабельных участках смонтированной кабельной секции.

6.3.3 Измерение затухания ОВ производится при помощи метода обрыва или метода обратного рассеяния. Погрешность измерения затухания оптических волокон - не более 5%.

Затухание КУ и распределение потерь в неразъемных оптических соединениях КУ измеряются оптическим рефлектометром по методике, изложенной в его инструкции по эксплуатации.

Измерение затухания КУ оптическим рефлектометром производится с двух сторон. Результаты измерения определяются по усредненной рефлектограмме.

6.3.4 Затухание КУ совместно со станционными ОК измеряется методом разности уровней с помощью источника оптической мощности по методике, изложенной в инструкции по эксплуатации последнего.

7 Техническое обслуживание ВОЛП в процессе эксплуатации

7.1 Общие положения

7.1.1 Техническое обслуживание современных ВОЛП в процессе эксплуатации осуществляется с помощью служебного терминала (диспетчера по управлению сетевым элементом или через него участком сети ВОЛП, включающих несколько сетевых элементов).

В современной аппаратуре ВОЛП на этапе эксплуатации аварийная сигнализация дает наиболее важную информацию для поиска неисправностей.

Аварийные сигналы отображаются в виде текстовых сообщений.

7.1.2 С помощью служебного терминала можно осуществлять контроль уровней мощности входного и выходного оптического сигнала выбранного оптического стыка для ВОЛП ПЦИ и СЦИ.

Эта информация может быть использована для текущего контроля величины системного запаса на каждом участке регенерации оптического тракта без прекращения связи. Величина системного запаса определяется как разница между текущим значением уровня мощности оптического излучения на приеме и паспортным значением чувствительности приемника.

7.1.3 Наряду с отображением информации об авариях на экране дисплея служебного терминала в аппаратуре ВОЛП должна быть предусмотрена аварийная сигнализация на ТЭЗах (блоках) оборудования (светодиодами), стоечная, рядовая и станционная.

7.1.4 Техническая эксплуатация современных ВОЛП осуществляется на базе функциональных и технических возможностей встроенных устройств контроля и средств ПТК, предназначенных для обслуживания и управления.

Эти устройства и средства ПТК реализуют принцип управляемого технического обслуживания. Преимущество метода управляемой технической эксплуатации, как отмечалось в разделе 1, заключается в том, что текущие работы по технической эксплуатации производятся не по сложившемуся графику, а направляются именно на те участки, где в данный момент ожидается ухудшение качества обслуживания потребителя. При этом исключается необходимость дорогостоящего профилактического технического обслуживания для выявления таких участков, что в целом, уменьшает затраты на техобслуживание. Техника контроля, являющаяся неотъемлемой принадлежностью аппаратуры ВОЛП, обеспечивает данные, упрощающие распознавание скрытых неисправностей методом статистического анализа.

7.1.5 Рекомендуется следующая методика проведения работ по ТО с помощью средств ПТК.

7.1.5.1 Оператор обращается к элементу сети (объекту технической эксплуатации), информацию от которого он хочет получить, задавая его адрес или атрибуты. Следующим своим действием оператор определяет период Т, за который анализируется качество передачи. Это может быть период 15 минут или 24 часа. Дополнительно может быть получена информация за последние 7 суток и в отдельных случаях за месяц. Также должен быть определен параметр качества: число ES или SES за период Т.

Информация предоставляется в виде таблиц или графика. На графике указываются установленные пороги S1 и S2.

Превышение указанных порогов сигнализируется оператору как на графике, так и выдачей соответствующих аварийных сообщений (см. п.п. 4.3.3 и 4.4.2).

7.1.5.2 При получении аварийного сообщения производится локализация неисправности, с определением места повреждения, вплоть до неисправной платы (ТЭЗа). При этом, предоставляется детальное изображение аварий по сетевым элементам (объектам технической эксплуатации). Оператор подтверждает (квитирует) увиденные аварийные сообщения. Аварийные сообщения заносятся в журнал сообщений с указанием даты, причины и категорий аварий

7.1.5.3 При наличии автоматического резервирования и автоматической маршрутизации оператор видит общую картину сети с указанием выбранного маршрута и поврежденных линий.

Если автоматическая маршрутизация не применяется, оператор, должен выполнить вручную прокладку трассы.

После устранения повреждения конфигурация сети автоматически или вручную может быть восстановлена в первоначальном виде.

7.1.5.4 Периодическое проведение работ по п.п. 7.1.2, 7.1.5.1 и 7.1.5.3 позволяет оператору производить управляемое техническое обслуживание, направленное на уменьшение вероятности отказа сетевого элемента (объекта технической эксплуатации) или ухудшение функционирования ВОЛП без прекращения связи.

7.1.6 В случае отказа или ухудшения рабочих показателей ВОЛП должны быть выполнены следующие действия:

- с учетом среднесрочного и долгосрочного контроля во все ОТЭ ВОЛП должен быть передан сигнал, содержащий всю необходимую информацию для автоматической (предпочтительно) инициализации внутренних или внешних механизмов резервирования;

- принятие решения о любых необходимых действиях, например "вывод ВОЛП из эксплуатации" или "передача на испытания".

Специальный метод резервирования рекомендуется для систем передачи с использованием ручного или автоматического восстановления.

Если происходит отказ в ОТЭ без средств автоматического переключения или со средствами автоматического переключения, но при отсутствии резерва, следует выполнить следующие действия:

- выдать аварийную информацию технической эксплуатации с указанием ОТЭ, содержащего отказавший элемент оборудования;

- передать сигнал индикации аварийного состояния (СИАС) в направлении передачи, пораженном отказом (в направлении станции приема отказавшего направления передачи), или выдать сигнал указания об отказе на предшествующем участке передачи (СУОП) в оборудование, не пораженное отказом;

- выдать сигнал аварии службы (САС).

Если происходит отказ в ВОЛП, имеющей средства автоматического переключения и соответствующие резервы, должны быть автоматически выполнены следующие действия:

- переключить на резерв;

- выдать аварийную сигнализацию технической эксплуатации с указанием ОТЭ, содержащего отказавший элемент оборудования.

7.2 Порядок проведения измерений в процессе эксплуатации

7.2.1. Перечень и периодичность измерений и проверок при эксплуатации ЦСП ПЦИ должны соответствовать [12].

7.2.2. Перечень и периодичность измерений и проверок при эксплуатации ЦСП СЦИ должны соответствовать [13].

7.3 Меры по обеспечению надежности ВОЛП

7.3.1 В процессе эксплуатации ВОЛП должны быть организованы сбор и обработка статистической информации об отказах и восстановлениях ВОЛП в соответствии с ОСТ 45.63.

Результаты обработки статистических данных об отказах оборудования ВОЛП могут использоваться как поставщиком оборудования, так и его потребителем. При этом поставщику следует определить и довести до сведения потребителя информацию о своей потребности в эксплуатационных данных и сотрудничать с потребителем в установлении приемлемых методов сбора, хранения и анализа эксплуатационных данных.

Целями сбора и представления данных являются:

- получение сведений для оценки реального уровня показателей надежности эксплуатируемого оборудования и ВОЛП в качестве исходных данных для проверки достаточности ЗИП, для выполнения функций управления, планирования, обеспечения эксплуатации, ТО и ремонта, для обучения персонала, эксплуатирующего эти средства;

- выявление потребности совершенствования эксплуатируемого и намеченного к поставке оборудования, структуры ВОЛП, методов и правил эксплуатации, ТО и ремонта оборудования, а также эксплуатационной и ремонтной документации;

- выявление направлений конструктивного совершенствования оборудования;

- определение видов неисправностей, причин и возможных механизмов отказа оборудования;

- сравнение эксплуатационных значений показателей надежности с их значениями, требуемыми по ТТ или расчетными;

- совершенствование баз данных и методов расчета показателей надежности;

- регулярное или эпизодическое оповещение поставщиков оборудования об эксплуатационной надежности.

В качестве источников статистических данных о надежности оборудования и ВОЛП в общем случае могут быть:

- техническое обслуживание и ремонты оборудования и системы;

- восстановление работоспособности системы, а также оборудования;

- информация о расходовании запасных частей оборудования и времени доставки их.

Анализ накопленных статистических данных об отказах ВОЛП и ее составных частей проводится с использованием методов статистического и инженерного анализа.

7.3.2 Система сбора, обработки и анализа статистической информации об отказах и восстановлениях ВОЛП должна предусматривать решение следующих задач:

- выявление "слабых мест" и замену дефектного оборудования в период гарантийного обслуживания;

- оценку показателей безотказности ВОЛП и оборудования (средняя наработка на отказ, поток отказов) в первые годы внедрения для сообщения поставщику и разработчику (вместе с данными о характере и причинах отказов) с целью принятия ими мер по устранению дефектов разработки и изготовления;

- оценку показателей надежности ВОЛП и оборудования в течение определенного времени в период стабильной работы оборудования для сообщения поставщику и разработчику с целью сравнения реальных показателей надежности с записанными в ТТ и для накопления статистики с целью коррекции состава ЗИП оборудования;

- оценку показателей ремонтопригодности (среднее время восстановления и др.) в течение определенного времени с целью выявления недостатков в системе ТО и ремонта и разработки нормативов времени устранения повреждений.

7.3.3 При организации работ по сбору и анализу статистических данных об отказах ВОЛП в процессе эксплуатации рекомендуется также руководствоваться нижеследующими положениями.

7.3.3.1 При сборе данных важное значение имеет проблема обеспечения полноты и достоверности исходной статистической информации. Достоверность информации зависит не только от объема, но и от соответствия зафиксированных в ходе испытаний (эксплуатации) статистических данных действительному объему наработки, фактическому количеству и характеру имевших место неисправностей и ремонтов. Должны быть приняты меры, исключающие неполноту при сборе данных (пробелы, пропуски, неточности или прямые искажения зафиксированных данных). Необходимо иметь в виду, что неполноту и недостоверность исходной статистики при ее обработке уже нельзя скомпенсировать никакими, даже самыми точными, расчетными формулами.

7.3.3.2 С целью обеспечения полноты и достоверности сбора данных следует также проводить обучение персонала правилам ведения учетной документации, в которой регистрируются отказы и восстановления; необходимо вести контроль за соблюдением правил сбора данных и правил заполнения учетной документации;

7.3.3.3 Формы учетной документации являются важной предпосылкой получения полной и достоверной информации о надежности средств электросвязи. Формы учетных документов рекомендуется приводить в инструкции по эксплуатации оборудования.

Учетные формы должны предусматривать симптомы неисправности, сообщаемые потребителем или средствами контроля; временные данные (дата и время наступления отказа, дата и время восстановления работоспособности, наработка оборудования, время простоя); составляющие времени восстановления; последствия и причины отказа, а также принятые меры по его устранению.

7.3.3.4 Анализ статистики отказов должен проводиться с целью определения характера и причин каждой неисправности, а также ее классификации по степени влияния на работоспособность ВОЛП ("отказ" или нет) и по другим признакам. Анализ статистических данных позволяет выявить характерные виды устойчивых отказов и сбоев и разработать рекомендации по устранению причин их возникновения (или по снижению их интенсивности), а также дать предложения по повышению ремонтопригодности;

7.3.3.5 Результаты обобщения и систематизации статистических данных по отказам и восстановлениям используются для подготовки исходных данных при расчете количественных показателей надежности ВОЛП с целью определения соответствия требованиям, установленным в ТТ.

7.3.4 В процессе эксплуатации ВОЛП должны быть организованы сбор и обработка статистической информации о достаточности ЗИП или сведений об обеспеченности запасами оборудования электросвязи с целью:

- обеспечения своевременного пополнения комплектов ЗИП запасными частями;

- проведения оценочных расчетов комплектов ЗИП в соответствии с действующими нормативно-техническими документами;

- коррекции состава ЗИП по номенклатуре и количеству запасов по результатам оценочных расчетов.

7.4 Рекомендации по техническому обслуживанию станционных оптических кабелей и оптических разъемных соединителей

7.4.1 Оптические кабели требуют более осторожного обращения, чем медные. Поэтому рекомендуется прокладывать ОК на более поздней стадии монтажа. Должны соблюдаться рекомендации по радиусу изгиба и силе натяжения кабелей. Не рекомендуется оставлять ОК под постоянной нагрузкой.

Не рекомендуется крепить ОК к держателям кабелей.

7.4.2 Рекомендуется прокладывать ОК через барабаны. Барабаны устанавливаются в специальных корпусах над каркасом стойки. Рекомендуется прокладывать ОК в задней части стойки через направляющие.

7.4.3 Рекомендуется использовать заводские соединительные ОК. Однако, если необходимо подсоединить к ОК оптический разъемный соединитель, необходимо следовать инструкциям изготовителя СОР.

7.4.4 Для каждого соединительного ОК необходимо использовать отдельный барабан, на который можно смотать до 3 м избыточной длины кабеля.

7.4.5 СОР должен содержаться в чистоте, нельзя допускать повреждения полированных контактных поверхностей и попадания на СОР грязи, пыли или смазки. Так как СОР является изделием точной оптики, грубой обращение с ним запрещено.

Не рекомендуется прикасаться к концу уплотнительной втулки и тереть его о другие поверхности - при этом можно повредить или загрязнить конец ОК.

Если СОР не подсоединен, то для защиты уплотнительной втулки лучше всего надеть на него предохранительный колпачок.

При хранении ОК их необходимо предохранять от пыли. Короткие кабели-перемычки можно хранить в закрытых пластиковых пакетах.

7.4.6 Для сведения к минимуму механических нагрузок, возникающих в деталях СОР, изготовленных с жесткими допусками, рекомендуется вставлять СОР под прямым углом к адаптеру блока, адаптеру СОР измерителя мощности и т.п. Для упрощения выравнивания на конце уплотнительной втулки сделана небольшая фаска.

Соединительную гайку СОР следует затягивать пальцами. Для затягивания или откручивания гайки запрещается использовать какой-либо инструмент.

Нельзя касаться пальцами конца уплотнительной втулки или ОК и допускать падения СОР (особенно если с него сняты защитные колпачки) на пол или другие твердые, пыльные, жирные или грязные поверхности.

7.4.7 При работе с адаптерами и для обеспечения их чистоты должны соблюдаться те же принципы, что и при работе с СОР.

Обращение с адаптером и его состояние оказывают такое же влияние на потери в соединении, как и состояние СОР.

Нельзя оставлять открытым ни один из концов адаптера. Они должны быть закрыты либо СОР, либо защитными колпачками.

7.4.8 OK сконструированы таким образом, чтобы методы работы с ними как можно меньше отличались от методов работы с медными кабелями. Независимо от длины ОК рекомендуется всегда учитывать влияние следующих нагрузок:

- растяжение;

- продольное или поперечное сжатие;

- скручивание;

- изгиб;

- вибрация.

Эффект от воздействия этих нагрузок на ОВ может проявиться немедленно или через некоторое время. Другой характерной особенностью ОВ является возможность их перелома вследствие долговременного натяжения, превосходящего допустимые значения. Причиной этого явления усталости материала является медленное развитие микроскопических трещин на поверхности ОВ. Поэтому при установке и использовании ОК необходимо обязательно соблюдать инструкции изготовителя по обращению с кабелями.

Если обращение с ОК повлияло на их оптические характеристики, то эти характеристики можно легко измерить. Сложнее произвести измерение механических изменений ОВ и оценить их влияние на характеристики кабеля в долгосрочной перспективе. Излом ОВ является скорее статистическим, чем статическим явлением, причем излому не всегда предшествует ухудшение оптических характеристик. Поэтому для продления срока службы ОВ и ОК рекомендуется избегать любых механических воздействий с усилиями, приближающимися к допустимым пределам.

7.4.9 При работе с ОК и ОВ должен соблюдаться минимально допустимый радиус изгиба. Запрещается допускать изгиб по радиусу, меньшему минимального, указанного изготовителем.

В обычных условиях эксплуатации изгиб ОК больше влияет на механические, а не оптические характеристики ОК и ОВ.

Минимальный радиус изгиба ОК (и ОВ с плотным вторичным покрытием), используемых для внутренней разводки:

- при протягивании кабелей: > 40 мм;

- при постоянной или долговременной установке, а также при хранении: > 30 мм;

- при кратковременном изгибе > 25 мм.

Во время монтажа, как правило, для большинства марок станционных ОК допускается максимальное усилие на растяжение 100 Н.

7.4.10 Одиночное ОВ может выдержать относительно сильное сжатие при условии отсутствия других перегрузок. Однако в реальных случаях на ОК и ОВ действует не одна механическая нагрузка. Изгиб обычно связан с поперечным сжатием, которое в ОВ может проявиться в виде очень сильного и локализованного микроизгиба, способного вызвать значительное локальное увеличение коэффициента ослабления сигнала.

При конструировании ОК для применения в помещениях основное внимание уделяется достижению малого веса и гибкости. Это означает, что защита ОВ от поперечного сжатия может быть не очень сильной.

По этой же причине ОК для применения внутри помещений имеют низкую стойкость к продольному сжатию. С другой стороны, во время монтажа к кабелям могут прикладываться определенные растягивающие усилия, а продольное сжатие возникает намного реже.

Поэтому рекомендуется сводить к минимуму нагрузки, вызываемые перекручиванием ОК и ОВ. Скручивание возникает, например, если распрямить свернутый в бухту даже короткий соединительный ОК, удерживая при этом оба его конца. Большую часть скручивания можно устранить, держа ОК только за один конец. Остаточное скручивание устраняют, протягивая ОК между пальцами и слегка сжимая его. При этом другой конец ОК должен иметь возможность свободно вращаться.

7.4.11 При прокладке одноволоконных ОК для применения внутри помещений в кабельных коробках рекомендуется помещать их в гибкий пластиковый чехол или обматывать по спирали пластиковой лентой. Это обеспечивает механическую защиту от поперечного сжатия.

Необходимо обеспечить минимальный радиус изгиба ОК в случае его случайного натяжения, например, если его случайно потянули. В идеале радиус кривизны всех поверхностей, вдоль которых проложен ОК, должен быть равен или больше минимального радиуса кривизны, допустимого при протягивании.

Для соблюдения требований к минимальному радиусу изгиба ОК достаточно обеспечить слабину соответствующими креплениями по обеим сторонам точки изгиба.

При креплении ОК хомутами не рекомендуется затягивать хомуты слишком сильно, чтобы не допустить локального сжатия и изгиба оптических волокон. Запрещается использовать для ОК или ОВ хомуты, предназначенные для медных кабелей.

7.4.12 Рекомендуется, чтобы для ОК степень заполнения пространства в каркасе стойки составляла 0,7. Натяжение одного ОК не должно приводить к натяжению или протягиванию других ОК или оптических волокон в каркасе стойки!

При установке в статив соединительного ОК, свернутого в бухту, рекомендуется устранить перекручивание. В противном случае протягивание такого ОК приведет к возникновению торсионных нагрузок на ОК и его оптические волокна. Кроме того, ОК без продольного перекручивания имеют меньшую склонность к скручиванию кольцами.

7.4.13 ОК и пластиковые покрытия ОВ имеют тенденцию "запоминать" их предыдущее состояние. Это необходимо учитывать при разматывании или сматывании ОК, который долго пролежал свернутым в бухту. Новую бухту рекомендуется сматывать в том направлении, в котором изгибается ОК или ОВ, и осторожно.

В противном случае в ОК и ОВ возникнут ненужные дополнительные нагрузки. При протягивании ОК или ОВ через отверстия с острыми кромками рекомендуется закрыть кромки специальной лентой.

7.4.14 Для чистки СОР и адаптеров рекомендуется использовать описанные ниже способы.

Перед использованием СОР необходимо обеспечить его чистоту.

Чистота СОР обеспечивается при соблюдении одного из следующих условий:

- перед соединением необходимо чистить СОР;

- перед соединением необходимо визуально проверить чистоту СОР;

- для контроля концов уплотнительной втулки и ОВ необходимо пользоваться микроскопом с 50-кратным увеличением;

- известно, что СОР чист (его недавно чистили или проверяли).

Методы чистки СОР на оборудовании ВОЛП не относятся к оптическим контрольно-измерительным приборам. СОР контрольно-измерительных приборов следует чистить в соответствии с инструкциями изготовителя.

7.4.15 Набор чистки оптических поверхностей должен включать:

- растворитель для чистки оптики (этиловый спирт или ацетон);

- тампоны;

- очистители СОР;

- обтирочные тампоны;

- газ для продувки (профильтрованный газ, пригодный для очистки оптических приборов);

- защитные перчатки.

При чистке оптических деталей особое внимание следует обращать на чистоту рук и чистящих принадлежностей. При использовании растворителей следует пользоваться защитными перчатками, чтобы не допустить попадания растворителя на кожу. Перчатки защищают руки от действия растворителя и предохраняют очищаемые детали от попадания жира с рук.

Предметы, входящие в набор для чистки, необходимо хранить и транспортировать в коробках, контейнерах и упаковках, защищающих их от грязи, пыли и масел.

7.4.16 Рекомендуется производить чистку СОР следующим образом:

- нанести растворитель на конец тампона (тампон должен полностью намокнуть, но с него не должен капать растворитель);

- протереть уплотнительную втулку и конец СОР с ОВ (протирать только в одном направлении поперек наконечника уплотнительной втулки, тампон необходимо держать горизонтально, медленно вращать тампон, чтобы конца уплотнительной втулки касались разные и, следовательно, чистые части тампона);

- не касаясь тампоном концов уплотнительной втулки и ОВ, протереть фаску на конце уплотнительной втулки и металлическую часть СОР;

- с помощью газа для продувки необходимо сдуть с СОР и уплотнительной втулки see оставшиеся на них частички загрязнений.

Не рекомендуется применять использованный конец тампона повторно.

7.4.17 Требования к защитным колпачкам:

- защитные колпачки должны быть чистыми;

- колпачки чистят с помощью растворителя и газа для продувки;

- чистые колпачки хранить в чистой коробке с закрытой крышкой;

- перед установкой колпачка удалите с него все частички загрязнений с помощью газа для продувки.

7.4.18 Рекомендации по очистке адаптера:

- обдуйте резьбовые части, а затем центральную часть;

- очистите резьбу с помощью растворителя и тампона;

- нанесите растворитель на тампон (он должен полностью намокнуть, но с него не должен капать растворитель);

- возьмите очиститель трубок и несколько раз протащите его через тампон, чтобы удалить все остатки волокон;

- пропустите этот же конец очистителя трубок через адаптер так, чтобы он выступал с другой стороны адаптера приблизительно на 30 мм;

- нанесите на очиститель несколько капель растворителя и медленно протяните его сквозь адаптер;

- еще раз обдуйте резьбовые части, а затем центральную часть адаптера.

7.5 Рекомендации по техническому обслуживанию линейных оптических кабелей

7.5.1 При выполнении рекомендаций п. 5.1.4, т.е. применении ОК с резервными ОВ и применении в составе ВОЛП аппаратуры, позволяющей без прекращения связи контролировать уровни мощности входного и выходного оптического сигнала на выбранном оптическом стыке ВОЛП (на ближнем и дальнем конце), то рекомендуется ТО проверить следующим образом.

В соответствии с п. 7.1.2 осуществляется контроль системного запаса на участках с периодичностью, указанной в п. 7.2.

При наличии сигнализации о повышении затухания на каком-либо участке регенерации, с помощью рефлектометра, подключаемого к резервным волокнам ОК, локализуют место повышенного затухания. На длинных участках регенерации рекомендуется при этом для более точного определения места неисправности провести измерения рефлектометром с обоих концов участка регенерации.

Измерения рефлектометром проводятся многократно с периодичностью, определяемой скоростью возрастания затухания во времени (дБ/час или дБ/сутки, или дБ/месяц).

Решение о начале выполнения РВР на участке регенерации принимается в зависимости от скорости возрастания затухания, величины остающегося системного запаса и времени подъезда к месту неисправности, исходя из минимизации времени простоя ВОЛП в соответствии с п. 8.2.

7.5.2 На разветвленной сети ВОЛП рекомендуется применять систему мониторинга ОВ. При этом центральная станция мониторинга устанавливается в месте установки рабочей станции ПСУ или СУ (в ЦТЭ соответствующего уровня иерархии СТЭ). В промежуточных пунктах ВОЛП на сети (ОРП или НРП) устанавливаются удаленные оптические модули, включающие в себя в общем случае рефлектометр, оптический переключатель, оптические фильтры и устройства спектрального разделения / уплотнения оптических сигналов.

С помощью системы мониторинга может централизованно осуществляться ТО линейных ОК на сети ВОЛП по рабочим или резервным ОВ.

Такая система организации ТО более дорогостоящая, чем организация по п. 7.5.1, но более эффективна именно в случае применения на разветвленной сети.

7.5.3 В качестве рефлектометров, применяемых для ТО линейных ОК, могут быть использованы либо оптические импульсные рефлектометры, осуществляющие диагностирование по обратному рэлеевскому рассеиванию, либо бриллюэновскому рассеиванию. Последний тип рефлектометров существенно дороже, но позволяет дополнительно контролировать причину роста локального затухания из-за механических напряжений ОВ (например, из-за сдвига пород или остаточных напряжений после прокладки).

7.6 Требования безопасности при эксплуатации ВОЛП

7.6.1. Общие требования

В ВОЛП должны быть предусмотрены меры безопасности, в зависимости от уровня опасности оптического излучения. Производитель АЛТ ответственен за определение уровня опасности и за соблюдение производственных требований.

Если в ВОЛП произведены какие-либо изменения, которые могут повлиять на уровни опасности, то должна быть заново оценена степень опасности путем проведения испытаний и измерений, необходимых для подтверждения соблюдения производственных требований, и если уровень опасности изменился, то это необходимо указать, выполнив перемаркировку.

Производители АЛТ ответственны за оценку уровня опасности и за соблюдение всех производственных требований и правил безопасности.

7.6.2 Конструкция OK

7.6.2.1 В точках с уровнями опасности выше 3А требования к ОК должны выполняться при помощи дополнительных механических мер защиты.

7.6.2.2 Во всех системах, в которых есть доступ к СОР, для их разъединения должен использоваться специальный инструмент, если степень опасности может превысить уровень опасности k×3А.

7.6.2.3 СОР должны размещаться так, чтобы препятствовать доступу человека в область с высоким уровнем опасности.

7.6.2.4 ОК должны иметь соответствующую маркировку, чтобы отличать их от кабелей другого назначения.

7.6.2.5 Каждый СОР должен быть отмечен трубкой, меткой или лентой, если степень опасности в месте его установки превышает 1-й уровень опасности. Трубка, метка или лента должны быть желтого цвета с биркой и указанием уровня опасности в соответствии с [30].

7.6.2.6 Группу СОР допускается маркировать ясно видимой биркой на месте опасного оптического излучения, а не индивидуальными бирками каждого СОР. Если группа СОР заключена внутри блока, то маркировка должна быть хорошо видна перед и после открывания панели крышки блока, что может потребовать использование более одной бирки.

7.6.3 Требования безопасности при выполнении работ по техническому обслуживанию в процессе эксплуатации ВОЛП

7.6.3.1 Перед работами на любом ОК или АЛТ технический персонал должен проверить режим работы АЛТ и уровень опасности. В случае, если АЛТ смонтирована и включена, это будет обозначено предупреждающей маркировкой о соответствующем уровне опасности. Во время пуско-наладочных работ, когда эти меры не могут еще быть обеспечены, при их отсутствии следует руководствоваться мерами предупреждения, соответствующими классификации любого испытательного оборудования, содержащего оптический источник, подсоединяемый к ОВ.

7.6.3.2 Технический персонал не должен непосредственно смотреть на любой торец ОВ, по которому передается излучение, или торец соединителя в точках с уровнем опасности 3А, k×3А или 3В. В точках с уровнем опасности 3А, k×3А или 3В должны использоваться средства наблюдения с соответствующим затуханием.

7.6.3.3 При производстве работ на открытых волокнах, СОР и т.д. оборудование ВОЛП или испытательное оборудование должно быть выключено, находиться в состоянии передачи малой мощности или отсоединено. В этом случае непреднамеренное включение должно предотвращаться с помощью переключателя дистанционного управления или с помощью другого подходящего метода. Состояние ВОЛП (питание включено или выключено) должно быть четко обозначено.

7.6.3.4 Замена блоков, отключение разъемов и осмотр монтажа должны проводиться при отключенном напряжении питания.

7.6.3.5 При работе с ОВ его отходы при разделке (сколе) должны собираться в отдельный ящик. После окончания монтажа рекомендуется освобождать ящик в отдельно отведенном месте или закапывать отходы в грунт. Следует избегать попадания остатков ОВ на одежду. Работу рекомендуется проводить в клеенчатом фартуке.

7.6.3.6 Рабочее место и пол после разделки ОВ обработать пылесосом и затем протереть мокрой тряпкой. Отжим тряпки следует производить в плотных резиновых перчатках.

7.6.3.7 При измерении мощности оптического излучения на выходе передающих устройств присоединение измерителя мощности к СОР передающего устройства проводить при отключенном оптическом излучателе.

7.6.3.8 В оборудовании ВОЛП и в специализированных измерительных приборах оптические излучатели должны быть закрыты заглушками, если к ним не подключен ОК.

7.6.4 Требования к применению средств защиты

В точках, где во время эксплуатации или ТО могут иметь место уровни излучения выше уровней класса 3А (например, при переключениях в точках с контролируемым доступом), должны быть обеспечены соответствующие меры защиты глаз.

7.6.5 Требования к техническому персоналу

7.6.5.1 Только технический персонал, который прошел курс обучения по безопасности волоконно-оптических устройств, может быть допущен к работам на ВОЛП в точках с уровнями опасности k×3А и 3В.

7.6.5.2 Руководитель технического персонала, который проводит пуско-наладочные работы или ТО ВОЛП, должен разработать и утвердить соответствующую программу по контролю безопасности. Программа по безопасности и программа обучения должны вводиться для персонала, работающего на системах связи с уровнем опасности k×3А или 3В.

Программы должны включать, как минимум:

- общую информацию по ВОЛП;

- информацию по безопасности, касающуюся классификации лазеров и уровней опасности;

- руководство по безопасному использованию ВОЛП с лазерами и соответствующие меры безопасности.

7.6.6 Стадии контроля выполнения требований безопасности

7.6.6.1 Производители оборудования ВОЛП должны обеспечить эксплуатирующие организации:

- описанием технических особенностей конструкции системы, препятствующих доступу к опасным уровням оптического излучения;

- соответствующими инструкциями по монтажу, ТО и безопасному использованию с четким указанием мер предосторожности, чтобы избежать возможного влияния опасного излучения;

- указанием в единицах системы СИ мощности, распространяющейся по оптическому волокну во всех точках системы, где возможен доступ к оптическому излучению. Также должны быть указаны погрешность измерений и любые возможные изменения измеряемых величин за время жизни аппаратуры;

- данными о времени срабатывания системы автоматического гашения лазера;

- четкими копиями (соответствующих цветов или черно-белыми) необходимых знаков и предупреждений об опасности в точках доступа оптического излучения оборудования ВОЛП;

- перечнем регулировок, подстроек и процедур при эксплуатации и ТО, включая при необходимости предупреждения об опасности;

- указанием по безопасному выполнению процедур и предупреждением несанкционированного доступа;

- информацией, которая позволит эксплуатирующей организации в случаях, когда при установке и обслуживании отключается система автоматического гашения лазера, определить безопасные работы и процедуры при восстановлении и испытании этой системы автоматического снижения мощности;

- любой другой информацией о безопасном применении ВОЛП.

7.6.6.2 Степень опасности оборудования ВОЛП должна соответствовать уровню опасности 1, 2, 3А, k×3А или 3В.

7.6.6.3 Не должно быть точек с уровнем опасности 4.

7.6.6.4 Испытания, измерения и работы с оборудованием ВОЛП следует рассматривать как работы при эксплуатации или ТО. По возможности диагностирующие тесты следует выполнять таким образом, чтобы не увеличить уровень опасности в любой точке.

При подключении оборудования для оценки уровня опасности следует определить фактические уровни мощности, вводимой в систему.

7.6.6.5 ТО и ремонт должны выполняться при отсутствии мощности, передающейся по волокну, в ином случае система должна эксплуатироваться при самой низкой мощности, которую можно допустить .

7.6.6.6 Во время пуско-наладочных работ или испытаний ОК должно использоваться только измерительное оборудование с лазером класса 1, 2 или 3А.

7.6.7 Требования безопасного проведения работ на электропитающем оборудовании ВОЛП должны соответствовать [17], [31] и ОСТ 45.119 для НРП.

8 Организация и проведение РНР и РВР на ВОЛП

8.1 Общие положения

8.1.1 Работы, выполняемые по локализации отказов в пределах одного или нескольких ОТЭ вручную или автоматически на ближнем и/или удаленном конце, осуществляются с помощью устройств встроенного контроля и/или внешними испытательными системами.

Испытательная система, обслуживающая один или несколько ОТЭ, должна выполнять следующие функции:

- сбор сигналов аварии, например, путем считывания интерфейсов аварийной сигнализации и группирования сообщений аварийной сигнализации;

- запрос информации об отказах, например, путем обращения к разным ОТЭ;

- выполнение испытательных программ;

- отображение результатов испытаний.

В случае взаимозаменяемых блоков отказавший блок должен быть идентифицирован особым образом.

8.1.2 Задержка технического обслуживания зависит от характера отказов и от того, каким образом о них будет сообщено с помощью сигналов "АВАРИЯ", "ПОВРЕЖДЕНИЕ" или "ПРЕДУПРЕЖДЕНИЕ". Для уменьшения задержки технического обслуживания рекомендуется применять оптимальную стратегию восстановления в соответствии с п. 8.2.

8.1.3 При получении сигналов "АВАРИЯ" или "ПОВРЕЖДЕНИЕ" устранение отказа осуществляется автоматическим переключением на резерв либо путем организации специального выезда технического персонала. В последнем случае допускается задержка технического обслуживания от нескольких часов - в случае сигналов "АВАРИЯ", до нескольких дней - в случае сигналов "ПОВРЕЖДЕНИЕ".

8.1.4 При получении сигнала "ПРЕДУПРЕЖДЕНИЕ", который указывает на то, что не требуется каких-либо немедленных действий, допускается задержка технического обслуживания до следующего планового технического обслуживания (или выезда технического персонала), если только накопление информационных сигналов технической эксплуатации не потребует более раннего вмешательства.

8.1.5 Восстановление работоспособности может потребовать замены или ремонта объекта технической эксплуатации или его частей. Отказавшие заменяемые блоки направляются в специализированный центр ремонта, где имеется необходимое испытательное оборудование (сама система передачи не может использоваться в качестве испытательного оборудования).

8.1.6 После восстановления работоспособности проводится проверка функционирования ОТЭ. Проверка может быть выполнена на месте или дистанционно.

8.1.7 Исправленный ОТЭ или часть ОТЭ возвращаются в эксплуатацию. Заблокированные объекты технической эксплуатации разблокируются и переход на резерв может быть закончен.

8.1.8 Восстановление линий передачи, трактов и каналов передачи при неисправностях первичной сети осуществляется [3]:

- перестройкой сети операциями СУЭ или в соответствии с графиками обходов и замен (ГОЗ) и оперативными указаниями СОТУ с использованием резервных, подменных и временно незадействованных трактов и каналов передачи;

- автоматическим переключением на резерв по схеме 1+1 или 1:n;

- применением подвижных средств и кабельных вставок;

- устранением неисправностей аппаратуры систем передачи и оборудования линейно-кабельных сооружений.

Для современных ЦСП при восстановлении оконечных и промежуточных пунктов линий передачи, трактов и каналов передачи порядок и организация ввода ГОЗ определяются алгоритмами СУЭ по управлению конфигурацией и устранением неисправностей, а также возможностями применяемого оборудования.

8.2 Оптимальная стратегия восстановления ВОЛП

При эксплуатации ВОЛП рекомендуется начинать восстановление ОТЭ, начиная с его предотказового состояния (состояние «ПОВРЕЖДЕНИЕ»)

Этот алгоритм технической эксплуатации, основанный на устранении отказа до его возникновения, позволяет практически существенно снизить зависимость надежности системы передачи от надежности ее отдельных компонентов в отличие от алгоритма, основанного на стратегии предлагающей начало восстановления после обнаружения и локализации отказа, а при использовании переключений на резерв исключить эту зависимость.

Схема функционирования ОТЭ во времени для случаев, когда восстановление начинается в отказовом состоянии и предотказовом состоянии, приведена на рисунке 7. Модель такой схемы восстановления приведена на рисунке 8.

Рисунок 7 - Схема функционирования ОТЭ

ОТЭ может мгновенно переходить из состояния "норма" в состояние "отказа" с интенсивностью отказов λo (внезапные отказы), а может переходить из состояния "норма" в состояние предотказовое с интенсивностью перехода λп, а затем в состояние отказа с интенсивностью λпо (постепенные отказы).

Восстановление элемента сети происходит с интенсивностью λв = 1/Тв,

где Тв = t0 + t1 + t2 - среднее время восстановления;

t0 - время обнаружения и локализации неисправности;

t1 - время подъезда ремонтно-восстановительной бригады;

t2 - время замены (ремонта).

Очевидно, что:

(8.1)

или:

(8.2)

где Тп - среднее время наработки на предотказовое состояние;

Тпо - среднее время наработки между предотказовым и отказовым состояниями.

Как следует из сопоставления выражений (5.6) и (5.13) и рисунка 7, применение оптимальной стратегии восстановления приводит к снижению коэффициента простоя ВОЛП, при этом занятость ремонтно-восстановительной бригады не увеличивается, что существенно при эксплуатации.

λп - интенсивность перехода в предотказовое состояние

λпо - интенсивность перехода из предотказового в отказовое состояние

λв - интенсивность восстановления

Рисунок 8

Используется по существу временное резервирование за счет постепенных отказов и введения различных приоритетов, учитывающих интенсивности переходов ОТЭ на обслуживаемом участке ВОЛП из одного состояния в другое.

При этом, для повышения надежности ВОЛП при эксплуатации необходимо:

- начинать восстановление в предотказовом состоянии, если нет данных об отказе;

- не прерывать восстановление предотказового состояния при получении данных об отказе, если по времени выполнено больше половины работ, включая время подъезда, по устранению неисправности;

- организовать базу данных на основе информации для каждого вида отказа: времени поступления данных о предотказовых и отказовых состояниях, времени окончания восстановления, времени выезда и прибытия бригады на место неисправности, расстояние до места неисправности, причины неисправности, учетные данные ВОЛП;

- определять приоритетность на восстановление при возникновении нескольких неисправностей на сети, исходя из информации в базе данных (в частности, с учетом интенсивностей переходов из предотказового в отказовое состояние);

- производить размещение технического персонала с учетом топологии магистрали (сети) и статистики отказов (с учетом априорных и апостериорных данных об отказах).

8.3 Особенности восстановления ВОЛП и сетей СЦИ

Характерным для современной аппаратуры СЦИ является то, что она располагает обширным арсеналом технических средств и методов, поддерживающих надежность функционирования за счет возможностей автоматического резервирования по географически разнесенным трассам в линейно-цепочечной структуре сети и по различным парам оптических волокон в одном кабеле в кольцевых сетях по схеме «1+1» (мультиплексным секциям). Обеспечивается также автоматическое резервирование отдельных блоков аппаратуры.

Возможности современных ВОСП на базе СЦИ позволяют осуществлять резервирование подсетевым соединением, когда используется резерв по пропускной способности. В частности, это позволяет программно осуществлять ввод графика обходов и замен, причем на каждом участке сети возможна оценка текущего состояния по загрузке и качеству передачи в отдельных информационных структурах. Особенно эффективен способ резервирования подсетевым соединением в кольцевых структурах связи. С целью реализации этого способа целесообразно в составе технических средств линии передачи или сети использовать оборудование с заведомо более высокой скоростью передачи, как отмечено в п. 5.1.4.

Технические решения по резервированию, заложенные в аппаратуре СЦИ, в сочетании с кольцевыми структурами, с вводом-выводом компонентных сигналов и встроенными устройствами оперативного переключения цифровых информационных потоков, позволяющими при авариях (повреждениях) перераспределять сетевую нагрузку, фактически и являются теми необходимыми средствами восстановления - они пригодны как для обычных условий эксплуатации, так и в большинстве случаев при ЧС [16].

При таком аппаратурном резервировании надежность связи по ВОЛП является достаточно высокой. Наиболее уязвимым местом при этом является повреждение ОК, особенно полный его обрыв. На участках сети с кольцевыми структурами даже обрыв ОК не приводит к потере трафика. Таким образом для обычных условий эксплуатации аппаратуры СЦИ кроме ЗИП со всеми разновидностями блоков ничего не требуется. Обрыв или другие виды повреждений оптического кабеля должны восстанавливаться с помощью ВОКВ [14].

По мере дальнейшего строительства ВОЛП на сетях ВСС РФ рекомендуется создавать «кольца», что позволит с помощью аппаратуры оперативного переключения перераспределять сетевую нагрузку и сохранять основной трафик, т.е. адаптировать сеть для поддержания высокого значения Кг в любых аварийных ситуациях, включая и ЧС. Кольцевой принцип построения сетевых структур на несколько порядков снижает Кп, т.к. повреждения оптического кабеля практически не будут сказываться на параметрах надежности трактов и каналов.

Однако, в настоящее время преобладает линейно-цепочечная сетевая структура с вводом-выводом компонентных сигналов или аппаратурой оперативного переключения со многими выносимыми линиями. На этих ВОЛП стихийные бедствия и другие чрезвычайные ситуации в первую очередь могут вывести из строя малозащищенные ОК и НРП.

В дальнейшем, по мере строительства ВОЛП на сети с применением оптических усилителей (т.е. увеличением длины участка регенерации), число НРП в полевых условиях (в цистернах) будет уменьшаться за счет размещения в помещениях сетевых узлов и станций.

Технические сооружения сетевых узлов и станций на магистральной и внутризоновых сетях проектируются в хорошо защищенных зданиях или бункерах, и практика эксплуатации, исчисляемая многими десятилетиями, показала, что они не подвергались разрушениями, а соответственно и аппаратура, размещаемая в них.

8.4 Организация работ по восстановлению НРП ВОЛП

НРП для ВОЛП, спроектированной по линейно-цепочечной структуре, и при отсутствии резервирования по разнесенным географически трассам по схеме «1+1», подлежит восстановлению в два этапа [16]. На первом этапе производится восстановление по временной схеме работоспособного состояния НРП, а на втором - по постоянной схеме исправного состояния НРП.

При восстановлении работоспособного состояния НРП ВОЛП восстанавливаются все задействованные до аварии рабочие тракты передачи. В исключительных случаях допускается восстанавливать технически возможное в данных условиях число трактов передачи.

При восстановлении исправного состояния НРП ВОЛП восстанавливаются все задействованные до аварии тракты передачи, включая резервные тракты передачи и все вспомогательное оборудование, в том числе система электроснабжения и электропитания, а также устраняются механические повреждения конструкции НРП и последствия разрушений на прилегающей к НРП территории.

При восстановлении НРП ВОЛП по временной схеме возможны различные варианты восстановления в зависимости от масштабов аварии, местных условий (включая технические данные ВОЛП, наличие пунктов оперативного доступа и т.п.), а также условий применения существующих или планируемых технических средств для восстановления.

К существующим техническим средствам для восстановления НРП ВОЛП относятся комплекты ЗИП, включающие в себя разновидности блоков, плат (ТЭЗов) и т.д. и ВОКВ с ОУ. К планируемым техническим средствам для восстановления НРП могут быть отнесены мобильный НРП и мобильная цифровая радиорелейная станция.

При восстановлении НРП ВОЛП по временной схеме подключение к линейному кабелю ВОЛП должно производиться преимущественно к существующим муфтам оптического кабеля. Подключение непосредственно к линейному кабелю на участке между муфтами следует предусматривать только в технически обоснованных случаях. При наличии пунктов оперативного доступа восстановление по временной схеме должно осуществляться по возможности путем подключения к линейному, кабелю ВОЛП через них.

Восстановление по временной схеме осуществляется по местной «инструкции по восстановлению НРП ВОЛП», необходимый комплект которых разрабатывается каждым оператором связи. Эти инструкции должны содержать алгоритмы действий, учитывающие в зависимости от масштабов аварии, местных условий и варианта восстановления, характер и последовательность устранения повреждений или разрушений (по временной и постоянной схемам), состав технического персонала, расчетное время проведения работ, а также требуемые и имеющиеся в наличии технические средства.

Восстановление исправного состояния НРП должно производиться непосредственно после ликвидации аварийной ситуации (тушение пожара, спала наводнения, прекращение селя и т.п.). Постоянная схема восстановления НРП ВОЛП реализуется с учетом действующих положений по строительству кабельных линий передачи.

8.5 Организация работ по устройству временной связи на оптическом кабеле

8.5.1 Организация работ по устройству временной связи для современных ВОЛП с ОК, не содержащими металлических жил ДП, должна осуществляться в соответствии с [14].

8.5.2 В зависимости от характера повреждения ОК временная связь осуществляется восстановлением всех рабочих волокон ОК с помощью простой или сложной ВОКВ (резервные ОВ не восстанавливаются).

Простая ВОКВ (ВОКВП) организуется в случае локального механического повреждения, обнаруживаемого визуально.

Сложная ВОКВ (ВОКВС) организуется, когда:

- место повреждения нельзя определить визуально и время на определение места повреждения и устранение аварии превышает установленную норму на восстановление связи;

- повреждение ОК имеет значительную протяженность или имеются несколько повреждений в пределах одной или нескольких строительных длин;

- системный запас на регенерационном участке составляет менее 5 дБ и требуется осуществлять контроль затухания в процессе монтажа ВОКВ.

8.5.3 Простая ВОКВ состоит из отрезка ОК, длина которого зависит от протяженности участка повреждения линейного ОК, но не менее 30 м.

Предпочтительно для ВОКВ использовать ОК аналогичный восстанавливаемому линейному ОК (берется из эксплуатационного запаса). В дальнейшем этот кабель может быть использован для постоянной вставки. При этом существенно сокращается время на организацию постоянной связи.

8.5.4 Сложная ВОКВ состоит из набора длин ОК, в сумме составляющих строительную длину линейного ОК (4-6 км).

8.5.5 Соединение ОВ поврежденного ОК и ВОКВ выполняется с помощью СМ, имеющих потери менее 0,2 дБ и коэффициент отражения менее минус 50 дБ. При соединении рекомендуется проводить юстировку ОВ в СМ с целью уменьшения потерь на стыках с использованием для контроля рефлектометра.

8.5.6 ВОКВ прокладывают по земле, подвешивают на растущих вблизи деревьях или кустах, на опорах линий передачи и обозначают цветными флажками. При пересечении железной или шоссейной дороги ВОКВ следует прокладывать в резервных каналах.

При отсутствии резервного канала необходимо:

- на пересечении шоссейных дорог устанавливать воздушные переходы (расстояние от нижней точки подвешенного кабеля до полотна шоссейной дороги должно быть не менее 5,5 м. Допускается прокладка ВОКВ через шоссе с защитой металлическими швеллерами и уголками;

- на пересечении железной дороги ВОКВ следует прокладывать под рельсами вдоль шпал;

- на пересечении грунтовой дороги кабель ВОКВ следует прокладывать в канале, прорытом через дорогу на глубину 150-200 мм и присыпать грунтом. В ночное время такие переходы должны освещаться и охраняться выделенными работниками.

8.5.7 Для измерения потерь при монтаже простой ВОКВ на участке повреждения линейного ОК, имеющего локальный характер и определяемого визуальным путем, отсутствует необходимость на данном этапе в демонтаже муфт, ограничивающих данный участок. Контроль затухания с достаточной точностью может быть выполнен с концов регенерационного участка. Если системный запас на регенерационном участке, где произошло повреждение ОК, составляет менее 3 дБ, то кабель, используемый для ВОКВ, должен иметь коэффициент затухания не более чем линейный ОК

8.5.8. Все РВР выполняются в соответствии с технологическими картами, разработанными ТЦМС, осуществляющими эксплуатацию данного участка ВОЛП. Взаимодействие ремонтных бригад и оповещение о готовности регенерационного участка к работе должно осуществляться в соответствии с [28, 29].

Приложение А (информационное)

Рекомендации по выбору рабочей длины волны и типов оптического кабеля для одноканальных ВОЛП без оптических усилителей

А.1. Диапазоны рабочих длин волн, определяемые затуханием в волокне

На рисунке А.1 приведена типовая спектральная характеристика коэффициента затухания ОК. Здесь учтены потери на сращивание при прокладке ОК и при ремонте, обусловленные диапазоном рабочих температур. В соответствии с [24] были получены значения затухания в пределах 0,3 - 0,4 дБ/км в оптическом диапазоне 1310 нм и 0,15-0,25 дБ/км в оптическом диапазоне 1550 нм.

αок - коэффициент затухания ОК

Рисунок А.1 - Спектральная типовая характеристика коэффициента затухания ОК

Диапазоны длин волн, указанные в таблице 2.4 ОСТ 45.104, были подтверждены данными, полученными от изготовителей волокна, совместно с учетом общих допусков, связанных с изготовлением ОК, со сращиванием при прокладке и ремонте и с рабочим диапазоном температур.

Следовательно, следующие значения эталонного максимального коэффициента затухания считаются подходящими только для расчета систем при проектировании: 3,5 дБ/км для внутристанционных соединений (код применения I-N), 0,8 дБ/км для линий передачи небольшой протяженности (код применения S-N.x), 0,5 дБ/км для систем большой протяженности (код применения L-N.x) на рабочей длине волны 1310 нм и 0,3 дБ/км для линий большой протяженности при работе на длине волны 1550 нм.

На рисунке А.1 этому соответствуют диапазоны длин волн А и В для L-N.x, a диапазоны С и D для S-N.x и I-N.

А.2. Диапазоны рабочих длин волн, определяемые дисперсией в волокне

Для одномодовых волокон, соответствующих [24], длина волны с нулевой дисперсией, находится в промежутке между длинами волн 1300 нм и 1324 нм, так что волокно оптимизировано в области 1310 нм. Эти значения длин волн и соответствующие требования на крутизну характеристики волокна с нулевой дисперсией определяют максимально допустимые абсолютные значения коэффициента дисперсии (определяемого посредством волокон, имеющих минимальные и максимальные длины волн с нулевой дисперсией), приведенного на рисунке А.2. Однако, волокна, соответствующие [24], могут также использоваться в области 1550 нм, для которой максимальный коэффициент дисперсии сравнительно велик, как видно из характеристики, приведенной на рисунке А.3.

Для волокна, соответствующего [25], допустимый диапазон длин волн, соответствующих нулевой дисперсии волокна, находится в пределах 1500 нм и 1600 нм, так что волокно является оптимизированным в области 1550 нм. С помощью аналитических выражений для коэффициента дисперсии можно получить максимально допустимые значения, приведенные на рисунке А.4. Волокна, соответствующие [25], можно использовать также в области 1310 нм, для которой максимальное значение коэффициента дисперсии сравнительно велико.

Для волокон, соответствующих [26] и используемых в диапазоне 1550 нм, коэффициент дисперсии имеет аналогичное значение, но немного превышает то значение, которое определено для волокон, соответствующих [24]. Этот вопрос не был учтен в таблицах 2-4 ОСТ 45.107.

Для волокон, соответствующих [24и использованных в диапазоне 1310 нм и для волокон, соответствующих [25] и используемых в диапазоне 1550 нм, диапазон длин волн с ограниченной дисперсией выбирается таким образом, чтобы абсолютные значения коэффициента дисперсии на предельных длинах волн были приблизительно одинаковы. Как видно из формы характеристики, приведенной на рисунке А.2 и рисунке А.4, абсолютные значения дисперсии имеют меньшее значение в пределах рабочего диапазона длин волн.

Для волокон, соответствующих [26], а также для волокон, соответствующих [24] и используемых в диапазоне 1550 нм, дисперсия, как видно из рис. А.3, ограничивает верхнюю рабочую длину волны, в то время как затухание ограничивает нижнюю рабочую длину волны.

Рисунок А.2 - Максимальная абсолютная величина коэффициента дисперсии |σ| для ОК по [24] в диапазоне длин волн 1310 нм

Рисунок А.3 - Максимальная абсолютная величина коэффициента дисперсии |σ| для ОК по [24] (—) и по [25] (∙∙∙∙) в диапазоне длин волн 1550 нм

Рисунок А.4 - Максимальная абсолютная величина коэффициента дисперсии |σ| для ОК по [25]

Приложение Б (информационное)

Рекомендации по выбору типов оптического кабеля для многоканальных ВОЛП с оптическими усилителями

Б.1 Общие положения

Многоканальные ВОЛП с оптическими усилителями предназначены для работы в окне прозрачности 1,55 мкм в рабочем диапазоне длин волн, определенных в [9].

Рабочий диапазон длин волн соответствует и рабочей области ОУ (1528,77-1560,61 нм). Многоканальные ВОЛП с ОУ могут работать на оптических кабелях с одномодовыми волокнами следующих типов:

- одномодовое волокно в соответствии с [24] (SMF - single mode fiber);

- волокно со смещением дисперсии в область длин волн 1,55 мкм в соответствии с [25] (DSSMF - dispersion shifted single mode fiber);

- волокно с ненулевой смещенной дисперсией в соответствии с [27] (NZ DSSMF -поп - zero dispersion shifted single mode fiber).

Б.2 Характеристики и функциональные возможности волокон

Основные характеристики волокон по дисперсии и затуханию SMF и DSSMF приведены в Приложении А настоящего документа. По затуханию в окне 1,55 мкм все три типа волокон примерно одинаковы, но отличаются характеристиками хроматической дисперсии. Для одноканальных ВОЛП применение DSSMF по сравнению с SMF позволяет существенно увеличить длину участка регенерации по широкополосности, т.к. длина волны нулевой дисперсии λ0 для DSSMF смещена в середину рабочего диапазона 1,55 мкм. Однако, для многоканальных ВОЛП с ОУ результат становится отрицательным, т.к. влияние нелинейных эффектов, имеющих место в этом случае, резко возрастает вблизи длины волны λ0. И прежде всего в этом случае проявляется эффект четырехволнового смешивания (ЧВС), приводящий к генерации новых (паразитных) каналов на расстоянии сумм и разностей длин волн основных каналов, что приводит к взаимодействию основных каналов и уменьшению соотношения сигнал/шум.

Эффект ЧВС может быть уменьшен, либо уменьшением уровня мощности оптического сигнала, либо расположением каналов на разных расстояниях друг от друга во избежании их перекрывания, либо перенесением λ0 за пределы рабочего диапазона длин волн.

Последнему условию соответствует применение SMF - волокна, у которого λ0 смещена в окно 1,31 мкм. Однако, применение SMF для ВОЛП с высокой пропускной способностью (≥10 Гб/с для одноканальных и ≥40 Гб/с для многоканальных ВОЛП) практически не представляется возможным из-за резкого снижения длины участка регенерации.

Поэтому для многоканальной ВОЛП высокой пропускной способности целесообразно применять третий тип волокна-NZ DSSMF, особенностью которого по сравнению с DSSMF является то, что λ0 вынесена за пределы рабочего диапазона длин волн в окне 1,55 мкм, но по сравнению с SMF оно имеет существенно низкое значение дисперсии в окне 1,55 мкм.

Б.3 Выбор типа волокна для различных вариантов проектирования ВОЛП

Как отмечается в п. 5.4 настоящего документа, для высокоскоростных ВОЛП доминирующим фактором ограничения длины участка регенерации является дисперсия.

При применении самого дешевого ОК со стандартными одномодовыми волокнами (SMF) с ростом скорости передачи от 155 мбит/с до 2500 мбит/с будет иметь место резкое уменьшение длины участка регенерации. Для ослабления этой зависимости возможно использование волокон с компенсирующей дисперсией DCF (Dispersion - Compensating Fiber) или пассивных компенсаторов дисперсии PDC (Passive Dispersion Compensator). В этом случае положительная дисперсия, накопленная на промежутках участка регенерации, компенсируется рядом PDC на основе DCF с заранее подобранным значением отрицательной дисперсии, в результате чего итоговая хроматическая дисперсия может быть уменьшена. Компенсация дисперсии допустима в силу систематического накопления дисперсии с ростом длины. Включение в состав оптического тракта PDC приводит к увеличению затухания в линии, поэтому должно сопровождаться одновременным применением ОУ3.

Тем не менее при проектировании ВОЛП с пропускной способностью на перспективу до 10 Гб/с для одно канальных ВОЛП и до 40 Гб/с для многоканальных ВОСП применение ОК на основе волокон типа SMF может быть весьма эффективным, т.к. они гораздо дешевле волокон типа NZDSSMF. Эффект коррекции дисперсии при применении волокон SMF улучшается, если одновременно использовать передающие устройства с очень узкой шириной спектра (не менее 0,1 нм).

Для одноканальных ВОЛП вместо PDC может быть использован кабель на основе волокон DSSMF, но для многоканальных ВОЛП эффективнее использование волокон типа SMF.

При проектировании многоканальных ВОЛП с пропускной способностью (в том числе и на перспективу) выше 40 Гб/с необходимо уже ориентироваться на применение волокон типа NZDSSMF.

Приложение В (информационное)

Библиография

[1] «Основные положения развития взаимоувязанной сети связи Российской Федерации на перспективу до 2005 года», кн. 1, 2, М. 1996 г.;

[2] "Нормы на электрические параметры цифровых каналов и трактов магистральной и внутризоновых первичных сетей". Введены в действие приказом Минсвязи России от 10.08.96 г. N 92;

[3] «Правила технической эксплуатации первичной сети взаимоувязанной сети связи Российской Федерации», кн. 1,2, Введены в действие приказом Минсвязи России от 19.10.98 г. N 187;

[4] Руководящий технический материал по применению систем и аппаратуры синхронной цифровой иерархии на сети связи Российской Федерации. ЦНИИС, 1994 г. Принято Решением ГКЭС от 5.03.94 г. N 74.;

[5] Рекомендация МСЭ-Т М.60 Термины и определения, относящиеся к технической эксплуатации;

[6] Рекомендация МСЭ-Т М.3010 Принципы организации сети управления электросвязью (СУЭ);

[7] Рекомендация МСЭ-Т G.784 Управление синхронной цифровой иерархией;

[8] Рекомендация МСЭ-Т G.662 Основные характеристики приборов и подсистем на базе оптических волоконных усилителей.

[9] Рекомендация МСЭ-Т G.692 Оптические стыки для многоканальных систем с оптическими усилителями.

[10] Временная инструкция по эксплуатации ЦСП СЦИ, М., 1997г.

[11] Инструкция по паспортизации волоконно-оптических линий связи с использованием ЦСП СЦИ, М, 1997г.

[12] Указания по проведению измерений на аппаратуре оконечных станций, линейных и сетевых трактах цифровых систем передачи плезиохронной цифровой иерархии, М., 1997г.

[13] Временные указания по проведению измерений на аппаратуре цифровых систем передачи синхронной цифровой иерархии. М., 1998г.

[14] Рекомендации по аварийно-восстановительным работам на поврежденном оптическом кабеле на базе временных оптических кабельных вставок, утверждено Госкомсвязи России, 1997 г.

[15] Типовая инструкция по восстановлению ВОЛП-ВЛ в чрезвычайных ситуациях, ОАО Ростелеком, М. 1999 г.

[16] Типовая инструкция по восстановлению НРП ВОЛП в чрезвычайных ситуациях, ОАО Ростелеком, М. 1999 г.

[17] Типовая инструкция по восстановлению системы электропитания и электроснабжения НРП ВОЛП в чрезвычайных ситуациях, ОАО Ростелеком, М. 1999г.

[18] Основные положения по проектированию, строительству и эксплуатации ВОЛС-ВЛ, утверждено Госкомсвязи России, 1997 г.

[19] Нормы приемо-сдаточных измерений ЭКУ ВОСП магистральных и внутризоновых подземных ВОЛС, утверждено Госкомсвязи России, 1997 г.

[20] Технические требования на аппаратуру волоконно-оптического тракта плезиохронной цифровой иерархии для первичной сети общего пользования, утверждены Минсвязи России 20.03.97 г.

[21] Технические требования на системы и аппаратуру синхронной цифровой иерархии, утверждены Минсвязи России 06.07.94 г.

[22] Методики оценки достаточности и расчета запасов в комплектах ЗИП средств электросвязи, книги 1, 2, 3, утвержденные Минсвязи РФ 22.11.96

[23] Правила проектирования, строительства и эксплуатации волоконно-оптических линий связи на воздушных линиях электропередачи напряжением 110 кв и выше, утвержденные Госкомсвязи РФ 16.10.98 г.

[24] Рекомендация МСЭ-Т G.652 Характеристики одномодового волоконно-оптического кабеля.

[25] Рекомендация МСЭ-Т G.653 Характеристики одномодового волоконно-оптического кабеля со сдвигом дисперсии.

[26] Рекомендация МСЭ-Т G.654 Характеристики одномодового волоконно-оптического кабеля с затуханием, минимизированным на волне 1550 мкм.

[27] Рекомендация МСЭ-Т G.655 Характеристики одномодового волоконно-оптического кабеля с ненулевой дисперсией.

[28] "Инструкция по аварийно-восстановительным работам на междугородных кабельных линиях связи", М., Связь, 1978 г.

[29] "Временной инструкции по аварийно-восстановительным работам на волоконно-оптических линиях связи" М., ТЦМС-22.

[30] Стандарт МЭК 60825, книга 1 "Безопасность лазерных изделий", 1998 г.

[31] Правила техники безопасности при эксплуатации электроустановок потребителей. Москва, Госэнергонадзор, 1994 г.