
УСТАНОВКА БОРТОВЫХ КАМНЕЙ НА АВТОМОБИЛЬНЫХ ДОРОГАХ
Технологическая карта составлена на основе методов научной организации труда и предназначена для использования при разработке проекта производства работ и организации труда на объекте.
В технологической карте предусмотрена установка железобетонных бортовых камней длиной 3 м марки П6 по ГОСТ 6665-74 «Камни бортовые бетонные и железобетонные».
Во всех случаях применения технологической карты необходима привязка ее к местным условиям производства работ.
При установке бортовых камней выполняют следующие основные работы (рис. 1):
устройство земляного ящика;
устройство песчаного слоя;
установку бортовых камней;
заполнение швов цементным раствором;
заделку пазух.
Земляной ящик устраивают автогрейдером, на отвале которого монтируют дополнительный профильный нож (рис. 2).
После устройства земляного ящика шириной 0,6 м делают разбивку линии установки бортовых камней: по линии лицевой грани бортовых камней (примыкающей к покрытию дороги) на стыках через 12-15 м забивают металлические штыри под нивелир так, чтобы головки штырей имели проектную отметку верхней грани бортовых камней. По верху штырей натягивают шнур (проволоку).
Рис. 1. Технологическая схема установки бортовых камней:
1 - автогрейдер; 2 - песок; 3 - разложенные камни; 4 - автокран; 5 - установленные бортовые камни
Рис. 2. Приспособление к ножу автогрейдера для рытья земляного ящика:
1 - отвал автогрейдера; 2 - нож; 3 - дополнительный отвал для рытья земляного ящика; 4 - болты М12
По нивелировочным отметкам по рейке зачищают земляной ящик. Глубину ящика контролируют шаблоном от головки штыря и от натянутого шнура.
На обочине в пониженных местах устраивают временные воздушные воронки для отвода дождевой воды.
Выравнивающий слой устраивают из песка или гравийно-песчаной смеси толщиной 10 см. Песок доставляют автомобилями-самосвалами и сгружают на проезжей части у земляного ящика в 5-6 местах, автогрейдером сдвигают песок в земляной ящик и распределяют равномерным слоем.
Песчаный слой окончательно планируют вручную под рейку и утрамбовывают ручной трамбовкой. Толщину слоя контролируют шаблоном от головки штыря. После устройства песчаного слоя прилегающую грань бетонного покрытия смазывают жидким битумом.
Железобетонные бортовые камни заранее подвозят на трайлерах или тракторных прицепах и раскладывают автокраном рядом с земляным ящиком.
При установке монтажники стропят камень, автокраном подают его к месту укладки и опускают в земляной ящик. Удерживая камень в подвешенном состоянии (так, чтобы его подошва была на 10-15 см выше песчаного слоя), выравнивают камень по линии разбивки, ломом отжимают до упора в торец ранее уложенного, опускают на песчаный слой и проверяют положение стыков по высоте: на стыке не должно быть уступов. Если на стыках получается уступ или верх камня не совпадает с линией шнура (проволоки), камень поднимают автокраном, отводят в сторону, подсыпают песок либо снимают его излишки. Затем камень выравнивают по линии и устанавливают на место.
С одной стоянки автокрана устанавливают два камня, после чего автокран перемещают на следующую. Дополнительные выносные опоры (аутригеры) не устанавливают.
Для обеспечения на стыках камней одинаковых зазоров (6-8 мм) пользуются фиксатором зазоров - Г-образным стальным шаблоном, который накладывают на торец установленного камня. Последующий камень устанавливают так, чтобы торец его уперся в торец (с фиксатором) прежде установленного камня.
После установки бортовых камней на участке в 40-50 м их окончательно выверяют в плане и по высоте. В необходимых случаях автокраном слегка приподнимают камень, выправляют его и опускают в проектное положение.
Швы на стыках камней заполняют цементным раствором состава 1:2 из цемента марки 400. Раствор доставляют с растворного узла либо приготовляют на месте работ.
Швы заполняют цементным раствором при помощи мастерка. После того, как в шве цементный раствор потеряет подвижность, расшивают швы. Готовый шов укрывают полиэтиленовой пленкой.
Через 30-42 м устраивают шов расширения, в который вставляют строганую обрезанную по профилю бортового камня доску толщиной 15-20 мм.
Монтажные петли, расположенные с тыльной стороны камней, отгибают книзу.
Пазухи земляного ящика с тыльной стороны бортовых камней засыпают грунтом при помощи автогрейдера и уплотняют деревянной трамбовкой. Пазухи между бортовыми камнями и бетонным покрытием заполняют цементным раствором, а между бортовыми камнями и асфальтобетонными покрытиями - асфальтобетонной смесью.
Качество бортовых камней должно удовлетворять требованиям ГОСТ 6665-74.
При операционном контроле качества работ руководствоваться картой операционного контроля качества работ (раздел VIII).
Запрещается производить планировку песчаного слоя под камнем, поднятым автокраном. При необходимости исправления песчаного выравнивающего слоя камень следует поднять автокраном на 10-15 см от земли и отвести в сторону.
В остальном следует руководствоваться «Правилами техники безопасности при строительстве, ремонте и содержании автомобильных дорог». М., «Транспорт», 1978.
Работы по установке бортовых камней ведут в дневную смену. На участке работ намечают две сменные захватки:
на устройство земляного ящика и песчаного слоя;
на установку железобетонных бортовых камней.
Выполняет работу бригада в составе:
машиниста автокрана 5разр.- 1, монтажников конструкций 4разр.- 1, 3разр.- 1 и 2разр.- 1 (он же такелажник); дорожного рабочего 3 разр.- 1 и землекопов 2 разр.-2.
Для кратковременной работы по рытью земляного ящика, распределению песка и засыпке пазух грунтом бригаде придают автогрейдер.
В процессе работы бригада делится на два звена.
Звено в составе монтажников конструкций 4, 3 и 2разр. (такелажника) и машиниста крана 5разр. выполняет установку камней. Монтажник 2разр. - такелажник стропит камни и подбивает песок под установленные.
Монтажники 4 и 3разр. устанавливают камни и окончательно выправляют их, заделывают и расшивают швы.
Звено в составе дорожного рабочего 3разр.- 1 и двух землекопов 2разр. занимается подготовкой земляного ящика и песчаного слоя. В начале смены звено с линейным мастером или геодезистом выполняют разбивочные работы.
Выгрузку и раскладку железобетонных бортовых камней на первой захватке, как задел к следующему рабочему дню, бригада организует своими силами.
Для выгрузки выделяются машинист автокрана 5разр.- 1, дорожный рабочий 3разр.- 1 и такелажник 2разр.- 1.
В начале смены рабочие получают инструктаж от мастера, инструменты и знаки ограждения, которые они устанавливают по указанию мастера. В конце смены рабочие снимают знаки ограждения, чистят инструмент и сдают его в кладовую.
На участке работ должны находиться аптечка и бачок с питьевой водой.

Примечания: I. Цифрами над линиями указано количество рабочих, занятых в операции, цифрами под линиями - продолжительность операции в минутах.
2. В трудоемкость включено время для отдыха рабочих в течение смены.
|
№ п.п. |
Шифр норм и расценок |
Состав звена |
Описание работ |
Единица измерения |
Объем работ |
Норма времени, чел-ч |
Расценка, руб. - коп. |
Нормативное время на полный объем работ, чел-ч |
Стоимость затрат труда на полный объем работ, руб. - коп. |
|
|
1 |
THиP § Т1- 20, № 3 |
Машинист Автогрейдера 6разр. - 1 |
Устройство земляного ящика автогрейдером |
100 м |
2,1 |
0,24 |
0-19 |
0,5 |
0-40 |
|
|
2 |
THиP § Т 1-20, № 5+№ 6 |
Слесари строительные: 4разр. - 1 3 » - 1 |
Установка и снятие дополнительного отвала |
1 установка и 1 снятие |
1 |
1,83 |
1-07,9 |
1,83 |
1-08 |
|
|
3 |
THиP § Т92- 2- 8, № 1 |
Машинист автокрана 5разр. - 1 Монтажники конструкций: 4разр. - 1 3 » - 1 Такелажник 2разр. - 1 Дорожные рабочие: 3разр. - 1 2 » -2 |
Установка бортовых камней длиной 3 м автокраном с разметкой мест установки камней, выгрузкой камней вдоль фронта работ, зачисткой земляного ящика, устройством песчаного основания с трамбованием, установкой бортовых камней; заполнение швов цементным раствором с расшивкой их, приготовлением раствора, заполнением пазух грунтом |
1 м |
210 |
0,35 |
0-19,6 |
73,5 |
41 - 16 |
|
|
4 |
ЕНиР-17, § 17-22, № 2 (применительно) |
Машинист автогрейдера 6разр. - 1 |
Перемещение песка в земляной ящик автогрейдером за четыре прохода |
1 км |
0,84 |
0,49 |
0-34,4 |
0,41 |
0 -29 |
|
|
|
|
|
Итого |
на 210 м |
|
|
|
|
76,24 |
42-93 |
|
|
|
|
|
на 100 м |
|
|
|
|
36,3 |
20-44 |
|
Наименование показателей |
Единица измерения |
По калькуляции А |
По графику Б |
На сколько процентов показатель по графику больше (+) или меньше (-), чем по калькуляции
|
|
Трудоемкость работ на 100 м бортового камня |
чел-ч |
36,3 |
27,4 |
- 24,5 |
|
Средний разряд рабочих |
- |
3,2 |
3,2 |
- |
Коэффициент использования автокрана по времени в течение смены КВ =0,84.
|
Наименование материалов |
Количество |
|
|
на 100 м |
на сменную захватку длиной 210 м |
|
|
Бортовые камни марки П6 (ГОСТ 6665-74), шт. |
33,33 |
70 |
|
Цементный раствор 1: 2 М-400, м3 |
0,024 |
0,05 |
|
Песок, м3 |
5 86 |
12 3 |
|
Наименование |
Марка, ГОСТ |
Количество, шт. |
|
Автогрейдер ДЗ-31 (Д-557) |
|
1 |
|
Автокран КС-1563 (К-46) |
|
1 |
|
Нивелир |
ГОСТ 10528-76 |
1 |
|
Рейки нивелирные |
ГОСТ 11158-76 |
2 |
|
Лопаты стальные строительные |
ГОСТ 3620-76 |
6 |
|
Рулетка измерительная металлическая |
ГОСТ 7502-69 |
1 |
|
Штыри металлические |
|
30 |
|
Ломы стальные строительные длиной 1м |
ГОСТ 1405- 72 |
2 |
|
Уровень строительный длиной 1 м |
ГОСТ 9416-76 |
1 |
|
Кельмы (мастерки) типа КБ |
ГОСТ 9533-71 |
2 |
|
Ведра |
- |
2 |
|
Емкость для воды |
- |
1 |
|
Ящик для приготовления раствора |
- |
1 |
|
Сигнальные знаки ограждения участка работ, компл. |
ГОСТ 10807-71 |
1 |
|
№ п.п. |
Контролируемые параметры |
Предельные отклонения |
|
ОК- 11 -044 |
|||||
|
|
|||||||||
|
1 |
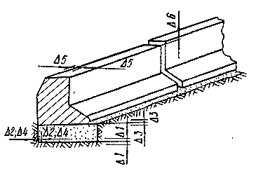
Проектные размеры земляного ящика: отметки дна, мм |
Δ1=±20 |
|||||||
|
|
ширина, см |
Δ2=±5 |
|||||||
|
2 |
Толщина песчаного слоя, % |
Δ3=±10 |
|||||||
|
3 |
Ширина песчаного слоя, см |
Δ4=±5 |
|||||||
|
4 |
Прямолинейность линии бортового камня на участках длиной 3 м, мм |
Δ5=±5 |
|||||||
|
5 |
Превышение одного бортового камня над другим, мм |
Δ6 = 5 |
|||||||
|
Примечания. 1. Величина зазора на стыках бортовых камней должна быть везде одинакова и равна 6 - 8 мм. 2. Линии расшивки швов должны быть прямыми и перпендикулярными к продольной оси бортовых камней.
ГОСТ 6665-74. |
|||||||||
|
Схема установки бортовых камней с указанием предельных отклонений |
|||||||||
|
I |
Основные операции, подлежащие контролю - |
Устройство земляного ящика |
Устройство песчаного слоя |
Установка бортовых камней |
Заполнение швов цементным раствором |
||||
|
II |
Состав контроля |
1.Отметка дна земляного ящика. 2. Ширина земляного ящика |
1. Ширина слоя. 2. Толщина слоя |
1. Отклонение от прямой линии. 2. Превышение одного камня над другим 3. Зазор между бортовыми камнями |
Прямолинейность швов |
||||
|
III |
Метод и средства контроля |
Измерительный. I. Нивелир, визирки. 2. Стальная рулетка |
Измерительный. 1. Нивелир. 2. Шаблон, визирки |
Измерительный. I. Шнур, линейка 2. Линейка, визирки. 3. Мерник величины зазора |
Визуальный |
||||
|
IV |
Режим и объем контроля |
1, 2. Через каждые 40-50 м |
1, 2. Через каждые 40-50 м |
I, 3. Через каждые 40-50 м. 2. На каждом стыке |
Через каждые 40-50 м |
||||
|
V |
Лицо, контролирующее oпeрацию |
Мастер |
|||||||
|
VI |
Лицо, ответственное за организацию и осуществление контроля |
Прораб |
|||||||
|
VII |
Привлекаемые для контроля подразделения |
- |
|||||||
|
VIII |
Где регистрируются результаты контроля |
Журнал производства работ, акт на скрытые работы |
|||||||
____________________________
Технологическая карта разработана отделом внедрения передовой технологии и организации строительства автодорог и аэродромов (исполнитель Ф. А. Потанин) по материалам Калужской и Харьковской нормативно-исследовательских станций института «Оргтрансстрой»
Содержание