ОАО «ЦНИИПРОМЗДАНИЙ»
ПОКРЫТИЯ С ТЕПЛОИЗОЛЯЦИЕЙ
ISOVER
Материалы для проектирования и рабочие чертежи узлов
Шифр М27.24/03
Зам. генерального директора С.М. Гликин
Руководитель отдела А.М. Воронин
Москва
2003
СОДЕРЖАНИЕ

1.1. Работа содержит материалы для проектирования и рабочие чертежи покрытий с теплоизоляцией из плит и матов ISOVER, производимых концерном «SAINT-GOBAIN» на заводах «Saint-Gobain Isover OY» (Финляндия) и «Saint-Gobain Isover Polska Sp. Z.o.o.» (Польша).
Работа выполнена по договору с ЗАО «САН-ГОБЭН ИЗОВЕР».*)
1.2. При проектировании и устройстве покрытий с теплоизоляцией из плит и матов ISOVER, кроме рекомендаций настоящего альбома, необходимо учитывать требования действующих норм:
СНиП 2.08.01-89* «Жилые здания» (изд. 2002 г.);
СНиП 2.08.02-89* «Общественные здания и сооружения» (изд. 2001 г.);
СНиП 31-03-2001 «Производственные здания»;
СНиП 2.09.04-87* «Административные и бытовые здания» (изд. 2001 г.);
СНиП II-3-79* «Строительная теплотехника» (изд. 1998 г.);
СНиП 21-01-97* «Пожарная безопасность зданий и сооружений»;
СНиП II-26-76 «Кровли».
Материалы для проектирования и рабочие чертежи узлов покрытий с теплоизоляцией из плит и матов ISOVER разработаны для отапливаемых зданий различного назначения.
В их числе:
1) жилые, лечебно-профилактические и детские учреждения, школы-интернаты;
2) общественные (кроме указанных в п. 1), административные и бытовые;
3) производственные;
- здания - одно- и многоэтажные, I - IV степеней огнестойкости, с сухим и нормальным температурно-влажностными режимами, предназначенные для строительства на всей территории страны;
- отвод воды с кровли принят организованный по внутренним водостокам и неорганизованный;
- степень воздействия окружающей среды на кровлю - неагрессивная и слабоагрессивная;
- уклон кровель до 10 %.
3.1. Конструкции разработаны для совмещенных покрытий при сборных железобетонных плитах (или с монолитным железобетонным основанием) и при стальных профилированных настилах, с утеплителем из плит и матов ISOVER с кровлями из рулонных материалов и из стальных профилированных листов.
Плиты и маты ISOVER могут применяться для теплоизоляции новых и существующих зданий.
Основное назначение теплоизоляционных материалов ISOVER в зависимости от марки дано в табл. 1.
Таблица 1 Назначение теплоизоляционных материалов ISOVER в покрытиях
|
Вид основания |
Теплоизоляционные плиты ISOVER |
Конструктивная схема покрытия |
Примечание |
|||
|
Марка |
Тип волокна |
Прочность при сжатии, МПа, не менее |
||||
|
Покрытия с теплоизоляцией из плит одной марки при кровлях из рулонных материалов |
железобетон, профнастил |
плиты OL-YK |
стеклянное штапельное |
0,06 |
1.1А 2.1А |
Теплоизоляционные плиты служат основанием под кровлю |
|
железобетон, профнастил |
плиты Dachoterm G |
минеральная вата |
0,06 |
1.1А 2.1А |
||
|
железобетон |
плиты OL-YK |
стеклянное штапельное |
0,06 |
1.1Г |
По теплоизоляционным плитам выполняют стяжку из цементно-песчаного раствора или из плоских асбестоцементных листов |
|
|
железобетон |
плиты Dachoterm G |
минеральная вата |
0,06 |
1.1Г |
||
|
железобетон |
плиты OL-P |
стеклянное штапельное |
0,035 |
1.1В |
||
|
железобетон |
плиты Dachoterm SL |
минеральная вата |
0,035 |
1.1В |
||
|
профнастил |
плиты Dachoterm S |
минеральная вата |
0,045 |
2.1Г |
||
|
Покрытия с теплоизоляцией из плит разных марок при кровлях из рулонных материалов |
железобетон |
плиты OL-K-30 |
стеклянное штапельное |
0,06 |
1.1Б 1.1Е |
Теплоизоляционные плиты с прочностью при сжатии не менее 0,06 МПа служат основанием под кровлю |
|
плиты OL-P |
0,035 |
|||||
|
железобетон |
плиты Dachoterm G |
минеральная вата |
0,06 |
|||
|
плиты Dachoterm SL |
0,035 |
|||||
|
железобетон |
плиты OL-K-30-UPO |
стеклянное штапельное |
0,06 |
1.1Д |
||
|
плиты OL-P |
0,035 |
|||||
|
профнастил |
плиты Dachoterm G |
минеральная вата |
0,06 |
2.1Б |
||
|
плиты Dachoterm S |
0,045 |
|||||
|
профнастил |
плиты OL-K-30 |
стеклянное штапельное |
0,06 |
2.1В |
||
|
плиты OL-P |
0,035 |
|||||
|
плиты OL-K-30 |
0,06 |
|||||
|
|
Плотность, кг/м3 |
|
||||
|
Покрытия с теплоизоляцией из ненагружаемых плит и матов при кровлях из стальных профилированных листов |
профнастил |
плиты KL-E |
стеклянное волокно |
16 |
3.1 |
|
|
плиты KL |
17 |
|||||
|
плиты KL-A |
23 |
|||||
|
маты KT-11 |
11 |
|||||
|
маты KT-11-TWIN |
11 |
|||||
|
маты KT |
16 |
|||||
3.2. В общем случае покрытие включает следующие конструктивные слои:
- несущее основание (железобетонное или из стальных оцинкованных профилированных настилов);
- выравнивающую стяжку из цементно-песчаного раствора по железобетонному основанию;
- пароизоляционный слой (для железобетонного основания - по расчету, по профнастилам - всегда);
- теплоизоляцию из плит или матов ISOVER;
- водоизоляционный ковер из рулонных материалов или из стальных профилированных листов (только при несущем основании из стальных профилированных настилов).
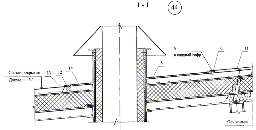
3.3. Деформационные швы в местах перепада высот пролетов решены с разрывом кровли и утеплителя с устройством стенок из кирпичной кладки, из железобетонной панели (докум. - 1.10, - 1.11) или стального швеллера на покрытии пониженного пролета. Швеллер устанавливают на прогон (докум. - 2.11) или на профнастил (докум. - 2.10).
Установка швеллера производится в собранном виде с деревянным антисептированным и антипирерованным бруском, который крепится к швеллеру болтами М-10. К концам прогонов, примыкающих к стене высокого пролета, приваривают стальные пластины 220×120×10 мм.
Полость между бортиком и стеной должна быть заполнена утеплителем ISOVER марки KL-E; KL; KL-A; KT; Dachoterm SL или OL-P, запаянным в полиэтиленовую пленку.
3.4. Деформационные швы при отсутствии перепада высот покрытия выполняют без разрыва кровли, с устройством ее по полуцилиндрическим выкружкам и компенсаторам (докум. - 2.12, - 2.13). Полость между компенсатором и выкружкой заполняют негорючим утеплителем ISOVER марки KL-E; KL; KL-A; KT; Dachoterm SL или OL-P, запаянным в полиэтиленовую пленку.
На отгибы выкружки укладывают доборные элементы треугольной формы размером не менее 50×100 или 100×180 мм, нарезанные из основного теплоизоляционного материала.
Участок основания доборных элементов, не заходящий на отгибы выкружки, склеивают с основанием под кровлю.
3.5. Бортик из швеллера и стальные оцинкованные компенсаторы должны быть окрашены материалами III группы покрытия в соответствии с указаниями СНиП 2.03.11-85 «Защита строительных конструкций от коррозии», а стыки между отдельными элементами компенсаторов загерметизированы мастикой «Эластосил 137-181» (ТУ 6-02-1-362-84).
3.6. Места пропусков через кровлю труб выполнены с применением стальных квадратных стаканов с фланцами (докум. - 1.12, - 1.14, - 2.14, - 3.5) и с закреплением их к несущему основанию.
Места пропусков анкеров для крепления растяжек заполняют герметизирующей мастикой, заливаемой в рамки из уголков (докум. - 1.13).
3.7. Пропуск воронок внутреннего водостока через покрытие с несущими профнастилами осуществляется при помощи стального оцинкованного поддона, изготавливаемого методом штамповки (докум. - 2.7, - 2.8, - 2.9).
Поддон крепят к настилу болтами М 6×14 (ГОСТ 7798-70).
На покрытии из железобетонных плит патрубок с фланцем опирают на утеплитель из легкого бетона. Зазор между бетоном и патрубком заполняют минеральной ватой.
Патрубок жестко закрепляют к плитам покрытия или к поддону стальными хомутами через резиновый уплотнитель.
Основные и дополнительные слои кровли должны быть заведены на фланец патрубка.
Прижимной фланец устанавливают на герметизирующей мастике и жестко закрепляют к чаше воронки.
3.8. Крепление защитных фартуков, компенсаторов, костылей и других стальных элементов к стенам из бетонных панелей выполняют «пристрелкой» дюбелями типа ДГ 3,7×70 Ц6 (ТУ 14-4-1231-83);
к трехслойным стеновым панелям - комбинированными заклепками или самонарезающими винтами;
к антисептированным и антипирерованным деревянным брускам (ГОСТ 8486-66**) - оцинкованными гвоздями К 3,5×40 (ГОСТ 4030-63*).
3.9. Места примыканий защитных фартуков и других стальных элементов к стенам герметизируют мастикой «Эластосил 137-181» и окрашивают краской БТ-577 (ГОСТ 5631-79*) или другими составами, рекомендуемыми для защитных слоев кровель.
3.10. Парапеты стен из трехслойных панелей с металлическими обшивками дополнительно утепляют минераловатными плитами ISOVER марки OL-P; Dachoterm S или Dachoterm SL. Плиты закрепляют к парапету с помощью механических креплений (не менее двух креплений - на плиту утеплителя) (докум. - 2.4, - 2.5).
3.11. Обратные уклоны 2,5 - 3,0 % у примыканий покрытий к парапетам устраивают: под утеплителем - легким бетоном; над утеплителем - цементно-песчаным раствором или доборным утеплителем. Разуклонку 1,0 - 1,5 % к водоприемным воронкам вдоль ендов выполняют цементно-песчаным раствором или набирают утеплителем, принятым для теплоизоляции покрытия.
3.12. При вентилируемом покрытии (докум. - 1.15) верхний слой теплоизоляции выполняют из плит OL-K-30-UPO с канавками (размером 15×15 мм, с шагом 100 мм на нижней стороне плиты), образующими рядовые вентилируемые каналы.
3.13. Плиты размещают по нижележащему слою теплоизоляции так, чтобы канавки были направлены по длине ската покрытия (от парапетов продольных стен и ендов - к коньку).
3.14. Собирающийся в рядовых каналах переувлажненный воздух через коллекторы с размерами 30×100 мм и вентиляционные патрубки диаметром не менее 110 мм выводится в атмосферу.
Вытяжные патрубки (пластиковые или стальные) монтируют в коллекторах через 10 м - в коньке и через 6 - 8 м - в ендове.
Общая площадь сечения приточно-вытяжных отверстий должна составлять не менее 0,002 % площади вентилируемого покрытия.
Вентилируемые коллекторы устраивают по обе стороны конька, ендовы и у парапетов.
У деформационного шва устраивают коллекторы, сообщающиеся между собой и с рядовыми вентилируемыми каналами.
Для отвода воздуха из коллектора у парапета установлены бортики из плоских асбестоцементных листов, закрепленных к деревянным антисептированным и антипирерованным брускам.
Вокруг набетонок под водосточные воронки, стаканов для пропуска труб и других препятствий рядовые каналы имеют выход в обходные каналы.
4.1. Поверхности сборных железобетонных плит и монолитного железобетона должны быть выровнены, а стыки между плитами зачеканены цементно-песчаным раствором марки не ниже М50 (ГОСТ 28013-98) или легким бетоном класса не ниже В7,5 (ГОСТ 25820-2000).
При необходимости для обеспечения водоотвода по железобетонному основанию устраивают уклонообразующий слой из раствора или легкого бетона.
4.2. Все поверхности из бетона и раствора должны быть огрунтованы битумным праймером, приготовленным из тугоплавкого битума БНК-90 (ГОСТ 9548-74*), растворенного в керосине или соляровом масле в соотношении 1:3 (по массе).
4.3. До наклейки пароизоляционных слоев поверхности стальных профилированных настилов должны быть очищены от пыли, строительного мусора и обезжирены растворителем, а полки настилов должны быть огрунтованы битумным праймером.
4.4. Для увеличения срока службы цинкового покрытия на поверхность профилированных настилов со стороны утеплителя должно быть нанесено сплошное лакокрасочное покрытие в соответствии с требованиями конкретного проекта.
4.5. В покрытиях по стальным профилированным настилам в местах их примыкания к стенкам парапетов, к деформационным швам, к водосточным воронкам, а также с каждой стороны конька и ендовы следует предусматривать заполнение пустот ребер настилов (со стороны теплоизоляции) на длину 250 мм заглушками из негорючих минераловатных плит ISOVER Dachoterm SL; KL-A. Для исключения контакта их с металлом профнастил предварительно окрашивают битумом.
5.1. Физико-технические свойства материалов, рекомендуемых для устройства пароизоляционных и гидроизоляционных слоев, даны в приложении 2.
Сопротивление паропроницанию листовых материалов и тонких слоев пароизоляции принимают по СНиП II-3-79*.
5.2. В местах примыкания покрытия к стенам парапетов, к деформационным швам, к проходящему через покрытие оборудованию пароизоляционный слой должен быть продолжен на высоту, равную толщине теплоизоляции.
У деформационных швов пароизоляция должна перекрывать края металлического компенсатора.
5.3. В отапливаемых помещениях требуемое сопротивление паропроницанию слоев конструкции покрытия, расположенных между помещением и плоскостью возможной конденсации, включая пароизоляционный слой, Rп (м2 ∙ ч ∙ Па/мг) должно отвечать нормам СНиП II-3-79* «Строительная теплотехника». Пример расчета необходимости устройства пароизоляции в покрытии дан в приложении 3.
5.4. Влажность утеплителя, укладываемого в покрытие, должна соответствовать требованиям СНиП II-3-79*. Приложение 3.
5.5. Для удаления из совмещенных покрытий отапливаемых зданий строительной влаги и влаги, сконденсированной в ограждении за зимний период, рекомендуется устраивать систему вентилируемых каналов в верхнем слое утеплителя, под водоизоляционным ковром.
Расчет вентилируемых покрытий сводится к определению величины упругости водяного пара (е) в вентилируемых каналах.
Количество влаги (тв), которое необходимо удалить из теплоизоляционного слоя совмещенного покрытия при устройстве осушающих каналов, вычисляют по формуле:
где γ - плотность материала утеплителя, кг/м3;
δ - толщина слоя утеплителя, м;
l - длина системы вентилируемых каналов, м;
Δf - разность между фактической и нормативной влажностью утеплителя, %.
Время, необходимое для удаления из утеплителя накопленной влаги, определяют по формуле:
(2)
где c - средняя скорость движения воздуха в каналах, м/с.
Скорость сушки утеплителя зависит от конфигурации покрытия, типа утеплителя, его пористости, степени влагонасыщения и способности отдавать влагу. Скорость движения воздуха в каналах от 0,1 до 0,5 м/с. Работоспособность системы вентиляции покрытия оценивается по интенсивности выхода влажного воздуха после некоторого периода прогрева кровли в летний период.
5.6. Для устройства системы осушающих каналов рекомендуется использовать теплоизоляционные плиты OL-K-30-UPO с канавками фирмы «Saint-Gobain Isover OY» (Финляндия) в качестве основания под кровлю.
6.1. Для теплоизоляции покрытий используют следующие теплоизоляционные материалы ISOVER.
6.1.1. Плиты теплоизоляционные марок OL-K-30, OL-P, OL-YK, OL-KA из стеклянного штапельного волокна на синтетическом связующем.
Волокно для изготовления плит производится из щелочного силикатного стекла соответствующего состава. В качестве связующего при производстве плит применяются композиции, состоящие из водорастворимых фенолформальдегидных смол, модифицирующих, обеспыливающих, гидрофобизирующих добавок.
Плиты марки OL-P выпускаются без покрытий.
Плиты марок OL-K-30 и OL-YK выпускаются кашированными стеклохолстом с одной стороны.
Плиты марки OL-KA применяют в виде комплекта из плит OL-K-30 (верхний слой) и OL-P.
Плиты марки OL-K-30 могут выпускаться с вентиляционными канавками на нижней стороне. Канавки размером 15×15 мм располагаются с шагом 100 мм параллельно длине плиты.
Плиты всех марок могут выпускаться со шпунтовыми кромками по длинной стороне.
6.1.2. Плиты теплоизоляционные марок Dachoterm G, Dachoterm S, Dachoterm SL из минеральной ваты на синтетическом связующем.
Минеральная вата с температурой плавления не ниже 1000 °С для изготовления плит производится из сырьевой смеси на основе горных пород базальтовой группы.
В качестве связующего при производстве плит применяются композиции, состоящие из водорастворимых фенолформальдегидных смол, модифицирующих, гидрофобизирующих, обеспыливающих добавок.
6.1.3. Плиты марок KL-E; KL; KL-A и маты KT-11; KT-11-TWIN; KT из стеклянного штапельного волокна на синтетическом связующем.
Маты представляют собой длинномерные изделия, поставляемые в виде рулонов.
Для изготовления волокон применяется щелочное силикатное стекло, получаемое из шихты соответствующего состава.
В качестве связующего при производстве плит и матов применяются композиции, состоящие из водорастворимых фенолформальдегидных смол, модифицирующих, обеспыливающих, гидрофобизирующих добавок.
Маты KT-11-TWIN являются двухслойными изделиями и состоят из двух полотен, получаемых при горизонтальной разрезке матов KT-11 толщиной 100 мм.
Плиты KL-E, KL, KL-A и маты KT применяют для утепленных покрытий по стальным профилированным настилам с кровлями из стальных профилированных листов и для теплоизоляции деформационных швов, патрубков, водоприемных воронок и пропусков труб через покрытия, а также в качестве доборного утеплителя и устройства заглушек в гофрах профнастилов в местах примыканий их к выступающим над покрытием элементам (док. 2.11 - 2.15; 3.2 - 3.5).
6.2. Пожарные и гигиенические сертификаты соответствия на теплоизоляционные материалы ISOVER даны в приложении 1.
Требуемые физико-технические показатели и размеры для всех марок плит и матов ISOVER представлены в табл. 2, 3, 4, 5, 6, 7.
Устройство теплоизоляции не должно существенно опережать работы по устройству кровли. Как правило, их последовательность должна обеспечивать устройство кровельного ковра в ту же смену, что и укладка теплоизоляционных плит. Если работы временно приостанавливаются, то утеплитель должен быть временно защищен от увлажнения.
6.4. Теплоизоляционные плиты при укладке по толщине в два и более слоев следует располагать вразбежку с плотным прилеганием друг к другу. Нахлестки между слоями должны составлять 1/2 - 1/3 поверхностей плит. Швы между плитами более 5 мм должны быть заполнены теплоизоляционным материалом. Плиты точечно приклеивают к основанию и между собой (при толщине в два и более слоев) горячим битумом строительных марок с температурой размягчения по методу «Кольцо и шар» 75 - 80 °С. Приклейка должна быть равномерной и составлять 25 - 35 % площади наклеиваемых плит. При укладке утеплителя по профнастилам стыки плит выполняют на полках настилов.
6.5. При механическом креплении теплоизоляционные плиты крепежным элементом закрепляют к основанию вместе со слоем кровельного материала и с пароизоляцией.
Количество механических креплений (не менее чем одно крепление на 1 м2 плит) для различных участков покрытия устанавливается расчетом в соответствии с требованиями СНиП 2.01.07-85 «Нагрузки и воздействия».
Значения максимально допустимых нагрузок на 1 крепежный элемент в зависимости от основания:
|
толщиной |
0,7 мм |
0,71 |
(72,4) |
кН (кгс); |
|
|
толщиной |
0,8 мм |
0,71 |
(72,4) |
кН (кгс); |
|
|
толщиной |
0,9 мм |
0,85 |
(86,7) |
кН (кгс); |
|
|
Бетон |
|
|
0,90 |
(91,8) |
кН (кгс); |
|
Легкий бетон |
плотностью: |
400 кг/м3 |
0,40 |
(40,4) |
кН (кгс); |
|
плотностью: |
450 кг/м3 |
0,50 |
(51,0) |
кН (кгс); |
|
|
плотностью: |
500 кг/м3 |
0,60 |
(61,2) |
кН (кгс); |
Таблица 2 Плиты теплоизоляционные из стеклянного штапельного волокна на синтетическом связующем марок OL-K-30, OL-YK, OL-P
Разработчик/изготовитель: фирма «Saint-Gobain Isover OY» (Финляндия)
|
Плотность, кг/м3 |
Размеры (допускаемые отклонения), мм |
|||
|
Длина |
Ширина |
Толщина |
||
|
OL-K-30 |
148 |
1550 (±2 %) |
1180 (±1,5 %) |
30 (-3 %, +10 %) |
|
OL-YK |
95-105*) |
1500 (±2 %) |
1180 (±1,5 %) |
50 ÷ 120 (-3 %, +10 %) с интервалом 10 |
|
OL-P |
75 - 90*) |
1380 (±2 %) |
1190 (±1,5 %) |
70 ÷ 150 (-3 %, +10 %) с интервалом 20 |
*) в зависимости от толщины.
Таблица 3
|
Требуемое значение для марок |
|||
|
OL-K-30 |
OL-YK |
OL-P |
|
|
1 |
2 |
3 |
4 |
|
Прочность на сжатие при 10 %-й деформации, кПа, не менее |
60 |
60 |
35 |
|
Прочность на сжатие при 10 %-й деформации после сорбционного увлажнения, кПа, не менее |
54 |
54 |
32 |
|
Теплопроводность при условиях эксплуатации по СНиП II-3-79*, Вт/(м ∙ К): |
|
|
|
|
А(λА) |
0,037 |
0,037 |
0,037 |
|
Б(λБ) |
0,042 |
0,042 |
0,044 |
|
Паропроницаемость, мг/м ∙ ч ∙ Па, не менее |
0,5 |
0,5 |
0,5 |
|
Водопоглощение при частичном погружении, % по массе, не более |
10 |
10 |
10 |
|
Содержание органических веществ, % по массе |
9 ÷ 12 |
10 (±0,5) |
8 (±0,5) |
|
Группа горючести |
Г1 |
Г1 |
Г1 |
Таблица 4 Плиты теплоизоляционные из минеральной ваты на синтетическом связующем марок Dachoterm G, Dachoterm S и Dachoterm SL
Разработчик/изготовитель: фирма «Saint-Gobain Isover Polska Sp. Z.o.o.» (Польша)
|
Плотность, кг/м3 |
Размеры (предельные отклонения), мм |
|||
|
Длина |
Ширина |
Толщина |
||
|
Dachoterm G |
180 (±10 %) |
1000 (±10) |
500 (±3) |
40 ÷ 100 (+3, -1) с интервалом 5 |
|
Dachoterm S |
150 (±10 %) |
1000 (±10) |
500 (±3) |
40 ÷ 200 (+3, -1) с интервалом 5 |
|
Dachoterm SL |
110 (±10 %) |
1000 (±10) |
500 (±3) |
50 ÷ 200 (+3, -1) с интервалом 5 |
Таблица 5
|
Требуемое значение для марок |
|||
|
Dachoterm G |
Dachoterm S |
Dachoterm SL |
|
|
1 |
2 |
3 |
4 |
|
Прочность на сжатие при 10 %-й деформации, кПа, не менее |
60 |
45 |
35 |
|
Прочность на сжатие при 10 %-й деформации после сорбционного увлажнения, кПа, не менее |
54 |
40 |
31 |
|
Теплопроводность при условиях эксплуатации по СНиП II-3-79*, Вт/(м ∙ К), не более: |
|
|
|
|
А(λА) |
0,046 |
0,044 |
0,044 |
|
Б(λБ) |
0,049 |
0,047 |
0,047 |
|
Паропроницаемость, мг/м ∙ ч ∙ Па, не менее |
0,31 |
0,32 |
0,33 |
|
Водопоглощение при частичном погружении, % по массе, не более |
10 |
10 |
10 |
|
Содержание органических веществ, % по массе, не более |
3,8 |
3,8 |
3,8 |
|
Группа горючести |
НГ |
НГ |
НГ |
Таблица 6 Плиты марок KL-E, KL, KL-A и маты марок KT; KT-11 и KT-11-TWIN из стеклянного штапельного волокна на синтетическом связующем
Разработчик/изготовитель: фирма «Saint-Gobain Isover OY» (Финляндия)
|
Плотность, кг/м3 |
Размеры (допускаемые отклонения), мм |
|||
|
Длина |
Ширина |
Толщина |
||
|
KL-E |
16 (±10 %) |
1220 (±2 %) |
565 (±1,5 %) |
50 ÷ 100 (-3 %, +5 %) с интервалом 10 |
|
KL |
17 (±10 %) |
910 ÷ 1320 (±2 %) |
565; 610 (±1,5 %) |
42 ÷ 100 (-3 %, +5 %) с интервалом 10 |
|
KL-A |
23 (±10 %) |
910 ÷ 1220 (±2 %) |
565; 610 (±1,5 %) |
50 ÷ 100 (-3 %, +5 %) с интервалом 10 |
|
KT-11 |
11 (±10 %) |
7000 ÷ 14000 (±2 %) |
1220 (±1,5 %) |
50; 75; 100 (-3 %, +5 %) |
|
KT-11-TWIN |
11 (±10 %) |
7000 (±2 %) |
1220 (±1,5 %) |
2×50 |
|
KT |
16 (±10 %) |
4200 ÷ 11100 (±2 %) |
575 ÷ 1170 (±1,5 %) |
50 ÷ 150 (-3 %, +5 %) с интервалом 10 |
Таблица 7
|
Требуемое значение для марок |
||||||
|
KL-E |
KL |
KL-A |
KT-11 маты |
KT-11-TWIN маты |
KT маты |
|
|
1 |
2 |
3 |
4 |
5 |
6 |
7 |
|
Теплопроводность при условиях эксплуатации по СНиП II-3-79*, Вт/(м ∙ К): |
|
|
|
|
|
|
|
А(λА) |
0,046 |
0,046 |
0,042 |
0,048 |
0,048 |
0,044 |
|
Б(λБ) |
0,051 |
0,051 |
0,048 |
0,053 |
0,053 |
0,050 |
|
Паропроницаемость, мг/м ∙ ч ∙ Па, не менее |
0,55 |
0,55 |
0,55 |
0,55 |
0,55 |
0,55 |
|
Водопоглощение при частичном погружении, % по массе, не более |
15 |
15 |
15 |
15 |
15 |
15 |
|
Содержание органических веществ, % по массе, не более |
6,0 (±10 %) |
6,0 (±10 %) |
6,0 (±10 %) |
4,5 (±10 %) |
4,5 (±10 %) |
4,5 (±10 %) |
|
Возвратимость после снятия сжимающей нагрузки, %, не менее |
98 |
98 |
98 |
98 |
98 |
98 |
|
Группа горючести |
НГ |
НГ |
НГ |
НГ |
НГ |
НГ |
6.6. Необходимая толщина слоя теплоизоляции (см. табл. 8) из минераловатных плит ISOVER для покрытий трех типов зданий (раздел 2 альбома) с сухим и нормальным режимами помещений рассчитаны в соответствии с требованиями СНиП II-3-79* «Строительная теплотехника» и СНиП 23-01-99 «Строительная климатология». Значения сопротивления теплопередаче определены для tв = 18 °С. Для жилых зданий в районах с температурой наиболее холодной пятидневки (обеспеченностью 0,92) минус 31 °С и ниже - расчетная температура составляет 20 °С. Для г. Москвы градусо-сутки отопительного периода приняты по МГСН-2.01-99 «Энергосбережение в зданиях».
Примеры расчета оптимальной толщины утеплителя даны в приложении 3.
В вентилируемой конструкции покрытия величину сопротивления теплопередаче ограждения определяют путем вычитания 0,1 м2 ∙ °С/Вт из значения термического сопротивления слоя утеплителя с канавками, т. к. при вентилировании канавок наружным воздухом последний, проходя через ограждение, отнимает от него тепло, увеличивая теплоотдачу ограждения. Это приводит к незначительному ухудшению теплозащитных свойств покрытия и повышению его коэффициента теплопередачи.
Таблица 8
|
Город РФ |
Условия эксплуатации |
Градусо-сутки |
Тип помещения |
R0ω, м2 ∙ °С/Вт |
Толщина утеплителя ISOVER, мм |
||
|
λА = 0,044 Вт/(м ∙ °С); λБ = 0,047 Вт/(м ∙ С) |
λА = 0,037 Вт/(м ∙ °С); λБ = 0,042 Вт/(м ∙ °С) |
||||||
|
1 |
2 |
3 |
4 |
5 |
6 |
7 |
8 |
|
1 |
Архангельск |
Б |
6173 |
1 |
5,26 |
250 |
230 |
|
|
|
|
5667 |
2 |
3,87 |
180 |
170 |
|
|
|
|
|
3 |
2,92 |
140 |
130 |
|
2 |
Астрахань |
А |
3206 |
1 |
3,80 |
170 |
140 |
|
|
|
|
|
2 |
2,88 |
130 |
110 |
|
|
|
|
|
3 |
2,30 |
100 |
90 |
|
3 |
Анадырь |
Б |
9486 |
1 |
6,94 |
330 |
290 |
|
|
|
|
8864 |
2 |
5,15 |
240 |
220 |
|
|
|
|
|
3 |
3,72 |
180 |
160 |
|
4 |
Барнаул |
А |
6122 |
1 |
5,26 |
230 |
200 |
|
|
|
|
5680 |
2 |
3,87 |
170 |
150 |
|
|
|
|
|
3 |
2,92 |
130 |
110 |
|
5 |
Белгород |
А |
3801 |
1 |
4,10 |
180 |
150 |
|
|
|
|
|
2 |
3,12 |
140 |
120 |
|
|
|
|
|
3 |
2,45 |
110 |
90 |
|
6 |
Благовещенск |
Б |
6671 |
1 |
5,34 |
250 |
230 |
|
|
|
|
6235 |
2 |
4,09 |
190 |
170 |
|
|
|
|
|
3 |
3,06 |
145 |
130 |
|
7 |
Брянск |
Б |
4162 |
1 |
4,28 |
200 |
180 |
|
|
|
|
|
2 |
3,27 |
150 |
140 |
|
|
|
|
|
3 |
2,54 |
120 |
110 |
|
8 |
Братск |
А |
7121 |
1 |
5,76 |
255 |
220 |
|
|
|
|
6623 |
2 |
4,25 |
190 |
160 |
|
|
|
|
|
3 |
3,16 |
140 |
120 |
|
9 |
Волгоград |
А |
3596 |
1 |
4,00 |
180 |
150 |
|
|
|
|
|
2 |
3,04 |
135 |
120 |
|
|
|
|
|
3 |
2,40 |
110 |
90 |
|
10 |
Вологда |
Б |
5567 |
1 |
4,98 |
240 |
210 |
|
|
|
|
5105 |
2 |
3,64 |
170 |
160 |
|
|
|
|
|
3 |
2,78 |
130 |
120 |
|
11 |
Воронеж |
А |
4234 |
1 |
4,32 |
190 |
160 |
|
|
|
|
|
2 |
3,29 |
145 |
120 |
|
|
|
|
|
3 |
2,56 |
110 |
100 |
|
12 |
Владимир |
Б |
4580 |
1 |
4,49 |
210 |
190 |
|
|
|
|
|
2 |
3,43 |
160 |
150 |
|
|
|
|
|
3 |
2,65 |
125 |
110 |
|
13 |
Б |
4292 |
1 |
4,35 |
205 |
190 |
|
|
|
|
|
|
2 |
3,32 |
160 |
140 |
|
|
|
|
|
3 |
2,57 |
120 |
110 |
|
14 |
Владикавказ |
А |
3062 |
1 |
3,73 |
165 |
140 |
|
|
|
|
|
2 |
2,83 |
125 |
110 |
|
|
|
|
|
3 |
2,27 |
100 |
90 |
|
15 |
Грозный |
А |
2736 |
1 |
3,57 |
160 |
130 |
|
|
|
|
|
2 |
2,69 |
120 |
100 |
|
|
|
|
|
3 |
2,18 |
100 |
90 |
|
16 |
Екатеринбург |
А |
5980 |
1 |
5,19 |
230 |
200 |
|
|
|
|
5520 |
2 |
3,81 |
170 |
140 |
|
|
|
|
|
3 |
2,88 |
130 |
110 |
|
17 |
Иваново |
Б |
5234 |
1 |
4,82 |
230 |
200 |
|
|
|
|
4796 |
2 |
3,52 |
170 |
150 |
|
|
|
|
|
3 |
2,70 |
130 |
120 |
|
18 |
Игарка |
Б |
9662 |
1 |
7,03 |
330 |
300 |
|
|
|
|
9092 |
2 |
5,24 |
250 |
220 |
|
|
|
|
|
3 |
3,77 |
180 |
160 |
|
19 |
Иркутск |
А |
6840 |
1 |
5,62 |
250 |
210 |
|
|
|
|
5880 |
2 |
3,95 |
175 |
150 |
|
|
|
|
|
3 |
2,95 |
130 |
110 |
|
20 |
Ижевск |
Б |
5683 |
1 |
5,04 |
240 |
210 |
|
|
|
|
5239 |
2 |
3,70 |
175 |
160 |
|
|
|
|
|
3 |
2,81 |
130 |
120 |
|
21 |
Йошкар-Ола |
Б |
5522 |
1 |
4,96 |
235 |
210 |
|
|
|
|
5082 |
2 |
3,63 |
170 |
150 |
|
|
|
|
|
3 |
2,77 |
130 |
120 |
|
22 |
Казань |
Б |
5418 |
1 |
4,91 |
230 |
210 |
|
|
|
|
4988 |
2 |
3,60 |
170 |
150 |
|
|
|
|
|
3 |
2,75 |
130 |
120 |
|
23 |
Калининград |
Б |
3262 |
1 |
3,83 |
180 |
160 |
|
|
|
|
|
2 |
2,91 |
140 |
120 |
|
|
|
|
|
3 |
2,32 |
110 |
100 |
|
24 |
Калуга |
Б |
4389 |
1 |
4,40 |
210 |
190 |
|
|
|
|
|
2 |
3,36 |
160 |
140 |
|
|
|
|
|
3 |
2,60 |
120 |
110 |
|
25 |
Кемерово |
А |
6537 |
1 |
5,47 |
240 |
210 |
|
|
|
|
6075 |
2 |
4,03 |
180 |
150 |
|
|
|
|
|
3 |
3,02 |
135 |
110 |
|
26 |
Вятка |
Б |
5867 |
1 |
5,13 |
240 |
220 |
|
|
|
|
5405 |
2 |
3,76 |
180 |
160 |
|
|
|
|
|
3 |
2,85 |
135 |
120 |
|
27 |
Кострома |
Б |
5306 |
1 |
4,85 |
230 |
210 |
|
|
|
|
4862 |
2 |
3,55 |
170 |
150 |
|
|
|
|
|
3 |
2,72 |
130 |
120 |
|
28 |
Краснодар |
А |
2384 |
1 |
3,39 |
150 |
130 |
|
|
|
|
|
2 |
2,55 |
110 |
100 |
|
|
|
|
|
3 |
2,10 |
90 |
80 |
|
29 |
Красноярск |
А |
6341 |
1 |
5,37 |
240 |
200 |
|
|
|
|
5873 |
2 |
3,95 |
175 |
150 |
|
|
|
|
|
3 |
2,97 |
130 |
110 |
|
30 |
Курган |
А |
5983 |
1 |
5,19 |
230 |
200 |
|
|
|
|
5551 |
2 |
3,82 |
170 |
140 |
|
|
|
|
|
3 |
2,89 |
130 |
110 |
|
31 |
Курск |
Б |
4039 |
1 |
4,22 |
200 |
180 |
|
|
|
|
|
2 |
3,22 |
150 |
140 |
|
|
|
|
|
3 |
2,01 |
95 |
90 |
|
32 |
Кызыл |
А |
7875 |
1 |
6,14 |
270 |
230 |
|
|
|
|
7425 |
2 |
4,57 |
200 |
170 |
|
|
|
|
|
3 |
3,36 |
150 |
130 |
|
33 |
Липецк |
А |
4323 |
1 |
4,36 |
190 |
160 |
|
|
|
|
|
2 |
3,33 |
150 |
130 |
|
|
|
|
|
3 |
2,58 |
115 |
100 |
|
34 |
Магадан |
Б |
7229 |
1 |
5,82 |
270 |
250 |
|
|
|
|
|
2 |
4,49 |
210 |
190 |
|
|
|
|
|
3 |
3,31 |
160 |
140 |
|
35 |
Махачкала |
А |
2264 |
1 |
3,33 |
150 |
130 |
|
|
|
|
|
2 |
2,51 |
110 |
100 |
|
|
|
|
|
3 |
2,07 |
90 |
80 |
|
36 |
Москва |
Б |
5027 |
1 |
4,71 |
220 |
200 |
|
|
|
|
4600 |
2 |
3,44 |
160 |
150 |
|
|
|
|
|
3 |
2,65 |
125 |
110 |
|
37 |
Мурманск |
Б |
5830 |
1 |
5,12 |
240 |
220 |
|
|
|
|
|
2 |
3,93 |
190 |
170 |
|
|
|
|
|
3 |
2,96 |
140 |
130 |
|
38 |
Нальчик |
А |
2923 |
1 |
3,66 |
160 |
140 |
|
|
|
|
|
2 |
2,77 |
120 |
110 |
|
|
|
|
|
3 |
2,23 |
100 |
90 |
|
39 |
Нижний Новгород |
Б |
5182 |
1 |
4,79 |
230 |
200 |
|
|
|
|
4752 |
2 |
3,50 |
170 |
150 |
|
|
|
|
|
3 |
2,69 |
130 |
110 |
|
40 |
Новгород |
Б |
4669 |
1 |
4,54 |
210 |
190 |
|
|
|
|
|
2 |
3,47 |
160 |
150 |
|
|
|
|
|
3 |
2,67 |
130 |
110 |
|
41 |
Новосибирск |
А |
6601 |
1 |
5,50 |
240 |
210 |
|
|
|
|
6141 |
2 |
4,06 |
180 |
150 |
|
|
|
|
|
3 |
3,04 |
135 |
120 |
|
42 |
Омск |
А |
6276 |
1 |
5,34 |
235 |
200 |
|
|
|
|
5834 |
2 |
3,93 |
170 |
150 |
|
|
|
|
|
3 |
2,96 |
130 |
110 |
|
43 |
Оренбург |
А |
5313 |
1 |
4,86 |
215 |
180 |
|
|
|
|
4909 |
2 |
3,56 |
160 |
130 |
|
|
|
|
|
3 |
2,73 |
120 |
100 |
|
44 |
Орел |
Б |
4244 |
1 |
4,32 |
200 |
180 |
|
|
|
|
|
2 |
3,30 |
160 |
140 |
|
|
|
|
|
3 |
2,56 |
120 |
110 |
|
45 |
Пенза |
А |
4658 |
1 |
4,53 |
200 |
170 |
|
|
|
|
|
2 |
3,46 |
150 |
130 |
|
|
|
|
|
3 |
2,65 |
120 |
100 |
|
46 |
Пермь |
Б |
5931 |
1 |
5,17 |
240 |
220 |
|
|
|
|
5473 |
2 |
3,79 |
180 |
160 |
|
|
|
|
|
3 |
2,87 |
140 |
120 |
|
47 |
Петропавловск-Камчатский |
Б |
4248 |
1 |
4,34 |
200 |
180 |
|
|
|
|
|
2 |
3,30 |
160 |
140 |
|
|
|
|
|
3 |
2,56 |
120 |
110 |
|
48 |
Петрозаводск |
Б |
5064 |
1 |
4,73 |
225 |
200 |
|
|
|
|
|
2 |
3,63 |
170 |
150 |
|
|
|
|
|
3 |
2,77 |
130 |
120 |
|
49 |
Псков |
Б |
4155 |
1 |
4,28 |
200 |
180 |
|
|
|
|
|
2 |
3,26 |
155 |
140 |
|
|
|
|
|
3 |
2,54 |
120 |
110 |
|
50 |
Ростов-на-Дону |
А |
3181 |
1 |
3,79 |
170 |
140 |
|
|
|
|
|
2 |
2,87 |
130 |
110 |
|
|
|
|
|
3 |
2,30 |
100 |
90 |
|
51 |
Рязань |
Б |
4472 |
1 |
4,44 |
210 |
190 |
|
|
|
|
|
2 |
3,39 |
160 |
140 |
|
|
|
|
|
3 |
2,62 |
120 |
110 |
|
52 |
Самара |
Б |
4710 |
1 |
4,56 |
215 |
190 |
|
|
|
|
|
2 |
3,48 |
170 |
150 |
|
|
|
|
|
3 |
2,68 |
130 |
110 |
|
53 |
Санкт-Петербург |
Б |
4356 |
1 |
4,38 |
210 |
190 |
|
|
|
|
|
2 |
3,34 |
160 |
140 |
|
|
|
|
|
3 |
2,59 |
120 |
110 |
|
54 |
Саранск |
А |
4703 |
1 |
4,55 |
200 |
170 |
|
|
|
|
|
2 |
3,48 |
155 |
130 |
|
|
|
|
|
3 |
2,68 |
120 |
100 |
|
55 |
Саратов |
А |
4371 |
1 |
4,39 |
195 |
170 |
|
|
|
|
|
2 |
3,35 |
150 |
130 |
|
|
|
|
|
3 |
2,59 |
115 |
100 |
|
56 |
Салехард |
Б |
9169 |
1 |
6,79 |
320 |
290 |
|
|
|
|
8585 |
2 |
5,03 |
240 |
210 |
|
|
|
|
|
3 |
3,65 |
170 |
160 |
|
57 |
Смоленск |
Б |
4386 |
1 |
4,39 |
210 |
190 |
|
|
|
|
|
2 |
3,35 |
160 |
140 |
|
|
|
|
|
3 |
2,60 |
120 |
110 |
|
58 |
Ставрополь |
А |
2873 |
1 |
3,64 |
160 |
140 |
|
|
|
|
|
2 |
2,75 |
120 |
100 |
|
|
|
|
|
3 |
2,22 |
100 |
90 |
|
59 |
Сыктывкар |
Б |
6321 |
1 |
5,36 |
250 |
230 |
|
|
|
|
5831 |
2 |
3,93 |
190 |
170 |
|
|
|
|
|
3 |
2,96 |
140 |
130 |
|
60 |
Тамбов |
А |
4362 |
1 |
4,38 |
190 |
170 |
|
|
|
|
|
2 |
3,35 |
150 |
130 |
|
|
|
|
|
3 |
2,59 |
115 |
100 |
|
61 |
Тверь |
Б |
4578 |
1 |
4,49 |
210 |
190 |
|
|
|
|
|
2 |
3,43 |
160 |
150 |
|
|
|
|
|
3 |
2,65 |
125 |
110 |
|
62 |
Томск |
Б |
6702 |
1 |
5,55 |
260 |
240 |
|
|
|
|
6230 |
2 |
4,09 |
190 |
170 |
|
|
|
|
|
3 |
3,06 |
145 |
130 |
|
63 |
Тула |
Б |
4347 |
1 |
4,37 |
210 |
190 |
|
|
|
|
|
2 |
3,34 |
160 |
140 |
|
|
|
|
|
3 |
2,59 |
120 |
110 |
|
64 |
Тюмень |
А |
6120 |
1 |
5,26 |
230 |
200 |
|
|
|
|
5670 |
2 |
3,87 |
170 |
150 |
|
|
|
|
|
3 |
2,92 |
130 |
110 |
|
65 |
Улан-Удэ |
А |
7205 |
1 |
5,80 |
260 |
220 |
|
|
|
|
6731 |
2 |
4,29 |
190 |
160 |
|
|
|
|
|
3 |
3,18 |
140 |
120 |
|
66 |
Ульяновск |
А |
5385 |
1 |
4,89 |
220 |
180 |
|
|
|
|
4961 |
2 |
3,58 |
160 |
140 |
|
|
|
|
|
3 |
2,74 |
120 |
100 |
|
67 |
Уфа |
А |
5517 |
1 |
4,96 |
220 |
190 |
|
|
|
|
5091 |
2 |
3,64 |
160 |
150 |
|
|
|
|
|
3 |
2,77 |
120 |
110 |
|
68 |
Хабаровск |
Б |
6182 |
1 |
5,29 |
250 |
220 |
|
|
|
|
5760 |
2 |
3,90 |
180 |
170 |
|
|
|
|
|
3 |
2,95 |
140 |
130 |
|
69 |
Чебоксары |
Б |
5403 |
1 |
4,90 |
230 |
200 |
|
|
|
|
4969 |
2 |
3,59 |
170 |
150 |
|
|
|
|
|
3 |
2,74 |
130 |
120 |
|
70 |
Челябинск |
А |
5770 |
1 |
5,09 |
225 |
190 |
|
|
|
|
5341 |
2 |
3,74 |
170 |
140 |
|
|
|
|
|
3 |
2,84 |
130 |
110 |
|
71 |
Чита |
А |
7599 |
1 |
6,00 |
270 |
230 |
|
|
|
|
7115 |
2 |
4,45 |
200 |
170 |
|
|
|
|
|
3 |
3,28 |
150 |
120 |
|
72 |
Элиста |
А |
3322 |
1 |
3,86 |
170 |
150 |
|
|
|
|
|
2 |
2,93 |
130 |
110 |
|
|
|
|
|
3 |
2,33 |
100 |
90 |
|
73 |
Южно-Сахалинск |
Б |
5129 |
1 |
4,77 |
225 |
200 |
|
|
|
|
|
2 |
3,65 |
170 |
160 |
|
|
|
|
|
3 |
2,78 |
130 |
120 |
|
74 |
Якутск |
А |
10394 |
1 |
7,40 |
330 |
280 |
|
|
|
|
9882 |
2 |
5,55 |
250 |
210 |
|
|
|
|
|
3 |
3,97 |
180 |
150 |
|
75 |
Ярославль |
Б |
5304 |
1 |
4,85 |
230 |
210 |
|
|
|
|
4862 |
2 |
3,55 |
170 |
150 |
|
|
|
|
|
3 |
2,72 |
130 |
120 |
7.1. Основанием под водоизоляционный ковер могут служить ровные поверхности:
- теплоизоляционных плит с пределом прочности на сжатие при 10 % деформации не менее 0,06 МПа.
При этом в кровлях с наклейкой водоизоляционного ковра из наплавляемых битумно-полимерных рулонных материалов, выполняемых методом подплавления покровного слоя, поверхность теплоизоляционных плит должна иметь защитный слой из приформованного стеклохолста;
- выравнивающих монолитных стяжек из цементно-песчаного раствора с прочностью на сжатие не менее 5 МПа;
- сборных (сухих) стяжек из асбестоцементных плоских прессованных листов толщиной 10 мм.
Под монолитную цементно-песчаную стяжку при бетонном несущем основании рекомендуется применять теплоизоляционные плиты с пределом прочности на сжатие при 10 % деформации не менее 0,035 МПа, а по стальным профнастилам - не менее 0,045 МПа;
- водоизоляционного ковра существующих кровель из рулонных или мастичных материалов (при производстве ремонтных работ).
7.2. На участках примыканий кровли к парапетам, деформационным швам и другим конструктивным элементам основанием под кровлю должны служить ровные поверхности конструкций и наклонные бортики высотой не менее 100 мм (под углом 45°) из теплоизоляционных материалов, применяемых для утепления покрытий, либо из цементно-песчаного раствора или легкого бетона.
Бортики из теплоизоляционных материалов должны быть приклеены к основанию под кровлю.
7.3. Выравнивающая цементно-песчаная стяжка должна выполняться из жесткого (с осадкой конуса до 30 мм) раствора марок 50 - 100. Стяжку по плитам утеплителя следует выполнять толщиной не менее 30 мм, а затирку по железобетонному основанию - 10 - 15 мм.
Укладку выравнивающей стяжки из цементно-песчаного раствора производят полосами шириной не более 3 м, ограниченными рейками, которые служат маяками.
7.4. В цементно-песчаной стяжке должны быть предусмотрены температурно-усадочные швы шириной 5 - 10 мм, разделяющие стяжку на участки не более 6×6 м, а при длине несущих плит 6 м - 3×3 м. Швы располагают над торцевыми швами несущих плит.
7.5. Температурно-усадочные швы в монолитных выравнивающих стяжках рекомендуется выполнять путем прорезки механической пилой. Допускается образовывать их путем установки реек при укладке цементно-песчаного раствора, которые удаляют после твердения материала стяжки, а швы заполняют мастикой с последующей односторонней наклейкой на шов полосок рулонного материала шириной 150 - 200 мм. Так же проклеивают стыки, образуемые листами сборной стяжки.
7.6. Для обеспечения необходимой адгезии рулонных кровельных материалов все поверхности основания из цементно-песчаного раствора или сборных стяжек, а также поверхность стеклохолста (при кашировальных теплоизоляционных плитах) и ремонтируемого (старого) водоизоляционного ковра должны быть огрунтованы грунтовочными холодными составами (праймерами), приготовленными из битума и керосина, взятых в соотношении 1:2 или 1:3 (по весу), или из клеящих мастик (типа бутилкаучуковой и т.п.), разбавленных растворителем или бензином в соотношении 1:2. Грунтовку наносят на выровненную сухую и обеспыленную поверхность при помощи окрасочного распылителя или вручную кистью. Грунтовка должна иметь прочное сцепление с основанием. На приложенном к ней после высыхания тампоне не должно оставаться следов цементного вяжущего или пыли.
7.7. Плоские асбестоцементные прессованные листы, используемые в качестве сборной стяжки, во избежание коробления, должны быть огрунтованы с обеих сторон.
Грунтовка наносится на поверхность листов с помощью малярного валика или кисти над поддонами, имеющими в плане прямоугольную форму размером 2,0×0,5 м. Асбестоцементный лист с влажностью не более 12 % по массе берут из стопы, ставят вертикально на поддон на длинное ребро и удерживают его в таком положении. Грунтовку наносят одновременно с двух сторон.
Сушат листы под навесом в вертикальном или наклонном положении. Расстояние между листами должно быть не менее 50 мм. Время сушки летом в жаркую погоду 1 - 2 ч, а осенью и зимой - до 1 сут. Грунтовка не должна липнуть при прикосновении рукой.
7.8. При устройстве кровель по основанию из теплоизоляционных плит или по сборной стяжке работы по укладке теплоизоляции или сборной стяжки должны выполняться согласно требованиям п. 6.3.
7.9. Перед устройством гидроизоляционных слоев основание должно быть сухим, обеспыленным, на нем не допускаются уступы, борозды и другие неровности.
8.1. В покрытиях с теплоизоляционными материалами ISOVER могут быть выполнены кровли:
- из рулонных битумных и битумно-полимерных материалов, наклеиваемых на горячих битумных и битумно-полимерных мастиках непосредственно по утеплителю без защитного слоя из стеклохолста;
- из наплавляемых битумно-полимерных рулонных материалов по плитам утеплителя кашированным стеклохолстом и по стяжке из цементно-песчаного раствора или сборной стяжке;
- из эластомерных вулканизованных пленочных рулонных материалов со сплошной приклейкой на полимерных мастиках по сборным и монолитным стяжкам;
- из эластомерных вулканизованных пленочных и битумно-полимерных рулонных материалов с механическим закреплением однослойного или двухслойного водоизоляционного ковра к несущему основанию;
- из стальных профилированных листов при несущем основании из стальных профилированных настилов.
Во всех случаях покрытия проверяют на несущую способность, а кровли - на ветровой отсос.
8.2. Материалы, рекомендуемые для устройства кровель.
8.2.1. Для устройства рулонного водоизоляционного ковра рекомендуется применять битумные и битумно-полимерные материалы на стеклянной, синтетической, картонной, асбестовой либо комбинированной основе или эластомерные вулканизованные пленочные материалы, а также мастичные материалы. Аналогичные материалы рекомендуется применять для устройства пароизоляции (приложение 2, табл. 1, 2, 3, 4, 5, 6).
8.2.2. Для наклейки рулонных материалов рекомендуется использовать битумно-полимерные и полимерные мастики, отвечающие требованиям действующих ГОСТ и ТУ или документа, подтверждающего пригодность применения их в строительстве
8.2.3. Для защиты мест примыканий водоизоляционного ковра к выступающим конструкциям здания, герметизации швов при нахлестке смежных полотнищ эластомерного пленочного материала и металлического профлиста следует применять герметизирующие составы. Рекомендуемые герметики представлены в приложении 2, табл. 4.
8.3. Устройство водоизоляционного ковра.
8.3.1. Перед устройством водоизоляционного ковра должны быть закончены все виды подготовительных работ (подготовка механизмов, оборудования, приспособлений, инструментов и др.), осуществлена приемка основания под кровлю и составлены акты на скрытые работы, включая замоноличивание швов между сборными железобетонными плитами, установку и закрепление к несущим плитам или к металлическому профнастилу водосточных воронок, компенсаторов деформационных швов, патрубков (или стаканов) для пропуска инженерного оборудования, анкерных болтов, заполнение пустот ребер профнастилов негорючим материалом в местах примыкания их к стенам, деформационным швам, водосточным воронкам, а также с каждой стороны конька и ендовы на длину 250 мм.
8.3.2. В случае ремонтных работ без замены рулонного ковра с поверхности существующей кровли должны быть удалены свободный гравий и другие частицы, выполнена очистка от пыли, грязи, ржавчины и т.п. Пузыри, трещины, швы на поверхности существующей рулонной или мастичной кровли должны быть отремонтированы; после надрезки пузырей и их просушки всю поверхность существующей кровли обрабатывают праймером, а затем, после высыхания последнего, выполняют ремонтные водоизоляционные слои.
8.3.3. В местах примыкания кровли к парапетам высотой до 450 мм слои дополнительного водоизоляционного ковра должны быть заведены на верхнюю грань парапета с обделкой мест примыкания оцинкованной кровельной сталью и закреплением ее при помощи костылей.
При высоте парапета до 200 мм переходной наклонный бортик рекомендуется выполнять из бетона до верха парапета.
8.3.4. При устройстве кровли в покрытиях с высоким (более 450 мм) парапетом защитный фартук должен быть закреплен пристрелкой дюбелями, а верхняя часть парапета отделана кровельной сталью, закрепленной костылями, или покрыта парапетными плитами с герметизацией швов между ними.
8.3.5. Конек кровли при уклонах 3,0 % и более должен быть усилен на ширину 150 - 250 мм с каждой стороны, а ендова - на ширину 500 - 750 мм (от линии перегиба) одним слоем дополнительного водоизоляционного ковра, выполненным из рулонного материала, приклеенного к основанию по продольным кромкам.
8.3.6. В пределах рабочих захваток работы должны начинаться с пониженных участков: карнизных свесов и участков расположения водосточных воронок (ендов). В процессе производства кровельных работ все необходимые материалы должны подаваться в направлении навстречу производственному потоку.
8.3.7. Рулонные кровельные материалы перед употреблением для устранения волн и складок должны быть выдержаны в раскатанном состоянии. При производстве кровельных работ в условиях отрицательных температур битумные и битумно-полимерные рулонные материалы необходимо предварительно отогревать не менее 20 ч до температуры +15 °С. Перекрестная наклейка полотнищ рулонов не допускается. Склеивание полотнищ рулонного материала между собой должно быть сплошным (без пропусков).
8.3.8. В процессе производства кровельных работ особое внимание должно быть уделено обеспечению требуемой величины нахлестки полотнищ 85 + 15 мм, надежности устройства водоизоляционного ковра у внутреннего и наружного водоотвода, в местах примыкания к стенам, парапетам и другим конструктивным элементам, а также в местах пропуска через кровлю технологических трубопроводов, вентиляционных шахт и т.п.
8.3.9. В целях компенсации деформаций несущих конструкций покрытия и предотвращения возможности появления трещин и вздутий в водоизоляционном ковре, наклеенном на мастиках, рекомендуется осуществлять точечную или полосовую наклейку полотнищ нижнего слоя водоизоляционного ковра из рулонного материала с оставлением непроклеенных полос шириной 100 мм либо выполнять механическое закрепление его к основанию путем пристрелки дюбелями, или нижний слой ковра устраивать из перфорированного рулонного материала. В кровлях из наплавляемых рулонных материалов нижний слой выполняют из перфорированного рулонного материала.
Точечная полосовая наклейка должна быть равномерной и составлять 25 - 35 % площади наклеиваемых полотнищ; при этом их раскатку следует предусматривать вдоль ската.
8.3.10. У мест примыкания к выступающим над кровлей конструкциям (стенам, парапетам и т.п.) слои дополнительного водоизоляционного ковра следует наклеивать полотнищами 2 - 2,5 м; при этом на вертикальных поверхностях наклейку производить снизу вверх. Слои рулонного материала дополнительного водоизоляционного ковра у мест примыкания к стенам, парапетам и т.п. должны наклеиваться полосами до сопряжения с основным водоизоляционным ковром в целях обеспечения возможности выхода воздуха из-под кровельного ковра на непроклеенных участках. На участках нахлестки дополнительного водоизоляционного ковра с основным дополнительные слои должны быть наклеены сплошь на ширину 250 мм при двухслойном и на ширину 350 мм при трехслойном водоизоляционном ковре.
а) Устройство водоизоляционного ковра из битумных и битумно-полимерных рулонных материалов, наклеиваемых на мастиках.
8.3.11. Рулонные материалы перед наклейкой необходимо разместить по месту укладки; раскладка полотнищ должна обеспечивать соблюдение требуемых величин их нахлестки при наклейке.
Мастика должна наноситься равномерным, сплошным (без пропусков) или полосовым слоем.
В целях снижения трудоемкости кровельных работ по монолитным или сборным стяжкам предпочтение должно отдаваться холодным клеящим мастикам (приложение 2, табл. 5).
8.3.12. В местах примыкания к выступающим над кровлей поверхностям (парапетам, трубопроводам и т.п.) основной водоизоляционный ковер должен быть поднят до верха наклонного бортика (на высоту 100 мм). Приклейку слоев дополнительного водоизоляционного ковра следует выполнять после устройства верхнего слоя основного водоизоляционного ковра.
8.3.13. При наклейке полотнищ основного водоизоляционного ковра вдоль ската верхняя часть полотнища нижнего слоя должна перекрывать противоположный скат не менее чем на 1000 мм.
При наклейке полотнищ поперек ската верхняя часть полотнища каждого слоя водоизоляционного ковра, укладываемого на коньке, должна перекрывать противоположный скат на 250 мм.
8.3.14. Температура горячих битумных мастик при нанесении должна составлять 160 °С с пределом отклонения +20 °С. При этом она должна контролироваться не реже четырех раз в смену и заноситься в журнал производства работ. Холодная мастика при нанесении в зимнее время должна иметь температуру не менее 70 °С.
8.3.15. При наклейке основного и дополнительного водоизоляционных ковров горячая мастика должна наноситься слоем толщиной соответственно 2 и 1,5 мм, а холодная битуминозная толщиной 1 - 0,8 мм с допускаемым отклонением ±10 %.
б) Устройство водоизоляционного ковра из битумных и битумно-полимерных наплавляемых рулонных материалов.
8.3.16. Устройство водоизоляционного ковра может осуществляться путем сплошной, полосовой или точечной наклейки нижнего слоя или путем свободной укладки его с механическим креплением к основанию.
8.3.17. Рулонные наплавляемые материалы наклеивают методом подплавления битумно-полимерного слоя или на мастиках (приложение 2, табл. 1, 2).
Метод наклейки на мастиках рекомендуется использовать преимущественно в тех случаях, когда недопустимо применение метода расплавления битумно-полимерного слоя (объекты газораспределения, размещения на покрытии газопроводов, здания со взрывоопасным производством и т.п.).
8.3.18. Технологические приемы наклейки наплавляемого рулонного материала методом подплавления выполняют в следующей последовательности:
на подготовленное основание раскладывают 2 - 3 рулона, примеряют один рулон по отношению к другому и обеспечивают необходимую нахлестку. Приклеивают концы всех рулонов с одной стороны и полотнища рулонного материала обратно скатывают в рулоны (при значительном охлаждении полотнищ в зимний период эти операции производят при легком подогреве ручной горелкой наружной поверхности рулона).
Разогревая покровный (подплавляемый) слой наплавляемого рулонного материала с одновременным нагревом основания или поверхности ранее наклеенного водоизоляционного слоя, рулон раскатывают, плотно прижимают к основанию и дополнительно прокатывают катком.
8.3.19. Наклейку полотнищ из наплавляемых рулонных материалов на вертикальные поверхности производят снизу вверх при помощи ручной горелки.
8.3.20. Технологические приемы устройства водоизоляционного ковра методом свободной укладки нижнего слоя с механическим закреплением выполняют в следующей последовательности:
- на подготовленное под кровлю основание раскатывают рулоны, примеряют один рулон по отношению к другому и обеспечивают нахлестку (продольную и поперечную);
- полотнища рулонного материала (кроме полотнища, раскатанного вдоль линии водораздела) обратно скатывают в рулоны (при значительном охлаждении полотнищ зимой эти операции производят при легком подогреве ручной горелкой поверхности рулона);
- полотнище рулонного материала вдоль линии водораздела закрепляют к основанию стальными дюбелями с шайбами, затем, разогревая покровный (приклеивающий) слой наплавляемого рулонного материала в местах нахлестки, рулон раскатывают, плотно прижимая к ранее уложенному полотнищу. После этого свободную кромку раскатанного рулона закрепляют дюбельными гвоздями с шайбами к основанию.
Верхний (второй) слой наплавляемого рулонного материала приклеивают сплошь, а полотнища раскатывают так, чтобы они перекрывали швы нижележащего слоя. При этом для нижнего слоя водоизоляционного ковра возможно применение перфорированного рулонного материала.
8.3.21. У мест примыкания к стенам, парапетам и т.п. наклейку нижнего полотнища дополнительного водоизоляционного ковра производят только в местах сопряжения с основным водоизоляционным ковром.
в) Устройство водоизоляционного ковра из эластомерных рулонных материалов.
8.3.22. Водоизоляционный ковер из эластомерных рулонных материалов (приложение 2, табл. 3) может быть выполнен:
методом наклейки;
- методом свободной укладки с механическим креплением.
8.3.23. Устройство водоизоляционного ковра методом наклейки выполняют в следующей последовательности:
- на предварительно огрунтованное основание (вдоль линии водораздела) раскатывают полотнище эластомерного рулонного материала и перегибают его по длинной стороне пополам без морщин;
- на основание и отогнутую часть полотнища наносят тонкий слой клея и выдерживают до тех пор, пока клей перестанет прилипать при прикосновении сухим пальцем (до «отлипа»);
- разворачивают смазанную клеем половину полотнища без образования морщин на основание с нанесенным клеевым составом и прикатывают катком массой 2 - 5 кг с мягкой обкладкой;
- вторую половину полотнища перегибают на наклеенную половину и приклеивают ее аналогичным способом;
- в местах нахлестки на 100 мм смежных полотнищ клеящий состав наносят на предварительно обезжиренные растворителем кромки стыкуемых полотнищ и после выдержки клея до «отлипа» соединяют их с последующей прокаткой мест нахлестки поперек шва роликом массой 2 - 5 кг. Места нахлесток смежных полотнищ дополнительно герметизируют.
8.3.24. Устройство водоизоляционного ковра методом свободной укладки с механическим креплением осуществляют в следующей последовательности:
- раскатывают несколько рулонов эластомерного материала с нахлесткой в 125 ÷ 145 мм;
- кромки полотнищ, смежных с полотнищем, уложенным вдоль линии водораздела, перегибают (на ширину не менее 150 мм) по длинной стороне;
- полотнище, уложенное вдоль линии водораздела, закрепляют механическим креплением;
- кромки закрепленного полотнища на ширину нахлестки и отогнутые кромки смежных полотнищ на такую же ширину сначала обезжиривают растворителем, затем смазывают клеящим составом и после выдержки клея до «отлипа» соединяют стыкуемые кромки с прокаткой мест нахлестки поперек шва роликом массой 2 - 5 кг. Места нахлесток дополнительно герметизируют;
- свободные кромки смежных полотнищ закрепляют и склеивают с кромками соседних полотнищ аналогичным способом.
Механическое крепление состоит из полиэтиленовой шайбы и шурупа - для основания из профнастила, шайбы и гвоздя - для бетонного основания. Для установки механического крепления двухступенчатым сверлом за один прием просверливают отверстия с шагом 300 мм в теплоизоляционном слое (диаметром 10 мм) и в несущем основании (диаметром 3 мм), в которые устанавливают полиэтиленовую шайбу и шуруп. Сверление отверстий производят по шаблону.
Значение нагрузок на одно механическое крепление см. п. 6.4.
г) Кровли из оцинкованных стальных профилированных листов.
8.3.25. В качестве кровельных листов рекомендуется применять в «перевернутом положении» профили стальные гнутые с цинковым, алюмоцинковым и алюминиевым покрытием заготовки и защитно-декоративным лакокрасочным покрытием с высотой гофра не менее 44 мм.
8.3.26. Наиболее целесообразно кровлю из металлических профлистов применять в зданиях с длиной ската до 12 м.
При большей длине ската и уклоне кровли более 10 % профлист должен устанавливаться с величиной нахлестки вдоль ската не менее 200 мм и с обязательной герметизацией продольной нахлестки, а при уклонах менее 10 % - с величиной нахлестки не менее 300 мм и герметизацией мест продольной и поперечной нахлесток.
8.3.27. В утепленных покрытиях для разрыва «мостиков холода» между верхней полкой дистанционного прогона и профлистом должны быть установлены прокладки из бакелизированной фанеры толщиной 10 мм, окрашенные пентафталевыми или хлорвиниловыми эмалями за два раза. В качестве противоветрового барьера рекомендуется использовать рулонный водоизоляционный паропроницаемый материал типа «Тайвек SUPRO».
8.3.28. Продольные и поперечные стыки профлиста при уклонах до 20 % рекомендуется загерметизировать тиоколовыми или силиконовыми герметиками.
8.3.29. Примыкание кровли из металлического профлиста к стенам следует осуществлять с устройством фартуков из оцинкованной стали толщиной 0,8 мм, окрашенной с обеих сторон. Крепление их выполняется на заклепках, а между собой одинарным лежачим фальцем. Коньковый и карнизный фасонные элементы, а также фартуки для отделки пропусков через кровлю должны иметь «гребенку» по форме поперечного сечения металлического профлиста.
8.3.30. При кровлях из стальных профилированных листов работы ведут в следующей последовательности:
- к прогонам покрытия несущий профилированный настил закрепляют самонарезающими винтами В6×25 (ТУ 36-2042-78), устанавливаемыми в каждый гофр (впадину) профиля к крайним и коньковым прогонам; на промежуточных опорах закрепление производят с шагом через гофр. Шаг прогонов 1,5 - 3,0 м;
- в продольном направлении соединение профнастилов между собой выполняют на заклепках 3К-12 (ТУ 36-2088-78) с шагом 250 мм;
- перпендикулярно к гофрам с нахлесткой полотнищ на 100 мм раскатывают полиэтиленовую пленку толщиной 0,2 мм (ГОСТ 10354-82*), заводя ее во второй и третий гофр каждого профлиста для установки опорных элементов с шагом 750 мм;
- опорные элементы закрепляют к прогонам двумя самонарезающими винтами в каждую «лапку»;
- дистанционные прогоны закрепляют к опорным элементам через термовкладыш из бакелизированной фанеры двумя самонарезающими винтами;
- теплоизоляцию из плит или матов выполняют заподлицо с дистанционными прогонами с перевязкой стыков нижнего слоя верхними плитами;
- под опорные элементы и дистанционные прогоны укладывают доборные вкладыши из этих же плит;
- ветрозащиту из паропроницаемых материалов, например «Тайвек SUPRO», выполняют так же с нахлесткой полотнищ не менее чем на 100 мм (см. докум. - 3.1);
- профилированные листы кровли закрепляют к дистанционным прогонам самонарезающими винтами В6×80 с шайбой и уплотнителем из герметизирующей ленты в каждый гофр (гребень) на карнизных и коньковых прогонах; с шагом через гофр - на промежуточных прогонах;
- для увеличения жесткости продольных кромок кровельных профлистов на дистанционный прогон под накрываемый гофр листа устанавливается элемент жесткости;
- между собой в продольном направлении кровельные профлисты соединяют на заклепках после нанесения на накрываемую кромку герметика, типа «Эластосил 137-181» (ТУ 6-02-362-84). Отверстия в заклепках также промазывают герметиком. Перед нанесением герметизирующих мастик поверхности должны быть обеспылены и обезжирены бензином (ГОСТ 443-76* или ГОСТ 3134-78*).
9.1. На кровлях с уклоном до 10 % из битумно-полимерных рулонных материалов с мелкозернистой посыпкой защитный слой рекомендуется выполнять из гравия фракции 5 - 10 мм или крупнозернистой посыпки, втопленных в слой мастики толщиной 1,5 - 2 мм или в подплавленный покровный слой наплавляемого рулонного материала. Фракция крупнозернистой посыпки должна быть 3 - 5 мм. Гравий и посыпка должны быть промыты и просушены.
9.2. На кровлях из эластомерных пленочных рулонных материалов, осуществляемых методами наклейки или свободной укладки с механическим креплением, защитный слой рекомендуется выполнять окрасочным.
9.3. Устройство защитных слоев осуществляют захватками, начиная с пониженных участков (карнизных свесов, ендов), а также мест примыкания кровель к стенам, и ведут их «на себя». Перед устройством защитных слоев поверхность водоизоляционного ковра должна быть сухой и чистой.
9.4. В качестве окрасочного защитного слоя рекомендуется применять следующие составы:
- бутил каучуковую мастику (ГОСТ 30693-2000) с добавлением 10 - 14 % наполнителя - алюминиевой пудры ПАК-3 или ПАК-4 (ГОСТ 5494-95);
- эмаль ХП-799 (ТУ 84-618-80), включающую хлорсульфополиэтиленовый лак ХП-734 с 25 % наполнителя - алюминиевой пудры ПАК-3 или ПАК-4;
- хлорсульфополиэтиленовый лак ХП-734 (ТУ 6-02-1152-82) с 25 % наполнителя - алюминиевой пудры ПАК-3 или ПАК-4.
9.5. Окрасочное защитное покрытие на поверхность водоизоляционного ковра наносят ровным слоем; расход состава зависит от его сухого остатка.
9.6. Технологический процесс по устройству окрасочного защитного слоя включает:
- нанесение первого слоя, ровно покрывающего поверхность водоизоляционного ковра;
- нанесение второго слоя через 2 - 3 ч. после высыхания предыдущего при температуре 18 - 23 °С.
При механизированном нанесении окрасочного состава безвоздушными установками вязкость его не должна превышать 100 с, а при ручном нанесении - 300 с. Требуемая вязкость состава достигается введением растворителя.
9.7. На участках кровель, предназначенных для производственных целей (участки уборки производственной пыли, площадки для обслуживания оборудования и подходы к ним), защитный слой рекомендуется устраивать из бетонных плит по слою цементно-песчаного раствора толщиной не менее 30 мм, песчаного асфальтобетона либо монолитного железобетона (докум. - 1.14). Марка по морозостойкости используемых материалов должна быть не менее 100.
Защитный слой размещают по водоизоляционному ковру с мелкозернистой посыпкой через подложку из одного - двух слоев полиэтиленовой пленки.
9.8. В монолитном защитном слое должны быть предусмотрены температурно-усадочные швы шириной 10 мм с шагом не более чем 1,5 м во взаимно перпендикулярных направлениях, заполняемые герметизирующими составами.
9.9. Максимально допустимая площадь кровли из рулонных и мастичных материалов групп горючести Г3 и Г4 при общей толщине водоизоляционного ковра до 6 мм, не имеющей защиты слоем гравия, а также площадь участков, разделенных противопожарными поясами (стенами), не должна превышать значений, приведенных в табл. 9.
9.10. Противопожарные пояса должны быть выполнены как защитные слои эксплуатируемых кровель шириной не менее 6 м. Противопожарные пояса должны пересекать основание под кровлю (в том числе теплоизоляцию), выполненное из материалов групп горючести Г3 и Г4, на всю толщину этих материалов.
Таблица 9
|
Группа горючести (Г) и распространения пламени (РП) водоизоляционного ковра кровли, не ниже |
Группа горючести материала основания под кровлю |
Максимально допустимая площадь кровли без гравийного слоя или крупнозернистой посыпки, а также участков кровли, разделенных противопожарными поясами, м2 |
|
Г2; РП2 |
НГ; Г1 Г2; Г3; Г4 |
Без ограничений 10000 |
|
Г3; РП2 |
НГ; Г1 Г2; Г3; Г4 |
10000 8500 |
|
Г3; РП3 |
НГ; Г1 Г2; Г3; Г4 |
5200 3600 2000 1200 |
|
Г4 |
НГ; Г1 Г2; Г3; Г4 |
3600 2000 1200 400 |
10.1. Конструктивные решения покрытий в виде схем и чертежей основных узлов представлены в трех разделах:
1. Покрытия со сборным или монолитным железобетонным основанием.
2. Покрытия по стальным профилированным настилам с кровлями из рулонных материалов.
3. Покрытия по стальным профилированным настилам с кровлями из стальных профилированных листов.
10.2. В конкретном проекте на основе данного альбома должны быть указаны:
- марки теплоизоляционных и кровельных материалов;
- толщина теплоизоляции;
- количество слоев водоизоляционного ковра и способ устройства кровли.
В проекте разрабатываются:
- план кровли с маркировкой узлов;
- схемы послойной раскладки теплоизоляционных плит;
- способ крепления плит утеплителя к несущему основанию;
- привязки водосточных воронок, пропусков инженерного оборудования и вентиляционных патрубков;
- необходимые дополнительные узлы;
- рабочие чертежи стальных фасонных элементов и комплектующих изделий.
По всему выпуску в ссылках на документ условно опущен шифр работы М 27.24/03.

А - покрытие с теплоизоляцией из плит одной марки
1 - защитный слой; 2 - основной водоизоляционный ковер из рулонных материалов; 3 - основание под кровлю - теплоизоляционные плиты ISOVER марки OL-YK; Dachoterm G или другие с прочностью на сжатие не менее 0,06 МПа; 4 - пароизоляционный слой (по расчету); 5 - выравнивающая затирка цементно-песчаным раствором или уклонообразующий слой из легкого бетона; 6 - несущее железобетонное основание; 7 - приклеивающий состав.

Б - покрытие с теплоизоляцией из плит разных марок
1 - защитный слой; 2 - основной водоизоляционный ковер из рулонных материалов; 3 - основание под кровлю - теплоизоляционные плиты ISOVER марок OL-K-30; Dachoterm G или другие с прочностью на сжатие не менее 0,06 МПа; 4 - плиты теплоизоляционные ISOVER марки OL-P; Dachoterm SL или другие с прочностью на сжатие не менее 0,035 МПа; 5 - пароизоляционный слой (по расчету); 6 - выравнивающая затирка цементно-песчаным раствором или уклонообразующий слой из легкого бетона; 7 - несущее железобетонное основание; 8 - приклеивающий состав.

В - покрытие со стяжкой по теплоизоляционным плитам
1 - защитный слой; 2 - основной водоизоляционный ковер из рулонных материалов; 3 - огрунтовочный слой; 4 - основание под кровлю - стяжка из цементно-песчаного раствора; 5 - прокладочный слой из пергамина; 6 - плиты теплоизоляционные ISOVER марки OL-P; Dachoterm SL или другие с прочностью на сжатие не менее 0,035 МПа; 7 - пароизоляционный слой (по расчету); 8 - выравнивающая затирка цементно-песчаным раствором или уклонообразующий слой из легкого бетона; 9 - несущее железобетонное основание; 10 - приклеивающий состав.

Г - покрытие с эксплуатируемой кровлей
1 - стяжка (дорожки, площадки) из цементно-песчаного раствора или тротуарные плиты на растворе; 2 - прокладочный слой (пленка полиэтиленовая, пергамин); 3 - основной водоизоляционный ковер из рулонных материалов; 4 - огрунтовочный слой; 5 - основание под кровлю - армированная стяжка из цементно-песчаного раствора; 6 - прокладочный слой из пергамина; 7 - плиты теплоизоляционные ISOVER OL-YK; Dachoterm G или другие с прочностью на сжатие не менее 0,06 МПа; 8 - пароизоляционный слой (по расчету); 9 - выравнивающая затирка из цементно-песчаного раствора или уклонообразующий слой из легкого бетона; 10 - несущее железобетонное основание; 11 - приклеивающий состав.

Д - вентилируемое покрытие
1 - защитный слой; 2 - основной водоизоляционный ковер из рулонных материалов; 3 - основание под кровлю - теплоизоляционные плиты ISOVER OL-К-30-UPO (с канавками 15×15 мм) с прочностью на сжатие не менее 0,06 МПа; 4 - плиты теплоизоляционные ISOVER марки OL-P; Dachoterm SL или другие с прочностью на сжатие не менее 0,035 МПа; 5 - пароизоляционный слой (по расчету); 6 - выравнивающая затирка цементно-песчаным раствором или уклонообразующий слой из легкого бетона; 7 - несущее основание (железобетон или стальной профнастил); 8 - приклеивающий состав.

Е - покрытие с механическим закреплением плит утеплителя
1 - защитный слой; 2 - основной водоизоляционный ковер из рулонных материалов; 3 - основание под кровлю - теплоизоляционные плиты ISOVER марки OL-K-30; Dachoterm G или другие с прочностью на сжатие не менее 0,06 МПа; 4 - плиты теплоизоляционные ISOVER марки OL-P; Dachoterm SL или другие с прочностью на сжатие не менее 0,035 МПа; 5 - пароизоляционный слой (по расчету); 6 - выравнивающая затирка цементно-песчаным раствором или уклонообразующий слой из легкого бетона; 7 - несущее железобетонное основание; 8 - механическое крепление.


1 - парапет продольной стены; 2 - уплотнитель 2ПРП-40К; 3 - легкий бетон класса В7,5 на пористых заполнителях фракции 5 - 10 мм; 4 - бортик из теплоизоляционных плит ISOVER; 5 - приклеивающий состав; 6 - дополнительные слои ковра (усиление примыкания кровли к парапету); 7 - слой кровельного материала (усиление ендовы); 8 - костыль из стальной полосы 4×40 мм; 9 - дюбель ДГ 3,7×70 Ц6; 10 - защитный фартук из оцинкованной стали толщиной 0,8 мм; 11 - ограждение кровли.

1 - парапет продольной стены; 2 - уплотнитель 2ПРП-40К; 3 - легкий бетон класса В7,5 на пористых заполнителях фракции 5 - 10 мм; 4 - бортик из теплоизоляционных плит ISOVER; 5 - приклеивающий состав; 6 - дополнительные слои ковра (усиление примыкания кровли к парапету); 7 - слой кровельного материала (усиление ендовы); 8 - костыль из стальной полосы 4×40 мм; 9 - дюбель ДГ 3,7×70 Ц6; 10 - защитный фартук из оцинкованной стали толщиной 0,8 мм; 11 - ограждение кровли.

1 - парапет продольной стены; 2 - уплотнитель 2ПРП-40К; 3 - легкий бетон класса В7,5 на пористых заполнителях фракции 5 - 10 мм; 4 - бортик из теплоизоляционных плит ISOVER; 5 - приклеивающий состав; 6 - дополнительные слои ковра (усиление примыкания кровли к парапету); 7 - слой кровельного материала (усиление ендовы); 8 - полоса стальная 4×40 мм; 9 - дюбель ДГ 3,7×70 Ц6; 10 - защитный фартук из оцинкованной стали толщиной 0,8 мм; 11 - мастика герметизирующая.

1 - дополнительные слои ковра (усиление примыкания кровли к парапету); 2 - бортик из теплоизоляционных плит ISOVER; 3 - полоса стальная 4×40 мм; 4 - защитный фартук из оцинкованной стали толщиной 0,8 мм; 5 - дюбельный гвоздь ДГ 3,7×70 Ц6; 6 - герметизирующая мастика; 7 - парапет торцевой стены.

1 - легкий бетон класса В7,5 на пористых заполнителях фракции 5 - 10 мм; 2 - дополнительный слой кровельного материала (усиление ковра в коньке); 3 - точечная приклейка.

1 - легкий бетон класса В7,5 на пористых заполнителях фракции 5 - 10 мм; 2 - дополнительный слой кровельного материала (усиление ковра в ендове); 3 - точечная приклейка.


1 - патрубок с фланцем; 2 - стальной хомут; 3 - уплотнитель; 4 - минеральная вата ISOVER; 5 - опора из легкого бетона; 6 - подливка цементно-песчаным раствором; 7 - местное понижение воронки; 8 - колпак водосточной воронки; 9 - прижимной фланец; 10 - мастика герметизирующая; 11 - дополнительные слои кровельного материала вокруг воронки; 12 - дополнительные слои ковра (усиление примыкания кровли к парапету); 13 - дополнительный слой кровельного материала (усиление ендовы); 14 - парапет продольной стены.

1 - патрубок с фланцем; 2 - стальной хомут; 3 - уплотнитель; 4 - минеральная вата ISOVER; 5 - опора из легкого бетона; 6 - подливка цементно-песчаным раствором; 7 - местное понижение воронки; 8 - колпак водосточной воронки; 9 - прижимной фланец; 10 - мастика герметизирующая; 11 - дополнительные слои кровельного материала вокруг воронки; 12 - дополнительный слой кровельного материала (усиление ендовы).
Сечение 1-1 см. лист 2.

Обозначения см. лист 1.

1 - компенсатор из оцинкованной стали толщиной 1,5 мм; 2 - стенка деформационного шва (бетон, кирпичная кладка); 3 - наклонный бортик из теплоизоляционных плит ISOVER; 4 - приклеивающий состав; 5 - дополнительные слои ковра; 6 - костыль из стальной полосы 4×40 мм; 7 - защитный фартук из оцинкованной стали толщиной 0,8 мм; 8 - крепежный элемент; 9 - негорючий утеплитель ISOVER.

1 - стальной компенсатор из оцинкованной стали толщиной 0,8 мм; 2, 3 - защитный фартук из оцинкованной стали толщиной 0,8 мм; 4 - костыль из стальной полосы 4×40 мм; 5 - полоса стальная 4×40 мм; 6 - герметизирующая мастика; 7 - наклонный бортик из теплоизоляционных плит ISOVER; 8 - дополнительные слои ковра; 9 - точечная приклейка; 10 - стенка деформационного шва (бетон, кирпичная кладка или др.); 11 - негорючий утеплитель ISOVER.

1 - защитный фартук из стали; 2 - хомут; 3 - стальной стакан с фланцем; 4 - минераловатный утеплитель ISOVER; 5 - пропускаемая труба; 6 - герметизирующая мастика; 7 - рамка из уголка; 8 - дополнительные слои ковра.

1 - анкер 2 - шайба стальная 100×100×5 мм; 3 - гайка с шайбой; 4 - рамка из уголка; 5 - герметизирующая мастика; 6 - дополнительные слои ковра.

1 - дополнительные слои водоизоляционного ковра; 2 - бортик из цементно-песчаного раствора; 3 - плита парапетная; 4 - ограждение кровли.

1 - защитный фартук из стали; 2 - хомут; 3 - стальной стакан с фланцем; 4 - минераловатный утеплитель ISOVER; 5 - пропускаемая труба; 6 - герметизирующая мастика.

1, 2 - брус 50×50 мм антисептированный и антипирерованный; 3 - доска толщиной 25 мм; 4 - листы асбестоцементные плоские толщиной 8 - 10 мм; 5 - вентилируемый коллектор; 6 - вентилируемый рядовой канал (плиты ISOVER OL-K-30-UPO с канавками); 7 - парапет продольной стены.

1 - стенка деформационного шва; 2 - брус 50×50 мм антисептированный и антипирерованный; 3 - листы асбестоцементные плоские толщиной 8 - 10 мм; 4 - костыль из стальной полосы 4×40 мм; 5 - вентилируемый коллектор; 6 - вентилируемый рядовой канал (плиты ISOVER OL-K-30-UPO с канавками).

1 - вентилируемый рядовой канал; 2 - вентилируемый коллектор; 3 - вентиляционный патрубок; 4 - нащельник из оцинкованной стали или пластика; 5 - слои водоизоляционного ковра; 6 - плиты теплоизоляционные ISOVER OL-K-30-UPO с канавками.
Вид А


1 - вентилируемый коллектор; 2 - вентилируемый рядовой канал (плиты ISOVER OL-K-30-UPO с канавками); 3 - нащельник из оцинкованной стали или пластика.

1 - вентилируемый обходной канал; 2 - вентилируемый рядовой канал (плиты ISOVER OL-K-30-UPO с канавками).

1 - вентилируемый коллектор; 2 - вентилируемый обходной канал; 3 - вентилируемый рядовой канал (плиты ISOVER OL-K-30-UPO с канавками).

1 - вентилируемый коллектор; 2 - вентилируемый рядовой канал; 3 - вентилируемый обходной канал; 4 - плиты теплоизоляционные ISOVER KL-E; KL-A; 5 - плиты теплоизоляционные ISOVER OL-K-30-UPO с канавками; 6 - водосточная воронка.
Схема раскладки верхнего слоя плит


А - покрытие с теплоизоляцией из плит одной марки
1 - защитный слой; 2 - основной водоизоляционный ковер из рулонных материалов; 3 - основание под кровлю - теплоизоляционные плиты ISOVER марки OL-YK; Dachoterm G или другие с прочностью на сжатие не менее 0,06 МПа; 4 - пароизоляционный слой; 5 - стальной профилированный настил; 6 - приклейка.

Б - покрытие с механическим закреплением плит утеплителя
1 - защитный слой; 2 - основной водоизоляционный ковер из рулонных материалов; 3 - основание под кровлю - теплоизоляционные плиты ISOVER Dachoterm G с прочностью на сжатие не менее 0,06 МПа; 4 - плиты теплоизоляционные ISOVER марки Dachoterm S с прочностью на сжатие не менее 0,045 МПа; 5 - пароизоляционный слой; 6 - стальной профилированный настил; 7 - приклеивающий состав; 8 - механическое крепление.

В - покрытие с теплоизоляцией из плит разных марок
1 - защитный слой; 2 - основной водоизоляционный ковер из рулонных материалов; 3 - основание под кровлю - теплоизоляционные плиты ISOVER марки OL-K-30 или другие с прочностью на сжатие не менее 0,06 МПа; 4 - плиты теплоизоляционные ISOVER марки OL-Р с прочностью на сжатие 0,035 МПа; 5 - пароизоляционный слой; 6 - стальной профилированный настил; 7 - приклейка.

Г - покрытие со сборной стяжкой по теплоизоляционным плитам
1 - защитный слой; 2 - основной водоизоляционный ковер из рулонных материалов; 3 - основание под кровлю - листы асбестоцементные плоские; 4 - плиты теплоизоляционные ISOVER марки Dachoterm S или другие с прочностью на сжатие не менее 0,045 МПа; 5 - пароизоляционный слой; 6 - стальной профилированный настил; 7 - приклейка.
Схема маркировки узлов


1 - заглушка из негорючего утеплителя ISOVER; 2 - стальная гребенка; 3 - оцинкованная сталь толщиной 0,8 мм; 4 - мастика герметизирующая; 5 - приклеивающий состав; 6 - бортик из теплоизоляционных плит ISOVER; 7 - слой кровельного материала (усиление ендовы); 8 - дополнительные слои ковра (усиление примыкания кровли к парапету); 9 - костыль из стальной полосы 4×40 мм; 10 - защитный фартук из оцинкованной стали толщиной 0,8 мм; 11 - дюбель ДГ 3,7×70 Ц6; 12 - ограждение кровли; 13 - парапет продольной стены.
Общее замечание: Направление профилированных настилов выбрано произвольно.
![]()

1 - заглушка из негорючего утеплителя ISOVER; 2 - стальная гребенка; 3 - оцинкованная сталь толщиной 0,8 мм; 4 - мастика герметизирующая; 5 - приклеивающий состав; 6 - бортик из теплоизоляционных плит ISOVER; 7 - слой кровельного материала (усиление ендовы); 8 - дополнительные слои ковра (усиление примыкания кровли к парапету); 9, 10 - костыль из стальной полосы 4×40 мм; 11 - стальная полоса 4×40 мм; 12 - дюбель ДГ 3,7×70 Ц6; 13, 14 - защитный фартук из оцинкованной стали толщиной 0,8 мм; 15 - парапет продольной стены.

1 - заглушка из негорючего утеплителя ISOVER; 2 - стальная гребенка; 3 - оцинкованная сталь толщиной 0,8 мм; 4 - мастика герметизирующая; 5 - трехслойная панель со стальными облицовками; 6 - механическое крепление (2 шт.. - на плиту); 7 - плита теплоизоляционная ISOVER толщиной 50 мм; 8 - бортик из теплоизоляционных плит ISOVER; 9 - приклеивающий состав; 10 - дополнительные слои ковра (усиление примыкания кровли к парапету); 11 - слой кровельного материала (усиление ендовы); 12 - комплект деталей для крепления ограждений парапета; 13 - гвозди 3×70; 14 - деревянный брус антисептированный и антипирерованный; 15, 16, 17 - защитные фартуки из оцинкованной стали толщиной 0,8 мм.

1 - оцинкованная сталь толщиной 0,8 мм; 2 - винт самонарезающий В6×25; 3 - заклепка комбинированная 3К-10; 4 - мастика герметизирующая; 5 - плита теплоизоляционная ISOVER толщиной 50 мм; 6 - механическое крепление (2 шт. - на плиту); 7 - комплект деталей для крепления ограждений парапета; 8, 9, 10 - защитный фартук из оцинкованной стали толщиной 0,8 мм; 11 - дополнительные слои водоизоляционного ковра; 12 - деревянный брус антисептированный и антипирерованный; 13 - гвозди 3×70.

1 - слой кровельного материала (усиление кровли в коньке); 2 - слой кровельного материала (усиление кровли в ендове); 3 - точечная приклейка; 4 - заглушка из негорючего утеплителя ISOVER; 5 - оцинкованная сталь толщиной 0,8 мм; 6 - заклепка комбинированная 3К-10.

1 - стальной поддон; 2 - патрубок с фланцем; 3 - стальной хомут; 4 - защитный колпак; 5 - прижимной фланец; 6 - мастика герметизирующая; 7 - дополнительные прогоны; 8 - заглушка из негорючего утеплителя ISOVER; 9 - местное понижение вокруг воронки; 10 - опорный столбик; 11 - дополнительные слои кровельного материала вокруг воронки; 12 - слой кровельного материала (усиление кровли в ендове); 13 - парапет; 14 - дополнительные слои ковра у примыкания к парапету.

1 - стальной поддон; 2 - патрубок с фланцем; 3 - прижимной фланец; 4 - стальной хомут; 5 - опорные столбики; 6 - защитный колпак; 7 - дополнительные прогоны; 8 - заглушка из негорючего утеплителя ISOVER; 9 - дополнительные слои кровельного материала вокруг воронки; 10 - мастика герметизирующая; 11 - оцинкованная сталь толщиной 0,8 мм; 12 - дополнительный слой кровельного материала (усиление ендовы).

1 - стальной поддон; 2 - патрубок с фланцем; 3 - стальной хомут; 4 - защитный колпак; 5 - прижимной фланец; 6 - мастика герметизирующая; 7 - дополнительные прогоны; 8 - заглушка из негорючего утеплителя ISOVER; 9 - дополнительные слои водоизоляционного ковра вокруг воронки; 10 - опорный столбик.

1 - бортик из гнутого швеллера; 2 - плиты теплоизоляционные или маты ISOVER; 3 - компенсатор из оцинкованной стали толщиной 0,8 мм; 4 - крепежный элемент; 5 - полоса стальная 4×40 мм; 6, 7 - элемент фасонный из оцинкованной стали толщиной 0,8 мм; 8 - костыль из стальной полосы 4×40 мм; 9 - плиты теплоизоляционные ISOVER; 10 - бортик из теплоизоляционных плит ISOVER; 11 - дополнительные слои ковра (усиление примыкания кровли к стенке ДШ); 12 - дополнительный слой кровельного материала (усиление ендовы у ДШ); 13 - герметизирующая мастика; 14 - стальная гребенка по форме гофра; 15 - болт М10×30-011 с шайбой и гайкой; 16 - стальная пластина 220×120×10 мм; 17 - деревянный брус антисептированный и антипирерованный; 18 - стена здания повышенного пролета.

1 - бортик из гнутого швеллера; 2 - плиты теплоизоляционные или маты ISOVER; 3 - компенсатор из оцинкованной стали толщиной 0,8 мм; 4 - крепежный элемент; 5 - полоса стальная 4×40 мм; 6, 7 - элемент фасонный из оцинкованной стали толщиной 0,8 мм; 8 - костыль из стальной полосы 4×40 мм; 9 - плиты теплоизоляционные ISOVER; 10 - бортик из теплоизоляционных плит ISOVER; 11 - дополнительные слои водоизоляционного ковра; 12 - герметизирующая мастика; 13 - оцинкованная сталь; 14 - болт М16×70-011 с шайбой и гайкой; 15 - уголок 125×80×7; 16 - деревянный брус антисептированный и антипирерованный; 17 - приклеивающий состав; 18 - прогон.

1 - компенсатор из оцинкованной стали толщиной 2 мм; 2 - заклепка комбинированная 3К-12; 3 - заглушка из негорючего утеплителя ISOVER; из теплоизоляционных плит ISOVER; 4 - механическое крепление; 5 - плиты теплоизоляционные или маты ISOVER; 6 - выкружка из оцинкованной стали толщиной 1,5 мм; 7 - бортик размером 50×100 или 100×180; 8 - приклеивающий состав; 9 - слой кровельного материала «насухо» крупнозернистой посыпкой вниз; 10 - дополнительные слои водоизоляционного ковра.

1 - компенсатор из оцинкованной стали толщиной 2 мм; 2 - плиты теплоизоляционные или маты ISOVER; 3 - заклепка комбинированная 3К-12; 4 - винт самонарезающий В6×25; 5 - механическое крепление; 6 - бортик из теплоизоляционных плит ISOVER; 7 - приклеивающий состав; 8 - выкружка из оцинкованной стали толщиной 1,5 мм; 9 - слой кровельного рубероида посыпкой вниз «насухо»; 10 - дополнительные слои водоизоляционного ковра.

1 - труба; 2 - стальной стакан; 3, 4 - хомут из стальной полосы 4×40 мм; 5 - защитный фартук из оцинкованной стали; 6 - герметизирующая мастика; 7 - дополнительные слои ковра; 8 - плиты или маты теплоизоляционные ISOVER; 9 - дополнительные прогоны; 10 - приклеивающий состав; 11 - бортик из теплоизоляционных плит ISOVER; 12 - заглушка из негорючего утеплителя ISOVER.

1 - оцинкованная сталь толщиной 0,8 мм; 2 - винт самонарезающий В6×25; 3 - заклепка комбинированная 3К-10; 4 - мастика герметизирующая; 5 - плиты теплоизоляционные ISOVER толщиной 50 мм; 6 - механическое крепление (2 шт. - на плиту); 7 - комплект деталей для крепления ограждений парапета; 8, 9, 10 - защитный фартук из оцинкованной стали толщиной 0,8 мм; 11 - дополнительные слои водоизоляционного ковра; 12 - деревянный брус антисептированный и антипирерованный; 13 - гвоздь 3×70.

1 - заглушка из негорючего утеплителя ISOVER; 2 - оцинкованная сталь толщиной 0,8 мм; 3 - полоса кровельного материала крупнозернистой посыпкой вниз над швом в стяжке; 4 - приклеивающий состав; 5 - дополнительный слой кровельного материала (усиление ковра в коньке).

1 - заглушка из негорючего утеплителя ISOVER; 2 - оцинкованная сталь толщиной 0,8 мм; 3 - полоса кровельного материала крупнозернистой посыпкой вниз над швом в стяжке; 4 - приклеивающий состав; 5 - дополнительный слой кровельного материала (усиление ковра в ендове).

1 - стальной поддон; 2 - патрубок с фланцем; 3 - стальной хомут; 4 - защитный колпак; 5 - прижимной фланец; 6 - мастика герметизирующая; 7 - дополнительные прогоны; 8 - заглушка из негорючего утеплителя ISOVER; 9 - цементно-песчаный раствор; 10 - опорный столбик; 11 - дополнительные слои кровельного материала вокруг воронки; 12 - слой кровельного материала (усиление кровли в ендове); 13 - парапет; 14 - дополнительные слои ковра у примыкания к парапету; 15 - полоса кровельного материала крупнозернистой посыпкой вниз.

1 - компенсатор из оцинкованной стали толщиной 2 мм; 2 - плиты теплоизоляционные или маты ISOVER; 3 - заклепка комбинированная 3К-12; 4 - винт самонарезающий В6×25; 5 - шуруп; 6 - бортик из теплоизоляционных плит ISOVER; 7 - приклеивающий состав; 8 - выкружка из оцинкованной стали толщиной 1,5 мм; 9 - слой кровельного рубероида посыпкой вниз «насухо»; 10 - дополнительные слои водоизоляционного ковра.

1 - несущий стальной профилированный настил, например Н57-750-0,8; 2 - стальной профилированный лист С44-1000-0,7 или СН44-1000-0,8; 3 - пароизоляция из полиэтиленовой пленки; 4 - ветрозащита из паропроницаемого материала, например, «Тайвек SUPRO»; 5 - негорючие теплоизоляционные материалы ISOVER плиты марок KL, KL-A, KL-E или маты KT, KT-11, KT-11-TWIN; 6 - термовкладыш, например, бакелизированная фанера; 7 - опорный элемент из стали толщиной 3 мм; 8 - элемент жесткости - сталь толщиной 2 мм; 9 - дистанционный прогон ГН65×5×40×3; 10 - шайба стальная; 11 - шайба уплотнительная (герметизирующая лента); 12 - мастика герметизирующая; 13 - винт самонарезающий В6×80; 14 - заклепка комбинированная; 15 - винт самонарезающий В6×25; 16 - шайба неопреновая;
* - справочный размер.
Рекомендуемая длина ската - до 12 м.
Схема маркировки узлов


1 - заглушка из теплоизоляционных плит или матов ISOVER; 2 - плиты теплоизоляционные ISOVER; 3 - стальная «гребенка» по форме кровельного профлиста; 4 - заклепка комбинированная; 5 - оцинкованная сталь толщиной 0,8 мм; 6 - термовкладыш.

1 - оцинкованная сталь толщиной 0,8 мм; 2 - плиты теплоизоляционные или маты ISOVER; 3 - заклепка комбинированная; 4 - защитный фартук из оцинкованной стали толщиной 0,8 мм; 5 - термовкладыш.

1 - заглушка из теплоизоляционных плит или матов ISOVER; 2 - гребенчатый уплотнитель из пористой резины; 3 - стальная «гребенка»; 4 - защитный фартук из стали толщиной 0,8 мм; 5 - плиты теплоизоляционные или маты ISOVER; 6 - заклепка комбинированная; 7 - оцинкованная сталь толщиной 0,8 мм.

1 - пропускаемая труба; 2 - стальной квадратный стакан с фланцем; 3 - плиты (маты) теплоизоляционные ISOVER; 4 - дополнительные прогоны; 5 - хомут; 6 - мастика герметизирующая; 7, 8, 14 - защитный фартук из стали толщиной 0,8 мм; 9 - заклепка комбинированная; 10 - зонт из оцинкованной стали; 11 - коньковый защитный фартук; 12 - уплотнитель по форме профнастила; 13 - гребенка по форме профнастила.
См. совместно с листом 2.

Условные обозначения см. лист 1.






















Таблица 1 Физико-технические свойства битумно-полимерных наплавляемых рулонных материалов с основой из синтетических волокон (для пароизоляции и водоизоляционного ковра)
|
Изготовитель |
Масса 1 м2 битуминозного вяжущего, г |
Масса 1 м2 основы, г |
Разрывная сила при растяжении, кгс/5 см |
Относительное удлинение, % |
Теплостойкость, °С |
Водопоглощение через 24 ч, мас. % |
Гибкость при температуре, °С |
|
|
1 |
2 |
3 |
4 |
5 |
6 |
7 |
8 |
9 |
|
Рулонный материал марки МК-ПК и ПГ-ПМ (ТУ РБ 14738548.002-42-94) |
АО «Кровля г. Осиповичи» |
3600 - 3800 |
- |
61,2 |
60 |
70 ± 2 |
2,0 |
-15 |
|
Эластофен, холст из искусственных волокон, усиленных продольными нитями |
«Сопрема» (Франция) |
3500 |
- |
35 |
52 |
95 |
0,3 |
-20 |
|
Виапол |
«Ветроасфальто» (Италия) |
Толщина 4 мм |
500 |
80 |
45 |
120 |
0,47 |
-10 |
|
Фидиа |
«Индекс» (Италия) |
3000 - 4000 |
320 - 350 |
56,7 - 61,7 |
46 |
100 |
0,13 - 0,2 |
-10 |
|
МИДА - Пл РУЕ РУ 200 5в |
Литовско-Российское предприятие «МИДА» |
Толщина 5 мм |
- |
82 |
40 |
100 |
0,39 |
-18 |
|
Монофлекс АРУ |
«Ланкедор» (Бельгия) |
4408 |
180 |
56,3 |
60 |
135 |
12 |
25 |
|
Супра |
«Лемминкяйнен» (Финляндия) |
3700 |
287 |
90 |
60 |
100 |
0,4 |
-25 |
|
Дербигум-SP, стеклохолст + полотно из полиэфирных волокон |
«Импербел» (Бельгия) |
4150 |
55 ± 10 %, 160 ± 10 % |
56 |
40 |
140 |
0,43 |
-25 |
|
Изопласт (ТУ 5774-005-05766480-95) |
Российско-Ирландское СП «Изофлекс» |
3000 - 5500 |
250 |
61,2 |
- |
120 ± 2 |
1,0 |
-15 |
|
Битулин HPI 170 |
Ондулин - строительные материалы |
1700 |
172 |
75 |
42 |
120 |
0,46 |
-6 |
|
Scntumplast brarmato s/sus/pe |
Фирма «Италиана мембрана» |
2000 - 2500 |
- |
89 |
69 |
120 |
0,25 - 0,3 |
-16 |
|
Рулонный материал MB 870 и MB 874 |
Фирма «UnoTech» Швеция |
Толщина 4,0 - 4,5 мм |
180 - 250 |
70 - 112 |
58 - 70 |
95 |
0,1 - 0,2 |
-20 |
|
Полигум |
АО «Ютон-Восток» Бельгия |
Толщина 4,0 мм |
- |
66 - 87,4 |
48 - 66 |
100 |
0,1 - 0,2 |
-4 ... -11 |
Таблица 2 Физико-технические свойства битумно-полимерных наплавляемых рулонных материалов на стекловолокнистой основе (для пароизоляции и водоизоляционного ковра)
|
Материал, ТУ |
Изготовитель |
Масса 1 м2 битуминозного вяжущего, г |
Масса 1 м2 основы, г |
Разрывная сила при растяжении, кгс/5 см |
Относительное удлинение, % |
Теплостойкость, °С |
Водопоглощение через 24 ч, мас. % |
Гибкость при температуре, °С |
|
1 |
2 |
3 |
4 |
5 |
6 |
7 |
8 |
9 |
|
Филизол |
|
2500 - 3000 |
210 |
50 |
12,8 |
80 |
0,7 |
-15 |
|
Филизол супер (ТУ 5774-008-05108038-97) |
ОАО «Фили-кровля» |
4500 - 5500 |
150 |
50 |
9 |
80 |
0,8 |
-15 |
|
Бикроэласт (ТУ 5770-541-00284718-94) |
Учалинское АП «Кровля» |
3500 |
295 |
50 |
36 |
85 |
0,5 |
-15 |
|
Люберит (ТУ 5770-001-18060333-95) |
АОЗТ «Люберит» |
3500 ± 500 |
170 |
75 |
8 |
80 |
1 |
-10 |
|
Днепрофлекс (ТУ 5770-531-00284718-93) |
АО «Полимер-кровля» |
3200 |
580 |
80 |
- |
80 |
1,5 |
-15 |
|
Изопласт К Изопласт П (ТУ 5774-005-05766480-95) |
АООТ «Киришинефтеоргсинтез» |
3400 |
250 200 |
60 36 |
- |
120 120 |
1 1 |
-25 |
|
Стекломаст (ТУ 21-5744710-519-92) |
Рязанский КРЗ |
3200 |
790 |
85 |
- |
85 |
1,5 |
±0 |
|
Полимаст (ТУ 5770-537-0287718-93) |
АП Выборгский РЗ |
3000 |
190 |
75 |
- |
80 |
1,5 |
-10 |
|
Рубитэкс (ТУ 5774-003-00289973-95) стеклоткань |
АО «Оргкровля» |
3000 - 5000 |
460 |
50 |
- |
80 ± 2 |
- |
-15 |
|
Стеклоизол (ТУ 5774-004-00289973-96) |
АО «Оргкровля» |
3500 - 4000 |
46 |
50 |
- |
80 ± 2 |
- |
-5 |
|
Элабит (ТУ 5774-528-00284718-94) |
Рязанский КРЗ |
3200 |
- |
80 |
- |
80 ± 2 |
1,5 |
-15 |
|
Атаклон (ТУ 5774-545-00284718-96) |
АООТ «Омсккровля» |
3500 |
50 |
50 |
- |
100 ± 2 |
1,0 |
-15 |
|
Темпофлекс (ТУ 5774-544-00284718-96) |
АОЗТ «Минводы-Кровля» |
3200 |
47 |
31 - 70 |
- |
85 |
0,5 |
-15 |
|
Стеклобит (ТУ 21-5744710-515-92) |
АОЗТ «Минводы-Кровля» |
3000 |
100 |
27 |
- |
70 |
1,5 |
±0 |
|
Линокром стеклоткань (ТУ 5774-002-13157915-98) |
АООТ «Крома» |
Толщ. 3 мм |
- |
40 - 90 |
- |
75 |
2,0 |
±0 ...-10 |
|
Суперкром стеклоткань |
4 мм |
- |
40 - 90 |
- |
75 |
2,0 |
|
|
|
Стеклокром стеклохолст |
3 мм |
- |
40 - 90 |
- |
75 |
2,0 |
|
|
|
Битумен Глас 150 стеклохолст со стеклоплитами |
Ондулин-строительные материалы |
200 |
54 |
53,8 |
7,0 |
120 |
0,11 |
-7 |
|
Кондор 4S стеклоткань |
Фирма «Гр-меч» Югославия |
3200 |
230 |
72 |
7,5 |
100 |
0,54 |
-10 |
|
Техноэласт (ТУ 5774-003-00287852-99) |
ЗАО «Техно-НИКОЛЬ» |
3000 - 6500 |
50 |
37 - 60 |
- |
100 |
1,0 |
-25 |
|
Экофлекс (ТУ 5774-002-00287852-98) |
ЗАО «Техно-НИКОЛЬ» |
3000 - 550 |
50 |
36 - 60 |
- |
120 |
1,0 |
-10 |
Таблица 3 Вулканизованные пленки
|
Наименование показателей |
||||
|
Условная прочность при растяжении, МПа |
Относительное удлинение, % |
Водопоглощение через 24 ч, % |
Гибкость на брусе с радиусом 5 мм при t, °С |
|
|
Кровлен ТУ 8725-011-00302480-95 |
6,6 4,0 |
550 200 |
1,0 1,3 |
-55 -35 |
|
Кромэл ТУ 5774-002-41993527-97 |
6,0 |
250 |
0,5 |
-60 |
|
Элон* ТУ 21-5744710-514-92 |
7,0 |
250 |
1,5 |
-60 |
|
Изолен «Атомэнергомаш» ТУ 5774-001-04678851-95 |
7,0 - 10,0 |
250 |
1,0 |
-50 |
|
Кровлелон ТУ 95-25048396-054-93 |
12,0 |
200 |
1,0 |
-50 |
|
Поликром ТУ 5774-001-46439362-99 |
6,0 |
250 |
0,5 |
-60 |
|
Поликров АР** ТУ 5775-002-11313564-96 |
3 - 5 |
300 |
0,2 |
-50 |
* - Материал с армирующей подложкой.
** - Применяется в сочетании с приклеивающей мастикой «Поликров-М» (ТУ 5775-003-11313564-96) и защитным покрытием «Поликров-П» (ТУ 5775-001-11313564-96).
Таблица 4 Физико-технические свойства герметизирующих мастик
|
Вид герметиков |
||||
|
Клей-герметик кремний органический «Эластосил 137-181» |
Мастики тиоколовые строительного назначения марок |
Гермобутил-2 |
||
|
АМ-05 |
КБ-05 |
|||
|
Предел прочности на разрыв, МПа (кгс/см2), не менее |
0,8 (8,0) |
0,1 (1,0) |
0,3 (3,0) |
5 - 5,5 |
|
Относительное удлинение, %, не менее |
500 |
150 |
100 |
300 - 350 |
|
Жизнеспособность, ч., не менее |
0,15 |
2 |
2 |
24 |
|
Температурный интервал применения, °С |
-60 ÷ +200 |
-50 ÷ +70 |
-50 ÷ +70 |
-50 ÷ +80 |
Таблица 5 Физико-технические свойства холодных мастик*)
|
Наименование показателей |
||||||
|
Условная прочность при растяжении, МПа (кгс/см2) |
Относительное удлинение, % |
Теплостойкость, °С |
Водопоглощение через 24 ч, % |
Гибкость на стержне, мм/°С |
Адгезия к цементно-песчаному раствору, МПа (кгс/см2) |
|
|
Вента-V АПО «Вента» (ТУ 21-5744710-512-91) |
0,7 (7,0) |
400 |
130 |
0,5 |
10/-65 |
0,5 (5,0) |
|
Ребакс (ТУ 2384-008-13238275-97) |
0,7 (7,0) |
1300 |
100 |
0 |
10/-20 |
0,48 (4,8) |
|
БКМ-200 (ТУ 2384-008-13238275-97) |
0,5 (5,0) |
900 |
100 |
0,17 |
10/-16 |
0,2 (2,0) |
|
Крунк-1 НПФ «Изомер» |
0,21 (2,1) |
280 |
100 |
0,8 |
10/-40 |
0,18 (1,8) |
|
Руф Коатинг фирма «Свепко» (США) |
0,25 (2,5) |
77 |
100 |
0,23 |
10/-10 |
0,64 (6,4) |
|
Дипстоп (Франция, фирма «ДИП») |
0,25 (2,5) |
255 |
100 |
0,3 |
10/-15 |
0,3 (3,0) |
|
Поли-ТЕЧ (Англия, фирма «E. Wood») |
2,46 (24,6) |
310 |
100 |
4,0 |
10/-25 |
0,65 (6,5) |
|
Битурел (ТУ 5775-001-17187505-95) |
1,0 (10,0) |
500 |
120 |
1,5 |
5/-50 |
0,5 (5,0) |
|
Гермокров-2 Гермокров-3 |
1,2 (12,0) 1,5 (15,0) |
200 250 |
120 120 |
2,0 2,0 |
5/-50 |
0,4 (4,0) 0,4 (4,0) |
*) Не допускается применение приведенных в таблице холодных мастик в кровлях, выполняемых непосредственно по минераловатным, пенополистирольным теплоизоляционным плитам.
Таблица 6 Количество слоев рулонного материала в водоизоляционном ковре в зависимости от уклона кровли и вида рулонного материала
|
Уклон кровли, % |
Основной водоизоляционный ковер |
Защитный слой |
|
1 |
2 |
3 |
|
Менее 1,5 |
Три слоя наплавляемых рулонных битумно-полимерных материалов на стекло- или синтетической основе, обладающих гибкостью при температурах не выше минус 15 °С |
Из гравия или крупнозернистой посыпки, наклеенных на мастике, либо из крупнозернистой посыпки или металлической фольги на верхнем слое рулонного материала |
|
Два слоя таких же материалов, обладающих гибкостью при температурах не выше минус 20 °С |
То же |
|
|
Четыре слоя наплавляемых битумных рулонных материалов на картонной, стекло- или синтетической основе, обладающих гибкостью при температурах не выше 0 °С |
«« |
|
|
Два слоя наплавляемых рулонных материалов с двойной армирующей основой из стекло- или синтетических волокон, обладающих гибкостью при температурах не выше минус 15 °С и массой не менее 4,5 кг/м2 - для материалов с крупнозернистой посыпкой или не менее 4,0 кг/м2 - для материалов без посыпки или с защитным слоем из металлической фольги |
«« |
|
|
Два слоя эластомерных или термопластичных пленочных материалов |
Пригрузочный или окрасочный слой |
|
|
1,5 ÷ 2,5 |
Три слоя наплавляемых рулонных материалов на картонной, стекло- или синтетической основе, обладающих гибкостью при температурах не выше 0 °С |
Из гравия или крупнозернистой посыпки, наклеенных на мастике, либо из крупнозернистой посыпки или металлической фольги на верхнем слое рулонного материала |
|
Два слоя наплавляемых рулонных битумно-полимерных материалов с основой из стеклянных или синтетических волокон, обладающих гибкостью при температурах не выше минус 15 °С |
То же |
|
|
Один слой наплавляемого рулонного материала с двойной армирующей основой из стекло- или синтетических волокон, обладающих гибкостью при температурах не выше минус 15 °С и массой не менее 4,5 кг/м2 - для материалов с крупнозернистой посыпкой либо не менее 4,0 кг/м2 - для материалов без посыпки или с защитным слоем из металлической фольги |
«« |
|
|
Один слой эластомерных пленочных материалов |
Пригрузочный или окрасочный слой |
|
|
2,5 ÷ 10 |
Три слоя наплавляемых рулонных битумных материалов на картонной, стекло- или синтетической основе, обладающих гибкостью при температурах не выше 0 °С |
Из гравия или крупнозернистой посыпки, наклеенных на мастике, либо из крупнозернистой посыпки или металлической фольги на верхнем слое рулонного материала |
|
Два слоя наплавляемых рулонных битумно-полимерных материалов с основой из стеклянных или синтетических волокон, обладающих гибкостью при температурах не выше минус 15 °С |
То же |
|
|
|
Один слой наплавляемого рулонного материала с двойной армирующей основой из стекло- или синтетических волокон, обладающих гибкостью при температурах не выше минус 15 °С и массой не менее 4,5 кг/м2 - для материалов с крупнозернистой посыпкой либо не менее 4,0 кг/м2 - для материалов без посыпки или с защитным слоем из металлической фольги |
«« |
|
Один слой эластомерных пленочных материалов |
Окрасочный слой |
Пример 1. Расчет толщины утеплителя.
1. Цель расчета: определение оптимальной толщины утеплителя из плит ISOVER в покрытии из многопустотных железобетонных плит для общественного здания, строящегося в г. Санкт-Петербурге.
2. Расчетные параметры температурно-влажностного режима:
tв = 18 °С;
φв = 55 %;
tн = 26 °С.

3. Расчетная схема покрытия.
1 - многопустотная железобетонная плита; γ1 = 2500 кг/м2;
λ1 = 2,04 Вт/(м ∙ °С);
2 - пароизоляция - слой битума; λ2 = 0,27 Вт/(м ∙ °С);
3 - теплоизоляционные плиты ISOVER; λ3 = 0,047 Вт/(м ∙ °С);
4 - водоизоляционный ковер из двух слоев Изопласта; λ4 = 0,17 Вт/(м ∙ °С).
4. По СНиП II-3-79* приведенное сопротивление теплопередаче покрытия (R0) должно быть не менее требуемого (R0тр), определенного из условий энергосбережения по градусо-суткам отопительного периода (ГСОП) по формуле 1а и табл. 1б*:
ГСОП = (tв - tот.пер.) ∙ Zот.пер.; (1а)
где tв - расчетная температура внутреннего воздуха, °С;
tот.пер., Zот.пер - средняя температура, °С и продолжительность (сут.) периода со средней суточной температурой воздуха ниже или равной 8 °С по СНиП 23-01-99.
ГСОП = (18 - 1,8) ∙ 220 = 4356 сут.
5. По табл. 1б* СНиП II-3-79* находим требуемое сопротивление теплопередаче для покрытий общественных зданий:
R0тр = 3,34 м2 ∙ °С/Вт.
6. Для определения термического сопротивления многопустотной железобетонной плиты круглые отверстия Ø 159 мм заменяем равновеликими по площади квадратными размерами 141×141 мм.
Сторона (а) эквивалентного по площади квадрата:

![]()
7. Приведенное термическое сопротивление плиты в соответствии с п. 2.8. СНиП II-3-79*:
а) При условном разрезании части плиты плоскостями I-I и II-II параллельными направлению движения теплового потока (снизу вверх) Сечение I-I (два слоя железобетона толщиной по 0,0395 м; λ = 2,04 Вт/(м ∙ °С) и воздушная прослойка толщиной 0,141 м):
RI-I = 2 ∙ Rж.б. + Rв.п. м2 ∙ °С/Вт.
Термическое сопротивление горизонтальной замкнутой воздушной прослойки при потоке тепла снизу вверх:
Rж.б. = 0,15 м2 ∙ °С/Вт (приложение 4, СНиП II-3-79*);
RI-I = 2 ∙ 0,395/2,04 + 0,15 = 0,19 м2 ∙ °С/Вт.
Сечение II-II (толщина сплошной части плиты):
RII-II = δ/λ = 0,22/2,04 = 0,11 м2 ∙ °С/Вт.
На основании формулы (6) СНиП:
Площадь первого участка F1 = 0,141 м2.
Площадь второго участка F2 = 0,044 м2.
Получаем:

б) При условном разрезании плиты покрытия плоскостями 1-1; 2-2; 3-3, перпендикулярными направлению движения (снизу вверх) теплового потока.
В сечениях 1-1 и 3-3 (слои железобетона толщиной по 0,0395 м) термическое сопротивление равно:
R1-1 = R2-3 = 0,0395/2,04 м2 ∙ °С/Вт.
Конструкция плиты в сечении 2-2 состоит из воздушной прослойки толщиной 0,141 м и железобетона толщиной 0,044м.
Для определения термического сопротивления сечения находим средний коэффициент теплопроводности (λср).
Для воздушной прослойки требуется найти эквивалентный коэффициент теплопроводности:
λэ = λв.п. = δв.п./Rв.п. = 0,141/0,15 = 0,94 Вт/м ∙ °С,
тогда:
= 1,201 Вт/м ∙ °С
R2-2 = 0,141/1,207 = 0,117 м2 ∙ °С/Вт.
Термическое сопротивление плиты:
Rб = 0,0193 ∙ 2 + 0,117 = 0,1556 м2 ∙ °С/Вт.
Разница Rа и Rб составила 3,8 %:
(0,162 - 0,156)/0,156 = 3,8 < 25 %,
что допускается СНиП II-3-79* п. 2.8.
Приведенное термическое сопротивление многопустотной железобетонной плиты покрытия определяем по формуле (7) СНиП II-3-79*:
![]()
8. Зная величину R0тр = 3,34 м2 ∙ °С/Вт (п. 5 н. расчета) и полное термическое сопротивление плиты Rкпр = 0,158 м2 ∙ °С/Вт, можно найти толщину слоя теплоизоляции при λут = 0,047 Вт/м2 ∙ °С:
R0тр = R0 + Rж.п. + Rбит. + Rут. + Rкровли + Rн

Откуда:
δут. = λут.(R0тр - 0,37) = 0,047 ∙ (3,34 - 0,37) = 0,047 ∙ 2,97 = 0,1395 м.
9. Принимаем толщину утеплителя ISOVER 140 мм.
R0 = 0,115 + 0,158 + 0,0074 + 0,14/0,047 + 0,047 + 0,0434 = 3,3495 м2 ∙ °С/Вт
R0 ≥ R0тр.
Требование СНиП выполнено.
Пример 2. Расчет толщины основного утеплителя из плит ISOVER в покрытии с вентилируемыми каналами.
Административное здание в г. Санкт-Петербурге. Температурно-влажностный режим нормальный, tв = 16 °С.
Расчетная схема покрытия.

1 - стальной профнастил Н 60-845-0,8; λ1 = 58 Вт/(м ∙ °С);
2 - пароизоляция из двух слоев рубероида «Бикроэласт»; λ2 = 0,27 Вт/(м ∙ °С);
3 - плиты теплоизоляционные ISOVER; λ3 = 0,047 Вт/(м ∙ °С);
4 - плиты теплоизоляционные ISOVER OL-K-30-UPO; λ4 = 0,042 Вт/(м ∙ °С);
5 - водоизоляционный ковер из одного слоя полимерной пленки;
λ5 = 0,38 Вт/(м ∙ °С).
Градусо-сутки отопительного периода:
ГСОП = (tв - tот.пер.) ∙ Zот.пер.; (1а)
ГСОП = (16 + 1,8) ∙ 220 = 3916 сут.
Требуемое сопротивление теплопередаче по табл. 1б* СНиП II-3-79*:
R0тр = 3,17 м2 ∙ °С/Вт.
Сопротивление теплопередаче плит OL-K-30-UPO с канавками в вентилируемом покрытии:
= 0,71 м2 ∙ °С/Вт.
Для плит с канавками в вентилируемом покрытии из общего сопротивления теплопередаче плиты вычитаем 0,1 м2 ∙ °С/Вт:
Rут.в. = 0,71 - 0,1 = 0,61 м2 ∙ °С/Вт.
Термическое сопротивление слоя плит основного утеплителя:
Rут.ос. = R0тр - (Rв + R1 + R2 + R4 + R5 + Rн) м2 ∙ °С/Вт.
Rут.ос. = R0тр - (0,115 + 0,0008/58 + 0,003/0,27 + 0,61 + 0,0012/0,38 + 0,0434) = 3,17 - (0,115 + 0,0000 + 0,011 + 0,61 + 0,003 + 0,0434) = 2,39 м2 ∙ °С/Вт.
Толщина основного утеплителя из плит ISOVER:
δ3 = λ3 ∙ Rут.ос.
δ3 = 2,39 ∙ 0,047 = 0,1123 м.
Принимаем толщину основной теплоизоляции 120 мм,
тогда:
R0 = Rв + R1 + R2 + R3 + R4 + R5 + Rн
R0 = 0,115 + 0,000 + 0,011 + 0,012/0,047 + 0,61 + 0,003 + 0,0434 = 3,33 м2 ∙ °С/Вт
R0 > R0тр.
Требование СНиП выполнено.
Пример 3. Определить требуемое сопротивление паропроницанию покрытия общественного здания в г. Санкт-Петербурге.
Расчетная схема:

1 - железобетонная плита; λ1 = 2,04 Вт/(м ∙ °С);
μ1 = 0,03 мг/(м ∙ ч ∙ Па);
2 - плиты теплоизоляционные ISOVER Dachoterm G; λ2 = 0,049 Вт/(м ∙ °С);
μ2 = 0,31 мг/(м ∙ ч ∙ Па);
3 - водоизоляционный ковер из двух слоев Изопласта; λ2 = 0,17 Вт/(м ∙ °С);
Rп = 2,5м ∙ ч ∙ Па/мг.
Исходные данные:
Расчетная температура и относительная влажность внутреннего воздуха:
tв = 18 °С; λв = 55 %; ев = 1135 Па.
Влажностный режим помещений - нормальный.
Условия эксплуатации - Б.
Расчет пароизоляции покрытия выполнен по СНиП II-3-79* «Строительная теплотехника» и СНиП 23-01-99 «Строительная климатология».
Сопротивление теплопередаче покрытия:
![]()
![]()
Термическое сопротивление слоев покрытия от внутренней поверхности до плоскости возможной конденсации (ПВК):
= 3,28 м2 ∙
°С/Вт.
Продолжительность сезонов (Z), среднесезонные температуры по СНиП 23-01-99.
Значения температур в ПВК (τ), соответствующие этим температурам, вычисляем по формуле:
(61) СП 23-101-2000;
Зима (январь, февраль), Z1 = 2 мес.
tн1 = (-7,8 - 7,8) : 2 = -7,8 °С;
= -7,2 °С.
Весна - осень (март, апрель, октябрь, ноябрь, декабрь), Z2 = 5 мес.
tн2 = (-3,9 + 3,1 + 4,9 - 0,3 - 5,0) : 5 = -0,24 °С;
= -7,2 °С.
Лето (май, июнь, июль, август, сентябрь), Z3 = 5 мес.
t н3 = (9,8 + 15,0 + 17,8 + 16,0 + 10,9) : 5 = 13,9 °С;
= 0,2 °С.
По среднесезонным температурам в ПВК упругости водяного пара (приложение М. СП 23-101-2000):
Е1 = 332 Па; Е2 = 620 Па; Е3 = 1599 Па.
Упругость водяного пара в ПВК (Е) за годовой период эксплуатации:
E = (1/12)(E1 ∙ Z1 + E2 ∙ Z2 + E3 ∙ Z3)
Е = (332 ∙2 + 620 ∙ 5 + 1599 ∙ 5) : 12 = 979,9 Па.
Средняя упругость водяного пара наружного воздуха за годовой период по СНиП 2.01.01-82, приложение 3, т.к. в СНиП 23-01-99 эти данные отсутствуют:
ен = (1/12)(340 + 320 + 370 + 570 + 800 + 1190 + 1470 + 1440 + 1090 + 760 + 550 + 420) = 777 Па.
Сопротивление паропроницанию (Rпн.) части покрытия между наружной поверхностью и ПВК:
Rпн. = 2,5 м2 ∙ ч ∙ Па/мг.
Требуемое сопротивление паропроницанию из условия недопустимости накопления влаги в покрытии за годовой период эксплуатации:
= 1,91 м2
∙ ч ∙ Па/мг; (34) СНиП II-3-79*
Продолжительность периода влагонакопления Z0 = 139 сут.
Средняя температура этого периода tн.о. = -(7,8 + 7,8 + 3,9 + 0,3 + 5,0) : 5 = -4,96 °С.
Температура на ПВК
= -4,40 °С.
Упругость водяного пара Е0 = 423 Па.
Плотность плит ISOVER γw = 180 кг/м3.
Толщина увлажняемого слоя δw = 0,16 м.
Предельно допустимое приращение массового влагоотношения в материале за период влагонаполнения ΔWср. = 3 %.
Средняя упругость водяного пара наружного воздуха за этот же период:
ен.о. = (1/5)(340 + 320 + 370 + 550 + 420) = 400 Па
(37) СНиП II-3-79*
![]()
Требуемое сопротивление паропроницанию (Rп2тр) из условия ограничения влаги в покрытии за период с отрицательными среднемесячными температурами:
(35) СНиП II-3-79*
= 1,52 м2 ∙ ч ∙ Па/мг.
Сопротивление паропроницанию части покрытия между внутренней поверхностью и ПВК:
Rп.в. < Rп1тр < Rп2тр
Требуемое сопротивление пароизоляционного слоя:
Rп.и. = 2,65 - 1,52 = 1,13 м2 ∙ ч ∙ Па/мг.
По приложению 11* СНиП II-3-79* принимаем пароизоляцию из двух слоев пергамина, наклеенных на горячем битуме:
Rп.и. = 0,33 ∙ 2 + 0,3 ∙ 2 = 1,26 м2 ∙ ч ∙ Па/мг
Rп. = 1,52 + 1,26 = 2,78 м2 ∙ ч ∙ Па/мг.
По результатам расчета: Rп1тр = 1,91 м2 ∙ ч ∙ Па/мг;
Rп1тр = 2,65 м2 ∙ ч ∙ Па/мг;
Rп. = 2,78 м2 ∙ ч ∙ Па/мг.
Требование СНиП II-3-79* п. 6.1* выполнено:
Rп. > Rп2тр.
Далее расчет повторяют уже с учетом выбранного пароизоляционного слоя.
Пример 4. Определение сопротивления паропроницанию покрытия общественного здания в г. Санкт-Петербурге.
Расчетная схема:

1 - стальной профилированный настил Н 60-845-0,8; λ1 = 58 Вт/(м ∙ °С);
μ1 = 0 мг/(м ∙ ч ∙ Па);
2 - пароизоляция - один слой полиэтиленовой пленки; Rп.2 = 7,3 м2 ∙ ч ∙ Па/мг;
3 - плиты теплоизоляционные ISOVER OL-YK; λ3 = 0,042 Вт/(м ∙ °С);
μ3 = 0,50 мг/(м ∙ ч ∙ Па);
3 - водоизоляционный ковер из двух слоев Изопласта; λ4 = 0,17 Вт/(м ∙ °С);
Rп.4 = 2,5 м2 ∙ ч ∙ Па/мг.
Исходные данные:
Расчетная температура и относительная влажность внутреннего воздуха:
tв = 18 °С, φв = 55 %; ев = 1135 Па.
Влажностный режим помещений - нормальный.
Условия эксплуатации - Б.
Расчет пароизоляции покрытия выполнен по СНиП II-3-79* «Строительная теплотехника» и СНиП 23-01-99 «Строительная климатология».
Сопротивление теплопередаче покрытия:
![]()
![]()
Термическое сопротивление слоев покрытия от внутренней поверхности до плоскости возможной конденсации (ПВК):
ΣR = 0 + 0 + ... + 3,33 = 3,33 м2 ∙ °С/Вт.
Продолжительность сезонов (Z), среднесезонные температуры по СНиП 23-01-99.
Значения температур в ПВК (τ), соответствующие этим температурам, вычисляем по формуле:
(61) СП 23-101-2000.
Зима (январь, февраль), Z1 = 2 мес.
tн1 = (-7,8 - 7,8) : 2 = -7,8 °С;
= -7,2 °С.
Весна - осень (март, апрель, октябрь, ноябрь, декабрь), Z2 = 5 мес.
tн2 = (-3,9 + 3,1 + 4,9 - 0,3 - 5,0) : 5 = -0,24 °С;
= -0,2 °С.
Лето (май, июнь, июль, август, сентябрь), Z3 = 5 мес.
t н3 = (9,8 + 15,0 + 17,8 + 16,0 + 10,9) : 5 = 13,9 °С;
= 14,0 °С.
По среднесезонным температурам в ПВК упругости водяного пара (приложение М. СП 23-101-2000):
Е1 = 332 Па; Е2 = 620 Па; Е3 = 1599 Па.
Упругость водяного пара в ПВК (Е) за годовой период эксплуатации:
E = (1/12)(E1 ∙ Z1 + E2 ∙ Z2 + E3 ∙ Z3)
Е = (332 ∙2 + 620 ∙ 5 + 1599 ∙ 5) : 12 = 979,9 Па.
Средняя упругость водяного пара наружного воздуха за годовой период по СНиП 2.01.01-82, приложение 3, т.к. в СНиП 23-01-99 эти данные отсутствуют:
ен = (1/12)(340 + 320 + 370 + 570 + 800 + 1190 + 1470 + 1440 + 1090 + 760 + 550 + 420) = 777 Па.
Сопротивление паропроницанию (Rпн.) части покрытия между наружной поверхностью и ПВК:
Rпн. = 2,5 м2 ∙ ч ∙ Па/мг.
Требуемое сопротивление паропроницанию из условия недопустимости накопления влаги в покрытии за годовой период эксплуатации:
(34) СНиП II-3-79*
= 1,91 м2 ∙ ч ∙ Па/мг.
Продолжительность периода влагонакопления Z0 = 139 сут.
Средняя температура этого периода tн.о. = -(7,8 + 7,8 + 3,9 + 0,3 + 5,0) : 5 = -4,96 °С.
Температура на ПВК
= -4,4 °С.
Упругость водяного пара Е0 = 423 Па.
Плотность плит ISOVER γw = 105 кг/м3.
Толщина увлажняемого слоя δw = 0,14 м.
Предельно допустимое приращение массового влагоотношения в материале за период влагонаполнения ΔWср. = 3 %.
Средняя упругость водяного пара наружного воздуха за этот же период:
ен.о. = (1/5)(340 + 320 + 370 + 550 + 420) = 400 Па
(37) СНиП II-3-79*
![]()
Требуемое сопротивление паропроницанию (Rп2тр) из условия ограничения влаги в покрытии за период с отрицательными среднемесячными температурами:
(35) СНиП II-3-79*
= 5,04 м2 ∙ ч ∙ Па/мг.
Сопротивление паропроницанию части покрытия между внутренней поверхностью и ПВК:
![]()
По результатам расчета: Rп. = 7,58 м2 ∙ ч ∙ Па/мг;
Rп1тр = 1,91 м2 ∙ ч ∙ Па/мг;
Rп1тр = 5,04 м2 ∙ ч ∙ Па/мг;
Rп. > Rп2тр.
Требование СНиП II-3-79* п. 6.1* выполнено:
Rп. > Rп2тр.
Одним из перспективных направлений в устройстве плоских кровель является использование теплоизоляции из стеклянного волокна.
Для этой цели «Сан-Гобэн Изовер» предлагает двухслойную изоляцию из стеклянной ваты ISOVER OL-KA: верхний слой состоит из плит OL-K-30, нижний слой из плит OL-P.

1. Защитный слой
2. Гидроизоляционный ковер
3. Верхний слой - ISOVER OL-K-30
4. Нижний слой - ISOVER OL-P
5. Пароизоляция
6. Выравнивающий слой из легкого бетона
7. Несущее ж/б перекрытие
Эта комбинация имеет целый ряд достоинств:
1. Низкая теплопроводность: коэффициент теплопроводности λБ как верхнего слоя OL-K-30, так и нижнего слоя OL-P равен 0,042 Вт/мК. Это позволяет уменьшить общую толщину теплоизоляционного слоя на 1 - 2 см.
2. Малая плотность: верхнего слоя OL-K-30 - 140 кг/м3 и нижнего слоя OL-P - 90 кг/м3 позволяет снизить вес 1 м2 кровельного «пирога» более чем на 7,5 кг, в зависимости от толщины теплоизоляционного слоя.
3. Большие размеры плит: верхнего слоя OL-K-30 - 1180×1550 мм и нижнего слоя OL-P - 1190×1380 мм позволяют перекрывать большие площади, обеспечивая тем самым удобство в укладке и высокую скорость монтажа изоляции.
4. Благодаря тому, что плиты верхнего слоя OL-K-30 кашированы стеклохолстом, нагрузки на плиту распределяются равномерно. При хождении по кровле плита «пружинит», и на ней не остаются следы от ботинок.
5. Плиты верхнего слоя OL-K-30 имеют по длинным сторонам шпунтованные кромки, которые обеспечивают надежную фиксацию плит и предотвращают образование «мостиков холода».
6. Плиты OL-K-30 и OL-P поставляются на палетах и в отдельных упаковках. Благодаря тому, что продукция упакована в полиэтиленовую пленку, она надежно защищена при хранении и транспортировке. Более того, продукцию, поставляемую на палетах, удобно разгружать, перемещать по стройплощадке и поднимать на верхние этажи зданий с помощью подъемного крана.
|
Классификация |
ISOVER OL-K-30, OL-P |
|
|
Сертификат соответствия |
N POCC FI.CA24.H01287 |
|
|
N ССПБ.FI.ОП002.Н.00600 |
Г1 |
|
|
Гигиенический сертификат |
N 78.01.06.570.П.002494.05.03 |
|
|
Технические характеристики |
||||||
|
Название материала |
Термическое сопротивление, при условиях эксплуатации Б м2K/Вт |
Толщина, мм |
Название материала |
Ширина, мм |
Длина, мм |
Прочность на сжатие при 10 % деформации, кПа |
|
ISOVER OL-KA (OL-K-30 + OL-P) |
2,38 |
100 |
OL-K-30 |
1180 |
1550 |
≥ 60 |
|
2,86 |
120 |
OL-P |
1190 |
1380 |
≥ 35 |
|
|
3,10 |
130 |
|
|
|
|
|
|
3,33 |
140 |
|
|
|
|
|
|
3,57 |
150 |
|
|
|
|
|
|
3,81 |
160 |
|
|
|
|
|
|
4,05 |
170 |
|
|
|
|
|
|
4,29 |
180 |
|
|
|
|
|

1. Защитный слой
2. Гидроизоляционный ковер
3. Верхний слой - ISOVER Dachoterm G
4. Нижний слой - ISOVER Dachoterm SL
5. Пароизоляция
6. Выравнивающий слой из легкого бетона
7. Несущее ж/б перекрытие
Еще одним вариантом утепления кровли по бетонному основанию является двухслойная система изоляции, выполненная из каменной ваты: верхний слой состоит из плит ISOVER Dachoterm G, нижний слой - из плит ISOVER Dachoterm SL.
Плиты верхнего слоя Dachoterm G укладывают «вразбежку», т.е. так, чтобы они перекрывали стыки плит нижнего слоя Dachoterm SL.
Теплоизоляцию крепят к основанию кровли сквозь все слои изоляции с помощью специальных тарельчатых дюбелей. Длину крепежа выбирают таким образом, чтобы между нижним концом крепления и конструкцией основания оставался зазор для отпружинивания сжатого изоляционного материала.
После установки теплоизоляцию защищают гидроизоляцией. Монтажные швы и защитные приспособления выполняют таким образом, чтобы они не позволяли влаге проникать в теплоизоляционный слой. Гидроизоляцию наплавляют (или приклеивают) непосредственно к поверхностному слою теплоизоляции. Швы при этом закрепляют механическим способом. Однослойные гидроизоляционные покрытия закрепляют всегда с помощью механических креплений, которые проходят через изоляцию в основание кровли.
|
Классификация |
ISOVER Dachoterm G, Dachoterm SL |
|
|
Сертификат соответствия |
N РОСС PL.CA24.H01307 |
|
|
Пожарный сертификат |
N ССПБ. PL.ОП002.B.00871 |
НГ |
|
Гигиенический сертификат |
N 78.01.06.570.П.002496.05.03 |
|
|
Технические характеристики |
|||||
|
Название материала |
Термическое сопротивление, при условиях эксплуатации Б м2K/Вт |
Толщина, мм |
Ширина, мм |
Длина, мм |
Прочность на сжатие при 10 % деформации, кПа |
|
ISOVER Dachoterm G |
0,82 |
40 |
500 |
1000 |
≥ 60 |
|
ISOVER Dachoterm SL* |
1,28 |
60 |
500 |
1000 |
≥ 35 |
|
1,70 |
80 |
|
|
|
|
|
2,13 |
100 |
|
|
|
|
|
2,34 |
110 |
|
|
|
|
|
2,55 |
120 |
|
|
|
|
|
2,98 |
140 |
|
|
|
|
|
3,19 |
150 |
|
|
|
|
|
3,83 |
180 |
|
|
|
|
* - материал может поставляться на палетах 1000×1200 мм.

1. Защитный слой
2. Гидроизоляционный ковер
3. Верхний слой: ISOVER OL-K-30-UPO (плиты с канавками 15×15 мм)
4. Нижний слой: ISOVER OL-P
5. Пароизоляция
6. Профилированный настил
7. Крепеж
Для дополнительной вентиляции теплоизоляционного ковра в качестве верхнего изоляционного слоя компания «Сан-Гобэн Изовер» рекомендует применять плиты ISOVER OL-K-30 с вентиляционными канавками на нижней стороне. Канавки размером 15×15 мм располагаются с шагом 100 мм параллельно длинной стороне. Такие плиты обозначаются маркировкой OL-K-30-UPO.
Благодаря тому, что плита OL-K-30 обладает достаточной жесткостью, канавки не ослабляют ее прочностные характеристики, обеспечивая хорошую циркуляцию воздуха и улучшая тем самым вентиляцию. Воздушный поток вытягивает влагу, скапливающуюся в процессе эксплуатации в теплоизоляционном ковре, осушает его и улучшает теплоизолирующие свойства.
Основы монтажа вентилируемого покрытия:
Плиты OL-K-30-UPO монтируют таким образом, чтобы канавки были направлены от свеса кровли к коньку или от ендовы к укосу конька. Канавки соединяют коллекторными каналами на коньке и ендове, а также у края свеса.
В коллекторные каналы монтируются вентиляционные трубы (вентиляторы низкого давления с минимальным диаметром 110 мм). Таким образом обеспечивается необходимая циркуляция воздуха между свесом и укосами конька на расстоянии не менее 10 м в каналах ендовы и через 6 - 8 м в каналах конька.
|
Классификация |
ISOVER OL-K-30-UPO, OL-P |
|
|
Сертификат соответствия |
N РОСС FI.CA24.H01287 |
|
|
Пожарный сертификат |
N ССПБ.FI.ОП002.Н.00600 |
Г1 |
|
Гигиенический сертификат |
N 78.01.06.570.П.002494.05.03 |
|
|
Технические характеристики |
||||||
|
Название материала |
Термическое сопротивление, при условиях эксплуатации Б м2K/Вт |
Толщина, мм |
Название материала |
Ширина, мм |
Длина, мм |
Прочность на сжатие при 10 % деформации, кПа |
|
ISOVER ≥ OL-KA (OL-K-30-UPO + OL-P) |
2,38 |
100 |
OL-K-30-UPO |
1180 |
1550 |
≥ 60 |
|
2,86 |
120 |
OL-P |
1190 |
1380 |
≥ 35 |
|
|
3,10 |
130 |
|
|
|
|
|
|
3,33 |
140 |
|
|
|
|
|
|
3,57 |
150 |
|
|
|
|
|
|
3,81 |
160 |
|
|
|
|
|
|
4,05 |
170 |
|
|
|
|
|
|
4,29 |
180 |
|
|
|
|
|
Комбинированное применение стеклянного и каменного волокна для утепления плоских кровель оптимально подходит для проектов с высокими эксплуатационно-техническими требованиями.

1. Защитный слой
2. Гидроизоляционный ковер
3. Верхний слой: ISOVER OL-K-30
4. Нижний слой: ISOVER Dachoterm SL
5. Пароизоляция
6. Профилированный настил
7. Крепеж
Комбинированная кровля это современная система изоляции, состоящая из стеклянной и каменной ваты. В качестве верхнего слоя в ней используют плиты ISOVER OL-K-30, в качестве нижнего - плиты ISOVER Dachoterm SL. Такой вариант утепления условно называют «золотой кровлей» за ее великолепные теплотехнические и эксплуатационные характеристики.
Преимущества решения:
1. Стекловолокно обладает лучшими теплотехническими характеристиками, чем каменная вата. Это позволяет обеспечить требуемое значение термического сопротивления при меньшей толщине утеплителя. Благодаря этому, уменьшается вес теплоизоляционного ковра, а значит, и нагрузка на несущую конструкцию.
2. Плиты верхнего слоя имеют более высокую плотность, а значит, и более высокую нагрузочную способность. Кроме того, плиты OL-K-30 кашированы стеклохолстом, поэтому нагрузки на плиту распределяются равномерно. Таким образом, нагрузочная способность кровли оказывается выше, чем, например, в случае использования только плит из каменной ваты.
3. Благодаря большим размерам, плиты из стеклянного волокна, составляющие верхний слой, позволяют перекрывать большие площади, сокращая тем самым время монтажа изоляции.
4. Шпунтованные кромки обеспечивают надежную фиксацию плит верхнего слоя таким образом, что они образуют неразрывную тепло- и ветрозащитную оболочку, не имеющую «мостиков холода».
|
Классификация |
ISOVER OL-K-30 |
ISOVER Dachoterm SL |
||
|
Сертификат соответствия |
N POCC FI.CA24.H01287 |
N РОСС PL.CA24.H01307 |
||
|
Пожарный сертификат |
N ССПБ. FI.ОП002.Н.00600 |
Г1 |
N ССПБ. PL.ОП002.B.00871 |
НГ |
|
Гигиенический сертификат |
N 78.01.06.570.П.002494.05.03 |
N 78.01.06.570.П.002496.05.03 |
||
|
Технические характеристики |
|||||
|
Название материала |
Термическое сопротивление, при условиях эксплуатации Б м2К/Вт |
Толщина, мм |
Ширина, мм |
Длина, мм |
Прочность на сжатие при 10 % деформации, кПа |
|
ISOVER OL-K-30 Стеклянная вата |
0,71 |
30 |
1180 |
1550 |
≥ 60 |
|
ISOVER Dachoterm SL* Каменная вата |
1,28 |
60 |
500 |
1000 |
≥ 35 |
|
1,70 |
80 |
|
|
|
|
|
2,13 |
100 |
|
|
|
|
|
2,34 |
110 |
|
|
|
|
|
2,55 |
120 |
|
|
|
|
|
2,98 |
140 |
|
|
|
|
|
3,19 |
150 |
|
|
|
|
|
3,83 |
180 |
|
|
|
|
* - материал может поставляться на налетах 1000×1200 мм.
123022, Москва, 2-я Звенигородская ул., 13, корп. 15
Тел.: (095) 775-15-10 (многокан.) Факс: 775-15-11
198103, Санкт-Петербург, Лермонтовский пр-т, 44
Тел.: (812) 327-56-60 Факс: 251-71-65
344010, Ростов-на-Дону, пр. Семашко, 114, офис 305
Тел.: (863) 250-00-55, 250-00-28
603005, Нижний Новгород, Театральная пл., 3, офис 2
Тел.: (8312) 19-89-04, 43-00-34
620026, Екатеринбург, ул. Куйбышева, 44 (ЦМТ), оф. 315
Тел./факс: (343) 359-61-59
630091, Новосибирск, ул. Советская, 64, офис 804
Тел.: (3832) 28-86-75, 34-08-85
Производство:
140300, Московская обл., Егорьевск, ул. Смычка, 60