|
КАРТА ТРУДОВОГО ПРОЦЕССА СТРОИТЕЛЬНОГО ПРОИЗВОДСТВА |
КТ-4.1-1.26-77 |
|
|
Разработана конструкторско-технологическим институтом Минпромстроя СССР* Откорректирована и рекомендована ВНИПИ труда в строительстве Госстроя СССР для внедрения в строительное производство |
||
|
УСТАНОВКА ФУНДАМЕНТОВ СТАКАННОГО ТИПА |
|
|
|
Входит в комплект карт ККТ-4.1-1 Монтаж каркасных зданий из сборных железобетонных элементов серии ИИ-04 |
||
|
Взамен КТ-4.1-1.26-73 |
|
* 300600, г. Тула, проспект Ленина, 108.
1.1. Карта предназначена для организации труда рабочих при установке фундаментов стаканного типа массой 1,5 т.
1.2. Показатели производительности труда
|
|
По карте |
По ЕНиР |
|
Выработка на 1 чел.-день, фундаментов |
9,4 |
5,7 |
|
Затраты труда на один фундамент, чел.-ч |
0,85 |
1,41 |
Примечание. В затраты труда включено время на подготовительно-заключительные работы (4 %) и отдых (12 %).
1.3. Снижение затрат труда и повышение выработки рабочих достигается за счет четкой организации труда в звене и сокращения численного состава звена по сравнению с нормами ЕНиР на одного человека.
2.1. До начала работ необходимо: закончить устройство обносок и вынести на них оси здания; закончить земляные работы и вынести на обноски нулевые отметки; проверить по нивелиру горизонтальность основания под фундаменты (при этом ниже подошвы фундамента не должно быть разрыхленного грунта); защитить (в зимнее время) основания фундаментов из пучинистых грунтов от промерзания; разложить фундаменты в соответствии со схемой производства работ.
2.2. Работы следует выполнять, строго соблюдая правила техники безопасности и охраны труда рабочих согласно СНиП III-А.11-70, § 14.
3.1. Исполнители:
монтажник конструкций IV разряда (М1) - 1
монтажник конструкций III " (М2) - 1
3.2. Инструменты, приспособления и инвентарь
|
Наименование, назначение и основные параметры |
ГОСТ, № чертежа |
Количество, шт. |
|
Строп четырехветвевой грузоподъемностью 4 т, длина ветвей 4 м |
РЧ-508-72 ЦНИИОМТП* |
1 |
|
Рулетка стальная |
РС-10, ГОСТ 7502-69 |
1 |
|
Метр стальной складной |
ГОСТ 7253-54 |
1 |
|
Отвес |
О-400, ГОСТ 7948-71 |
1 |
|
Лопата |
ГОСТ 3620-63 |
2 |
|
Лом монтажный |
ГОСТ 1405-72 |
2 |
|
Молоток-кирочка |
ГОСТ 11042-72 |
2 |
|
Шаблон для проверки установленных фундаментов по высоте |
- |
1 |
* Рабочие чертежи можно приобрести в Бюро внедрения ЦНИИОМТП.
4.1. Операции по укладке фундаментов выполняют в следующем порядке: подготовляют основание и фундамент к установке; стропят и подают фундамент к месту установки; принимают, устанавливают и выверяют его; расстроповывают фундамент.
4.2. Организация рабочего места

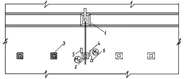
- рабочие места монтажников
1 - башенный кран; 2 - укладываемый фундамент; 3 - уложенный фундамент; 4 - лом; 5 - ящик для инструментов; 6 - лопата
4.3. График трудового процесса

4.4. Описание операций
|
№ по графику |
Наименование операций, их продолжительность,* исполнители и орудия труда; характеристика приемов труда |
|
1 |
2 |
|
1 |
ПОДГОТОВКА ОСНОВАНИЯ ПОД ФУНДАМЕНТ; 7 мин; М1; лопата Монтажник М1, находясь в котловане, очищает и начисто выравнивает гравийное или песчаное основание под фундамент
|
|
2 |
ПОДГОТОВКА ФУНДАМЕНТА К УКЛАДКЕ; 4 мин; М2; метр, лом, молоток-кирочка Монтажник М2 осматривает фундамент, проверяет размеры стакана и целостность монтажных петель, при необходимости выправляя их ломом или молотком. Затем при помощи метра он наносит грифелем на грани стакана фундамента риски осей
|
|
3 |
СТРОПОВКА ФУНДАМЕНТА; 1 мин; М2; строп Монтажник М2 цепляет два крюка четырехветвевого стропа за монтажные петли фундамента. Убедившись в надежности строповки, он отходит на безопасное расстояние и подает команду машинисту крана приподнять фундамент
|
|
4 |
ПОДАЧА ФУНДАМЕНТА К МЕСТУ УКЛАДКИ; 2 мин; М2; строп, лопата Монтажник М2 осматривает нижнюю плоскость фундамента и при необходимости очищает ее от налипшего грунта, после чего машинист крана по его команде поднимает и перемещает фундамент к месту укладки |
|
5 |
ПРИЕМ И УКЛАДКА ФУНДАМЕНТА; 5,5 мин; М1, М2; строп Монтажники М1 и М2 принимают поданный машинистом крана фундамент на расстоянии 50 см от основания и ориентируют его над местом укладки. Затем они центрируют фундамент, совмещая риски на фундаменте с разбивочными осями. По сигналу монтажника М1 машинист крана опускает фундамент на основание
|
|
6 |
ВЫВЕРКА ФУНДАМЕНТА; М1, М2; 5 мин; лом, отвес, шаблон
Монтажник М1 закрепляет отвес в месте пересечения проволочных осей и вместе с монтажником М2 при натянутом стропе рихтует фундамент, добиваясь полного совмещения шнура отвеса с рисками на верхней грани стакана. Затем он подает команду машинисту крана ослабить строп и, вертикально установив шаблон на дне стакана, по совпадению риски на шаблоне с разбивочной осью здания проверяет правильность установки фундамента по высоте |
* На один фундамент.
СОДЕРЖАНИЕ
|
1. Область и эффективность применения карты.. 1 2. Условия и подготовка выполнения процесса. 1 |