ТИПОВЫЕ ТЕХНОЛОГИЧЕСКИЕ КАРТЫ
НА ПРОИЗВОДСТВО ОТДЕЛЬНЫХ ВИДОВ РАБОТ
ТИПОВАЯ
ТЕХНОЛОГИЧЕСКАЯ КАРТА
НА СПЕЦИАЛЬНЫЕ СТРОИТЕЛЬНЫЕ РАБОТЫ
6417030031
81031
МОНТАЖ
ВНУТРЕННИХ СИСТЕМ КАНАЛИЗАЦИИ
ЖИЛЫХ И ОБЩЕСТВЕННЫХ ЗДАНИЙ
|
РАЗРАБОТАНА Государственным проектным институтом «Проектпромвентиляция» Главный инженер П.А. Овчинников Начальник отдела М.К. Митрин Главный специалист М.М. Давыдов |
СОГЛАСОВАНО НПО «Промвентиляция» Главный инженер В.А. Мурашкин Управлением механизации и технологии строительства ГОССТРОЯ СССР Письмо от 27.01.1990 № 12-34 Введены в действие с 1.03.1990 г. |
МОСКВА - 1990
1.1. Типовая технологическая карта составлена на монтаж внутренних систем канализации жилых и общественных зданий, предназначена для использования при разработке проектов производства работ (ППР) и непосредственно при выполнении этих работ с учетом конкретных условий производства и распространяется на:
монтаж трубопроводов систем внутренней канализации и водостоков укрупненными узлами из пластмассовых и чугунных канализационных труб и фасонных частей;
установку санитарно-технических приборов;
испытание систем внутренней канализации и водостоков.
1.2. Карта может быть применена:
при монтаже внутренних систем канализации и водостоков из пластмассовых и чугунных канализационных труб и фасонных частей «россыпью»;
при монтаже санитарно-технических кабин;
при монтаже водосточных бухт-стояков.
1.3. При привязке технологической карты к конкретному объекту уточняются объемы работ и калькуляция затрат труда.
2.1. До начала монтажа систем внутренней канализации и водостоков должны быть выполнены следующие работы:
монтаж междуэтажных перекрытий, стен и перегородок;
устройство траншей для выпусков канализации до первых от здания колодцев;
подготовка под полы, устройство маяков для установки трапов;
устройство опор под трубопроводы, прокладываемые в подпольных каналах и технических подпольях;
подготовка отверстий, борозд, ниш и гнезд в фундаментах, стенах, перегородках, перекрытиях и покрытиях, необходимых для прокладки трубопроводов;
нанесение на стенах вспомогательных отметок, равных отметкам чистого пола плюс 500 мм;
оштукатуривание поверхностей стен, потолков, ниш и борозд (в наружных стенах) в местах установки санитарных приборов и прокладки трубопроводов;
подготовка монтажных проемов в стенах и перекрытиях для подачи санитарно-технического оборудования;
установка в соответствии с рабочей документацией закладных деталей в строительных конструкциях для крепления оборудования и трубопроводов;
устройство искусственного освещения и обеспечение возможности включения электроинструментов и электросварочных аппаратов;
гидроизоляция перекрытий, огрунтовка стен и устройство чистых полов в санитарных узлах (после прокладки и испытания трубопроводов), а также первая окраска стен и потолков и облицовки плитками (после установки ванн, кронштейнов под умывальники и деталей крепления смывных бачков), вторая окраска стен и потолков (после установки умывальников, унитазов и смывных бачков);
остекление оконных проемов, утепление входов и отверстий (при отрицательных температурах наружного воздуха);
обеспечение свободного доступа к месту производства санитарно-технических работ;
установка лесов и подмостей (при необходимости).
До начала монтажа трубопроводов из пластмассовых труб должны быть смонтированы трубопроводы водоснабжения из стальных труб (при совместной прокладке) и закончены все электрогазосварочные работы.
Кроме того, должно быть выполнено:
согласование с генподрядчиком графика совмещенных работ и мест установки и крепления грузоподъемных механизмов (при необходимости);
обеспечение доставки в зону монтажа укрупненных трубных узлов и деталей (или труб и фасонных частей), изделий, санитарных приборов, средств крепления, вспомогательных материалов и т.п. Пластмассовые трубы и трубозаготовки, доставляемые на объект в зимнее время, перед применением в зданиях должны быть выдержаны при положительной температуре не менее 2 ч;
уточнение состава монтажных работ и последовательности их выполнения.
2.2. Состав и последовательность рабочих операций при монтаже трубопроводов систем внутренней канализации и водостоков из пластмассовых и чугунных канализационных труб и фасонных частей:
разметка мест установки креплений с учетом проектных уклонов. Расстояние между креплениями пластмассовых горизонтальных трубопроводов должно быть не более 10 Д, вертикальных - 20 Д (Д - наружный диаметр). Расстояние между креплениями чугунных горизонтальных трубопроводов должно быть не более 2 м, вертикальных - одно крепление на этаж, но не более 3 м между креплениями. Неподвижные крепления на стояках устанавливаются под раструбами;
установка креплений (кронштейнов или подвесок с хомутами) со сверлением отверстий и заделкой цементным раствором или с помощью пристрелки монтажным пистолетом дюбель-гвоздями;
прокладка трубопроводов из готовых узлов (или отдельных деталей) с соединением стыков: в раструб на резиновых кольцах со смазкой их и гладких концов соединяемых труб или фасонных частей глицерином или мыльным раствором (для канализации и водостоков из пластмассовых труб), или с заделкой смоляным канатом и раствором расширяющегося цемента (для канализации и водостоков из чугунных труб); при помощи фланцев с установкой готовых прокладок и затяжкой болтов (для водостоков из пластмассовых труб). В санитарно-технических кабинах заводского изготовления прокладка междуэтажных вставок производится путем выдвижения гладкого конца из компенсационного патрубка нижерасположенной кабины и надвижения раструба на гладкий конец вышерасположенной кабины. Прокладка водосточной бухты стояка производится путем размотки непосредственно в штрабу или шахту или с предварительной размоткой в плеть и последующим опусканием с высоты не менее 1,5 м и предварительной сборкой (по мере опускания) крепежных хомутов; укладка стояка - змейкой на расстоянии не менее 20 мм от строительных конструкций; установка водосточной воронки с переходной стальной деталью и соединение со стояком и выпуском из стальных труб на фланцах;
крепление трубопроводов разъемными хомутами (с установкой прокладок - для пластмассовых труб) и затяжкой болтов;
выверка трубопроводов.
2.2.1. Пластмассовые трубы и фасонные части следует оберегать от ударов, надрезов и царапин. Конопатки при заделке стыков должны иметь гладкую поверхность и скругленные кромки.
2.2.2. Соединение гладкого конца пластмассовой трубы или фасонной части с раструбом чугунной трубы следует выполнять с помощью круглого резинового уплотнительного кольца с последующим заполнением зазора расширяющимся цементом.
2.2.3. Схемы монтажа узлов канализации (водостоков) показаны на стр. 6 (7).
2.3. Состав и последовательность рабочих операций при установке санитарно-технических приборов:
разметка мест установки прибора и кронштейнов (при наличии);
установка кронштейнов при вариантах: на шурупах (разметка мест сверления отверстий - по шаблону, сверление, установка хлорвиниловых втулок и крепление кронштейнов); при помощи монтажного пистолета (пристрелка кронштейнов под приборы или пристрелка подкладок под кронштейны и установка кронштейнов).
Пристрелку дюбелями рекомендуется производить к кирпичным (из сплошного кирпича) и бетонным стенам;
установка выпуска (для приборов со съемным выпуском);
установка сифона на выпуск прибора или на трубопровод канализации (для приборов без встроенных сифонов);
установка переливов и переливных труб (для ванн и глубоких душевых поддонов);
установка санитарно-технических приборов при вариантах:
на шурупах (раковины, питьевые фонтанчики, писсуары, унитазы, видуары, бидэ, ножные ванны). При креплении унитаза шурупами и бетонному полу под основание следует устанавливать прокладку, к тафте резиновая прокладка не требуется;
на кронштейнах (умывальники, мойки, высокорасположенные смывные бачки);
на кронштейнах с креплением к ним прибора винтами (стальные мойки);
на подстолье (мойки);
на эпоксидном клее (унитазы, видуары, бидэ, ножные ванны) с удалением пыли с поверхности пола и подошвы прибора ветошью (при необходимости - обезжиривание ацетоном), разметкой при помощи шаблона или самого прибора площади склеивания, нанесением металлической лопаткой клея слоем не менее 2 мм на склеиваемые поверхности (подошву прибора и пол) при температуре не ниже +5 °С с плотным прижатием прибора к полу и выдержкой без нагрузки в неподвижном положении до набора прочности клеевого соединения не менее 12 ч. Состав клея в процентах по массе: мономер ФА - 21,3; эпоксидная смола ЭД-5 или ЭД-6 - 4,25; портландцемент марки не ниже 400 - 70,2; полиэтиленполиамин - 4,25;
на цементно-песчаном растворе (марки не ниже 100) на бетонных полах с метлахской плиткой или цементной стяжкой (унитазы, видуары, бидэ, ножные ванны) с очисткой пола от загрязнения в месте установки прибора (протереть насухо), разметкой при помощи шаблона или самого прибора площади склеивания, покрытием склеиваемых поверхностей (прибора и пола) 5 %-ным раствором соляной кислоты при помощи кисти, нанесением раствора слоем 8 - 10 мм на склеиваемую поверхность прибора при температуре не ниже +5 °С с плотным прижатием прибора к полу и выдержкой без нагрузки в неподвижном положении до набора прочности соединения не менее 72 ч. Составы растворов в процентах по массе: цемент марки 400 - 33,3; песок - 66,7 или цемент марки 500 или 400 (пластифицированный или расширяющийся) - 25,0; песок - 75,0 или цемент марки 500 (пластифицированный или расширяющийся) - 20,0; песок - 80,0;
на ножках или подставках с прокладками (ванны);
на железобетонных подставках или металлическом каркасе (поддоны глубокие);
на основании (поддоны мелкие, писсуары напольные, трапы);
на полочке другого прибора (смывной бачок для унитаза «Компакт»);
на подставках (групповая установка умывальников);
установка смывных труб к высокорасполагаемым смывным бачкам с присоединением к смывному бачку на резьбовом соединении и унитазу с помощью резиновой муфты;
присоединение приборов к трубопроводам канализации и водопровода;
присоединение уравнителей электрических потенциалов (ванны, поддоны) к приборам и трубопроводам холодного водоснабжения с зачисткой мест присоединения до блеска;
установка сидений (для унитазов);
установка кожухов на каркас питьевых фонтанчиков.
СХЕМА РАЗВОДКИ ТРУБОПРОВОДОВ КАНАЛИЗАЦИИ В ПОДВАЛЕ СЕКЦИИ ЖИЛОГО ДОМА

Узлы канализации условно показаны несоединенными. Места креплений трубопроводов, не показанных на схеме, обозначены крестиками
СХЕМА УСТАНОВКИ ПЛАСТМАССОВОГО ТРАПА Ду 100 мм

1 - трап; 2 - гидроизоляционный замок; 3 - пластмассовое колено; 4 - монтажное отверстие в перекрытии; 5 - узел соединения пластмассового колена с чугунным раструбом; 6 - подвеска
УЗЕЛ СОЕДИНЕНИЯ СТОЯКОВ ИЗ ПВД С ЧУГУННЫМИ ВОДОСТОЧНЫМИ ВОРОНКАМИ

1 - водосточная воронка; 2 - сливной патрубок воронки; 3 - цемент; 4 - пакля ленточная пропитанная; 5 - стальная переходная деталь; 6 - фланец; 7 - резиновая прокладка; 8 - отбортованный патрубок из ПВД; 9 - сварной шов; 10 - прочистка; 11 - стояк из труб ПВД
УЗЕЛ СОЕДИНЕНИЯ СТОЯКА ИЗ ПВД СО СТАЛЬНЫМ ОТВОДНЫМ ТРУБОПРОВОДОМ

1 - стояк из ПВД; 2 - сварной шов; 3 - переходная деталь; 4 - стальной запрессованный патрубок; 5 - цемент; 6 - пакля ленточная пропитанная; 7 - стальная шайба; 8 - стальной отводной трубопровод; 9 - опора из стальной полосы 200×200×10; 10 - фланец; 11 - резиновая прокладка; 12 - прочистка
2.3.1. Выпуск унитаза следует соединять непосредственно с раструбом отводной трубы или с отводной трубой с помощью чугунного, полиэтиленового патрубка или резиновой муфты.
2.3.2. Высоту установки санитарно-технических приборов от уровня чистого пола следует принимать, мм:
в жилых, общественных зданиях (и школах): до верха борта умывальника - 800 (700), до верха борта раковин и моек - 850, до низа высокорасполагаемого смывного бачка к унитазу - 1800, до борта настенных писсуаров - 650 (450), от дна лотка до оси смывной трубы к лотковым писсуарам - 1500, до борта питьевых фонтанчиков подвесного типа - 900 (750), до верха борта умывальника (при установке общего смесителя для умывальника и ванны) - 850;
в лечебных учреждениях: до верха борта мойки инвентарной чугунной - 650, мойки для клеенок - 700;
в детских дошкольных учреждениях: до борта умывальников - 500, до борта ванн на постаментах и глубоких душевых поддонов - 600, до борта мелких душевых поддонов в дошкольных группах - 300.
Допускаемые отклонения высоты установки отдельно стоящих приборов не должны превышать ±20 мм, а при групповой установке однотипных приборов ±5 мм.
2.3.3. В период монтажа открытые концы трубопроводов, водосточных воронок и трапов необходимо предохранять от попадания в них строительного мусора (инвентарные заглушки, полиэтиленовые пленки и т.п.).
2.3.4. Схемы установки санитарно-технических приборов показаны на стр. 10 - 14.
2.4. Состав и последовательность рабочих операций при испытании систем внутренней канализации и водостоков:
наружный осмотр трубопроводов и санитарно-технических приборов;
испытание проливом: наполнение приборов водой и проверка переливных устройств (при наличии); регулировка поплавков (для смывных бачков); спуск воды из прибора; осмотр выпуска прибора, сифона (при наличии), отводящего трубопровода от прибора и участков трубопроводов от нескольких приборов с отметкой мелом мест дефектов (течей). Осмотр участков трубопроводов должен выполняться при одновременном открытии 75 % санитарно-технических приборов, подключенных к проверяемому участку в течение времени, необходимого для его осмотра;
испытание наполнением: установка заглушек на выпуски (систем канализации или водостоков) и водосточные воронки, присоединяемые к одному стояку и расположенные на более низком уровне; наполнение трубопроводов водой (из системы постоянного или временного холодного водоснабжения или при помощи специального опрессовочного агрегата) до уровня пола первого этажа (при испытании трубопроводов канализации, проложенных в земле или подпольных каналах) или до уровня наивысшей воронки (при испытании водостоков); осмотр трубопроводов с отметкой мелом мест дефектов (течей). Продолжительность испытания систем из чугунных труб - 10 мин, из пластмассовых - 20 мин;
спуск воды через заглушки с вентилем на выпусках систем канализации или водостоков до уровня нижнего дефектного места (при испытании наполнением);
устранение дефектов и повторное испытание;
снятие заглушек и спуск воды (по окончании испытаний наполнением).
2.4.1. Трубопроводы считаются выдержавшими испытания, если при осмотре не обнаружено течи через стенки трубопроводов и места соединений (при испытании проливом или наполнением), а уровень воды в стояках не понизился (при испытании наполнением).
2.4.2. В зимнее время испытание производится при устойчивой температуре воздуха внутри здания не ниже +5 °С.
2.4.3. Испытание пластмассовых трубопроводов следует проводить не ранее, чем через 24 ч после выполнения последнего клеевого соединения и не ранее, чем через 2 ч после выполнения последнего сварного соединения.
2.4.4. По окончании испытаний составляют акт освидетельствования скрытых работ для трубопроводов, скрываемых при последующих работах (в междуэтажных перекрытиях, в земле и т.п.) согласно обязательному приложению 6 СНиП 3.01.01-85 и акты испытания систем канализации и водостоков согласно обязательному приложению 4 СНиП 3.05.01-85.
2.4.5. Схемы систем канализации, водостоков, узлы соединения и приспособления для крепления трубопроводов даны на стр. 15 - 17.


МОНТАЖНОЕ ПОЛОЖЕНИЕ ПИТЬЕВОГО ФОНТАНЧИКА

МОНТАЖНОЕ ПОЛОЖЕНИЕ ВАННЫ

1. Трубопровод горячего водоснабжения
2. То же, холодного
3. То же, канализации
РЕЗИНОВАЯ МАНЖЕТА ДЛЯ ПРИСОЕДИНЕНИЯ ЧУГУННОГО СИФОНА ВАННЫ ОТ ДУШЕВОГО ПОДДОНА К ТРУБОПРОВОДУ КАНАЛИЗАЦИИ

Внедрено в тресте «Киевспецстрой»
1 - раструбная часть; 2 - ребра жесткости; 3 - отводящая трубка; 4 - паз; 5 - кольцевой выступ


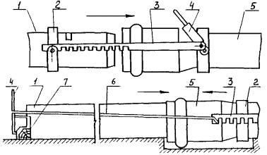
СХЕМА ГИДРОСТАТИЧЕСКОГО ИСПЫТАНИЯ ОТВОДНЫХ ТРУБОПРОВОДОВ, ПРОЛОЖЕННЫХ В КОНСТРУКЦИЯХ МЕЖДУЭТАЖНЫХ ПЕРЕКРЫТИЙ

СХЕМА СИСТЕМЫ ВОДОСТОКОВ ОБЩЕСТВЕННОГО ЗДАНИЯ, ПОДГОТОВЛЕННОЙ К ИСПЫТАНИЮ

СХЕМА СТЫКОВОЙ СВАРКИ

а - подготовка заготовок к сварке; б - оплавление торцов заготовок; в - технологическая пауза; г - осадка стыка и охлаждение сварного соединения;
1 - свариваемые заготовки; 2 - нагревательный инструмент
СБОРКА РАСТРУБНОГО СОЕДИНЕНИЯ НА РЕЗИНОВОМ КОЛЬЦЕ С ПОМОЩЬЮ РЫЧАЖНЫХ ПРИСПОСОБЛЕНИЙ

1 - труба с гладким концом; 2 - хомут; 3 - тяга; 4 - рычаг; 5 - труба с раструбом; 6 - удлинитель; 7 - прокладка из твердого дерева
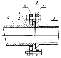
ФЛАНЦЕВОЕ СОЕДИНЕНИЕ, ВЫПОЛНЕННОЕ С ПОМОЩЬЮ ПРИКЛЕЕННЫХ ВТУЛОК ПОД ФЛАНЦЫ

1 - фланцы стальные свободные;
2 - втулки приклеенные (ПВХ);
3 - труба ПВХ;
4 - прокладка резиновая
ФЛАНЦЕВОЕ СОЕДИНЕНИЕ ПЛАСТМАССОВОЙ И МЕТАЛЛИЧЕСКОЙ ТРУБ

1 - труба пластмассовая;
2 - труба стальная;
3 - патрубок пластмассовый;
4 - фланец стальной, одеваемый на патрубок до выполнения сварного соединения патрубка с трубой;
5 - сварной шов;
6 - резиновая прокладка;
7 - фланец стальной приварной
ФЛАНЦЕВОЕ СОЕДИНЕНИЕ, ВЫПОЛНЕННОЕ С ПОМОЩЬЮ ПРИВАРЕННЫХ ВТУЛОК ПОД ФЛАНЦЫ

1 - фланцы стальные;
2 - втулки пластмассовые приваренные;
3 - трубка ПЭ;
4 - прокладка резиновая
Расчет 1. Нормы времени на грунтование и окрашивание
Производительность установки СО-169 Вт = 260 м2/ч.
Коэффициент перехода от технической производительности к эксплуатационной Кэ = 0,45.
Вэ = Кэ · Вт = 0,45 · 260 = 117 м2/ч.
Состав звена: маляры 4 разр. - 1; 3 разр. - 1.
![]()
Расчет 2. Нормы времени на нанесение шпатлевки
Расход материала при шпатлевании превышает расход окрасочного состава в 1,8 раза (общие производственные нормы расхода материалов в строительстве). Соответственно увеличивается продолжительность нанесения шпатлевочных составов; норма времени на выполнение этих работ:
Н.вр. = 1,7 × 1,8 = 3,09 чел.-ч.
Расчет 3. Расценки при выполнении технологических операций
В соответствии с разделом «Организация и технология выполнения работ» устройство декоративных покрытий производится звеном из трех маляров (2, 3 и 4-го разрядов), тарифные ставки которых: Т2 = 0,64 руб./чел.-ч; Т3 = 0,70 руб./чел.-ч; Т4 = 0,79 руб./чел.-ч.
Расценки при выполнении технологических операций определяются как сумма произведений норм времени каждого из участников работы на его тарифную ставку.
Расц. = Н.вр.2 × Т2 + Н.вр.3 × Т3 + Н.вр.4 × Т4.
Нормы времени на выполнение каждого вида работ соответствуют затратам труда и определяются из графика производства работ (см. табл. 6).
Результаты расчетов сведены в табл. 9.
Таблица 9
|
Наименование технологической операции |
Н.вр.2, чел.-ч |
Н.вр.3, чел.-ч |
Н.вр.4, чел.-ч |
Н.вр., чел.-ч |
Н.вр.2 × Т2, руб. |
Н.вр.3 × Т3, руб. |
Н.вр.4 × Т4, руб.. |
Расц., руб.-коп. |
|
1. Очистка |
0,11 |
0,100 |
0,100 |
0,31 |
0,070 |
0,070 |
0,079 |
0-21,9 |
|
2. Сглаживание поверхности |
0,40 |
0,400 |
0,400 |
1,20 |
0,256 |
0,280 |
0,317 |
0-85,3 |
|
3. Расшивка или заполнение трещин и частичное подмазывание |
0,90 |
0,910 |
0,910 |
2,72 |
0,576 |
0,637 |
0,719 |
1-93,2 |
|
4. Проолифливание |
- |
0,855 |
0,855 |
1,71 |
- |
0,598 |
0,675 |
1-27,3 |
|
5. Проолифливание подмазанных мест |
1,40 |
- |
- |
1,40 |
0,896 |
- |
- |
0-89,6 |
|
6. Шлифование подмазанных мест |
0,72 |
- |
- |
0,72 |
0,461 |
- |
- |
0-46,1 |
|
7. Шпатлевание механизированное |
- |
1,545 |
1,545 |
3,09 |
- |
1,083 |
1,222 |
2-30,5 |
|
8. Разглаживание шпатлевки |
1,83 |
2,585 |
2,585 |
7,00 |
1,171 |
1,810 |
2,042 |
5-02,3 |
|
9. Шлифование прошпатлеванных поверхностей |
3,60 |
- |
- |
3,60 |
2,304 |
- |
- |
2-30,4 |
|
10. Грунтование |
- |
0,855 |
0,855 |
1,71 |
- |
0,598 |
0,675 |
1-27,3 |
|
11. Окрашивание первое |
- |
0,855 |
0,855 |
1,71 |
- |
0,598 |
0,675 |
1-27,3 |
|
12. Окрашивание второе |
- |
0,855 |
0,855 |
1,71 |
- |
0,598 |
0,675 |
1-27,3 |
КРОНШТЕЙН ДЛЯ КРЕПЛЕНИЯ СТОЯКА ВОДОСТОКА К СТРОИТЕЛЬНЫМ КОНСТРУКЦИЯМ

а) под пристрелку б) под забивку
1 - болт М6×30; 2 - гайка М6; 3 - полоса 20×2; 4 - круг 8

1 - 4 - полоса 4×30; 5 - гайка М6; 6 - шайба 6; 7 - болт М6×30; 8 - пластина резиновая δ = 3 (для пластмассового стояка); 9 - круг 6
КРОНШТЕЙН ПОЛИЭТИЛЕНОВЫЙ Кр50 ДЛЯ КРЕПЛЕНИЯ ПЛАСТМАССОВЫХ ТРУБ Дн50

1 - винт М5×35;
2 - гайка М5;
3 - шайба 5;
4 - полоса 25×3;
5 - дюбель-гвоздь


Перед началом монтажа проводится входной контроль качества применяемых материалов, трубной заготовки, сантехприборов, измерительных инструментов, при котором внешним осмотром устанавливается соответствие их требованиям стандартов или других нормативных документов и рабочей документации, а также наличие и содержание паспортов, сертификатов и других сопроводительных документов.
Технические критерии и средства контроля операций и процессов (прокладка, испытание трубопроводов, установка сантехприборов) приводятся в табл. 1.
Таблица 1
|
Наименование процессов, подлежащих контролю |
Предмет контроля |
Инструмент и способ контроля |
Время контроля |
Ответственный контролер |
Технические критерии оценки качества |
|
Разметка мест прокладки трубопроводов и установка креплений |
Соблюдение проектных уклонов, соосности трубопроводов, вертикальности стояков |
Складной металлический метр, отвес, уровень |
После установки креплений |
Рабочие, бригадир - самоконтроль. Мастер (прораб) - выборочный контроль |
Проект |
|
|
Прочность установки кронштейнов |
Визуальный |
То же |
То же |
Внешний осмотр, пробный отрыв |
|
Сборка деталей и узлов трубопроводов |
Правильность и прочность заделки стыков, отсутствие перекосов |
Визуальный |
В процессе выполнения сборки |
Рабочие, бригадир - самоконтроль. Мастер (прораб) - выборочный контроль |
Внешний осмотр |
|
Крепление узлов и трубопроводов к кронштейнам хомутами |
Направление раструбов труб и фасонных частей (против тока воды) |
Визуальный |
После монтажа |
Проект, СНиП 3.05.01-85, п. 3.12 |
|
|
Разметка мест установки прибора, сверление отверстий под крепление (или пристрелка подкладок под кронштейны) |
Высота установки прибора, глубина, диаметр отверстий |
Уровень, складной металлический метр |
До и после сверления отверстий |
СНиП 3.05.01-85, п. 3.15 |
|
|
Присоединение выпуска, переливной трубы, ножек, уравнителя потенциалов (для ванн) |
Комплектность, правильность соединения |
Визуальный |
Во время монтажа |
Внешний осмотр |
|
|
|
Высота борта, уклон днища в сторону выпуска |
Отвес, уровень, складной металлический метр |
|
ГОСТ 1154-80* |
|
|
Установка и крепление прибора |
Фиксация положения и крепления прибора |
Визуальный |
После установки |
СНиП 5.05.01-85, п.п. 3.14 - 3.15 |
|
|
Подсоединение слива к сифону и заделка стыка сифона с отводным раструбом канализации |
Плотность, герметичность соединения |
Визуальный |
После подсоединения |
Мастер (прораб) - выборочный контроль |
Внешний осмотр СНиП 3.05.01-85, п.п. 3.12 - 3.13 |
|
Подготовка к испытанию канализации и водостоков |
Утепление в зимнее время наружных проемов и отверстий в ограждающих конструкциях здания |
Визуальный |
Перед испытанием |
Проект, ППР |
|
|
|
Обеспечение температуры в помещениях здания и воды в системах холодного и горячего водоснабжения не ниже +5 |
Термометр |
То же |
СНиП 3.05.01-85, п. 4.3 |
|
|
|
Наличие водоразборной арматуры |
Визуальный |
Перед испытанием |
Мастер (прораб) - сплошной контроль |
Проект |
|
|
Установка нижних пробок в двухоборотных и стаканчиков в бутылочных сифонах |
Регистрационный |
То же |
То же |
СНиП 3.05.01-85, п. 3.17 |
|
|
Наличие заглушек на выпусках и на всех нижерасположенных воронках |
Визуальный |
|
|
СНиП 3.05.01-85, п. 4.13 |
|
Испытание проливом |
Наличие 75 % открытых приборов |
Визуальный |
Во время испытания |
Рабочие, бригадир, мастер, прораб - сплошной контроль |
СНиП 3.05.01-85, п. 4.13 |
|
|
Отсутствие течей |
То же |
То же |
То же |
То же |
|
Испытание наполнением |
Заполнение водой до уровня первого этажа, для водостоков - до наивысшей воронки |
|
|
Мастер (прораб) - сплошной контроль |
СНиП 3.05.01-85, п. 4.13, п. 4.15 |
|
|
Отсутствие течей, для водостоков - измерение уровня воды в наивысшей водосточной воронке в течение 10 мин |
Визуальный и измеритель - (часы) |
|
То же |
То же |
Таблица 2
|
Наименование процесса |
Номер фасета для пересчета показателей |
Единица измерения |
Объем работ |
Обоснование (ЕНиР и др. нормы) |
Норма времени рабочих, чел.-ч |
Расценка рабочих, р.-к. |
Затраты труда рабочих, чел.-ч |
Заработная плата, р.-к. |
|
Прокладка полиэтиленовых трубопроводов канализации диаметром 50 мм |
21 |
м |
100 |
ЕНиР, сб. Е9, вып. 1 § Е9-1-4, табл. 2, п. 1а |
0,18 |
0-14,2 |
18,00 |
14-20 |
|
Прокладка полиэтиленовых трубопроводов канализации диаметром 100 мм |
21 |
м |
100 |
ЕНиР, сб. Е9, вып. 1 § Е9-1-4, табл. 2, п. 2а |
0,16 |
0-12,7 |
16,00 |
12-70 |
|
Испытание и окончательная проверка при сдаче системы |
26 |
100 м |
2,0 |
ЕНиР, сб. Е9, вып. 1 § Е9-1-8, табл. 2 |
9,40 |
7-99 |
18,80 |
15-98 |
|
Установка умывальников с креплением кронштейнов с помощью монтажного пистолета |
28 |
Прибор |
100 |
ЕНиР, сб. Е9, вып. 1, § Е9-1-16, табл. 1 |
0,59 |
0-46,6 |
59,00 |
46-60 |
|
Установка ванн чугунных со сборкой переливной трубы на месте |
34 |
То же |
100 |
ЕНиР, сб. Е9, вып. 1 § Е9-1-16, табл. 2 |
2,1 |
1-66 |
210,00 |
166-00 |
|
Установка унитазов с креплением эпоксидным кукерсальным клеем |
35 |
" |
100 |
То же |
0,29 |
0-22,7 |
29,00 |
22-70 |
|
Установка смывных бачков для унитазов типа «Компакт» |
35 |
" |
100 |
-"- |
0,48 |
0-37,9 |
48,00 |
37-90 |
|
Установка сиденья |
- |
" |
100 |
-"- |
0,31 |
0-24,5 |
31,00 |
24-50 |
|
Установка моек на одно отделение на шкафчике с прокладкой трубопроводов внутри шкафчика |
- |
" |
100 |
ЕНиР, сб. Е9, вып. 1 § Е9-1-16, § Е9-1-18
|
0,60 |
0-47,4 |
60,00 |
47-40 |
|
ИТОГО |
489,80 |
387-98 |
||||||
Потребность в инструменте, инвентаре и приспособлениях приведена в табл. 4.
Таблица 4
|
Марка, техническая характеристика, ГОСТ, № чертежа |
Количество |
Назначение |
|
|
Молоток слесарный |
Масса 800 г (тип 2) ГОСТ 2310-77* |
2 |
Слесарные работы |
|
Зубило слесарное |
l = 200 мм (20×70°) ГОСТ 7211-86*Е |
2 |
То же |
|
Напильник плоский тупоносый |
ГОСТ 1465-80* |
1 |
-"- |
|
Рулетка измерительная металлическая (или метр складной металлический) |
Цена дел. 1 мм ГОСТ 7502-80* |
2 |
Измерительные работы |
|
Уровень строительный |
l = 300 мм тип УС1-300 ГОСТ 9416-63 |
2 |
Проверка вертикальности |
|
Отвес |
тип 0-200 ГОСТ 7948-80 |
2 |
То же |
|
Ключ гаечный с открытым зевом двусторонний |
ГОСТ 2839-80*Е М 6×8 (10×12) |
2 |
Выполнение соединений |
|
То же |
М 6×8 (10×14) |
2 |
То же |
|
-"- |
М 10×12 (17×19) |
4 |
-"- |
|
-"- |
М 14×16 (22×24) |
4 |
-"- |
|
-"- |
М 18×22 (27×32) |
4 |
-"- |
|
Конопатка |
- |
2 |
Заделка стыков чугунной канализации |
|
Чеканка |
- |
2 |
То же |
|
Ключ трубный рычажный |
№ 2 ГОСТ 18981-73* |
1 |
Соединение трубопроводов |
|
То же |
№ 1 |
2 |
То же |
|
Ключ с мягкими губками |
СТД 916/4 |
2 |
-"- |
|
Ключ комбинированный |
Стр. 25 |
1 |
Для затяжки выпуска |
|
Ключ для сифона |
2 |
- |
|
|
Ключ 2-сторонний для гаек пластмассовых сифонов |
Стр. 25 |
1 |
- |
|
Шаблон для разметки отверстий под шурупы для унитаза |
Изготовить на месте |
1 |
- |
|
Шаблон для разметки мест установки кронштейнов мойки |
Изготовить на месте |
1 |
- |
|
Шаблон для разметки мест установки кронштейнов умывальника |
Стр. 26 |
1 |
- |
|
Отвертка слесарно-монтажная |
А250×1,4 ГОСТ 24437-80 |
2 |
Для крепления шурупов |
|
Металлическая лопата |
|
1 |
- |
|
Кисть |
|
1 |
Для нанесения клея |
|
Ящик инструментальный трехсекционный |
408×208×300 ВНИИ МСС СССР |
2 |
Хранение инструмента |
|
Пистолет монтажный поршневой (комплект) |
ПЦ-521 |
1 |
Пристрелка кронштейнов к стене |
|
Приспособление для монтажа пластмассовых труб |
НИИ Мосстроя, (стр. 26) |
2 |
Соединение пластмассовых труб |
|
Ведро |
|
1 |
Для вспомогательных работ |
|
Перчатки резиновые (пара) |
|
1 |
То же |
|
Ножовка для пластмассовых труб |
Высота зубьев 2,5 ÷ 3,0 мм, шаг 2 ÷ 3 мм, развод 0,5 ÷ 0,7 мм |
1 |
Корректировка длины труб |
|
Набор инвентарных заглушек |
|
1 |
Испытание трубопроводов |
|
Машина ручная сверлильная электрическая |
ИЭ-1023А |
1 |
Сверление отверстий |
|
Набор сверл Ø 6 - 9 мм |
ГОСТ 17274-71*, твердосплавные |
2 |
То же |
КЛЮЧ ДЛЯ НАВИНЧИВАНИЯ УПЛОТНИТЕЛЬНОЙ ГАЙКИ ПЛАСТМАССОВОГО ТРАПА Ду 100 мм

ДВУСТОРОННИЙ КЛЮЧ ДЛЯ ПЛАСТМАССОВЫХ ГАЕК СИФОНОВ УМЫВАЛЬНИКОВ, РАКОВИН, МОЕК (СТЗ ТОЛЩИНОЙ 4 мм)

КОМБИНИРОВАННЫЙ КЛЮЧ ЗАТЯЖКИ ВЫПУСКОВ ВАНН, ДУШЕВЫХ ПОДДОНОВ, МОЕК, УМЫВАЛЬНИКОВ

КЛЮЧИ ДЛЯ СИФОНОВ ВАНН И ДУШЕВЫХ ПОДДОНОВ (СТЗ ТОЛЩИНОЙ 4 мм)
Для пластмассовых сифонов

Для чугунных сифонов

Внедрены в тресте «Киевспецстрой»
1 - корпус;
2 - рычаг;
3 - упорная гайка;
4 - отверстие в наладке;
5 - 8 - насадки для выпусков ванн, душевых поддонов, моек умывальников;
9 - болт с гайкой
ШАБЛОН ДЛЯ РАЗМЕТКИ МЕСТ СВЕРЛЕНИЯ ОТВЕРСТИЙ ДЛЯ КРЕПЛЕНИЯ КРОНШТЕЙНОВ Кр УО (ГОСТ 1153-76*) ДЛЯ УМЫВАЛЬНИКА

1 - опора;
2 - стойка;
3 - прорезь;
4 - втулка;
5 - фиксатор;
6 - рамка;
7 - боек;
8 - шарнир;
9 - держатель;
10 - оправка
Шаблон изготовлен из алюминиевых сплавов, удобен и надежен в эксплуатации. Внедрен в тресте «Севуралсантехмонтаж», г. Пермь
ПРИСПОСОБЛЕНИЕ ДЛЯ МОНТАЖА ПЛАСТМАССОВЫХ ТРУБ

1 - ушко; 2 - сегмент; 3 - прокладка резиновая; 4 - болт; 5 - рукоятка
Внедрено в организациях Главмосстроя
Потребность в материалах и полуфабрикатах для выполнения работ по монтажу, испытанию и установке сантехприборов приведена в табл. 5.
Таблица 5
|
Наименование материала, полуфабриката, конструкции (марка, ГОСТ) |
Вариант (фасет-код) |
Исходные данные |
Потребность в материале |
||
|
Единица измерения |
Объем работ в нормативных единицах |
Принятая норма расхода материала |
|||
|
Узлы из труб и фасонных частей диаметром 50 мм ГОСТ 22689.1-77 по ГОСТ 22689.20-77. |
|
м |
100 |
1 |
100 |
|
Тип 1 |
|
|
|
|
|
|
То же, Ø 110 мм |
|
м |
100 |
1 |
100 |
|
Кронштейны (подвески) ГОСТ 1153-76* |
|
шт. 100 м |
200 |
1,05 |
210 |
|
Пакля ленточная пропитанная |
|
кг |
100 унитазов |
0,035 |
3,5 |
|
|
кг |
100 моек |
0,02 |
2,0 |
|
|
Цемент расширяющийся М400. ГОСТ 11052-74 |
|
кг |
100 унитазов |
0,2 |
20,0 |
|
Дюбель-гвозди ДГП 4,5×40 |
|
шт |
200 кронштейнов |
2 |
400 |
|
Дюбель-гвозди ДГПШ 4,5×40 |
|
шт |
100 умывальников |
4 |
400 |
|
Планки СТ4 (сер. 4.904-69) |
|
шт |
100 умывальников |
2 |
200 |
|
Ванны чугунные ГОСТ 1154-80* |
|
шт |
100 |
1 |
100 |
|
Мойки чугунные ГОСТ 7506-83 |
|
шт |
100 |
1 |
100 |
|
Умывальники ГОСТ 23759-85 |
|
шт |
100 |
1 |
100 |
|
Унитазы ГОСТ 22847-85 |
|
шт |
100 |
1 |
100 |
|
Бачки смывные типа «Компакт» |
|
шт |
100 |
1 |
100 |
|
Сиденья для унитаза |
|
шт |
100 |
1 |
100 |
|
Состав клеевой |
|
кг |
100 соединений |
0,048 кг на 1 соединение |
4,8 |
|
Раствор цементный М 100 |
|
кг |
100 унитазов |
0,2 |
20 |
|
Ветошь обтирочная |
|
кг |
" |
0,1 |
10 |
|
Ацетон технический ГОСТ 2768-84* |
|
кг |
" |
0,06 |
6 |
|
5 %-ный раствор соляной кислоты |
|
кг |
" |
0,06 |
6 |
|
Проволока 1 ГОСТ 3282-74* |
|
кг |
" |
0,006 |
0,6 |
Работы по монтажу и испытанию трубопроводов выполняются с соблюдением СНиП III-4-80 «Техника безопасности в строительстве».
К работе с монтажным пистолетом допускаются лица, обученные правилам эксплуатации пистолета и имеющие специальное удостоверение, не моложе 18 лет с образованием не ниже 8 классов с квалификацией не ниже III разряда, проработавшие на монтажных работах на менее 2-х лет, прошедшие медицинский осмотр. При работе с монтажным пистолетом выполняются требования ВСН 410-80 по наряду-допуску.
|
Показатели |
Процессы |
|||||
|
Прокладка 200 м ПЭ трубопроводов диаметром 50, 100 мм |
Испытание и окончательная проверка при сдаче систем (200 м) |
Установка 100 умывальников |
Установка 100 ванн |
Установка 100 унитазов, смывных бачков, сидений |
Установка 100 моек |
|
|
Затраты труда рабочих, чел.-ч |
34,0 |
18,80 |
59,0 |
210,0 |
108,0 |
60,0 |
|
Заработная плата рабочих, р.-к. |
26-90 |
15-98 |
46-60 |
166-00 |
85-10 |
47-40 |
|
Продолжительность выполнения работ, смен |
2,07 |
1,15 |
3,6 |
12,8 |
6,6 |
3,7 |
|
Выработка на одного рабочего в смену |
48,3 м/чел.-смена |
87 м/чел.-смена |
14 шт./чел.-смена |
4 шт./чел.-смена |
8 шт./чел.-смена |
13 шт./чел.-смена |
ФАСЕТЫ 01 - 06
Прокладка чугунных трубопроводов
|
Наименование фактора |
Обоснование |
Фасет 01 |
Фасет 02 |
Фасет 03 |
Фасет 04 |
Фасет 05 |
Фасет 06 |
||||||
|
Прокладка 100 м чугунных трубопроводов |
|||||||||||||
|
из готовых узлов |
из отдельных узлов |
||||||||||||
|
диаметром, мм |
|||||||||||||
|
50 |
100 |
150 |
50 |
100 |
150 |
||||||||
|
Код |
Значение фай тора, Н.вр. Расц. |
Код |
Значение фактора, Н.вр. Расц. |
Код |
Значение фактора, Н.вр. Расц. |
Код |
Значение фактора, Н.вр. Расц. |
Код |
Значение фактора, Н.вр. Расц. |
Код |
Значение фактора, Н.вр. Расц. |
||
|
С установкой и креплением кронштейнов дюбель-гвоздями с помощью монтажного пистолета |
ЕНиР, сб. Е9, в. 1, § Е9-1-3, табл. 3 Санитарно-техническое оборудование зданий и сооружений |
1 |
39,0 31-40 |
1 |
43,0 34-60 |
1 |
53,0 42-70 |
1 |
55,0 44-30 |
1 |
66,0 53-10 |
1 |
70,0 56-30 |
|
С установкой и краплением кронштейнов дюбель-гвоздями вручную к гипсобетонным, шлакобетонным и гипсолитовым стенам |
|
2 |
42,0 33-80 |
2 |
45,0 36-20 |
2 |
56,0 45-10 |
2 |
58,0 46-70 |
2 |
68,0 54-70 |
2 |
73,0 58-80 |
|
С установкой и заделкой кронштейнов в готовые отверстия |
|
3 |
40,0 32-20 |
3 |
43,0 34-60 |
3 |
54,0 43-50 |
3 |
56,0 45-10 |
3 |
66,0 53-10 |
3 |
71,0 57-20 |
|
С установкой и заделкой кронштейнов со сверлением отверстий в бетонных стенах |
|
4 |
46,0 37-00 |
4 |
48,0 38-60 |
4 |
58,0 46-70 |
4 |
62,0 49-90 |
4 |
71,0 57-20 |
4 |
75,0 60-40 |
|
С установкой и заделкой кронштейнов со сверлением отверстий в керамзитобетонных, кирпичных и других стенах |
|
5 |
42,0 33-80 |
5 |
46,0 37-00 |
5 |
56,0 45-10 |
5 |
58,0 46-70 |
5 |
68,0 54-70 |
5 |
72,0 58-00 |
ФАСЕты 07 - 09
Прокладка полиэтиленовых трубопроводов
|
Наименование фактора |
Обоснование |
Фасет 07 |
Фасет 08 |
Фасет 09 |
|||
|
Прокладка 100 м полиэтиленовых трубопроводов |
|||||||
|
канализации |
водостоков |
||||||
|
диаметром, мм |
|||||||
|
50 |
100 |
100 |
|||||
|
Код |
Значение фактора, Н.вр. Расц. |
Код |
Значение фактора, Н.вр. Расц. |
Код |
Значение фактора, Н.вр. Расц. |
||
|
С установкой и креплением кронштейнов дюбель-гвоздями с помощью монтажного пистолета |
ЕНиР, сб. Е9, в. 1, § Е9-1-4, табл. 2 «Санитарно-техническое оборудование зданий и сооружений» |
1 |
18,0 14-20 |
1 |
16,0 12-70 |
1 |
11,0 8-70 |
|
С установкой и креплением кронштейнов дюбель-гвоздями вручную к гипсобетонным, шлакобетонным и гипсолитовым стенам |
|
2 |
20,0 14-90 |
2 |
18,0 13-40 |
2 |
13,0 9-70 |
|
С установкой и заделкой кронштейнов в готовые отверстия |
|
3 |
22,0 16-40 |
3 |
18,0 13-40 |
3 |
14,0 10-40 |
|
С установкой и заделкой кронштейнов со сверлением отверстий в бетонных стенах |
|
4 |
31,0 23-10 |
4 |
24,0 17-90 |
4 |
19,0 14-20 |
|
С установкой и заделкой кронштейнов со сверлением отверстий в керамзитобетонных, кирпичных и др. стенах |
|
5 |
26,0 19-40 |
5 |
20,0 14-90 |
5 |
16,0 11-90 |
ФАСЕТЫ 10 - 18
Установка санитарных приборов
|
Наименование фактора |
Обоснование |
Фасет 10 |
Фасет 11 |
Фасет 12 |
Фасет 13 |
Фасет 14 |
фасет 15 |
Фасет 16 |
Фасет 17 |
Фасет 18 |
|||||||||||||
|
Установка 100 санитарных приборов каждого наименования |
|||||||||||||||||||||||
|
Мойка чугунная без спинки на 2-х кронштейнах на одно отделение |
Мойка чугунная без спинки на 2-х кронштейнах на два отделения |
Мойка стальная на одно отделение |
Умывальник |
Умывальник с присоединением к системе канализации |
Раковина с отъемной спинкой с присоединением к системе канализации |
Бачок смывной чугунный с присоединением к системе водопровода |
Бачок смывной пластмассовый с присоединением к системе водопровода |
Писсуар |
|||||||||||||||
|
Код |
Значение фактора Н.вр. Расц. |
Код |
Значение фактора Н.вр. Расц. |
Код |
Значение фактора Н.вр. Расц. |
Код |
Значение фактора Н.вр. Расц. |
Код |
Значение кантора Н.вр. Расц. |
Код |
Значение фактора Н.вр. Расц. |
Код |
Значение фактора Н.вр. Расц. |
Код |
Значение фактора Н.вр. Расц. |
Код |
Значение фактора Н.вр. Расц. |
||||||
|
С установкой и краплением кронштейнов дюбель-гвоздями с помощью монтажного пистолета |
ЕНиР, сб. Е9, в. 1, § Е9-1-16, табл. 1 «Санитарно-техническое оборудование зданий и сооружений» |
1 |
89,0 70-30 |
1 |
158,0 125-20 |
1 |
96,0 75-80 |
1 |
99,0 78-20 |
1 |
59,0 46-60 |
1 |
37,0 29-20 |
1 |
53,0 41-90 |
1 |
47,0 37-20 |
1 |
34,0 26-90 |
||||
|
С установкой и креплением кронштейнов дюбель-гвоздями вручную к гипсобетонным шлакобетонным и гипсолитовым стенам |
|
2 |
94,0 74-30 |
2 |
160,0 126-00 |
2 |
100,0 79-00 |
2 |
100,0 79-00 |
2 |
64,0 50-60 |
2 |
42,0 33-20 |
2 |
58,0 45-80 |
2 |
52,0 41-10 |
|
|
||||
|
С установкой и заделкой кронштейнов в готовые отверстия |
- |
3 |
100,0 79-00 |
3 |
170,0 134-00 |
3 |
95,0 75-10 |
3 |
110,0 86-90 |
3 |
70,0 55-30 |
3 |
48,0 37-90 |
3 |
50,0 39-50 |
3 |
45,0 35-60 |
2 |
52,0 41-10 |
||||
|
С установкой и заделкой кронштейнов со сверлением отверстий в бетонных станах |
|
4 |
130,0 103-00 |
4 |
200,0 158-00 |
4 |
130,0 103-00 |
4 |
140,0 111-00 |
4 |
100,0 79-00 |
4 |
77,0 60-80 |
4 |
60,0 47-40 |
4 |
55,0 43-50 |
3 |
71,0 56-10 |
||||
|
С установкой и заделкой кронштейнов со сверлением отверстий в керамзитобетонных, кирпичных и др. стенах |
|
5 |
120,0 94-80 |
5 |
190,0 150-00 |
5 |
110,0 86-90 |
5 |
120,0 94-80 |
5 |
85,0 67-20 |
5 |
63,0 49-80 |
5 |
55,0 43-50 |
5 |
50,0 39-50 |
4 |
62,0 49-00 |
||||
ФАСЕТ 19
Установка 100 санитарных приборов каждого наименования
|
Наименование фактора |
Обоснование |
Код |
Значение фактора |
|
Ванна чугунная со сборкой переливной трубой на месте монтажа |
ЕНиР, сб. Е9, в. 1, § Е9-1-16, табл. 2 «Санитарно-техническое оборудование зданий и сооружений» |
1 |
По калькуляции |
|
Ванна чугунная с переливной трубой, собранной на заводе |
|
2 |
Н.вр.= 190,0 |
|
Расц. = 150-00 |
|||
|
Ванна чугунная сидячая |
|
3 |
Н.вр. = 86,0 |
|
Расц. = 67-90 |
|||
|
Ванна чугунная типа глубокого поддона размером 800×800×350 мм |
|
4 |
Н.вр. = 100,0 |
|
Расц. = 79-00 |
|||
|
Стальная ванна |
|
5 |
Н.вр. = 150,0 |
|
Расц. = 119-00 |
|||
|
Мелкий душевой поддон размером 900×900×150 мм |
|
6 |
Н.вр. = 62,0 |
|
Расц. = 49-00 |
ФАСЕТ 20
Установка 100 санитарных приборов каждого наименования
|
Наименование фактора |
Обоснование |
Код |
Значение фактора |
|
Смывной бачок для унитаза типа «Компакт» |
ЕНиР, сб. Е9, в. 1, § Е9-1-16, табл. 2 «Санитарно-техническое оборудование зданий и сооружений» |
1 |
По калькуляции |
|
Унитаз с креплением эпоксидно-кукерсольным клеем |
|
2 |
Н.вр. = 29,0 |
|
Расц. = 22-90 |
|||
|
Унитаз с креплением шурупами к ранее установленной тафте |
|
3 |
Н.вр. = 35,0 |
|
Расц. = 27-70 |
|||
|
Унитаз с креплением к полу в готовые отверстия с установкой уплотнителя |
|
4 |
Н.вр. = 41,0 |
|
Расц. = 32-40 |
|||
|
Чаша клозетная чугунная |
|
5 |
Н.вр. = 91,0 |
|
Расц. = 71-90 |
|||
|
Бидэ |
|
6 - |
Н.вр. = 200,0 |
|
Расц. = 158-00 |
ФАСЕТЫ 21 - 24
Установка блоков санитарных приборов
|
Наименование фактора |
Обоснование |
Фасет 21 |
Фасет 22 |
Фасет 23 |
Фасет 24 |
||||
|
Установка 10 блоков санитарных приборов |
|||||||||
|
Блок умывальников с числом приборов |
|||||||||
|
2 |
3 |
4 |
5 |
||||||
|
Код |
Значение фактора, Н.вр. Расц. |
Код |
Значение фактора, Н.вр. Расц. |
Код |
Значение фактора, Н.вр. Расц. |
Код |
Значение фактора, Н.вр. Расц. |
||
|
С установкой и креплением кронштейнов дюбель-гвоздями с помощью монтажного пистолета |
ЕНиР, сб. Е9, в. 1, § Е9-1-17 «Санитарно-техническое оборудование зданий и сооружений» |
1 |
10,20 8-05 |
1 |
10,70 8-45 |
1 |
11,10 8-77 |
1 |
13,50 10-67 |
|
С установкой и креплением кронштейнов дюбель-гвоздями вручную к гипсобетонным, гипсолитовым и шлакобетонным стенам или с установкой и креплением кронштейнов шурупами в готовые отверстия |
|
2 |
12,00 9-48 |
2 |
12,00 9-48 |
2 |
12,00 9-48 |
2 |
15,00 11-90 |
|
С установкой и креплением кронштейнов шурупами со сверлением отверстий в бетонных стенах или полу |
|
3 |
13,00 10-30 |
3 |
14,00 11-10 |
3 |
14,00 11-10 |
3 |
18,00 14-20 |
|
С установкой и креплением кронштейнов шурупами со сверлением отверстий в керамзитобетонных, кирпичных и др. стенах или полу |
|
4 |
13,00 10-30 |
4 |
13,00 10-30 |
4 |
13,00 10-30 |
4 |
16,00 12-60 |
ФАСЕТ 25
Испытание 100 м трубопроводов канализации
|
Наименование фактора |
Обоснование |
Код |
Значение фактора |
|
Первое рабочее испытание отдельных частей системы* |
ЕНиР, сб. Е9, в. 1, § Е9-1-8, табл. 2 «Санитарно-техническое оборудование зданий и сооружений» |
1 |
Н.вр. = 17,0 |
|
Расц. = 13-69 |
|||
|
Окончательная проверка при сдаче системы |
|
2 |
Н.вр. = 9,4 |
|
Расц. = 7-99 |
* Данное испытание проводится при монтаже в том случае, если узлы и детали не были испытаны на заводах или в заготовительных мастерских.
ФАСЕТ 26
Испытание 100 м трубопроводов водостоков
|
Наименование фактора |
Обоснование |
Код |
Значение фактора |
|
Первое рабочее испытание отдельных частей системы |
ЕниР, сб. Е9, в. 1, § Е9-1-8, табл. 2 «Санитарно-техническое оборудование зданий и сооружений» |
1 |
Н.вр. = 2,7 |
|
Расц. = 2-01 |
|||
|
Рабочая проверка системы в целом |
|
2 |
Н.вр. = 2,0 |
|
Расц. = 1-61 |
|||
|
Окончательная проверка при сдаче системы |
|
3 |
Н.вр. = 1,5 |
|
Расц. = 1-88 |
СОДЕРЖАНИЕ
|
2. Организация и технология выполнения работ. 1 3. Требования к качеству и приемке работ. 19 4. Калькуляция затрат труда. 21 5. График производства работ. 22 6. Материально-технические ресурсы.. 23 |