ОРДЕНА ЛЕНИНА ГЛАВМОССТРОЙ при МОСГОРИСПОЛКОМЕ
МОСОРГСТРОЙ
ТЕХНОЛОГИЧЕСКАЯ КАРТА
НА УПЛОТНЕНИЕ ГРУНТОВ ПРИ ПРОИЗВОДСТВЕ
РАБОТ НУЛЕВОГО ЦИКЛА
(котлованы, траншеи)
Арх. № 8158
Москва - 1983
Технологическая карта разработана проектно-технологическим отделом треста Мосоргстрой (А.Н. Абрамович, А.П. Смирнов), согласована с Управлением подготовки производства Главмосстроя.
Технологическая карта рекомендована к внедрению в строительном производстве.
Замечания и предложения по настоящей карте направлять по адресу: 113095, Б. Полянка, д. 51а, трест Мосоргстрой
СОДЕРЖАНИЕ
1.1. Технологическая карта распространяется на работы по уплотнению грунтов в траншеях и котлованах при производстве работ нулевого цикла, выполняемых строительными организациями Главмосстроя.
1.2. В основу разработки технологической карты положено применение научной организации труда.
1.3. Технологическая карта предназначена для составления проектов производства работ по уплотнению грунтов в траншеях и котлованах при производстве работ нулевого цикла и с целью ознакомления рабочих и инженерно-технического персонала с правилами производства работ и организацией груда.
1.4. Во всех случаях применения настоящей технологической карты необходима ее привязка к конкретному объекту. При привязке уточняются объем работ, калькуляция трудовых затрат, средства механизации с учетом максимального использования наличного парка строительных машин.
2.1.1. Уплотнить глинистые грунты на глубину от 10 до 50 см можно с помощью катков различных систем (лист 1, 2, 3).
2.1.2. Несвязные грунты хорошо уплотняются передвижными виброкатками и виброплитами. С помощью виброплит достигается глубина уплотнения в среднем 0,5 - 0,7 м.
2.1.3. Чистые рыхлые пески можно уплотнять на глубину до 6 м методом виброштокования. Виброшток изготовляют из трубы Æ 70 мм, к нижней части которой приварены три металлические лопасти. На нижнем конце трубы просверливают отверстия для подачи воды. Погружают виброшток высокочастотным вибратором, установленным на трубе. Установка обслуживается краном.
2.1.4. Навесная гидротрамбовка предназначена для уплотнения грунта при обратной засыпке траншей, пазух фундаментов, котлована, подпорных стенок. Толщина уплотняемого слоя 0,5 м.
2.1.5. Трамбовки электрические ИЭ-4501, ИЭ-4506 и пневмотрамбовки ТР-4, ТР-6 предназначены для уплотнения несвязного грунта в стесненных условиях при засыпке траншей, котлованов. Уплотнение грунта производится путем возвратно-поступательного перемещения трамбующего башмака. Трамбовки вибробезопасны, просты и надежны в работе, значительно повышают производительность труда при уплотнении грунта, исключают его последующее оседание. Глубина уплотнения за три перехода 0,4 м.
2.1.6. Самоходная инерционная грунтоуплотняющая машина М-1110 предназначена для уплотнения виброударным способом связных и несвязных грунтов. Машины можно использовать при устройстве грунтовых подсыпок под полы в зданиях и прокладке подземных коммуникаций. В зависимости от конкретных условий машина работает как самоходная или как навесная крановая. Глубина уплотнения 0,5 - 0,6 м.
Способ уплотнения грунта рекомендуется выбирать путем сравнения вариантов по технико-экономическим показателям с учетом области применения каждого метода. При выборе варианта уплотнения грунта необходимо учитывать:
стесненность мест производства работ;
свойства уплотняемых грунтов;
производство работ в охранной зоне действия подземных коммуникаций;
объемы работ;
наличие машин и механизмов.
2.3.1. Работы по уплотнению грунта должны быть определены проектом и проектом производства работ.
2.3.2. На стройплощадке к началу работ должны быть завезены все необходимые механизмы, машины, инструменты.
2.3.3. Грунт для уплотнения траншей, котлованов должен завозиться из резерва или из отвалов, находящихся непосредственно на стройплощадке, к началу работ.
2.3.4. Объект должен быть обеспечен необходимой электроэнергией, водой.
2.3.5. На стройплощадке должны быть выполнены временные дороги, обеспечивающие подъезд автотранспорта к котловану и траншее.
2.3.6. Стройплощадка должна быть освещена в ночное время, включая сигнальное освещение.
2.3.7. До начала обратной засыпки грунтом траншеи необходимо:
полностью закончить прокладку трубопроводов (коллекторов);
закончить и проверить гидроизоляцию трубопроводов (коллекторов);
удалить из траншеи все вспомогательные материалы, оборудование и механизмы;
составить акты на скрытые работы и получить разрешение заказчика на обратную засыпку.
2.3.8. До начала подсыпки грунта под полы необходимо:
полностью закончить работы по установке фундаментов;
закончить и проверить гидроизоляцию фундаментов;
удалить из котлована все вспомогательные материалы, оборудование и механизмы;
сделать съезды в котлован;
составить акты на скрытые работы и получить разрешение заказчика на обратную засыпку.
2.4.1. Требуемая плотность грунта, выраженная объемным весом скелета грунта или коэффициентом уплотнения, назначается проектом на основании данных исследований грунта методом стандартного уплотнения, при котором устанавливается его максимальная плотность и оптимальная влажность.
2.4.2. Уплотнение грунта следует производить при оптимальной влажности. Допускаемые отклонения для связных грунтов - ±10 %; для несвязных грунтов - ±20 %.
2.4.3. При недостаточной влажности связных грунтов их следует увлажнять, как правило, в местах разработки (в резерве, карьерах).
2.4.4. При недостаточной влажности несвязных и малосвязных грунтов допускается увлажнять их в отсыпаемом слое.
2.4.5. При избыточной влажности грунта следует производить его подсушивание.
2.4.6. Количество воды - «g» тонн, необходимой для замачивания 1 м3 грунта по объему в выемке с целью повышения его влажности, следует определять по формуле, приведенной в СНиП III-8-76:
g = Yc (Wo - Wк + Wп), где
Yc - объемный вес скелета грунта в карьере, т/м3;
Wo - оптимальная влажность;
Wк - влажность грунта в карьере;
Wп - потери влаги при разработке, транспортировке и укладке грунта.
2.4.7. Для определения основных свойств грунта необходимо руководствоваться техническим заключением об инженерно-геологических условиях участка строительства Мосгоргеотреста.
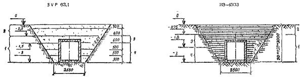
(гидротрамбовками, виброударной трамбовкой, вибрационными плитами, катками)
2.5.1. Уплотнение грунтов насыпей и обратных засыпок должно выполняться послойно. Толщину уплотняемых слоев следует назначать в зависимости от условий производства работ, вида грунтов, применяемых уплотняющих машин и предварительно принимать по таблице 1 с последующим уточнением по результатам опытного уплотнения.
Таблица 1
Техническая характеристика машин при уплотнении грунтов
|
Толщина слоя грунта в плотном теле, см |
Число проходов или ударов в грунте |
|||
|
связного |
несвязного |
связном |
несвязном |
|
|
Кулачковый каток весом 3 - 5 т |
15 - 20 |
- |
6 - 8 |
|
|
10 - 15 |
8 - 12 |
|||
|
Каток на пневматических машинах весом т: 10 |
15 - 20 |
20 - 25 |
6 - 8 |
4 - 6 |
|
10 - 15 |
15 - 20 |
6 - 12 |
6 - 8 |
|
|
25 |
30 - 35 |
35 - 40 |
6 - 8 |
4 - 6 |
|
20 - 25 |
25 - 30 |
8 - 10 |
6 - 8 |
|
|
50 |
35 - 40 |
45 - 50 |
6 - 8 |
4 - 6 |
|
25 - 30 |
35 - 45 |
8 - 10 |
6 - 8 |
|
|
Трамбовочная плита весом 2 т при высоте падения 2 м |
80 - 90 |
100 - 110 |
4 - 5 |
2 - 4 |
|
70 - 80 |
80 - 90 |
6 - 8 |
4 - 6 |
|
|
Дизель-трамбовочная машина |
60 - 70 |
80 - 100 |
75 - 85 |
- |
|
Навесной тракторный трамбовщик |
60 - 70 |
80 - 100 |
- |
- |
ПРИМЕЧАНИЕ. Над чертой даны значения, необходимые для уплотнения грунта до плотности не менее 0,95; под чертой - до плотности не менее 0,98 от максимальной.
2.5.2. Для уплотнения связных грунтов следует применять катки на пневматических шинах, кулачковые и решетчатые, трамбующие и вибротрамбующие машины.
2.5.3. Уплотнение грунта должно производиться проходками уплотняющих машин вдоль насыпи со смешением от бровок насыпи к ее середине. Наименьшее расстояние прохода уплотняющих машин от бровки насыпи должно быть 0,5 м. Уплотнение откосов должно производиться снизу вверх.
2.5.4. Каждый последующий проход (удар) уплотняющей машины должен перекрывать след предыдущего на 0,1 - 0,2 м.
2.5.5. При уплотнении грунта в земляных сооружениях (кроме гидротехнических) кулачковыми катками разрыхленную часть верхнего слоя следует доуплотнять более легкими уплотняющими машинами других типов.
2.5.6. Уплотнение грунтов в естественных условиях при обратных засыпках грунта в пазухи фундаментов, вокруг различного рода опор, трубопроводов, коллекторов, смотровых колодцев, при устройстве грунтовых подсыпок под полы, в сопряжениях земляного полотна с искусственными сооружениями и других местах должно производиться машинами с трамбующими и вибротрамбующими рабочими органами, выполненными как постоянное или сменное навесное оборудование к базовым серийно выпускаемым машинам (кранам, тракторам, экскаваторам) (лист 5, 6).
2.5.7. Несвязной грунт 1 группы уплотняют вибрационными плитами.
2.5.8. Обратную засыпку нижних слоев грунта в траншее производят экскаватором-планировщиком. Разравнивание выполняют вручную или, если позволяет рабочая зона, экскаватором-планировщиком. Верхние слои засыпают и разравнивают бульдозером.
2.5.9. Грунт уплотняют, начиная с зон возле коллектора (трубопровода), а затем двигаются в направлении к краю траншеи, при этом каждый последующий проход трамбующей машины должен перекрывать след предыдущего на 0,1 - 0,2 м.
2.5.10. Обратную засыпку, разравнивание и уплотнение грунта внутри здания под полы выполняют последовательно по слоям. Толщина слоя принимается в зависимости от применяемой уплотняющей машины. Обратную засыпку грунта производят автомобилями-самосвалами, разравнивание - бульдозером. В труднодоступных местах (между откосами и фундаментами) и в пределах 40 см от фундаментов грунт разравнивают вручную.
ПРИМЕЧАНИЕ. Схемы по организации производства работ по уплотнению грунта разработаны для вибрационных плит (лист 8, 11, 12).
2.6.1. Уплотнение грунта в особо стесненных местах и при небольших объемах работ следует производить пневмотрамбовками и электротрамбовками (табл. 2).
Таблица 2
Техническая характеристика пневмотрамбовок
|
Показатели |
Един. измер. |
Марка пневмотрамбовок |
||
|
ТР-4 |
ТР-6 |
|||
|
1. |
Число ударов в 1 мин |
- |
1200 |
1200 |
|
2. |
Давление воздуха |
атм |
5,5 |
5,5 |
|
3. |
Расход воздуха |
куб. м/мин |
0,7 |
0,7 |
|
4. |
Диаметр шланга |
мм |
16 |
16 |
|
5. |
Длина трамбовки |
мм |
1070 |
1070 |
|
6. |
Вес |
кг |
8,4 |
9,5 |
ПРИМЕЧАНИЕ. Трамбование грунта производят слоями, начиная с краев трамбуемой площади с последующим приближением к ее середине. Каждым последующим ударом трамбовки должна захватываться часть уже уплотненной площади.
2.6.2. При работе по уплотнению грунта вблизи действующих и прокладываемых коммуникаций, стен (фундаментов) существующих и возводимых зданий и сооружений необходимо обеспечить их сохранность.
2.6.3. При уплотнении грунта пневмотрамбовками ТР-4, ТР-6 работы необходимо выполнять в следующей последовательности:
присоединить башмак к трамбовке;
раскатать шланги;
присоединить шланг к компрессору и трамбовке;
произвести уплотнение грунта;
отсоединить шланг от компрессора и трамбовки;
снять башмак.
2.6.4. При уплотнении грунта электротрамбовками ИЭ-4501; ИЭ-4502; ИЭ-4503; ИЭ-4504; ИЭ-4505; ИЭ-4506 работы необходимо выполнять в следующей последовательности:
установить электрорубильник с соблюдением правил техники безопасности;
раскатать электрический кабель;
подсоединить электрический кабель к рубильнику и трамбовке;
произвести уплотнение грунта;
отключить электрокабель от источника питания и трамбовки.
2.6.5. В состав работ, указанных в пп. 2.6.3, 2.6.4, входят работы по обслуживанию трамбовок (смазка, мелкий ремонт).
2.6.6. Работы по уплотнению грунта трамбовками необходимо производить в соответствии со схемами (лист 4. 7, 9, 10, 13, 14) данной технологической карты.
2.7.1. Основной задачей контроля работ по уплотнению грунта является обеспечение выполнения их соответствия с проектом.
2.7.2. При уплотнении грунта в траншеях и котлованах необходимо проводить пооперационный контроль качества выполнения работ по этапам, приведенным в табл. 3.
Таблица 3
Схема операционного контроля качества работ
|
Этапы работ |
Способ контроля |
Ответственный исполнитель |
Сроки |
|
|
1. |
Завоз грунта для засыпки (подсыпки) |
Проверка структуры грунта и определения коэффициента его разрыхления, влажности |
Прораб (мастер) |
Ежедневно |
|
лаборант |
||||
|
2. |
Уплотнение грунта |
Проверка числа проходов (ударов) уплотняющих машин |
Прораб, мастер, |
Ежедневно |
|
ст. прораб |
1 раз в неделю |
|||
|
3. |
Геодезические работы |
Нивелировка поверхности |
Геодезист |
Постоянно |
|
4. |
Степень уплотнения грунта |
Проверка степени уплотнения грунта методом режущих колец (ГОСТ 5182-49). Проверка толщины слоя грунта мерным шаблоном |
Прораб (мастер), ст. прораб, лаборант, гл. инженер |
По окончании работ (этапов работ) |
2.7.3. Контроль влажности и плотности уплотнения грунта осуществляется лабораториями строительных организаций.
2.7.4. Окончательная приемка работ производится с составлением акта на скрытые работы.
2.8.1. Работы по обратной засыпке, разравниванию и уплотнению несвязного грунта I группы в траншее с коллектором выполняет бригада из 8 человек:
машинист 6 разр. - 1 чел.
помощник машиниста 5 разр. - 1 чел.
машинист 5 разр. - 2 чел.
землекоп 3 разр. - 1 чел.
землекоп 1 разр. - 4 чел.
Работы со связным грунтом II группы выполняет бригада в том же составе с добавлением одного землекопа 3 разряда.
2.8.2. Работы по обратной засыпке, разравниванию, уплотнению несвязного грунта I группы и связного грунта II группы в траншее с двумя трубопроводами в одном уровне выполняет бригада в составе 9 чел.
2.8.3. Работы по обратной засыпке, разравниванию и уплотнению несвязного грунта I группы внутри здания под полы выполняет бригада в составе 10 человек:
шофер 3 кл. - 6 чел.
машинист 5 разр. - 1 чел.
землекоп 3 разр. - 1 чел.
землекоп 1 разр. - 2 чел.
Работы со связным грунтом II группы выполняет бригада в том же составе с добавлением двоих землекопов 3 разряда.
2.8.4. Составы бригады определены при уплотнении грунта электротрамбовками и вибрационными плитами.
2.8.5. Уплотнение грунта пневмотрамбовкой выполняется одним землекопом 3 разряда на одну трамбовку.
ПРИМЕЧАНИЯ: 1. При привязке работ по уплотнению грунта в ППР к конкретному объекту состав бригады уточняется.
2. Состав бригад принят для работ по уплотнению грунта вибрационными плитами и электротрамбовками.
2.9.1. При производстве земляных работ следует строго соблюдать требования СНиП III-4-80 «Техника безопасности в строительстве» и стандартов ССБТ.
Кроме того, необходимо:
при разгрузке грунта располагать автомобиль-самосвал не ближе, чем на расстоянии 1 м от бровки траншеи;
не допускать присутствия людей, а также производства других работ в зоне действия землеройных машин;
систематически контролировать состояние откосов траншей, а при появлении трещин принимать меры против обрушения грунта;
систематически проверять качество уплотнения грунтов;
вблизи конструкций все работы выполнять только в светлое время суток.
2.9.2. Производство земляных работ в зоне действующих подземных коммуникаций следует осуществлять под непосредственным руководством прораба или мастера, а в охранной зоне кабелей, находящихся под напряжением, или действующего газопровода, кроме того, под наблюдением работников электро- или газового хозяйства.
2.9.3. Односторонняя засыпка пазух у свежевыложенных подпорных сетей и фундаментов допускается после осуществления мероприятий, обеспечивающих устойчивость конструкции при принятых условиях, способах и порядке засыпки.
2.9.4. Котлованы и траншеи на улицах, проездах, во дворах, а также в местах, где происходит движение людей или транспорта, должны быть ограждены защитными ограждениями с учетом требований ГОСТ 23407-78. На ограждении необходимо устанавливать предупредительные надписи и знаки, а в ночное время - сигнальное освещение. Места прохода людей через траншеи должны быть оборудованы переходными мостиками, освещаемыми в ночное время.
2.9.5. Лица, допускаемые к управлению ручными электрическими машинами, должны иметь 1 квалификационную группу по технике безопасности в соответствии с требованиями ГОСТ 12.1.013-78.
Таблица 4
Технико-экономические показатели (уплотнение грунта в траншее с двумя трубопроводами).
|
№ п/п |
Показатели |
Един. измер. |
Уплотнение грунта |
|
|
вибрационными плитами |
электротрамбовками |
|||
|
1. |
Объем земляных работ |
100 м3 |
2,76 |
2,46 |
|
2. |
Затраты труда на общий объем работ |
чел.-дн. |
1,4 |
2,77 |
|
3. |
То же, на 100 м3 уплотненного грунта |
чел.-дн. |
0,51 |
1,12 |
|
4. |
Заработная плата на общий объем работ |
руб. коп. |
7,57 |
12,55 |
|
5. |
То же, на 100 м3 уплотненного грунта |
руб. коп |
2,74 |
5,10 |
|
6. |
Выработка на одного рабочего в смену |
100 м3 |
1,97 |
0,89 |
|
7. |
Время работы машин на общий объем работ |
маш.-см. |
0,58 |
0,60 |
|
8. |
То же на 100 м3 уплотненного грунта |
маш.-см. |
0,21 |
0,24 |
Таблица 5
Технико-экономические показатели (уплотнение грунта внутри здания под полы)
|
№ п/п |
Показатели |
Един. измер. |
Уплотнение грунта |
|
|
вибрационными плитами (I группа) |
электротрамбовками (II группа) |
|||
|
1. |
Объем земляных работ |
100 м3 |
5,01 |
5,01 |
|
2. |
Затраты труда на общий объем работ |
чел.-дн. |
6,55 |
9,4 |
|
3. |
То же, на 100 м3 уплотненного грунта |
чел.-дн. |
1,31 |
1,87 |
|
4. |
Заработная плата на общий объем работ |
руб.-коп. |
29-2 |
50-86 |
|
5. |
То же, на 100 м3 уплотненного грунта |
руб.-коп. |
5-82 |
10-13 |
|
6. |
Выработка на одного рабочего в смену |
100 м3 |
0,77 |
0,53 |
|
7. |
Время работы машин на общий объем работ |
маш.-см. |
5,24 |
5,24 |
|
8. |
То же, на 100 м3 уплотненного грунта |
маш.-см. |
1,04 |
1,04 |
Технико-экономические показатели по уплотнению грунта разработаны с применением вибрационных плит и электротрамбовок.
Таблица 6
Калькуляции затрат груда на уплотнение несвязного грунта I группы вибрационной плитой SVP 31,5 (в траншее с двумя трубопроводами)
|
Шифр норм |
Наименование работ |
Единица измерения |
Объем работ |
Норма времени на единицу измерения, чел.-ч (маш.-ч) |
Затраты труда на общий объем работ, чел.-ч (маш.-ч) |
Расценки на единицу измерения, руб. - коп. |
Заработная плата на общий объем работ, руб. - коп. |
|
Типовые нормы и расценки на строительные, монтажные и ремонтно-строительные работы, § Т 79-3-2, п. 2а (применительно) |
Обратная засыпка грунта экскаватором-планировщиком ЭО-3332А по слоям |
|
|
|
|
|
|
|
1-й |
100 м3 |
0,13 |
5,4 (2,7) |
0,7 (0,35) |
4-03 |
0-52 |
|
|
2-й |
0,46 |
|
2,48 (1,24) |
1-85 |
|||
|
По производительности |
Разравнивание 2-го слоя грунта экскаватором-планировщиком ЭО-3332А |
100 м2 |
1,45 |
1,4 (0,7) |
2,03 (1,01) |
1-04 |
1-51 |
|
ЕНиР, 1973, § 2-1-43, табл. 1, п. 1а (применительно) |
Разравнивание 1-го слоя грунта вручную |
м3 |
13 |
0,07 |
0,01 |
0-03,1 |
0-40 |
|
ЕНиР, 1073, § 2-1-21, табл. 2, п. 4а |
Обратная засыпка грунта бульдозером Д3-42 по слоям |
|
|
|
|
|
|
|
3-й |
100 м3 |
0,83 |
0,66 (0,66) |
0,54 (0,54) |
0-46,3 |
0-38 |
|
|
4-й |
0,98 |
0,64 (0,64) |
0-45 |
||||
|
5-й |
0,36 |
0,24 (0,24) |
0-17 |
||||
|
ЕНиР, 1973, § 2-1-20, табл. 2, п. 2г |
Разравнивание грунта бульдозером Д3-42 по слоям |
|
|
|
|
|
|
|
3-й |
100 м3 |
0,83 |
0,33 (0,33) |
0,27 (0,27) |
0-23,3 |
0-19 |
|
|
4-й |
0,98 |
0,32 (0,32) |
0-23 |
||||
|
5-й |
0,36 |
0,12 (0,12) |
0-08 |
||||
|
По производительности |
Уплотнение 1-го слоя грунта электротрамбовкой ИЭ-4501 (ИЭ-4505) |
100 м3 |
0,13 |
19,52 |
2,54 |
10-88,2 |
1-41 |
|
То же |
Уплотнение грунта вибрационной плитой SVP 31,5 по слоям |
|
|
|
|
|
|
|
2-й |
100 м3 |
0,46 |
0,27 |
0,12 |
0-14,8 |
0-07 |
|
|
3-й |
0,83 |
0,22 |
0-12 |
||||
|
4-й |
0,98 |
0,26 |
0-14 |
||||
|
5-й |
0,36 |
0,1 |
0-05 |
||||
|
Итого: |
11,49 (4,73) |
|
7-57 |
||||
Таблица 7
Калькуляция затрат груда на уплотнение связного грунта II группы электротрамбовкой ИЭ-4504 (в траншее с двумя трубопроводами)
|
Шифр норм |
Наименование работ |
Единица измерения |
Объем работ |
Норма времени на единицу измерения, чел.-ч. (маш.-ч.) |
Затраты труда на общий объем работ, чел.-ч, (маш.-ч.) |
Расценка на единицу измерения, руб. - коп. |
Заработная плата на общий объем работ, руб. - коп. |
|
Типовые нормы и расценки на строительные, монтажные и ремонтно-строительные работы § Т79-3-2, п. 26 (применительно) |
Обратная засыпка грунта экскаватором-планировщиком ЭО-3332А по слоям |
|
|
|
|
|
|
|
1-й |
100 м3 |
0,12 |
6,2 |
0,74 (0,37) |
4-63 |
0-56 |
|
|
2-й |
0,41 |
(3,1) |
2,54 (1,27) |
1-90 |
|||
|
По производительности |
Разравнивание грунта экскаватором-планировщиком ЭО-3332А 2-го слоя грунта |
100 м2 |
1,29 |
1,4 (0,7) |
1,81 (0,9) |
1-04 |
1-34 |
|
ЕНиР, 1973, § 2-1-43, табл. 1, п. 1б (применительно) |
Разравнивание 1-го слоя грунта вручную |
м3 |
12 |
0,09 |
1,08 |
0-03,9 |
0-47 |
|
ЕНиР, 1973, § 2-1-21, табл. 2, п. 4б (применительно) |
Обратная засыпка грунта бульдозером ДЗ-42 по слоям |
|
|
|
|
|
|
|
3-й |
100 м3 |
0,74 |
0,77 (0,77) |
0,57 (0,57) |
0-54,1 |
0-40 |
|
|
4-й |
0,87 |
0,67 (0,67) |
0-47 |
||||
|
5-й |
0,32 |
0,25 (0,25) |
0-17 |
||||
|
ЕНиР, 1983, § 2-1-20, табл. 2, п. 2д |
Разравнивание грунта бульдозером ДЗ-42 по слоям |
|
|
|
|
|
|
|
3-й |
|
0,74 |
|
0,34 (0,34) |
|
0-24 |
|
|
4-й |
100 м3 |
0,87 |
0,46 (0,46) |
0,4 (0,4) |
0-32,3 |
0-28 |
|
|
5-й |
|
0,32 |
|
0,15 (0,15) |
|
0-10 |
|
|
По производительности |
Уплотнение электротрамбовкой НЭ-4501 (ИЭ-4505) 1-го слоя грунта |
100 м3 |
0,12 |
19,52 |
2,34 |
10-88,2 |
1-31 |
|
То же |
Уплотнение грунта электротрамбовкой ИЭ-4504 по слоям |
|
|
|
|
|
|
|
2-й |
100 м3 |
0,41 |
5,06 |
2,07 |
2-27,4 |
0-93 |
|
|
3-й |
0,74 |
3,74 |
1-68 |
||||
|
4-й |
0,87 |
4,4 |
1-98 |
||||
|
5-й |
0,32 |
1,62 |
0-72 |
||||
|
Итого: |
22,72 (4,92) |
- |
12-55 |
||||
Таблица 8
Калькуляция затрат труда на уплотнение несвязного грунта I группы вибрационной плитой SVP 31,5 (внутри здания под полы)
|
Шифр норм |
Наименование работ |
Единица измерения |
Объем работ |
Норма времени на единицу измерения, чел.-ч. (маш.-ч.) |
Затраты труда на общий объем работ, чел.-ч, (маш.-ч.) |
Расценка на единицу измерения, руб. - коп. |
Заработная плата на общий объем работ, руб. - коп. |
|
По производительности |
Обратная засыпка грунта автомобилями-самосвалами ЗИЛ-ММЗ-555 по слоям |
|
|
|
|
|
|
|
1-й |
100 м3 |
3 |
8,2 |
24,6 (24,6) |
4-56 |
13-70 |
|
|
2-й |
2,01 |
(8,2) |
16,5 (16,5) |
9-08 |
|||
|
ЕНиР, 1973, § 2-1-43, табл. 1, п. 1а |
Разравнивание грунта вручную по слоям |
|
|
|
|
|
|
|
1-й |
м3 |
64 |
0,07 |
4,48 |
0-03,1 |
1-98 |
|
|
2-й |
33 |
2,31 |
1-02 |
||||
|
ЕНиР, 1973, § 4-1-20, табл. 2, п. 2а, г |
Разравнивание грунта бульдозером ДЗ-42 по слоям: |
|
|
|
|
|
|
|
1-й |
100 м3 |
2,36 |
0,33 (0,33) |
0,77 (0,77) |
0-23,2 |
0-54 |
|
|
2-й |
1,68 |
0,66 (0,66) |
1,1 (1,1) |
0-46,3 |
0-77 |
||
|
По производительности |
Уплотнение грунта электротрамбовкой ИЭ-4504 по слоям |
|
|
|
|
|
|
|
1-й |
100 м3 |
0,4 |
4,1 |
1,64 |
2-27,4 |
0-90 |
|
|
2-й |
0,26 |
1,06 |
0-59 |
||||
|
То же |
Уплотнение грунта вибрационной плитой SVP 31,5 по слоям |
|
|
|
|
|
|
|
1-й |
100 м3 |
2,6 |
0,27 |
0,7 |
0-14,8 |
0-38 |
|
|
2-й |
1,76 |
0,47 |
0-25 |
||||
|
Итого: |
53,63 (42,97) |
- |
29-21 |
||||
Таблица 9
Калькуляция затрат груда на уплотнение связного грунта II группы электротрамбовкой ИЭ-4504 (внутри здания под полы)
|
Шифр норм |
Наименование работ |
Единица измерения |
Объем работ |
Норма времени на единицу измерения, чел.-ч. (маш.-ч.) |
Затраты труда на общий объем работ, чел.-ч, (маш.-ч.) |
Расценка на единицу измерения, руб. - коп. |
Заработная плата на общий объем работ, руб. - коп. |
|
По производительности |
Обратная засыпка грунта автомобилями-самосвалами ЗИЛ-ММЗ-555 по слоям |
|
|
|
|
|
|
|
1-й |
100 м3 |
3 |
8,2 (8,2) |
24,6 (24,6) |
4-56 |
13-70 |
|
|
2-й |
2,01 |
16,5 (16,5) |
9-08 |
||||
|
ЕНиР, 1973, § 2-1-43, табл. 1, п. 1б |
Разравнивание грунта вручную по слоям |
|
|
|
|
|
|
|
1-й |
м3 |
64 |
0,09 |
5,76 |
0-03,9 |
2-49 |
|
|
2-й |
33 |
2,97 |
1-28 |
||||
|
ЕНиР, 1973, § 2-1-20, табл. 2, п. 2а |
Разравнивание грунта бульдозером ДЗ-42 по слоям |
|
|
|
|
|
|
|
1-й |
100 м3 |
2,36 |
0,46 |
1,08 (1,08) |
0-32,3 |
7-55 |
|
|
2-й |
1,68 |
(0,46) |
0,77 (0,77) |
5-37 |
|||
|
По производительности |
Уплотнение грунта электротрамбовкой ИЭ-4504 по слоям |
|
|
|
|
|
|
|
1-й |
100 м3 |
2 |
5,06 |
15,18 |
2-27,4 |
6-82 |
|
|
2-й |
2,01 |
10,17 |
4-57 |
||||
|
Итого: |
77,03 (42,95) |
|
50-86 |
||||
Таблица 10
График производства работ по уплотнению несвязного грунта I группы вибрационной плитой SVP 31,5 (в траншее с двумя трубопроводами)


Таблица 11
График производства работ по уплотнению связного грунта II группы электротрамбовкой ИЭ-4504 (в траншее с двумя трубопроводами)


Таблица 12
График производства работ по уплотнению несвязного грунта I группы вибрационной плитой SVP 31,5 (внутри здания под полы)


ПРИМЕЧАНИЕ. График производства работ составлен на одну захватку. При выполнении работ по всему зданию механизмы перемещают с захватки на захватку без перерыва в работе.
Таблица 13
График производства работ по уплотнению связного грунта II группы электротрамбовкой ИЭ-4504 (внутри здания поя полы)


ПРИМЕЧАНИЕ. График выполнения работ составлен на одну захватку. При выполнении работ по всему зданию механизмы перемешают с захватки на захватку без перерыва в работе.
Таблица 14
Машины и оборудование
|
№ п/п |
Наименование |
Тип |
Марка |
Количество при уплотнении грунта |
Техническая характеристика |
|||||
|
трамбовок |
виброплит |
|||||||||
|
В траншее с коллектором |
в траншее с двумя трубопроводами |
внутри здания под полы |
в траншее с коллектором |
в траншее с двумя трубопроводами |
внутри здания под полы |
|||||
|
1. |
Экскаватор-планировщик |
гусеничный |
ЭО-3332А |
1 |
1 |
- |
1 |
1 |
- |
Наибольший радиус копания - 6,8 м |
|
2. |
Бульдозер |
-″- |
ДЗ-42 |
1 |
1 |
1 |
1 |
1 |
1 |
На базе трактора ДТ-75. Длина отвала 2,52 м |
|
3. |
Электротрамбовка |
ручная |
ИЭ-4504 |
2 |
4 |
3 |
1 |
2 |
1 |
Габариты плиты 500×460 мм. Производительность 50 м/час. |
|
4. |
Пневмотрамбовка |
-″- |
ТР-4 (ТР-6) |
2 |
4 |
3 |
1 |
2 |
1 |
Башмаки Ф 80 мм и 80×80 мм |
|
5. |
Вибрационная плита |
-″- |
SVP 31,5 |
- |
- |
- |
1 |
1 |
1 |
Габариты плиты 2415×1125 мм. Производительность 750 м3/час |
ПРИМЕЧАНИЕ. Машины и оборудование приняты те, на которые составлены графики производства работ и калькуляции трудовых затрат.

Условные обозначения:
1 - уровень поверхности подсыпаемого грунта для послойного уплотнения; 2 - уровень поверхности грунта, уплотненного послойно; 3 - существующий уровень поверхности земли

I - начало уплотнения; II - промежуточная фаза; III - конец уплотнения
СОСТАВ РАБОТ
1. Насыпается грунт для уплотнения автосамосвалами
2. Разравнивается грунт толщиной слоя до 30 см
3. Уплотняется грунт кулачковым катком с числом прохода до 10
4. Уплотнение последующих слоев выполняется в той же последовательности

Условные обозначения:
1 - уровень поверхности подсыпаемого грунта для послойного уплотнения; 2 - уровень поверхности грунта, уплотненного послойно; 3 - существующий уровень поверхности земли
СОСТАВ РАБОТ
1. Насыпается грунт для уплотнения автосамосвалами
2. Разравнивается грунт толщиной до 30 см
3. Уплотняется грунт пневмоколесным самоходным катком с числом прохода до 10
4. Уплотнение последующих слоев выполняется в той же последовательности

Условные обозначения:
1 - уровень поверхности подсыпаемого грунта для послойного уплотнения; 2 - уровень поверхности грунта, уплотненного послойно; 3 - существующий уровень поверхности земли
ПОСЛЕДОВАТЕЛЬНОСТЬ РАБОТ
1. Насыпается грунт для уплотнения автосамосвалами
2. Разравнивается грунт толщиной слоя до 30 см
3. Уплотняется грунт пневмоколесным полуприцепным катком с числом прохода до 10
4. Уплотнение последующих слоев выполняется в той же последовательности

Условные обозначения:
1 - трамбовка; 2 - полоса перекрытия; 3 - уплотняемая полоса; 4 - уплотненная полоса; 5 - место стоянки экскаватора; 6 - ось проходки экскаватора

Условные обозначения:
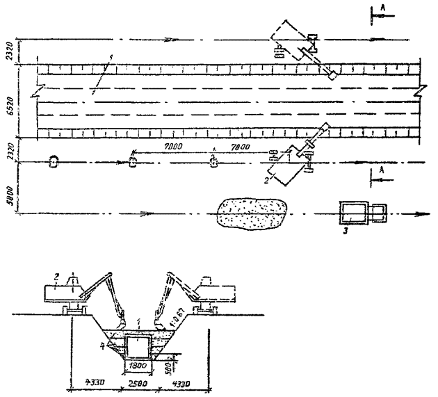
1 - коллектор; 2 - экскаватор-планировщик ЭО-3332А; 3 - автомобиль-самосвал ЗИЛ-ММЗ-555; 4 - зона разравнивания грунта вручную
- направление движения экскаватора-планировщика
- направление движения автомобиля-самосвала
- место стоянки экскаватора-планировщика

Условные обозначения:
1 - бульдозер ДЗ-42; 2 - автомобиль-самосвал ЗИЛ-ММ3-445; 3 - коллектор; 4 - зона разравнивания грунта вручную

ПРИМЕЧАНИЕ. Все слоя грунта уплотняются электротрамбовками


Условные обозначения:
1 - обратная засыпка грунта экскаватором-планировщиком;
2 - обратная засыпка и разравнивание грунта бульдозером;
3 - разравнивание грунта экскаватором-планировщиком;
4 - разравнивание вручную

Условные обозначения:
1 - электротрамбовки ИЭ-4504 и др.; 2 - вибрационная плита; 3 - коллектор; 4 - места уплотнения грунта электротрамбовкой ИЭ-4504

Условные обозначения:
1 - электротрамбовки ИЭ-4504; 2 - вибрационная плита; 3 - зона уплотнения грунта электротрамбовкой ИЭ-4501 (ИЭ-4505)
- направление движения электротрамбовки;
- направление
движения виброплиты

Условные обозначения:
1 - обратная засыпка и разравнивание грунта бульдозером; 2 - разравнивание грунта вручную; 3 - обратная засыпка грунта экскаватором-планировщиком; 4 - разравнивание грунта экскаватором-планировщиком

Условные обозначения:
1 - начало работы и направление движения электротрамбовки; 2 - начало работы и направление движения вибрационной плиты; 3 - вибрационная плита; 4 - электротрамбовка ИЭ-4804
ПРИМЕЧАНИЯ:
1. На схеме дано примерное направление движения вибрационной плиты и электротрамбовки
2. Уплотнение начинать с зон вокруг конструкций

Условные обозначения:
1 - бульдозер; 2 - автомобиль-самосвал ЗИЛ-ММЗ-555
![]()
- направление движения автомобилей-самосвалов
